Расчет и конструирование предварительно напряженной железобетонной панели сборного перекрытия многоэтажного здания

  • Вид работы:
    Дипломная (ВКР)
  • Предмет:
    Строительство
  • Язык:
    Русский
    ,
    Формат файла:
    MS Word
    875,19 kb
  • Опубликовано:
    2011-11-09
Вы можете узнать стоимость помощи в написании студенческой работы.
Помощь в написании работы, которую точно примут!

Расчет и конструирование предварительно напряженной железобетонной панели сборного перекрытия многоэтажного здания

Введение

Пролет здания ;

Шаг колонн ;

Материалы для изготовления сборной панели перекрытия:

класс бетона В25;

класс напрягаемой арматуры А-V;

электротермический способ натяжения арматуры на упоры;

Конструктивные и технологические параметры здания:

высота этажа ;

количество этажей (без подвала): 3

поперечное сечение сборного ригеля: прямоугольное;

поперечное сечение сборной панели: ребристая панель перекрытия с продольными ребрами вниз;

толщина наружных стен ;

относительная влажность воздуха в помещении ;

нормативная временная (полезная) нагрузка на сборное междуэтажное перекрытие =9.0 кН/м2;

в том числе кратковременно действующая .

1. Компоновка плана перекрытия

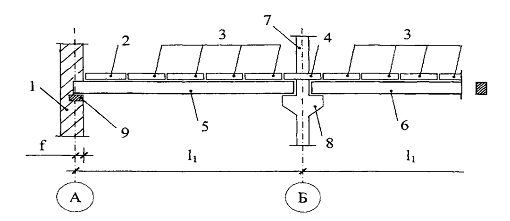
Рис.1.Монтажная схема сборного железобетонного перекрытия здания с неполным несущим каркасом: 1-наружнаянесущая кирпичная стена; 2-доборная панель номинальной шириной 1,85м; 3-типовая панель номинальной шириной 1,4м; 4-распорная панель по осям колонн номинальной шириной 1,3м; 5- ригель, опирающийся на консоль колонны и на наружную стену; 6- ригель , опирающийся на консоли колонн; 7- сборная железобетонная колонна

Рис.2. Поперечный разрез- несущие конструкции (стена, колонна, перекрытие): 8- подригельная опорная консоль колонны; 9- распределительный железобетонный брус.

2. Расчет и конструирование предварительно напряженной железобетонной панели сборного перекрытия многоэтажного здания

2.1 Выбор геометрических параметров панели

Расчет раскладки панелей перекрытия

Средний пролет:

Крайний пролет:

Принимаем в соответствии с конструктивной схемой здания ширину панели равной 1400мм.

Расчет продольных геометрических параметров панели:

;

;


Рис.3. Определение конструктивной длины и расчетного пролета панели.

Рис.4. Схема узла опирания панели на ригель прямоугольного сечения

Расчет поперечных геометрических параметров панели:

;

.

Высота панели:

Принимаем: .

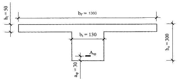
Рис.5. Геометрические характеристики поперечного и продольного сечений панели: 1- продольное ребро; 2- поперечное промежуточное ребро; 3- поперечное торцевое ребро.

Необходимость устройства поперечных промежуточных и торцевых ребер обуславливается условиями для обеспечения:

)общей устойчивости плиты при изготовлении ( в момент отпуска усилия преднапряжения) и в процессе монтажа ( при подъеме за петли);

) работы полки плиты на местный изгиб в двух направлениях.

2.2 Определение нагрузок, действующих на междуэтажное перекрытие, и сбор нагрузок на одну панель

Рассчитаем объем панели:


Нормативная нагрузка от собственного веса панели:

 


где -плотность конструкционного тяжелого железобетона, принимается согласно пп. 2..1.1.1[8] и равная ; то есть ;V- объем панели; - номинальная ширина панели, ; - конструктивная длина панели,

Для расчета панели на трещиностойкость ( момент трещинообразования, ширина раскрытия трещин) и жесткость, те есть деформативность ( прогиб), определяется величина нормативной длительно действующей нагрузки:


где -продолжительно действующая нормативная нагрузка; - кратковременная действующая составляющая полной временной нагрузки .

Для расчета панели на прочность определяется полная расчетная нагрузка равная сумме постоянной и временной нагрузок, умноженных на соответствующие коэффициенты надежности по нагрузки .

Коэффициент надежности по нагрузке для железобетонных и каменных конструкций согласно [5, п. 2.2] равен 1,1; для выравнивающих и отделочных слоев выполняемых на строительной площадке, согласно [5, п. 2.2] равен 1,3.

Коэффициент надежности по нагрузке  для равномерно распределенных временных нагрузок следует принимать согласно [5, п.3.7] равным1,2 при полном нормативном значении 2,0 кПа и более

Нормативные и расчетные нагрузки на 1 м2 перекрытия

Таблица 1

Вид нагрузки

Норматив- ная нагрузка Коэффициент надежности по нагрузкеРасчетная нагрузка,



Постоянная нагрузка

 

 

 

1)Собственный вес плиты 2)Вес пола 3)Вес перегородок Итого         =2349

800

1600=47491.1

.1=2583.9

=5383.9



Временная нагрузка В том числе: 1. Длительная 2. Кратковременная              =9000

=6500

=25001.2

.2

.2=10800

=7800

=3000



Полная нагрузка в том числе: 1)Длительная 2)Кратковременная        =13749

=1124

=2500-=16183.9




В табл.1 представлены нагрузки, действующие на 1 междуэтажного перекрытия, то есть нагрузки, распределенные по площади.

Для расчета отдельной панели подсчитаем распределенные по длине нагрузки на 1 погонный метр пролета панели при ее ширине  с учетом коэффициента надежности по назначению здания :

=0.95- важное значение

Полная расчетная нагрузка (погонная):

=.

Полная нормативная нагрузка (погонная):


Продолжительно действующая нормативная нагрузка (погонная):


2.3 Выбор расчетной схемы панели и расчет внутренних усилий в панели

Рис.6. Расчетная схема сборной панели

Проведем расчет внутренних усилий в панели (рис.6).

. Изгибающий момент от полной расчетной нагрузки


. Поперечная сила от полной расчетной нагрузки

3. Изгибающий момент от полной нормативной нагрузки


. Изгибающий момент от продолжительно (длительно) действующей нормативной нагрузки


Рис.7. Эпюры внутренних усилий в панели

На рис. 7 показано деление плиты на три расчетных участка: два приопорных участка по четверти пролета и один средний участок равный половине пролета.

2.4 Характеристики арматуры и бетона

Напрягаемая арматура классаА-800(А-V):

Нормативные значения сопротивления растяжению  и расчетные значения сопротивления растяжению для предельных состояний второй группы , МПа

Rsn=Rs,ser=800МПа, Rs=695Мпа, Es=2∙105Мпа.

В качестве ненапрягаемой арматуры предусматриваем арматуру класса В500

Rs =415МПа, Es=2∙105Мпа

Расчетное сопротивление поперечной арматуры растяжению для предельных состояний первой группы- Rsw=300МПа

Класс бетона- В25:

Нормативное сопротивление Rbn и расчетное сопротивление Rb,ser на осевое сжатие для предельных состояний второй группы

Rbn=Rb,ser=29Мпа,

Нормативное сопротивление на осевое растяжение бетона для предельных состояний второй группы- Rbtn= Rbt,ser =1,55МПа

Расчетное сопротивление на осевое сжатие для предельных состояний первой группы- Rb=14,5МПа

Расчетное сопротивление на осевое растяжение для предельных состояний первой группы- Rbt=1,05МПа

Начальный модуль упругости бетона при сжатии и растяжении- Eb =30МПа·10,

2.5 Выбор величины исходного предварительного напряжения в напрягаемой арматуре

междуэтажное перекрытие панель

- исходная величина предварительного напряжения.


- с целью безопасности при производстве работ по натяжению арматуры.

2.6 Подбор продольной напрягаемой рабочей арматуры из условий прочности сечения, нормального к продольной оси панели

Приведенное сечение

Рис.8. Приведенное сечение ребристой панели

Величина  должна удовлетворять условию:  где - диаметр предварительно напряженной арматуры; - толщина защитного слоя бетона.


Рис.9.определение  в сечении.

Определяем -рабочую высоту сечения:


Определяем высоту сжатой зоны бетона:

 - граница сжатой зоны проходит в полке.

Предполагаем , то есть наша сборная панель разрушается по 1-му случаю разрушения железобетонной конструкции.



Площадь сечения продольной напрягаемой арматуры должна быть не менее 5.06см2, данному условию соответствуют 2 стержня диаметром 18мм.


Проверяем величину  с учетом принятой величины =18мм:

- условие выполняется.

2.7 Определение геометрических характеристик приведенного сечения железобетонной панели

Коэффициент приведения арматуры к бетону

- площадь приведенного поперечного сечения панели.

- статический момент площади приведенного поперечного сечения панели относительно наиболее растянутого волокна бетона, то есть относительно оси 1-1, проходящей по нижней грани приведенного сечения (рис. 10).


- расстояние от наиболее растянутого волокна бетона, то есть от оси 1-1, до ЦТ приведенного поперечного сечения панели.

- момент инерции приведенного поперечного сечения относительно его ЦТ.


- момент сопротивления приведенного сечения для крайних растянутых волокон, то есть относительно нижней и верхней греней.


Расстояние от ЦТ приведенного сечения до верхней ядровой точки:


Расстояние от ЦТ приведенного сечения до нижней ядровой точки:

Рис.10. К определению геометрических характеристик приведенного сечения

2.8 Вычисление потерь предварительного напряжения в напрягаемой рабочей арматуре

. Потери от релаксации стержневой арматуры при электротермическом способе натяжения:

;

. Потери от температурного перепада:

; т.к

. Потери от деформации стальной формы (упоров):

,

. Потери от деформации анкеров натяжных устройств:;

Полные значения первых потерь предварительного напряжения арматуры:


. Потери от усадки бетона:


. Потери от ползучести бетона:


 - бетон на уровне ЦТ напрягаемой арматуры сжат

- коэффициент армирования, определяемый согласно п. 2.2.3.8СП[8]:


Полные значения первых и вторых потерь предварительного напряжения арматуры:

 - условие выполняется

2.9 Проверка прочности панели по сечению, нормальному к продольной оси панели, на действие изгибающего момента


где -относительная деформация арматуры растянутой зоны, вызванная внешней нагрузкой при достижении в этой арматуре напряжения, равного ; - относительная деформация сжатого бетона при напряжениях, равных  принимается равной 0,0035


Расчет по прочности сечений изгибаемых элементов производится из условия:


где - изгибающий момент от внешней нагрузки; - предельный изгибающий момент, который может быть воспринят сечением элемента.

=91.5 кНм

Проверим условие:


Определяем действительное значение высоты сжатой зоны бетона х


 - граница сжатой зоны бетона проходит полке


- условие выполняется, значит происходит первый случай разрушения.


 - несущая способность нормального сечения плиты по изгибающему моменту обеспечена.

Проверим соответствие относительного увеличения предельного изгибающего момента и относительного увеличения площади поперечного сечения арматуры


Рис.11. Геометрические параметры нормального сечения изгибаемой железобетонной конструкции и схема усилий в этом сечении.

2.10 Проектирование постановки поперечной арматуры исходя из конструктивных требований и подбор поперечного сечения хомутов

h=300мм - следовательно поперечную арматуру в плите устанавливаем.

2.11 Расчет по прочности сечений, наклонных к продольной оси панели

Расчет предварительно напряженных изгибаемых элементов по наклонному сечению производится из условия:


- поперечная сила в наклонном сечении с длинной проекции с на продольную ось элемента, определяемая от всех внешних сил, расположенных по одну сторону от рассматриваемого наклонного сечения;

- поперечная сила, воспринимаемая бетоном в наклонном сечении;- поперечная сила воспринимаемая арматурой в наклонном сечении.


Рис.12. Разрушение балки по наклонному сечению

Принимаем


Рис.13 К определению величины Q


Должно выполняться условие:

- коэффициент, принимаемый согласно п.3.1.5.3. СП[8];

- ширина ребра таврового приведенного сечения


Верхний предел:

Нижний предел:

- условие выполняется

В балках и ребрах высотой 150 мм и более, на участках элемента, где поперечная сила по расчету воспринимается только бетоном, следует устанавливать арматуру с шагом не более 0.75h0 и не более 500 мм.

Принимаем поперечное армирование в виде двух арматурных сеток С-1 из арматуры класса В500. Принимаем стержни мм.

Рис.14. Сетка С-1 и эпюра поперечных сил на расчетных участках пролета балки

 - прочность сечения наклонного сечения продольной оси панели, на действие поперечной силы по наклонной трещине обеспечена.

Заключение

В ходе выполнения курсового проекта были:

·          закреплены теоретические знания теории расчета предварительно напряженных железобетонных конструкций;

·        получены практические знания, умения и навыки в выполнении расчетов, а также в использовании нормативной литературы;

·        усвоены методики расчета и конструирования изгибаемых предварительно напряженных железобетонных конструкций на примере панели перекрытия.

Библиографический список:

. Байков В.Н., Сигалов Э.Е. Железобетонные конструкции: Общий курс: Учеб. для вузов. - 5-е изд., перераб и доп. - М.: Стройиздат, 1991. - 767с.: ил.

. Семеняк Г.П., Горбунов С.П. Нормоконтроль к курсовом и дипломном проектировании: Учебное пособие. - Челябинск: Изд. ЮУрГУ, 2001. - 30 с.

. СНиП 2.03.01-84*. Бетонные и железобетонные конструкции.

. Строительные конструкции: Методические указания для студентов специальности 270106 / Составитель В.А. Мусихин. - Челябинск: Изд-во ЮУрГУ, 2004. - 39 с.

Похожие работы на - Расчет и конструирование предварительно напряженной железобетонной панели сборного перекрытия многоэтажного здания

 

Не нашли материал для своей работы?
Поможем написать уникальную работу
Без плагиата!
Без нейросетей!