Производство полиэтиленовых пленок

  • Вид работы:
    Дипломная (ВКР)
  • Предмет:
    Другое
  • Язык:
    Русский
    ,
    Формат файла:
    MS Word
    2,01 Mb
  • Опубликовано:
    2012-03-18
Вы можете узнать стоимость помощи в написании студенческой работы.
Помощь в написании работы, которую точно примут!

Производство полиэтиленовых пленок

1. Анализ процесса изготовления рукавных пленок

 

1.1 Физико-химические основы экструзии


Экструзия - способ получения изделий или полуфабрикатов из полимерных материалов неограниченной длины путем выдавливания расплава полимера через формующую головку (фильеру) нужного профиля.

Производство различных видов изделий методом экструзии осуществляется путем подготовки расплава в экструдере и придания экструдату различной формы посредством продавливания его через формующие головки соответствующей конструкции с последующим охлаждением и калиброванием.

Экструдеры могут быть разделены на 2 класса: экструдеры непрерывного действия, основным элементом которых является вращающийся элемент и экструдеры периодического действия, основанные на возвратно-поступательном элементе.

Рисунок 1.1 - Схема одношнекового экструдера: 1 - бункер; 2 - червяк (шнек); 3 - цилиндр; 4 - полость для циркуляции воды; 5 - нагреватель; 6 - решетка с сетками; 7 - формующая головка с адаптером

 


По устройству и принципу работы основного узла, продавливающего расплав в головку, среди экструдеров непрерывного действия могут быть выделены шнековые, дисковые и комбинированные, а среди экструдеров периодического действия - шнековые и поршневые.

Шнековые экструдеры подразделяются на несколько типов: одно-, двух- и многошнековые, одностадийные и многостадийные, с однонаправленным и с противоположно направленным вращением шнеков, с зоной дегазации и без нее.

Наиболее распространенным типом экструдеров является одношнековый экструдер непрерывного действия без зоны дегазации. Этот тип экструдеров может использоваться для переработки полиэтилена, т.к. ПЭ-термостабильный полимер и не образует газообразных продуктов при переработке, а данный тип экструдеров значительно дешевле экструдера с дегазацией. Его схема приведена на рисунке 1.1. [1]

К достоинствам этого типа экструдеров следует отнести конструктивную простоту, возможность развивать высокое давление расплава и отсутствие требований к повышенной термостабильности расплава.

В процессе переработки исходный материал из загрузочного устройства поступает в червяк и перемещается в осевом направлении в винтовом канале червяка, образованным внутренней поверхностью материального цилиндра и нарезкой червяка. При движении материал уплотняется, расплавляется, происходит гомогенизация расплава, развивается давление, под действием которого подготовленный расплав продавливается через формующий инструмент. По ходу движения материала в экструдере могут быть условно выделены три технологические зоны, различающиеся состоянием полимера и происходящими в них физико-химическими процессами: зона питания (загрузки), зона плавления (пластикации) и зона дозирования (выдавливания).

Рассмотрим подробнее процессы, происходящие в каждой из зон.

Загрузка сырья

Подаваемое в виде порошка, гранул или лент исходное сырье для экструзии под действием силы тяжести поступает из загрузочного бункера в рабочий объем экструдера. Некоторые материалы могут зависать, для борьбы с этим используют специальные проталкивающие устройства. Наименее склонны к такому поведению гранулы, поэтому они являются лучшим видом сырья для экструзии. В части цилиндра, где происходит загрузка, делаются полости для циркуляции охлаждающей воды, чтобы избежать перегрева цилиндра, при котором гранулы спекаются, и образуется «козел». При уплотнении материала в межвитковом пространстве шнека вытесненный воздух выходит обратно через бункер. Если удаление воздуха будет неполным, то он останется в расплаве и после прохождения через головку образует в изделии нежелательные полости. Также в бункере помещаются ворошители, которые предотвращают образование «сводов» из сырья и прекращение его подачи в рабочую область цилиндра.

Загрузка межвиткового пространства под воронкой бункера происходит на отрезке длины шнека, равном 1ч1,5 D.

Зона питания

Поступающие из бункера гранулы заполняют межвитковое пространство шнека и уплотняются за счет уменьшения глубины нарезки шнека или межвиткового расстояния. Продвижение гранул осуществляется за счет разности значений сил трения о внутреннюю поверхность корпуса и о поверхность шнека. В зоне питания необходимо понижать температуру шнека для уменьшения коэффициента трения полимера о шнек и предотвращения вращения материала вместе со шнеком. Снижение температуры шнека достигается за счет его охлаждения водой.

По мере движения полимера по червяку в нем развивается высокое гидростатическое давление. Возникающие при этом на контактных поверхностях силы трения приводят к выделению тепла и нагреву полимера. Кроме того, полимер получает некоторое количество тепла от стенок экструдера, температура которых, как правило, выше температуры полимера благодаря обогреву цилиндра экструдера. Верхний предел, до которого нагревают стенку цилиндра в зоне питания экструдера, определяется исходя из коэффициента трения полимера и его зависимости от температуры. При слишком высокой температуре стенки происходит преждевременное плавление пристенного слоя, снижение силы трения и проскальзывание полимера, приводящее к прекращению его движения вдоль оси червяка. При оптимально подобранном температурном режиме, материал в цилиндре спрессован, уплотнен и образует пробку, проталкиваемую по винтовому каналу. Длина пробки должна быть достаточно велика для того, чтобы развивающаяся вследствие относительного движения продольная толкающая сила обеспечивала прохождение полимера через зону плавления.

Рисунок 1.2 - Схема процесса плавления


По мере продвижения твердой пробки по каналу червяка давление в ней возрастает, пробка уплотняется, поверхность пробки, соприкасающаяся с внутренней стенкой цилиндра, начинает нагреваться и на её поверхности образуется слой расплава, толщина которого увеличивается по ходу движения червяка. Когда толщина слоя расплава достигает толщины зазора между стенкой цилиндра и гребнем червяка, последний начинает соскребать слой расплава со стенки. На этом заканчивается зона питания и начинается зона плавления.

Зона плавления.

Как видно из названия, основной процесс, происходящий в этой зоне экструдера - плавление полимерной пробки, осуществляющееся за счет тепла, выделяемого при трении полимера и подводимого снаружи от обогревателей цилиндра. Схема плавления полимера, приведена на рисунке 1.2. [1]

Между стенкой корпуса (1) и пробкой (4) существует движение материала, направленное в сторону толкающей стенки. Под действием этого движения, в тонком слое расплава (3) на поверхности пробки, возникает течение, направленное в сторону толкающей стенки (2). Движущийся расплав натыкается на толкающую стенку, поворачивает вдоль нее и собирается в поток (3), оттесняющий материал пробки к передней стенке. При этом высота пробки остается практически неизменной, а её ширина по мере продвижения по червяку постепенно уменьшается.

За счет интенсивных сдвиговых деформаций, возникающих в слое расплава в зоне плавления, наблюдается выраженные смесительный эффект и гомогенизация полимера.

Длина зоны плавления зависит от диапазона температур плавления полимера, и тем больше, чем больше интервал между температурой начала плавления и температурой завершения плавления; экструдеры для переработки кристаллических полимеров имеют меньшую длину зоны плавления, чем экструдеры, в которых перерабатываются аморфные полимеры.

Плавление пробки продолжается до тех пор, пока ее ширина достаточна для обеспечения ей необходимой прочности. Как только ширина пробки достигает примерно 1/10 ширины межвиткового пространства, циркуляционное течение расплава разрушает остатки пробки, дробя её на мелкие куски. Сечение, в котором начинается дробление пробки, считается концом зоны плавления и началом зоны дозирования.

Зона дозирования

В зоне дозирования течение полимера подобно течению жидкости в винтовом насосе и обуславливается силами вязкого трения, развивающихся вследствие движения червяка относительно стенок цилиндра. Обычно его рассматривают как сумму поступательного движения расплава вдоль оси червяка, которое обеспечивает производительность экструдера и циркуляционного течения в плоскости, нормальной к оси винтового канала, благодаря которому продолжается гомогенизация расплава полимера. В начале зоны дозирования температура расплава равна верхней температуре из интервала температур плавления, но по мере движения полимера в зоне дозирования продолжается его разогрев за счет подвода тепла от нагревателей и выделяющейся в результате интенсивной деформации сдвига. Длина зоны дозирования должна обеспечивать время нахождения в ней расплава, достаточное для его прогрева и гомогенизации, так как при нарушении этого условия расплав, поступающий к головке, будет иметь непостоянную по сечению температуру, что недопустимо для нормальной работы экструдера.

Течение расплава через формующую оснастку

Расплав вращающимся шнеком продавливается через решетку, к которой прижаты металлические сетки. Сетки фильтруют, гомогенизируют и создают сопротивление расплава, на них теряется часть давления. На сетках задерживаются порции полимерного расплава, имеющие большую вязкость, и достигают необходимой температуры; сетками задерживаются сверхвысокомолекулярные фракции полимера.

После прохождения сеток гомогенизированный расплав под остаточным давлением продавливается в формующую оснастку, и, приобретая определенный профиль, выходит из фильерной части головки. Фильера придает расплаву полимера необходимую форму. При прохождении расплавом формующей оснастки наблюдается эффект разбухания: как правило, поперечное сечение экструдата несколько больше поперечного сечения фильеры, что объясняется изменением распределения скоростей материала по поперечному потоку. Скорости у стенок фильеры меньше, чем скорость в центре из-за наличия пристенного трения, создающего напряжение между соседними слоями. После выхода материала из фильеры трение на его боковой поверхности отсутствует, скорости выравниваются под действием ранее возникших напряжений в материале. Выравнивание скоростей сопровождается перемешиванием слоев полимера вследствие восстановления высокоэластичных деформаций, из-за чего происходит расширение поперечного сечения.

Вытяжка и раздув рукава приводят к уменьшению толщины заготовки и к ориентации макромолекул в пленке, что, в свою очередь, увеличивает её прочность. Количественно раздув характеризуется степенью раздува εР, определяемой как отношение диаметра раздутого рукава к диаметру рукава, выходящего из кольцевого зазора пленки и степенью вытяжки, рассчитываемой как отношение скорости движения пленки после тянущих валков к скорости движения экструдата из головки.

Большая часть вытяжки в продольном направлении реализуется ближе к формующей части головки, а раздува - ближе к линии кристаллизации.

1.2 Конструктивные особенности используемого для экструзии полиэтиленовой пленки оборудования


При экструзии полиолефинов используют одношнековые экструдеры с отношением длины червяка к диаметру не менее от 15:1 до 33:1, рекомендуемое значение составляет 24:1. Использование длинных шнеков устраняет пульсацию расплава и улучшает гомогенизацию компонентов перерабатываемое смеси (полимера и технологических добавок) Зазор между гребнями шнека и внутренней поверхностью цилиндра выбирают в интервале 0,125-0,375 мм. Для экструзии пленок рекомендуется степень сжатия примерно 3:1. Большая сила сжатия дает высокий внутренний нагрев, хорошее перемешивание смеси и отвод воздуха, захваченного расплавом [10]

Для экструзии полиэтилена рекомендуется использовать шнек с уменьшающимся шагом нарезки [11] Его конструкция схематически изображена на рисунке 1.3.

Рисунок 1.3 - Шнек для экструзии полиэтилена


Экструзия полиэтилена производится па экструдерах с несколькими зонами обогрева и независимой регулировкой температур. Температура в экструдере постепенно повышается в направлении от входа в машину к выходу из нее. В экструдер загружается холодный полиэтилен во избежание образования сводов в бункере. Рекомендуемые температуры по зонам цилиндра при экструзии пленки из ПЭВП приведены в таблице 1.1.

Таблица 1.1 - Температурные режимы экструзии полиэтиленовой пленки

Зона

Загрузочная часть

Цилиндр

Головка



I

II

III


Температура,°С

80

130-140

150-180

200-225

230-235

 

1.3 Особенности перерабатываемого материала


В качестве сырья используется полиэтилен высокого давления (низкой плотности).

Рис. 1.4 - Зависимость вязкости ПЭВД от скорости сдвига


ПЭВД имеет длинные ветви, которые, как известно, обеспечивают неньютоновский реологический отклик. ПЭВД лучше поддается снижению вязкости с увеличением скорости сдвига, поэтому зависимость энергии, затрачиваемой на экструзию при типично высоких скоростях сдвига, ниже, чем при пропорциональном соотношении. Благодаря этому экструзия ПЭВД более экономична, чем экструзия других полиэтиленов; для экструдеров не требуется столь мощных двигателей. При низких скоростях сдвига вязкость значительно возрастает, поэтому высока вязкость нулевого сдвига (прочность расплава). Типичная реологическая кривая для ПЭВД показана на рис. 1.4. ПЭВД имеет более высокую прочность рукава при экструзии с раздувом, поэтому сопротивление разрыву и стабильность рукава до затвердевания выше. При использовании технологии плоскощелевой экструзии пленка будет стабильна в расплавленном состоянии между экструзионной головкой и холодными валками. Длинные ветви обеспечивают лучшее межмолекулярное зацепление при низкой скорости сдвига. При повышении скорости сдвига длинные ветви освобождаются из зацеплений, и вязкость заметно снижается. Эти реологические характеристики имеют первостепенное значение при переработке. [11]

1.4. Обзор методов получения пленки


Многообразие видов полимерных пленок определяет и разнообразие методов их производств, которые можно разделить на следующие основные группы: экструзия, каландрование, производство комбинированных пленок, пролив расплава полимера на охлажденный барабан или в воду, физико-химическая модификация пленок. Конкретный метод производства выбирается исходя из химической природы перерабатываемого полимера и назначения получаемой пленки.

Основными по объемам перерабатываемых материалов и выпускаемой продукции на сегодняшний день являются экструзионные методы получения пленок - плоскощелевая экструзия, которой получают плоские пленки и экструзия с раздувом, используемая для изготовления рукавных пленок. Сущность метода заключается в формовании заготовок необходимой формы из расплава полимера с последующим их охлаждением и фиксацией формы.

Экструзией можно получить пленку из полиолефинов, поливинилхлорида, полистирола, полиэтилентерефталата, и ряда других полимеров, способных переходить в высокоэластичное состояние, не подвергаясь при этом существенной термической деструкции.

Экструзионно-раздувный метод имеет ряд преимуществ по сравнению с другими методами получения полимерных пленок. К ним относятся:

·        возможность получения пленок, имеющих «сбалансированные» показатели механических свойств в продольном и поперечном направлениях;

·        незначительная, по сравнению с пленками, получаемыми плоскощелевой экструзией, склонность рукавных пленок к расщеплению на продольные полосы при ударных нагрузках;

·        возможность получения двуосно-ориентированных пленок, которые могут применяться в качестве термоусадочного упаковочного материала;

·        возможность получения более прочной пленки при той же толщине и используемом материале, чем при плоскощелевой экструзии;

·        удобство применения полученной пленки для изготовления мешков;

·        низкая отходность производства благодаря исключению операции по обрезке кромок;

·        возможность на головках сравнительно малых размеров получать пленки большой ширины.

К недостаткам метода следует отнести:

·        сравнительная сложность используемой оснастки;

·        меньшая, по сравнению с плоскощелевой экструзией, производительность;

·        склонность пленки к складкообразованию;

·        меньшая прозрачность пленки.

Метод экструзии с раздувом термопластов применим для пленок шириной от 50 до 2400 мм и толщиной от 5 до 500 мкм.

Выдувная экструзионная головка представляет собой цилиндр, внутрь которого почти без зазоров вставляется сердечник, имеющий на своей поверхности спиральные каналы с глубиной, уменьшающейся к выходу из головки. Расплав может попадать в каналы как изнутри, через специальные отверстия, проточенные в дорны, так и снаружи. Нагрев экструзионной головки осуществляется с помощью пальчиковых или кольцевых нагревателей.

Принципиально существует три схемы изготовления рукавных пленок методом экструзии с раздувом, различающихся направлением приема получаемого рукава. [2]

А) Способ производства «вертикально вверх» При этом способе расплав полимера, выходящий из головки, проходит через прижимные валки, где герметизируется, превращаясь в пузырь. Раздув пузыря до необходимого диаметра достигается за счет подачи внутрь него сжатого воздуха, охлаждается пузырь с помощью кольца воздушного охлаждения снаружи, а в ряде случаев для повышения эффективности - снаружи и изнутри. Получающаяся из рукава пленка вытягивается вверх с помощью приемно-вытяжных валков. Этим способом получают пленки большого диаметра, также его используют при переработке полимеров, имеющих высокий показатель текучести расплава. Достоинства этой схемы: рукав висит на тянущих валках, вследствие чего нагрузка на участок его раздувания (вблизи головки) минимальна; нагрузка на рукав от силы его веса распределена равномерно по периметру, что способствует равнотолщинности изделия; обеспечивается получение как толстых, так и предельно тонких пленок; минимальная производственная площадь. Недостатки: медленное остывание рукава по его высоте, и, следовательно, необходимость дополнительных систем охлаждения.

Б) Способ производства «вертикально вниз», при котором расплав из кольцевой головки фильеры направляется вниз, где происходит его быстрое охлаждение в ванне с водой. После охлаждения пузырь складывается с помощью сходящихся панелей рольганга и направляется к намоточному устройству уже в виде плоскосложенного рукава. При этом методе экструдер, очевидно, должен располагаться на верхних этажах здания, что неприменимо для экструдеров больших типоразмеров, поэтому методом «вертикально вниз» получают преимущественно пленки небольшого диаметра. К достоинствам этой схемы следует отнести практически мгновенное охлаждение пленки, благодаря которому удается получить практически прозрачную тонкую пленку, а также меньшую, чем при способе «вертикально вверх» высоту установки, однако при использовании этого метода возможен самопроизвольный отрыв или вытягивание рукава, так как нагрузка от веса пленки приходится на еще горячую и легкодеформируемую часть заготовки.

В) Горизонтальный способ производства. При горизонтальном методе производства рукав вытягивается в горизонтальной плоскости. Метод применим для получения пленки из вспененных материалов и материалов с плохой термостабильностью, например, непластифицированного ПВХ, однако имеет ряд существенных недостатков. Основным из них является невозможность обеспечения одинаковой температуры для верхней и нижней части рукава и его провисание за счет гравитации, из-за чего разнотолщинность и нестабильность размеров пленки становится неизбежной. Кроме того, изо всех методов экструзии с последующим раздувом, метод с горизонтальной приемкой рукава требует максимальных производственных площадей. Этим методом получают пленки толщиной от 200 мкм. К достоинствам метода можно отнести меньшую стоимость изготовления формующей оснастки.

Рис. 1.5 - Схемы производства рукавных пленок: а-приемка раздуваемого рукава вверх; б-приемка раздуваемого рукава вниз; в-приемка раздуваемого рукава в горизонтальном направлении. 1 - экструдер, 2 - пузырь


Кроме описанных выше основных методов, существуют их модификации, требующие более сложного и дорогого оборудования, поэтому получившие меньшее распространение. К ним относятся, например, соэкструзия, а также методы двойного и тройного раздува. При соэкструзии получают многослойную пленку, слои которой состоят из различных материалов и, как следствие, обладают различными качествами. Метод соэкструзии позволяет производить так называемые «барьерные пленки» с заданными барьерными свойствами по отношению к различным газам и жидкостям, обеспечить пленке требуемую химическую и механическую стойкость, усадочные свойства, прочность на удар, прокол и раздир, склеиваемость, устойчивость к воздействию высоких или низких температур, эластичность или жесткость.

Начало процесса двойного раздува совпадает с выдувом по схеме «сверху вниз», однако после прохождения через водяную ванну рукав отправляется не на намотчик, а складывается и вытягивается с помощью приемно-вытяжных валков наверх башни, получившей название «башня ориентации». Далее рукав немного раздувается, проходит сверху вниз через систему печей, нагревающих его для увеличения пластичности, и, наконец, попадает в камеру ориентации, в которой следует очень сильный раздув в поперечном направлении, благодаря чему пленка приобретает в этом направлении повышенную прочность и выдающуюся способность к усадке. Одновременно, за счет разницы скоростей приемно-вытяжных валков наверху башни и приемных валков на намотчике, пленка растягивается и в продольном направлении. Таким образом, пленка становится двуосноориентированной и приобретает при этом отменные усадочные свойства. [18]

Метод тройного раздува в первом приближении может рассматриваться метод двойного раздува, дополненный еще одной башней, назначение которой - уменьшить усадку до заданного уровня.

1.5 Влияние параметров переработки на свойства пленки

 

Физико-механические свойства пленок (предел прочности при растяжении, предельное удлинения при разрыве, сопротивление ударным нагрузкам и т.п.) зависят как от природы и молекулярных характеристик используемого полимера, так и от характера образующейся надмолекулярной структуры, а также степени и направлении ориентации пленки. Существенное влияние на физико-механические свойства пленок оказывает их разнотолщинность. Все эти свойства зависят от режимов, при которых осуществляется экструзия, раздув, охлаждение и иные технологические операции.

Рисунок 1.6 - Зависимость разрывного напряжения от температуры экструзии на выходе из головки. 1 - продольное направление; 2 - поперечное направление


На рисунке 1.6 приведена зависимость предела прочности в продольном и поперечном направлении от температуры полимера на выходе из головки при постоянной высоте линии кристаллизации.

Важными показателями оптических свойств полимерных пленок являются их светопроницаемость (прозрачность), мутность, глянцевитость.

Светопроницаемость является отношением проходящего светового потока к общему при его нормальном относительно поверхности пленки на неё падении. Светопроницаемость пленки различна для волн разной длины.

Мутность - доля падающего светового потока, рассеиваемая пленкой под углом, превышающим 2,5° к направлению падающего потока.

Глянцевитость - доля падающего светового потока, отраженная поверхностью пленки под углом 45°.

Оптические свойства пленок определяются как наличием макродефектов (таких, как продольные полосы, местные утолщения, включения различного характера), так и особенностями образующихся надмолекулярных структур, определяемых условиями кристаллизации и эффектами, сопровождающими деформацию расплавов полимеров. Влияние свойств расплава на регулярность поверхности пленок, полученных методом экструзии, связанно, прежде всего, с явлением эластической турбуленции, на условия появления которой оказывает существенное влияние температура расплава, молекулярная масса и ММР полимера. Снижение молекулярной массы, расширение ММР, увеличение ПТР и повышение температуры расплава приводят к улучшению оптических свойств пленок, также замечено, что к увеличению глянцевитости поверхности и уменьшению мутности пленки приводит небольшое увеличение плотности полимера. Снижение интенсивности обдува и увеличение длительности охлаждения пленки вызывают повышение её мутности и ухудшение оптических свойств изделий. Это связано с возрастанием в таких условиях длительности кристаллизации и формировании в пленке более крупных надмолекулярных структур, определяющих неоднородность её строения. Однако, при слишком быстром охлаждении пленки также возможно увеличение её мутности за счет большей неоднородности получаемого при этом рукава.

С учетом того, что мутность может вызываться двумя факторами - неоднородностью расплава и образованием слишком крупных надмолекулярных структур, оптимальные показатели достигаются при двустадийном охлаждении: на первой стадии выходящий из головки полимер охлаждается медленно, что позволяет сгладиться дефектам, образующимся при продавливании, на второй - расплав быстро «замораживается» у линии кристаллизации, благодаря чему формирующиеся надмолекулярные структурные образования имеют относительно небольшие размеры, сравнимые с длинной волны видимого света.

Рисунок 1.7 - Влияние высоты линии кристаллизации Н на глянцевитость Г, мутность М и светопроницаемость Сп рукавных пленок из ПЭВД


В этом случае удается получать высококачественные прозрачные пленки. Для достижения такого режима охлаждения в технологическую схему вводят камеру медленного охлаждения заготовки, а на обдувочное кольцо подают охлажденный воздух. Изменение режимов охлаждения пленки можно проследить по высоте линии кристаллизации - чем она выше, тем более длительное время происходит охлаждение расплава. Влияние высоты линии кристаллизации на свойства полиэтиленовой рукавной пленки показано на рисунке 1.7.

Рисунок 1.8 - Зависимость мутности М от числа оборотов шнека N при экструзии рукавной пленки из ПЭВД


Снижение оптических свойств пленки также наблюдается при росте частоты вращения шнека, которое обеспечивает рост производительности экструдера, и, как следствие увеличение времени охлаждения полимера, ведущее в последствии к вышеописанным уже эффектам. Зависимость мутности от частоты вращения шнека показано на рисунке 1.8 [1]

Механические свойства пленок во многом обусловливается выраженностью ориентации макромолекул в продольном и поперечном направлении, которая, в свою очередь, зависит от таких технологических параметров, как степень вытяжки εВ и степень раздува εР Рост степени вытяжки приводит, очевидно, к увеличению ориентации молекул в продольном направлении, рост степени раздува - в поперечном; одновременное увеличение этих показателей приводит к росту прочности и снижению относительного удлинения пленки при разрыве пленки в обоих направлениях. Влияние продольной ориентации пленки на её механические свойства показано на рисунке 1.9, а зависимость разрывной прочности от степени вытяжки - на рисунке 1.10 [13]

Рисунок 1.9 - Влияние продольной ориентации пленки на её механические свойства. 1 - относительное удлинение 2 - прочность при разрыве


Следует заметить, что прочностные характеристики пленки также зависят и от времени охлаждения. При увеличении времени охлаждения пленки процесс образования надмолекулярных структур протекает более полно, степень кристалличности возрастает, и, как следствие, увеличивается прочность пленки на разрыв и жесткость. Таким образом, изменение параметров охлаждения, благотворно влияя на оптические характеристики, будет ухудшать механические и наоборот, поэтому оптимальный режим охлаждения выбирается исходя из предполагаемого назначения пленки и предъявляемых к ней требований.

Рисунок 1.10 - Зависимость разрывной прочности σВ от степени вытяжки εВ в продольном (1) и поперечном (2) направлении


Одной из существенных характеристик, определяющих качество пленки, является её разнотолщинность. Для обеспечения равномерности толщины получаемого рукава необходимо соблюдение следующих условий:

·        обеспечение одинаковой по всем участкам кольцевого зазора объемной скорости экструзии;

·        постоянство вязкости расплава;

·        обеспечение равномерной температуры потока расплава;

·        постоянство раздувания горячей заготовки.

Разнотолщинность пленки, таким образом, зависит от множества различных параметров переработки: температуры головки, толщины формующей щели, степени раздува.

Зависимость разнотолщинности пленки от толщины формующей щели показана на рисунке 1.11. [13]

Так как пленка большей толщины требует большего времени на охлаждение, то при увеличении щелевого зазора, и, как следствие, толщины пленки, увеличивается длина пластического участка рукава. Это приводит к росту вероятности влияния различных факторов на процесс охлаждения рукава, неустойчивости рукава и, как следствие, увеличению разнотолщинности в обоих направлениях. Таким образом, для достижения минимальной разнотолщинности, толщина щелевого зазора должна быть минимальна. Однако слишком низкие величины кольцевого зазора создают значительные сопротивления в головках и снижают производительность экструзии, поэтому на практике используют толщину щелевого зазора не менее 0,5 мм.

Рисунок 1.11 - Влияние величины щелевого зазора δЩ на разнотолщинность пленки в продольном и поперечном направлении



Рисунок 1.12 - Влияние степени поперечного раздува пленочного рукава на разнотолщинность пленки в продольном и поперечном направлении


Таким образом, мы видим, что целесообразно проводить экструзию пленки с минимальной степенью раздува, и применять головки большого диаметра с кратностью раздува 2,5-3.

Рисунок 1.13 - Влияние температуры головки на разнотолщинность пленки в продольном и поперчено направлении (для пленки толщиной 60 мкм)


Также, как уже говорилось выше, на разнотолщинность пленки оказывает влияние температура головки. Низкая температура головки и цилиндра обеспечивает лучшую гомогенизацию расплава полимера и более равномерный раздув рукава, в то время как высокая температура, наоборот, увеличивает длину пластического участка и, как следствие, вероятность проявления на нем различных факторов, влияющих на толщину пленки. При температуре головки ниже 140°С также улучшаются и оптические свойства получаемой пленки: уменьшается количество гелеобразных включений и растет прозрачность, поэтому с точки зрения этих параметров оптимально использование минимально возможной температуры головки, при которой полимер выходит из неё в еще вязкотекучем состоянии. Кроме всего прочего, слишком высокая температура расплава может привести к слипанию пузыря и склеиванию его внутренних поверхностей. Зависимость разнотолщинности от температуры головки приведена на рисунке 1.13 [13]

Еще одним параметром рукава является минимальная устойчивая толщина пленки, зависящая, в первую очередь, от степени раздува. Эта зависимость приведена на рисунке 1.14. [13]

Рисунок 1.14 - Зависимость минимальной стабильной толщины пленки от степени раздува для полиэтилена различной плотности



В зависимости от интенсивности охлаждения рукава, его первоначальной температуры и скорости вытяжки, возможно получение рукава различной формы (рис 1.15) [1].

Рисунок 1.15 - Некоторые типичные формы рукавов пленки


Форма «а» соответствует высокому расположению линии кристаллизации H, что приводит к недостаточному охлаждению деформируемого рукава. Пленка вначале растягивается в длину, а затем в ширину. Это сопровождается частичной переориентацией макромолекул.

Форма «б» соответствует нормальной величине H при хорошей интенсивности охлаждения. Продольная и поперечная, ориентации при вытяжке и раздуве осуществляются почти одновременно. Пленка получается равнопрочной и равнотолщинной.

Форма «в» соответствует резкому интенсивному охлаждению рукава, линия H мала. Пленка имеет преимущественно поперечную ориентацию, а для некоторых видов полимеров происходит уменьшение степени кристалличности. Форма «г» соответствует неравномерному обдуву пленки охлаждающим воздухом по периметру. Пленка разнотолщинна, рукав несимметричен.

Для большинства пленок, отвечающих общим требованиям к свойствам, в зависимости от их толщины значение Н колеблется в пределах 0,3-2 м. Чем толще пленка (и соответственно экструзионная заготовка), тем больше H, и наоборот.

Гомогенизацию массы и, следовательно, внешний вид пленки, а также её прочностные характеристики можно улучшить повышением сопротивления экструзии, что достигается увеличением числа формующих сеток или уменьшением щелевого зазора. Однако это вызывает увеличение обратного потока в экструдере, и, как следствие, снижение его производительности.


2. Технологическая часть

 

.1 Требования к готовой продукции


Производимой продукцией является пленка полиэтиленовая для изготовления товаров народного потребления. Выпускается в соответствии с ГОСТ 10354-82, марки М - для изготовления изделий народного потребления, упаковки и бытового назначения, окрашенная и неокрашенная, стабилизированная и нестабилизированная. Пленка выпускается смотанной в рулоны в виде рукава.

К выпускаемой продукции применяются следующие требования.

Таблица 2.1 - Технические требования к продукции [17]

Наименование показателя

Нормы

Внешний вид

Поверхность пленки должна быть без пятен, нерасправляющихся запрессованных складок, отверстий. Края пленки должны быть без надрывов и заусенцев. Пленка может быть натурального или любого иного цвета в зависимости от наполнителя

Ширина пленки

±2%

Предельные отклонения по толщине, % - пленка высшей категории качества - пленка первой категории качества

 ±20% ±30%

Прочность при растяжении МПа, не менее - в продольном направлении - в поперечном направлении

 14 12

Относительное удлинение при разрыве, %, не менее - в продольном направлении - в поперечном направлении

  200 300


Выпускаемая пленка имеет ширину рукава 800 мм и толщину 80 мкм, готовая пленка сматывается в рулоны по 200 погонных метров.

2.2. Выбор материала


Предполагаемая область применения получаемого рукава - упаковка, в том числе упаковка грузов, транспортирующихся и хранящихся на открытом воздухе.

Отсюда материал, из которого изготавливается рукав, должен обладать следующими характеристиками:

·        Атмосферостойкость;

·        водостойкость;

·        химическая стойкость;

·        прочность;

·        эластичность;

·        ударопрочность.

Из всех широко распространенных термопластов, обладающих данным набором эксплуатационных качеств, наименьшую цену имеет полиэтилен высокого давления, поэтому целесообразно рукавную пленку для наших целей получать именно из него.

Перерабатываемый материал должен обладать максимальной деформационной способностью, которая достигается при низких значениях ПТР, кроме того при снижении ПТР возрастает производительность экструзии поэтому для производства методом экструзии с раздувом рекомендуется использовать полимеры с низким значением ПТР

Указанным выше требованиям соответствует ПЭВД 15803-020, производимый ОАО «Уфаоргсинтез» в соответствии с ГОСТ 16337-77 [16]

Показатели качества полиэтилена должны соответствовать требованиям, указанным в таблице 2.2.

 


Таблица 2.2 - Технические требования к сырью

Наименование показателя

Значение

Метод испытания

Плотность, г/см3 при 20°С

0,9170 - 0,9210

По ГОСТ 15139-69 и ТУ 2243-046-00203521-98

Показатель текучести расплава при 190°С, г/10 мин при нагрузке 49 Н (5 кгс)

1,5-2,5

По ГОСТ 11645-73 и ТУ 2243-046-00203521-98

Разброс показателя текучести расплава в пределах одной партии, %, не более

±6

По ТУ 2243-046-00203521-98

Предел текучести при растяжении, МПа, не менее

9,3

По ГОСТ 11262-80 и ТУ 2243-046-00203521-98

Относительное удлинение при разрыве, %, не менее

600

По ГОСТ 11262-80 и ТУ 2243-046-00203521-98

Прочность при разрыве, МПа, не менее

11,3

По ГОСТ 11262-80 и ТУ 2243-046-00203521-98

Запах и вкус водных вытяжек, балл, не выше

1

ПО ГОСТ 22648-77 и ТУ 2243-046-00203521-98

Массовая доля экстрагируемых веществ, %, не более

0,40

По ГОСТ 26393.

Технологическая проба на внешний вид пленки

A, B

По ГОСТ 16337-77


Для облегчения процесса экструзии и повышения его производительности, а также в целях улучшения эксплуатационных характеристик выпускаемого изделия, к полимеру добавляются различные модифицирующие добавки. В нашем случае целесообразно добавление скользящей добавки, антиоксиданта и светостабилизатора.

Таблица 2.3 - Модифицирующие добавки для ПЭВД

Марка добавки

Механизм действия

Преимущества

Дозировка и способ ввода

СКП-ПН (ПЭ) 402.00.010, скользящая добавка на основе эрукамида

Снижение коэффициента трения (повышение скользящего эффекта) и липкости достигается за счет применения ограниченно совместимых с полимером органических поверхностно активных веществ (ПАВ). Ограниченная совместимость с полимером заставляет добавки мигрировать к поверхности полимера с формированием на этой поверхности сверхтонкого слоя. Играя роль смазки добавка создает эффект скольжения и предотвращает слипание пленок

-возможность использования высокоскоростных машин - увеличение пробега оборудования - предотвращение эффекта проскальзывания - уменьшение вероятности слипания пленки в рулоне - придание поверхности гладкости и глянца

0,3-2,0%, вводится в виде гранул, в предварительном смесителе, желательно за 3 суток до экструзии, так как максимальные свойства развиваются на 3-4 сутки

СКП-ПН (ПЭ) 402.00.009 светостабилизирующая добавка на основе смеси пространственно-затрудненных аминовых светостабилизаторов HALS

Пространственно-затрудненные аминовые светостабилизаторы HALS (HinderedAmineLightStabilizers) характеризуются высокой эффективностью при стабилизации полиолефинов. Разработано несколько теорий для объяснения механизма стабилизации этими материалами, включая перенос энергии, т.е. перевод полимерных молекул из возбужденного состояния в устойчивое и предотвращение образования свободных радикалов, удаление свободных радикалов и разложение перекисей

Увеличение светостабильности полимера, предотвращение разрушения химических связей в полимере под действием УФ-излучения(фотолиза), который приводит растрескиванию, побелению, изменению цвета и ухудшению механических свойств,

0,5-1,5% в виде гранул в предварительном смесителе

СКП-ПН (ПЭ) 402.00.007, антиоксидант на основе пространственно затрудненного фенола и фосфитов

Органические вещества реагируют с кислородом в процессе, называемом автоокислением. Автоокисление инициируется теплом, светом, механическими нагрузками, остатками катализаторов, примесями, и.т. п. Инициирование сопровождается деструкцией (разложением) молекулы полимера с образованием алкильных радикалов.

- увеличивает срок службы при повышенных температурах - Стабилизирует свойства полимера при переработке

0,1-1% в виде гранул в предварительном смесителе

 


2.3 Выбор оборудования и формующей оснастки


В зависимости от свойств исходного сырья, назначения пленок и их строения, для их получения могут использоваться различные технологические процессы и оборудование. Исходя из требований к получаемому изделию, режима переработки ПЭВД, а также имеющихся на рынке предложений, была выбрана универсальная экструзионная линия ВМ-900 разработанная ООО «Политехник-сервис» и «ВМ-Техника». [20]

Линии ВМ-900 предназначены для производства рукавных пленок различной толщины из гранулированного полиэтилена высокого давления (ПЭВД), наматываемых в рулоны в виде рукава. Климатическое исполнение линии: УХЛ-4 по ГОСТ 15150-69 (температура окружающего воздуха от +10°С до +35°С; относительная влажность 80% при температуре +25°С).Линия предназначена для эксплуатации в условиях закрытого помещения класса П-IIа по ПЭУ.

В таблице 2.4 приведены основные технические характеристики экструзионной линии.

Таблица 2.4 - технические характеристик экструзионной линии ВМ-900

Параметр

Значение

Перерабатываемый материал (гранулят)

ПЭВД

Максимальная ширина рукава в сложенном виде, мм

870

Толщина пленки, мкм

20-100

Максимальный диаметр наматываемого рулона, мм

До 500

Максимальная линейная скорость намотки пленки, м/мин При работе на ПЭВД (при редукторе 1/28)

37,5

Максимальная производительность линии, кг/час ПЭВД, при толщине пленки 60 мкм и ширине рукава 820 мм

 До 80

Номинальный диаметр шнека, мм

45

Отношение рабочей длины шнека к его диаметру

1/33

Частота вращения шнека максимальная, об/мин

90

Пределы регулирования рабочей температуры по зонам, 0С

150-250

Количество зон регулирования температуры, шт. в том числе: - на гильзе шнека - на корпусе фильтра - на формующей головке и раздатчике

8  4 2 2

Рабочее давление сжатого воздуха, кг/см2

4-6

Установленная мощность линии, кВт, в т. ч: - электродвигатель главного привода - электродвигатель вытяжного устройства - электродвигатель намоточного устройства - электродвигатель воздухообдува - нагревательные элементы

36 15 0,75 0,75 х 2 1,1 18

Средняя потребляемая мощность при производительности 60 кг/час ПЭВД, кВт

20

Габаритные размеры (Ширина х Длина), мм

2400х3700

Минимальная высота лини, мм

4320

Максимальная высота линии, мм

4820

 
Краткое описание формующей линии

Общий вид экструзионной линии ВМ-900 приведен на рисунке 2.1, ее состав - в таблице 2.5.

 

Таблица 2.5 - Состав экструзионной линии ВМ-900

Поз.

Наименование

Количество


Оборудование: Линия «900» в составе:


1

Пресс червячный в комплекте.

1

2

Эстакада с лестничным маршем и ограждениями.

1

3

Кольцевая экструзионная головка в комплекте.

1

4

Установка для формирования рукавной пленки в комплекте.

1

5

Механизм намотки.

1

6

Электрошкаф с пультом управления.

2

7

Устройство контроля ширины рукава

1


В используемой линии применяется отношение длины шнека к диаметру 33/1, что позволяет сократить пульсации расплава, и, тем самым улучшить качество пленки, однако увеличивает себестоимость её изготовления за счет больших энергетических затрат, необходимых для вращения более длинного шнека.

Рисунок 2.1 - Экструзионная линия ВМ-900


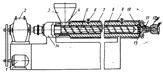
Для получения из исходного сырья однородного расплава, который может быть экструдирован через кольцевую головку, используется экструдер. Его принципиальная схема приведена на рисунке 2.2

Основным рабочим органом экструдера является вращающийся шнек (5), расположенный в корпусе материального цилиндра (7). Вращение шнека через редуктор (2) обеспечивается электродвигателем (1), позволяющим осуществлять бесступенчатое регулирование числа его оборотов. Осевое усилие, возникающее при экструзии, воспринимается упорным подшипником (14). Транспортирование поступающего из бункера (3) пресса через загрузочную воронку (4), гранулята вдоль оси материального цилиндра с целью его плавления, гомогенизации и последующего продавливания полученного расплава через формующий инструмент осуществляется в межвитковом пространстве шнека. Плавление гранулята осуществляется за счет тепла, поступающего от шнуровых нагревательных элементов(9), расположенных на наружной поверхности корпуса, которые разбиты на четыре зоны обогрева, температура которых по мере поступления увеличивается и контролируется автоматически терморегуляторами, через установленные на пульте управления соответствующие термодатчики(6)

Рисунок 2.2 - Принципиальная схема одношнекового экструдера


Для предотвращения налипания гранулята на поверхности шнека пресса и образования пробки в зоне загрузки, цилиндр пресса оснащен рифленой втулкой, а также системой охлаждения этой зоны, что позволяет в значительной степени уплотнить гранулят перед поступлением его в зону плавления шнека.

Для обеспечения непрерывного поступления полимерного сырья в загрузочную воронку пресс оснащен специальным загрузочным бункером, периодически наполняемым вручную или с помощью системы внутрицехового распределения сырья.

Из червячного пресса расплав полимера через решетку (13) с набором сит (10) поступает в кольцевую экструзионную головку (11) и далее в мундштук (12).

Подшипниковый узел (14) предназначен для восприятия осевого усилия, возникающего на его оси при продавливании расплава полимера через формующий инструмент. Подшипниковый узел представляет корпус под роликоподшипник упорный сферический, один конец вала которого вставляется в тихоходный вал доработанного двухступенчатого редуктора, во второй конец вставляется цапфа шнека.

Узел загрузки состоит из загрузочной воронки и корпуса гильзы. Загрузочная воронка предназначена для подачи материала в пресс.

Воронка состоит из бункера, фланца присоединения к корпусу гильзы, рифленой гильзы, коллектора и корпуса.

Корпус гильзы является одной из основных сборочных единиц пресса, в котором происходят основные процессы переработки материала, измельчения полимера. Бункер предназначен для непрерывной подачи гранулированного материала в загрузочную воронку пресса. Для прекращения подачи гранул в пресс нижняя часть бункера оснащена заслонкой. Для выгрузки полимера имеется горловина с пробкой.

Качество получаемой пленки и производительность установки для её производства во многом определяются конструкцией формующей головки. Именно от головки зависит размерная точность пленки, её физико-механические показатели, а также качество подготовки расплава и работа экструдера в целом. Поэтому к конструкции и качеству головки предъявляются следующие требования:

·        Гидравлическое сопротивление формующей головки должно обеспечивать оптимальную производительность экструдера и гомогенность расплава при его подготовке в экструдере.

·        Формующие каналы головки должны обеспечить равномерный выход расплава по периметру формующей щели по толщине, температуре и скорости. При этом факторы, определяющие так называемую память расплава, а именно разность величины и скоростей деформации по периметру, должны быть сведены к минимуму.

·        Каналы головки при формировании заготовки не должны иметь застойных зон, так как материал, долго находящийся при высокой температуре в головке, начинает разлагаться.

·        При заданной производительности скорости экструзии в каналах головки не должны превышать критические для сохранения качественной поверхности экструдируемого расплава на выходе из головки (поверхность экструдата должна быть гладкой).

·        Конструкция головки должна быть легко разборной и обеспечивать заданную точность размеров каналов во всех сечениях при заданных давлениях и температурах. Эти требования вызваны необходимостью частой чистки головки, которую осуществляют как при переходе с одного материала на другой, так и при образовании налета разложившегося полимера при длительной работе на одном материале.

·        Поверхности контакта головки с расплавом должны быть устойчивы против коррозии и иметь незначительную шероховатость, которая уменьшает вероятность образования налета на стенках каналов головки. Это увеличивает срок службы головки и повышает размерную точность.

·        Обогрев (охлаждение) головки должен обеспечивать равномерное температурное поле по периметру. Следует учитывать, что неравномерное температурное поле окружающей среды вызывает отклонение геометрических размеров и физико-механических свойств заготовки по её периметру (например, в случае применения угловой головки с червячным прессом и фильтром тепловой поток со стороны обогрева фильтра вызывает изменение температуры корпуса головки при работе в адиабатическом режиме.) При конструировании головок с охлаждением или термостатированием формующей щели температура носителя на входе в каналы не должна превышать температуру на выходе более чем на 10-20°С, что достигается увеличением расхода теплоносителя.

Самой распространенной головкой, используемой для экструзии с раздувом, является головка со спиральным дорном [8]. В такой головке расплав полимер распределяется по спиральным каналам, глубина которых уменьшается в направлении течения. Широкое использование головки со спиральным дорном обусловлено тем, что она работает при низком давлении и при этом достигается хорошее распределение потоков расплавов.

Наиболее простой и часто встречающийся тип головки - угловая вращающаяся головка с центральным подводом расплава. Конструкция головки этого типа показана на рисунке 2.3.

Угловая вращающаяся головка с центральным подводом и спиральным распределителем расплава состоит из корпуса (6), внутри которого установлен спиральный распределитель (8) с закрепленным на нем болтами (2) дорном (3). Расплав поступает от экструдера в центр головки и затем через радиальные каналы в винтовой распределитель (8), где, перемешиваясь равномерно, распределяется по периметру формующей щели. Распределительные системы в форме вешалки тянутся по всему периметру и переходят в спиральные каналы, глубина которых сходит на нет. На спиральном участке глубина канала постепенно уменьшается, а зазор между дорном и корпусом увеличивается, что приводит к разделению расплава на два потока, первый из которых движется в осевом направлении между спиралями, а второй продолжает двигаться по спирали. При этом в любой точке выходного кольцевого зазора течение расплава складывается из тангенциальных течений из всех каналов распределительной системы, благодаря чему стыков не образуется и достигается высокая термическая однородность расплава. Детали головки обогреваются снаружи электронагревателями (7) с автоматическим регулированием и контролем температуры.

Рисунок 2.3 - угловая вращающаяся головка с центральным подводом расплава и спиральным распределителем       


Для размещения в головке магистралей подачи и отвода воздуха вовнутрь рукава в головке предусмотрены каналы (а). При необходимости головку можно снабжать устройством для её вращения. Вращение корпуса и распределительных каналов головки (корпуса (6) совместно с матрицей (4) и дорном (3)) позволяет получать равноплотную намотку пленки в рулон, кроме того, вращение головки уменьшает разнотолщинность пленки по ширине. В связи с этим вращающиеся головки используют в линиях для производства пленок, которые затем подвергают последующей сварке, нанесению рисунков, и т.п. В этом случае верхняя часть головки (включая корпус, матрицу, дорн и спиральный распределитель) подвижно закреплена в подшипниковом узле (10). Для центровки корпуса головки служит выступ (13), который входит во втулку (14), выполненную из износостойкого материала. Гайкой (11) через подшипник выступ (13) прижимается своей нижней частью к поверхности втулки, создавая давление, необходимое для исключения вытекания расплава из канала. По мере изнашивания выступа (13) или втулки (14) гайку (11) подтягивают.

Крутящий момент от электропривода (12) через шестерню (9) передается на корпус головки. При непосредственном присоединении системы нагрева головки к системе питания происходит осциллирующее вращение корпуса головки на 270ч360°. При сборке головки последовательно измеряют точность зазоров между корпусом (6) и распределителем (8), а также точность формующего зазора, образованного дорном (3) и матрицей (4). Практика показывает, что точность выполнения деталей формующей головки не должна быть ниже второго класса. Величину формующего зазора дополнительно регулируют изменением положения матрицы (4) с помощью регулировочных болтов (1). Такая регулировка необходима для выравнивания расхода расплава полимера по периметру щели; как правило, это необходимо из-за неравномерности температурного поля по сечению канала на входе в головку, разного деформационного состояния расплава после прохождении головки и иных факторов. В связи с этим регулировку формующего зазора осуществляют после выхода машины на заданный температурный режим и экструзии расплава через головку в течение 20ч30 минут. Для обеспечения возможности регулирования зазора в процессе работы установки усилие затяжки болтов (5) должно быть достаточно для предотвращения утечек расплава и не должно превышать усилия, развиваемого регулировочными болтами (1) [4]

Экструзионная линия ВМ-900 комплектуется на выбор головкой с диаметром фильеры в 100, 150 или 200 мм. Исходя из рекомендуемой для ПЭ степени раздува, лежащей в пределах 3ч6 [1] и ширины рукава 800 мм, выбираем головку с диаметром фильеры в 150 мм.

2.4 Технологическая схема производственного процесса


Производство рукавной пленки осуществляется экструзией расплава через угловую кольцевую головку методом «снизу вверх» с последующим раздувом и вытяжкой получаемой заготовки в рукавную пленку, её охлаждением, складыванием и намоткой в рулоны. Сырьем для получения рукавной пленки служит гранулированный полиэтилен высокого давления марки ПЭВД 15803-020.

Технологическая схема производства изображена на рисунке 2.3. [14]

Основными стадиями технологического процесса являются подготовка сырья, пластикация полимера, формование рукавной заготовки, раздув заготовки и образование рукава (пузыря), его охлаждение и складывание в полотно, контроль качества пленки.

Подготовительные операции включают разгрузку и сушку полимера, и смешение его гранул с добавками - красителем и модифицирующими добавками.

Полиэтилен поступает на предприятие автомобильным транспортом в мешках. Мешки расположены на паллетах и обмотаны пленкой; в каждом мешке содержится 25 кг полимера, на паллете размещается 12 мешков. На предприятии имеется склад сырья, представляющий собой площадку с рядами стеллажей. Исходя из количества потребляемого в сутки сырья и необходимости наличия на складе 10 суточного запаса сырья, на складе должно иметься место для размещения не менее 170 паллет. В холодное время года поступивший на склад полимер перед переработкой должен быть выдержан при температуре цеха на протяжении не менее чем 12 часов.

Поступающий на склад полимер подвергается входному контролю, в процессе которого исследуется и сравнивается с паспортными данными ряд технологических параметров полиэтилена, таких, как ПТР и плотность, а также проверяется однородность полимера в партии.

Гранулированный полиэтилен из складских емкостей (1) централизованным пневмотранспортом поступает в промежуточные емкости (3) объемом 3ч5 м3, устанавливаемые на технологических площадках над бункерами экструзионных агрегатов. Из этих емкостей порциями сырье через дозирующее устройство (5) и магнитный уловитель металлических частиц (6) поступает в бункер экструдера. (8)

Вместо крышки бункер экструдера затянут тканью во избежание сброса полимерной пыли в помещение. Бункер экструдера имеет увеличенный объем (0,5 м3) и к нему подсоединен вентилятор и электрообогреватель воздуха, предназначенный для подсушки и подогрева гранул полиэтилена. Устройство подогрева обеспечивает нагрев гранул до 60°С

Для ввода в сырье различных добавок на этой же технологической площадке предусмотрены промежуточные емкости (4) объемом около 0,5 м3. Конкретная марка сырья, суперконцентрата и добавок для каждого типоразмера пленки определяется технологической службой цеха и указывается в сменном задании ежедневно, для каждой смены отдельно.

Пластикация полимера. Параметры используемого для пластикации экструдера перечислены в таблице 3.4. Материальный цилиндр обычно имеет 4 зоны обогрева, причем температура должна регулироваться с точностью ±(1ч1,5)°С.

Таблица 2.6 - Температурный режим переработки ПЭ марки 15803-020 [16]

Марка ПЭВД

ПТР, г/10 мин

Температура по зонам



Экструдер

Фильтр

Переходник

головка



1

2

3

4



1

2

15803-020

2

110

120

130

140

140

145

150

155


Гранулы полимера захватываются вращающимся шнеком диаметром 45 мм и перемещаются вдоль оси материального цилиндра по винтовому каналу шнека. В процессе перемещения вдоль цилиндра полиэтилен разогревается за счет трения, а также за счет подвода тепла от обогревателей экструдера.

В загрузочной зоне цилиндра экструдера установлена нарезная втулка, которая обеспечивает лучший захват гранул полимера шнеком.

Зона загрузки экструдера охлаждается водой для того, чтобы не допустить преждевременного плавления полимера и засорения им загрузочного отверстия.

Шнек сжимает, перемешивает и выдавливает расплав через решетник с пакетом фильтрующих сеток. Сетки предотвращают попадание крупных загрязнений и непроплавов в пленку. Пакет фильтрующих сеток заменяется при возрастании давления расплава перед фильтром до 300ч320 бар. Для осуществления замены необходима полная остановка экструдера.

Следует учитывать, что процесс продвижения материала вдоль цилиндра сопровождается выделением тепла за счет механической работы, поэтому возможен перегрев расплава по сравнению с заданием.

Формование рукавной заготовки происходит в рукавной головке (9), в которую поток расплава полимера поступает из экструдера и затем выдавливается из кольцевого оформляющего зазора. С этой целью используют угловые прямоточные головки с диаметром кольцевого зазора 100, 150 или 200 мм. Для калибровки щелевого зазора и регулирования толщины пленки предусмотрены специальные центрующие болты. Головка, как правило, конструктивно тяжела в разборке, поэтому для чистки экструзионной щели используют специальный скребок, изготовленный из алюминия, латуни или титана. При невозможности очистки головки с помощью скребка для увеличения зазора в зоне загрязнения и улучшения доступа к щели подвижное наружное кольцо сдвигают в сторону.

Головка разделена на независимые зоны обогрева, которые нагреваются с помощью электронагревателей. Подвод расплава внутрь головки осуществляется посредством центрального канала и радиальной распределительной системы к заходам канавок спирального распределителя. Потоки расплава текут одновременно по спиральной траектории и через гребень спирали, благодаря чему смежные потоки накладываются друг на друга, предотвращая образование спаек. Итоговый кольцевой поток выходит наружу вверх по зазору между наружным и дроновым фильерными кольцами.

Раздув заготовки и образование пузыря. Выходящая из кольцевой экструзионной головки исходная рукавная заготовка непрерывно формируется (раздувается) в рукавную пленку за счет избыточного давления воздуха, находящегося в замкнутой полости рукава, образованной сомкнутыми валками тянущего устройства. Воздух в полость исходной рукавной заготовки подается через центральное отверстие дорна экструзионной головки на стадии запуска технологического процесса при «заправке» рукава между валками тянущего устройства. Объем воздуха в полости рукава в течение реализации технологического процесса остается постоянным.

Выходящий из щелевого зазора расплав оформляют в виде пузыря, зажав верхнюю часть и завязав ее шнуром, который пропускают через приемные валы.

Охлаждение принимаемого вверх пузыря и его складывание в двухслойное полотно.

Для вытяжки рукава из зоны его формования используется механизм вытяжки (10), состоящий из двух валков, один из которых стальной, а второй, прижимной, имеет обрезиненную поверхность. Стальной валок устанавливается стационарно и вращается от электропривода. Скорость вращения регулируется бесступенчато с помощью частотного преобразователя. Обрезиненный валок прижимается к стальному валку с помощью пары пневмоцилиндров.

Поднимающееся вверх тепло от остывающего рукава затрудняет его охлаждение и переход полимера в твердое состояние. Для предотвращения слипания пленки в двухслойном полотне в зазоре между тянущими валками отводящего устройства она должна быть охлаждена до температуры на 25ч 30.°С ниже температуры размягчения перерабатываемого полимера.

Для охлаждения пленочного рукава над поверхностью головки установлено обдувочное кольцо. Подача воздуха осуществляется путем его забора вентилятором воздуходувки, нагнетания в ресивер, а из него по специальным шлангам - в обдувочное кольцо, положение которого можно регулировать по горизонтали. Внутри кольца имеется лабиринт для выравнивания потоков воздуха на выходе. Выход воздуха из кольца осуществляется через 2ч3 щели - одна у самого выходной щели расплава, вторая - большего радиуса и закрыта наклонным пробивным ситом. Воздух, выходящий у начала рукава, может раскачивать и заполаскивать пленку, поэтому его расход внимательно контролируют, либо, уменьшая общее количество поступающего на охлаждение воздуха с помощью шибера у всоса воздуходувки, либо перераспределяя поток таким образом, чтобы большая его часть выходила через большую выходную щель. Второй способ более эффективен для рукавов большой ширины.

Для предотвращения самопроизвольных колебательных движений пузыря в касательном направлении применяют стабилизаторы различной конструкции, в том числе и охлаждающие в виде бандажей, концентричных геометрической оси формующего зазора головки.

Управление работой линии осуществляется специальным автоматическим пультом контроля управления, смонтированным в электрошкафу.

Для эксплуатации и обслуживания оборудования, проведения монтажных, пуско-наладочных и ремонтных работ линия оснащена специальной эстакадой. Для обеспечения производства и намотки рукавной пленки в полотно использован приводной механизм намотки.

Окончательная обработка рукава. Наполненный воздухом рукав медленно по направляющим пластинам поднимают вверх в зазор между приемными валками. Отвердевшую часть рукава обрабатывают коронным разрядом (11) для увеличения адгезии к красителям, отрезают на специальном устройстве (12). Из тянущего устройства через систему отклоняющих валков рукавная пленка попадает на намоточное устройство (13), где наматывается на бобины в рулоны. Для предотвращения смещения торца рукава в процессе вытяжки используется устройство, обеспечивающее фиксацию рукава по вертикали. При намотке шпуля, надетая на внутренний стальной вал, катится по поверхности гуммированного приводного валка. Переход со шпули на шпулю осуществляют поперечной резкой ножом и перезаправкой конца пленки. намотка должна осуществляться при температуре не выше 60°С, так как в противном случае пленка может подвергаться деформации.

Для обеспечения соответствия готовой продукции требованиям ГОСТ и ТУ выпускаемая пленка подвергается испытаниям в лаборатории ОТК.

Возвратные отходы, такие, как обрезки рукава, брак измельчаются и добавляются к исходному сырью в количестве не более 5%, что допустимо для пленок толще 80 мкм, согласно ГОСТ 10354-82. При этом качество пленки должно отвечать всем требованиям НТД. Критерием для этого является внешний вид и физико-механические свойства пленки.

В целом, производство рукавной полиэтиленовой пленки методом экструзии с последующим раздувом может считаться малоотходным производством.

Готовые рулоны взвешивают, снабжают этикеткой, ставят на поддон и заворачивают в стрейч-пленку по всему периметру.

Смещение пленки по торцу рулона допускается в пределах допуска на ширину. Каждый рулон должен иметь этикетку установленного образца, в которой указывается наименование или товарный знак предприятия-изготовителя, наименование продукции, номер партии, дату изготовления, массу нетто, обозначение ГОСТ указанием марки пленки, фамилии или номера упаковщика, штамп ОТК.

Пленку складируют и хранят в крытых помещениях, исключающих попадание прямых солнечных лучей, в горизонтальном положении, на расстоянии не менее 1 м от нагревательных приборов при температуре +5 +40°С. Допускается хранение пленки в неотапливаемом складском помещении при температуре до минус 30°С не более 1 месяца.

Транспортируют пленку любым видом транспорта в крытых средствах в соответствии с правилами перевозки грузов, действующих на данном виде транспорта. Гарантийный срок хранения пленки марки М без добавок -10 лет, с добавками -1 год со дня изготовления.

Подготовка экструдера к запуску

В период подготовки машины к пуску необходимо:

·        Произвести калибровку щелевого зазора головки, очистить его от нагара и протереть торец головки фильерной пастой;

·        заготовить и установить на намотку шпули;

·        проверить измерительный инструмент, наличие и маркировку сырья, соответствие температурного режима заданию по всем зонам обогрева;

·        подготовить и загрузить в бункер экструдера соответствующее сырье.

После длительного периода простоя экструдера пуск необходимо производить осторожно, начиная с небольших оборотов привода и снижая обороты по мере уменьшения нагрузки на приводе, так как в противном случае чрезмерные нагрузки на электропривод и головку могут привести к преждевременному их выходу из строя. При пуске выход на режим отслеживается по давлению расплава перед фильтром.

Перед началом переработки машина необходима её выдержка с включенными обогревателями и охлаждением загрузочной зоны на протяжении не менее 2 часов для установки стабильного теплового режима, необходимого для переработки.

2.5 Контроль производства и управление технологическим процессом

 

Таблица 2.7 - контроль технологических параметров

Наименование стадий процесса

Контролируемый параметр

Метод испытания

Частота контроля

Нормы и технологические показатели

Ответственный за осуществление контроля

1

Контроль сырья

ПЭВД

ПО ГОСТ 16337-77

Каждая партия

См таблицу 3.2

Лаборант входного контроля



СКП-ПН (ПЭ) 402.00.007

ТУ 2243-001-44945397-97

Каждая партия

По ТУ 2243-001-44945397-97

Лаборант входного контроля



СКП-ПН (ПЭ) 402.00.009

ТУ 2243-001-44945397-97

Каждая партия

По ТУ 2243-001-44945397-97

Лаборант входного контроля



СКП-ПН (ПЭ) 402.00.010

ТУ 2243-001-44945397-97

Каждая партия

По ТУ 2243-001-44945397-97

Лаборант входного контроля

2

Процесс смешения

Содержание компонентов

Весовое дозирование

Каждая порция

ПЭВД: 25 кг СКП-ПН (ПЭ) 402.00.007: 0,125 кг СКП-ПН (ПЭ) 402.00.009: 0,250 кг СКП-ПН (ПЭ) 402.00.010: 0,375 кг

Лаборант ОТК Аппаратчик

3

Производство пленки

Температура материального цилиндра

Автоматически по термопарам

В течение всего процесса

1 зона: 110°С 2 зона: 120°С 3 зона: 130°С 4 зона: 140°С фильтр: 140°С переходник: 145°С

Аппаратчик



Температура по зонам головки

Автоматически по термопарам

1 зона:145°С 2 зона:150°С

Аппаратчик



Число оборотов шнека

По прибору

В течение всего процесса

80 мин-1

Аппаратчик

4

Готовая продукция

Пленка рукавная ПЭВД 800 мм*80 мкм

По ГОСТ 10354-82

Каждая партия

См таблицу 3.1

Лаборант ОТК

 

.6 Контроль качества готовой продукции


Предъявляемые к готовой продукции требования приведены в таблице 2.1. В процессе получения пленки из-за нарушения различных технологических режимов и использования недоброкачественного сырья возможно возникновение брака. Виды брака, предполагаемые его причины и способы устранения приведены в таблице 2.8.

Таблица 2.8 - Виды брака при производстве рукавной пленки

Виды брака

Возможные причины возникновения неполадок

Действия персонала, направленные на устранение брака

1

Гелеобразные включения по всей поверхности рукава

Неоднородность сырья по молекулярному весу, возможно использование полиэтилена разных марок

Заменить партию сырья



Недогрев или перегрев какой-либо зоны цилиндра или головки

Проверить нагрузку зон по амперметру и подключение термопар. Вызвать дежурного слесаря КИПиА для ремонта или замены прибора



Недостаточная гомогенизация материала в цилиндре

Уменьшить скорость вращения шнека. Снизить температуру расплава или увеличить количество фильтрующих сеток



Пробиты сетки

Заменить фильтрующие сетки

2

Разнотолщинность плёнки выше допустимой нормы

Смещение формующего зазора головки

Откалибровать головку



Неравномерный обдув рукава

Вычистить и откалибровать обдувочное кольцо Проверить целостность воздушных шлангов



Температура расплава изменяется после выхода из экструдера

На фильтре и головке установить температуры, равные температуре выходной зоны шнека



Неравномерное распределение температур по зонам

Проверить температурный режим на соответствие заданию



Неисправность приемного устройства

Отремонтировать приемное устройство



Чрезмерная степень раздува

Опустить линию кристаллизации



Чрезмерная степень вытяжки

Уменьшить скорость приема пленки

3

Полосы утонения

Нагар на поверхности экструзионной головки

Вычистить щелевой зазор

4

Нестабильность рукава

Неравномерная подача воздуха на обдув или сквозняки

Вычистить обдувочное кольцо. Устранить движение воздушных масс в помещении цеха. Проверить целостность воздушных шлангов

5

Пузыри в толще пленки

Влажное сырье

Заменить сырье

6

Обрыв рукава

Наличие посторонних включений

Проверить сырье, заменить сетки, если этого недостаточно - вычистить головку



Чрезмерная продольная вытяжка

уменьшить скорость приема пленки

7

Складки пленки на транспортных валках

Воздух между слоями пленки

Надрезами пленки в местах вздутия выпустить воздух, начиная с верха машины



Большой разброс разнотолщинности

См. пункт 2



Чрезмерный натяг

Уменьшить натяг



Перекос приемных и намоточных валков

Выставить приемо-намоточное устройство по уровню, проверить соосность валов

8

Складки при намотке пленки

Чрезмерный натяг

Уменьшить натяг

9

Горячие складки

Перегрев массы

Снизить температуру головки, увеличить подачу воды на охлаждение шнека, снизить скорость экструзии



Перекос направляющих пластин

Установить необходимый угол наклона каждой из щек и выставить их по центру приемных валов



Центр зазора приемных щек не совпадает с центром головки

Установить приемные щеки по отвесу



Асимметрия рукава

Проверить зоны обогрева и откалибровать головку



Сквозняки в помещении

Устранить движение воздушных масс в помещении цеха

10

Слипание пленочного рукава

Недостаточное охлаждение рукава, высокая линия кристаллизации

Усилить обдув рукава, снизить температуру расплава, уменьшить скорость отвода пленочного рукава

11

Рукав «садится»

Перегрев массы, недостаточное охлаждение

Снизить температуру расплава, усилить обдув рукава

12

Наплывы и «муар» на поверхности пленки

Перегрев массы

Снизить температуру головки, увеличить подачу воды на охлаждение шнека, снизить скорость экструзии

13

Низкие физико-механические показатели пленки

Качество сырья не соответствует техническим требованием НТД

Заменить сырье



Недостаточная продольная вытяжка

Поднять линию кристаллизации, увеличить температуру расплава

14

Нагрузка двигателя шнека выше номинальной

Засорение фильтра

Заменить фильтрующие сетки



Недостаточно прогрета масса

Проверить температурный режим на соответствие заданию



Неисправен обогрев

Обеспечить обогрев

 

.7 Материальный баланс


Материальный баланс на единицу выпускаемой продукции изображен на схеме:

Доставка ПЭ с места хранения (1)


Сушка (2)


Экструзия (2; 3)


Резка ПЭ пленки на рулоны


®


®


®










В процессе переработки могут наблюдаться следующие потери:

·        потери при приеме сырья, хранении, транспортировании и растаривании сырья;

·        потери в виде летучих продуктов при экструзии, сушке и в виде пыли при резке;

·        частично оплавленное сырье при чистке фильтров, шнека, экструзионной головки, а также затвердевшие куски массы, вытекающие из материального цилиндра и уплотнений. Включаются также отходы, образующиеся при наладке и запуске оборудования, выходе оборудования на заданные технологические режимы, переходе с одного размера пленки на другой, при отборе контрольных образцов в установленном порядке, некондиционная пленка при внезапных остановках;

·        потери на анализ сырья и готовой продукции.

Все потери сведены в таблицу 2.9.

Таблица 2.9 - Материальный баланс

Приход

Расход

Состав

Масса

Состав

Масса


Кг

%


Кг

%

ПЭВД

1,033

97,5

1. ГОТОВАЯ ПРОДУКЦИЯ






Пленка полиэтиленовая

1

94,455

СКП-ПН (ПЭ) 402.00.010

0,106

1

2. ОТХОДЫ






2.1 Используемые

Нестабильная пленка при выходе агрегата на режим или обрыв

0,0048

0,45

СКП-ПН(ПЭ) 402.00.009

0,106

1


Анализ готовой продукции

0,0001

0,01





Переход с одной марки сырья на другую, на другую ширину

0,048

4,57

СКП-ПН(ПЭ) 402.00.007

0,053

0,5

2.2 Неиспользуемые

Анализ сырья

0,0001

0,001





Потери при транспортировке сырья

0,0004

0,003





Летучие продукты экструзии

0,0009

0,08

ИТОГО

1,059

100


Чистка экструзионной головки, подъем рукава после обрыва

0,0047

0,44




ИТОГО

1,059

100




3. Технологические расчеты

 

.1 Расчет производительности экструдера


Мы используем одношнековый экструдер с переменной (уменьшающейся) глубиной нарезки. Производительность этого экструдера определяется по формуле 3.1 [12]

                                                               (3.1)

- производительность экструдера, см3/мин

η - эффективная вязкость расплава полимера в зазоре между гребнем шнека и внутренней стенкой, кПа·с

P-давление в конце шнека, Па

n - частота вращения шнека, мин-1- постоянная прямого потока экструзии, которая может быть рассчитана по формуле 3.2 [12]

                                                                (3.2) 

λ - число заходов нарезки шнека. Обычно λ=1.

σ - коэффициент геометрических параметров шнека, рассчитываемый по формуле 3.3 [12]

                                                (3.3)

- коэффициент, 1/см2

                                                              (3.4)

- коэффициент, 1/см4

                             (3.5)

1 - глубина спирального канала в начальной зоне загрузки, см, определяемая по эмпирической формуле 3.6 [12]

1=(0,12ч0,16) D                                                                      (3.6)

2 - глубина спирального канала в начале зоны сжатия- шаг нарезки, см

=(0,8 ч1,2) D                                                                                   (3.7)

- ширина гребня, см

=(0,06ч0,1) D                                                                         (3.8)

- степень уплотнения

=VЗАГР/VДОЗ                                                                                     (3.9)

ЗАГР - объем спирального канала на длине одного шага в загрузочной зоне (под горловиной), см3

                                                                      (3.10)

доз - объем спирального канала на длине одного шага в зоне дозирования, см3

                                                                       (3.11)

1 - диаметр сердцевины (вала) шнека у загрузочной воронки

1=D-2h1                                                                                                                                         (3.12)

2 - диаметр сердцевины (вала) шнека в зоне пластикации

2=D-2h2                                                                                  (3.13)

3 - диаметр сердцевины вала в зоне дозирования

3=D-2h3                                                                                                                                         (3.14)

Подставив в уравнение 3.9 уравнения 3.10ч3.14 и упростив, мы получим новое выражение для расчета степени уплотнения:

                                                                           (3.15)

Отсюда h3 - глубина спирального канала в зоне дозирования, см:

                                                  (3.16)

                                                                     (3.17)

0 - длина шнека до зоны сжатия

0=L-LH                                                                                   (3.18)

H-длина напорной части шнека

H=(0,4ч0,6) L                                                                         (3.19)

- постоянная обратного потока, см3, составляющая обычно 5-10% от А1[12]

                                                                     (3.20)

С - постоянная потока утечки, зависящая в основном от величины зазора δ.

                                                               (3.21)

Обычно δ=0,1ч0,2 мм или δ=(1∙10-3ч3∙10-3) D, максимально допустимую δ можно определить по уравнению (3.22)

                                                              (3.22)

D - диаметр шнека, см- длина шнека, см

В нашем случае L/D=33/1      =4,5 см; L=148,5 см.

Тогда         длина напорной части шнека по формуле 3.19H=(0,4ч0,6)·148,5=59,4ч89,1 см. Принимаем LH=60 см

Длину шнека до зоны сжатия определяем по формуле 3.180=L-LH=148,5-60=88,5 см

При экструзии ПЭВД рекомендуют использовать степень сжатия, равную 3 [10]

Найдем глубину нарезки канала h1 по формуле 3.71=(0,12ч0,16) D==(0,12ч0,16)·4,5=0,54ч0,72 см. Принимаем h1=0,7 см

Теперь найдем глубину спирального канала в зоне дозирования по формуле 3.16 [12]

А по формуле (1.17) рассчитаем глубину спирального канала в зоне плавления и пластикации

 см

Зная глубину нарезки во всех трех зонах, по формулам 3.12, 3.13, 3.14 можем узнать диаметры сердцевины вала в них1=4,5-2·0,7=3,1 см2=4,5-2·0,374=3,752 см3=4,5-2·0,153=4,194 см

По формуле 3.7 определим шаг нарезки=(0,8 ч1,2) 4,5=3,6ч5,4 Принимаем t=5 см,

а по формуле (1.8) - ширину гребня=(0,06-0,1) 4,5=0,27ч0,45. Принимаем e=0,30 см

Теперь мы можем найти коэффициенты σ по формуле (3.3), a по формуле (1.4) и b по формуле (3.5)

Зная эти коэффициенты, мы можем найти постоянные прямого и обратного потока

 см3

см3

Теперь по формуле (1.22) мы можем рассчитать максимально допустимую величину зазора

 см

Зная величину зазора, мы можем найти величину потока утечки С1по формуле 3.21

Рассчитаем скорость сдвига для зоны дозирования экструдера по формуле 3.22 [12]

, где                                                 (3.22)

- диметр шнека, м; D=0,045ср - средняя глубина нарезки, м; hср=(h1+h3)/2=(0,007+0,00153)/2=0,00426- частота вращения шнека, с-1- шаг нарезки, м. t=0,005

 - скорость сдвига с-1

Для экструдера ЧП 45Ч33 возможны частоты вращения от 0,15 до 1,5 с-1. Проведем расчет для 6 различных значений, выберем следующие значения1=0,15; N2=0,35; N3=0,5; N4=0,75; N5=1; N6=1,5

По этим данным с помощью эмпирической формулы 3.23 мы можем рассчитать вязкость расплава полимера при наших режимах переработки

                                                               (3.23)

Переработка полимера осуществляется при средней температуре 150°С (423K), R=8,314 м2 ·кг/с2·К ·Моль

Значения коэффициентов m0, E, nдля разных скоростей сдвига для ПЭВД можно найти в таблице 3.1 [7]

γ, 1/c

m0, Па·сn

E, дж/моль

n

0,1ч1

0,339

37,3

0,781

1ч10

2,65

28,6

0,593

10ч100

4,74

27

0,525

100-1000

19,9

21,8

0,484


                 

Отсюда, подставив ранее полученные значения в формулу 3.1, мы можем рассчитать производительность экструдера.

Рассчитанные последовательно значения производительности экструдера для давлений в 10, 20,30 и 50 мПа и частот вращения шнека в 0,15, 0,35, 0,50, 0,75, 1 и 1,5 с-1 сведены в таблицу 3.2

 

Таблица 3.2 - Производительность экструдера при различном давлении и скорости вращения шнека

Производительность экструдера, см3/с


Частота вращения шнека, об/сек

0,15

0,35

0,50

0,75

1

1,5


Вязкость расплава полимера, кПа/с

3,21

2,88

2,64

2,43

2,12

1,75

давление, МПа

0

1,833

4,277

6,111

9,166

12,221

18,332


20

1,443

3,841

5,636

8,649

11,629

17,614


30

1,247

3,623

5,398

8,391

11,333

17,255


50

0,857

3,186

4,923

7,875

10,741

16,537



3.2 Расчет производительности головки экструдера

экструдер полиэтиленовый пленка оборудование

Производительность головки экструдера может быть рассчитана по формуле 3.24 [12]

, где                                                                    (3.24)

P - Давление, Па

η - вязкость расплава полимера, Па·с

K - коэффициент геометрической формы канала

Для расчета K имеющий сложную форму канал головки разбивается на геометрически простые элементы, такие, как цилиндр, плоская щель, кольцевой зазор, для каждого из которых рассчитывается Ki, после чего общий коэффициент геометрической формы канала определяется по формуле (3.25) [12]

                                                                               (3.25)

Перепад давления в элементе канала головки можно рассчитать по формуле 3.26 [12]

, где                                                                        (3.26)

ΔPi - перепад давления на участке канала головки, Па

ηi - вязкость расплава полимера на этом участке, Па·с

Vр - объемный расход полимера, см3

. Для решетки коэффициент геометрической формы рассчитывается по уравнению (3.28) [12], а скорость сдвига в решетке определяется по формуле (3.27) [12]

                                                                             (3.27)

, где                                                                    (3.28)

z - число отверстий в решетке;

d - диаметр отверстий, см;

δ - толщина фильтрующих элементов, см

. Для фильтрующей сетки скорость сдвига можно найти по формуле 3.29 [12], а коэффициент геометрической формы - по уравнению 3.30 [12]

                                                                           (3.29)

, где                                                                           (3.30)

n - число фильтровальных элементов;

F - площадь фильтровального элемента, см2;

δ - толщина фильтрующих элементов, см

. Для цилиндрического канала скорость сдвига определяется по формуле 3.31 [12], коэффициент геометрической формы - по уравнению 3.32 [12]

                                                                               (3.31)

, где                                                                        (3.32)

d - диаметр канала, см;

L - длина канала, см

. Для конического канала скорость сдвига определяется по формуле 3.33 [12], коэффициент геометрической формы - по уравнению 3.34 [12]

                                                                       (3.33)

, где                                                 (3.34)

d1 - диаметр а на входе расплава, см;

d2 - диаметр а на выходе расплава, см;

L - длина конического канала, см

. Для кольцевого цилиндрического канала скорость сдвига определяется по формуле 3.35 [12], коэффициент геометрической формы - по уравнению 3.36 [12]

                                                            (3.35)

, где                                     (3.36)

r1 - наружный радиус кольцевого цилиндрического канала, см

r2 - внутренний радиус кольцевого цилиндрического канала, см;

L - длина кольцевого цилиндрического канала, см

. Для кольцевого конического канала скорость сдвига определяется по формуле 3.37 [12], коэффициент геометрической формы - по уравнению 3.38 [12]

                                                            (3.37)

, где                                                        (3.38)

r1, r2 - средние радиусы окружности конического зазора на входе и выходе расплава соответственно, см;

h3, h4 - толщина зазора, соответственно, на входе и выходе, см;

L - длина кольцевого конического канала, см;

m - коэффициент, учитывающий геометрические параметры канала и рассчитывающийся по формуле 3.39 [12], см-2

             (3.39)

Рассчитаем значение геометрических коэффициентов и перепадов давления на различных участках головки для объемных расходов 2 и 5 см3/с.

1.       Фильтрующая сетка

F=1000 см2;                   n=20;                    d=0,02 см;           δ=10 см


Vр, см3

5

10

20

γ, с-1

1,6

3,2

6,4

η, кПа·с

4,73

3,56

2,69

ΔP, МПа

0,945

1,43

2,15


.        Решетка

z=70;                             d=0,3 см;             δ=1,5 см



Vр, см3

5

10

20

γ, с-1

26,9

53,8

107,8

η, кПа·с

2,14

1,54

1,11

ΔP, МПа

1,15

1,66

2,39


.        Цилиндрический канал

d=5 см;                         L=0,3 см


Vр, см3

5

10

20

γ, с-1

0,407

0,815

1,63

η, кПа·с

0,891

0,765

0,623

ΔP, МПа

8,71·10-5

1,49·10-4

2,43·10-4


.        Конический канал

d1=5 см                d2=1 см                L=4,5 см


Vр, см351020




γ, с-1

0,236

0,472

0,943

η, кПа·с

1

0,862

0,741

ΔP, МПа

0,0491

0,00844

0,145


.        Цилиндрический канал

d=1,5 см;                       L=8 см


Vр, см351020




γ, с-1

15,1

30,2

60,4

η, кПа·с

2,82

2,03

1,46

ΔP, МПа

0,908

1,31

1,88

d=1,5 см;                       L=7,5 см


Vр, см351020




γ, с-1

15,1

30,2

60,4

η, кПа·с

2,82

2,03

1,46

ΔP, МПа

0,851

1,21

1,76


.        Цилиндрический канал

Распределительная система дорна представляет собой 10 канавок, полимер в которых течет параллельно. Диаметр канавки d=0,5 см, её длина L=6,2 см. Таким образом, коэффициент сопротивления одной канавки составляет

Суммарный геометрический коэффициент распределительной системы, очевидно, в 10 раз выше

Kрс=0,000162·10=0,00162

Расход, приходящийся на канавку, при общем расходе 5,10 и 20 см3/с будет соответственно 0,5 и 1 и 2 см3

Vр, см30,512




γ, с-1

55,9

111,8

223,6

η, кПа·с

6,43

3,77

2,64

ΔP, МПа

1,30

2,32

3,25


.        Кольцевой цилиндрический канал.

r1=5,5 см;            r2=6,1 см;             L=6 см



Vр, см351020




γ, с-1

2,12

4,25

8,51

η, кПа·с

4,21

3,17

2,39

ΔP, МПа

0,192

0,290

0,438


8.       Кольцевой конический канал.

r1=5,5 см;   r2=7,42 см;  h3=0,4 см;   h4=0,5 см;            L=2,2 см

Vр, см351020




γ, с-1

3,06

6,11

12,2

η, кПа·с

3,63

2,74

2,24

ΔP, МПа

0,00135

0,00203

0,00464


9.       Кольцевой цилиндрический канал.

r1=7,42 см;           r2=7,6 см;             L=0,7 см


Vр, см351020




γ, с-1

18,3

36,5

73,0

η, кПа·с

2,56

1,85

1,33

ΔP, МПа

0,393

0,566

0,814


.        Кольцевой цилиндрический канал.

r1=7,46 см;           r2=7,54 см;           L=0,5 см

Vр, см351020




γ, с-1

92,5

185

370

η, кПа·с

4,15

2,91

2,03

ΔP, МПа

5,17

7,22

10,11


Рассчитаем суммарный перепад давления

ΔPобщ=ΣΔPi                                                                            (3.40)

Для объемного расхода 20 см3

ΔPобщ=2,15+2,39+2,43·10-4+0,145+1,88+1,76+

+3,25+0,438+0,00464+0,814+10,11=22,22 МПа

3.3 Нахождение рабочей точки экструдера


Таблица 3.3 - Зависимость давления от объемного расхода

N=9 об/мин

Q, см3

0

20

30

50


ΔP, МПа

1,83

1,44

1,25

0,857

N=21 об/мин

Q, см3

0

20

30

50


ΔP, МПа

4,28

3,73

3,45

2,90

N=30 об/мин

Q, см3

0

20

30

50


ΔP, МПа

6,11

5,69

5,47

5,05

N=45 об/мин

Q, см3

0

20

30

50


ΔP, МПа

9,17

8,65

8,39

7,88

N=60 об/мин

Q, см3

0

20

30

50


ΔP, МПа

12,22

11,63

11,33

10,74

N=90 об/мин

Q, см3

0

20

30

50


ΔP, МПа

18,33

17,61

17,26

16,54

Головка

Q, см3

0

5

10

20


ΔP, МПа

0

10,97

15,60

22,22


Допустимое давление переработки ПЭВД составляет 15-25 МПа [1], все точки попадают в этот интервал, поэтому из всех имеющихся точек выбираем последнюю, соответствующую наибольшей производительности.

Таким образом, рабочее давление в экструдере у нас составляет 16,7 МПа.

Рассчитаем итоговую производительность экструдера в кг/час, соответствующую этой рабочей точке по формуле 3.41

G=3600·Q·ρ/1000, где                                                           (3.41)

ρ - плотность расплава нашего материала. Для ПЭВД 15803-020 при температуре переработки (150°C) плотность составляет 0,82 г./см3 [10]

Таким образом

G=3600*17,7·0,82/1000=52,25 кг/час

Исходя из этого значения мы можем рассчитать производительность агрегата, которая и будет итоговой производительностью линии

Q=60·UП·b· δПЛ ·ρ, где                                                          (3.42)

b - ширина пленки. b=2·S=2·0,8=1,6 м

δПЛ - толщина рукаваδпл=8·10-5м

ρ - плотность полимера; ρ=919 кг/м3

Q=60·0,83·1,6·8·10-5·919=49,9 кг/час

Таким образом, итоговая производительность одной экструзионной линии составляет 49,9 кг/час.


Список литературы


1. Основы технологии переработки пластмасс. Учебник для вузов / Власов С.В., Кандырин Л.Б., Кулезнев В.Н. и др-М.: Химия, 2004. - 600с

. Техника переработки пластмасс / Под ред. Н.И. Басова и В. Броя. - Совместное издание СССР и ГДР (Издательство «Дейтчер Ферлаг Фюр Грундштоффиндустри, г. Лейпциг). - М.: Химия, 1985. - 528 с.

. Торнер Р.В., Акутин М.С. Оборудование заводов по переработке пластмасс. - Москва: Химия, 1986. - 400 с, ил

. Ю.Е. Лукач, А.Д. Петухов, В.Е. Сенатос. учебник / Ю.Е. Лукач, А.Д. Петухов, В.А. Сенатос. - М.: Машиностроение, 1981. - 222 с

. В.К. Завгородний, Э.Л. Калинчев, Е.Г. Махаринский. Оборудование предприятий по переработке пластмасс М.:Химия, 1972 - 461с

. Э. Бернхард. Переработка термопластичных материалов. М.: «Химия», 1965 г. - 747 с.

. Э.Л. Калинчев, М.Б. Саковцева. Свойства и переработка термопластов. Справочное пособие. - Л.:, Химия, 1983. - 288 с

. К. Раувендааль. Экструзия полимеров. Санкт-Петербург, «Профессия», 2008 -768с

. В. Микаэли. Экструзионные головки для пластмасс и резины. Конструкции и технические расчеты. Санкт-Петербург, «Профессия», 2007 -472с

. Справочник по пластическим массам, / под ред. Гарбар М.И., Катаев В.М., Акутин М.С.М.: Химия, 1969. - 517 с.; 106 рис., 282 библ

. Е.М. Абдель-Бари. «Полимерные пленки» Санкт-Петербург, «Профессия», 2006 -352с, ил

. Шембель А.С. «Сборник задач и проблемных ситуаций по технологии переработки пластмасс», М.:Химия, 1990 - 272 с

. Козлов П.В., Брагинский Г.И., Химия и технология полимерных пленок, М., 1965 - 504 c

. Оленев Б.А., Мордкович Е.М., Калошин В.Ф. Проектирование производств по переработке пластических масс - 256 c

. Ефремов Н.Ф. Тара и ее производство. Часть 1. Производство тары из полимерных пленок и листов. Москва, МГУП, 2001 - 312 с

. ГОСТ 16337-77. Полиэтилен высокого давления. Технические условия

. ГОСТ 10354-82. Пленка полиэтиленовая. Технические условия

. Журнал «Всё о плёнках», 05.2008,

. Журнал «Всё о плёнках», 12.2004

. Экструзионные линии ОАО «Вм-техника». Комплект технической документации

.Н.В. Делекторский. «Основы экономики проектирования химических предприятий и производств. Методические указания для студентов». М., 1971. - 212 с

. Л.И. Кошкин «Экономика химического производства» М., РХТУ, 2002 -55 с

. Пожаровзрывоопасность веществ и материалов и средства их тушения. Справ. издание в двух книгах. /А.Н. Баратов, А.Я. Корольченко, Г.Н Кравчук и др.-М. Химия, 1990 - 496 с

. Беспамятнов Г.П., Кротов Ю.А. Предельно допустимые концентрации химических веществ в окружающей среде. Справочник. Л., Химия-1985 - 528 с

. Ковалева Л.А., Вареник О.Н., Хабарова Е.И., Роздин И.А. «Раздел «Экологическая безопасность» в дипломных проектах». М., МИТХТ, 2010 - 62 с

. Ковалева Л.А., Вареник О.Н., Хабарова Е.И., Роздин И.А. «Раздел «Охрана труда» в дипломных проектах» М. МИТХТ, 2010 - 82 с

. Тащилин Г.Н., Юртушкин В.И. Организационно-методические указания по выполнению раздела «Защита персонала цеха в чрезвычайных ситуациях» дипломного проекта М. МИТХТ, 2009 - 52 с

. Ушакова О.Б. Методические указания по курсовому проектированию по дисциплине «Технология изделий из пластических масс и композиционных материалов». Учебно-методическое пособие. М.: МИТХТ, 2004 - 35с

. http://www.masterbatch.ru/index.php? id=45 - Модифицирующие добавки для полимеров

Похожие работы на - Производство полиэтиленовых пленок

 

Не нашли материал для своей работы?
Поможем написать уникальную работу
Без плагиата!
Без нейросетей!