Классификация газогорелочных устройств

  • Вид работы:
    Реферат
  • Предмет:
    Другое
  • Язык:
    Русский
    ,
    Формат файла:
    MS Word
    1,02 Mb
  • Опубликовано:
    2011-12-23
Вы можете узнать стоимость помощи в написании студенческой работы.
Помощь в написании работы, которую точно примут!

Классификация газогорелочных устройств















Реферат

"Классификация газогорелочных устройств"

газовый горелка сжигание автоматизация

Классификация газовых горелок

Газовая горелка - устройство, обеспечивающее подачу определенного количества горючего газа и окислителя (воздуха или кислорода), создание условий смешения их, транспортировку образовавшейся смеси к месту сжигания и сгорания газа. Есть горелки, у которых к месту сгорания подается только газ или газ и воздух, но без их предварительного смешения внутри горелки.

Требования, предъявляемые к горелкам:

·      создание условий для полного сгорания газа с минимальными избытком воздуха и выходом вредных веществ в продуктах сгорания;

·        обеспечение необходимой теплопередачи и максимального использования теплоты газового топлива;

·        наличие пределов регулирования, не меньших чем требуемое изменение тепловой мощности агрегата;

·        отсутствие сильного шума, уровень которого не должен превышать 85 дБ;

·        простота конструкции, удобство ремонта и безопасность эксплуатации;

·        возможность применения автоматики регулирования и безопасности;

·        соответствие современным требованиям промышленной эстетики.

Основные функции газовых горелок: подача газа и воздуха к фронту горения газа, смесеобразование, стабилизация фронта воспламенения, обеспечение требуемой интенсивности процесса горения газа.

По методу сжигания газа все горелки можно разделить на три группы:

·      без предварительного смешения газа с воздухом - диффузионные;

·        с неполным предварительным смешением газа с воздухом - диффузионно-кинетические;

·        с полным предварительным смешением газа с воздухом - кинетические.

Кроме того, горелки можно классифицировать по способу подачи воздуха, расположению горелки в топочном пространстве, излучающей способности горелки, давлению газа.

Широкое распространение имеет классификация горелок по способу подачи воздуха. По этому признаку горелки подразделяют следующим образом:

·        бездутьевые, у которых воздух поступает в топку за счет разрежения в ней;

·        инжекционные, в которых воздух засасывается за счет энергии струи газа;

·        дутьевые, у которых воздух подается в горелку или топку с помощью вентилятора.

Горелки могут работать при различных давлениях газа: низком - до 5000 Па, среднем - от 5000 Па до 0,3 МПа и высоком - более 0,3 МПа. Наибольшее распространение имеют горелки, работающие на низком и среднем давлениях газа.

Важная характеристика горелки - ее тепловая мощность, кДж/ч:


где QН - низшая теплотворная способность газа, кДж/м3; VЧ - часовой расход газа горелкой, м3/ч.

Различают максимальную, минимальную и номинальную тепловые мощности газовых горелок. Максимальная тепловая мощность достигается при длительной работе горелки с большим расходом газа и без отрыва пламени. Минимальная тепловая мощность возникает при устойчивой работе горелки при наименьших расходах газа без проскока пламени. Номинальная тепловая мощность горелки соответствует режиму работы с номинальным расходом газа, т. е. расходу, обеспечивающему наибольший КПД при наибольшей полноте сжигания газа. В паспортах горелок указывают номинальную тепловую мощность.

Максимальная тепловая мощность горелки должна превышать номинальную не более чем на 20 %. Если номинальная тепловая мощность горелки по паспорту 10000 кДж/ч, то максимальная должна быть 1 2 000 кДж/ч.

Еще одна важная характеристика горелки - предел регулирования тепловой мощности п = 2 ... 5:

n = Qr min / Qr max,

где Qr min - минимальная тепловая мощность горелки; Qr max - максимальная тепловая мощность горелки.

В эксплуатации находится большое количество горелок различных конструкций. Общие требования для всех горелок: обеспечение полноты сгорания газа, устойчивость при изменениях тепловой мощности, надежность в эксплуатации, компактность, удобство при обслуживании.

Существует много разных классификаций газогорелочных устройств, которые мы можем видеть в Таблице 1.

Таблица 1. Классификация газовых горелок

Классификационный признак

Характеристика классификационного признака

Способ подачи компонентов

Подача воздуха за счет свободной конвекции


Подача воздуха за счет разрежения в рабочем пространстве


Инжекция воздуха газом


Принудительная подача воздуха от постороннего источника


Принудительная подача воздуха от встроенного вентилятора (блочные горелки)


Принудительная подача воздуха за счет давления газа (турбинные горелки)


Инжекция газа воздухом (принудительная подача воздуха, инжектирующего газ)


Принудительная подача газовоздушной смеси от постороннего источника

Степень подготовки горючей смеси

Без предварительного смешения


С частичной подачей первичного воздуха


С неполным предварительным смешением


С полным предварительным смешением

Скорость истечения продуктов сгорания, м/с

До 20 (низкая)


Св. 20 до 70 (средняя)


Св. 70 (высокая, скоростные горелки)

Характер потока, истекающего из горелки

Прямоточный


Закрученный неразомкнутый


Закрученный разомкнутый

Номинальное давление газа перед горелкой, Па

До 5000 (низкое)


Среднее давление (до критического перепада давлений)


Высокое давление (критический или сверхкритический перепад давлений)

Возможность регулирования характеристик факела

С нерегулируемыми характеристиками факела


С регулируемыми характеристиками факела

Необходимость регулирования коэффициента избытка воздуха

С нерегулируемым (минимальным или оптимальным) коэффициентом избытка воздуха


С регулируемым (переменным или повышенным) коэффициентом избытка воздуха

Локализация зоны горения


Н поверхности катализатора, в слое катализатора


В зернистой огнеупорной массе


На керамических или металлических насадках


В камере горения агрегата или в открытом пространстве

Возможность использования тепла продуктов сгорания

Без подогрева воздуха и газа


С подогревом в автономном рекуператоре или регенераторе


С подогревом воздуха во встроенном рекуператоре или регенераторе


С подогревом воздуха и газа

Степень автоматизации

С ручным управлением


Полуавтоматические


Автоматические

Диффузионные горелки

В диффузионные горелки воздух, необходимый для сгорания газа, поступает из окружающего пространства к фронту факела за счет диффузии.

Такие горелки применяют обычно в бытовых приборах. Их можно использовать также при увеличении расхода газа, если необходимо распределить пламя по большой поверхности. Во всех случаях газ подается в горелку без примеси первичного воздуха и смешивается с ним за пределами горелки. Поэтому иногда эти горелки называют горелками внешнего смешения.

Наиболее простые по конструкции диффузионные горелки (рис. 1) представляют собой трубу с высверленными отверстиями. Расстояние между отверстиями выбирают с учетом скорости распространения пламени от одного отверстия к другому. Эти горелки имеют небольшие тепловые мощности, и их применяют при сжигании природных и низкокалорийных искусственных газов под небольшими водонагревательными устройствами.








Рис. 1. Возможные варианты диффузионных горелок

К промышленным горелкам диффузионного типа относят подовые щелевые горелки (рис. 2). Обычно они представляют собой трубу диаметром до 50 мм, в которой просверлены отверстия диаметром до 4 мм в два ряда. Коллектор горелки размещают над колосниковой решеткой в кирпичном канале. Канал представляет собой щель в поде котла, откуда и название горелок - подовые щелевые.










Рис. 2. Подовая диффузионная горелка:

- регулятор воздуха; 2 - горелка; 3 - смотровое окно; 4 - центрирующий стакан; 5- горизонтальный тоннель; 6- выкладка из кирпича; 7 - колосниковая решетка

Из горелки 2 газ выходит в топку, куда из-под колосников 7 поступает воздух. Газовые струйки направляются под углом к потоку воздуха и равномерно распределяются по его сечению. Процесс смешения газа с воздухом осуществляется в специальной щели, выполненной из огнеупорного кирпича. Благодаря такому устройству усиливается процесс смешивания газа с воздухом и обеспечивается устойчивое зажигание газовоздушной смеси.

Колосниковую решетку закладывают огнеупорным кирпичом и оставляют несколько щелей, в которых размещают трубы с просверленными отверстиями для выхода газа. Воздух под колосниковую решетку подается вентилятором или в результате разрежения в топке. Огнеупорные стенки щели - стабилизаторы горения - предотвращают отрыв пламени и одновременно повышают процесс теплоотдачи в топке.

При раздельной подаче газа и воздуха в диффузионных горелках можно подогревать воздух, что обеспечивает получение высоких температур в топке.

Инжекционные горелки


Горелки, в которых образование газовоздушной смеси происходит за счет энергии струи газа, называют инжекционными. Основной элемент инжекционной горелки - инжектор, подсасывающий воздух из окружающего пространства внутрь горелок.

В зависимости от количества инжектируемого воздуха горелки могут быть с неполной инжекцией воздуха и с полным предварительным смешением газа с воздухом.

Горелки с неполной инжекцией воздуха. К фронту горения поступает только часть необходимого для сгорания воздуха, остальной воздух поступает из окружающего пространства. Такие горелки работают при низком давлении газа. Их называют инжекционными горелками низкого давления (рис. 3, а).

Основными частями инжекционных горелок являются регулятор первичного воздуха, форсунка, смеситель и коллектор (см. рис. 3).







Рис.










Рис. 3. Инжекционные атмосферные газовые горелки:

а - низкого давления; б - горелка для чугунного котла; 1 - форсунка; 2 - инжектор; 3 - конфузор; 4 - диффузор; 5 - коллектор; 6 - отверстия; 7 - регулятор первичного воздуха

Регулятор первичного воздуха 7 представляет собой вращающийся диск или шайбу и регулирует количество первичного воздуха, поступающего в горелку. Форсунка 1 служит для превращения потенциальной энергии давления газа в кинетическую, т. е. для придания газовой струе такой скорости, которая обеспечивает подсос необходимого воздуха. Смеситель горелки состоит из трех частей: инжектора, конфузора и диффузора. Инжектор 2 создает разрежение и подсос воздуха. Самая узкая часть смесителя - конфузор 3, выравнивающий струю газовоздушной смеси. В диффузоре 4 происходят окончательное перемешивание газовоздушной смеси и увеличение ее давления за счет снижения скорости.

Из диффузора газовоздушная смесь поступает в коллектор 5, который и распределяет ее по отверстиям 6. Форма коллектора и расположение отверстий зависят от типа горелок и их назначения.

Распределительный коллектор горелок емкостных водонагревателей имеет форму окружности; у горелок проточных водонагревателей коллектор состоит из параллельно расположенных трубок; у агрегатов, имеющих удлиненную топку, коллектор удлиненной формы; у горелок для чугунного котла (рис. 3, б) коллектор в виде прямоугольника с большим числом мелких отверстий.

Инжекционные горелки низкого давления имеют ряд положительных качеств, благодаря которым их применяют в бытовых газовых приборах, а также в газовых приборах для предприятий общественного питания и других коммунально-бытовых потребителей газа. Инжекционные горелки используют также в чугунных отопительных котлах.

Основные преимущества инжекционных горелок низкого давления: простота конструкции, устойчивая работа горелок при изменении нагрузок; надежность и простота обслуживания; бесшумность работы; возможность полного сжигания газа и работа на низких давлениях газа; отсутствие подачи воздуха под давлением.

Важная характеристика инжекционных горелок неполного смешения - коэффициент инжекции - отношение объема инжектируемого воздуха к объему воздуха, необходимого для полного сгорания газа. Так, если для полного сгорания 1 м3 газа необходимо 10 м3 воздуха, а первичный воздух составляет 4 м3, то коэффициент инжекции равен 4 : 10 = 0,4.

Характеристикой горелок является также кратность инжекции - отношение первичного воздуха к расходу газа горелкой. В данном случае, когда на 1 м3 сжигаемого газа инжектируется 4 м3 воздуха, кратность инжекции равна 4.

Достоинство инжекционных горелок - это их свойство саморегулирования, т.е. поддержание постоянной пропорции между количеством подаваемого в горелку газа и количеством инжектируемого воздуха при постоянном давлении газа.

Пределы устойчивой работы инжекционных горелок ограничены возможностями отрыва и проскока пламени. Это значит, что увеличить или уменьшить давление газа перед горелкой можно только в определенных пределах.

Горелки с полным предварительным смешением газа с воздухом. Инжекция всего воздуха, необходимого для полного сгорания газа, обеспечивается повышенным давлением газа. Горелки полного смешения газа работают в диапазоне давлений от 5000 Па до 0,5 МПа. Их называют инжекционными горелками среднего давления и применяют в основном в отопительных котлах и для обогрева промышленных печей. Тепловая мощность горелок обычно не превышает 2 МВт. Основные трудности повышения их мощности - сложность борьбы с проскоком пламени и громоздкость смесителей.

Эти горелки дают малосветящийся факел, что уменьшает количество радиационной теплоты, передаваемой нагреваемым поверхностям. Для увеличения количества радиационной теплоты эффективно применение в топках котлов и печей твердых тел, которые воспринимают теплоту от продуктов горения и излучают ее на тепловоспринимающие поверхности. Эти тела называют вторичными излучателями. В качестве вторичных излучателей используют огнеупорные стенки тоннелей, стенки топок, а также специальные дырчатые перегородки, установленные на пути движения продуктов сгорания.

Горелки с полным предварительным смешением газа с воздухом подразделяют на два типа: с металлическими стабилизаторами и огнеупорными насадками.

Инжекционная горелка конструкции Казанцева (ИГК) состоит из регулятора первичного воздуха, форсунки, конфузора, смесителя, насадка и пластинчатого стабилизатора (рис. 4).








Рис. 4. Инжекционная горелка ИГК:

- стабилизатор; 2 - насадок; 3 - конфузор; 4 - форсунка; 5 - регулятор первичного воздуха

Регулятор первичного воздуха 5 горелки одновременно выполняет функции глушителя шума, который создается за счет повышенных скоростей движения газовоздушной смеси. Пластинчатый стабилизатор и проскока пламени в широком диапазоне 7 обеспечивает устойчивую работу горелки без отрыва и проскока пламени в широком диапазоне нагрузок. Стабилизатор состоит из стальных пластин толщиной 0,5 мм при расстоянии между ними 1,5 мм. Пластины стабилизатора стягивают между собой стальными стержнями, которые на пути движения газовоздушной смеси создают зону обратных токов горячих продуктов сгорания и непрерывно поджигают газовоздушную смесь.

В горелках с огнеупорными насадками природный газ сгорает с образованием малосветящегося пламени. В связи с этим передача теплоты излучением от факела горящего газа оказывается недостаточной. В современных конструкциях газовых горелок значительно повысилась эффективность использования газа. Малая светимость факела газа компенсируется излучением раскаленных огнеупорных материалов при сжигании газа методом беспламенного горения.

Газовоздушная смесь у этих горелок приготовляется с небольшим избытком воздуха и поступает в раскаленные огнеупорные каналы, где она интенсивно нагревается и сгорает. Пламя не вы ходит из канала, поэтому такой процесс сжигания газа называется беспламенным. Это название условное, так как в каналах пламя имеется.

Газовоздушная смесь подогревается от раскаленных стенок канала. В местах расширения каналов и вблизи от плохо обтекаемых тел создаются зоны задержки горячих продуктов сгорания. Такие зоны - устойчивые источники постоянного подогрева и зажигания газовоздушной смеси. На рис. 5 показана беспламенная панельная горелка. Поступающий в сопло 5 из газопровода 7 газ инжектирует необходимое количество воздуха, регулируемое регулятором первичного воздуха 6. Образовавшаяся газовоздушная смесь через инжектор 4 поступает в распределительную камеру 3, проходит по ниппелям 2 и поступает в керамические тоннели 1. В этих тоннелях происходит сжигание газовоздушной смеси. Распределительная камера 3 от керамических призм 8 теплоизолирована слоем диатомовой крошки, что сокращает теплоотвод из реакционной зоны.

Беспламенное сжигание газа имеет следующие преимущества: полное сгорание газа; возможность сжигания газа при малых избытках воздуха; возможность достижения высоких температур горения; сжигание газа с высоким тепловым напряжением объема горения; передача значительного количества теплоты инфракрасными лучами.

Существующие конструкции беспламенных горелок с огнеупорными насадками по конструкции их огневой части подразделяют на горелки с насадками, имеющие каналы неправильной геометрической формы; горелки с насадками, имеющие каналы правильной геометрической формы; горелки, у которых пламя стабилизируется на огнеупорных поверхностях топки.



Рис. 5. Беспламенная панельная горелка:

- тоннель; 2 - ниппель; 3 - распределительная камера; 4 - инжектор; 5 - сопло; 6 - регулятор воздуха; 7 - газопровод; 8 - керамические призмы

Наиболее распространены горелки с насадками правильной геометрической формы. Огнеупорные насадки таких горелок состоят из керамических плиток размером 65 х 45 х 12 мм. Беспламенные горелки называют также горелками инфракрасного излучения.

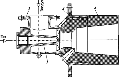
Все тела - источники теплового излучения, возникающего за счет колебательного движения атомов. При излучении тепловая энергия веществ превращается в энергию электромагнитных волн, которые распространяются от источника со скоростью, равной скорости света. Эти электромагнитные волны, распространяясь в окружающем пространстве, наталкиваются на различные предметы и легко превращаются в тепловую энергию. Величина ее зависит от температуры излучающих тел. Каждой температуре соответствует определенный интервал длин волн, излучаемых телом. В данном случае передача теплоты излучением происходит в инфракрасной области спектра, а горелки, работающие по этому принципу, называются горелками инфракрасного излучения (рис. 6).

Через сопло 4 (см. рис. 6, а) газ поступает в горелку и инжектирует весь воздух, необходимый для полного сгорания газа. Из горелки газовоздушная смесь поступает в сборную камеру 6 и далее направляется в огневые отверстия керамической плитки 2. Во избежание проскока пламени диаметр огневых отверстий должен быть меньше критической величины и составлять 1,5 мм. Выходящая из огневых камер газовоздушная смесь поджигается при малой скорости ее вылета, чтобы избежать отрыва пламени. В дальнейшем скорость вылета газовоздушной смеси можно увеличить (полностью открыть кран), так как керамические плитки нагреваются до 1000°С и отдают часть теплоты газовоздушной смеси, что приводит к увеличению скорости распространения пламени и предотвращению его отрыва.










Рис. 6. Горелки инфракрасного излучения:

а - схема горелки: 1 - рефлектор; 2 - керамическая плитка; 3 - смеситель; 4 - сопло; 5 - корпус; 6 - сборная камера; б, в и г - соответственно горелки ГИИ-1, ГИИ-8 и ПС-1-38

Керамические плитки имеют около 600 огневых цилиндрических каналов, что составляет около 40 % поверхности плиток.

Плитки соединяют друг с другом специальной замазкой, состоящей из смеси шамотного порошка с цементом.

Если инфракрасные горелки работают на газе среднего давления, то применяют специальные плиты из пористых жаропрочных материалов. Вместо цилиндрических каналов у них узкие искривленные каналы, которые заканчиваются расширяющимися камерами сгорания.

При сжигании газа в многочисленных каналах различных насадок происходит нагрев их внешних поверхностей до температуры около 1000 °С . В результате поверхности приобретают оранжево-красный цвет и становятся источниками инфракрасных лучей, которые поглощаются различными предметами и вызывают их нагрев.

Горелку ГК-1-38 успешно применяют для подогрева строящихся стен и штукатурки, обогрева людей, работающих в зимних условиях. Горелка может работать на природном и сжиженном газах.

Горелки с принудительной подачей воздуха


У горелок с принудительной подачей воздуха процесс образования газовоздушной смеси начинается в самой горелке и завершается в топке. Газ сгорает коротким и несветящимся пламенем. Воздух, необходимый для сгорания газа, подается в горелку принудительно с помощью вентиляторов. Подача газа и воздуха производится по отдельным трубам.

Горелки с принудительной подачей воздуха часто называют двухпроводными и смесительными, так как в них происходит полное перемешивание газовоздушной смеси.


Рис. 7. Горелка с принудительной подачей воздуха низкого давления:

- сопло; 2 - корпус; 3 - фронтальная плита; 4 - керамический тоннель

Наиболее распространенные конструкции этих горелок работают на низком давлении газа и воздуха (рис. 7). Однако некоторые конструкции можно использовать и при среднем давлении газа.

Горелки предназначены для установки в топках котлов и других агрегатах с небольшим объемом топки, а также в нагревательных и сушильных печах.

Газ давлением до 1200 Па поступает в сопло 1 и выходит из него через восемь отверстий диаметром 4,5 мм. Отверстия расположены под углом 30° к оси горелки. В корпусе 2 горелки устроены специальные лопатки, придающие потоку воздуха вращательное движение. Таким образом, газ в виде мелких струек пересекается в закрученном потоке воздуха и создается хорошо перемешанная газовоздушная смесь. Горелка заканчивается керамическим тоннелем 4, имеющим запальное отверстие.

Основные достоинства горелок: возможность сжигания большого количества газа; широкий диапазон регулирования производительности горелок; возможность подогрева воздуха и газа до температур, превышающих температуру воспламенения.

В существующих разнообразных конструкциях горелок интенсификация процесса образования газовоздушной смеси достигается следующими способами: расчленением потоков газа и воздуха на мелкие потоки, в которых проходит смесеобразование; подачей газа в виде мелких струек под углом к потоку воздуха; закручиванием потока воздуха различными приспособлениями, встроенными внутрь горелок.

Комбинированные горелки


Горелки, работающие одновременно или раздельно на газе и мазуте или на газе и угольной пыли, называются комбинированными. Их применяют при перебоях в подаче газа, когда необходимо срочно перейти на другой вид топлива; когда газовое топливо не обеспечивает необходимого температурного режима топки; подача газа на данный объект производится только в определенное время (ночью) для выравнивания суточной неравномерности газопотребления.

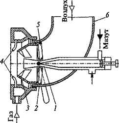
Наибольшее распространение получили газомазутные горелки (рис. 8) с принудительной подачей воздуха. Горелка состоит из газовой, воздушной и жидкостной частей. Газовая часть представляет собой полое кольцо, имеющее штуцер для подвода газа и восемь трубочек для распыления газа.

Жидкостная часть горелки состоит из мазутной головки и внутренней трубки, заканчивающейся форсункой 1. Подача мазута в горелку регулируется вентилем. Воздушная часть горелки состоит из корпуса б, завихрителя 3, воздушной заслонки 5, с помощью которой можно регулировать подачу воздуха. Завихритель служит для лучшего перемешивания струи мазута с воздухом. Давление воздуха 2...3 кПа, давление газа до 50 кПа, а давление мазута до 0,1 МПа.

Применение комбинированных горелок дает более высокий эффект, чем одновременное использование газовых горелок и мазутных форсунок или газовых и пылеугольных горелок.










Рис. 8. Комбинированная газомазутная горелка с принудительной подачей воздуха:

- мазутная форсунка; 2 - воздушная камера; 3 - завихритель; 4 - трубки выхода газа; 5 - воздушная регулировочная заслонка; 6 - корпус

Комбинированные горелки необходимы для надежной и бесперебойной работы газоиспользующих установок крупных промышленных предприятий, электростанций и других потребителей, для которых перерыв в работе недопустим.

В качестве резервного топлива служит мазут, в этом случае в центральной трубе устанавливается мазутная форсунка. При переводе горелки на газовое топливо мазутную форсунку заменяют кольцевым каналом, по которому подается газовое топливо.

В центральной части канала установлена труба с чугунным наконечником 2. В наконечнике 24 косые щели, через которые выходит газ, пересекающийся с потоком закрученного воздуха, выходящего из улитки 1. В усовершенствованных конструкциях горелок в наконечнике вместо щелей предусмотрено 115 отверстий диаметром 7 мм. В результате скорость выхода газа увеличилась почти в два раза (150 м/с).

В новых конструкциях горелки применяется периферийная подача газа, при которой газовые струйки, имеющие более высокую скорость, чем воздушные, пересекают закрученный поток воздуха, движущийся со скоростью 30 м/с, под прямым углом. Такое взаимодействие потоков газа и воздуха обеспечивает быстрое и полное их перемешивание, в результате чего газовоздушная смесь сгорает с минимальными потерями.

Технические характеристики горелок приведены в Таблице 2.

Таблица 2. Технические характеристики горелок БГ-Т

Параметры

Виды горелок в зависимости от мощности


0,12

0,25

0,34

0,5

0,65

Тепловая мощность в режиме «малый огонь», МВт

0,08

0,08

0,08

0,24

0,32

Присоединительное давление газа перед горелкой, Па

2000

2000

2500

3500

4500

Номинальное давление в камере сгорания теплового агрегата, Па

200

150

-

-

-

Номинальное разрежение в камере сгорания газа, Па

10

10

10

10

10

Низшая теплота сгорания газа, МДж/м3, не менее

31,8

Низшее число Воббе, МДж/м3

41,2. ..54,5

Температура окружающей среды, °С, не более

40

Минимальный коэффициент избытка воздуха при номинальной тепловой мощности, не более

1,15

Допускаемое увеличение минимального коэффициента избытка воздуха в диапазоне рабочего регулирования тепловой мощности, не более

0,2

Мощность привода вентилятора, кВт, не более

0,18

0,25

0,25

0,37


Блочные газовые горелки БГ-Г (рис. 10) предназначены для использования в камерах сгорания тепловых агрегатов различного назначения (паровые и водогрейные котлы, печи, асфальтосмесительные установки и т.д.). В качестве топлива в горелках используют природный газ.

Во входной части корпуса 7 расположен воздухозаборник 14, в котором на оси 13 установлена воздушная заслонка 75с приводом. Привод воздушной заслонки состоит из электромагнита 17 и системы рычагов, связанных с осью заслонки. К корпусу 1 крепится электродвигатель 25, на вал которого насажен центробежный вентилятор 24.












Рис. 10. Горелка блочная газовая БГ-Г:

- корпус; 2 - глазок смотровой; 3 - генератор импульсный; 4 - датчик реле давления воздуха; 5 - палец быстросъемный; 6 - провод высоковольтный; 7 - насадок газовый; 8 - переходник (смеситель) с соплом; 9 - завихритель; 10 - кольцо уплотнительное; 11 - прокладка; 12 - разводка газовая; 13 - ось; 14 - воздухозаборник; 15 - заслонка воздушная; 16 - кронштейн; 17 - электромагнит; 18 - пульт управления; 19 - клапан электромагнитный; 20 - датчик ионизационный (электрод контрольный); 21 - вентиль газовый; 22 - датчик-реле давления газа; 23 - кран; 24 - вентилятор; 25 - электродвигатель; 26 - реле; 27 - электрод нулевой; 28 - электрод запальный

К фланцу корпуса крепится смеситель 8, внутри которого установлен газовый насадок 7с завихрителем 9 и электродами 20, 27 и 28. К торцу смесителя крепится горловина.

Для доступа к газовому насадку и подводящим высоковольтным проводам 6 электродов смеситель при помощи двух быстросъемных пальцев 5 может откидываться в одну или другую сторону.

Газовый насадок 7 соединен с газовой разводкой 12, на которой установлена в зависимости от типоразмера горелки необходимая газовая арматура. Места соединений газового насадка 7 с газовой разводкой 12 и газовой разводки со смесителем горелки уплотнены уплотнительным кольцом 10 и прокладкой 11.

Управляют работой горелки с пульта управления 18, который крепится к корпусу с помощью кронштейна 16.

Воздух в горелку подается электровентилятором. Количество воздуха, поступающего в зону горения, регулируют воздушной заслонкой 15.

При номинальной тепловой мощности горелки электромагнит обесточен и воздушная заслонка открыта (положение 0 на лимбе воздухосборника). В режиме «малый огонь» на электромагнит подается питание, он срабатывает, и воздушная заслонка, поворачиваясь на оси, перекрывает воздухосборник (положение 3 на лимбе воздухосборника).

Газ поступает по газовой разводке 12 в газовый насадок 7 и через его газораздающие отверстия попадает в поток воздуха, закрученный завихрителем 9. Количество газа, подаваемого на горение, регулируют электромагнитными вентилями.

Газовоздушная смесь поджигается искрой, возникающей между запальным электродом 28 и газовым насадком 7 при подаче тока высокого напряжения от импульсного генератора 3.

Давление газа перед горелкой контролируют датчиком-реле 22, а давление воздуха для горения - датчиком-реле 4. Наличие пламени контролируют блоком контроля пламени, расположенным в пульте управления и получающим импульс от датчика контроля пламени 20. Для наблюдения за горением на корпусе горелки имеется смотровой глазок 2.

Режим продувки. Включают электровентилятор, подающий воздух в горелку. Привод обесточен, заслонка 15 полностью открыта, подается максимальное количество воздуха для обеспечения продувки. Электромагнитные вентили на газовой разводке обесточены, что препятствует подаче газа в горелку.

Режим розжига. По окончании продувки горелка переходит в режим розжига: на привод подается питание, он поворачивает ось 13 заслонки /5, уменьшая подачу воздуха для обеспечения розжига горелки. Одновременно включается клапан 19 (на горелках БГ-Г-0,5 и БГ-Г-0,65 включаются два электромагнитных вентиля 27), подавая газ в горелку, и импульсный генератор 3, подавая высокое напряжение на запальный электрод 28. Искра, возникающая между газовым насадком 7 и запальным электродом 28, поджигает газовоздушную смесь.

Режим розжига горелки одновременно является режимом «малый огонь».

Режим эксплуатации. При нормальном розжиге с появлением пламени и устойчивом горении дополнительно включается электромагнитный вентиль 21, отключается электромагнит 17, обеспечивая максимальное открытие воздушной заслонки 15. Горелка переходит в режим «большой огонь». Тепловую мощность регулируют с помощью регулятора температуры (для паровых котлов - давления пара, который при необходимости подает сигнал на пульт управления для изменения расхода газа и воздуха).

Горелка работает в режиме нормальной эксплуатации с трехступенчатым регулированием тепловой мощности.

Горелка БГ-Г-0,12 в зависимости от варианта изготовления работает в режиме трехступенчатого или двухступенчатого регулирования.

Автоматизация процессов сжигания газа

Свойства газового топлива и современные конструкции газовых горелок создают благоприятные условия для автоматизации процессов сжигания газа. Автоматическое регулирование процесса горения повышает надежность и безопасность эксплуатации газоиспользующих агрегатов и обеспечивает их работу в соответствии с наиболее оптимальным режимом.

В существующих газоиспользующих установках применяют системы частичной или комплексной автоматизации.

Современная комплексная газовая автоматика состоит из следующих основных систем: автоматики регулирования, автоматики безопасности, аварийной сигнализации, теплотехнического контроля.

Автоматика регулирования бытовых, коммунальных и промышленных газовых приборов и агрегатов предназначена для управления и регулирования процесса горения газа таким образом, чтобы газовые приборы и агрегаты работали на заданном режиме и обеспечивали оптимальный режим горения газа. Так, у емкостных водонагревателей поддерживается постоянная температура воды в баке, у паровых котлов - постоянное давление пара, у отопительных водогрейных котлов - температура воды в котле.

Автоматика безопасности прекращает подачу газа к горелкам газоиспользующих установок при нарушениях режима работы. При этом контролируются наиболее важные параметры:

• наличие пламени в топке. При отсутствии пламени в топке подача газа на горелку немедленно прекращается;

• давление газа на подводящем газопроводе. При изменении давления газа против установленного минимального и максимального значений подача газа прекращается;

• разрежение в топке. При понижении разрежения в топке до минимально допустимого подача газа прекращается;

• давление воздуха (при наличии соответствующих горелок). При падении давления воздуха до минимально допустимого подача газа прекращается;

• температура воды в котле. Если температура воды превышает допустимую норму, то подача газа прекращается;

• давление пара в котле. При повышении давления пара сверх установленного подача газа прекращается.

При отключении агрегатов подаются звуковой и световой сигналы. Контролируют также загазованность помещений, где установлены газовые приборы и агрегаты.

Приборы контроля и сигнализации дают возможность устанавливать дистанционное управление газоиспользующих установок.

Приборы теплотехнического контроля помогают обслуживающему персоналу вести технологический процесс в оптимальном режиме.

Степень автоматизации газоиспользующего агрегата зависит от конкретных условий его эксплуатации.

Список литературы

.Кязимов К.Г., Гусев в.Е. Основы газового хозяйства. - М.: Высш. шк., 2000.

.Кязимов К.Г. Устройство и эксплуатации газового хозяйства. - М.: Высш. шк., 2004.

.Кязимов К.Г. Справочник работника газового хозяйства. - М.: Высш. шк., 2006.

.Стаскевич Н.Л., Северинец Г.Н., Вигдорчик Д.Я., Справочник по газоснабжению и использованию газа. - Л.: Недра, 1990.

.ГОСТ 17356 - 71

.ГОСТ 21204 - 83

.ГОСТ 21204 - 97

Похожие работы на - Классификация газогорелочных устройств

 

Не нашли материал для своей работы?
Поможем написать уникальную работу
Без плагиата!
Без нейросетей!