Модернизация дизельного двигателя Д-243 путем установки турбонаддува
Реферат
Дипломный проект состоит из 133 стр., в том числе 12 рисунков, 27 таблиц,
12 чертежей А1.
ДОРОЖНЫЙ КАТОК, ТУРБОНАДДУВ, МОДЕРНИЗАЦИЯ ЭНЕРГЕТИЧЕСКОЙ УСТАНОВКИ,
ПАТЕНТНЫЕ ИССЛЕДОВАНИЯ, РАСЧЕТ ДВИГАТЕЛЯ, КАРТА СМАЗКИ, МАРШРУТНАЯ КАРТА,
ЭКСПЛУАТАЦИЯ, БЕЗОПАСНОСТЬ, ЭКОНОМИЧЕСКАЯ ЭФФЕКТИВНОСТЬ
Основной целью дипломного проекта является модернизация энергетической
установки дорожного катка ДУ - 50.
Были произведены основные расчеты двигателя с наддувом и без него.
Осуществлен патентный поиск. На основании отобранных патентов были внесены
предложения по модернизации двигателя.
Содержание
ВВЕДЕНИЕ
Технологическая часть
.1 Общие сведения о машинах для уплотнения грунтов
.1.1 Устройство дорожного катка
.1.2 Принцип работы дорожного катка
.1.3 Скорость укатки
.1.4 Повышение скорости движения катков
.1.5 Критический анализ конструкции машин
.2 Описание устройства и рабочего процесса
.2.1 Классификация дорожных катков
Специальная часть
.1 Общие сведения об объекте исследования
.2 Задание на проведение исследования
.2 Регламент поиска
.3 Справка о поиске
.4 Вывод по результатам патентного исследования
Описание сущности модернизации по результатам патентного
исследования
Расчет двигателя без наддува
Расчет двигателя с наддувом
Эксплуатационная часть
.1 Назначение, устройство и принцип работы ремонтируемого
узла
.2 Организация эксплуатации, технического обслуживания и
ремонта катка ДУ - 50
Технология машиностроения
.1 Описание схемы технологического процесса комплексного
восстановления детали
.2 Описание внешней планировки рабочего места
.3 Назначение способа устранения дефекта
Разработка маршрутного технологического процесса
восстановления детали
Безопасность жизнедеятельности
.1 Анализ устойчивости работы технических систем при
модернизации двигателя
.2 Анализ условий труда по испытанию турбокомпрессоров
.3 Электробезопасность, пожаробезопасность
.4 Разработка мероприятий, обеспечивающих безопасность
эксплуатации энергетической установки
.4.1 Вентиляция помещения для испытания турбокомпрессоров
.4.2 Борьба с шумом при работе двигателя
.4.3 Защита окружающей среды
.5 Вывод по разделу
Расчет экономической эффективности разработки
.1 Технико - экономическое обоснование проекта
.2 Расчет количества машино - часов работы техники в году
.3 Определение годовой эксплуатационной производительности
.4 Расчет годовых текущих издержек потребителя
.5 Расчет цены единицы продукции
.6 Расчет показателей экономической эффективности проекта
ЗАКЛЮЧЕНИЕ
СПИСОК ИСПОЛЬЗОВАННЫХ ИСТОЧНИКОВ
ПРИЛОЖЕНИЕ
Введение
Дорожная машина представляет собой агрегат или несколько агрегатов,
оборудованных одним или несколькими рабочими органами для выполнения одной или
нескольких операций технологического процесса дорожного строительства в
соответствии с производственными требованиями при минимальных затратах.
Основными элементами машины являются: рабочий орган, силовое оборудование,
передаточные устройства, система управления, ходовое оборудование, поворотная и
неповоротная рамы. Рабочий орган - предназначен для непосредственного
выполнения рабочих операций (отвал бульдозера, ковш скрепера или экскаватора и
т.п.). Силовое оборудование - часть машины, которая вырабатывает энергию для
привода в движение всех механизмов. Передаточные устройства (трансмиссии)
трансформируют энергию от источника к рабочему органу. Они должны обеспечивать
отбор мощности для привода всех механизмов машины. Система управления -
предназначена для управления и регулирования работы, силового оборудования,
рабочего органа и отдельных устройств . Ходовая часть служит для передвижения
машины и передачи нагрузок от собственного веса и усилий, создаваемых рабочим
органом. Основными конструктивно-эксплуатационными показателями машин являются:
производительность, маневренность, проходимость и устойчивость.
Производительность машины оценивается количеством продукции, вырабатываемой в
единицу времени (в час). Производительность бывает теоретическая, техническая и
эксплуатационная. Маневренность - способность машины работать, передвигаться и
разворачиваться в стесненных условиях.
Проходимость - способность машины передвигаться по грунтам малой несущей
способности, преодолевать неровности грунта и небольшие водные преграды. Кроме
того, дорожные машины в процессе работы должны быть устойчивы. На данные
показатели существенное влияние оказывает мощность, развиваемая двигателем. В
связи с этим в данном дипломном проекте рассматривается увеличение мощности
двигателя, путем установки турбонаддува. Для повышения мощности и гибкости
работы дизелей используется турбонаддув. Он помогает повысить мощность
двигателя за счет подачи дополнительной порции воздуха в цилиндры. Так как в
дизельных двигателях нет дроссельной заслонки, этот факт обеспечивает
эффективное наполнение цилиндров без использования схемы управления
турбокомпрессором на всех оборотах. В ходе совершенствования двигателей
увеличивается их мощность, улучшается экономичность, уменьшаются габаритные
размеры, снижается масса и повышаются надежность и срок службы.
Одним из наиболее эффективных мероприятий, увеличивающих литровую
мощность двигателя, является наддув.
Задача повышения мощности и крутящего момента двигателя была актуальна
всегда. Самое простое решение - увеличить рабочий объем: чем больше сгорает
топлива, тем выше мощность. Однако при этом существенно увеличиваются габариты
и масса конструкции.
Альтернативный подход - оставить рабочий объем двигателя прежним, но
подавать в единицу времени больше топлива. Увеличить подачу топлива несложно,
особенно, в системах впрыска. Но при этом для сохранения состава топливной
смеси необходимо пропорционально увеличить и количество подаваемого в двигатель
воздуха. Возможности двигателя самостоятельно всасывать воздух ограничены,
поэтому не обойтись без специального устройства, повышающего давление и,
следовательно, количество воздуха на впуске. Эти устройства обычно называют
нагнетателями или компрессорами.
Целью турбонаддува является топливная экономичность. Повышение мощности
двигателя, достигается ли оно увеличением его рабочего объема или применением
наддува, неизбежно влечет за собой увеличение расхода топлива. Теоретически КПД
двигателей с наддувом несколько выше, чем атмосферных, поэтому удельный (на
единицу мощности) расход топлива у них должен быть ниже. На практике же за счет
потерь при переходных процессах он получается примерно таким же. Для бензиновых
двигателей наддув вряд ли можно считать удачным способом повышения мощности,
ввиду возникновения детонации.
В
данном дипломном проекте, рассмотрен ряд решений задач по модернизации
дизельного двигателя Д-243, путем установки турбонаддува, в целях повышения
мощности. Именно применение турбонаддува наиболее приемлемо в виду повышения
экологических параметров и экономической эффективности. Совместно с системой
турбонаддува могут устанавливаться охладители наддувочного воздуха. На
сегодняшний день радиаторы - охладители наддувочного воздуха
<#"514193.files/image001.gif">
Рисунок
1-Трехполостная схема укатки
Ниже
показана схема укатки, наиболее приемлемая для постоянной и высокой скорости
укладчика. Схема зависит от постоянной длины прохода катка и продольного
перекрытия проходов постоянной длины. Практической трудности поддержания
постоянной длины прохода можно избежать если катки оборудованы соответствующими
измерительными инструментами (приборами) для определения длины прохода.
Рисунок
2-Трехполостная схема укатки в шесть проходов
Для
традиционных статических трехколесных катков схема укатки более сложная, чем
схема, показанная на рисунке, так как два задних вальца имеют заметно более
высокую линейную нагрузку, чем передний валец. На практике укатка трехвальцовыми
статическими катками часто приводит к более высоким плотностям в середине
полосы, чем вдоль краев.
.1.5
Критический анализ конструкции машин
Рисунок 3 -
Зависимость потребного количества циклов нагружения от соотношения контактных
давлений катка и прочности асфальтобетонной смеси
Длительное время дорожная отрасль и отраслевое машиностроение России и
других стран были ориентированы на создание катками контактных давлений,
близких к σp (не менее 90%) и достигающих к концу уплотнения 30-35
кгс/см2. Поэтому многие образцы статического и вибрационного типа оказывались
излишне тяжелыми или динамичными, а качество уплотнения асфальтобетонных
покрытий - нередко низким. Правда, такое неблагоприятное отношение σo/σp может несколько выправлять то
обстоятельство, что горячая смесь остывает и упрочняется, смещая σкр ближе к создаваемым катком σo, но само σo при этом тоже несколько возрастает,
особенно у виброкатков, и желаемое улучшение σo/σp происходит не так эффективно и
быстро. К тому же полезная часть укатки при подобных изменениях будет идти уже
при более низких температурах смеси, что, как известно, чревато потерями
конечного качества по плотности. Да и потребное количество циклов статического
или динамического нагружения катка по одной и той же уплотняемой точке или
месту nц может оказаться увеличенным и составлять не мене 50-70 (Рисунок 3).
При давлениях катка, близких или равных σкр, количество nц может понизиться на
30-35%. Существует другая опасность, связанная с недостаточными контактными
давлениями вальцов катка и обуславливающая вполне понятные снижения плотности
асфальтобетонной смеси и толщины прорабатываемого слоя Z (Рисунок 3), а также
рост необходимого количества nц (Рисунок 4).
Рисунок 4 - Влияние отношения контактных давлений вальца катка и
прочности материала на толщину прорабатываемого слоя уплотняемого материала
При очень малых давлениях вполне закономерна незначительная толщина
проработки с низкой плотностью, т. е. реализуется эффект «вытоптанной
пешеходами дорожки на поляне парка», что, кстати, подтверждают реальные
результаты работы некоторых чрезмерно легких виброплит и виброкатков, несмотря
на то, что, например, у виброплит суммарное (за 8-10 проходов по месту)
количество прикладываемых к поверхности материала nц достигает иногда 1500-2000
и даже больше.
На основе длительного изучения и исследования проблем и вопросов
уплотнения дорожно-строительных материалов, в том числе асфальтобетонных
смесей, сопоставления функциональных параметров различных типов катков и
сравнительного анализа многих положительных и отрицательных результатов по
плотности сделана попытка раскрыть «секреты» практических успехов и неудач в
уплотнении асфальтобетона, найти пути и способы возможного улучшения
функциональных и технологических параметров катков. Итогом таких размышлений,
анализов и обобщений и стали настоящие заметки, предложения и рекомендации не
только дорожникам, но и специалистам фирм, создающим дорожные катки.
К тому же сами катки также обладают рядом недостатков. Они - машины
циклического действия, они реверсивно движутся вперед и назад. В процессе
остановки и смены направления они могут даже образовывать лунки в покрытии.
Особенно если в этот момент машинист катка не выключает вибратор. Кроме того,
катки должны постоянно смещаться при работе по ширине дороги с определенным
перекрытием участков. А поскольку таких катков работает одновременно несколько,
получается достаточно сложный процесс маневрирования, который не просто выполнять
на практике, это требует высокой квалификации операторов уплотняющих машин.
А еще нужно учесть и такой чисто человеческий фактор: оператор катка
фактически полсмены ездит с повернутой назад головой, поскольку у нас, в
отличие от американцев, нет машин с поворачивающимися кабинами. При этом он
должен следить за точным соблюдением перекрытия полос, считать, сколько раз он
был в каждой точке, какую величину перекрытия он делает между следами (а их не
очень то видно на глаз, приходится доверять интуиции), правильно выбирать место
реверса и правильно его выполнять.. Переключать режим вибратора, устанавливать
нужную амплитуду и частоту вибрации. Это очень сложная и напряженная работа,
выполнить которую без ошибок очень непросто.
.2 Описание устройства и рабочего процесса
.2.1 Классификация дорожных катков
Их классифицируют по виду рабочего органа, способу передвижения, принципу
действия, числу осей и количеству вальцов.
По виду рабочего органа различают катки:
с гладкими вальцами;
кулачковые;
пневмоколесные.
По принципу действия дорожные катки делятся на:
статические;
вибрационные.
По способу передвижения дорожные катки подразделяются на:
прицепные;
полуприцепные;
самоходные.
По количеству вальцов различают:
одновальцовые;
двухвальцовые;
трехвальцовые.
По виду рабочего органа различают катки с гладкими вальцами (а-г) ,
кулачковые, решетчатые, пневмоколесные и комбинированные (д-з) (Рисунок 5).
а-двухосный двухвальцовый б-двухосный трехвальцовый
в-трехосный трехвальцовый г-вибрационный одноосный
д-вибрационный кулачковый е-вибрационный решетчатый
ж-самоходный пневмоколесный з-комбинированный
и-пневмоколесный полуприцепной
Рисунок 5 - Классификация катков
Двухосный трехвальцовый статический каток (Рисунок 6) состоит из рамы,
направляющего и двух ведущих вальцов, двигателя, трансмиссии, рабочего места
машиниста с механизмами управления, приборов освещения, очистных скребков и
системы смачивания рабочей поверхности вальцов. Рама служит несущей
конструкцией, на которой смонтированы все сборочные единицы катка. Двигатель
передними кронштейнами и задней опорой, закрепленной на картере маховика,
установлен на опорные кронштейны и рамы. В коробке передач предусмотрено по
одному кронштейну с каждой стороны, которыми коробку, также как и двигатель,
монтируют на кронштейнах и рамы. Двигатель и коробку передач крепят к кронштейнам
рамы болтами и гайками. Редуктор, связанный с коробкой передач карданным валом,
устанавливают в задней части рамы. Передними опорными лапами редуктор крепят
болтами к кронштейнам, приваренным к боковинам рамы. Задними опорами редуктора
являются обоймы полуосей, устанавливаемые в кронштейны рамы и затягиваемые
болтами. Два ведущих и один направляющий вальцы служат рабочими органами катка.
Диаметр ведущего вальца больше диаметра направляющего в 1,6 раза, а ширина
меньше в 2 раза. Широко расставленные ведущие вальцы обеспечивают хорошую
поперечную устойчивость катка. Основное уплотнение выполняют задние ведущие
вальцы, на которые приходится 2/3 массы катка. После прохода катка от задних
вальцов остается след в виде двух узких полос. Образовавшаяся в середине полоса
уплотняется за два следующих прохода катка. Вальцы катка представляют собой
обечайки, свернутые из листового проката и сваренные по образующей. Для
получения укатываемой поверхности без следов от краев вальцов на наружных
кромках их обечаек выполнены закругленные фаски шириной 15-18 мм. С торцов в
обечайки вварены диски, к которым приварены литые ступицы. В них устанавливают
роликоподшипники, служащие опорами для оси. Внутреннюю полость вальцов через
отверстия в дисках, закрываемые крышками, заполняют балластом для увеличения
массы катка и давления на уплотняемый материал. В качестве балласта используют
воду, сухой или влажный песок.
,6 - вальцы, 2 - очистной скребок, 3 - приборы освещения, 4 - механизмы
управления, 5 - рабочее место машиниста, 7 - рама, 8 - вилка
Рисунок 6 - Двухосный трехвальцовый статический каток
Самоходный комбинированный каток - это двухосная машина (Рисунок 7),
состоящая из двух шарнирно сочлененных агрегатов: силового с четырьмя ведущими
пневмоколесами и вибрационного с вибровальцом. Рабочими уплотняющими органами
катка служат четыре пневмоколеса и жесткий металлический вибровалец.
Последовательное воздействие на уплотняемый материал статических и вибрационных
нагрузок повышает производительность катка. Благодаря небольшому расстоянию
между осями рабочих органов пневмоколеса оказываются в зоне уплотняемой полосы,
находящейся под вибрационным воздействием вибровальца, что увеличивает
эффективность уплотнения. На раме силового агрегата размещены силовая установка
и кабина машиниста. К нижней передней части рамы крепят шарнир сочленения
агрегатов и два гидроцилиндра поворота катка. Шарнир сочленения конструктивно
не отличается от шарнира самоходного вибрационного катка. Расположен шарнир
посредине между осями пневмоколес и вибровальца. Поворот шарнира относительно
горизонтальной оси возможен на 8°, когда каток перемещается по неровной
поверхности. Относительно вертикальной оси шарнир поворачивается двумя
гидроцилиндрами. Такое размещение шарнира сочленения уменьшает радиус поворота,
а также обеспечивает проход рабочих органов машины след в след на криволинейных
участках. Каток оснащен централизованной пневматической системой,
гидравлическими тормозами и смачивающей системой. Крутящий момент от двигателя
через муфту сцепления передается на ведущую шестерню первичного вала
раздаточного редуктора. На выходных валах раздаточного редуктора через зубчатые
муфты установлены реверсивные аксиально-поршневые гидронасосы и два шестеренных
гидронасоса.
На катке применен гидрообъемный привод вибровальца и пневмоколес,
унифицированный с гидроприводом самоходного вибрационного катка. Отличие
состоит в том, что у комбинированного катка для привода пневмоколес
используются два гидромотора, а не один, как у вибрационного катка. Рабочие
гидролинии регулируемого насоса в транспортном режиме постоянно подключены к
гидромоторам привода пневмоколес силового агрегата. Вращение на пневмоколеса
передается от гидромоторов через балансирные редукторы. В рабочем режиме к насосу
подключают гидромотор привода вибровальца. Вибровалец приводится в движение
через конический редуктор и зубчатый венец. Гидролинии регулируемого насоса
постоянно подключены к гидромотору привода вибровозбудителя. Дебалансы жестко
закреплены на вибровалу и приводятся во вращение вместе с ним от гидромотора
через зубчатую муфту. Вокруг каждого из закрепленных на валу дебалансов могут
поворачиваться наружные дебалансы, которые состоят из двух дисков, соединенных
между собой сегментной пластиной. Наружные дебалансы установлены на
цилиндрических шейках вибровалов свободно и при изменении направления его
вращения поворачиваются на 135°, изменяя вынуждающую силу вибровозбудителя от
минимального значения до максимального. Шестеренный насос используется для
подпитки рабочей жидкостью силовых контуров и подачи жидкости в гидроусилители
гидронасосов. Насос подает рабочую жидкость в гидроруль. Рулевое управление и
гидравлическая система поворота катка принципиально не отличаются от подобного
механизма и системы самоходного вибрационного катка.
1 - силовая установка, 2 - кабина, 3 - вибровалец, 4 - вибрационный
агрегат, 5 - шарнир, 6 - гидроцилиндр, 7 - пневматическая система, 8 -
пневмоколесо, 9 - тормоз, 10 - силовой агрегат.
Рисунок 7 - Самоходный
комбинированный каток
Таблица 1 - Классификация катков
|
Катки
|
Вес, т
|
Удельное давление, кг/см2
|
Мощность двигателя, кВт
|
|
легкие
|
3-5
|
20-40
|
18,5
|
|
средние
|
6-9
|
40-60
|
30
|
|
тяжелые
|
10-15
|
60-80
|
44
|
Таблица 2 - Модельный ряд дорожных катков 2009 год.
|
Наименование
|
Модель
|
Масса (min/max)
|
Габариты, мм
|
Назначение
|
|
Комбинированный вибрационный
|
ДМ - 10*
|
9 / 10
|
4850х1930х3200
|
Асфальт, спланированный грунт
|
|
Двухвальцовый вибрационный
|
ДМ - 10В
|
10 / 11
|
4850х1930х3200
|
Асфальт, спланированный грунт
|
|
Пневмошинный
|
ДМ - 10П
|
9 / 13
|
4850х1930х3200
|
Асфальт
|
|
Комбинированный вибрационный
|
ДМ - 58*
|
13 / 14
|
5997х2419х3400
|
Асфальт, спланированный грунт
|
|
вухвальцовый вибрационный
|
ДМ - 63
|
9 / 11
|
3920х2200х3500
|
Асфальт, спланированный грунт
|
|
Комбинированный вибрационный
|
ДМ - 64
|
8 / 10
|
3920х2200х3500
|
Асфальт, спланированный грунт
|
|
Пневмошинный
|
ДМ - 65
|
9 / 14
|
4800х2200х3500
|
Асфальт
|
|
Комбинированный вибрационный
|
ДМ - 62*
|
13 / 14
|
6147х2419х3400
|
Грунт
|
|
Двухвальцовый вибрационный
|
ДМ - 47Г
|
7 / 7,5
|
4800х1800х3250
|
Асфальт, спланированный грунт
|
|
Каток статический трехвальцовый
|
XG 618 / 621
|
21 / 24
|
6075х2350х3280
|
Грунт
|
В данном
дипломном проекте рассматривается повышение мощности двигателя Д-243 катка
ДУ-50. Для сравнения технических характеристик выбран двигатель Cummins B5.9-C
(США) вибрационного катка CLG 614 H.
Таблица 3 - Технические характеристики двигателя Cummins B5.9-C
|
Двигатель
|
Cummins B5.9-C (США) 4х-цилиндровый двигатель с
турбонаддувом и водяным охлаждением
|
|
Крутящий момент
|
2100 об/мин
|
|
Мощность
|
108 кВт (145 л.с.)
|
|
Диаметр цилиндра/ход поршня
|
102 мм х 120 мм
|
|
Объем двигателя
|
3,9 л
|
|
Масса
|
450 кг
|
Технические характеристики двигателя Д-243
Расположение и число цилиндров ..................................
……………..4L
Рабочий объем, л ..............................................
……………………...4,75
Диаметр цилиндра и ход поршня, мм .......................... …………110/125
Степень сжатия
......................................................................................
16
Удельный расход топлива, г/кВт (г/л.с.ч) ................................
226 (166)
Мощность, кВт (л.с.) ........................................ …………………..60
(81)
Частота вращения, об/мин ......................................
………………..2200
Максимальный крутящий момент, Нм (кгм) ......................... 258
(26,3)
Частота вращения при макс. крут. моменте об/мин ............... …..1600
Масса, кг ......................................................
…………………………430
Из приведенных технических характеристик видно, что энергонасыщенность
двигателя Д-243 можно увеличить, установив систему турбонаддува. Масса
двигателя останется той же, обороты двигателя те же, но произойдет существенный
прирост мощности.
Турбонаддув предназначен для повышения мощности двигателя. Если
использовать турбонаддув, то можно получить до 700 лошадиных сил при объеме
двигателя 2 литра. Однако при неверной эксплуатации двигателя можно столкнуться
с определенными трудностями.
Достоинства двигателей с турбонаддувом - высокая литровая мощность и
крутящий момент, поэтому динамические характеристики машины с двигателем с
турбокомпрессором лучше по сравнению с атмосферными аналогами.
При явной позитивной стороне использования турбонаддува, существуют,
конечно же, и недостатки. Общеизвестными недостатками систем турбонаддува
являются эффекты "турбоямы", вызванные инерционностью турбины.
Проявляется это в том, что на резкое нажатие на газ двигатель
"подтормаживает с ответом", а потом резко "подхватывает".
Другим отрицательным моментом инерционности является нагнетание воздуха под
чрезмерным давлением при раскручивании турбины на высоких оборотах.
Соответственно, при незначительном потоке выхлопных газов, вызванном низкими
оборотами, турбина наоборот крутится слабо.
Вследствие повышения давления конца такта сжатия возникает детонация. Это
накладывает ограничения на максимальную величину объемной степени сжатия в
цилиндрах, и повышает требования к качеству бензина, а именно к октановому
числу. Чем оно выше, тем степень детонации ниже.
Существует ряд технических решений, направленных на преодоление этих
недостатков: например, это система управления давлением наддува, представленное
клапанами или заслонкой, которые при высоком давлении направляют часть
выхлопных газов мимо турбины, или напротив, создают максимальное давление,
когда его недостаточно, направляя весь поток газов на турбину.
Она начинает вращаться быстрее и уменьшает эффект "турбоямы".
Существует также конструкция турбины с управляемыми поворотными лопатками,
дающими возможность изменения параметров турбины в широких пределах.
В дипломном проекте рассмотрен вариант системы управления давлением
наддува.
Следует отметить, что после установки турбонаддува на двигатель, особой
эргономичностью каток отличаться не будет, но зато возрастут динамические
характеристики, которые повлияют на рабочий процесс.
Специальная часть
.1 Общие сведения об объекте исследования
Исполнитель: Мамедов Н.З.
Заказчик: кафедра ПТ и ДМ БГТУ им В. Г. Шухова.
Начало работ 23.03.11 Окончание 25.04.11.
Объект: Дорожный каток ДУ - 50
Интенсивное развитие промышленности требует проведения большого объема
строительства дорожного полотна.
Особое место при механизации дорожных работ занимают катки. Несмотря на
быстрое развитие новых методов разработки полотна и совершенствование
конструкций специализированных машин, механический способ возведения дорожного
полотна останется за катками благодаря относительной простой конструкции,
широкой сферой и универсальностью применения, высокой производительностью и
низкой стоимостью единицы продукции.
Каток ДУ-50 предназначен для послойного уплотнения предварительно
спланированных насыпных грунтов, гравийно-щебеночных материалов при
строительстве автомобильных и железных дорог, аэродромных площадок и других
земляных сооружений как летом, так и зимой при температуре от -10 до+40°С.
Оборудован двигателем Д-243. Двигатель четырехцилиндровый, дизельный, рядный,
четырехтактный, жидкостного охлаждения, со свободным впуском воздуха.
Сертифицирован по ГОСТ 17.2.2.02, ГОСТ 17.2.2.05 ОСТ 23.3.23 и ГОСТ 2000.
Область применения: тракторы и дорожно-строительная техника.
2.2 Задание на проведение исследования
«Утверждаю»
руководитель работы
Исаев И. К.
______________________
(личная подпись)
Дата:__________________
Задание №1
на проведение патентных исследований
Наименование темы: Патентное исследование с целью модернизации дорожного
катка ДУ-50
Шифр темы: ДПДМ2011.813.00 00 00 ПЗ
Этап (стадия): Проектирование
(код этапа)
План патентных исследований на 2011г., позиция 7
Задачи патентных исследований: поиск технических решений для модернизации
дорожного катка ДУ-50
Исполнитель работ: Мамедов Н.З.
|
Подразделение исполнителя
|
Краткое содержание работы
|
Ответственный исполнитель
|
Срок исполнения
|
Отчетный документ
|
|
гр. 4ДМ-41
|
Анализ описаний к изобретениям и патентам, научно-техническая
литература
|
Мамедов Н.З.
|
С 23.03.11г. по 25.04.11 г.
|
Пояснитель-ная записка
|
Руководитель подразделения-исполнения: Исаев И. К.________
(подпись)
Исполнитель патентного исследования: Мамедов
Н.З.________
(подпись)
На основании проведенного патентного исследования в дипломном проекте для
увеличения мощности двигателя предлагается установка турбокомпрессора марки
ТКР-11Н, как самого распространенного в среде дорожно-строительной техники. В
связи с необходимостью настройки двигателя с турбонаддувом для смещения
максимального значения крутящего момента в зону более низких оборотов двигателя
предлагается регулируемый наддув. Отличия регулируемого и нерегулируемого
турбокомпрессора изображены на графике (Рисунок 1)
Рисунок 1 - Влияние способа регулирования на эффективное давление
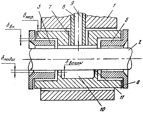
Одним из важнейших компонентов, обеспечивающих как функциональные, так и
надежностные характеристики турбокомпрессора является подшипниковый узел.
(Рисунок 2)
1-корпус турбокомпрессора; 2-вал турбокомпрессора; 5- упорные подшипники;
7- фланец турбокомпрессора; 8,9- подвод масла; 10,11- полости слива масла
Рисунок 2 - Подшипниковый узел
.2 Регламент поиска
Наименование темы: Патентное исследование с целью модернизации
энергетической установки дорожного катка ДУ - 50.
Шифр темы: ДПДМ2011.813.00 00 00 ПЗ
Дата и номер задания на проведение патентных исследований: задание №1 от
23.03.11 г.
Код этапа: проектирование
Начало поиска: 23.03.11 г. Окончание поиска: 25.04.11 г.
|
Предмет поиска (тема объекта, его составные части)
|
Цель поиска информации (для решения поиска технических
систем)
|
Страна поиска
|
Классификационные индексы (УДК, МПК, МПИ, МКПО, НКИ)
|
Ретроспективность поиска
|
Наименование источников информации
|
|
Бульдозер ДЗ-110А Каток ДУ - 50
|
Анализ технических решений с целью выбора оптимального
варианта для модернизации машины
|
РФ
|
F02B37/22 2131981 F02D33/02,
F02D23/02, F02B37/12 2029123 F04D29/60 2140578
|
5 - 30 лет
|
Описания к изобретениям и патентам, реферативн. журналы,
научно-техническ. литература
|
Руководитель подразделения-исполнения: Исаев И.К. _______
Исполнитель патентного исследования: Мамедов
Н.З.______
(подпись)
.3 Справка о поиске
Задание на проведение патентных исследований: №1 от 23.03.11 г.
Шифр темы: ДПДМ2011.813.00 00 00 ПЗ
Дата и номер поиска регламента: 23.03.11 г. №2
Начало поиска: 23.03.11 г. Окончание поиска: 25.04.11 г.
1. Поиск проведен по следующим материалам.
|
Предмет поиска (тема, объект, его составные части)
|
Страна поиска
|
Классификационные индексы (УДК, МПК, МПИ, МКПО, НКИ)
|
По фонду какой организации проводится поиск
|
Источник информации
|
|
|
|
|
Научно техническая документация наименование дата
опубликования (от и до). информации
|
Патентная документация наименование патентного бюллетеня и
дата их публикации
|
|
1
|
2
|
3
|
4
|
5
|
6
|
|
Каток ДУ - 50
|
РФ
|
F02B37/22 2131981 F02D33/02,
F02D23/02, F02B37/12 2029123 F04D29/60 2140578
|
Патентный фонд областной научной библиотеки, библиотека
БГТУ им. В. Г. Шухова, интернет РосПатент
|
Строительные машины и основы автоматизации - 2001.
Строительные машины и средства малой механизации - 2002. Технические основы
создания машин - 2008.
|
Описание изобретения к авторскому свидетельству №2029123
опубликовано 20.02.95. Описание изобретения к авторскому свидетельству
№2140578 Опубликовано 27.10.99. Описание изобретения к авторскому
свидетельству №2131981 Опубликовано 20.06.99.
|
2. Патентная документация, отобранная для последующего анализа.
|
Предмет поиска
|
Страна выдачи, вид, № охранного док-та, классификационного
индекса
|
Сущность заявленного технического решения и цели его
создания, формула изобретения
|
Заявитель, страна, № заявки, дата приоритета, публикации
|
Сведения о действии охранного док-та или причина его
аннулирования
|
|
1
|
2
|
3
|
4
|
5
|
|
Каток ДУ-50
|
РФ, описание изобретения к авторскому свидетельству №
2131981 F02B37/22
|
Изобретение относится к агрегатам наддува двигателей
внутреннего сгорания. В корпусе турбокомпрессора размещены воздухонапорная
полость компрессора и газоподводящая улитка турбины, в которой установлены
рабочее колесо центростремительной турбины и заслонка, расположенная на входе
газов в улитку турбины. Регулирующий механизм выполнен в виде подпружиненной
мембраны, штока, связанного с мембраной, и канала подвода наддувочного
воздуха в подмембранную полость. В канале выполнена дополнительная полость. В
штоке образован клапан, закрывающий дополнительную полость. В корпусе
турбокомпрессора выполнено отверстие, в котором установлен передаточный вал,
жестко соединенный с заслонкой, регулирующий механизм расположен с наружной
стороны корпуса турбокомпрессора и снабжен рычагом, жестко связанным с
передаточным валом и шарнирно соединенным с штоком. Технический результат
заключается в повышении эффективности в работе.
|
Р.Ф. Мазгумьянов Заявка: 97117840/06, 23.10.1997
Опубликовано: 20.06.1999
|
Недействующий
|
|
Предмет поиска
|
Страна выдачи, вид, № охранного док-та, классификационного
индекса
|
Сущность заявленного технического решения и цели его
создания, формула изобретения
|
Заявитель, страна, № заявки, дата приоритета, публикации
|
Сведения о действии охранного док-та или причина его
аннулирования
|
|
|
1
|
2
|
3
|
4
|
5
|
|
|
Каток ДУ-50
|
РФ, описание изобретения к авторскому свидетельству №
2140578 F04D29/60
|
Изобретение относится к компрессоростроению.
Турбокомпрессор содержит имеющий упорный уступ корпус, вставляемый в него,
состоящий из роторной и статорной частей пакет и закрывающую корпус с одной
стороны крышку. Турбокомпрессор снабжен также несущим роторную часть валом,
выступающие из корпуса вправо и влево цапфы, которого установлены в
подшипниковых кронштейнах. Использование изобретения позволит обеспечить
точное центрирование роторной части в статорной, что повышает
эксплуатационную надежность турбокомпрессора
|
Маннесманн Заявка: 97117603/06, 28.10.1997 Опубликовано:
27.10.1999
|
Действующий
|
|
|
Каток ДУ-50 Каток ДУ-50
|
РФ, описание изобретения к авторскому свидетельству №
2029123 F02D33/02 F02D23/02 F02B37/12
|
Регулятор давления наддува содержит два перепускных
клапана, один из которых служит для перепуска части надувочного воздуха с
выхода компрессора на вход турбины на промежуточных режимах работы двигателя,
в другой - для ограничения максимального давления наддува перепуском части
надувочного воздуха в линию сброса. Управляющее устройство регулятора
выполнено в виде двухстороннего и одностороннего сопел и взаимодействующих с
ними трех подпружиненных заслонок. Корпус регулятора служит кронштейном для
установки на двигатель и для коммутации пневматических и гидравлических
каналов. Повышается надежность , уменьшаются затраты энергии за счет
использования масла из системы смазки двигателя.
|
Никитин Е.А. Заявка: 5029340/06, 27.02.1992
Опубликовано: 20.02.1995
|
Действующий
|
|
|
|
|
|
|
|
|
|
|
|
|
|
|
|
. Научно-техническая документация, отобранная для последующего анализа.
|
Наименование информации
|
Автор
|
|
Строительные машины и оборудование. Справочное пособие.
|
Белецкий Б. Ф.
|
Ростов н/Д, Феникс, 2002.
|
|
Строительные машины и средства автоматизации
|
Волков Д. П.
|
Москва, Мастерство, 2002.
|
|
Строительные машины и основы автоматизации
|
Доценко А. И.
|
Москва, Высшая школа, 1995.
|
2.4 Вывод по результатам патентного исследования
В настоящее время, несмотря на разнообразие дорожных катков по назначению
и виду выполняемых работ, проблемы, связанные с энергосбережением в процессе
уплотнения дорожного покрытия, остаются актуальными. Наряду с непрерывным
ростом парка катков постоянно осуществляются качественные изменения их рабочего
оборудования, направленные на увеличение производительности и снижение
энергоёмкости процесса уплотнения грунта, посредством создания и внедрения
новых рациональных и технических решений.
В результате проведения патентных исследований для модернизации было
выбрано техническое решение, защищенное авторским свидетельством РФ №2131981,
кл. F02B37/22, 1999.
Целью модернизации является то, что, в корпусе турбокомпрессора размещены
воздухонапорная полость компрессора и газоподводящая улитка турбины, в которой
установлены рабочее колесо центростремительной турбины и заслонка, расположенная
на входе газов в улитку турбины. Технический результат заключается в повышении
эффективности в работе.
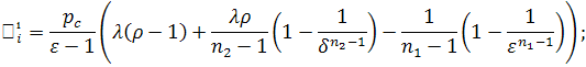
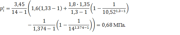
3 Описание сущности модернизации по результатам патентного исследования
На основании проведенного патентного исследования в нашей работе для увеличения
эффективности уплотнения грунтов предложена следующая модернизация двигателя
катка ДУ - 50 (Рисунок 3): установка турбокомпрессора. Данный агрегат
способствует повышению эффективной мощности двигателя, что сказывается при
работе по уплотнению грунта.
Рисунок 3 - Регулируемый наддув
Давление поступающего в цилиндры воздуха зависит в основном от частоты
вращения коленчатого вала и нагрузки двигателя. При малой нагрузке двигателя
поток отработавших газов невелик, поэтому необходимо, чтобы весь поток вращал
рабочие колеса турбины и компрессора. При росте нагрузки двигателя
увеличивается поток отработавших газов. Скорость вращения рабочих колес турбины
и компрессора при этом возрастает, что приводит к подаче в цилиндры большего
количества воздуха.
При дальнейшем повышении нагрузки двигателя объем отработавших газов
превышает значение, необходимое для того, чтобы компрессор подавал в цилиндры
требуемое количество воздуха. При высоких нагрузках необходимо ограничить
количество отработавших газов, проходящих через турбину. Это достигается за
счет использования клапана перепуска отработавших газов, открывающего отводящий
канал, выполненный параллельно турбине. Лишнее количество отработавших газов
направляется в этот канал. Клапан перепуска отработавших газов представляет
собой обратный клапан, который открывает и закрывает перепускной канал,
расположенный рядом с турбиной. Клапан управляется штоком пневмопривода,
установленным на корпусе компрессора. Клапан закрывается под действием пружины
в корпусе пневмопривода и открывается под давлением диафрагмы пневмопривода.
4. Расчет двигателя без наддува
Теория двигателей внутреннего сгорания основана на использовании
термодинамических зависимостей и приближения их к действительным условиям путем
учета реальных факторов. Поэтому глубокое изучение теоретических циклов,
основанное на знании термодинамики, является необходимым условием успешного
изучения процессов, происходящих в цилиндрах реальных автомобильных и
тракторных двигателей.
Замкнутые теоретические (термодинамические) циклы в отличие от
действительных процессов, происходящих в цилиндрах двигателей, осуществляются в
воображаемой тепловой машине и характеризуются следующими особенностями
(допущениями).
. Все процессы цикла осуществляются без теплообмена рабочего тела
с окружающей средой и являются обратимыми.
. Преобразование теплоты в механическую работу осуществляется в
замкнутом объеме одним и тем же несменяемым рабочим телом.
. Состав и теплоемкость рабочего тела остаются постоянными на всем
протяжении цикла.
. Подвод теплоты производится от постороннего (воображаемого)
источника при постоянном объеме (по изохоре), или при постоянном давлении (по
изобаре), или при смешанном (по изохоре и изобаре).
. Процессы сжатия и расширения протекают по адиабатам с
постоянными показателями.
. В теоретических циклах отсутствуют какие-либо потери теплоты (в
том числе на трение, излучение, гидравлические потери и т. п.), кроме отвода
теплоты холодному источнику. Эта потеря является единственной и обязательной
для замкнутого теоретического цикла.
Диаграммы теоретических циклов, являющиеся прототипами реальных
индикаторных диаграмм современных двигателей: цикл с подводом теплоты при
постоянном объеме; цикл с подводом теплоты при постоянном давлении; 3) цикл со
смешанным подводом теплоты при постоянном объеме и постоянном давлении.
Каждый теоретический цикл характеризуется двумя основными показателями:
теплоиспользованием, которое определяется термическим коэффициентом полезного
действия, и работоспособностью, которая определяется удельной работой цикла.
Термическим КПД называется отношение количества теплоты, превращенной в
полезную механическую работу, к общему количеству теплоты, подведенной к
рабочему телу.
Удельной работой цикла называется отношение количества теплоты,
превращенной в механическую работу, к рабочему объему
. Исходные данные
Произвести расчет четырехтактного дизеля Д-243, предназначенного для
дорожного катка ДУ-50. Дизель четырехцилиндровый (i=4) с неразделенными камерами
сгорания, объемным смесеобразованием, частотой вращения коленчатого вала при
максимальной мощности
и степенью сжатия
, рабочим объемом-4,75 литра, диаметр
цилиндра -110 мм. Расчет выполнить для дизеля без наддува, с эффективной
мощностью Ne=92 кВт.
Коэффициент избытка воздуха α=1,6.
Степень повышения давления в дизеле λ=1,4.
Коэффициент использования теплоты ξ=0,8
1. Тепловой расчет
Топливо. В соответствии с ГОСТ 305-82 для рассчитываемого двигателя
принимаем дизельное топливо (для работы в летних условиях - марки Л и для
работы в зимних условиях - марки З).
Цетановое число топлива - не менее 45.
Средний элементный состав дизельного топлива
С=0,870; Н = 0,126; О=0,004.
Низшая теплота сгорания топлива, Нu , кДж/кг, определяется по формуле,
(1)
где С, Н, О - средний элементный состав дизельного топлива, приведенный
выше
Параметры рабочего тела. Теоретически необходимое количество воздуха для
сгорания 1 кг топлива, Lo,
кмоль возд/кг топл, определяется по формуле,
(2)
где 1/0,28 коэффициент избытка воздуха
(3)
Коэффициент избытка воздуха. Уменьшение коэффициента избытка воздуха α
до возможных пределов
уменьшает размеры цилиндра и, следовательно, повышает литровую мощность дизеля,
но одновременно с этим значительно возрастает теплонапряженность двигателя,
особенно деталей поршневой группы, увеличивается дымность выпускных газов.
Лучшие образцы современных дизелей без наддува со струйным смесеобразованием
устойчиво работают на номинальном режиме без существенного перегрева при α=1,4-1,5
а с наддувом при α=1,6
- 1,8. По исходным
данным принимаем : α=1,7 - для дизеля без наддува.
Количество свежего заряда α, св.зар/кг топл, определяется по
формуле:
(4)
Количество отдельных компонентов продуктов сгорания
(5)
(6)
При
α=1,6
(7)
(8)
Общее количество продуктов сгорания, определяется по формуле
(9)
При
α=1,6
Параметры окружающей среды и остаточные газы. Атмосферные условия
Давление окружающей среды для дизелей:
без наддува
Температура окружающей среды для дизелей:
без наддува
Температура и давление остаточных газов. Достаточно высокое
значение
дизеля без наддува снижает
температуру и давление
остаточных газов, а повышенная частота вращения коленчатого
вала несколько увеличивает значения
При наддуве тем-
пературный режим двигателя повышается и увеличивает значения
. Поэтому можно принять для дизелей:
без наддува
Процесс впуска. Температура подогрева свежего заряда. Рассчитываемый
двигатель не имеет специального устройства для подогрева свежего заряда. Однако
естественный подогрев заряда в дизеле без наддува может достигать ≈ 15 -
20 °С, а при наддуве за счет уменьшения температурного перепада между деталями
двигателя и температурой наддувочного воздуха величина подогрева сокращается.
Поэтому принимаем для дизелей: без наддува AT-20 °С.
Плотность заряда на впуске ρк , кг/м3 , определяется по формуле
(10)
где pк - давление окружающей среды для
дизелей , МПа;
Rв -
температурный перепад , с0;
Tк -
температура окружающей среды для дизелей, К
без наддува
Потери давления на впуске в двигателе:
без наддува
где
и
приняты в соответствии со скоростным режимом двигателей и с
учетом небольших гидравлических сопротивлений во впускной системе дизеля с
наддувом и без наддува.
Давление в конце впуска
(11)
где pк - давление окружающей среды для
дизелей, МПа;
- потери давления, МПа
без наддува
Коэффициент остаточных газов
(12)
где
- температура окружающей среды, К;
- разность температур, К;
- давление остаточных газов, МПа;
- температура остаточных газов, К;
- степень сжатия;
- давление в конце впуска, МПа
без наддува
Температура в конце впуска
(13)
где
- коэффициент остаточных газов, приведенный выше
без наддува
Коэффициент наполнения
(14)
Параметры, входящие в формулу приведены выше по тексту.
без наддува
Процесс сжатия. Средние показатели адиабаты и политропы сжатия. При
работе дизеля на номинальном режиме можно с достаточной степенью точности
принять показатель политропы сжатия приблизительно равным показателю адиабаты,
который определяется по номограмме:
для дизеля без наддува при
Давление и температура в конце сжатия
(15)
Параметры, входящие в формулу приведены выше по тексту.
без наддува
Средняя мольная теплоемкость в конце сжатия:
а) воздуха
(16)
для дизеля без наддува
[2]
где
б) остаточных газов (определяется по таблице методом интерполяции);
для дизеля без наддува при α= 1,6 и
в) рабочей смеси
для дизеля без наддува
Процесс сгорания. Коэффициент молекулярного изменения свежей смеси в
дизелях
, определяется по формуле:
(17)
где
- общее количество продуктов сгорания, кмоль/кг;
- количество свежего заряда, кмоль/кг.
без наддува
Коэффициент молекулярного изменения рабочей смеси в дизелях:
без наддува
(18)
Параметры входящие в формулу приведены выше по тексту
Теплота сгорания рабочей смеси в дизелях
, кДж/кмоль раб. см, определяется по
формуле:
(19)
без наддува
Средняя мольная теплоемкость продуктов сгорания в дизелях:
без наддува
Коэффициент использования теплоты для современных дизелей с
неразделенными камерами сгорания и хорошо организованным струйным
смесеобразованием можно принять для двигателей без наддува
.
Степень повышения давления в дизеле в основном зависит от величины
цикловой подачи топлива. С целью снижения газовых нагрузок на детали
кривошипно-шатунного механизма целесообразно иметь максимальное давление
сгорания не выше 11 - 12 МПа. В связи с этим целесообразно принять для дизеля
без наддува
Температура в конце видимого процесса сгорания
для дизеля без наддува
откуда
Максимальное давление сгорания для дизелей
, МПа, определяется по формуле:
(20)
где
- степень повышения давления;
- давление в конце сжатия
без наддува
Степень предварительного расширения для дизелей:
без наддува
(21)
Процесс расширения. Степень последующего расширения для дизелей:
(22)
где
- степень сжатия;
- давление
без наддува
Средние показатели адиабаты и политропы расширения для дизелей выбираются
следующим образом. На номинальном режиме можно принять показатель политропы
расширения с учетом достаточно больших размеров цилиндра, несколько меньше
показателя адиабаты расширения, который определяется по номограмме. Для
дизелей:
без наддува при
Давление и температура в конце расширения для дизелей
, МПа, определяется по формуле:
(23)
где
- давление в начале расширения, МПа;
- степень расширения
без наддува
Проверка ранее принятой температуры остаточных газов для дизелей:
без наддува
(24)
Индикаторные параметры рабочего цикла. Теоретическое среднее индикаторное
давление
для дизеля без наддува
Среднее индикаторное давление для дизелей:
без наддува
где коэффициент полноты диаграммы принят
Индикаторный КПД для дизелей
(25)
Параметры, входящие в формулу приведены выше по тексту
без наддува
Индикаторный удельный расход топлива для дизелей:
без
наддува
Эффективные показатели двигателя. Среднее давление механических потерь
(26)
где, средняя скорость поршня предварительно принята
Среднее эффективное давление
и механический КПД
для дизелей, определяются по
формулам:
(27)
где
- среднее индикаторное давление, МПа;
- среднее давление механических потерь, МПа
без наддува
(28)
Эффективный КПД и эффективный удельный расход топлива для дизелей:
без наддува
Основные параметры цилиндра и двигателя. Литраж двигателя
, л, определяется по следующей
формуле:
(29)
где
- тактность двигателя;
- эффективная мощность, кВт
Рабочий объем цилиндра,
, л, определяется по формуле:
(30)
где
- количество цилиндров двигателя
Диаметр и ход поршня дизеля, как правило, выполняются с отношением хода
поршня к диаметру цилиндра
. Однако уменьшение
для дизеля, так же как и для
карбюраторного двигателя, снижает скорость поршня и повышает
.В связи с этим целесообразно принять
:
Окончательно принимаем D=S= 114 мм.
По окончательно принятым значениям D и S
определяются основные параметры и показатели двигателя:
что достаточно близко (ошибка <2%) к ранее принятому значению
. Построение индикаторной диаграммы дизеля без наддува
Масштаб хода поршня - Мs = 2
мм в мм; масштаб давлений - Mp =
0,04 МПа в мм.
Приведенные величины рабочего объема цилиндра и объема камеры сгорания
соответственно:
Максимальная высота диаграммы (точки z 1 и z) и положение точки z по оси
абсцисс
Ординаты характерных точек:
Построение политроп сжатия и расширения проводится графическим методом
(см. рисунок 1):
а) для луча ОС принимаем угол α = 15о;
б)
в) используя лучи OD и
ОС, строим политропу сжатия, начиная с точки с;
г)
д) используя лучи ОЕ и ОС, строим политропу расширения, начиная с точки z.
Теоретическое среднее индикаторное давление
что очень близко к величине
, полученной в тепловом расчете (
- площадь диаграммы acz'zbа).
Скругление индикаторной диаграммы. Учитывая достаточную быстроходность
рассчитываемого дизеля и величину наддува, ориентировочно устанавливаются
следующие фазы газораспределения:
впуск - начало (точка r1) за
25° до в.м.т. и окончание (точка а") -
60° после н.м.т.; впуск - начало (точка b') за 60° до н.м.т. и окончание (точка а') - 25° после в.м.т.
С учетом быстроходности дизеля принимается угол опережения впрыска 20°
(точка с1) и продолжительность периода задержки воспламенения
(точка f).
В соответствии с принятыми фазами газораспределения и углом опережения
впрыска определяется положение точек b', r ', a', a", c' и f по формуле для перемещения поршня:
где λ - отношение радиуса кривошипа к длине шатуна. Выбор величины λ
производится при
проведении динамического расчета, а при построении индикаторной диаграммы
ориентировочно устанавливаем λ =0,270.
Результаты расчета ординат точек b', r ',
а', а", с' и f приведены в
таблице 1.
Таблица 1 - Результаты расчета
|
Обозначение точек
|
Положение точек
|
|
|
Расстояние AX
точек от в.м.т., мм
|
|
b' r ' a' a" с' f
|
60о до н.м.т. 25о до в.м.т. 25о после в.м.т. 60о после
н.м.т. 20о до в.м.т. (20-8о) до в.м.т.
|
120 25 25 120 20 12
|
1,601 0,122 0,122 1,601 0,076 0,038
|
66 5 5 66 3,1 1,5
|
Положение точек с" определяют из выражения
Точка
лежит на линии
ориентировочно вблизи точки z.
Нарастание давления от точки с" до
составляет 11,307 - 8,669 = 2,638
МПа или 2,638/10=0,264 МПа/град п.к.в., где 10 - положение точки
по оси абсцисс, град.
Соединяя плавными кривыми точки r с а', с' с f и с" и
далее с
и кривой расширения b' с b" (точка b"
располагается между точками b и а) и далее с r ' и r,
получаем скругленную индикаторную диаграмму r а' a c' f c"
b' b'' r.
4. Тепловой баланс
Общее количество теплоты,
,Дж/с, введенной в двигатель с топливом для дизелей,
определяется по формуле:
(31)
Параметры, входящие в формулу, определены выше по тексту
без наддува
Теплота, эквивалентная эффективной работе за 1 с, для дизелей:
без наддува
Теплота, передаваемая охлаждающей среде, для дизелей:
без наддува
где С - коэффициент пропорциональности (для четырехтактных двигателей С =
0,45 ÷
0,53); i - число
цилиндров; D - диаметр цилиндра, см; m - показатель степени (для четырехтактных
двигателей m = 0,6 ÷ 0,7); n - частота вращения коленчатого вала двигателя, мин-1.
Теплота, унесенная с отработавшими газами (в дизеле с наддувом часть
теплоты отработавших газов используется в газовой турбине),
без наддува
где
;
- определено по таблице методом интерполяции при α
= 1,6 и
;
- определено по таблице (графа
«Воздух») при
.
Неучтенные потери теплоты
(32)
Параметры, входящие в формулу, приведены выше по тексту
Составляющие теплового баланса представлены в таблице 2.
Таблица 2 - Составляющие теплового баланса
|
Составляющие теплового баланса
|
Дизель без наддува
|
|
Q, Дж/с
|
q, %
|
|
Теплота, эквивалентная эффективной работе
|
85200
|
20,1
|
|
Теплота, передаваемая охлаждающей среде
|
52856
|
19
|
|
Теплота, унесенная с отработавшими газами
|
285866
|
27,1
|
|
Неучтенные потери теплоты
|
220030
|
33,8
|
|
Общее количество теплоты, введенной в двигатель с топливом
|
643952
|
100
|
. Расчет внешней скоростной характеристики дизеля
На основании теплового расчета, проведенного для режима номинальной
мощности, получены следующие параметры, необходимые для расчета и построения
внешней скоростной характеристики дизеля:
Эффективная мощность Ne = 92 кВт; частота вращения коленчатого вала при
максимальной мощности nN =
2200 мин-1, тактность двигателя τ = 4; литраж Vл = 4,75 л; ход поршня S = 114 мм; теоретически необходимое
количество воздуха для сгорания 1 кг топлива
= 14,452 кг возд/кг топл.; плотность
заряда на впуске
= 1,641 кг/м3; коэффициент избытка воздуха aN = 1,6;
удельный эффективный расход топлива
.
Расчетные точки скоростной характеристики. Принимаем: nmin = 500 мин-1; nx1 = 1200 мин-1; далее через каждые
500 мин-1 и nN = 2200 мин-1.
Все расчетные данные заносятся в таблицу 3.
Таблица 3 - Расчетные данные
|
Частота вращения коленчатого вала, мин-1
|
Параметры внешней скоростной характеристики
|
|
|
|
|
|
|
|
|
|
|
|
|
|
500 1200 1700 2200
|
97,5 214,7 336,1 446
|
1330 1465 1529 1522
|
0,395 0,435 0,454 0,452
|
3,5 7 10,5 14
|
0,130 0,172 0,213 0,254
|
0,525 0,607 0,667 0,706
|
1768 2044 2246 2378
|
554 481 430 404
|
54 103,3 144,5 180,2
|
1,40 1,44 1,49 1,52
|
1,035 1,018 0,983 0,938
|
Мощность в расчетных точках, кВт:
Эффективный крутящий момент, Н·м
Среднее эффективное давление, МПа
Средняя скорость поршня, м/с
Среднее давление механических потерь, МПа
Среднее индикаторное давление, МПа
Индикаторный крутящий момент, Н·м
Удельный эффективный расход топлива для дизелей, г/(кВт·ч)

Коэффициент избытка воздуха. Принимаем для дизелей:
Соединяя точки
и
прямой линией, получим значения
для всех расчетных точек дизелей без
наддува.
Коэффициент наполнения
По расчетным данным, приведенным в таблице 3, строим внешнюю скоростную
характеристику дизелей без наддува.
Коэффициент приспособляемости для дизелей:
где
определены по скоростным характеристикам.
. Кинематический расчет двигателя
Выбор λ и длины шатуна
. В целях уменьшения высоты двигателя
с учетом опыта отечественного дизелестроения оставляем значение λ
= 0,270, как уже было
принято предварительно в тепловом расчете. В соответствии с этим
, мм, определяется по формуле:
(33)
где
- радиус кривошипа, мм;
- степень повышения давления
Перемещение поршня. Изменение хода поршня по углу поворота коленчатого
вала строят графическим методом в масштабе Мs = 2 мм в мм и Мφ = 2° в мм через каждые 30°. Поправка
Брикса
Угловая скорость вращения коленчатого вала
Скорость поршня. Изменение скорости поршня по углу повороти коленчатого
вала строят графическим методом в масштабе
= 0,4 м/с в мм:
Ускорение поршня. Изменение ускорения поршня по углу поворота коленчатого
вала строят графическим методом в масштабе
= 100 м/с2 в мм:
Значения Sx,
и j в
зависимости от φ, полученные на основании построенных графиков, заносят
в таблицу 4.
При j = 0,
, а точки перегиба s соответствуют
повороту кривошипа на 76 и 284°.
Таблица 4 - Данные измерений
|
|
s, мм
|
, м/с
|
j, м/с2
|
|
0 30 60 90 120 150 180 210 240 270 300 330 360
|
0 11,06 41,26 93,64 123,76 153,94 165 153,94 123,76 93,64
41,26 11,06 0
|
0 +22,34 +35,61 +36,93 +27,15 +13,89 0 -13,89 -27,15 -36,93
-35,61 -22,34 0
|
+20247 +15955 +5820 -4300 -10120 -11654 -11640 -11654
-10120 -4300 +5820 +15955 +20247
|
. Динамический расчет двигателя
Силы давления газов. Индикаторная диаграмма полученная в тепловом
расчете, развертывается по углу поворота кривошипа по методу Брикса.
Масштабы развернутой диаграммы: хода поршня
= 2 мм в мм, давлений
= 0,04 МПа в мм; сил
в мм или
в мм, угла поворота кривош
= 3° в мм или
где ОВ - длина развернутой индикаторной диаграммы, мм.
Поправка Брикса
По развернутой индикаторной диаграмме через каждые 30° угла поворота
кривошипа определяют значения
и заносят в таблицу 5.
Приведение масс частей кривошипно-шатунного механизма. С учетом диаметра
цилиндра, отношения S/D, V - образного расположения цилиндров и достаточно
высокого значения
устанавливаются:
масса поршневой группы (для поршня из алюминиевого сплава
)
(34)
где
- площадь поршня, м
Таблица 5. Данные измерений
|
φ°
|
, МПа
|
j, м/с
|
, МПа
|
р, МПа
|
|
0 30 60 90 120 150 180 210 240 270 300 330 360 370 380 390
420 450 480 510 540 570 600 630 660 690 720
|
0,09 0,092 0,092 0,092 0,092 0,092 0,092 0,098 0,077 0,0132
0,1864 1,043 3,25 5,965 5,109 3,157 0,9 0,349 0,168 0,106 0,004 0,09 0,09
0,09 0,09 0,09 0,09
|
+20247 +15955 +5820 -4300 -10120 -11654 -11640 -11654
-10120 -4300 +5820 +15955 +20247 +18940 +17556 +15955 +5820 -4300 -10120
-11654 -11640 -11654 -10120 -4300 +5820 +15955 +20247
|
-6,936 -5,465 -1,993 +1,472 +3,466 +3,992 +3,987 +3,992
+3,466 +1,472 -1,993 -5,465 -6,936 -6,488 -6,014 -5,465 -1,993 +1,472 +3,466
+3,992 +3,987 +3,992 +3,466 +1,472 -1,993 -5,465 -6,936
|
-6,846 -5,373 -1,903 +1,562 +3,558 +4,084 +4,079 +4,09
+3,543 +1,485 -1,806 -4,422 -3,686 -0,523 -0,905 -2.308 -1.093 +1,821 +3,634
+4,09 +3,983 +4,084 +3,558 +1,562 -1,903 -5,373 -6,846
|
масса шатуна (
)
масса неуравновешенных частей одного колена вала без противовесов (для
стального кованого вала
)
Масса шатуна, сосредоточенная на оси поршневого пальца:
Масса шатуна, сосредоточенная на оси кривошипа:
Массы, совершающие возвратно-поступательное движение:
Массы, совершающие вращательное движение:
Полные и удельные силы инерции. Силы инерции возвратно-поступательно
движущихся масс определяют по кривой ускорений:
полные силы
удельные силы
Значения
заносят в таблицу 5.
Центробежная сила инерции вращающихся масс шатуна одного цилиндра
Центробежная сила инерции вращающихся масс кривошипа
Центробежная сила инерции вращающихся масс, действующая на кривошип:
Удельные суммарные силы. Удельная суммарная сила (МПа), сосредоточенная
на оси поршневого пальца:
Удельные силы,
,
,
и
определяют аналитическим методом. Расчет значения этих сил для
различных φ сводят в таблицу 6.
Графики изменения удельных сил
,
,
и
в зависимости от φ рисуют в масштабе где
= 0,04 МПа в мм и
= 3° в мм.
Среднее значение удельной тангенциальной силы за цикл:
по данным теплового расчета
по площади, заключенной под кривой Рт:
ошибка
Крутящие моменты. Крутящий момент одного цилиндра
Изменение крутящего момента цилиндра в зависимости от φ
выражает кривая
, но в масштабе
Период изменения крутящего момента четырехтактного дизеля с равными
интервалами между вспышками
, определяется по формуле:
(35)
где
- количество цилиндров
Суммирование значений крутящих моментов всех четырех цилиндров двигателя
производится табличным методом через каждый 10° угла поворота коленчатого вала.
По полученным данным строят кривую в масштабе
= 50 Н·м в мм и
= 1° в мм.
Средний крутящий момент двигателя:
по данным теплового расчета
по площади
, заключенной под кривой
:
ошибка
Максимальное и минимальное значения крутящего момента двигателя:
5 Расчет двигателя с наддувом
Параметры окружающей среды и остаточные газы. Атмосферные условия
Давление окружающей среды для дизелей:
с наддувом
Температура окружающей среды для дизелей
, К, определяется по формуле:
, (36)
где nk-показатель политропы сжатия (для
центробежного нагнетателя с охлаждаемым корпусом принят nk=1,65);
- давление окружающей среды, МПа
с наддувом
,
Температура и давление остаточных газов. Достаточно высокое
значение
дизеля без наддува снижает
температуру и давление
остаточных газов, а повышенная частота вращения коленчатого
вала несколько увеличивает значения
При наддуве тем-
пературный режим двигателя повышается и увеличивает значения
. Поэтому можно принять для дизелей:
с наддувом
Процесс впуска. Температура подогрева свежего заряда. Рассчитываемый
двигатель не имеет специального устройства для подогрева свежего заряда.
Однако естественный подогрев заряда в дизеле без наддува может достигать ≈
15 - 20 °С, а при наддуве за счет уменьшения температурного перепада между
деталями двигателя и температурой наддувочного воздуха величина подогрева
сокращается. Поэтому принимаем для дизелей: с наддувом
T-10 °С.
Плотность заряда на впуске
, кг/м3, определяется по формуле:
(37)
Параметры, входящие в формулу приведены выше по тексту в расчете без
наддува
с наддувом
Потери давления на впуске в двигателе:
с наддувом
где
и
приняты в соответствии со скоростным режимом двигателей и с
учетом небольших гидравлических сопротивлений во впускной системе дизеля с
наддувом и без наддува.
Давление в конце впуска
(38)
Параметры, входящие в формулу приведены выше по тексту в расчете без
наддува
с наддувом
Коэффициент остаточных газов
(39)
Параметры, входящие в формулу приведены выше по тексту в расчете без
наддува
с наддувом
Температура в конце впуска
(40)
Параметры, входящие в формулу приведены выше по тексту в расчете без
наддува
с наддувом
Коэффициент наполнения
(41)
Параметры, входящие в формулу приведены выше по тексту в расчете без
наддува
с наддувом
Процесс сжатия. Средние показатели адиабаты и политропы сжатия. При
работе дизеля на номинальном режиме можно с достаточной степенью точности
принять показатель политропы сжатия приблизительно равным показателю адиабаты,
который определяется по номограмме:
для дизеля с наддувом при
Давление и температура в конце сжатия
(42)
Параметры, входящие в формулу приведены выше по тексту в расчете без
наддува
с наддувом
Средняя мольная теплоемкость в конце сжатия:
а) воздуха
для дизеля с наддувом
где
б) остаточных газов (определяется по таблице методом интерполяции);
для дизеля с наддувом при α= 1,7 и
в) рабочей смеси
для дизеля с наддувом
Процесс сгорания. Коэффициент молекулярного изменения свежей смеси в
дизелях
, определяется по формуле:
(43)
где
- общее количество продуктов сгорания, кмоль/кг;
- количество свежего заряда, кмоль/кг
с наддувом
Коэффициент молекулярного изменения рабочей смеси в дизелях:
с наддувом
Теплота сгорания рабочей смеси в дизелях:
с наддувом
Средняя мольная теплоемкость продуктов сгорания в дизелях:
с наддувом
Коэффициент использования теплоты для современных дизелей с
неразделенными камерами сгорания и хорошо организованным струйным
смесеобразованием можно принять для двигателей с наддувом
.
Степень повышения давления в дизеле в основном зависит от величины
цикловой подачи топлива. С целью снижения газовых нагрузок на детали
кривошипно-шатунного механизма целесообразно иметь максимальное давление сгорания
не выше 11 - 12 МПа. В связи с этим целесообразно принять для дизеля с наддувом
Температура в конце видимого процесса сгорания
для дизеля без наддува
откуда
Максимальное давление сгорания для дизелей:
(44)
где
- степень повышения давления;
- давление в конце сжатия, МПа
с наддувом
Степень предварительного расширения для дизелей:
(45)
Параметры, входящие в формулу приведены, выше по тексту в расчете без
наддува.
с наддувом
Процесс расширения. Степень последующего расширения для дизелей:
(46)
Параметры, входящие в формулу приведены, выше по тексту в расчете без наддува.
с наддувом
Средние показатели адиабаты и политропы расширения для дизелей выбираются
следующим образом. На номинальном режиме можно принять показатель политропы
расширения с учетом достаточно больших размеров цилиндра, несколько меньше
показателя адиабаты расширения, который определяется по номограмме. Для
дизелей:
с наддувом при
Давление и температура в конце расширения для дизелей:
с наддувом
Проверка ранее принятой температуры остаточных газов для дизелей:
с наддувом
Индикаторные параметры рабочего цикла. Теоретическое среднее индикаторное
давление
для дизеля с наддувом
Среднее индикаторное давление для дизелей:
с наддувом
где коэффициент полноты диаграммы принят
Индикаторный КПД для дизелей
с наддувом
Индикаторный удельный расход топлива для дизелей:
с наддувом
Эффективные показатели двигателя. Среднее давление механических потерь
где, средняя скорость поршня предварительно принята
Среднее эффективное давление и механический КПД для дизелей:
с наддувом
Эффективный КПД и эффективный удельный расход топлива для дизелей:
с наддувом
Основные параметры цилиндра и двигателя. Литраж двигателя
(47)
Параметры, входящие в формулу, определены в расчете без наддува
Рабочий объем цилиндра
(48)
Параметры, входящие в формулу, определены в расчете без наддува
Диаметр и ход поршня дизеля, как правило, выполняются с отношением хода
поршня к диаметру цилиндра
. Однако уменьшение
для дизеля, так же как и для
карбюраторного двигателя, снижает скорость поршня и повышает
.В связи с этим целесообразно принять
:
Окончательно принимаем D=S= 114 мм.
По окончательно принятым значениям D и S
определяются основные параметры и показатели двигателя:
что достаточно близко (ошибка <2%) к ранее принятому значению
. Построение индикаторной диаграммы дизеля с наддувом
Масштаб хода поршня - Мs = 2
мм в мм; масштаб давлений - Mp =
0,04 МПа в мм.
Приведенные величины рабочего объема цилиндра и объема камеры сгорания
соответственно:
Максимальная высота диаграммы (точки z 1 и z) и положение точки z по оси
абсцисс
Ординаты характерных точек:
Построение политроп сжатия и расширения проводится графическим методом
(см. рисунок 1):
а) для луча ОС принимаем угол α = 15о;
б)
в) используя лучи OD и
ОС, строим политропу сжатия, начиная с точки с;
г)
д) используя лучи ОЕ и ОС, строим политропу расширения, начиная с точки z.
Теоретическое среднее индикаторное давление
что очень близко к величине
, полученной в тепловом расчете (
- площадь диаграммы acz'zbа).
Скругление индикаторной диаграммы. Учитывая достаточную быстроходность
рассчитываемого дизеля и величину наддува, ориентировочно устанавливаются
следующие фазы газораспределения:
впуск - начало (точка r1) за
25° до в.м.т. и окончание (точка а") -
60° после н.м.т.; впуск - начало (точка b') за 60° до н.м.т. и окончание (точка а') - 25° после в.м.т.
С учетом быстроходности дизеля принимается угол опережения впрыска 20°
(точка с1) и продолжительность периода задержки воспламенения
(точка f).
В соответствии с принятыми фазами газораспределения и углом опережения
впрыска определяется положение точек b', r ', a', a", c' и f по формуле для перемещения поршня:
где λ - отношение радиуса кривошипа к длине шатуна. Выбор величины λ
производится при
проведении динамического расчета, а при построении индикаторной диаграммы
ориентировочно устанавливаем λ =0,270.
Результаты расчета ординат точек b', r ',
а', а", с' и f приведены в
таблице 7.
Таблица 7 - Результаты расчета
|
Обозначение точек
|
Положение точек
|
|
|
Расстояние AX
точек от в.м.т., мм
|
|
b' r ' a' a" с' f
|
60о до н.м.т. 25о до в.м.т. 25о после в.м.т. 60о после
н.м.т. 20о до в.м.т. (20-8о) до в.м.т.
|
120 25 25 120 20 12
|
1,601 0,122 0,122 1,601 0,076 0,038
|
66 5 5 66 3,1 1,5
|
Положение точек с" определяют из выражения
Точка
лежит на линии
ориентировочно вблизи точки z.
Нарастание давления от точки с" до
составляет 11,307 - 8,669 = 2,638
МПа или 2,638/10=0,264 МПа/град п.к.в., где 10 - положение точки
по оси абсцисс, град.
Соединяя плавными кривыми точки r с а', с' с f и с" и
далее с
и кривой расширения b' с b" (точка b"
располагается между точками b и а) и далее с r ' и r,
получаем скругленную индикаторную диаграмму r а' a c' f c"
b' b'' r.
. Тепловой баланс
Общее количество теплоты, введенной в двигатель с топливом для дизелей:
(49)
Параметры, входящие в формулу, определены в расчете без наддува
с наддувом
Теплота, эквивалентная эффективной работе за 1 с, для дизелей:
(50)
Параметры, входящие в формулу, определены в расчете без наддува
с наддувом
Теплота, передаваемая охлаждающей среде, для дизелей:
с наддувом
где С - коэффициент пропорциональности (для четырехтактных двигателей С =
0,45 ÷
0,53); i - число цилиндров;
D - диаметр цилиндра, см; m - показатель степени (для четырехтактных двигателей
m = 0,6 ÷
0,7); n - частота вращения коленчатого вала
двигателя, мин-1.
Теплота, унесенная с отработавшими газами (в дизеле с наддувом часть
теплоты отработавших газов используется в газовой турбине),
с наддувом
Неучтенные потери теплоты
Составляющие теплового баланса представлены в таблице 8.
Таблица 8 - Составляющие теплового баланса
|
Составляющие теплового баланса
|
Дизель с наддувом
|
|
Q, Дж/с
|
q, %
|
|
Теплота, эквивалентная эффективной работе
|
85200
|
20,1
|
|
Теплота, передаваемая охлаждающей среде
|
52856
|
19
|
|
Теплота, унесенная с отработавшими газами
|
285866
|
27,1
|
|
Неучтенные потери теплоты
|
220030
|
33,8
|
|
Общее количество теплоты, введенной в двигатель с топливом
|
643952
|
100
|
5. Расчет внешней скоростной характеристики дизеля
На основании теплового расчета, проведенного для режима номинальной
мощности, получены следующие параметры, необходимые для расчета и построения
внешней скоростной характеристики дизеля:
Эффективная мощность Ne = 92 кВт; частота вращения коленчатого вала при
максимальной мощности nN =
2200 мин-1, тактность двигателя τ = 4; литраж Vл = 4,75 л; ход поршня S = 114 мм; теоретически необходимое
количество воздуха для сгорания 1 кг топлива
= 14,452 кг возд/кг топл.; плотность
заряда на впуске
= 1,641 кг/м3; коэффициент избытка воздуха aN = 1,6;
удельный эффективный расход топлива
.
Расчетные точки скоростной характеристики. Принимаем: nmin = 500 мин-1; nx1 = 1200 мин-1; далее через каждые
500 мин-1 и nN = 2200 мин-1.
Таблица 9 - Расчетные данные
|
Частота вращения коленчатого вала, мин-1
|
Параметры внешней скоростной характеристики
|
|
|
|
|
|
|
|
|
|
|
|
|
|
500 1200 1700 2200
|
97,5 214,7 336,1 446
|
1330 1465 1529 1522
|
0,395 0,435 0,454 0,452
|
3,5 7 10,5 14
|
0,130 0,172 0,213 0,254
|
0,525 0,607 0,667 0,706
|
1768 2044 2246 2378
|
554 481 430 404
|
54 103,3 144,5 180,2
|
1,40 1,44 1,49 1,52
|
1,035 1,018 0,983 0,938
|
Мощность в расчетных точках, кВт:
Эффективный крутящий момент, Н·м
Среднее эффективное давление, МПа
Средняя скорость поршня, м/с
Среднее давление механических потерь, МПа
Среднее индикаторное давление, МПа
Индикаторный крутящий момент, Н·м
Удельный эффективный расход топлива для дизелей, г/(кВт·ч)
Часовой расход топлива, кг/ч
Коэффициент избытка воздуха. Принимаем для дизелей:
Соединяя точки
и
прямой линией, получим значения
для всех расчетных точек дизелей без
наддува.
Коэффициент наполнения
По расчетным данным, приведенным в таблице 3, строим внешнюю скоростную
характеристику дизелей с наддувом.
Коэффициент приспособляемости для дизелей:
где
определены по скоростным характеристикам.
. Кинематический расчет двигателя
Выбор λ и длины шатуна
. В целях уменьшения высоты двигателя
с учетом опыта отечественного дизелестроения оставляем значение λ
= 0,270, как уже было
принято предварительно в тепловом расчете. В соответствии с этим
Перемещение поршня. Изменение хода поршня по углу поворота коленчатого
вала строят графическим методом в масштабе Мs = 2 мм в мм и Мφ = 2° в мм через каждые 30°. Поправка
Брикса
Угловая скорость вращения коленчатого вала
Скорость поршня. Изменение скорости поршня по углу повороти коленчатого
вала строят графическим методом в масштабе
= 0,4 м/с в мм:
Ускорение поршня. Изменение ускорения поршня по углу поворота коленчатого
вала строят графическим методом в масштабе
= 100 м/с2 в мм:
Значения Sx,
и j в
зависимости от φ, полученные на основании построенных графиков, заносят
в таблицу 10.
При j = 0,
, а точки перегиба s соответствуют
повороту кривошипа на 76 и 284°.
Таблица 10 - Данные измерений
|
|
s, мм
|
, м/с
|
j, м/с2
|
|
0 30 60 90 120 150 180 210 240 270 300 330 360
|
0 11,06 41,26 93,64 123,76 153,94 165 153,94 123,76 93,64
41,26 11,06 0
|
0 +22,34 +35,61 +36,93 +27,15 +13,89 0 -13,89 -27,15 -36,93
-35,61 -22,34 0
|
+20247 +15955 +5820 -4300 -10120 -11654 -11640 -11654
-10120 -4300 +5820 +15955 +20247
|
. Динамический расчет двигателя
Силы давления газов. Индикаторная диаграмма полученная в тепловом
расчете, развертывается по углу поворота кривошипа по методу Брикса.
Масштабы развернутой диаграммы: хода поршня
= 2 мм в мм, давлений
= 0,04 МПа в мм; сил
в мм или
в мм, угла поворота кривош
= 3° в мм или
где ОВ - длина развернутой индикаторной диаграммы, мм.
Поправка Брикса
По развернутой индикаторной диаграмме через каждые 30° угла поворота
кривошипа определяют значения
и заносят в таблицу 11.
Приведение масс частей кривошипно-шатунного механизма. С учетом диаметра
цилиндра, отношения S/D, V - образного расположения цилиндров и достаточно
высокого значения
устанавливаются:
масса поршневой группы (для поршня из алюминиевого сплава
)
Таблица 11. Данные измерений
|
φ°
|
, МПа
|
j, м/с
|
, МПа
|
р, МПа
|
|
0 30 60 90 120 150 180 210 240 270 300 330 360 370 380 390
420 450 480 510 540 570 600 630 660 690 720
|
0,09 0,092 0,092 0,092 0,092 0,092 0,092 0,098 0,077 0,0132
0,1864 1,043 3,25 5,965 5,109 3,157 0,9 0,349 0,168 0,106 0,004 0,09 0,09
0,09 0,09 0,09 0,09
|
+20247 +15955 +5820 -4300 -10120 -11654 -11640 -11654
-10120 -4300 +5820 +15955 +20247 +18940 +17556 +15955 +5820 -4300 -10120
-11654 -11640 -11654 -10120 -4300 +5820 +15955 +20247
|
-6,936 -5,465 -1,993 +1,472 +3,466 +3,992 +3,987 +3,992
+3,466 +1,472 -1,993 -5,465 -6,936 -6,488 -6,014 -5,465 -1,993 +1,472 +3,466
+3,992 +3,987 +3,992 +3,466 +1,472 -1,993 -5,465 -6,936
|
-6,846 -5,373 -1,903 +1,562 +3,558 +4,084 +4,079 +4,09
+3,543 +1,485 -1,806 -4,422 -3,686 -0,523 -0,905 -2.308 -1.093 +1,821 +3,634
+4,09 +3,983 +4,084 +3,558 +1,562 -1,903 -5,373 -6,846
|
масса шатуна (
)
масса неуравновешенных частей одного колена вала без противовесов (для
стального кованого вала
)
Масса шатуна, сосредоточенная на оси поршневого пальца:
Масса шатуна, сосредоточенная на оси кривошипа:
Массы, совершающие возвратно-поступательное движение:
Массы, совершающие вращательное движение:
Полные и удельные силы инерции. Силы инерции возвратно-поступательно
движущихся масс определяют по кривой ускорений:
полные силы
удельные силы
Значения
заносят в таблицу 11.
Центробежная сила инерции вращающихся масс шатуна одного цилиндра
Центробежная сила инерции вращающихся масс кривошипа
Центробежная сила инерции вращающихся масс, действующая на кривошип:
Удельные суммарные силы. Удельная суммарная сила (МПа), сосредоточенная
на оси поршневого пальца:
Удельные силы,
,
,
и
определяют аналитическим методом. Расчет значения этих сил
для различных φ сводят в таблицу 6.
Графики изменения удельных сил
,
,
и
в зависимости от φ рисуют в масштабе где
= 0,04 МПа в мм и
= 3° в мм.
Среднее значение удельной тангенциальной силы за цикл:
по данным теплового расчета
по площади, заключенной под кривой Рт:
ошибка
Крутящие моменты. Крутящий момент одного цилиндра
Изменение крутящего момента цилиндра в зависимости от φ
выражает кривая
, но в масштабе
Период изменения крутящего момента четырехтактного дизеля с равными
интервалами между вспышками
, град, определяется по формуле:
(51)
где
- количество цидиндров двигателя
Суммирование значений крутящих моментов всех четырех цилиндров двигателя
производится табличным методом через каждый 10° угла поворота коленчатого вала.
По полученным данным строят кривую в масштабе
= 50 Н·м в мм и
= 1° в мм.
Средний крутящий момент двигателя:
по данным теплового расчета
по площади
, заключенной под кривой
:
ошибка
Максимальное и минимальное значения крутящего момента двигателя:
В разделе дипломного проекта были произведены следующие виды расчетов:
. Тепловой расчет - в котором с достаточной степенью точности
определили основные параметры вновь проектируемого двигателя, а также проверили
степень совершенства действительного цикла реально работающего двигателя.
. Тепловой баланс - в котором установили степень достигнутого
совершенства теплоиспользования и наметили пути их уменьшения имевшихся потерь.
. Расчет внешней скоростной характеристики - в котором показали
изменение мощности, крутящего момента, расхода топлива и других параметров от
частоты вращения коленчатого вала.
. Кинематика - в котором произвели расчет и построили кривые
перемещения поршня, скорости поршня и его ускорения.
. Динамика - в котором определили суммарные силы и моменты,
возникающие от давления газов и сил инерции.
А также произвели построения диаграмм для каждого вида расчета.
Построения диаграмм отражены в графической части дипломного проекта
Эксплуатационная часть
.1 Назначение, устройство и принцип работы ремонтируемого узла
Турбокомпрессор (ТКР)-агрегат устанавливаемый на двигатель, использует
энергию отработавших газов, сжимает и нагнетает воздух в цилиндры двигателя.
Отработавшие газы, вытесняемые из цилиндров поршнями, через выпускной коллектор
попадают с большой скоростью и под давлением в корпус турбинного колеса
("горячая улитка"), где приводят во вращение турбинное колесо. На вал
турбинного колеса жестко установлено компрессорное колесо. Компрессорное колесо
прокачивает воздух через систему очистки и направляет его через корпус
компрессорного колеса, где воздух сжимается, во впускной коллектор двигателя.
Количество сжатого воздуха, а также и его давление определяются конструкцией
конкретного ТКР и режимом работы двигателя. В дизельных и бензиновых двигателях
генерируемая мощность зависит от количества сгоревшей в цилиндрах оптимальной
по своему составу (соотношению воздух-топливо) топливовоздушной смеси. Так как
ТКР увеличивает подачу воздуха в цилиндры двигателя по сравнению с атмосферным
аналогом того же рабочего объема, то можно добавить соответственно и большее
количество топлива в цилиндры, что приведет к росту мощности на коленчатом валу
двигателя. Серийные двигатели, комплектующиеся ТКРами, имеют конструктивные
изменения топливной системы и других узлов, которые необходимы для нормальной
работы двигателя с ТКРом. Турбокомпрессор состоит из: приводимого в движение
выхлопными газами колеса турбины с валом и распложенного на противоположном
конце вала колеса компрессора, вместе - ротор. Максимальная частота вращения
ротора 40 - 250 тыс. оборотов в минуту и выше. При этом, чем меньше
турбокомпрессор, тем выше его рабочие и максимальные частоты вращения. Ротор
расположен в корпусе (средней части), к которому присоединены горячая и
холодная улитки. Ротор установлен в подшипниках скольжения специальной
"плавающей" конструкции. В осевом направлении ротор удерживается
гидродинамическим подпятником. В канавку упорной стальной втулки, расположенной
на валу, входит бронзовая или чугунная фигурная пластина, имеющая отверстия для
подачи масла. На подшипники и гидродинамический подпятник масло подается под
давлением от маслосистемы двигателя. Корпус имеет каналы подвода и слива масла,
а на некоторых типах турбокомпрессоров имеются каналы для жидкостного
охлаждения.
На корпусе крепятся холодная и горячая улитки, формируя газовоздушный
тракт турбокомпрессора. Конструктивная схема турбокомпрессора.
Ротор турбокомпрессора расположен в корпусе (картридже), к которому
присоединены горячая и холодная улитки. Ротор установлен в подшипниках
скольжения специальной «плавающей» конструкции. В осевом направлении ротор
удерживается гидродинамическим подпятником. В канавку упорной стальной втулки,
расположенной на валу, входит бронзовая ил чугунная фигурная пластина, имеющая
отверстия для подачи масла. На подшипники и подпятник масло подается под давлением.
Корпус имеет каналы подвода и слива масла, а на некоторых моделях ТКРов имеются
каналы для жидкостного охлаждения. Ротор при рабочих частотах вращения является
«гибким» - его частота превышает собственную частоту колебаний, поэтому его
вращение происходит в «плавающих» подшипниках, способных демпфировать
резонансные колебания на критических частотах. Вал ротора ТКРа состоит из 2
частей: роторная и компрессорная. Роторная часть как одно целое с валом,
изготавливается из нержавеющей стали. Сам вал изготавливается из СТАЛЬ 45. В
компрессорной части расположено компрессорное колесо, изготовленное из
алюминия. Колесо одевается на вал и фиксируется гайкой.
ТКР - 11Н Д -243:
остаточный дисбаланс - 1,0 - 2 мм.
крутящий момент для гайки - 2,5 кгс/м,
продольный люфт - 0,1 мм,
радиальный - 0,4 - 0,8 мм.
ТКР с отклонениями подлежат ремонту.
ТКР работает в тяжелых условиях: высокая температура отработавших газов
(до 1050c) и большая частота вращения вала (до
280 тыс об/мин). Масло, подаваемое в ТКР для смазки и охлаждения, забирается из
масляной системы двигателя, необходимо, чтобы оно было всегда чистым и
соответствовало требованиям, предъявляемым изготовителем двигателя. После
запуска необходимо дать поработать двигателю в режиме холостых оборотов
примерно одну минуту. Это необходимо для того, чтобы давление масла, в системе
смазки поднялось до рабочего, и масло попало в подшипники ТКРа. Перед
выключением двигателя также следует дать ему поработать несколько (1- 3) минут
в режиме холостых оборотов, чтобы дать возможность деталям ТКРа остыть.
.2 Организация эксплуатации, технического обслуживания и ремонта катка ДУ
- 50
Приемка машины и ввод ее в эксплуатацию
Ввод катка в эксплуатацию начинается с его приемки с завода изготовителя
после ремонта, а завершается обкаткой.
Основное назначение приемки катка - проверить техническое состояние в
целом машины и отдельных её агрегатов, узлов и деталей. Приемка осуществляется
наружным осмотром, а также опробованием катка без нагрузки и под нагрузкой.
Наружный осмотр позволяет установить по внешним признакам общее состояние
катка, его агрегатов и узлов, деталей, наличие комплекта основного и
дополнительного рабочего оборудования, инструментов, контрольных приборов.
Приемкой в работе без нагрузки проверяются действия всех агрегатов узлов катка,
легкость управления, правильность сборки и др. Приемка осуществляется
последовательно по кинематической схеме катка, начинают от двигателя и кончают
рабочими органами и ходовым оборудованием. Катки могут быть приняты от заводов
- изготовителей, от ремонтных заводов, мастерских и других хозяйств. Во всех
случаях приемки катковов составляется акт, в котором дается общая оценка
состояния машины, а также отдельных узлов и агрегатов комплектность, наличии
инструмента, контрольных приборов указывается решения об устранении
обнаруженных дефектов и т.д. С заводов изготовителей катки отгружаются
полностью укомплектованные и проверенные отделами технического контроля. Каткам
придаются комплекты инструментов и запасных частей, паспорт, упаковочный лист,
инструкция по эксплуатации. Перед отправкой катка инструментальные ящики, капот
двигателя и кабина пломбируются. Приемка поступившего по железной дороге катка
осуществляется старшим (главным) механизмом дорожного хозяйства или его
подразделения. По накладной железной дороги проверяется количество мест, номер
катка, целостность пломб и упаковки, отсутствие внешних повреждений. Приемка
оформления актом. Новый каток, а также полученный из капитального ремонта перед
вводом в эксплуатацию обязательно должен пройти обкатку. Она необходима для
приработки трущихся деталей в условиях уменьшенной нагрузки и проверки работы
узлов и механизмов.
Система технического обслуживания и эксплуатационного ремонта катка
Каток считается технически исправным в том случае, если его рабочие
параметры соответствуют требованиям нормативно-технической документации.
Но в процессе работы катков в их деталях появляются естественные износы,
вызываемые трением их сопряженных поверхностей. Так как продолжительность
исправной работы катка, при которой сохраняется их работоспособность,
устанавливается технической документацией на машину, необходимо в течении этого
срока путем технического обслуживания поддержать паспортную работоспособность
машины.
Комплекс операций по поддержанию работоспособности или исправности машин
при их использовании по назначению, хранении и транспортировании называется
техническим обслуживанием (ТО).
Как ТО так и ремонт катка нельзя провести в нужном объеме, если
неизвестно его фактическое техническое состояние. Установить его позволяет
техническое диагностирование механизмов машины с помощью специальных
измерительных приборов и откатки. Они то и дают возможность определить,
необходимо ли в данном случае техническое обслуживание или ремонт машины.
Следовательно, для поддержания постоянной работоспособности катков
необходимо систематически осуществить техническое обслуживание машин,
включающее их очистку, мойку, крепежные работы и заправку, производить
своевременный ремонт сборочных единиц и деталей машин, вышедших в процессе
эксплуатации из строя.
В нашей стране существует единая для всех строительных организаций
система ТО и ремонта техники, которая называется планово-предупредительной, так
как главная их задача заключается в профилактическом характере производимых в плановом
порядке мероприятий, а главная цель состоит в предупреждении преждевременном
выходе машины из строя из-за чрезмерного износа деталей. Система технического
обслуживания и ремонта техники представляет собой совокупность средств
документации ТО и ремонта и исполнителей, необходимых для поддержания в
исправном состоянии и восстановления машин. В неё входят виды ТО и ремонта, их
периодичность; продолжительность, трудоемкость. В системе оговариваются
передачи работ, средства контроля и механизации, вопросы организации учета и
планирования работ. Техническое обслуживание катков в процессе их использования
в работе включает: ежедневное техническое обслуживание (ЕО), периодическое
техническое обслуживание (ТО) и сезонное техническое обслуживание. В число плановых
ремонтов катков входят текущий и капитальный.
Техническое диагностирование катка ДУ - 50
Ротор балансируется динамически и величина остаточного дисбаланса
ничтожна. Любые перебои с подачей масла приводит к ускоренному износу
подшипников и уплотнений ротора. При дальнейшей эксплуатации износ быстро
прогрессирует, возникает задевание лопаток рабочих колес ротора за корпус -
появляется характерный «визг» ТКРа на некоторых режимах. Анализ поврежденных
ТКРов показывает, что около 40% повреждений являются следствием попадания
посторонних предметов на лопатки компрессорного или турбинного колес. Еще 40%
повреждений вызваны неисправностью системы смазки. Оставшиеся 20% повреждений
вызваны другими причинами. К посторонним предметам относятся: отколовшиеся части
клапанов и камер сгорания; неправильно установленная прокладка (части прокладки
могут оторваться и попасть в выпускной коллектор); болты, гайки, шайбы при
установке ТКРа , отломившиеся части поршней ДВС. Все эти предметы даже при
незначительном своем размере, приводят к серьезному повреждению турбинного
колеса. И тогда вал ТКРа подлежит замене. В случае если ТКР долго
эксплуатировался на масле, не отвечающем требованиям для данного двигателя, и
если масло не менялось через определенный пробег, на валу ротора возникают
задиры и риски, в результате отложения механических примесей.
Таблица 1 - Возможная совокупность дефектов, проявляющихся на детали в
период эксплуатации.
|
Дефект
|
Устранение
|
|
Осевой люфт вала до 0,05 мм свыше не допускается
|
Замена уплотнительных колец, замена подшипников, шлифовка
вала, балансировка вала
|
|
Радиальный люфт вала до 1 мм свыше не допускается.
|
Тоже
|
|
Лопатки компрессорного колеса задевают за холодную улитку
|
Замена компрессорного колеса и улитки, балансировка вала.
|
|
Отложение грязи в корпусе компрессорного колеса
|
Заменить воздушный фильтр, сменить прилегающие прокладки
|
|
Масло в корпусе компрессора
|
Заменить масло в фильтре, либо сменить фильтр на новый.
|
Разработка карты смазки катка ДУ-50
При смазочных работах особое внимание надо уделить содержанию в чистоте
смазочных материалов и масленок, через которые подается смазка к трущимся
местам машин. Для этого смазку необходимо хранить в закрытых сосудах и не
допускать попадания на смазочный материал воды, пыли и песка, так как
загрязненная смазка вызывает интенсивный преждевременный износ деталей.
Необходимо перед смазкой тщательно обтирать все масленки, заливные горловины,
крышки и др., через которые подается смазка в узлы скрепера, а также
применяемое для подачи смазки смазочное оборудование. После проведения
смазочных работ с масленок, горловин, крышек, корпусов и пр. необходимо удалять
все излишки смазки, так как они могут являться основой для налипания на них
частиц пыли и песка, после чего появляется возможность последующего проникания этих
инородных частиц в трущиеся места узлов машин.
У катка ДУ-50 смазываются оси гидроцилиндров поворота вальцов литол-24
или GO API GLS SAE 80W90
при ТО-1
От своеобразной и качественной смазки механизмов катка в большой мере
зависит его работоспособность. При всех ТО и ремонтах катков в обязательном
порядке производится смазка его механизмов, сохраняющие свои смазочные свойства
в течении разных сроков, в инструкции по эксплуатации на каждый каток приведена
специальная карта смазки с таблицей, в которой дается схема машины с местами
смазки и указаниями по применению смазочных материалов и периодичности
смазочных работ. Типовая для катков ДУ карта смазки отображена в графической
части дипломного проекта.
Хранение машин, монтаж, демонтаж
Катки ставят на межсменное (до 10 дней), кратковременное (от 10 дней до 2
мес.) и длительное (более 2 мес.) хранение. Их можно хранить в помещениях или
под навесом. Допускается также их хранение на открытых площадках при выполнении
работ по консервации, герметизации и снятию электрооборудования для складского
хранения. В местах хранения должны быть предусмотрены средства механизации. При
продолжительном хранении форсунки, аккумуляторы, фары, лампы, генераторы
снимают, помечают, с какого катка сняты, и хранят в помещении. В гнезда
форсунок вставляют деревянные пробки. Закрывают и пломбируют капоты двигателей.
Один раз в месяц производят осмотр машины, находящейся на хранении. При этом
проворачивают коленчатый вал двигателя, и обновляют антикоррозийную смазку. В
помещениях под навесом катки ставят в ряды с расстоянием между рядами не менее
1м и между катками не менее 0,7м. На открытых площадках расстояние между рядами
должно быть не менее 0,7 м при наличии мостового или козлового крана и не менее
6 м. при наличии автокрана. Катки подвергаются техническому обслуживанию при
подготовке к длительному хранению, в процессе хранения и при снятии с хранения.
При подготовке к длительному хранению на открытом воздухе производится очистка
и мойка катка с продувкой сжатым воздухом; герметизация всех отверстий и
полостей от проникновения влаги; консервация неокрашенных поверхностей;
восстановление поврежденной окраски; установка рамы и мостов на подставки при
спущенных на 1/3 шинах; покрытие шин и гидрошлангов защитным составом,
опломбирование дверей и капотов; установка рычагов и деталей в положение,
исключающее их самопроизвольное включение. В период хранения проверяется
состояние подставок и подкладок под катком, его комплектность, давление в
шинах, состояние герметичности отверстий, противокоррозионных и защитных
покрытий, производится подзарядка аккумулятора.
При снятии с хранения каток снимают с подкладок и подставок,
реконсервируют и разгерметизируют, устанавливают ранее снятое
электрооборудование, регулируют и проверяют в работе. При кратковременном и
межсменном хранении допускается только отключить аккумуляторы. Их снимают с
машин только при низких температурах.
Особых различий в техническом обслуживании двигателя с наддувом и без
наддува нет, но все же следует отметить следующее.
Демонтаж турбонаддува
Снимать турбонаддув надо целиком, только после этого можно отсоединять
улитку турбины, так как эта операция сама по себе требует зачастую больших
физических усилий. При демонтаже надо внимательно и аккуратно обращаться с
подающей трубкой масляной системы. Эта трубка имеет очень тонкие стенки, её
легко можно перегнуть, и турбонаддув, сев на голодный масляный паёк, работает
после такого ремонта очень недолго. Порой хватает 15-20 мин, чтобы окончательно
привести в негодность только что отремонтированный или новый агрегат.
Установка турбонаддува
При установке турбонаддува сложностей обычно не возникает, хотя есть
некоторые тонкости: перед установкой через сливное отверстие в турбонаддуве
надо залить 30-50 граммов моторного масла (в зависимости от размеров) и пальцем
повращать вал. Затем масло можно слить, так как свою роль оно уже выполнило,
масляная плёнка на деталях теперь есть. Ещё раз необходимо убедиться в
исправности масляной магистрали, проверить, чтобы в турбонаддув не попали
посторонние предметы, наличие которых может привести к печальным последствиям.
Запуск двигателя
Завести двигатель, дать ему прогреться до рабочей температуры, и лишь
когда двигатель и турбонаддув прогреются, начинать постепенно увеличивать
обороты. 1500 об/мин - на 5-10 секунд задержаться, и прислушаться к работе
турбонаддува. Сбросить обороты секунд на 20-30. Увеличить обороты до 2000 и
проделать всё то же самое.
И так далее, вплоть до красной зоны, примерно на 2500-3000 об/мин должен
появиться характерный звук работающего турбонаддува: лёгкий чистый свист.
Особенно отчётливо этот звук слышен в течение нескольких секунд при резком
сбросе оборотов.
Ничего сложного в эксплуатации турбонаддува нет, требуется лишь
элементарная аккуратность: вовремя менять масло и масляный фильтр, использовать
нужные сорта масла, не перегревать турбонаддув (к перегреву приводят
неисправности в системе зажигания или впрыска, длительная езда на высоких
оборотах). Следить за состоянием воздушного фильтра, забитый воздушный фильтр
создаёт повышенное сопротивление на всасывании и производительность компрессора
резко снижается. Порванный фильтр пропускает частицы пыли, которые, соударяясь
с крыльчаткой компрессора на высокой скорости, изнашивают её, а заодно и
двигатель.
При эксплуатации дизельных двигателей с наддувом используются следующие
марки масел:
М-10ДМ
Масло моторное летнее для смазывания высокофорсированных дизельных
двигателей с наддувом и турбонаддувом. Превосходные противоизносные,
диспергирующие и антиокислительные свойства обеспечены сбалансированным пакетом
присадок.
Применение: предназначено для летней эксплуатации высокофорсированных
дизелей с турбонаддувом, работающих в тяжелых условиях. Могут использоваться в
дизелях без наддува со значительно увеличенным пробегом между заменами масла.
М-8Г2К
Масло моторное зимнее для смазывания дизельных двигателей с наддувом и
турбонаддувом .
Зарубежные аналоги: VW 505.00 (для турбодизельных двигателей); ACEA E3-96 (двигатели с наддувом, работающие в тяжелых условиях).
Технология машиностроения каток ДУ-50 (турбокомпрессор)
.1 Описание схемы технологического процесса комплексного восстановления
детали
После разборки и снятия с двигателя катка, ТКР проходит через мойку, для
удаления масла и сажи, что облегчает работу при выполнении контрольных
измерений.
Затем детали ТКР подвергаются дефектации, для определения деталей годных
к эксплуатации (без восстановления или с восстановлением). При необходимости
восстановления детали, ей назначают маршрут восстановления
Согласно назначенному маршруту, деталь (вал ТКР) поступает на участок
слесарно-механической обработки, где производят расточку шейки вала под
уплотнительные кольца на станке 16К20.
Затем вал поступает на участок мойки, где удаляются остатки слесарно -
механической обработки. Далее вал поступает на участок шлифовки, где производят
шлифовку опорных шеек вала под подшипники, после шлифовки на участок мойки.
После мойки на участок контроля. В процессе контроля производят проверку
восстановленных поверхностей на их соответствие технологическим требованиям.
После контроля деталь поступает на сборку.
.2 Описание внешней планировки рабочего места
Под рабочим местом понимается часть производственной территории
предприятия, закрепленная за одним рабочим или бригадой рабочих и оснащенная
всем необходимыми материально - технологическими средствами для выполнения
строго определенного вида работ.
Уровень организации и обслуживания рабочих мест оказывает большое влияние
на степень тяжести, утомительности и привлекательности труда.
Оснащение рабочего места включает в себя следующие основные технические
средства и устройства:
основное технологическое оборудование (станки, машины, агрегаты,
стенды и др. оборудование)
предметы технологической оснастки ( инструмент, комплект
оборудования, приспособления)
комплект организационно - технологической оснастки (стеллажи,
тара, тумбочки)
защитные устройства (ограждения)
средства информации (связь)
предметы для поддержания чистоты и порядка рабочего места
документация
.3 Назначение способа устранения дефекта на основе анализа возможных
способов по критериям применимости, долговечности, экономичности
Стоимость восстановленных на ремонтных предприятиях деталей в 2 - 3 раза
ниже стоимости их изготовления, поэтому восстановление деталей имеет большое
значение. Выбор способа зависит от конструктивно - технологических особенностей
детали, условий ее работы, степени износа рабочих поверхностей детали, величины
партии восстанавливаемых деталей, а также технологических свойств самих
способов восстановления. Оптимальный способ восстановления определяем при
помощи 3 критериев: применимости, долговечности и экономичности. По критерию
применимости на основе знаний структурных характеристик детали, условий ее
эксплуатации и эксплуатационных свойств самих способов восстановления,
применимых к данной детали.
Таблица 1 - Выявление направлений воздействия в зависимости от критериев
|
Параметры применимости
|
Способ ремонта
|
|
|
Не применимое
|
Применимое
|
|
|
Материал детали сталь 45 ГОСТ 4543-85
|
Нет
|
Все остальные
|
|
|
Вид и характер дефектов. Остаточный дисбаланс - 1 - 2мм
|
Соответствует предыдущему параметру
|
Балансировка вала ротора
|
|
|
Условия работы. Трение в условиях вибродинамических
нагрузок при высокой температуре
|
Соответствует предыдущему параметру
|
Шлифование вала ротора
|
|
Из таблицы видно, что для восстановления рабочей поверхности вала ротора
применим способ восстановления путем шлифования опорных шеек вала. Для выбора
оптимального способа восстановления детали необходимо воспользоваться критерием
долговечности и экономичности. По критерию долговечности. Этот критерий
позволяет оценить способ восстановления детали с точки зрения ее последующей
работоспособности относительно работоспособности новой детали. Долговечность
деталей восстановленных теми или иными способами, зависит от свойств эксплуатации.
Критерий численно выражается коэффициентом долговечности - Кд, который
определяется по формуле
Кд=Дв/Дн , (1)
где Дв - долговечность восстановленной детали (год);
Дн - долговечность новой детали (год),
этот коэффициент должен быть равным не менее - 0,80 чтобы обеспечить
работоспособность детали на весь межремонтный срок эксплуатации агрегата.
При помощи критерия долговечности можно определить способ восстановления,
который обеспечивает наибольший ресурс детали, но еще нельзя назвать этот способ
оптимальным, т.к неизвестна стоимость восстановления. Обработка путем
шлифования шеек вала в ремонтный размер Кд=0,90. Шлифование основной метод
чистовой обработки наружных и внутренних, цилиндрических, конических, фасонных,
плоских, резьбовых, шлицевых поверхностей деталей машин для достижения
требуемого качества. После шлифования достигаемая точность Rа=1,6;0,4 мкм. Из-за наличия на
авторемонтном предприятии оборудования для ремонта деталей методом шлифования,
выбираем способ восстановления вала турбокомпрессора катка ДУ-50 - шлифование
опорных шеек вала под подшипник в ремонтный размер.
По критерию экономичности
Метод шлифования: расход материалов, кг/ м2 (не имеется); трудоемкость
восстановления, ч/м2 (16,7); энергоемкость восстановления кВт*ч/м2 (121);
производительность процесса, м2/ч(0,06). Сравним метод шлифования с методом
хромирования. Метод хромирования: расход материалов, кг/м2(21); трудоемкость
восстановления, ч/м2(54,6); энергоемкость кВт*ч/м2 (324); производительность
процесса, м2/ч(0,018). Из сравниваемых параметров видно, что экономически
выгодно восстановить вал ротора турбокомпрессора методом шлифования.
5 Разработка маршрутного технологического процесса восстановления детали
.1 Технические условия на восстановление поверхности детали
Исходные данные:
деталь - вал ротора ТКР - 11Н Д-243;
дефекты - износ опорных шеек вала под подшипники составил: 1,5 мм
(фактический диаметр вала равен 18 мм)
.2 Технические требования, предъявляемые к поверхностям детали,
восстанавливаемой на данной операции
Технические требования сводим в таблицу.
Таблица 2 - Технические требования к поверхности
|
Параметры
|
Значения параметров
|
|
Класс детали
|
Круглые стержни
|
|
Материал
|
Ст.45 ГОСТ 4543 - 85
|
|
Ремонтируемая поверхность
|
Опорные шейки вала под подшипник ø
17,5 мм
|
|
Шероховатость
|
Rа6,3
|
Основные требования:
диаметр вала ротора по рабочему чертежу 18 мм.
допустимый размер без ремонта - 18,24 мм.
браковать при появлении трещин, обломов.
.3 Обоснование выбора баз
Точность механической обработки при восстановлении в первую очередь
зависит от правильного выбора технологических баз и умелого их использования.
Выбор баз требует четкого представления о функциональном назначении поверхности
детали и размерной взаимосвязи между ними, об износе и повреждениях, которые
претерпевают эти повреждения и возможностях их использования в качестве
технологических баз. Для вала ротора турбокомпрессора технологической базой
является ось, наружная цилиндрическая поверхность вала и его торец. При
использовании этой базы за одну установку можно обработать всю поверхность вала
ротора.
.4 Назначение технологического оборудования, инструмента, оснастки
При выборе оборудования для каждой технологической операции необходимо
учитывать размер партии ремонтных деталей, габаритные размеры детали,
расположение обрабатываемых поверхностей, требования к классу точности,
шероховатости, экономичности обработки. Оборудование, приспособления и
необходимый инструмент для процесса восстановления вала ротора под подшипник
сводим в таблицу
Таблица 3 - Оборудование и инструмент
|
Наименование операции
|
Оборудование и инструмент
|
Базы и способы закрепления
|
Технические требования
|
|
005 Контрольная контролировать параметры
|
Микрометр МР - 100 ГОСТ 9244 - 75 Прибор ПБМ- 200
|
В центрах (ось)
|
Допустимый размер без ремонта - 18,24мм
|
|
010 Шлифовальная
|
Станок- К300U
|
В центрах (ось)
|
Шлифовать вал ротора - 18,5 h7мм
|
|
015 Моечная
|
Ванна, кисть, раствор СМС
|
|
Работать в перчатках и очках
|
|
020 Контрольная
|
Прибор ПБМ - 200
|
В центрах (ось)
|
Допустимое биение - 0,01мм (не более)
|
5.5 Назначение операционных припусков, определение допусков и
межоперационных размеров
Определение припуска на шлифование вала ротора сводим в таблицу.
Таблица 4 - Припуски на обработку
|
Обрабатываемый размер
|
Припуск Z,мм
|
Шероховатость, мкм
|
Отклонения, мм
|
Размер после обработки
|
|
Существующий размер шейки вала
|
-
|
Rz100
|
Н12
|
18 Н12
|
|
Получистовое шлифование
|
1,45
|
Rz 6,3
|
Н7
|
17,5 Н7
|
Полная технология ремонта вала ротора ТКР приведена в графической части
дипломного проекта.
Безопасность жизнедеятельности
Большое значение имеет учет вопросов безопасности еще
на стадии проектирования объектов. Это позволяет заблаговременно выявить
потенциальные опасности и вредности, создаваемые данным объектом и разработать
мероприятия по уменьшению или полному исключению их воздействий на окружающую
среду и человека.
Правовую основу обеспечения безопасности
жизнедеятельности составляют соответствующие законы и постановления, принятые
представительными органами Российской Федерации (до 1992 г. РСФСР) и входящих в
нее республик, а также подзаконные акты. Правовыми актами в сфере обеспечения
безопасных условий труда являются Конституция РФ (ст.2, 7, 24, 31, 41, 42, 45,
60), Трудовой Кодекс РФ №197-ФЗ от 30.12.01 раздел X ( в редакции федерального закона № 90-ФЗ от 30.06. 2006г.),
Конвекция 155 МОТ 1981 года «О безопасности и гигиене труда в производственной
среде», ратифицированная Федеральным законом РФ №58-ФЗ от 11.04.1998, « О
промышленной безопасности опасных производственных объектов» №116-ФЗ от
21.01.97, «О защите населения и территорий от чрезвычайных ситуаций природного
и техногенного характера» №68-ФЗ от 21.12.94, Уголовный кодекс РФ №63-ФЗ от
13.06. 96. (ст 1, 2, 26, 140, 143, 215-219, 236,237,293), Кодекс РФ об
административных нарушениях №195-ФЗ от 30.12.01. и ряд других законных и
подзаконных актов. Основой нормативно-технической базы безопасности
жизнедеятельности является система стандартов безопасности труда (ССБТ),
требования которой учтены в данном разделе, а также требования соответствующих
строительных норм и правил (СНиП), санитарных норм и правил (СанПиН),
санитарных норм, гигиенических нормативов (ГН) и другой нормативно-технической
документации. Нормативно техническая документация, определяющая требования к
стандартам и техническим условиям и разрабатываемая на основе высших достижений
отечественной и зарубежной науки и техники, обеспечивает требования БЖД (шум,
эмиссия вредных веществ, вибрация и т.п.), требования технической эстетики.
5.1 Анализ устойчивости работы технических систем
при модернизации двигателя
Повседневная деятельность человека потенциально
опасна, так как является процессом использования техники, а последнее связано с
выработкой, хранением и преобразованием химической, электрической и других
видов энергии в условиях воздействия внешней среды.
Опасность появляется в результате неконтролируемого
выхода энергии, накопленной в оборудовании и материалах, непосредственно в
человеке и окружающей среде и сопровождается возникновением происшествий с
гибелью людей или ухудшением их здоровья, загрязнением материальных и природных
ресурсов.
Наличие потенциальной опасности в системе не всегда
сопровождается ее негативным воздействием на человека. Для реализации такого
воздействия необходимо выполнить три условия: опасность (вредность) реально
существует; человек находится в зоне действия опасности; человек не имеет
достаточных средств защиты.
Под устойчивостью любой технологической системы
следует понимать возможность сохранения ею работоспособности при нештатном
внешнем воздействии, а также приспособленность системы к восстановлению в
случае повреждения.
Повышение устойчивости технической системы и объектов
достигается за счет проведения организационно-технических мероприятий, которым
предшествует всегда исследование устойчивости работы конкретного объекта
(анализ отказов технических систем и возможных ошибочных действий
обслуживающего персонала), а именно, оценка опасности выхода из строя или
разрушения отдельных элементов или всего объекта в целом.
Используя действующие ГОСТ ССБТ, проведем конкретный анализ
опасных и вредных факторов, которые могут иметь место при установке
турбокомпрессора на двигатель катка ДУ-50.
Опасные и вредные производственные факторы (ГОСТ
12.0.003-74) подразделяются на четыре группы: физические, химические,
биологические и психофизические.
- повышенная температура воздуха рабочей зоны;
- повышенные уровни шума и вибрации (вследствие
высоких частот вращения вала турбокомпрессора, а также истечения и засасывания
воздуха на установке с большими скоростями);
- запыленность и загазованность рабочей зоны (связано
с наличием выхода скоростного потока воздуха из установки на режимах пуска, а
также наличия камеры сгорании в которой образуются вредные для здоровья и окружающей
среды отработавшие газы);
К химически опасным факторам при работе двигателя
относятся:
- наличие паров топлива (оказывает общетоксическое и
раздражающее воздействие на организм человека);
·
наличие масла
(есть вероятность возникновения канцерогенного воздействия на организм);
·
наличие
отработавших газов (также оказывают общетоксическое и канцерогенное
воздействие).
К психофизическим опасным и вредным факторам относятся
физические перегрузки (статические и динамические) и нервнопсихические
перегрузки (умственное напряжение, перенапряжение анализаторов слуха, зрения и
др.).
С учетом глубокой степени автоматизации установки, а
также автоматизации проведения испытаний на ней, психофизические опасные и
вредные факторы сводятся к минимуму, поэтому далее мы их не учитываем.
.2 Анализ условий труда в лаборатории по испытанию
турбокомпрессоров
В помещении, в котором проводятся испытания
турбокомпрессоров, должны быть обеспечены такие факторы производственной среды,
которые обеспечивают безвредную обстановку для работников (Таблица 1).
Таблица 1 - Карта условий труда на рабочем месте
испытания турбокомпрессора.
|
Наименование производственного фактора, ед. изм.
|
Норматив ПДК, ПДУ
|
Фактический уровень производственного фактора
|
Класс условий труда
|
Продолжитель- ность %
|
|
Температура, Сº
|
ГОСТ 12.1.005 - 88 21-23 тёплый пер. года 18-20 холодный
пер. года
|
22-25
|
1
|
90%
|
|
Влажность воздуха, %
|
ГОСТ 12.1.005 - 88 до 75
|
75
|
1
|
90%
|
|
Скорость движения воздуха, м/с
|
ГОСТ 12.1.005 - 88 0,2
|
0,3
|
1
|
90%
|
|
Освещенность, лк - КЕО, %
|
СанПин 2.2.1/2.1.1.1278-03 200 при общем освещении КЕО, eн 1,2% при боковом освещении
|
150 при общем освещении КЕО, eн 1,0%
|
3.1
|
|
Вредные химические вещества,
1 класс опасности свинец
,01
Пыль
ГОСТ
12.1.005 - 88
.0
(от 0,25 до 10мкм)
|
4,04,593.175%
|
|
|
|
|
|
Вибрация, дБ
|
ГОСТ 12.1.012 - 91 (общая и локальная 6дБ)
|
4дБ
|
2
|
87%
|
|
Шум, дБА
|
СН 2.2.4/2.1.8.562-96 (до 15дБА)
|
12 дБА
|
2
|
90%
|
|
Излучения ионизирующие
|
СанПиН 2.2.4.1191-03 (ионизирующие в пределах 1,0)
|
1,0
|
1
|
|
|
Тяжесть трудового процесса
|
Р.2.2.2006-05 до 120ккал/час
|
110ккал/час
|
1
|
|
|
Напряженность трудового процесса
|
Р.2.2.2006-05 121-150ккал/час
|
130ккал/час Включение, выключение установки, замена ГСМ
|
2
|
85%
|
Общая оценка условий труда:
по степени вредности и опасности - 3.1
по степени тяжести - 1
по степени напряженности труда - 2
Анализируя данную таблицу мы пришли к выводу, испытатель энергетической
установки работает во вредных условиях. Предложены мероприятия, позволяющие
повысить безопасность труда.
.3 Электробезопасность, пожаробезопасность в помещении для испытания
турбокомпрессоров
При оценке опасности поражения электрическим током следует руководствоваться
документами: ГОСТ 12.0.38-82 «ССБТ. Электробезопасность. Предельно допустимые
уровни напряжений прикосновения и токов»; ГОСТ 12.1.030-81 «ССБТ.
Электробезопасность. Защитное заземление, зануление» и др.
Всё электрическое оборудование должно быть выполнено в соответствии с
«Правилами эксплуатации электроустановок потребителей». Предупреждение
электротравм является важной функцией охраны труда, которая на производстве
реализуется в виде системы мероприятий, обеспечивающих защиту людей от
поражения электрическим током.
В систему этих мероприятий входит:
контроль за исправностью электропроводки рабочего оборудования;
заземление рабочего оборудования;
изоляция токоведущих частей оборудования;
ограждение опасных участков в соответствии с ПУЭ.
Взрывоопасные зоны подразделяются на шесть классов. Применительно к
нашему случаю подходит класс B-Ia - зоны, в которых при нормальной
эксплуатации взрывоопасные смеси горючих газов или паров ЛВЖ не образуются с
воздухом, а возможны только при авариях или неисправностях. Противопожарная
характеристика проектируемого помещения, где производятся испытания
турбокомпрессоров представлена в таблице 2
Таблица 2 - Противопожарная характеристика проектируемого помещения
|
Наименование показателей
|
Величина показателя
|
|
Категория по степени пожарной опасности
|
В
|
|
Степень огнестойкости проектируемого помещения
|
II
|
|
Наименьшая суммарная ширина проходов для эвакуации людей, м
|
0,9
|
|
Расстояние от наиболее удаленного рабочего до
эвакуационного выхода, м
|
4,3
|
|
Число пожарных постов
|
2
|
|
Количество огнетушителей
|
2
|
Пожаром называется неконтролируемое горение вне специального очага,
наносящее материальный ущерб (ГОСТ 12.1.004-91).
Пожарная безопасность (ГОСТ 12717033-91) - состояние объекта, при котором
с установленной вероятностью исключается возможность возникновения и развития
пожара и воздействия на людей опасных факторов пожара, а также обеспечивается
защита материальных ценностей.
В соответствии с ГОСТом 12.1.004-91 вероятность возникновения пожара
должна составлять 10-6 на каждый пожароопасный объект. Для выполнения этого
требования с каждым работником проводится инструктаж по ПБ, где знакомятся с
правилами пользования первичными средствами пожаротушения (пожарные ведра,
топоры, багры, лопаты, ящики с песком, огнетушители), действиями при возникновении
пожара и оказания первой медицинской помощи.
Применительно к помещению где происходят испытания турбокомпрессоров,
предусмотрены средства пожаротушения в обеих комнатах.
Это необходимо для того, чтобы человек успел предпринять меры для пожаротушения
в любой комнате, которой он находится, до того, как огонь распространится по
всей территории лаборатории.
Выбор типа и расчет необходимого количества огнетушителей в защищаемом
помещении или на объекте следует производить в зависимости от их огнетушащей
способности, предельной площади, а также класса пожара горючих веществ и
материалов. (ГОСТ 27331-87 Пожарная техника. Классификация пожаров). В связи с
присутствием горючих сред, назначаем класс пожара горючих веществ Б1. Для
тушения следует применить закачной порошковый огнетушитель ОП8 (з). Способность
конструкции задерживать распространение огня (пожара) определяется их
огнестойкостью - это свойство их сохранять несущую и ограждающую способность в
условиях пожара.
.4 Разработка мероприятий, обеспечивающих безопасность эксплуатации
энергетической установки
Проанализировав все возможные опасные и вредные факторы, имеющие место
при работе турбокомпрессора, можно сделать вывод о том, что наиболее
эффективным мероприятием по повышению безопасности будет удаление рабочего
места от испытательной установки. Причем подразумевается полная изоляция
рабочего места от двигателя во время проведения испытаний. В этом случае
предлагается использовать стенд в специальном боксе, состоящем из двух комнат
разделенных между собой стеной. В этой стене имеется дверь и смотровое окно.
В ходе испытаний рабочий находится в комнате с дистанционным управлением
и имеет возможность визуально наблюдать за ходом испытаний через смотровое
окно. Во время испытаний дверь между комнатами должна быть заперта. В этом
случае человек защищен от физических и химических опасных факторов.
Однако не применять более никаких средств защиты от опасных и вредных
факторов нельзя. Это связано с тем, что перед испытаниями и после них, есть
необходимость присутствия человека в зоне испытательной установки. В этом
случае человек находится в среде с повышенными температурами, запыленностью и
загазованностью, а также будет подвержен всем опасным и вредным химическим
факторам, перечисленным выше. В связи с этим, рассмотрим меры по обеспечению
безопасности человека при работе с энергетической установкой.
.4.1 Вентиляция помещения для испытания турбокомпрессоров
В помещении для испытания турбокомпрессоров предусмотренна вытяжная
механическая вентиляция из комнаты, где находится установка. Дело в том, что
при работе камеры сгорания образуется тепло, передающиеся в окружающую
атмосферу и для нормальных условий работы как установки, так и рабочего,
недостаточно просто естественной вентиляции. К тому же во время проведения
испытаний турбокомпрессора, дверь между комнатами с окном и стендом находится в
закрытом состоянии.
.4.2 Борьба с шумом при работе двигателя
Шум вредно действует на организм человека и снижает производительность
труда. Утомление испытателей из-за сильного шума, возникающего при обтекании
воздушным потоком лопаток рабочего колеса, увеличивает число ошибок при работе.
Из существующих методов снижения шума при работе двигателя целесообразно
применить рациональную планировку.
Интенсивность звука J
складывается из прямого звука Iпр,
идущего непосредственно от источника, и интенсивности отраженного звука Iотр .
, (1)
где
Р - звуковая мощность звука;
А
= aсрS пов - эквивалентная площадь поглощения;
aср - средний
коэффициент звукопоглощения внутренних поверхностей помещения площадью S пов
.
Нет
возможности уменьшить интенсивность прямого звука, поэтому остается снижать
энергию отраженных волн. Этого можно достичь увеличив эквивалентную площадь
поглощения А помещения, путем размещения на его внутренних поверхностях
звукопоглощающих облицовок. Это мероприятие называется акустической обработкой
помещения.
Наиболее
часто в качестве звукопоглощающей облицовки применяют конструкции в виде слоя
однородного пористого материала определенной толщины, укрепленного
непосредственно на поверхности ограждения, либо с отнесением от него на
некоторое расстояние. Для обивки помещения, в котором будут производиться
испытания, мы применим пенополиуретановый поропласт (поролон) толщиной 10 см с
коэффициентами поглощения 0,7.
Определим
расстояние, на котором величины интенсивности прямого и отраженного звуков
равны:
rгр =
, (2)
принимаем
aн= 0,1 - коэффициент звукопоглощения внутренних
поверхностей помещений.
S=LП,
где
L - длина помещения где установлена установка L=
2м;
П
- периметр поперечного сечения помещения П = 11м, тогда
rгр =
(м)
Величину
снижения шума в помещении (в зоне отраженного звука r>rгр) путем применения звукопоглощающей облицовки
определяют в децибелах по формуле:
DLобл =
, (3)
где
А1 - эквивалентная площадь поглощения помещения до установки облицовки,
А1
=
,
где
;
А2
- эквивалентная площадь поглощения после установки облицовки,
(дБ)
В
зоне преобладания прямого звука величина снижения шума за счет акустической
обработки оказывается меньше приблизительно в 2-3 раза, чем в зоне преобладания
отраженного звука. Величина снижения шума в этом случае составит приблизительно
4 дБ.
Установка
звукопоглощающих облицовок снижает шум на относительно небольшое количество
децибел. Несмотря на такое небольшое снижение, применение облицовок
целесообразно по следующим причинам:
во-первых,
спектр шума в помещении меняется за счет большой эффективности облицовок на
высоких частотах, он делается более глухим и менее раздражающим;
во-вторых,
становится более заметным шум работы стенда, появляется возможность слухового
контроля работы, становится легче разговаривать, улучшается разборчивость речи.
При
испытании турбокомпрессоров можно также пользоваться средствами индивидуальной
защиты от шума: вкладышами и наушниками.
.4.3
Защита окружающей среды
Правовую
основу охраны окружающей среды в стране и обеспечение необходимых условий труда
составляет закон РФ « О санитарно-эпидемиологическом благополучии населения»
(1999), в « Основах законодательства РФ об охране здоровья граждан» (1992) , в
ФЗ « О защите прав потребителей» (2002), экологическую безопасность
обеспечивает закон « Об охране природной среды» , а также ФЗ « Об охране
атмосферного воздуха» (1999), « Об отходах производства и потребления» (1998) и
др.
В
связи с тем, что на установке применяется метод сжигания топлива для подвода
тепла к рабочему телу, неизбежно образуются вредные для здоровья и окружающей
среды отработавшие газы. Для обезвреживания выбросов могут применяются
различные методы, которые можно разделить на сорбционные и окислительные. В
первом случае токсичные вещества извлекаются твердыми и жидкими поглотителями,
а во втором происходит окисление вредных веществ до безвредных соединений (CO и
H2O).
Сорбционный
метод подразделяется на:
а)
адсорбционные способы - поглотитель (адсорбент) твердый (активированный уголь,
пемза, селигакель, окись алюминия). Недостаток: плохо работает при повышенной
температуре, мал срок службы адсорбента, высокие затраты на регенерацию
поглотителя;
б)
абсорбционные (жидкостные) способы: обезвреживание производится на решетчатых,
тарельчатых скрубберах, в пенных аппаратах, ловушках и пр. Абсорбенты: вода,
едкий натр, известковое молоко и пр.
Окислительный
метод - сжигание отходящих газов (открытое пламя), сжигание с применением
катализаторов (металлы и их соли на пористых носителях (селикагель, окись
алюминия, платина, палладий и др.). Данный метод высоко эффективно (до 97 %) и
экономичен (экономия топлива до 60%). Поэтому применим его к нашему случаю. А
именно в систему выпуска отработавших газов включим трехкомпонентный
каталитический нейтрализатор.
Современный
каталитический нейтрализатор представляет собой корпус, внутри которого
расположен огнеупорный керамический блок носителя. Керамика пронизана
продольными порами - сотами, на поверхность которых нанесен активный
каталитический слой из платины, палладия и родия. Благодаря специальной
подложке с микрорельефом общая площадь поверхности этого слоя может доходить до
20 тыс. кв. м. Каталитический нейтрализатор располагается в выхлопной системе.
Чтобы начался процесс нейтрализации, необходима высокая температура - около 250
градусов. При этом "рабочие" температуры - от 400 до 800 градусов -
обеспечивают оптимальные условия для максимальной эффективности.
5.5 Вывод
В данном разделе дипломного проекта были рассмотрены вопросы безопасности
и экологичности модернизации энергетической установки дорожного катка ДУ - 50.
В ходе работы над этим разделом был спроектирован план помещения, в котором
предусмотрены меры защиты рабочего от опасных и вредных факторов. Также было
предусмотрено наличие трехкомпонентного каталитического нейтрализатора в
системе отвода отработавших газов для повышения экологической безопасности
спроектированного процесса испытаний турбокомпрессоров. Был произведен анализ
электро - и пожаробезопасности лаборатории, в ходе которого были выбраны вид и
количество первичных средств пожаротушения. Произведен анализ условий труда
рабочего в помещении (лаборатории по испытанию турбокомпрессоров). Общая оценка
условий труда показала, что рабочий - испытатель работает во вредных условиях.
С целью повышения безопасности труда предложено применить звукопоглощающую
облицовку.
Расчет экономической эффективности разработки
.1 Технико-экономическое обоснование проекта
дорожный каток восстановление деталь
В современной экономике уделяют большое внимание
повышению эффективности производства. Добиться же положительных результатов без
применения новейших достижений науки и техники невозможно. Поэтому проведение
разноплановых научных исследований, создание новой техники и повышение их
эффективности является важнейшей составной частью повышения эффективности всего
производства.
Потребности в энергетических установках мощностью 60 кВт удовлетворяются
в основном двигателями с рабочим объемом Vраб=4 литра значительное место среди которых занимают
четырехтактные дизели с числом цилиндров до 4-х. Начатое в 80-х годах серийное
производство высокоэффективных турбокомпрессоров (ТКР), имеющих рабочие колеса
диаметром менее 50 мм, создало реальные предпосылки для применения турбонаддува
на дизелях с указанными рабочими объемами. Работы по наддуву четырехцилиндровых
моделей ведутся уже достаточно широко и во многих случаях успешно. Причина
этого заключается не только в экономическом аспекте - соотношении стоимостей двигателя
и агрегата наддува, но прежде всего в недостаточной изученности особенностей
термодинамических и газодинамических процессов, протекающих в таких
двигателях.Обоснование принципиальной возможности создания комбинированных
дизелей с высокими показателями при числе цилиндров i=4 с современными системами наддува определяет практическую
ценность результатов и рекомендаций выполненной работы.
Организация проведения модернизации энергетической установки дорожного
катка ДУ-50 (установка турбонаддува) требует капиталовложений.
Массив исходных данных для расчета себестоимости машино-часа работы
катка:
ОСНОВНЫЕ ПАРАМЕТРЫ
Тип машины………………………….……………………дорожный каток
Марка………………………………………………………..……....ДУ - 50
Главный параметр………………………….…………глубина уплотнения
Масса машины, т………………………………………..……………….....6
Вид энергоносителя…………………….двигатель внутреннего
сгорания
Система привода…………………………..………………гидравлический
Колесная формула………………………………..……………………...2х3
ПАРАМЕТРЫ ДВИГАТЕЛЯ
Марка……………………………………………………………........Д - 243
Мощность, кВт…………………………………………………………..60
Стоимость топлива,р./кг…………………………………………….22,50
Коэффициент изменения удельного расхода
топлива………………..1,14
Коэффициент использования двигателя по
времени…………………0,69
Коэффициент использования двигателя по мощности………………/0,83
Удельный расход топлива, г/кВт*ч…………………………………….220
Коэффициент перехода к затратам на
смазку………………………...0,22
ПАРАМЕТРЫ СИСТЕМЫ ПРИВОДА
Вместимость гидросистемы, л………………………………………….100
Тип рабочей жидкости (РЖ)……………………..…...минеральное
масло
Объемная масса РЖ, кг/л……………………………………………..0,885
Стоимость РЖ, р./кг…………………………………………………….125
Периодичность замены РЖ, ч………………………………………...3000
.2 Расчет количества машино-часов работы техники в году
Количество машино-часов работы техники в году определяется по формуле:
(1)
где Tф - годовой фонд рабочего времени,
дни. Определяется вычитанием из календарного годового фонда времени выходных и
праздничных дней, а также перерывов в работе по метеорологическим условиям [5];
Tсо -
продолжительность сезонного обслуживания, дни;
tсм -
продолжительность рабочей смены, маш.-ч [5];
kсм -
коэффициент сменности [5];
Др - простои во всех видах ремонтов и технических обслуживаний, дни маш -
ч.
dn -
продолжительность одной перебазировки, дни;
Tоб -
время работы на объекте, маш. - ч.
Простои во всех видах ремонта и техобслуживания:
(2)
где dpi- продолжительность пребывания
техники в i- м ремонте или техническом
обслуживании, дни;
dnpi -
продолжительность ожидания ремонта, доставки в ремонт и обратно, дни. Можно
принимать в размере 10 дней для текущего ремонта и 20 дней для капитального
ремонта;
di -
количество i - х ремонтов и технических
обслуживаний (ТО) за межремонтный цикл;
Tр -
средний ресурс до капитального ремонта (межремонтный цикл), мото-час;
tотк -
среднее время на устранение одного отказа, маш-ч;
Tотк -
наработка на отказ, мото-час.
Величины Tотк и tотк , определяют из расчета
надежности или другой нормативно - технической документации. В дипломном проекте
соотношение tотк/Tотк можно принимать в диапазоне 0,04÷0,06.
Продолжительность одной перебазировки машины:
(3)
где Zt - среднее расстояние перебазировки,
км;
Vср -
средняя скорость переезда, км/ч.
Значения Ztпринимаются для
машин, используемых на строительстве дорог, каналов, трубопроводов в размере
100 км, для всех остальных машин- 25 км. Средняя скорость переезда своим ходом
на буксире, трейлере, в кузове бортового автомобиля принимается из нормативно -
технической документации согласно [5];
tпр -
средняя продолжительность погрузки и разгрузки перевозимой техники на
автотранспорте, маш-ч [5];
dдм -
время демонтажно - монтажных работ, дни.
Среднее время пребывания машин на одном строительном объекте (маш. -ч):
(4)
где П - количество перебазировок машины в год. Зависит от характера
объектов строительства, местных условий и других факторов, его ориентировочные
значения принимаем [5].
.3 Определение годовой эксплуатационной производительности
Годовая эксплуатационная производительность машин, производящих
однородную продукцию:
(5)
где вЭ.Ч. - часовая эксплуатационная производительность;
TГ -
количество часов работы техники в году.
Часовая эксплуатационная производительность:
(6)
где вT.Ч. - часовая техническая
производительность принимается по актам приемочных испытаний, ед.прод/маш. - ч;
KT -
коэффициент перехода от технической производительности к эксплуатационной [5].
.4 Расчет годовых текущих издержек потребителя
Годовые текущие издержки потребителя с учетом отчислений на реновацию
определяют по формуле:
(7)
где См.ч. - себестоимость машино-часа эксплуатации машин. р./маш.-ч;
TГ -
количество работы техники в году, маш.-ч.
Себестоимость машино-часа эксплуатации машин:
(8)
Рассмотрим определение каждого слагаемого в формуле (8).
Амортизационные отчисления на реновацию:
(9)
где Нр - норма амортизационных отчислений на реновацию [5];
Kперв
- первоначальная (балансовая) стоимость машины;
(10)
где Ц - цена техники, которая принимается по прейскурантам оптовых цен
или в соответствии с действующими принципами ценообразования;
Kд -
коэффициент перехода от цены к балансовой стоимости. Для строительных и
дорожных машин, не требующих монтажа, Kд=1,09 , для машин требующих монтажа, Kд=1,12.
Затраты на выполнение плановых текущих ремонтов и технических
обслуживаний представляют собой сумму двух слагаемых:
(11)
где S2’ - заработная плата рабочих,
занятых техническим обслуживанием и ремонтом;
S2’’ -
стоимость запасных частей.
(12)
где Ср - средняя тарифная ставка рабочего по ремонту машин, р./ч [5];
Kр -
средний районный коэффициент к тарифной сетке (для средней зоны - 1,07, южной -
1,15, в целом по стране - 1,13);
γр - коэффициент, учитывающий премии
ремонтным рабочим (1,3);
ai-количество
текущих i-х ремонтов или ТО за межремонтный
цикл;
τi - трудоемкость i-ого ТО или ТР;
Tр -
средний ресурс до капитального ремонта, который принимается по технической
документации или из расчета надежности, или согласно рекомендациям.
Затраты на выполнение капитальных ремонтов:
(13)
где S3’ - заработная плата рабочих,
выполняющих капитальный ремонт машины.
(14)
где rкр - трудоемкость капитального
ремонта чел. -ч.
(15)
где Сзчр - расход запасных частей на один капитальный ремонт.
(16)
где Kпер - коэффициент перехода от затрат
на зарплату к затратам на запасные части для капитального ремонта. Для
строительных и дорожных машин коэффициент равен 1,4÷1,6.
Заработная плата рабочих, управляющих техникой:
(17)
где kдоп - коэффициент, учитывающий
доплаты за работу во вторую и третью смены
;
Смi - часовая тарифная ставка рабочего i-ого разряда, р./ч.
Затраты на медицинское и социальное страхование:
(18)
где Kc - коэффициент, учитывающий
обязательное медицинское страхование. Принимаем по действующим нормативам 0,01.
Затраты на имущественное страхование
(19)
где Hи.с. - норма на имущественное
страхование. По действующим нормативам 5%.
Затраты энергоносителей для двигателей внутреннего сгорания:
(20)
где Цт - цена топлива р/кг;
Wт -
часовой расход топлива, кг/маш.-ч
Затраты на смазочные материалы для техники с приводом от двигателя
внутреннего сгорания:
(21)
где Kст - коэффициент перехода от затрат
на топливо к затратам на смазочные материалы [5]
Затраты на рабочую жидкость:
(22)
где Vг - вместимость гидросистемы, л;
Qм -
объемная масса рабочей жидкости, кг/дм3 [5];
Цмг - оптовая цена рабочей жидкости, р/кг;
tм -
периодичность замены рабочей жидкости, маш-ч.
Определяется согласно инструкции по эксплуатации машин:
Kд -
коэффициент доливок (1,5).
Затраты на замену быстроизнашивающихся частей:
(23)
где Цu - цена быстроизнашивающихся частей,
р/шт;
Tсл -
нормативный срок службы быстроизнашивающихся частей, маш-ч;
nu -
количество одновременно заменяемых быстроизнашивающихся частей.
Затраты при перебазировке своим ходом:
(24)
где dn - продолжительность одной
перебазировки, дн;
Si -
сумма затрат, рассчитанных по десяти статьям формулы;
Tоб -
время работы на объекте, маш-ч.
- затраты
на заработную плату основных производственных рабочих - определяется на основе
общей трудоемкости изготовления и средних часовых тарифных ставок:
, (25)
где
- основная заработная плата;
-
дополнительная заработная плата;
-
отчисления на социальное страхование.
Основная
заработная плата:
;
Дополнительная
заработная плата:
;
Отчисления
в фонд страхования:
;
.
- цеховые
расходы. Включают расходы по содержанию цехового персонала и вспомогательных
рабочих, занятых на общецеховых работах, расходы на амортизацию, ремонт и т.д.
В
укрупненных расчетах можно принять
к сумме
основной заработной платы производственных рабочих и затрат на содержание и
эксплуатацию оборудования:
, (26)
где
- трудоемкость операции на механообрабатывающих и
сборочных операциях технологического процесса;
-
нормативная себестоимость одного машинного часа эксплуатации оборудования,
руб.;
-
коэффициент выполнения норм;
- средний
коэффициент обслуживания оборудования;
;
.
-
общезаводские расходы, состоят из расходов по содержанию заводоуправления,
общезаводских хозяйств, служб и т.д.
Общезаводские
затраты себестоимости изготовления оборудования определяется в процентном
соотношении к сумме основной заработной платы производственных рабочих и затрат
на содержание и эксплуатацию оборудования
.
.
Полная
себестоимость оборудования
Капитальные
затраты производства:
, (27)
где
- капитальные вложения на оборудование:
, (28)
где
- цена технологического оборудования, которое
изготавливается непосредственно на предприятии, принимаются равными полной
себестоимости оборудования и плановой прибыли (10% полной себестоимости), а
также НДС (18%)
;
.
Таблица 1 - Затраты на заработную плату при обслуживании дорожного катка
|
Наименование
|
Кол. Чел.
|
Тарифная ставка руб./мес.
|
Премия 50%/мес.
|
З/п. за 1 мес.* руб.
|
ЕСН**, руб. 20%
|
|
машинист
|
3195
|
1597,5
|
4792,5
|
1246,05
|
*Заработная плата за месяц равна сумме тарифной ставки
и премии;
**
ЕСН - единый социальный налог,
.
Среднемесячная
заработная плата одного рабочего:
.
В
среднем в месяце n=23 рабочих дня продолжительностью t=8
часов каждый, тогда часовая заработная плата рабочего
составит:
;
Тогда
часовые затраты на заработную плату с ЕСН одного рабочего составит:
.
Прочие
прямые затраты включают в себя отчисления на амортизацию.
Затраты
на ремонт составляют 20% от затрат на амортизацию:
.
Для
увеличения мощности двигателя предлагается установка турбокомпрессора марки
ТКР-11Н, как самого распространенного в среде дорожно-строительной техники.
Таблица
2 - Стоимость деталей турбокомпрессора ТКР - 11Н
|
№ п/п
|
Наименование детали
|
Стоимость, руб
|
|
|
1
|
Корпус компрессора 851.30102.00
|
345
|
|
|
2
|
Средний корпус 851.30009.00
|
340
|
|
|
3
|
Корпус турбины 851.30008.10
|
540
|
|
|
4
|
Ротор 851.30005.00 в сборе балансированный
|
1845
|
|
|
5
|
Вал ротора 851.30005.00
|
1610
|
|
|
6
|
Колесо компрессора 851.30105.00
|
180
|
|
|
7
|
Гайка ротора специальная
|
30
|
|
8
|
Маслоотражатель 851.30117.10
|
50
|
|
9
|
Диск уплотнения 851.30022.00
|
120
|
|
10
|
Подшипник 851.30105.10 (все ремонтные размеры)
|
180
|
|
11
|
Фиксатор 851.30106.00
|
85
|
|
12
|
Кольцо уплотнения 111.30123.00
|
40
|
|
13
|
Прокладка металлоасбестовая
|
40
|
|
14
|
Диск диффузора 851.30115.10
|
120
|
|
15
|
Венец сопловой 851.30109.00
|
100
|
|
16
|
Диск конфузора 862.30108.10
|
100
|
|
17
|
Переходник корпуса компрессора С 11Н на 11Н3
|
50
|
|
18
|
Заглушки (комплект)
|
11
|
|
19
|
Установочные прокладки
|
150
|
|
20
|
Шпилька (3 шт)
|
60
|
|
|
|
|
|
|
|
Таблица 3 - Смета капитальных вложений на модернизацию энергетической
установки катка
|
№ п/п
|
Статьи затрат
|
Сумма затрат, тыс.руб
|
|
1
|
Затраты на оборудование покупное изготовленное в РММ
|
6,0 8,5
|
|
2
|
Затраты на КИП
|
10,0
|
|
3
|
Затраты на монтаж оборудования
|
10,0
|
|
4
|
Затраты на демонтаж оборудования
|
15,0
|
|
5
|
Выручка от реализации высвобождаемого оборудования
|
3,0
|
|
6
|
Итого
|
52,5
|
|
7
|
Непредвиденные расходы
|
3,5
|
|
8
|
Всего капитальных затрат на модернизацию
|
56,0
|
.5 Расчет цены единицы продукции
Цену единицы продукции можно определить различными методами в зависимости
от наличия и полноты информации.
Если известны затраты на эксплуатацию машины, то цена единицы продукции
(29)
где См.ч. - себестоимость машино-часа эксплуатации строительных и
дорожных машин, р/маш-ч;
ВЭ.Ч. - часовая эксплуатационная производительность, ед.прод./маш-ч;
Hпл -
норма плановых и других накоплений к полной себестоимости.
В действующих до 2008 г. сметных расценках плановые накопления
принимались Hпл=0,08. С переходом к рынку, а также
с учетом не лимитированных и непредвиденных затрат эта величина может
измениться в большую сторону. Ее ориентировочные значения 0,15÷0,18.
При свободных ценах,
уровень которых определяется соотношением спроса и предложения, указанные
значения могут рассматриваться только как базовые, как ориентир для
предпринимателей и заказчиков. Действительный уровень накоплений при договорных
ценах может быть значительно выше.
.6 Расчет показателей экономической эффективности проекта
Расчет производится по следующим показателям. Чистый дисконтированный
доход (с учетом фактора времени (ЧДД)), который определяется по НТ
(30)
где
,
тогда
(31)
где dt - коэффициент дисконтирования [6];
Rt -
результаты, достигнутые на t - м
шаге расчета, тыс.руб;
t’ -
затраты, осуществляемые на том же шаге (без капитальных вложений первого шага)
тыс.руб;
K -
капитальные вложения (инвестиции) первого шага тыс.руб.
В состав Rt - входят
следующие величины:
(32)
где Пt - чистая прибыль, с учетом вычета
налогов, тыс.руб;
At -
амортизационные отчисления, тыс.руб.
Прирост прибыли при НТ на одну машину
(33)
где Ц1 и Ц2 - оптовая цена единицы техники БТ и НТ, тыс.руб;
С1 и С2 - себестоимость единицы техники БТ и НТ, тыс руб.
Индекс доходности
(34)
если ИД>1, то вариант НТ эффективен.
ИД=1,23
,23>1, вариант НТ эффективен
Срок окупаемости капитальных вложений (период возврата капитальных
вложений) Tок
или
(35)
если Tок<Tок уст, то вариант НТ эффективен.
<7,6, вариант НТ эффективен.
Лимитная (предельная) цена характеризует максимальную стоимостную оценку
НТ и рассчитывается по следующей формуле:
, (36)
где Цб - цена базовой техники;
Эп - полезный эффект от применения НТ, тыс.руб;
Kэ -
коэффициент полезного эффекта по цене НТ, равный 0,15
(37)
где Кп - коэффициент учета роста годовой производительности НТ по
сравнению с БТ,
(38)
где A1и A2 - годовая производительность БТ и НТ;
Кд - коэффициент учета изменения срока службы НТ по сравнению с БТ
(39)
где T1 и T2 - срок службы БТ и НТ, лет
В графической части дипломного проекта приведены основные
технико-экономические показатели проекта модернизации энергетической установки
дорожного катка ДУ- 50, также приведена смета капитальных вложений на
модернизацию катка.
К сожалению, сложно провести количественные аналогии,
в связи с отсутствием предмета сравнения. Стоимость проектируемой модернизации
двигателя зависит от типа, применяемого на нем турбокомпрессора и материалов
применяемых на нем.
Пытаясь сэкономить на более дешевых турбокомпрессорах
можно лишь сузить диапазон измеряемых параметров и их количество, применение
других материалов снизит надежность и ресурс двигателя в ущерб качественного и
разностороннего анализа рабочих процессов при проведении модернизации. Попытка
сэкономить на более дешевой системе турбонаддува лишит производительности при
работе катка.
В случае применения более дорогих турбокомпрессоров, и
дорогих материалов стоимость модернизации увеличивается, однако при этом
необходимо экономическое обоснование повышения затрат.
Заключение
В результате проделанной дипломной работы, раскрыли одно из наиболее
эффективных мероприятий по модернизации энергетической установки, использование
турбонаддува. Был произведен основной расчет установки до и после модернизации,
также произведен расчет экономической эффективности разработки.
В работе рассмотрен вариант системы управления наддувом. Описано техническое
обслуживание модернизируемой установки. Разработан маршрутно - технологический
процесс восстановления детали. Произведен анализ условий труда при испытании
модернизируемой установки.
Список использованной литературы
1 Богомолов
А.А. Методические указания по содержанию и оформлению квалификационных работ
(дипломных проектов) для студентов специальности 170900 специализации «Дорожные
машины». Белгород.: БГТАСМ, 1998.- 27с.
Герасимова
Н.Ф., Герасимов М.Д. Оформление текстовых и графических документов. Белгород.:
БГТУ им. В.Г. Шухова, 2008.-310с
Демидов
В.П., Колчин А.И. Расчет автомобильных и тракторных двигателей - 3 -е изд.
перераб. и доп. -М.: Высш.шк., 2003. - 496с.: ил.
Ковалёв
Г.Д. Основы инновационного менеджмента. Учебник для Вузов. /под ред. проф. В.А.
Швандара - М. ЮНИТИ-ДАНА, 2005.- 208с.
Методические
рекомендации по оценке эффективности инвестиционных проектов и их отбору для
финансирования. Официальное издание. Утверждено: Госстрой России, Министерство
экономики РФ., Министерство финансов РФ., Госкомпром России, (Вторая редакция)
- М.: Экономика, 2000. -200с
Носатова
Е.А. Методические указания к выполнению раздела в выпускной квалификационной
работе. -Белгород.: Изд-во БГТУ, 2009. -17с
Организация
производства и менеджмент: Методические указания к выполнению курсовой работы и
дипломного проекта для студентов специальность 19.02.05 -
Подъемно-транспортные, строительные, дорожные машины и оборудование.
Составитель проф. Одарченко А.В., Белгород, изд-во БГТУ им. В.Г. Шухова, 2008.
Савельев
Г.М., Турбокомпрессоры и теплообменники наддувочного воздуха автомобильных
двигателей: Учебное пособие для институтов повышения квалификации.- Ярославль.:
1983. - 96с, ил.
Экономика
предприятия. Методические указания к выполнению курсовой работы для студентов
спец. 17.19.00. - Подъемно - транспортные, строительные, дорожные машины и
оборудование, специализация «Дорожные машины», №1132, составитель Одарченко
А.В., Белгород - 2003.
ПРИЛОЖЕНИЕ
РОССИЙСКАЯ ФЕДЕРАЦИЯ
ФЕДЕРАЛЬНАЯ СЛУЖБА
ПО ИНТЕЛЛЕКТУАЛЬНОЙ СОБСТВЕННОСТИ,
ПАТЕНТАМ И ТОВАРНЫМ ЗНАКАМ
(12) ОПИСАНИЕ ИЗОБРЕТЕНИЯ К ПАТЕНТУ
Статус: по данным на 18.04.2011 - действует
(21), (22) Заявка: 97117603/06, 28.10.1997
(24) Дата начала отсчета срока действия патента:
.10.1997
(45) Опубликовано: 27.10.1999
(56) Список документов, цитированных в отчете о поиске: WO 87/05080 A1,
27.08.87. SU
1373885 A1, 15.02.88. RU 2 037 054 C1, 09.06.95. SU 253993 A, 06.03.70. SU
844824 A, 07.07.81. US 4778334 A, 18.10.88. CH 640608 A5, 13.01.84. FR 2596464
A, 02.10.87. CH 529926
A, 15.12.72. GB 1 570 224 A, 25.06.80. DE 2 100 690 A, 22.06.72.
Адрес для переписки:
, Москва, ул.Б.Спасская, д.25, стр.3 ООО "Союзпатент" Миц А.В.,
Томская Е.В.
(71) Заявитель(и):
Маннесманн АГ. (DE)
(72) Автор(ы):
Вольфганг Цахариас (DE)
(73) Патентообладатель(и):
Маннесманн АГ. (DE)
) ТУРБОКОМПРЕССОР
(57) Реферат:
Изобретение относится к компрессоростроению. Турбокомпрессор содержит
имеющий упорный уступ корпус, вставляемый в него, состоящий из роторной и
статорной частей пакет и закрывающую корпус с одной стороны крышку.
Турбокомпрессор снабжен также несущим роторную часть валом, выступающие из
корпуса вправо и влево цапфы которого установлены в подшипниковых кронштейнах.
Последние расположены вне корпуса. Вал установлен в радиальном и радиально-упорном
подшипниках. Подшипники установлены в подшипниковых кронштейнах. Кронштейны
закреплены на выступающих из корпуса торцевых частях статорной части пакета.
Центрирование пакета в радиальном направлении осуществляется за счет отверстий,
выполненных в области упорного уступа отверстия и в крышке, а в осевом
направлении в эксплуатационных условиях - с помощью упорного уступа корпуса и
радиально-упорного подшипника. Конец статорной части пакета, имеющий меньший
диаметр, и кронштейн, имеющий больший диаметр, соединены посредством
переходного устройства. Использование изобретения позволит обеспечить точное
центрирование роторной части в статорной части, что повышает эксплуатационную
надежность турбокомпрессора. 2 з.п. ф-лы, 1 ил.
Изобретение относится к компрессоростроению.
Для поддержания рабочих параметров и обеспечения требуемого спокойного
хода, а также эксплуатационной надежности при конструировании и изготовлении
турбомашин следует выдерживать высокие требования в отношении допусков. В
частности, при пересборке без возможности дополнительной обработки корпуса
имеющиеся неточности изготовления могут привести к еще большим проблемам при
пуске машины. Упомянутые проблемы возникают особенно в том случае, если корпус
компрессора вварен в трубопровод и нужно заменить пакет, состоящий из роторной
и статорной частей.
Известен центробежный насос, содержащий двухпоточный и двухспиральный
корпус и аксиально извлекаемый внутренний блок (патент Швейцарии N 640 608, кл.
F 04 D 29/62, 13.04.84). Для того, чтобы можно было извлечь внутренний блок
вместе с подшипником со стороны привода, диаметр конца внутреннего блока,
расположенного в корпусе со стороны привода, выполнен меньше диаметра
наименьшего из отверстий в корпусе для размещения внутреннего блока.
Эта конструкция имеет тот недостаток, что диаметр подшипника должен
соответствовать наименьшему отверстию в корпусе.
Наиболее близким к данному изобретению является трубокомпрессор,
содержащий снабженный упорным уступом корпус, вставляемый в него пакет,
состоящий из роторных и статорных частей, закрывающую корпус с одной стороны
крышку, а также несущий роторные части вал. Вал опирается в зоне выполненного в
упорном уступе отверстия на радиальный подшипник, а в зоне крышки - на
радиально-упорный подшипник.
Центрирование пакета в радиальном направлении осуществляется за счет
отверстия, выполненного в зоне упорного уступа корпуса, и отверстия,
выполненного в крышке, а в осевом направлении в эксплуатационных условиях - за
счет упорного уступа в корпусе и радиально-упорного подшипника (заявка РСТ N W0
87/05080, кл. F 04 D 17/12, 27.08.87).
Недостатками этой конструкции являются тонкий вал и малый диаметр
радиальных подшипников, так что могут передаваться лишь небольшие усилия.
Небольшие усилия означают передачу меньшей мощности при равном конструктивном
объеме корпуса.
Задачей изобретения является создание турбокомпрессора, у которого
переделка конструкции возможна без описанных проблем и с помощью которого можно
передавать также большие мощности.
В турбокомпрессоре, содержащем снабженный упорным уступом корпус,
вставляемый в него пакет, состоящий из роторных и статорных частей, закрывающую
корпус с одной стороны крышку, а также несущий роторные части вал, опирающийся
на радиальный и радиально-упорный подшипники, причем центрирование пакета в
радиальном направлении осуществляется за счет отверстия, выполненного в зоне
упорного уступа корпуса, и отверстия, выполненного в крышке, а в осевом
направлении в эксплуатационных условиях - за счет упорного уступа в корпусе и
радиально-упорного подшипника, указанная задача решается тем, что подшипники
установлены в расположенных вне корпуса подшипниковых кронштейнах и выполненные
в виде цапф концы выступающего из корпуса вала размещены в подшипниковых
кронштейнах, каждый из которых закреплен на соответствующем, выступающем из
корпуса торцевом конце статорной части пакета, при этом между соответствующим,
выступающим из корпуса торцевым концом статорной части пакета и соответствующим
подшипниковым кронштейном установлено переходное устройство для соединения
конца статорной части, имеющей меньший диаметр, и подшипникового кронштейна,
имеющего больший диаметр.
Переходное устройство может быть снабжено кольцевой вставкой с запорным
лабиринтом для отделения подшипникового кронштейна и уплотнения вала запорным
газом.
В переходном устройстве могут быть выполнены отверстия для подвода к
уплотнениям или камерам на конце статорной части затворного газа.
Существенным в изобретении является крепление кронштейна подшипника на
выступающем из корпуса торцевом конце статора пакета. При этом важным в смысле
изобретения является, чтобы кронштейн подшипника был связан с пакетом, а не с
корпусом. При обычных традиционных конструкциях фланец кронштейна подшипника
навинчивается непосредственно на корпус. Компоновка согласно изобретению
позволяет осуществить точное центрирование роторной части относительно
статорной части вне корпуса. Так как потери турбомашины в основном определяются
величиной зазора между ротором и статором, то решающее значение имеет
оптимальное центрирование ротора и статора в пакете. После центрирования в
мастерской можно зафиксировать точное расположение статора и ротора
относительно друг друга с помощью цилиндрических и/или конических штифтов, так
чтобы после демонтажа кронштейнов подшипников можно было вставить
отцентрированный пакет в корпус. Независимо от установления положения пакета
относительно оси корпуса, сохраняется установленное и определяющее теряемую
мощность точное расположение статора и ротора относительно друг друга.
Благодаря этому, исключаются возможные воздействия на эксплуатационные свойства
и надежность в работе турбокомпрессора из-за возможных отклонений в имеющемся
корпусе в области подгонки пакета к корпусу и пакета к крышке.
При предложенном конструктивном варианте имеющийся в наличии корпус и
имеющаяся в наличии крышка не имеют никакого влияния на положение ротора
относительно статорной части. Вследствие этого, можно осуществить контроль
положения вмонтирования ротора относительно статорной части без корпуса.
Благодаря этому, сводится к минимуму риск при монтаже в имеющийся в наличии
корпус на месте строительства.
В зависимости от соотношений диаметров между торцевым концом статора и
относящимся к нему кронштейном подшипника может быть целесообразным вставить
между ними переходное устройство. Переходное устройство предпочтительно
используют в первую очередь для того, чтобы создать выравнивание между
выступающим из корпуса, имеющим в большинстве случаев меньший диаметр, концом
статора и имеющим больший диаметр фланцем кронштейна подшипника.
Переходное устройство можно использовать также для установки в нем
уплотнения (например, запорный лабиринт) между кронштейном подшипника и
уплотнением вала, которое требуется при уплотнениях с газовой смазкой и при
лабиринтных уплотнениях, а также при смазанных маслом уплотнениях с раздельной
масляной системой, т.е. масло подшипника и масло уплотнения разделены.
Подсоединение затворного газа может осуществляться непосредственно на
переходном устройстве. Переходное устройство можно использовать также для
выполнения подсоединительных отверстий к уплотнениям или камерам в конце
статора.
Изобретение поясняется чертежом, где изображен турбокомпрессор,
продольный разрез.
Представленный на чертеже турбокомпрессор имеет корпус 1. В этом примере
выполнения расположенная слева область корпуса 1 снабжена упорным уступом 2. В
качестве альтернативы возможна также конструкция крышки с функциями упорного
уступа. В этот корпус вставляют по оси пакет, состоящий из роторной 3 и
статорной 4, 5 частей, а также вала 6. При этом находящаяся слева статорная
часть 5 пакета прилегает к упорному уступу 2. Завершение правой стороны
образует крышка 7, которая соединена с корпусом 1 с помощью винтов 8.
Соответствующие торцевые концы 9, 10 статора 4, 5 выступают из торцевой стороны
крышки 7 или корпуса 1. В этом примере выполнения на этот конец 9, 10 навинчено
переходное устройство 11, 12. Другая сторона переходного устройства 11, 12
соединена с соответствующим кронштейном 13, 14 подшипника. Расположенный в этом
примере выполнения слева подшипник представляет собой радиальный подшипник 15,
а расположенный справа подшипник - радиально-упорный подшипник 16. Направление
пакета в радиальном направлении осуществляется, во-первых, с помощью отверстия
17 в упорном уступе 2 корпуса 1, а во-вторых, отверстием 18 в крышке 7.
Направление пакета по оси осуществляется в рабочих условиях с помощью упорного
уступа 2 корпуса 1 и с помощью расположенного здесь справа радиально-упорного
подшипника 16. Уплотнение между давлением в зоне 19 всасывания и конечным
давлением в зоне 20 нагнетания в пакете относительно корпуса 1 осуществляется с
помощью расположенного между статорной частью 5 и корпусом уплотнения 21. В
этом примере выполнения в обоих переходных устройствах 11, 12 установлен
запорный лабиринт в качестве уплотнения между кронштейном 13, 14 подшипника и
уплотнением вала. Затворный газ подается при этом с помощью вставки 22
соответствующего запорного лабиринта 23.
Формула изобретения
. Турбокомпрессор, содержащий снабженный упорным уступом корпус,
вставляемый в него пакет, состоящий из роторных и статорных частей, закрывающую
корпус с одной стороны крышку, а также несущий роторные части вал, опирающийся
на радиальный и радиально-упорный подшипники, причем центрирование пакета в
радиальном направления осуществляется за счет отверстия, выполненного в зоне
упорного уступа корпуса, и отверстия, выполненного в крышке, а в осевом
направлении в эксплуатационных условиях - за счет упорного уступа в корпусе и
радиально-упорного подшипника, отличающийся тем, что подшипники установлены в
расположенных вне корпуса подшипниковых кронштейнах и выполненные в виде цапф
концы выступающего из корпуса вала размещены в подшипниковых кронштейнах,
каждый из которых закреплен на соответствующем выступающем из корпуса торцевом
конце статорной части пакета, при этом между соответствующим выступающим из
корпуса торцевым концом статорной части пакета и соответствующим подшипниковым
кронштейном установлено переходное устройство для соединения конца статорной
частя, имеющей меньший диаметр, и подшипникового кронштейна, имеющего больший
диаметр.
. Турбокомпрессор по п. 1, отличающийся тем, что переходное устройство
снабжено кольцевой вставкой с запорным лабиринтом для отделения подшипникового
кронштейна и уплотнения вала запорным газом.
. Турбокомпрессор по пп. 1 и 2, отличающийся тем, что в переходном
устройстве выполнены отверстия для подвода к уплотнениям или камерам на конце
статорной части затворного газа.
РОССИЙСКАЯ ФЕДЕРАЦИЯ
ФЕДЕРАЛЬНАЯ СЛУЖБА
ПО ИНТЕЛЛЕКТУАЛЬНОЙ СОБСТВЕННОСТИ, ПАТЕНТАМ И ТОВАРНЫМ ЗНАКАМ
(12) ОПИСАНИЕ ИЗОБРЕТЕНИЯ К ПАТЕНТУ
Статус: по данным на 18.04.2011 - прекратил действие
(21), (22) Заявка: 97117840/06, 23.10.1997
(45) Опубликовано: 20.06.1999
(56) Список документов, цитированных в отчете о поиске: ЦНИИТЭИ
"Тракторсельхозмаш". Обзорная информация. Серия: Тракторы, самоходные
шасси и двигатели, агрегаты и узлы. Современные устройства для регулирования
наддува двигателей внутреннего сгорания тракторов и сельскохозяйственных машин.
Вып. 17, - М.: 1979, с. 16 и 17, рис. 6. US 4075849 A,
28.02.78. SU 1710800 A1, 07.02.92. SU 909246 A, 01.03.82. US 4120156 A,
17.10.78. GB 2078856 A,
13.01.82. US 4655043 A, 07.04.87.
Адрес для переписки:
, Набережные Челны, пр.Яшьлек 29, кв.280 Магзумьянову Р.Ф.
(71) Заявитель(и):
Магзумьянов Радик Фаатович
(72) Автор(ы):
Магзумьянов Р.Ф.
(73) Патентообладатель(и):
Магзумьянов Радик Фаатович
) УСТРОЙСТВО ДЛЯ РЕГУЛИРОВАНИЯ ДАВЛЕНИЯ НАДДУВА ДВИГАТЕЛЯ ВНУТРЕННЕГО
СГОРАНИЯ
(57) Реферат:
Изобретение относится к агрегатам наддува двигателей внутреннего
сгорания. В корпусе турбокомпрессора размещены воздухонапорная полость
компрессора и газоподводящая улитка турбины, в которой установлены рабочее
колесо центростремительной турбины и заслонка, расположенная на входе газов в
улитку турбины. Регулирующий механизм выполнен в виде подпружиненной мембраны,
штока, связанного с мембраной, и канала подвода наддувочного воздуха в
подмембранную полость. В канале выполнена дополнительная полость. В штоке
образован клапан, закрывающий дополнительную полость. В корпусе
турбокомпрессора выполнено отверстие, в котором установлен передаточный вал,
жестко соединенный с заслонкой, регулирующий механизм расположен с наружной
стороны корпуса турбокомпрессора и снабжен рычагом, жестко связанным с передаточным
валом и шарнирно соединенным с штоком. Технический результат заключается в
повышении эффективности в работе. 3 ил.
Изобретение относится к области турбокомпрессоростроения, в частности к
агрегатам наддува двигателей внутреннего сгорания.
Известно регулировочное устройство, выполненное в виде турбокомпрессора,
содержащего корпус с газоподводящей улиткой, в которой размещены рабочее колесо
центростремительной турбины и заслонка, расположенная на входе газов в улитку,
выполненная с возможностью поворота и кинематически связанная с регулирующим
механизмом [1].
Недостатком этого устройства является следующее.
Узел поворота регулировочного диска имеет втулкообразную форму большого
диаметра, что способствует из-за воздействия высоких температур объемному
расширению и заклиниванию. Кроме того, на регулировочный диск действует боковое
давление газов со стороны турбины, сто увеличивает трение при повороте диска.
Наиболее близким по технической сущности и достигаемому эффекту к
заявляемому устройству является регулировочное устройство, содержащее
турбокомпрессор, в корпусе которого размещены воздухонапорная полость
компрессора и газоподводящая улитка турбины, в которой установлены рабочее
колесо центростремительной турбины и заслонка, расположенная на входе газов в улитку,
и регулирующий механизм, выполненный в виде размещенной в кожухе подпружиненной
мембраны, разделяющей кожух на надмембранную и подмембранную полости, штока,
связанного с мембраной, и канала подвода наддувочного воздуха в подмембранную
полость, в котором выполнена дополнительная полость, причем заслонка
кинематически связана с регулирующим механизмом, в штоке образован клапан,
выполненный с возможностью закрытия дополнительной полости за счет усилия
пружины и площадью, меньшей, чем площадь мембраны [2].
Недостатком этого устройства является следующее.
Шток клапана устройства выполнен с возможностью возвратно-поступательного
движения, что способствует образованию нагара на штоке от отработавших газов и
заклиниванию, что снижает эффективность работы устройства.
Изобретение направлено на повышение эффективности устройства.
Для этого в устройстве для регулирования давления наддува двигателя
внутреннего сгорания, содержащее турбокомпрессор, в корпусе которого размещены
воздухонапорная полость компрессора и газоподводящая улитка турбины, в которой
установлены рабочее колесо центростремительной турбины и заслонка,
расположенная на входе газов в улитку, и регулирующий механизм, выполненный в
виде размещенной в кожухе подпружиненной мембраны, разделяющей кожух на надмембранную
и подмембранную полости, штока, связанного с мембраной, и канала подвода
поддувочного воздуха в подмембранную полость, в котором выполнена
дополнительная полость, причем заслонка кинематически связана с регулирующим
механизмом, в штоке образован клапан, выполненный с возможностью закрытия
дополнительной полости за счет усилия пружины и площадью, меньшей, чем площадь
мембраны, согласно изобретению, в корпусе турбокомпрессора выполнено отверстие,
в котором установлен передаточный вал, жестко соединенный с заслонкой,
регулирующий механизм расположен с наружной стороны корпуса турбокомпрессора и
снабжен рычагом, размещенным в выполненной в корпусе выемке, жестко связанным с
передаточным валом и шарнирно соединенным со штоком.
Устройство для регулирования давления наддува двигателя внутреннего
сгорания 1 содержит турбокомпрессор 2, в корпусе которого размещены
воздухонапорная полость компрессора 3 и газоподводящая улитка турбины 4, в
которой установлены рабочее колесо 5 центростремительной турбины 4 и заслонка
6, расположенная на входе газов в улитку турбины 4, и регулирующий механизм 7,
расположенный с наружной стороны корпуса турбокомпрессора 2 и выполненный в
виде размещенной в кожухе подпружиненной мембраны 8, разделяющий кожух на
надмембранную 9 и подмембранную 10 полости, штока 11, связанного с мембраной 8,
и канала 12 подвода поддувочного воздуха в подмембранную полость 10, в котором
выполнена дополнительная полость 13. Заслонка 6 через передаточный вал 14 и
рычаг 15 шарнирно соединена со штоком 11 регулирующего механизма 7. В штоке 11
образован клапан 16, выполненный с возможностью закрытия дополнительной полости
13 за счет усилия пружины 17. Площадь клапана 16 меньше площади мембраны 8.
Передаточный вал 14 установлен в выполненном в корпусе турбокомпрессора 2
отверстии 18 и жестко соединен со стороны турбины 14 с заслонкой 6, а со
стороны компрессора 3 - с рычагом 15, причем рычаг 15 размещен в выполненной в
корпусе выемке 19.
Устройство работает следующим образом.
Отработавшие газы двигателя 1 поступают через улитку турбины 4 на рабочее
колесо 5. Мощность турбины 4 через ротор 20 передается компрессору 3, в котором
сжимается воздух для наддува двигателя 1. Давление сжатого воздуха зависит от
давления газов перед турбиной 4, а последнего - от начального проходного
сечения 21 турбины 4.
При работе двигателя 1 с малым расходом газа через турбину 4, т.е. на
режимах малых нагрузок и частот вращения, а также на режиме максимально
крутящего момента, давление наддувочного воздуха, заполнившего через канал 2
дополнительную полость 13, недостаточно для сжатия пружины 17, и клапан 16
находится в прижатом к корпусу регулирующего механизма 7 положении,
следовательно, заслонка 6 максимально перекрывает начальное проходное сечение
21 турбины 4. Тем самым достигается необходимое давление наддува, которое
позволяет достаточно полно обеспечить воздухом двигатель 1 на частичных режимах
и на режиме максимального крутящего момента.
При переходе с режима максимального крутящего момента на режим
номинальной мощности начинает повышаться давление наддува выше необходимого
значения и усилие пружины 17 становится меньше усилия давления наддува на
клапан 16 и пружина 17 сжимается. Наддувочный воздух заполняет подмембранную
полость 10, так как площадь мембраны 8 больше площади клапана 16, то усилие
давления наддувочного воздуха на пружину 17 возрастает в прямой
пропорциональности от отношения площади мембраны 8 к площади клапана 16 и
пружина 17 сжимается до тех пор, пока усилие пружины 17 не сравняется с усилием
от давления наддувочного воздуха. При этом заслонка 6 раскрывает начальное
проходное сечение 21 турбины 4 и давление наддува перестает возрастать.
При понижении давления наддува устройство работает в сторону уменьшения
начального проходного сечения 21 турбины 4.
Кинематическая связь между регулирующим механизмом 7 и заслонкой 6
работает следующим образом. Шток 11 регулирующего механизма 7, шарнирно
соединенный с рычагом 15, совершая возвратно-поступательные движения,
поворачивает рычаг 15, а вместе с ним и заслонку 6.
Применение предложенного устройства позволяет повысить эффективность
работы конструкции, что заключается в следующем:
узел поворота (передаточный вал и отверстие в корпусе турбокомпрессора)
подвержен минимальным температурным нагрузкам вследствие того, что корпус
турбокомпрессора охлаждается маслом при смазывании скользящего подшипника
ротора турбокомпрессора;
на передаточный вал действуют осевые усилия от давлений со стороны
компрессора и турбины, которые примерно одинаковые, вследствие чего
передаточный вал разгружается от осевых усилий;
передаточный вал выполнен минимального диаметра исходя из условия
прочности конструкции, поэтому менее подвержен заклиниванию из-за объемных
температурных расширений.
Источники информации
. Авторское свидетельство СССР N 1650917, кл. F 01 D 17/04, 1991.
. Современные устройства для регулирования наддува двигателей внутреннего
сгорания тракторов и сельскохозяйственных машин. Обзорная информация. Серия:
Тракторы, самоходные шасси и двигатели, агрегаты и узлы. Вып. 17. - М.: ЦНИИТЭИ
"Тракторсельхозмаш", 1979, с. 17, рис. 6.
Формула изобретения
Устройство для регулирования давления наддува двигателя внутреннего
сгорания, содержащее турбокомпрессор, в корпусе которого размещены
воздухонапорная полость компрессора и газоподводящая улитка турбины, в которой
установлены рабочее колесо центростремительной турбины и заслонка,
расположенная на входе газов в улитку, и регулирующий механизм, расположенный с
наружной стороны корпуса турбокомпрессора и выполненный в виде размещенной в
кожухе подпружиненной мембраны, разделяющей кожух на надмембранную и
подмембранную полости, штока, связанного с мембраной, и канала подвода
наддувочного воздуха в подмембранную полость, в котором выполнена
дополнительная полость, причем заслонка кинематически связана с регулирующим
механизмом, отличающееся тем, что в штоке образован клапан, выполненный с
возможностью закрытия дополнительной полости за счет усилия пружины и площадью,
меньшей площади мембраны, в корпусе турбокомпрессора выполнено отверстие, в
котором установлен передаточный вал, жестко соединенный с заслонкой, а
регулирующий механизм снабжен рычагом, размещенным в выполненной в корпусе
выемке, жестко связанным с передаточным валом и шарнирно соединенным с штоком.
РОССИЙСКАЯ ФЕДЕРАЦИЯ
ФЕДЕРАЛЬНАЯ СЛУЖБА
ПО ИНТЕЛЛЕКТУАЛЬНОЙ СОБСТВЕННОСТИ, ПАТЕНТАМ И ТОВАРНЫМ ЗНАКАМ
(12) ОПИСАНИЕ ИЗОБРЕТЕНИЯ К ПАТЕНТУ
Статус: по данным на 18.04.2011 - действует
(22) Заявка: 5029340/06, 27.02.1992
(45) Опубликовано: 20.02.1995
(56) Список документов, цитированных в отчете о поиске: Поршневые и
газотурбинные двигатели. - Экспресс-информация, N 23. М.: ВИНИТИ, 1989.
(56) Список документов, цитированных в отчете о поиске: 19 Международный
конгресс по двигателям внутреннего сгорания. - Среднеоборотный двигатель S 20A.
- Флоренция, 1991, с.4,9,10.
(71) Заявитель(и):
Никитин Евгений Александрович,
Юз Лев Давидович,
Дехович Дмитрий Александрович,
Подлиповский Юрий Павлович,
Мадонов Игорь Владимирович,
Калугин Михаил Евгеньевич
(72) Автор(ы):
Никитин Евгений Александрович,
Юз Лев Давидович,
Дехович Дмитрий Александрович,
Подлиповский Юрий Павлович,
Мадонов Игорь Владимирович,
Калугин Михаил Евгеньевич
(73) Патентообладатель(и):
Никитин Евгений Александрович,
Юз Лев Давидович,
Дехович Дмитрий Александрович,
Подлиповский Юрий Павлович,
Мадонов Игорь Владимирович,
Калугин Михаил Евгеньевич
РЕГУЛЯТОР ДАВЛЕНИЯ НАДДУВА ДЛЯ ДВИГАТЕЛЯ ВНУТРЕННЕГО СГОРАНИЯ С
ТУРБОНАДДУВОМ
(57) Реферат:
Использование: двигателя внутреннего сгорания. Сущность изобретения:
регулятор давления наддува содержит два перепускных клапана, один из которых
служит для перепуска части наддувочного воздуха с выхода компрессора на вход
турбины на промежуточных режимах двигателя, в другой - для ограничения
максимального давления наддува перепуском части наддувочного воздуха в линию
сброса. Управляющее устройство регулятора выполнено в виде двухстороннего и
одностороннего сопел и взаимодействующих с ними трех подпружиненных заслонок.
Корпус регулятора служит кронштейном для установки на двигатель и для
коммутации пневматических и гидравлических каналов. Повышается надежность ,
уменьшаются затраты энергии за счет использования масла из системы смазки
двигателя. 2 з.п. ф-лы, 4 ил.
Изобретение относится к двигателям внутреннего сгорания с турбонаддувом,
в частности к регулированию подачи в ДВС воздуха.
Известен регулятор наддува для двигателей внутреннего сгорания с
турбонаддувом, содержащий клапан перепуска и клапан ограничения, причем входы
обоих клапанов соединены с выходом из компрессора турбокомпрессора, выход
клапана перепуска соединен с входом в турбину турбокомпрессора, а также
управляющие устройства с чувствительными элементами, соединенными с полостью
наддувочного воздуха.
Недостатками известного регулятора являются:
сброс части воздуха после компрессора в атмосферу при ограничении
давления наддува, что приводит к снижению экономичности ДВС на полной мощности
ввиду безвозвратной потери энергии, потраченной в компрессоре на сжатие этой
части воздуха;
использование прямодействующего клапана ограничения давления наддува, что
не обеспечивает точного поддержания предельного давления наддува;
применение электрической системы управления перепуском воздуха в турбину
при частичных нагрузках, что усложняет регулятор и делает его зависимым от
внешнего электропитания.
Кроме того, разбивка регулятора на конструктивно отдельные блоки,
располагаемые в разных точках двигателя, усложняет систему регулирования за
счет появления внешних линий связи, уменьшая вследствие этого его надежность.
Указанные недостатки можно уменьшить или исключить:
сбросом части воздуха после компрессора при регулировании предельного
давления наддува на всасывание компрессора, поскольку в этом случае энергия
сбрасываемого воздуха будет использована для подогрева всасываемого воздуха,
что приведет к более интенсивному снижению давления наддува и за счет этого
уменьшит потребный объем сбрасываемого воздуха и потерю с ним энергии;
переходом на регулирование предельного давления наддува с использованием
промежуточного усиления, что позволяет обеспечить высокую точность регулирования;
применением гидравлического дроссельно-соплового регулирования с
использованием масла под давлением из системы смазки двигателя, что делает
регулятор не зависимым от внешнего источника энергии.
Кроме того, объединение узлов регулятора в единый конструктивный блок
может упростить его размещение на двигателе и повысить его надежность за счет
отказа от большинства внешних линий связи.
Целью изобретения является повышение надежности и точности регулятора и
экономичности двигателя, на котором он устанавливается, за счет использования
внутреннего источника энергии этого двигателя, отказа от большинства внешних
линий связи и утилизации энергии сбрасываемого воздуха.
Указанная цель достигается тем, что в регуляторе давления наддува
двигателя внутреннего сгорания с турбонаддувом, содержащем первый и второй
перепускные клапаны с камерами управления, управляющее устройство с
чувствительными элементами, соединенными с полостью наддувочного воздуха,
причем входы первого и второго перепускных клапанов сообщены с выходом
компрессора, выход первого перепускного клапана сообщен с входом турбины,
согласно изобретению выход второго перепускного клапана сообщен с входом
компрессора, управляющее устройство выполнено в виде двухстороннего сливного
сопла с двумя подпружиненными заслонками, установленными с возможностью
перекрытия двухстороннего сливного сопла, и одностороннего сливного сопла с
третьей подпружиненной заслонкой, установленной с возможностью перекрытия
одностороннего сливного сопла, камера управления первого перепускного клапана
через дроссель соединена с напорной масляной магистралью двигателя и с входом
двухстороннего сливного сопла, камера управления второго перепускного клапана
через дроссель соединена с напорной масляной магистралью двигателя и с входом одностороннего
сливного сопла, причем первая и вторая заслонки установлены с возможностью
взаимодействия с первым и вторым чувствительными элементами, а третья заслонка
- с третьим чувствительным элементом.
Кроме того, согласно изобретению регулятор снабжен дополнительным
дросселем, установленным на сливе из камеры управления первым перепускным
клапаном.
Согласно изобретению перепускные клапаны и управляющее устройство
смонтированы в общем корпусе, установленном в месте отбора наддувочного
воздуха, а пневматические и гидравлические соединения регулятора выполнены в
корпусе в виде каналов.
На фиг. 1 представлена принципиальная пневмогидравлическая схема
регулятора давления наддува и его подключения к системе турбонаддува ДВС; на
фиг. 2 - регулятор давления наддува; на фиг. 3 - разрез А-А на фиг. 2; на фиг.
4 - разрез Б-Б на фиг. 3.
Блок 1 перепускных клапанов сообщен входами клапанов через линию 2 с
приемным патрубком охладителя воздуха 3 дизеля 4 и содержит первый перепускной
клапан 5, выход которого сообщен линией 6 с входом в турбину 7, и второй
перепускной клапан 8, выход которого сообщен линией 9 с входом в компрессор 10.
Входы первого и второго перепускных клапанов соединены через охладитель
воздуха 3 с выходом компрессора 10.
Каждый клапан имеет мембрану управления 11 и возвратную пружину 12.
Камера управления 13 первого перепускного клапана 5 и камера управления
14 второго перепускного клапана 8 соединены с напорной масляной магистралью
двигателя через дроссели 15 и 16 соответственно.
Камера управления 13 первого перепускного клапана соединена со сливом
через дроссель 17 и с входом двухстороннего сливного сопла управляющего
устройства 20, седла 18 и 19 которого взаимодействуют с подпружиненными
заслонками 21 и 22. Заслонки установлены с возможностью перекрытия этого сопла
и взаимодействия с первым чувствительным элементом 23 и вторым чувствительным
элементом 24 соответственно.
Чувствительные элементы 23 и 24 состоят каждый из соединенных между собой
подвижными центрами мембраны с большим гофром и мембраны с малым гофром.
Внутренние полости этих элементов соединены отдельно от линии 2 каналом 25 с
полостью наддувочного воздуха в приемном патрубке охладителя 3. Первый
чувствительный элемент 23 взаимодействует с пружинами 26 и 27, второй
чувствительный элемент 24 - с пружинами 28 и 29. Усилия пружин 26 и 28
регулируются винтами (стаканами) 30 и 31. При правильной регулировке усилия
пружин 27 и 28 больше, чем пружин 26 и 29, поэтому при отсутствии давления
наддува заслонка 21 отодвинута от седла 18 двухстороннего сопла, а заслонка 22
прижата к его седлу 19.
Камера управления 14 второго перепускного клапана 8 соединена с входом
одностороннего сливного сопла 32 третьего чувствительного элемента 33.
Мембрана 34 с заслонкой 35 третьего чувствительного элемента подпружинена
пружиной 36 и образует с крышкой этого элемента полость управления, которая
также соединена каналом 25 с полостью наддувочного воздуха. При отсутствии
давления наддува мембрана 34 с заслонкой 35 отодвинута пружиной 36 от сопла 32.
Основой регулятора является корпус 37, установленный фланцем 38 в месте
отбора воздуха, в нем выполнены в виде каналов все гидравлические и
пневматические соединения.
При работе двигателя выхлопные газы из дизеля 4 поступают в турбину 7
турбокомпрессора, которая приводит в действие компрессор 10, он всасывает
воздух, сжимает его и подает через охладитель 3 в двигатель.
Пока нагрузка на двигатель невелика, давление наддува, создаваемое
компрессором 10, мало. Масло поступает из напорной магистрали двигателя через
дроссель 15 и 16 в камеры управления 13 и 14 перепускных клапанов, вытесняет из
них воздух и свободно сливается из камеры 13 через открытое седло 18
двухстороннего сопла и дроссель 17, а из камеры 14 через открытое сопло 32.
Давление масла в этих камерах мало, оба перепускных клапана закрыты.
По мере роста нагрузки двигателя давление наддува растет и создает в
полостях чувствительных элементов 23 и 24 усилие в сторону мембраны с большим
гофром. Это усилие преодолевает сопротивление пружины 27 и перекрывает
заслонкой 21 первого чувствительного элемента 23 седло 18 двухстороннего сопла.
Слив из камеры управления 13 резко уменьшается, давление в ней растет и клапан
5 открывается. Наддувочный воздух частично поступает из компрессора 10, минуя
дизель 4, по линии 6 в турбину 7, увеличивая общий расход через нее газа.
Мощность турбины растет, давление наддува, создаваемое компрессором 10,
возрастает, создается возможность увеличения нагрузки двигателя на этих
режимах. Поскольку турбокомпрессор из-за повышения частоты вращения его ротора
переходит в область более высоких КПД, общая экономичность двигателя
возрастает. Сохраняющаяся на этом режиме небольшая прокачка масла через камеру
13 обеспечивает охлаждение мембраны 11.
При дальнейшем росте нагрузки и частоты вращения двигателя и связанного с
этим расхода воздуха давление наддува турбокомпрессора приближается к своему
расчетному режиму, на котором перепуск наддувочного воздуха в турбину
становится излишним. Возросшее давление наддува создает в камере управления
второго чувствительного элемента 24 повышенное усилие, преодолевает
сопротивление пружины 28 и отводит заслонку 22 от седла 19. Давление в камере
управления 13 падает, перепускной клапан 5 закрывается.
Турбокомпрессор может быть рассчитан на создание полного давления наддува
при работе двигателя на полной мощности при положительной температуре
всасываемого воздуха или при работе с частичной мощностью. Поэтому при работе
двигателя при отрицательной температуре воздуха, а во втором случае при
нагрузке, близкой к номиналу, давление наддува возрастает выше нормы и,
действуя на мембрану 34, преодолевает сопротивление пружины 36, придвигает
заслонку 35 к одностороннему соплу 32. Вследствие дросселирования слива
давление в камере 14 возрастает, клапан 8 приоткрывается и сбрасывает часть
наддувочного воздуха на всасывание компрессора 10. Расход воздуха через
компрессор и температура воздуха на его всасывании возрастают, это прекращает
рост давления наддува.
Таким образом, регулятор согласно изобретению обеспечивает:
повышение экономичности двигателя на полной мощности за счет утилизации
тепла сбрасываемого воздуха при ограничении предельного давления наддува;
точное ограничение предельного давления наддува за счет непрямого
гидравлического регулирования;
полную автономность регулятора при работе двигателя за счет
дроссельно-соплового гидравлического регулирования с использованием масла из
системы смазки двигателя.
Формула изобретения
. РЕГУЛЯТОР ДАВЛЕНИЯ НАДДУВА ДЛЯ ДВИГАТЕЛЯ ВНУТРЕННЕГО СГОРАНИЯ С
ТУРБОНАДДУВОМ, содержащий первый и второй перепускные клапаны с камерами
управления, управляющее устройство с чувствительными элементами, соединенными с
полостью наддувочного воздуха, причем входы первого и второго перепускных
клапанов сообщены с выходом компрессора, а выход первого перепускного клапана -
с входом турбины, отличающийся тем, что выход второго перепускного клапана
сообщен с входом компрессора, управляющее устройство выполнено в виде
двустороннего сливного сопла с двумя подпружиненными заслонками, установленными
с возможностью перекрытия двустороннего сливного сопла и одностороннего
сливного сопла с третьей подпружиненной заслонкой, установленной с возможностью
перекрытия одностороннего сливного сопла, камера управления первого перепуского
клапана через дроссель соединена с напорной масляной магистралью двигателя и с
входом двустороннего сливного сопла, камера управления второго перепускного
клапана через дроссель соединена с напорной масляной магистралью двигателя и с
входом одностороннего сливного сопла, причем первая и вторая заслонки
установлены с возможностью взаимодействия с первым и вторым чувствительными
элементами, а третья заслонка - с третьим чувствительным элементом.
. Регулятор по п.1, отличающийся тем, что снабжен дополнительным
дросселем, установленным на сливе из камеры управления первым перепускным
клапаном.
. Регулятор по пп.1 и 2, отличающийся тем, что перепускные клапаны и
управляющее устройство смонтированы в общем корпусе, установленном в месте
отбора наддувочного воздуха, а пневматические и гидравлические соединения
регулятора выполнены в корпусе в виде каналов.