Дизель–генераторная машина
Министерство образования и науки Украины
Национальный технический университет «Харьковский политехнический
институт»
Кафедра теории машин и механизмов
Курсовой проект
по предмету
Теория машин и механизмов
на тему:
«Дизель - генераторная машина»
Вариант №6
Выполнил
студент гр. ТМ-78б
Шумаков О.В
Проверил
пр. Зарубина А.А
Харьков 2010
Задание

nd= 3000 об/хв.;
n1=
1650 об/хв.;
lOA= 0,096 м;АB= 0,326 м;= 0,326 м;= 0,3 lAB;= 0,3 lAB;= 6,25 кг;= 3,7 кг;= 6,25 кг;=
3,7 кг;= 0,10 кг·м2;= 0,10 кг·м2;= 112 кН.
1. Структурный
анализ главного механизма
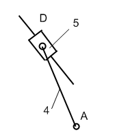
Рисунок 1 - Структурная схема механизма
Главный механизм станка состоит из пяти подвижных звеньев. Подвижное
соединение звеньев осуществляется кинематическими парами пятого класса.
Структурная схема механизма представлена на рис. 1.
Степень подвижности механизма определим по формуле Чебышева:
W = 3n - 2P5 - P4 =
3·5 - 2·7 - 0 = 1.
Это означает, что в данном механизме имеется только одно начальное звено
- это кривошип 1.
Для проведения кинематического и силового расчета механизма выделим
структурные группы. В порядке присоединения к ведущему звену 1 это будут
следующие группы:
· звенья 2-3 - 1-я в порядке присоединения структурная группа (рис. 1, а),
2-ой класс, 2-ой порядок;
· звенья 4-5 - 2-я в порядке присоединения структурная группа
(рис. 1, б), 2-ой класс, 2-ой порядок.
а б
Рисунок 2
- Кинематические схемы
групп Ассура: а - группа 2-3; б - группа 4-5; звенья: 1-кривошип; 3,5 - ползуны; 2,4 - шатуны.
2.
Кинематическое исследование главного механизма
Цель кинематического исследования - определить координаты, скорости и
ускорения осей шарниров и центров масс звеньев, углы поворота, угловые скорости
и ускорения звеньев для заданного положения начального звена.
2.1
Построение плана положения механизма
Для определения перемещений звеньев механизма за цикл φ
= 360º, построим 8
положений механизма. В качестве первого положения принимаем то, в котором
ползун 3 находится в крайнем правом положении.
Принимаем масштаб плана положений:

Вычисляем
длины отрезков, изображающих звенья на чертеже:
мм;
мм;
мм;
На
листе А1 вычертим планы положений механизма.
Построение
проводим следующим образом: из начала координат 0 отмечаем положение
направляющих α
- α и
для
ползунов 3 и 5 , затем из точки О радиусом равным ОА=48 мм описываем окружность
(это траектория точки А). Начальным будем считать такое положение ползуна 3,
при котором линии кривошипа и шатуна 2 выровняются, а удаление ползуна 3 будет
максимальным. Из точки А на окружности ОА делаем засечку на направляющих
ползунов радиусом 163мм - это и будут начальные положения для обоих цилиндров.
Строим 8 планов положений механизма(лист
1). Начальное положения механизма соответствует началу рабочего хода, остальные
положения соответствуют углу поворота кривошипа, равному
.
Разбив
окружность ОА на 8 равных частей, аналогично первому, строим остальные
положения механизма. По плану положений строим график перемещений поршня В
(лист 1).
.2
Определение скоростей
.2.1
Определение линейных скоростей шарнирных точек механизма
Запишем
уравнения скоростей по группам Ассура, начиная с группы 2-3.
Рассмотрим
структурную группу 2-3. Общая точка - В. точки присоединения: звено 2
присоединяется в точке А, звено 3 - в точке В:
механизм зубчатое зацепление электрогенератор
В
уравнениях:
м/с,
где
; вектор
направлен
в направлении
;
ІІ AВ, величина неизвестна;
;
, величина неизвестна.
Строим
план скоростей. Для этого определим масштабный коэффициент
,
где
мм - отрезок плана скоростей, изображающий вектор
. Из полюса р проводим вектор
, а из точки а линию ┴ AВ. Затем строим
вектора второго уравнения:
, из
полюса проводим направление
до
пересечения с направлением ┴ AВ; на пересечении получим точку
b.
Рассмотрим
группу Ассуpа 4-5. Запишем систему векторных уравнений, воспользовавшись первой
и второй теоремой.
Вектор
скорости точки А уже построен, поэтому из точки а проводим линию ┴DA.
Вектор VD0=0, следовательно, из полюса проводим направление
до пересечения с направлением ┴DA. Таким
образом, на пересечении двух линий получим точку d.
Из
плана скоростей имеем: относительные скорости
, м/с.
Для
определения скорости центров масс звеньев механизма построим на плане точки
и
:
соединив точки а и b, откладываем расстояние (as3) как 1/3 расстояния
(a,b). Получим точку
, которую
соединяем с полюсом. Это и будет вектор скорости точки
. Аналогично находим и вектор скорости точки
.
.2.2
Определение угловых скоростей звеньев
Угловую
скорость звена 2 определим по формуле:
с-1.
где
(мм) - из плана механизма.
Угловая
скорость звена 4:
(с-1).
Покажем
направление угловой скорости звена 2 . Для этого вектор относительной скорости
мысленно перенесем из плана скоростей на звено 2 в
точку В, а вектор относительной скорости
- в
точку А; посмотрим, куда повернет этот вектор звено 2. Аналогично поступим и с
определением направления
. Направления
показаны
на схеме механизма. Величины, полученных из плана скоростей, занесем в табл.
2.1.
Таблица
2.1 - Значения величин скоростей
|
N пол
|
1
|
2
|
3
|
4
|
5
|
6
|
7
|
8
|
|
pb, мм
|
0
|
48,0
|
55,3
|
30,5
|
0
|
31,0
|
55,3
|
47,0
|
|
VB,мм
|
0
|
14,4
|
16,6
|
9,2
|
0
|
9,3
|
16,6
|
14,1
|
|
pd,мм
|
57,5
|
38,5
|
14,0
|
54,0
|
51,0
|
23,0
|
8,5
|
38,0
|
|
VD,мм
|
17,3
|
11,6
|
4,2
|
16,2
|
15,3
|
6,9
|
2,6
|
11,4
|
|
pS2, мм
|
36,5
|
49,5
|
55,3
|
44,0
|
32,0
|
45,0
|
55,3
|
49,0
|
|
, м/с11,014,916,613,29,613,516,614,7
|
|
|
|
|
|
|
|
|
|
pS4, м/с
|
56,0
|
45,6
|
38,0
|
53,0
|
53,5
|
42,0
|
37,5
|
48,0
|
|
, м/с16,813,711,415,916,112,611,314,4
|
|
|
|
|
|
|
|
|
|
ab, м/с
|
55,3
|
40,0
|
0
|
40,0
|
55,3
|
39,5
|
0
|
40,0
|
|
, м/с50,936,8036,850,936,4036,8
|
|
|
|
|
|
|
|
|
|
da,мм
|
11,0
|
45,6
|
55
|
32,0
|
11,0
|
46,5
|
54,0
|
32,0
|
|
10,142,050,629,410,142,849,729,4
|
|
|
|
|
|
|
|
|
По полученным результатам строим график линейных скоростей поршня В (лист
1).
.3
Определение ускорений
.3.1 Определение линейных ускорений точек механизма
Запишем векторные уравнения ускорений:
· группа 2-3:
· группа
4-5:
Ускорение
точки А кривошипа:
м/с.
Так
как векторные уравнения ускорений решаем графически, то есть построением планов
ускорений, выбираем масштабный коэффициент планов ускорений:
,
,
где
, мм - отрезок плана ускорений, изображающий ускорение
. Точка
- полюс
плана ускорений.
Величины
и направления ускорений представлены в таблице 2.2.
Таблица
2.2.
|
Вектор
|
Величина, м/с2
|
Направление
|
Отрезок на плане, мм. Пол.2
|
Отрезок на плане, мм. Пол.7
|
|
 от А к
О
|
|
|
|
|


Строим
план ускорений. Из полюса (
)
проводим отрезок
, мм параллельно звену ОА от точки А к точке О, затем
откладываем отрезок nBA мм параллельно звену 2 от точки В к А. Из конца
вектора nBA перпендикулярно проводим направление тангенсиальной
составляющей ускорения τВА. Строим второе векторное уравнение:
, из полюса проводим направление
параллельно оси α.. Пересечение этой линии с направлением τВА определяет точку b, соединив которую с полюсом
получим вектор ускорения аB.
Для
определения ускорения aD необходимо из конца вектора аА провести вектор
нормальной составляющей ускорения nDA параллельно звену 4 от точки
D к А. Из конца вектора перпендикулярно проводим направление тангенциальной
составляющей τDA.
Т.к.
и
, то из полюса параллельно оси β проводим направление
и на
пересечении его с τDA
получим точку d.
Для
определения скорости центров масс звеньев механизма построим на плане точки
и
:
соединив точки а и b, откладываем расстояние (as3) как 1/3
расстояния (a,b). Получим точку
, которую
соединяем с полюсом. Это и будет вектор скорости точки
. Аналогично находим и вектор скорости точки
.
.3.2 Определение угловых ускорений звеньев
Направление угловых ускорений определяем по методике, положенной в п.
2.2.2., только используем вектора тангенциальных ускорений.
Подсчитаем величины линейных и угловых ускорений для 2-го положения:
м/с2 ;
м/с2 ;
м/с2 ;
м/с2 ;
;
.
3.
Синтез зубчатого механизма
Исходные данные:
Z1 =
22;
m=5;
nд=3000
об/мин;
n1=
1650об/м.
.1 Определение общего передаточного отношения зубчатой передачи
Определяем общее передаточное отношение зубчатого
механизма и число зубьев Z2:
;
.
3.2 Расчет
основных геометрических параметров зубчатой передачи
Определим геометрические параметры зубчатого зацепления, состоящего из
зубчатых колес z1= 22; z2 = 12; m =5 мм.
Считаем,
что зубчатые колеса - прямозубые, эвольвентные, цилиндрические, нарезанные
стандартным реечным инструментом, для которого:
-
коэффициент высоты головки зуба, с* = 0,25 - коэффициент радиального зазора;
- угол профиля.
Определяем:
· коэффициенты смещения реечного инструмента из условия
устранения подреза:
для колеса z2 = 22
;
для
колеса z1 = 22, x1 =
0, так как z1 > (zmin = 17),
;
· угол
эксплуатационного зацепления
:
по
значению
найдем угол
;
· коэффициент воспринимаемого смещения:
;
· коэффициент уравнительного смещения:
;
· радиальный зазор:
мм,
(c* =
0,25 - коэффициент радиального зазора);
· межосевое расстояние:
мм;
· радиусы делительных окружностей:
мм,
мм;
· радиусы основных окружностей:
мм,
мм;
· радиусы начальных окружностей:
мм,
мм,
(проверка:
; 86,4 =
55,9 + 30,5 = 86,4
мм);
· радиусы окружностей вершин:
мм,
мм;
· радиусы окружностей впадин:
мм,
мм;
(проверка:
;
59,93 + 25,22 + 1,25 = 36,4 + 48,75 = 84,6);
· толщины зубьев по делительным окружностям:
мм,
мм;
· шаг зацепления по делительной окружности:
мм.
3.3 Графические построения по результатам расчета зубчатой передачи
Картину зубчатого зацепления изображаем на листе 2.
Межосевое расстояние аw определяет расстояние между двумя осями О1 и О2 зубчатых колес.
Из центров О1 и О2 проводим окружности, радиусы которых были определены
при расчетах:
начальных окружностей rw1 и rw2, касающихся в полюсе Р;
делительных окружностей r1 и r2, расстояние между которыми равно
воспринимаемому смещению ym;
окружностей вершин rа1 и rа2, и окружностей впадин rf1 и rf2, расстояние между которыми определяют радиальные зазоры,
равные с=с×m;
основных окружностей rb1 и rb2, касательная к которым является
линией зацепления N1N2, проходящей через полюс Р.
Пересечение линии зацепления N1N2 с окружностями вершин определяет
точки В1 и В2, активонй линии зацепления В1В2.
Откладывая от точек В1 и В2 по линии N1N2 основной шаг рb=pmcosa находим границы зон одно- и двухпарного зацепления профилей
в пределах активной линии зацепления. Через точки В1 и В2 проводим окружности
точек активных профилей. Их радиусы обозначаем соответственно rр1 и rр2, а активные профили зубьев выделяем тонкой линией по
контуру зубьев ведущего и ведомого зубчатых колес.
Положение линии зацепления N1N2 относительно перпендикуляра к
межосевой линии О1О2 в полюсе зацепления определяет угол зацепления aw . Обозначение угла зацепления aw на схеме передачи показываем также
для углов N1O1P и N2O2P, которые равны
этому углу aw.
После вычерчивания всех окружностей и линии зацепления изображаем контуры
профилей зубьев. Профили зубчатых колес строим как эвольвенту, т.е. траекторию
точки М на вспомогательной прямой при обкатывании ее по основной окружности
радиуса rb2 без скольжения. Переходный профиль
принимают приближенно по дуге окружности, радиус которой не менее pf=0,38m.
При вычерчивании картины зацепления профилей используем длину шага между
зубьями по делительным окружностям, равную p=pm,
основного шага по линии зацепления N1N2, равную p=pmcosa . Точки контакта профилей расположены на линии зацепления N1N2.
3.4 Расчет
коэффициента перекрытия
На
построенной картине зубчатого зацепления находим активную часть линии
зацепления (ab), которая определяется пересечением окружностей
вершин (
и
) с
теоретической линией зацепления
.
Истинную длину (
) делим на основной шаг и получаем коэффициент
перекрытия:
.5 Расчет коэффициентов удельного скольжения
Так
как рабочие участки профилей зубьев перекатываются друг по другу со
скольжением, то на этих участках возникают силы трения, что приводит к
изнашиванию профилей. Характеристикой вредного влияния скольжения являются
коэффициенты
и
удельного
скольжения, которые можно рассчитать по формулам:
;
,
где
,
,
мм,
- длина
теоретической части линии зацепления с основной окружностью
, отсчитываемая в направлении к точке
(можно использовать отрезки, на которые делили
для построения эвольвенты).
Результаты
расчета
и
приведены
в табл. 1.
Таблица
1 - Значения коэффициентов удельного скольжения
|
x
|
0
|
23,5
|
47
|
52(р)
|
70,5
|
94
|
117,5
|
141
|
164,5
|
е=188
|
|
 -1,67-0,1400,3650,620,770,870,951,0
|
|
|
|
|
|
|
|
|
|
|
|
1,00,630,1250-0,58-1,63-3,38-6,88-17,38
|
|
|
|
|
|
|
|
|
|
|
График
функций
и
построен
на листе 1 в масштабе
1/мм
4. Силовой
расчет главного механизма
.1 Определение сил, действующих на звенья механизма
Определяем силы тяжести, силы инерции и моменты пар сил инерции звеньев
механизма:
· силы тяжести (направлены вертикально вниз):
;
;
· сила
производственного сопротивления (направлена против VС): Fпс = 13,3 кH. Для 2-го положения
кН,
кН.
· силы инерции
(направлены против соответствующих ускорений):
Н;
Н,
Н,
Н,
· моменты пар сил инерции:
;
.
Моменты
направляются против соответствующих угловых ускорений
.
Силами,
которые меньше 2% от максимальной - пренебрегаем.
Направления
всех сил и моментов пар сил инерции, а также точки их приложения показаны на
листе 3.
4.2
Определение реакций в кинематических парах без учёта сил трения
Силовой расчет выполняется методом кинетостатики, для чего на основании
принципа д'Аламбера к силам, действующим на звенья механизма, добавляем силы
инерции. Полученная система сил удовлетворяет условиям равновесия.
Силовой расчет начинаем с последней в порядке присоединения к начальному
звену группы Ассура, то есть группы звеньев 4-5 (прил. Г).
.2.1 Силовой расчет группы 4-5
На
кинематической схеме группы 4-5, изображенной на листе 3, покажем все
действующие силы и моменты. Действие отброшенных звеньев заменим реакциями:
Внешние реакции в шарнире A -
и в
поступательной паре 5-0 -
; внутренние реакции в шарнире D,
который соединяет звенья 4 и 5:
.
Разложим
реакцию
на две составляющие: нормальную
, которая направлена по звену 4 и тангенциальную
, которая перпендикулярна звену 4:
. Направления векторов
и
задаем произвольно. Если в результате расчетов
получим величину со знаком «-», тогда вектор силы направляем в противоположную
сторону.
Определяем:
из
равновесия сил, действующих на звено 4 в виде
,
найдем
реакцию
;
из
векторного условия равновесия звеньев 4 и 5
, находим
и
:
.
Выбираем
масштаб плана сил
Н/мм .
Пересчитаем
величины указанных выше сил с учётом масштаба плана и получим отрезки,
изображающие эти силы при построении:
мм;
мм;
мм;
мм.
Вектора
не указываем, т.к. они составляют менее 2мм.
Построение
плана ускорений начинаем с вектора
, из
конца которого проводим вектор FИ4 . Аналогично строим все известные вектора,
после чего из начала и конца построения проводим направления действия
неизвестных реакций. Силы
и
получаем
в точке пересечения их направлений. Силовой многоугольник изображён на листе 3.
Из
плана имеем:
Н;
кН.
внутреннюю
реакцию
определим из равновесия сил приложенных к звену 4 в
виде
:
, откуда
кН.
.2.2
Силовой расчет группы 2-3
На
кинематической схеме группы 2-3, изображенной на листе 3, покажем все
действующие силы и моменты. Действие отброшенных звеньев заменим реакциями:
Внешние реакции в шарнире A -
и в
поступательной паре 3-0 -
; внутренние реакции в шарнире В, который соединяет
звенья 2 и 3:
.
Разложим
реакцию
на две составляющие: нормальную
, которая направлена по звену 2 и тангенциальную
, которая перпендикулярна звену 2:
.
Определяем:
из
равновесия сил, действующих на звено 2 в виде
,
найдем
реакцию
;
из
векторного условия равновесия звеньев 2 и 3
, находим
и
:
.
Выбираем
масштаб плана сил
Н/мм .
Пересчитаем
величины указанных выше сил с учётом масштаба плана и получим отрезки,
изображающие эти силы при построении:
мм;
мм;
мм;
мм.
Вектора
не указываем, т.к. они составляют менее 2мм.
Построение
плана ускорений начинаем с вектора
, из
конца которого проводим вектор FИ2 . Аналогично строим все известные вектора,
после чего из начала и конца построения проводим направления действия
неизвестных реакций. Силы
и
получаем
в точке пересечения их направлений. Силовой многоугольник изображён на листе 3.
Из
плана имеем:
кН;
кН.
внутреннюю
реакцию
определим из равновесия сил приложенных к звену 2 в
виде
:
,
откуда
кН.
.2.3 Силовой расчет начального звена (звена 1)
Начальное
звено 1 крепится на одном валу с зубчатым колесом 2 (
) и получает движение от зубчатого колеса
. Уравновешивающая сила Pур направлена
по линии зацепления так, что ее момент относительно точки О уравновешивает
момент реакции R1-(2/4).
Pур определяется
из условия равновесия сил, приложенных к начальному звену (
):
откуда:
кН.
Н м,
где
- уравновешивающий момент, действующий в приводе.
Реакция
в шарнире О, определяется из условия:
:
.
Построением
плана сил находим R10:
кН.
.2.4.
Проверка правильности выполненного силового расчета.
Для
этого определим уравновешивающий момент
,
действующий со стороны привода, используя общее уравнение динамики:
Здесь
- угол между вектором силы и вектором скорости точки
приложения этой силы. Этот угол меряем на плане скоростей, перенося
соответствующую силу в полюс плана скоростей.
Оценим
погрешность силового расчета:
.
-
следовательно, силовой расчет выполнен правильно.
4.3
Определение реакций в кинематических парах с учётом сил трения
.3.1 Определение сил и моментов трения
Для проведения силового анализа механизма с учётом сил трения принимаем
коэффициенты трения fтр=0,1 и ρ=0,002.
Определяем силы и моменты трения, действующие в кинематических парах
механизма:
Н;
Н;
Нм;
Нм;
Нм;
Нм;
Нм;
Нм.
Силы
трения направлены в сторону, противоположную относительной скорости точки
приложения. Моменты трения направлены против относительной угловой скорости
соответствующих звеньев механизма.
.3.2
Силовой расчет группы 4-5
Расчёт
и построения проводим аналогично силовому расчёту без учёта сил трения, включая
в уравнения также силы и моменты трения.
Определяем:
из
равновесия сил, действующих на звено 4 в виде
,
найдем
реакцию
;
из
векторного условия равновесия звеньев 4 и 5
, находим
и
:
.
Выбираем
масштаб плана сил
Н/мм .
Пересчитаем
величины указанных выше сил с учётом масштаба плана и получим отрезки, изображающие
эти силы при построении:
мм;
мм;
Построение
плана ускорений - аналогично п.4.2.1.Силовой многоугольник изображён на листе
3.
Из
плана имеем:
Н;
кН.
внутреннюю
реакцию
определим из равновесия сил приложенных к звену 4 в
виде
:
, откуда
кН.
.3.3
Силовой расчет группы 2-3
Расчёт
и построения проводим аналогично силовому расчёту без учёта сил трения, включая
в уравнения также силы и моменты трения Определяем:
из
равновесия сил, действующих на звено 2 в виде
,
найдем
реакцию
;
из
векторного условия равновесия звеньев 2 и 3
, находим
и
:
.
Выбираем
масштаб плана сил :
Н/мм .
Пересчитаем
величины указанных выше сил с учётом масштаба плана и получим отрезки,
изображающие эти силы при построении:
мм;
мм;
Построение
плана ускорений - аналогично п.4.2.2 Силовой многоугольник изображён на листе
3.
Из
плана имеем:
кН;
кН.
внутреннюю
реакцию
определим из равновесия сил приложенных к звену 2 в
виде
:
,
откуда
кН.
.3.4 Силовой расчет начального звена (звена 1)
определяется
из условия равновесия сил, приложенных к начальному звену (
):
,
откуда:
Н м,
где
- уравновешивающий момент, действующий в приводе.
Реакция
в шарнире О, определяется из условия:
:
.
Построением
плана сил находим
:
кН.
КПД
механизма:
Синтез кулачкового механизма
Исходные данные:
;
φуд= φсб=
90º=1,57рад;
φдв= 30º;
h= 0,022 м;т= 2
кг.
5.1 Определение закона движения толкателя
По
заданному аналогу ускорения определяем закон движения толкателя. Для этого,
дважды аналитически проинтегрировав заданную функцию
, получим функции S´(φ) и ∆S(φ) :
1)
,
где
.
Начальные
условия: φ=0,
S"=0; тогда
;
)
;
Начальные
условия: φ=0,
∆S=0; тогда С2=0;
Зная
ход толкателя, определим параметр а (при φ=φуд, ∆S=h):
;
.
Подсчитанные
значения S′′, S′ и ∆
S для нескольких значений ϕ, с шагом ∆ϕ = 10°, на интервале удаления приведены в табл. 5.1.
Таблица
5.1
|
φуд
|
0º
|
10 º
|
20 º
|
22,5 º
|
30 º
|
40 º
|
45 º
|
50 º
|
|
S",м
|
0
|
0,0014
|
0,026
|
0,0308
|
0,031
|
0,029
|
0,0205
|
0,007
|
|
S´,м
|
0
|
0,0013
|
0,005
|
0,0098
|
0,0112
|
0,015
|
0,0195
|
0,022
|
|
∆S,м
|
0
|
0,00007
|
0,0006
|
0,00185
|
0,0023
|
0,004
|
0,0071
|
0,0107
|
|
S"+∆S,м
|
0
|
0,01407
|
0,0266
|
0,0327
|
0,0333
|
0,033
|
0,0276
|
0,0177
|
|
φуд
|
60
º
|
67,5
º
|
70
º
|
80
º
|
90
º
|
|
S",м
|
0
|
-0,007
|
-0,0206
|
-0,029
|
-0,031
|
|
S´,м
|
0,0224
|
0,022
|
0,0196
|
0,015
|
0,0112
|
|
∆S,м
|
0,0127
|
0,0146
|
0,0183
|
0,0213
|
0,0231
|
|
S"+∆S,м
|
0,0127
|
0,0076
|
-0,0023
|
-0,0077
|
-0,0079
|
На листе 3 приведены графики зависимостей S′′ = S′′(ϕк),
S′ = S′(ϕк), ∆ S = ∆S(ϕк).
Масштабные коэффициенты построения:
м/мм;
м/мм;
м/мм;
м/мм;
град/мм.
5.2
Определение основных параметров кулачкового механизма и построение профиля
кулачка
Для
кулачкового механизма с плоским толкателем, основным параметром является
минимальный радиус кулачка S0, определяемый по графику (S"+∆S)= (S"+∆S)(φk). По графику
определяем максимальную отрицательную ординату с добавлением 10% её величины,
образующие S0.
Пользуясь
методом инверсии (обращения движения), строим центровой профиль кулачка в
масштабе µ, =0,001 м/мм.
Строим
окружность радиусом S0, после чего откладываем на ней все фазовые углы.
Затем разбиваем углы φуд и φсб по
таблице. Соединив полученные точки с центрами окружности, откладываем на
соответствующих лучах величины ∆S. Через полученные точки
проводим перпендикуляры к этим лучам. Профиль кулачка формируется как
касательная линия внутри этих перпендикуляров (лист 4).
5.3 Расчет параметров замыкающей пружины
Определяем жесткость замыкающей пружины и усилие
предварительного сжатия из условия:
;
где
Q0 - усилие предварительного сжатия пружины, Н; mт = 2
кг - масса толкателя; С - жесткость пружины Н/м; ∆S -
перемещение толкателя, м; a = S"·ω2 - ускорение толкателя (м/с2); ω1= ωк = 172,7с-1 - угловая скорость кулачка; S"-
аналог ускорения толкателя, м.
Для
этого строим график РИт(∆S) (табл. 5.2)- (лист 4). Проводим из начала координат
касательную к графику, а затем прямую, ей параллельную, на расстоянии 0,3mт ам
(aм = S"м ω2 к- ускорение толкателя, соответствующее точке касания М). Получим
график для определения характеристик пружины.
.
Таблица
5.2
|
∆S,м
|
0
|
0,00019
|
0,0014
|
0,0043
|
0,0086
|
0,011
|
0,0134
|
0,0177
|
0,0205
|
0,0218
|
0,022
|
|
"S,м
|
0
|
0,036
|
0,055
|
0,048
|
0,019
|
0
|
-0,019
|
-0,048
|
-0,055
|
-0,036
|
0
|
|
РИт
|
0
|
-2147
|
-3281
|
-2863
|
-1133
|
0
|
1133
|
2863
|
3281
|
2147
|
0
|
Усилие предварительного сжатия пружины:
Жесткость
пружины:
кН/м.
6. Регулирование неравномерности вращения машинного агрегата. Выбор
маховика
6.1
Приведение сил и масс
При исследовании движения механизма, находящегося под действием заданных
сил, удобно все эти силы, действующие на различные звенья, заменить одной
силой, приложенной к одному из звеньев механизма. Звено приведения - звено 1.
При
этом необходимо, чтобы работа на рассматриваемом возможном перемещении или
мощность, развиваемая замещающей силой, были соответственно равны сумме работ
или мощностей, развиваемых замещающими силами. Замещающая сила называется
приведенной силой, прикладывается в точке А звена 1, а момент от этой силы
называется приведенным моментом (
) и для
данного механизма определяется для левого и правого цилиндров по формулам:
.
Величину
силы давления газа необходимо измерять на индикаторных диаграммах процесса,
происходящего в левом и правом цилиндрах, которые построены на листе 1. Для
этого измеряем длину отрезков, изображающих силы давления газов, и умножаем их
на масштабный коэффициент:
, кНм.
Результаты расчетов
сведены
в таблице 6.1 (для правого цилиндра) и 6.2 (для левого цилиндра).
Таблица 6.1
|
1
|
2
|
3
|
4
|
5
|
6
|
7
|
8
|
|
,Н113000650002500026000100900040000
|
|
|
|
|
|
|
|
|
|
,м/с014,416,69,209,316,614,1
|
|
|
|
|
|
|
|
|
|
,град___000___180180180
|
|
|
|
|
|
|
|
|
|
, Н61,3
|
|
|
,м/с11,014,916,613,29,613,516,614,7
|
|
|
|
|
|
|
|
|
|
, град1307242650103140170
|
|
|
|
|
|
|
|
|
|
, Н36,3
|
|
|
,град___404040___140140140
|
|
|
|
|
|
|
|
|
|
В,
Нм-2,5542424101452,2-7,6-872-3273
|
|
|
|
|
|
|
|
|
Таблица 6.2
|
1
|
2
|
3
|
4
|
5
|
6
|
7
|
8
|
|
,Н9000570001130005000013000200001000
|
|
|
|
|
|
|
|
|
|
,м/с17,311,64,29,215,36,9___11,4
|
|
|
|
|
|
|
|
|
|
,град1801800000___180
|
|
|
|
|
|
|
|
|
|
, Н61,3
|
|
|
,м/с16,813,711,415,916,112,611,314,4
|
|
|
|
|
|
|
|
|
|
, град1351003517468637177
|
|
|
|
|
|
|
|
|
|
, Н36,3
|
|
|
,град14214140404040140140
|
|
|
|
|
|
|
|
|
|
В,
Нм-909-3831275226701158812,8-73
|
|
|
|
|
|
|
|
|
Суммарный приведенный момент от двух цилиндров представлен в таблице 6.3.
Таблица
6.3 - Суммарный приведенный момент
:
|
Пол.
|
1
|
2
|
3
|
4
|
5
|
6
|
7
|
8
|
|
,Нм-911,51593516228151160,273,4-869,2-3346
|
|
|
|
|
|
|
|
|
На
листе 4 в левой части строим график зависимости приведенного момента сил (
) от угла поворота звена 1 (
).
Масштабные
коэффициенты:
.
.2
Определение работы сил давления газа и сил веса
Работа
сил давления газа и веса будем искать методом графического интегрирования.
Используем формулу:
.
Для
построения графика Aд нужно проинтегрировать график функции Мпр=Мпр(ф). При
графическом интегрировании на каждом интервале графика Мпр криволинейную
трапецию заменяем равным ей по площади прямоугольником. Высота каждого
прямоугольника в масштабе
представляет среднее значение Мпр в данном интервале.
Эти средние значения проектируем на ось Mпр и в полученные значения из точки Р
проводим прямые. Параллельно этим прямым на графике Aд последовательно проводим
хорды. График работ сил давления газа и веса представлен на листе 4.
Масштабный
коэффициент графика:
,
где
Н - расстояние от точки p до начала координат 0 графика Мпр.
Работа
силы P за цикл определяется по формуле:
A Д=yA ·μA,,
где yA - конечная ордината графика AД (φ).
Определяем работу сил полезного сопротивления. Для
этого начало координат зависимости AД(φ)
соединим прямой с
конечной точкой графикат AД = AД(φ). Наклонная прямая - это и есть график AC(φ).
Значения приведенной
работы сведены в таблице 6.4.
Таблица 6.4 - Приведенная работа
|
Пол.
|
1
|
2
|
3
|
4
|
5
|
6
|
7
|
8
|
1'
|
|
0489970145219402415291834133874
|
|
|
|
|
|
|
|
|
|
.3 Определение избыточной работы
Определяем избыточную работу A(φ) как разницу между функциями AД(φ) и AC(φ). Результаты расчетов сводим в
таблицу 6.5, на листе 4 строим график функции A(φ) = AД(φ)-AC(φ).
Таблица 6.5 - Избыточная работа
|
Пол.
|
1
|
2
|
3
|
4
|
5
|
6
|
7
|
8
|
1'
|
|
0-6212206498465616156545130780
|
|
|
|
|
|
|
|
|
|
.4 Определение требуемой мощности электрогенератора
для машины-двигателя
Требуемая мощность электрогенератора определяется по
следующей формуле:
кВт,
где
AД вычисляется по формуле (AД =3874 Н,
п.6.1),
,
,
. По каталогу асинхронных электродвигателей
(генераторов), условно выбираем генератор: 4АН200L2У3, для которого N=75 кВт, nн=2940
мин -1, IР=0,19 кг·м2.
.5
Построение графика приведенного момента инерции
Суммарный
момент инерции
приведенной массы агрегата есть сумма трех слагаемых:
,
где
- приведенный момент инерции масс главного механизма,
кгм2;
- приведенные моменты инерции движущихся масс
зубчатого редуктора и ротора электродвигателя, кгм2.
Для рассматриваемого механизма приведенный момент инерции определим для
правого и левого цилиндров отдельно по формуле:
,
Результаты
расчетов приведены в таблице 6.6.
Таблица
6.6
|
Положение
|
|
Величины
|
1
|
2
|
3
|
4
|
6
|
7
|
8
|
|
,кг·м20,0340,0770,0920,0520,0280,0530,0920,075
|
|
|
|
|
|
|
|
|
|
,кг·м20,0970,0620,0380,0880,0840,0450,0360,062
|
|
|
|
|
|
|
|
|
|
,кг·м20,1310,1390,1300,1400,1120,0980,1280,137
|
|
|
|
|
|
|
|
|
Приведенный момент инерции ротора электродвигателя
будет найден из равенства:
кг·м2;
где:
Iрэ - осевой момент инерции ротора электрогенератора,
выбран по каталогу (п.6.4).
-
приведенный момент инерции зубчатых колес редуктора z1-z2,кг·м2:
, кг.м2;
где
Ii - момент инерции зубчатых колес редуктора
относительно своих осей, кг·м2; ωzi -
угловая скорость i-го зубчатого колеса, с-1 .
Момент
инерции зубчатых колес вычисляем по формуле:
,
где
- масса i-го зубчатого колеса:
, кг,
(b =
0,05 м - ширина венца зубчатого колеса; у = 7,8·103 кг/м3- удельный вес стали),
rzi = m zi - радиус делительной окружности (m = 5 мм):
rz 1 =
= 0,055 м; Mz1 =3,704 кг; Iz1 =0,0056 кг·м 2 ;
rz2 =
= 0,03 м; Mz2 = 1,102 кг; Iz2 = 0,0005 кг·м2 ;
с-1.
Определим приведенній момент инерции
редуктора:
кг·м2.
Суммарный
момент инерции
заносим в табл. 6.7.
Таблица
6.7 - Суммарный момент инерции механизма
|
Пол.
|
1
|
2
|
3
|
4
|
5
|
6
|
7
|
8
|
|
0,7530,7610,7520,7620,7340,7200,7500,759
|
|
|
|
|
|
|
|
|
Сроим
на листе 4 график зависимости
в
масштабе
.
.6 Определение закона движения машины по методу
Виттенбауера
Согласно данного метода, для определения момента
инерции маховых масс строится замкнутая кривая, изображающая зависимость
изменения кинетической энергии в функции приведенного момента инерции
механизма:
.
Построив
на листе 4 графики зависимости
и
, кривая Виттенбауера образуется на пересечении
координат одноименных точек, определяющих положения механизма. Соединив построенные
точки и замкнув линию, получим таким образом кривую Виттенбауера, после чего
проводим к ней касательные сверху и снизу под углами
и
.
Определяем
тангенсы этих углов из выражения:
где
- допустимый коэффициент неравномерности хода, для
данного варианта
=0,012.
Из
данных выражений определяем углы
и
Момент
инерции маховый масс:
кг·м2.
Вывод:
для снижения внутренней виброактивности и неравномерности движения машины
необходима установка маховика с моментом инерции маховых масс
кг·м2. Данный момент инерции выдерживается путём
подбора массы маховика и диаметра его обода.
Список
источников информации:
1. Теория механизмов и машин: Учеб. для ВТУЗов /К. В.Фролов, С. А.Попов и
др./Под ред. К. В. Фролова. - М.: Высш.шк., 1987, 496 с.
. Теория механизмов и машин /Системный подход/: Учеб. пособие /А. А.
Грунауэр, И. Д. Долгих. К.: УМК ВО, 1992, 384 с.
. Асинхронные короткозамкнутые трехфазные электродвигатели серии 4А
основного исполнения ГОСТ 19523-74.
. Кореняко А. С. Курсовое проектирование по ТММ. -К.: Вища школа, 1970,
330 с.
. Теория механизмов и машин. Задания на курсовой проект и методические
указания по его выполнению для студентов машинострои-тельных специальностей. В.
Н. Загребельный, А. А. Зарубина, Г. А. Кротенко и др. - Харьков: НТУ «ХПИ»,
2001. - 28 с.