Расчет статической характеристики клапанов давления заданной структуры

  • Вид работы:
    Дипломная (ВКР)
  • Предмет:
    Физика
  • Язык:
    Русский
    ,
    Формат файла:
    MS Word
    495,96 kb
  • Опубликовано:
    2011-05-08
Вы можете узнать стоимость помощи в написании студенческой работы.
Помощь в написании работы, которую точно примут!

Расчет статической характеристики клапанов давления заданной структуры

Содержание

1. Цель расчётного задания

. Постановка задачи и исходные данные

. Назначение, устройство и принцип действия клапана

. Математическая модель

. Определение площадей проходных сечений

. Расчёт и построение статической характеристики

. Построение графической зависимости коэффициента расхода рабочей щели основного клапана от числа Рейнольдса и гидродинамической силы от открытия рабочей щели клапана

. Вывод по проделанной работе

. Список использованной литературы

1. Цель расчётного задания

Целью расчётного задания является закрепление и углубление знаний, полученных в процессе изучения лекционного курса, а также приобретение навыков расчёта статической характеристики клапанов давления заданной структуры.

2. Постановка задачи и исходные данные

клапан рейнольдс гидродинамический рабочий щель

Для заданной конструктивной схемы клапана, известных базовых параметров, условиях и ограничениях задачи необходимо:

Рассчитать зависимость регулируемого давления от расхода жидкости;

Определить расчётное значение показателя качества клапана, характеризующего точность регулирования давления, сравнить его с граничным значением, определяющим порог конкурентоспособности аппарата;

Провести качественный анализ возможностей улучшения рассматриваемого показателя качества за счёт изменения конструктивных размеров клапана;

Исходными данными для расчёта являются:

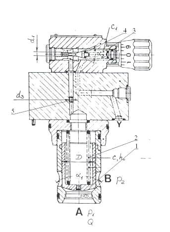
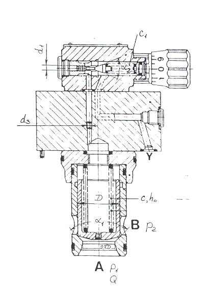
Конструктивная схема клапана.

Рис.2.1. Конструктивная схема клапана непрямого действия.

Линейные размеры и углы (см. рис.1):

       

Жесткость и предварительное сжатие пружины основного клапана С, h0, жесткость пружины управляющего клапана С1:

     

Максимальный расход рабочей жидкости через клапан Qmax:

 

Давление настройки клапана p0:

 

Давление на выходе из клапана (для напорного клапана) p2:

  

Плотность рабочей жидкости ρ:

 

Изменение регулируемого давления в диапазоне расходов от Qmin до Qmax, которое должно быть не более Δp:

 

Коэффициенты расхода щелей основного клапана μк, управляющего клапана μу и дросселя μдр(диафрагменный):

основного ЗРЭ (цилиндр-конус):


-вспомогательного ЗРЭ(конус-цилиндр):


дросселя:


3. Назначение, устройство и принцип действия клапана

Напорные клапаны предназначены для ограничения давления в подводимом к ним потоке рабочей жидкости.

В зависимости от воздействия потока жидкости на запорно-регулирующий элемент напорные клапаны делятся на клапаны прямого и непрямого действия. В клапанах прямого действия рабочее проходное сечение изменяется в результате непосредственного воздействия потока жидкости за запорно-регулирующий элемент.

Напорные клапаны прямого действия просты, надежны, дешевы. Однако для больших расходов и давлений они не применимы, так как требуются более мощные пружины. При этом увеличиваются габариты, трудно обеспечить допустимую неравномерность давления.

В этих условиях применяют клапаны давления непрямого действия, конструктивная схема, которых показаны на рис. 2.

Напорные, клапаны непрямого действия состоят из основного клапана 1 и вспомогательного (управляющего) клапана 4. Значение давления, которое ограничивает клапан, устанавливается с помощью регулировочного винта, воздействующего на пружину 3 вспомогательного клапана.

Напорный, клапан непрямого действия может работать в двух режимах. При работе в режиме предохранительного клапана он ограничивает давление в гидролинии, к которой клапан подсоединяется. Если давление в ней не превышает допустимого значения, то конус клапана 4 прижат к седлу; силы давления, действующие на клапан 1 сверху и снизу, одинаковы, и основной клапан 1 под действием пружины 2 занимает нижнее положение, перекрывая при этом подводимую к клапану гидролинию.

Когда давление р превышает значение, установленное пружиной 3, конус 4 приподнимается, жидкость через дроссель 5 идет на слив, на дросселе возникает перепад давления, под действием которого клапан 1 поднимается, открывая проходное сечение и перепуская расход рабочей жидкости Q на слив.

Рис. 3.1. Схема расположения рабочих органов клапана.

При работе в режиме переливного клапана через рассматриваемый гидроаппарат сбрасывается на слив излишек расхода рабочей жидкости Q, который не в состоянии пропустить дроссельные устройства гидросистемы. В этом режиме работы значение давления должно оставаться практически постоянным, что напорный клапан непрямого действия и.обеспечивает. Так как через клапан всегда должен сливаться тот или иной расход жидкости, клапан 1 находится в приподнятом положении, что возможно лишь при наличии расхода жидкости через клапан 4 и, следовательно, перепада давления на дросселе 5. Значение этого расхода небольшое и обычно не превышает 0,5-1 л/мин.

При увеличении расхода Q который клапан должен пропустить, увеличивается давление р, конус поднимается несколько выше установившегося положения, увеличивается расход Qдр и перепад давления на дросселе 5. Основной клапан несколько приподнимается, увеличивая проходное рабочее сечение, что приводит к пропуску большего расхода и, следовательно, к уменьшению давления р.

4. Математическая модель

. Уравнение равновесия основного заполно-регулирующего элемента:

                           (4.1)

- жесткость пружины основного клапана;- предварительное сжатие;- открытие рабочей щели;- диаметр основного клапана(рис.1);- давление в междроссельной камере.

. Уравнение расхода, протекающего через рабочую щель основного ЗРЭ:

                       (4.2)

к-расход, протекающий через рабочую щель;

μк- коэф. расхода основного ЗРЭ;щк-площадь проходного сечения рабочий щели;

ρ - плотность рабочей жидкости.- давление под нижнем торцом основного ЗРЭ- давление слива.

. Уравнение расхода, протекающего через дроссель:

                     (4.3)

др-расход, протекающий через дроссель;

μдр- коэф. расхода дросселя;др-площадь проходного сечения дроссель;

ρ - плотность рабочей жидкости;- давление под нижнем торцом основного ЗРЭ;- давление в междроссельной камере.

. Уравнение расхода, протекающего через рабочую щель вспомогательного клапана:

у-расход, протекающий через рабочую упр. клапана;

μу- коэф. расхода упр. клапана;щу-площадь проходного сечения рабочей щели;

ρ - плотность рабочей жидкости;- давление в междроссельной камере;- давление слива.

. Уравнение неразрывности для системы "дроссель-вспомогательный клапан":

                        (4.5)

. Уравнение равновесия вспомогательного запорно-регулирующего элемента:

 (4.6)

- жесткость пружины упр. клапана;

х0- предварительное сжатие;

х - открытие рабочей щели;- диаметр основного клапана(рис.1);- давление в междроссельной камере;у- площадь упр. клапана.- давление слива.

для основного клапана:

. Уравнение настройки вспомогательного клапана:

 (4.7)

- жесткость пружины упр. клапана;

х0- предварительное сжатие;- давление настройки клапана;у- площадь упр. клапана.- давление слива.

. Геометрические зависимости, определяющие изменение площадей проходных сечений рабочих щелей для основного и вспомогательного клапанов ЗРЭ(см. рис.3):

 (4.8)

щк-площадь проходного сечения рабочей щели основного ЗРЭ;- диаметр основного клапана(рис.1);- открытие рабочей щели основного клапана;

α1- угол (рис.1)

для вспомогательного клапана:

 (4.9)

щу-площадь проходного сечения рабочей щели упр. ЗРЭ;- диаметр упр. клапана(рис.1);- открытие рабочей щели упр. клапана;

α2- угол (рис.1).

. Уравнение гидродинамической силы Rгд для основного ЗРЭ, определяемой по следующей эмпирической зависимости:

                     (4.10)

щк-площадь проходного сечения рабочей щели основного ЗРЭ;к - площадь клапана основного ЗРЭ;

μк- коэф. расходаосновногоЗРЭ;

β- угол истечения струи из щели;- давление под нижнем торцом основного ЗРЭ;- давление слива.

5. Определение площадей проходных сечений

Рис.5.1. Расчётная схема по определению площадей проходных сечений.

Площадь проходного сечения основного ЗРЭ:

                        (5.1)

 

Площадь проходного сечения управляющего ЗРЭ:

                       (5.2)

 

Площадь проходного сечения дросселя:

                       (5.3)

 

6. Расчёт и построение статических характеристики

Найдём предварительное сжатие пружины управляющего клапана из уравнения настройки вспомогательного клапана:

(6.1)

 

Составим систему статических уравнений, из которых мы определим открытие вспомогательного клапана x, открытие основного клапана h, регулируемое давление p1 и давление в междроссельной камере p3 в зависимости от расхода:

 (6.2)


Решая эти уравнение в математическом пакете MathCAD получим необходимые нам величины:


Найдём изменение площадей проходных сечений рабочих щелей для вспомогательного клапанов ЗРЭ по уравнению (4.9) и расход через управляющий клапан использую уравнение расхода, протекающего через рабочую щель управляющего клапана (4.4):


Рис. 6.1. Статическая характеристика клапана.

На основе полученных данных построим статическую характеристику и оценим пригодность его эксплуатации по показателю качества:

Определим неравномерность давления, выступающее в роле показателя качества:

                   

Вывод: По результатам расчета и графику статической характеристики клапана видно, что неравномерность давления клапана выходит за допустимые пределы работы клапана (Δp=0,8 МПа), которые даны в задании (Δpрасчет>Δp), следовательно, данный клапан не удовлетворяет техническим требованиям и не пригоден к эксплуатации.

Изменение давления Δp в рабочей зоне изменения расхода от минимального до номинального зависит от диаметра клапана и жесткости пружины, следовательно, для уменьшения неравномерности давления клапана нужно изменять эти параметры для входа в допустимые пределы работы клапана.

7. Построение графической зависимости коэффициента расхода рабочей щели основного клапана от числа Рейнольдса и гидродинамической силы от открытия рабочей щели клапана

Для определения числа Рейнольдса воспользуемся формулой:

                            (16)

где, Q - -асход через клапан; ε - коэффициент сжатия( он у нас равен 1); D - диаметр основного ЗРЭ; ν - кинематическая вязкость(ν=0,12 Ст)

Для определения коэффициента расхода рабочей щели воспользуемся данной формулой:

                          (17)

где, соответственно, μк - -оэффициент расхода основного ЗРЭ; Rei - i-ое значение числа Рейнольдса( для каждого значения расхода); Reк- постоянная коэффициента коррекции, вычисляемая по формуле:

    

где, Kμ =0,045 (для всех щелей он одинаков)

В итоге мы имеем:

Рис.7.1. Зависимость коэффициента расхода от числа Рейнольдса.

Теперь построим зависимость гидродинамической силы от открытия рабочей щели клапана. Для этого воспользуемся уравнениями из математической модели, а именно уравнениями (8) и (10). Для разных значений открытия рабочей щели имеем:


По полученным данным строим искомую зависимость:

График 7.2. Зависимость гидродинамической силы от открытия рабочей щели клапана.

Вывод: Все необходимые зависимости были успешно получены, графики соответствуют виду теоретическим типовым характеристикам напорного клапана непрямого действия.

8. Вывод по проделанной работе

В результате проделанного расчётного задания я закрепил и углубил знания, полученные в процессе изучения лекционного курса, приобрел навыки расчёта статической характеристики клапанов давления заданной структуры, а также усвоил методику оформления технической документации, изложенной в методическом пособии [2].

Похожие работы на - Расчет статической характеристики клапанов давления заданной структуры

 

Не нашли материал для своей работы?
Поможем написать уникальную работу
Без плагиата!
Без нейросетей!