Разработка автономного радиомаяка

  • Вид работы:
    Дипломная (ВКР)
  • Предмет:
    Информатика, ВТ, телекоммуникации
  • Язык:
    Русский
    ,
    Формат файла:
    MS Word
    737,11 kb
  • Опубликовано:
    2012-01-12
Вы можете узнать стоимость помощи в написании студенческой работы.
Помощь в написании работы, которую точно примут!

Разработка автономного радиомаяка













Диплом

Разработка автономного радиомаяка

Введение

Актуальной проблемой на сегодняшний день является разработка новых методов получения электрической энергии, необходимой для питания электрооборудования автономных устройств, к которым относятся навигационные буи, речные бакены и т. п. В них источниками электропитания обычно являются сухие гальванические батареи и аккумуляторы различных типов. Существуют устройства, в которых энергия вырабатывается от течения воды и ветра. Эти устройства состоят из гидротурбины или лопастей, соединяющиеся с электрогенератором.

В данном дипломном проекте предлагается навигационный буй, в котором электрическая энергия вырабатывается при воздействии на него течения, ветровой нагрузки и волнения поверхности воды. Устройство содержит маятник, находящийся в надводной части буя, отклоняясь на некоторый угол, он воздействует на пьезоэлемент, в результате механические напряжения вызывают появление электрических зарядов на электродах пьезоэлемента, полученная электрическая энергия преобразуется в необходимое напряжение питания, накапливается и поступает к электрооборудованию буя: фотоавтомат (с лампой накаливания), радиопередатчик. Таким образом, в данном устройстве используется свойство прямого пьезоэлектрического эффекта, т. е. возникновение электрической поляризации под действием механического напряжения.

1. Анализ состояния проблемы

навигационный буй пьезоэлектрический генератор

Буй (гол. boei) устанавливается на якоре в проливах, каналах, портах или морях с целью ограждения банок, мелей, рифов и других опасных мест. В зависимости от места расположения различают морские, речные, лиманные и канальные буи [1]. По характеру видимого силуэта сигнальной фигуры плавучие знаки делятся на четыре типа: 1-й тип - треугольный, 2-й тип - прямоугольный, 3-й тип - круглый, 4-й тип - линейный. К последнему типу относятся знаки удлинённой формы - ледовые буи и вехи. Высота расположения огня над уровнем воды составляет от 1 до 3 м [2]. Буи в основном изготавливают из металла, причём морские буи обладают к тому же хвостовой частью (противовесом). Могут дополнительно снабжаться огнями, отличительными фигурами, радиолокационными маяками-ответчиками и звукосигнальными устройствами (свистком, колоколом). Окраска и освещение зависят от принятой системы расстановки плавучих знаков [1].

Принятые в 1979 году на XI Ассамблее Международной морской организации (IMO) решения о создании Глобальной морской системы связи при бедствии (ГМССБ или GMDSS) стимулировали создание специальных, принципиально новых средств для подачи сигналов бедствия и проведения поисково-спасательных операций, позволяющих потерпевшим бедствие стать их активными участниками на любом этапе [3].

Входящие в состав ГМССБ радиоэлектронные средства, предназначенные для использования при бедствии, выполняют следующие функции:

)        передачу сигналов для сообщения о бедствии, опознавания терпящего бедствие и определения его координат вне зависимости от района аварии;

)        передачу сигналов для обнаружения терпящих бедствие и наведения на них спасательных судов или летательных аппаратов;

)        обеспечение связи на месте проведения поисково-спасательных работ и координации действий спасателей и спасаемых.

Для выполнения этих функций в состав каждого судна должны входить следующие обязательные радиоэлектронные средства:

)        аварийный радиобуй АРБ-406 спутниковой системы поиска и спасения КОСПАС-САРСАТ;

)        радиолокационный маяк-ответчик;

)        переносная УКВ - радиостанция.

Особое место в Глобальной морской системе связи при бедствии занимает Международная спутниковая система поиска и спасания КОСПАС-САРСАТ, являющаяся единственным средством, способным в любое время суток, в любых гидрометеорологических условиях и в любой точке земного шара обнаружить терпящее бедствие судно, опознать его и определить с высокой точностью его координаты.

При аварии судна радиобуй активируется. Это либо происходит автоматически при попадании радиобуя в воду, либо буй активируется вручную. Включенный АРБ излучает радиосигналы на частотах 406,025 МГц (спутниковый канал) и 121,5 МГц (радиомаяк). На большинстве радиобуев устанавливаются световые импульсные маяки для их визуального обнаружения в темное время суток, а иногда и радиолокационный спасательный ответчик.

Сигналы спутникового канала используются для передачи сигналов бедствия, опознавания (определения идентификационного номера АРБ) и определения его координат. Сигналы радиомаяка с частотой 121,5 МГц используются для поиска терпящих бедствие и наведения на них поисковых самолетов, вертолетов и судов, оснащенных УКВ - пеленгаторами.

Сигналы АРБ с частотой 406 МГц принимаются вращающимися на низких орбитах ИСЗ и ретранслируются на наземные станции для дальнейшей обработки - определения координат, опознавания и передачи сообщения о бедствии в координационный центр, в зону ответственности которого входит место бедствия. Идентификация и опознавание АРБ осуществляется по идентификационному номеру, выделяемому в России Государственным предприятием МОРСВЯЗЬСПУТНИК, устанавливаемому на заводе-изготовителе и содержащемуся в сигнале спутникового канала [3].

К аварийным радиобуям можно отнести следующие: АРБ-М-406, АРБ-МКС, АРБ-МКС-01, АРБ-ПК, АРБ-ПК-10, АРБ-ГС, АРБ-Е3 и др. [3,4].

В таблице 1.1 приведены технические характеристики АРБ-М-406 [4].

Таблица 1.1

Частота

406,028 МГц

Форматы сообщений

Любой вид протокола для морских судов

Модуляция

Фазовая (1,1 радиан)

Глубина самоотделения

от 2 до 4 м

Выходная мощность передатчика спутникового канала

от 3,2 до 7,8 Вт

Выходная мощность передатчика ближнего привода, не менее

0,05 Вт

Длительность работы, не менее

48 ч

Диапазон рабочих температур

от минус 20 до плюс 55 0С

Источники питания LSH20, ER20S

3 эл.

Срок службы батареи

4 года

Габариты

247×Ф123 мм

Масса, не более

1,5 кг


Для улучшения эффективности радиолокационного обнаружения объектов с низкой эффективной поверхностью рассеивания в ГМССБ введен радиолокационный маяк-ответчик (РМО), предназначенный для установки на спасательные плоты и шлюпки и являющийся обязательным элементом любых морских судов [3].

РМО представляет собой приемопередатчик, работающий на частоте 9 ГГц, выделенной для судовых и авиационных радиолокаторов. РМО имеет встроенный источник питания - батареи, обеспечивающие их длительное хранение в заряженном состоянии. На больших судах РМО входят в комплект спасательных плотов или шлюпок и после их спуска на воду устанавливаются на заранее предусмотренные для этого места. Будучи включенным, РМО сразу начинает работу в ожидающем режиме.

При облучении РМО сигналами радиолокатора он начинает излучать ответные сигналы, которые легко обнаруживаются радарами и отображаются на их экранах в виде характерной прямой прерывистой линии из точек, позволяющей легко обнаружить терпящих бедствие на фоне отражений от различных объектов, определить направление на ответчик и дальность до него. Для оповещения терпящих бедствие о подходе спасателей в РМО имеется звуковая или световая индикация, сообщающая об их облучении сигналами судовых или авиационных радиолокаторов.

Согласно техническим условиям, РМО должны работать в ожидающем режиме в течение 96 часов при температуре окружающей среды от -20 до +50°С и обеспечивать прием радиолокационных сигналов и генерацию ответного сигнала в штормовых условиях на расстоянии по меньшей мере 15 миль от радиолокатора [3].

К РМО можно отнести следующие: радиомаяк Р-855А2, РМО RT-9, РМО «ГУММИТ» и др. [4,5,6].

В таблице 1.2 приведены технические характеристики радиомаяка Р-855А2 [4].

Таблица 1.2

Рабочие частоты

121,5 и 243 МГц

Мощность передатчика, не менее

100 мВт

Напряжение питания, от батареи Прибой-2С

8,5 В

Время непрерывной работы от одной батареи

36 ч

Интервал рабочих температур

от минус 60 до плюс 65 0С

Габариты

130×68×32 мм

Вес полного комплекта

800 г


Светосигнальные приборы, применяемые на внутренних водных путях, содержат источник света и оптическую систему (линзу или отражатель), перераспределяющую световой поток источника. Для изменения цветности светового пучка используют соответствующие светофильтры. Сочетание источника света, оптической системы и светофильтра принято называть светооптической системой или световой частью прибора [2].

Источники света подразделяются на два основных вида - тепловые и люминесцентные. К тепловым источникам относятся электрические лампы накаливания и все пламенные источники света (ацетиленовые, пропановые) [2].

В таблице 1.3 приведены технические характеристики электрических ламп накаливания [2].

Для водных сигнальных ламп нормируется минимальная продолжительность горения - число часов горения, до которого должно догорать не менее 85 % ламп. При этом снижение светового потока от минимального, установленного техническими условиями, должно быть не более чем на 11 - 14 % у ламп на 6 В и не более чем на 28 - 40 % у ламп на 2,5 В.

К люминесцентным источникам света относятся газоразрядные, полупроводниковые и радиоизотопные.

Газосветные трубки - газоразрядные источники света, в которых используют свечение тлеющего разряда в инертных газах. К ним можно отнести ГР-20 (газосветная, рекламная, номинальный ток 20 мА) с диаметром от 10 до 18 мм, ГСК-5 и ГСЗ-5 (номинальный ток 5 мА). Напряжение горения может изменяться от нескольких сот до 1000 В и более. Напряжение зажигания в 1,5 - 2 раза выше напряжения горения. Продолжительность горения составляет 6000 часов и выше.

Таблица 1.3

Тип лампы

Номинальные значения

Продолжитель-ность горения, ч


Напряжение, В

Мощность, Вт

Световой поток, лм


СГВ 2,5-0,16 СГВ 2,5-0,16-1 СГВ 2,5-0,24 СГВ 2,5-0,24-1 СГВ 2,5-0,45 СГВ 2,2-0,45-1 СГВ 6-2-1 СГВ 6-2 СГВ 6-3-1 СГВ 6-3 СГВ 6-6-1 СГВ 6-6 СГВ 6-12-1 СГВ 6-12

2,5 2,5 2,5 2,5 2,5 2,5 6,0 6,0 6,0 6,0 6,0 6,0 6,0 6,0

0,4 0,4 0,6 0,6 1,1 1,1 2,0 2,0 3,0 3,0 6,0 6,0 12,0 12,0

1,8 1,8 2,7 2,7 6,0 6,0 13,0 13,0 22,0 22,0 60,0 60,0 132,0 132,0

500 500 500 500 500 500 500 500 500 500 500 500 300 300


Существуют автоматические устройства, управляющие навигационными огнями, которые называются фотоавтоматами. Их основные функции:

)        включение навигационных огней на период тёмного времени суток и выключение их на светлое время суток (для этого в фотоавтоматах имеются светочувствительные фотодатчики);

)        создание временных режимов горения огней (предусмотренных ГОСТ 133311-74) - проблескового, затмевающегося, двухпроблескового, частопроблескового, группочастопроблеско-вого и режима постоянного горения огня. Для этого в фотоавтоматах имеются времязадающие генераторы.

В зависимости от применяемых ламп напряжение источника питания фотоавтоматов может составлять 1,7 - 16,0 В и 220 В (сетевое напряжение).

Для плавучих навигационных знаков к автономными источниками питания можно отнести сухие гальванические батареи (для разных типов батарей начальное напряжение составляет 1,28 - 1,3 В, конечное напряжение - 0,7 - 1,0 В; допустимый ток разряда при непрерывном режиме горения - 0,25 -0,6 А, в проблесковом режиме - 0,5 - 1,2 А; диапазон рабочих температур составляет от минус 15 до плюс 40 0С), щелочные аккумуляторы (ЭДС полностью заряженного аккумулятора составляет 1,4 - 1,45 В, при подключении нагрузки - 1,2 В; номинальный зарядный и разрядный ток составляет 11,25 - 31 А и 5,65 - 12,50 А соответственно; диапазон рабочих температур составляет от минус 20 до плюс 40 0С), солнечные батареи (ЭДС, не менее 9,1 В; ток короткого замыкания, не менее 0,78 А; номинальный ток при напряжении 7 В, не менее 0,66 А; диапазон рабочих температур составляет от минус 30 до плюс 50 0С), радиоизотопные генераторы и др. [2].

Сухие гальванические батареи и щелочные аккумуляторы содержат в себе редкоземельные материалы, что является причиной высокой стоимости таких источников питания.

Известны устройства, которые вырабатывают энергию при воздействии альтернативных источников, таких как проточная вода (реки, ручьи), ветер, обладающие кинетической энергией, основным элементом которых является гидротурбина или лопасти и генератор электрической энергии.

Гидравлической турбиной называется двигатель, предназначенный для преобразования энергии водного потока в механическую энергию. При помощи гидрогенератора, ротор которого обычно укрепляется на одном валу с турбиной, механическая энергия вращения преобразуется в электрическую [7].

Гидравлические турбины по характеру передачи энергии водного потока рабочему колесу делятся на две группы: реактивные и активные. К реактивным турбинам можно отнести три типа: радиально-осевые, пропеллерные и поворотно-лопастные, а к активным - ковшовые (свободноструйные) турбины.

Классификация гидротурбин приведена в таблице 1.4.

Таблица 1.4

Характеристика

Реактивные

 Активные ковшовые


поворотно- лопастные

пропел- лерные

радиально- осевые


Предельная мощность, кВт  Коэффициент полезного действия

 250  0,94

 150  0,85 (малые) 0,92 - 0,94 (крупные)

 500  0,92

 110  0,88


Серьёзным недостатком гидротурбин является резкое снижение к. п. д. при расходах, меньших расчётного. Например, у пропеллерных турбин при расходе воды около 30 % расчётного к. п. д. приближается к нулю [7].

К устройствам, содержащих гидротурбину или лопасти и генератор электрической энергии, можно отнести речной навигационный буй со встроенной гидроэнергетической установкой, генератор универсальный, машина для преобразования энергии воды, сигнальный буй, энергоагрегат, плавучая маломощная гидроэлектростанция с вертикальным ротором, бакен с автоматическим проблесковым огнём, устройство для преобразования энергии гидравлического потока в электрическую [8, 9, 10, 11, 12, 13, 14, 15].

Наиболее уязвимым элементом таких устройств является гидротурбина. К её недостаткам можно отнести непостоянные обороты, ржавление, что требует проведения регулярного технического обслуживания. Также гидротурбина может подвергаться механическим повреждениям от мусора, плывущего по реке.

Наиболее ярким представителем этой группы устройств является речной навигационный буй со встроенной гидроэнергетической установкой [8].

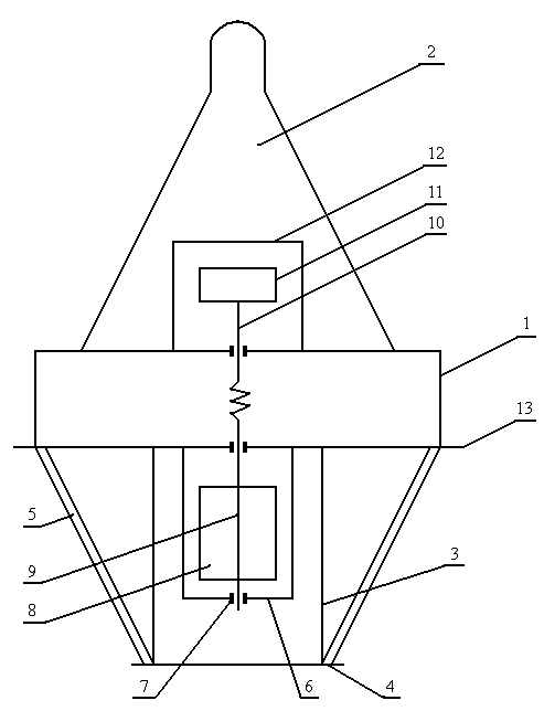
Сущность этого устройства поясняется на рисунке 1.1, на котором изображена конструктивная схема буя со встроенной гидроэнергетической установкой. Центральным элементом буя является поплавок 1, соединяющий надводную часть, выполненную в виде сигнальной фигуры 2, и подводную часть, имеющую ферменную конструкцию. Эта конструкция включает в себя две вертикальные пластины 3, жестко связанные с поплавком 1 и нижней поперечной пластиной 4, которая дополнительно связана с поплавком 1 четырьмя стойками 5. Между вертикальными пластинами 3 и стойками 5 установлена рама 6, в которой на опорах 7 размещена гидротурбина 8 с вертикальным валом 9, соединенным гибкой передачей с валом генератора 10. Генератор 11 размещен в водозащитной камере 12, которая смонтирована на поплавке 1 внутри сигнальной фигуры 2. Вдоль нижнего края поплавка установлен мусорозащитный щиток 13.

Данное устройство функционирует следующим образом. Буй обтекается потоком воды, который взаимодействует с гидротурбиной, поплавком и неподвижными деталями конструкции подводной части буя. Взаимодействие потока с гидротурбиной приводит к её вращению, которое через вал турбины передается ротору генератора. В результате в генераторе вырабатывается электрический ток, необходимый для питания электрооборудования буя.

Монтаж гидротурбины в раме и размещение этой рамы внутри ферменной конструкции в подводной части буя защищают гидротурбину от повреждений. Защита от мусора осуществляется двумя способами. Первый способ - установка мусорозащитного щитка вдоль нижнего края поплавка и второй способ защиты - выбор расстояния между вертикальными пластинами, конструкции гидротурбины и ее размеров такими, чтобы плывущий мусор, мог беспрепятственно проходить через ферменную конструкцию подводной части буя. Вращение гидротурбины способствует ее самоочищению [8].

1 - поплавок; 2 - надводная часть в виде сигнальной фигуры; 3 - вертикальная пластина; 4 - нижняя поперечная пластина; 5 - стойка; 6 - рама; 7 - опора; 8 - гидротурбина, 9 - вертикальный вал; 10 - вал генератора, 11 - генератор; 12 - водозащитная камера; 13 - мусорозащитный щиток.

Рисунок 1.1 - Речной навигационный буй со встроенной гидроэнергетической установкой

Известны также устройства, в которых электрическая энергия вырабатывается в результате прямого пьезоэффекта. К ним можно отнести пьезоэлектрическую газовую зажигалку с узлом жиклера, устройство для воспламенения и сжигания горючей смеси в двигателях внутреннего сгорания, способ получения разности электрических потенциалов, колесо с трансформацией энергии механической деформации в электрическую, пьезоэлектрический генератор, пьезоэлектрический генератор постоянного тока, устройство для преобразования энергии гидравлического потока в электрическую, генератор постоянного тока, пьезоэлектрическая система зажигания для двигателя внутреннего сгорания [15, 16, 17, 18, 19, 20, 21, 22, 23, 24, 25, 26].

Пьезоэлектрический эффект в кристаллах был обнаружен в 1880 г. братьями Пьером и Жаком Кюри, наблюдавшими возникновение на поверхности пластинок, вырезанных при определённой ориентировки из кристалла кварца, электростатических зарядов под действием механических напряжений. Эти заряды пропорциональны механическому напряжению, меняют знак вместе с ним и исчезают при его снятии [27, 28, 29].

Образование электростатических зарядов на поверхности диэлектрика и возникновение электрической поляризации внутри него в результате воздействия механического напряжения называют прямым пьезоэлектрическим эффектом.

Наряду с прямым существует обратный пьезоэлектрический эффект, заключающиеся в том, что в пластине, вырезанной из пьезоэлектрического кристалла, возникает механическая деформация под действием приложенного к ней электрического поля, причём величина механической деформации пропорциональна напряжённости электрического поля.

Пьезоэлектричество появляется только в тех случаях, когда упругая деформация кристалла сопровождается смещением центров тяжести положительных и отрицательных зарядов элементарной ячейки кристалла, т. е. когда она вызывает индивидуальный дипольный момент, который необходим для возникновения электрической поляризации диэлектрика под действием механического напряжения. В структурах имеющих центр симметрии, никакая однородная деформация не сможет нарушить внутреннее равновесие кристаллической решётки и, следовательно, пьезоэлектрическими являются кристаллы только 20 классов, у которых отсутствует центр симметрии. Отсутствие центра симметрии является необходимым, но не достаточным условием существования пьезоэлектрического эффекта, и поэтому не все ацентричные кристаллы обладают им. Пьезоэлектрический эффект не может наблюдаться в твёрдых аморфных и скрытокристаллических диэлектриках (почти изотропных), так как это противоречит их сферической симметрии. Исключение составляют случаи, когда они становятся анизотропными под влиянием внешних сил и тем самым частично приобретают свойства одиночных кристаллов. Пьезоэффект возможен также в некоторых видах кристаллических текстур.

Существует четыре основные группы материалов, из которых изготавливается пьезокерамика: титанат бария, цирконат-титанат свинца (ЦТС), ниобат свинца, ниобат натрия-калия. Из них наиболее широкое применение получили материалы на основе цирконата-титаната свинца, что объясняется как высокими пьезоэлектрическими параметрами этих материалов, так и возможностью изменять их в широких пределах. В таблице 1.5 приведены характеристики некоторых материалов ООО "Аврора-ЭЛМА". В настоящие время известно много веществ (более 500), обнаруживших пьезоэлектрическую активность. Однако только немногие из них находят практическое применение.

Таблица 1.5

Марка материала

Диэлектрическая проницаемость ε33

Пьезомодуль (d) 10-12, Кл/Н

Коэффициент электромеанической связи Kp

Точка Кюри T, 0С

Плотность ρ,кг/м3



d31

d33




ЦТС-19 ЦТС-19М ЦТСтБС-1 ЦТС-24 ЦТС-24М ЦТССт-3 ЦТБС-3 ЦТСНВ-1 ЦТС-35 ЦТС-22

1700 1900 4100 900 950 1400 2325 2325 1000 700

175 183 289 100 100 122 158 200 80 46

360410 6003340 255 290 360 425 200 102

0,56 0,62 0,65 0,50 0,52 0,53 0,52 0,59 0,45 0,33

290 300 170 270 280 280 180 240 300 320

7600 7600 7550 7400 7550 7400 7200 7300 7400 7400


В работах [27, 28, 29, 30, 31, 32] процессы в пьезоэлектрической среде обычно описывают посредством матричных пьезоэлектрических уравнений (фундаментальных уравнений элементарного объема пьезоэлектрической среды). Эти уравнения выглядят следующим образом:

,                             (1.1)

,                                     (1.2)

,                              (1.3)

,                                         (1.4)

где: D - электрическая индукция;

S - механическая деформация;

Е - электрическое поле;

Т - механическое напряжение;

 - модули упругости (модули Юнга), измеренные соответственно при постоянных индукции или поле (тензоры четвертого ранга);

 - коэффициенты податливости (тензоры четвертого ранга);

 - величины, обратная диэлектрической постоянной (тензоры второго ранга);

 - пьезоэлектрический модуль (тензор третьего ранга) численно равен заряду, возникшему на единице поверхности пьезоэлемента при приложении к нему единицы давления [32];

, ,  

модули, связывающие в определенных условиях электрические и механические величины (тензоры третьего порядка).

При деформации пьезоэлектрика ему сообщается механическая энергия, при приложении электрического поля - электрическая. Коэффициент электромеханической связи есть квадратный корень из той доли механической энергии, которая преобразуется в электрическую, или наоборот. Остальная энергия во время каждого цикла теряется на упругий или диэлектрический гистерезис или рассеивается [27].

В [17, 21, 24, 25, 26] основным элементом устройства является пьезоэлектрический генератор, который состоит из нажимного элемента, контактирующего с пьезоэлементом и механический привод или магнитострикционный элемент. Привод установлен с возможностью воздействия на нажимной элемент.

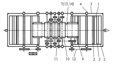
Рассмотрим устройство Ч.-К. А. Будревича для преобразования энергии гидравлического потока в электрическую, которое может быть применено для получения электрической энергии из энергии водного потока рек, ручьёв и т. д. [15].

На рисунке 1.2 показано устройство, вид сбоку; на рисунке 1.3 - вид сверху.

Устройство для преобразования энергии гидравлического потока в электрическую содержит пару цилиндрических плавучих колёс 1, снабжённых лопастями 2, закреплёнными на их обечайках, и установленных на концах рамы 3. Колёса 1 могут вращаться вокруг горизонтальных осей 4, поперечных направлению потока, указанного стрелкой. На раме 3 установлен кинематически связанный с колёсами 1 генератор, подключенный кабелем 5 к береговому потребителю электроэнергии. Устройство снабжено механизмом ориентации по потоку, включающим в себя трос 6, закреплённый на береговой опоре.

Генератор выполнен в виде гибкой бесконечной пьезоэлектрической ленты 7, снабжённой электродами, установленной между приводными шкивами 8 и 9. Ветви ленты пропущены между рядами промежуточных контактных роликов 10 и 11, которые изолированы от рамы и кинематически связаны со шкивами 8, 9 и осями 4 плавучих колёс 1 при помощи передачи 12. Ролики 10, 11 выполнены в виде «беличьего колеса» из стержней, которые имеют возможность упругого контакта с одной из сторон верхней или нижней ветви пьезоэлектрической ленты 7, на которых находятся электроды 13 и 14 противоположной полярности.

Для начала работы устройство устанавливают на плаву в потоке. Под действием потока на нижние лопасти 2 плавучие колёса 1 приводятся во вращение и через кинематическую передачу 12 вращают с одинаковой угловой скоростью приводные шкивы 8 и 9, а также ролики 10 и 11. При этом приводится в движение пьезоэлектрическая лента 7. Стержни роликов 10 и 11, входящие как зубья шестерён один в пазы другого, изгибают ленту 7 в противоположные стороны, что вызывает появление на электродах 13 и 14 ленты 7 противоположных электрических зарядов, которые по кабелю 5 передаются береговому потребителю электрической энергии [15].

- цилиндрическое плавучее колесо; 2 - лопасть; 3 - рама; 4 - горизонтальная ось; 5 - кабель; 6 - трос; 7 - пьезоэлектрическая лента; 8, 9 - приводные шкивы; 10, 11 - ролики; 12 - передача; 13, 14 - электроды.

Рисунок 1.2 - Устройство для преобразования энергии гидравлического потока в электрическую (вид сбоку)

Рисунок 1.3 - Устройство для преобразования энергии гидравлического потока в электрическую (вид сверху)

Недостатками данного устройства являются непостоянные обороты плавучих колёс, а также ржавление элементов конструкции в результате взаимодействия с водной средой. К устройствам, содержащим гидротурбину или лопасти, при достаточно слабом течении, сложно подобрать низкооборотистый электрогенератор. Они эффективны только при постоянном сильном течении реки и не могут быть использованы в водоёмах со стоячей водой.

Конструкция проектируемого устройства позволяет устранить эти недостатки. Здесь не используется гидротурбина, и принцип работы основан на свойстве прямого пьезоэффекта. Все элементы буя располагаются внутри его корпуса, который полностью изолирует их от контакта с внешней средой. Для выработки электрической энергии достаточно небольшого угла крена буя.

2 Выбор и обоснование структурной схемы

Исходя из проведённого анализа устройств преобразования механической энергии в электрическую, оценки их достоинств и недостатков выберем структурную схему энергетической установки буя, в состав которой входят:

1)  МПВ - механический преобразователь внешнего воздействия в усилие (маятник). Внешним воздействием могут являться волнение водной поверхности, течение и ветровая нагрузка;

2)      ПП - пьезоэлектрический преобразователь (набор пьезоэлементов), на который воздействует маятник;

)        П - преобразователь. Преобразует импульсы, вырабатываемые ПП, в необходимое напряжение питания;

)        А - аккумулятор, являющийся резервным источником питания, в случае, когда пьезоэлектрический генератор не вырабатывает энергию;

)        ФА - фотоавтомат (функции см. в первой главе). В состав фотоавтомата входит сигнальный фонарь (лампа накаливания).

Обобщённая структурная схема устройства изображена на рисунке 2.1.

Рисунок 2.1 - Структурная схема энергетической установки навигационного буя

На рисунке 2.2 изображена структурная схема фотоавтомата.

Рисунок 2.2 - Структурная схема фотоавтомата

Фотоавтомат состоит из нескольких функциональных блоков: фотодатчика ФД, времязадающего генератора ВЗГ, переключателя ПК и стабилизатора напряжения СН (последний обведен на рисунке пунктирной линией).

В СН входят три функциональных узла - измерительный мост ИМ, усилитель рассогласования УР и регулирующий элемент РЭ. Источником питания является преобразователь, а лампа накаливания обозначена буквой Л.

Пояснение назначения каждого из функциональных блоков и узлов структурной схемы и их взаимодействия следует начать со стабилизатора напряжения СН.

Измерительный мост ИМ отрегулирован так, что при номинальном напряжении на лампе на выходе ИМ управляющего сигнала нет. Если источник питания имеет повышенное напряжение, то на лампе напряжение также может оказаться выше номинального. В этом случае на выходе ИМ появится управляющее напряжение (сигнал рассогласования). Этот сигнал подается к усилителю рассогласования УР, который непосредственно управляет регулирующим элементом РЭ: В результате воздействия УР на РЭ сопротивление РЭ возрастет на величину, необходимую для того, чтобы погасить излишек напряжения на лампе Л. Благодаря этому на лампе непрерывно будет поддерживаться напряжение, равное номинальному.

При напряжении источника питания меньше 2,7 В СН прекращает свое действие как стабилизатор и напряжение на лампе будет равно напряжению на выходе преобразователя за минусом 0,2 В (0,2 - минимальное падение напряжения на РЭ, который включен последовательно с Л).

Действие других блоков осуществляется следующим образом. При освещенности, превышающей пороговую (от 40 до 120 лк), фотодатчик ФД вырабатывает сигнал, необходимый для сработки переключателя ПК. Переключатель через усилитель рассогласования УР воздействует на регулирующий элемент РЭ. Это воздействие приводит к увеличению сопротивления РЭ до величины, при которой ток через него и лампу Л практически прекращается и лампа гаснет. Другими словами, с ростом освещенности ФД посредством ПК гасит лампу. При освещенности меньшей пороговой действие фотодатчика прекращается и лампа загорается вновь.

Времязадающий генератор ВЗГ также вырабатывает сигналы, вызывающие периодическую сработку ПК, который, воздействуя на УР и РЭ, гасит или зажигает лампу Л в нужной последовательности, т. е. создает требуемый режим горения огня (проблесковый, затмевающийся и т. д.). Каждому режиму горения соответствует свой ВЗГ. Шунтирование ВЗГ путем установки предусмотренной в схеме перемычки переводит фотоавтоматы в режим постоянного горения огня.

На водных путях эксплуатируются светящие и несветящие буи. Несветящие буи, число которых незначительно, должны иметь такую площадь сигнальной фигуры, чтобы их можно было обнаружить на заданном расстоянии, и обладать параметрами остойчивости, исключающими их опрокидывание при сильном волнении и при навалах и ударах судов. Ограничений по углам качки и крена к ним не предъявляется.

Основная масса буев - светящие плавучие знаки. Поскольку угол рассеяния света в вертикальной плоскости у светосигнальных приборов мал, а источники света маломощны, крен и качка светящих буев должны быть минимальными.

Создать такую конструкцию буя, которая при приемлемых весовых характеристиках будет иметь малый угол крена на течении и, одновременно, малые углы качки на волне, принципиально затруднительно. Поэтому по своему устройству буи делятся на две группы: одна приспособлена к работе в районах, где преобладающими факторами являются течение и ветровая нагрузка, другая - к работе в районах, где главным фактором является волнение водной поверхности. Буи первой группы называются речными, буи второй группы - озерными и озерно-речными [2].

Рассмотрим требования к конструкции речных буев [2].

Максимальный угол крена плавучего знака (в град.) под действием течения или ветровой нагрузки


где к - коэффициент обтекания, зависящий от формы (для сплошных цилиндров и конусов подводной части принимается равным 0,46, для подводной части - 1,0 - 1,2);

p - сила давления воды, или ветровая нагрузка, Н;

l - расстояние от точки крепления якорной цепи до центра давления воды или центра парусности, м;

P - водоизмещение буя с навигационным оборудованием и якорной цепью, Н;0 - начальная метацентрическая высота, м.

Выражение 2.1 показывает, что уменьшить угол крена можно за счет увеличения начальной метацентрической высоты, уменьшения площади подводной поверхности буя и парусности надводной сигнальной надстройки, выполнения их в виде хорошо обтекаемых фигур (например, цилиндра или конуса).

Крена на течении теоретически вообще можно было бы избежать, если бы удалось закрепить якорную цепь точно в точке приложения равнодействующей силы давления воды. Во всяком случае, при разработке конструкции речного буя следует предусматривать возможность крепления якорной цепи вблизи этой точки. В нашем случае отклонение буя должно быть таким, чтобы маятник мог воздействовать на пьезоэлектрический преобразователь, исходя из этого, произведём приближённый расчёт среднего угла крена буя согласно выражению (2.1).

Исходные данные (выбраны средние значения параметров по [2] для металлических буев 2-,4-,5-,6-го типоразмеров):

-       коэффициент обтекания, k: 0,46;

-       сила давления воды, или ветровая нагрузка, p: 1,611∙104 Н;

-       среднее расстояние от точки крепления якорной цепи до центра давления воды или центра парусности, l: 0,05 м;

-       водоизмещение буя, P: 6,807∙103 Н;

-       средняя начальная метацентрическая высота, h0., 0,242 м.

Таким образом, согласно выражению (2.1) угол равен:


Отсюда можно сделать вывод, что отклонения маятника должно быть меньше расчётного угла крена. При воздействии маятника на пьезоэлемент необходимо учитывать предел прочности на сжатие, который по [33] составляет 1,5·107 - 3,5·107 Па.

Рассмотрим требования, которым должны, отвечать конструкции озерного и озерно-речного буев [2].

Эффективность использования различных конструкций озерных и озерно-речных буев на водохранилищах можно оценить достаточно точно путем рассмотрения вынужденных угловых колебаний этих буев на регулярном установившемся волнении. Амплитуда вынужденных угловых колебаний буя (амплитуда качки) на регулярном установившемся волнении определяется из условия, что его поплавковая часть имеет симметричную обтекаемую форму и малые поперечные размеры па сравнению с длиной волны, а якорная цепь при относительно малой массе допускает свободное перемещение буя на волне. Эта амплитуда равна (в град.)


где χθ - редукционный коэффициент, учитывающий влияние на качку формы и размеров подводной части буя, а также интенсивности волнения (принимается равным 0,45 - 0,98);

α0 - наибольший угол волнового склона, град;

Тθ - период свободных колебаний буя на спокойной воде, с;

τВ - период волны, с;

2μ - коэффициент гашения качки (для буев с цилиндрическим хвостовиком большого диаметра он равен 0,2 - 0,3, а для буев с хвостовиками малого диаметра - 0,35 - 0,4).

Рассматривая выражение (2.2), можно сделать вывод, что для уменьшения углов качки нужно, чтобы период свободных колебаний буя Тθ был возможно больше периода волны τВ.

Период свободных колебаний буя:

где IX - момент инерции массы буя, кг∙м2;

kθ - коэффициент, учитывающий момент инерции присоединенных масс воды и форму подводной части (для буев с цилиндрическим хвостовиком большого диаметра, свободно сообщающегося с забортной водой, kθ = 1,3 - 1,9, а для буев с хвостовиками малого диаметра kθ = 0,2 - 0,7).

Выражение (2.3) показывает, что для буев с заданными весовыми характеристиками IX и P увеличение периода свободных колебаний возможно за счет уменьшения до допустимых пределов метацентрической высоты h0 и за счет увеличения влияния момента инерции присоединенных масс воды kθ.

Допустимым для озерных и озерно-речных буев является снижение начальной метацентрической высоты до 0,25 - 0,4 м, что еще позволяет сохранить положительную остойчивость при обслуживании буев с борта судна (без высадки на буй человека), а также при обледенении в осенний период навигации у навалах на буй проходящих судов.

Наглядно зависимость угла качки от параметров волны (α0 и τВ) и характеристик буя можно проиллюстрировать на графиках, показывающих связь между так называемым коэффициентом динамичности качки КД = θm/(α0 χθ) и отношением периодов ТθВ для различных значений коэффициента гашения μ. Указанные графики, построенные на базе выражения (2.2), приведены на рисунке 2.3.

Из рисунка 2.3 видно, что значительное уменьшение качки достигается, когда период свободных колебаний буя в 1,5 - 2 раза превышает период волны. И, наоборот, наибольшие амплитуды качки, сопровождающиеся резонансными явлениями, будут иметь место, когда период свободных колебаний буя близок к периоду волны или меньше его.

В среднем, на большинстве водохранилищ периоды волны составляют 2,2 - 4,5 с при высоте их 0,5 - 0,2 м, причем в течение 70 - 80 % длительности навигации высота волн не превышает 0,5 - 1,0 м, а периоды 2,7 - 3,5 с. Для более эффективного действия установленных на буях светосигнальных приборов нужно, чтобы периоды собственных колебаний озерных буев были не менее 5 - 7 с, а озерно-речных буев, эксплуатируемых при более слабом волнении, - не менее 4 - 4,5 с.

Рисунок 2.3 - Зависимость коэффициента динамичности качки буя КД от отношения периода качки буя Тθ к периоду волны τВ и коэффициента гашения качки 2μ

Из сказанного можно сделать вывод, что требования, которым должна отвечать конструкция речных буев, существенно отличаются от требований к конструкции озерных буев. Так, если первые должны иметь по возможности большую метацентрическую высоту, а период собственных колебаний не имеет при этом существенного значения, то вторые должны иметь, возможно, меньшую метацентрическую высоту и по возможности больший период собственных колебаний. Это определяет конструктивные параметры каждой из групп буев, в частности размеры и форму подводной части корпуса [2].

3 Расчёт пьезоэлектрического генератора

.1 Расчёт механического преобразователя воздействия

Согласно [2] высота огня над уровнем воды для буев составляет от 1 до 3 м, поэтому длина механического преобразователя воздействия (далее маятник) должна быть не больше этого диапазона (возьмём 80 см). Для конструкции маятника достаточно небольшого угла отклонения от положения равновесия (см. 2 главу). Пьезоэлектрический преобразователь (ПП) нужно расположить так, чтобы усилие маятника на него было максимальным, т. е. точка, в которой маятник воздействует на ПП, должна быть как можно ближе к точке подвеса (рисунок 3.1). Далее ПП будем обозначать одним пьезоэлементом (ПЭ).

Исходные данные:

-       отклонение маятника, r: от 2 до 5 мм (шаг 0,2 мм);

-       длина маятника, B: 80 см;

-       длина плеча, b1: от 1 до 7 см (шаг 1 см);

-       длина плеча, b2: B - b1;

-       масса маятника, m: от 4 до 8 кг (шаг 1 кг);

-       ускорение свободного падения, g: 10 м/с2.

Маятник будем считать математическим, совершающий гармонические колебания. Поскольку угол отклонения мал, то колебания маятника являются собственными (незатухающими). Сила, действующая на тело в любой точке траектории, направлена к положению равновесия, а в самой точке равновесия равна нулю. Необходимо найти силу F1, действующую на ПЭ [34].

Рисунок 3.1 - Механический преобразователь воздействия (маятник)

Сила F2 направлена к положению равновесия и определяется выражением


где а - ускорение, изменяющееся по гармоническому закону.

Перемещение X определяется по формуле


где X0 - амплитуда колебания маятника;

ωМ - собственная частота колебаний маятника (ωМ = 2π/T, где  - период колебаний маятника), B = b1 + b2;

t - время.

Таким образом, собственная частота равна

Ускорение а будет равно второй производной от X, следовательно


Подставляя (3.2) и (3.3) в (3.4), получим ускорение (по модулю)


Перемещение X можно определить также через синус угла отклонения

где α = 2∙arcsin(r/2b1). (3.7)

Подставим (3.6) в (3.5) и получим


Запишем условие равновесия маятника при отклонении его на некоторый угол

F1∙d1 = F2∙(b1+b2), т. е.


Подставим (3.8) в (3.1) и полученное выражение в формулу (3.9), следовательно


В таблице 3.1 приведены значения углов отклонения маятника в зависимости от длины плеча b1 согласно формуле (3.7).

Таблица 3.1

Откло-нение маятника r, мм

Отклонение маятника α0 в зависимости от длины плеча b1


1,0 см

2,0 см

3,0 см

4,0 см

5,0 см

6,0 см

7,0 см

2,0

11,478

5,732

3,82

2,865

2,292

1,91

1,637

2,2

12,631

6,306

4,203

3,152

2,521

2,101

1,801

2,4

13,784

6,88

4,585

3,438

2,75

2,292

1,965

2,6

14,939

7,454

4,967

3,725

2,98

2,483

2,128

2,8

16,096

8,028

5,35

4,012

3,209

2,674

2,292

3,0

17,254

8,602

5,732

4,298

3,438

2,865

2,456

3,2

18,414

9,177

6,114

4,585

3,668

3,056

2,619

3,4

19,576

9,752

6,497

4,872

3,897

3,247

2,783

Откло-нение маятника r, мм

Отклонение маятника α0 в зависимости от длины плеча b1


1,0 см

2,0 см

3,0 см

4,0 см

6,0 см

7,0 см

3,6

20,74

10,327

6,88

5,158

4,126

3,438

2,947

3,8

21,906

10,903

7,262

5,445

4,356

3,629

3,111

4,0

23,074

11,478

7,645

5,732

4,585

3,82

3,274

4,2

24,245

12,054

8,028

6,019

4,814

4,012

3,438

4,4

25,418

12,631

8,411

6,306

5,044

4,203

3,602

4,6

26,594

13,207

8,794

6,593

5,273

4,394

3,766

4,8

27,773

13,784

9,177

6,88

5,503

4,585

3,93

5,0

28,955

14,362

9,56

7,167

5,732

4,776

4,093


Для конструкции маятника и размещения ПЭ достаточно, чтобы плечо b1 было равно 3 см (b2 = 77 см). Согласно этому рассчитаем усилие, оказываемое на ПЭ при разных значениях массы маятника, пользуясь выражением (3.10) и таблицей 3.1. Отклонение маятника r возьмём от 3 до 4 мм. Необходимо учитывать предел прочности на сжатие ПЭ, который по [33] составляет 1,5·107 - 3,5·107 Па. Полученные значения занесём в таблицу 3.2.

Таблица 3.2

Откло-нение маятника r, мм

Усилие F1, Н при разных значениях массы маятника m, кг


4

5

6

7

8

3,0

106,533

133,167

159,8

186,433

213,066

3,2

113,616

142,02

170,424

198,828

227,232

3,4

120,695

150,868

181,042

211,216

241,389

3,6

127,769

159,712

191,654

223,596

255,539

3,8

134,84

168,55

202,26

235,97

269,68

4,0

141,906

177,382

212,859

248,335

283,812


Построим график зависимости усилия F1 от отклонения r при разных значениях массы маятника (рисунок 3.2).

Рисунок 3.2 - График зависимости усилия F1 от отклонения r при разных значениях массы маятника

3.2 Расчёт пьезоэлектрического преобразователя

В качестве ПЭ выберем пьезокерамический диск из керамики ЦТС-19М, который работает на продольном пьезоэффекте. Расчёт будем производить при разных значениях толщины ПЭ (рисунок 3.3).

Исходные данные (взяты из таблицы 1.5 первого раздела):

-       радиус ПЭ, RПЭ: 8 мм;

-       толщина ПЭ, L: от 0,5 до 2,5 см;

-       пьезомодуль, d33: 410·10-12 Кл/Н;

-       пьезомодуль, d31: -183·10-12 Кл/Н;

-       модуль Юнга, Y33: 3,845·1010 Па;

-       коэффициент электромеханической связи, Kэмс: 0,62;

-       диэлектрическая постоянная, ε0: 8,85·10-12 Ф/м;

-       относительная диэлектрическая проницаемость, ε33: 1900;

-       плотность, ρ: 7600 кг/м3.

Рисунок 3.3 - Пьезоэлемент

Площадь сечения ПЭ


Давление, оказываемое на ПЭ


Примем отклонение для маятника 3,2 мм (6,1140) и найдём давление при разных значениях массы маятника, пользуясь формулой (3.12) и таблицей 3.2. Полученные результаты занесём в таблицу 3.3.

Таблица 3.3

Откло-нение маятника r,мм

Давление p1, Па при разных значениях массы маятника m, кг


4

5

6

7

8

3,2

5,651∙105

7,063∙105

8,476∙105

9,889∙105

1,13∙106


При усилии 113,616 Н (см. таблицу 3.2) давление составляет 5,651∙105 Па, что соответствует пределу прочности на сжатие ПЭ.

Рассчитаем мощность, которую выдаёт ПЭ при воздействии на него маятника.

Электрическая ёмкость ПЭ определяется выражением [33]


Построим график зависимости электрической ёмкости C от длины ПЭ L (рисунок 3.4).

Рисунок 3.4 - График зависимости электрической ёмкости C от длины пьезоэлемента L

Для расчёта выходного напряжения (разности потенциалов) Uвых необходимо знать заряд Q, появляющийся на электродах ПЭ. Заряд равен [1]


выходное напряжение будет равно [1]


Значения заряда Q приведены в таблице 3.5 (значения усилия F1 взяты из таблицы 3.2).

Выходной ток согласно [31] равен


где ω - собственная частота, которая определяется выражением [33]


Значения электрической ёмкости и частоты при разной толщине ПЭ приведены в таблице 3.4.

Таблица 3.4


Толщина ПЭ L, см


0,5

1,0

1,5

2,0

2,5

Электрическая ёмкость Cвт, пФ

416,3

208,1

138,8

104,1

83,25

Частота ω 105, с-1

7,108

3,554

2,369

1,777

1,422


В таблице 3.5 и 3.6 приведены значения выходного напряжения и тока пьезогенератора соответственно (при разном усилии). Значения тока необходимо брать по модулю, так как выражение (3.16) представлено в комплексной форме.

Таблица 3.5

Толщина ПЭL, см

Выходное напряжение Uвых, В при разном усилии F1, Н


113,616

142,02

170,424

198,828

227,232

0,5

111,91

139,887

167,865

195,842

223,820

1,0

223,82

279,774

335,729

391,684

447,639

1,5

335,729

419,662

503,594

587,526

671,459

2,0

447,639

559,549

671,459

783,368

895,278

2,5

559,549

699,436

839,323

979,211

1119


Таблица 3.6

Толщина ПЭL, см

Выходной ток |Iвых|, мА при разном усилии F1, Н


113,616

142,02

170,424

198,828

227,232

0,5

50,232

62,790

75,348

87,906

100,463

1,0

25,116

31,395

37,674

43,953

50,232

1,5

16,744

20,930

25,116

29,302

33,488

2,0

12,558

15,697

18,837

21,976

25,116

2,5

10,046

12,558

15,07

17,581

20,093

Пьезоэлементы необходимо расположить вокруг стержня маятника, чтобы образовать при помощи протекторов кольцо. Протектор также служит для защиты от повреждений ПЭ, которые может нанести маятник. На рисунке 3.5 показано расположение пьезоэлементов, образующих пьезоэлектрический преобразователь (ПП).

Приведём размеры ПП и стержня маятника:

-       количество ПЭ: 5 шт.;

-       радиус ПЭ, RПЭ: 8 мм;

-       зазор между двумя соседними протекторами 1,75 мм;

-       расстояние от стержня до протектора, x (x = b1∙sin(6.1140)): 3,195 мм;

-       радиус стержня маятника в точке приложения усилия на ПЭ, RСТ: 7,305 мм.

Рисунок 3.5 - Расположение пьезоэлементов (вид сверху)

Построим семейство вольтамперных характеристик пьезогенератора при разном усилии F1 на ПЭ (рисунок 3.6).

Импульсная мощность на выходе пьезоэлектрического генератора равна


где QИ - скважность


где τИ - длительность импульса (τи = 0,173 с);

ТИ - период следования импульсов (ТИ = 0,2 с).

Таким образом, скважность равна

QИ = 0,173 с/0,2 с = 0,865.

Рисунок 3.6 - Семейство вольтамперных характеристик пьезогенератора

Таблица 3.7

Радиус ПЭ RПЭ, мм

Выходная импульсная мощность Pвых 10-5, Вт при разном усилии F1, Н


113,616

142,02

170,424

198,828

227,232

7,0

6,351

9,924

14,29

19,45

25,404

8,0

4,863

7,598

10,941

14,892

19,45

9,0

3,842

6,003

8,644

11,766

15,368


Согласно выполненным расчётам, приведём физические и электрические параметры пьезоэлектрического генератора (ПГ).

Механический преобразователь воздействия:

-       длина маятника, B: 80 см;

-       отклонение маятника, r: 3,2 мм (6,1140);

-       длина плеча, b1: 3 см;

-       длина плеча, b2: 77 см;

-       масса маятника, m: 4 кг.

Пьезоэлектрический преобразователь (5 пьезокерамических диска ЦТС19-М):

-       радиус ПЭ, RПЭ: 8 мм;

-       толщина ПЭ, L: 1,5 см;

-       усилие, оказываемое на ПЭ, F1: 113,616 Н;

-       амплитуда выходного напряжения ПГ, Uвых: 335,729 В;

-       амплитуда выходного тока ПГ, |Iвых|: 16,744 мА;

-       выходная импульсная мощность ПГ, Pвых: 4,863 Вт.

4. Расчёт преобразователя

Для преобразования импульсов, выдаваемых пьезоэлектрическим генератором (ПГ), в необходимое напряжение питания фотоавтомата (ФА) с лампой накаливания, построим следующую структурную схему преобразователя, представленной на рисунке 4.1.

Рисунок 4.1 - Структурная схема преобразователя

В состав преобразователя входят:

1)      Ф - RC-фильтр;

2)      ППН - преобразователь постоянного напряжения.

На рисунке 4.2 изображён RC-фильтр.

Рисунок 4.2 - Схема RC-фильтра

На выходе ПГ необходимо параллельно включить 5 диодов (так как пьезоэлектрический преобразователь (ПП) состоит из 5 пьезоэлементов) для предотвращения обратного пьезоэффекта. Диоды выберем на 500 - 600 В, поскольку амплитуда импульсов на выходе ПГ (Uф.вх) составляет 335,729 В (τи - длительность импульса: 0,173 с; Ти - период следования импульсов: 0,2 с).

Зададим напряжение на выходе фильтра Uф.вых = 300 В, тогда сопротивление будет равно


где Iф.вх - входной ток фильтра (17 мА), тогда получим


Ёмкость высоковольтного конденсатора C1 определяется выражением


Смоделируем при помощи пакета Micro-CAP 7.0 схему фильтра (рисунок 4.3) и построим график зависимости выходного напряжения от времени.

Рисунок 4.3 - Схема RC-фильтра в Micro-CAP 7.0

Для построения графика в меню «Analysis» выберем «Transient…». Далее появится окно «Transient Analysis Limits» (рисунок 4.4).

Рисунок 4.4 - Окно «Transient Analysis Limits»

Согласно рисунку 4.4 зададим параметры построения графика и нажмём клавишу «Run». В результате появится график зависимости выходного напряжения от времени (рисунок 4.5).

Рисунок 4.5 - График зависимости выходного напряжения от времени

По графику на рисунке 4.5 определяем, что напряжение на выходе RC-фильтра равно 300±1 В.

Далее необходимо преобразовать полученное напряжение (300 В) в требуемое напряжение питания 2,7 В. Выберем согласно [36] преобразователь постоянного напряжения серии MSS-MH фирмы CRANE (Interpoint). MSS-MH являются преобразователями военного и авиационно-космического класса, также используется в коммерческом и промышленном применении. ППН этого класса созданы с применением передовых технологий высокочастотного преобразования энергии. Герметичные блоки обеспечивают полную мощность в температурном диапазоне от минус 55 до плюс 100°С.

Функции MSS-MH:

1)  защита от короткого замыкания нагрузки;

)        возможность внешней синхронизации рабочей частоты преобразования (от 450 до 550 кГц) и др.

Из этой серии выберем преобразователь MSS-MHL (характеристики приведены в таблице 4.1). Он состоит из входного фильтра (Ф1), конвертора (тоже, что ППН) и выходного фильтра (Ф2). Номинальное напряжение пульсаций на выходе Ф2 составляет 12 мВ в диапазоне частот от 10 кГц до 2 МГц и 75 мВ - от 2 до 20 МГц. Усилительный каскад конвертора обеспечивает низкий входной шум и высокую фильтрацию в диапазоне входного напряжения от 200 до 400 В.

Таблица 4.1

Параметр

Минимальное значение

Номинальное значение

Максимальное значение

Входное напряжение Uвх, В

80

270

400

Входной ток Iвх, мА

5

-

25

Выходное регулируемое напряжение Uвых, В

2,5

-

6,4

Выходной ток Iвых, А

-

-

20,8

КПД, %

Uвх = 120 В

77

79

-


Uвх = 270 В

80

83

-


На рисунке 4.6 условно показаны выводы ППН.

Рисунок 4.6 - Наименование выводов MSS-MHH

Поясним назначение выводов:

1)  1, 2 - выходные выводы (для подключения нагрузки);

2)  3, 4, 5 - используются для регулирования выходного напряжения. На рисунках 4.7 и 4.8 показаны схемы включения данных выводов;

3)  6, 9 - выводы внешней синхронизации;

4)      7 - является общим обратным проводом для 6, 8, и 9 выводов;

5)  8 - вывод «запрета». Если 8 вывод закоротить с 7 выводом, то на выходе преобразователя не будет сигнала, при этом схема будет потреблять ток (5 мА);

6)  10, 11 - входные выводы.

Рисунок 4.7 - Схема соединения MSS-MHL, когда Uвых > 6 В

где Ra - подстроечный резистор;

Va - требуемое выходное напряжение.

Рисунок 4.8 - Схема соединения MSS-MHL, когда Uвых < 6 В


где Rt - подстроечный резистор;

Vt - требуемое выходное напряжение.

В качестве резервного аккумулятора выберем согласно [35] никель-металлгидридный аккумулятор GP повышенной ёмкости (High Capacity Series), характеристики которого приведены в таблице 4.2.

Таблица 4.2

Типоразмер

Модель

Номинальное напряжение, В

Типовая ёмкость, мА∙ч

Диаметр, мм

Высота, мм

Вес, г

F

GP13000FH

1,2

13650

33

90

247


Поскольку напряжение питания фотоавтомата составляет 2,7 В, то необходимо составить аккумуляторную батарею (АБ) из трёх последовательно соединённых GP аккумуляторов, тогда напряжение АБ составит 3,6 В. Напряжение 2,7 В можно получить включив в схему стабилитрон КС127Д с напряжением стабилизации 2,7 В. Для зарядки АБ на каждый аккумулятор необходимо подавать 1,5 В, то есть для всей АБ 4,5 В (3×1,5 В). Ток заряда должен составлять 10% от ёмкости аккумулятора, тогда получим 1,365 А (10%×13,650 А). При подключении ФА, потребляемый ток составляет 0,6 А, отсюда АБ полностью разрядится через 22,75 ч (13,650 А∙ч разделить на 0,6 А), при условии, что ПГ не вырабатывает энергию (МПВ находится в состоянии покоя). В случае, когда ПГ работает, то он одновременно питает схему ФА и заряжает АБ (если необходимо).

Напряжение 4,5 В на выходе ППН можно получить, используя схему соединения MSS-MHL, показанную на рисунке 4.8. Тогда сопротивление подстроечного резистора согласно формуле (4.4) будет равно (Vt = 4,5 В)


Электрическая принципиальная схема преобразователя будет выглядеть как показано на рисунке 4.9. В состав схемы включены пьезоэлементы BQ1 - BQ5 и диоды VD1 - VD5 (Д202П).

Рисунок 4.9 - Электрическая принципиальная схема преобразователя

5. Расчёт фотоавтомата

На рисунке 5.1 изображена электрическая принципиальная схема фотоавтомата (ФА).

Рисунок 5.1 - Электрическая принципиальная схема фотоавтомата

Поясним вначале работу стабилизатора напряжения СН. Для большей наглядности его схема изображена на рисунке 5.2 отдельно (в более удобном для рассмотрения виде). Измерительный мост включен параллельно лампе VL1. Плечами моста являются: резистор R17, переход эмиттер - коллектор транзистора VT6, стабилитрон VD4 (для стабилизации напряжения), последовательно соединённые резисторы R10 и R11. Усилителем рассогласования служит транзистор VТ4, переход эмиттер - база которого включен во вторую диагональ моста. Регулирующим элементом является транзистор VT5. Измерительный мост настраивается посредством резистора R15, так, чтобы при номинальном напряжении источника питания (2,7 В) напряжение на лампе VL1 равнялось 2,5 В. Для компенсации влияния изменений температуры в делитель, питающий базовую цепь транзистора VT6, включен терморезистор R18.

Рисунок 5.2 - Стабилизатор напряжения

При напряжении источника питания, превышающем номинальное, происходит разбаланс моста, что приводит к уменьшению базового и коллекторного токов транзистора VT4. Это вызывает уменьшение базового тока транзистора VT5, что приводит к увеличению падения напряжения на переходе эмиттер - коллектор этого транзистора. Таким образом, излишек напряжения источника питания гасится на VT5, а на лампе поддерживается номинальное значение напряжения.

Если напряжение источника питания упадет до 2,6 В и ниже, транзисторы VT4 и VT5 окажутся полностью открытыми, а напряжение на лампе будет равно напряжению источника питания за вычетом падения напряжения на открытом транзисторе VT5 (0,2 В).

Показанный на схеме конденсатор С4 служит для предотвращения самовозбуждения её на высокой частоте.

Работу фотодатчика и времязадающего генератора поясним по рисунку 3.7. Фотодатчиком является фоторезистор типа СФ2-6. На схеме он имеет обозначение R7. Роль переключателя выполняет транзистор VT3.

В дневное время сопротивление фоторезистора мало и транзистор VT3 оказывается открытым. При этом закрываются VT4 и VT5, что приводит к гашению лампы VL1. В тёмное время суток сопротивление фоторезистора возрастает в сотни раз, вследствие чего VT3 закрыт и не влияет на работу стабилизатора напряжения. Лампа горит, а напряжение на ней поддерживается номинальным.

Чувствительность фотодатчика регулируется резистором R6. Релейность включения и выключения лампы достигается за счет положительной обратной связи по току через резистор R10.

Времязадающий генератор представляет собой несимметричный мультивибратор, собранный на транзисторах VT1 и VT2. Сигналы на периодическое гашение лампы подаются на базу VT3 с коллектора VT2 через резистор R5 и диод VD3. Времязадающей цепью, от которой зависит длительность паузы, является R2C3.

Когда транзистор VT2 закрыт, а VT1 открыт, сигналы на переключатель VT3 не поступают, и лампа горит. Длительность проблеска определяется времязадающей цепью R3C2. Напряжение питания ФД и ВЗГ стабилизировано стабилизатором, состоящим из резистора R9 и стабилитрона VD1. Этим достигается постоянство временных характеристик и чувствительности фотоавтомата.

Для перевода фотоавтомата в постоянный режим горения (работа в качестве фотовыключателя) достаточно установить переключатель SA1 в соответствующее положение. Это приводит к шунтированию положительных импульсов ВЗГ диодом VD2, что равносильно отключению генератора от остальной части схемы.

5.1 Расчёт времязадающего генератора

На рисунке 5.3 изображён времязадающий генератор (ВЗГ), который представляет собой несимметричный мультивибратор, состоящий из двух ключевых каскадов, собранных на транзисторах VT1 и VT2 и связанных между собой конденсаторами C2 и C3. Рассчитаем ВЗГ согласно [37].

Рисунок 5.3 - Схема включения ВЗГ

Исходные данные для расчёта:

-       длительность проблеска, tПР: 0,7 с (ГОСТ 13311-74);

-       длительность паузы, tПЗ: 2,8 с (ГОСТ 13311-74);

-       ёмкость, С2: 22 мкФ;

-       ёмкость, С3: 47 мкФ;

-       входное напряжение (напряжение на выходе преобразователя), UВХ: 2,7 В;

Напряжение питания ВЗГ стабилизировано стабилизатором, состоящим из резистора R9 и стабилитрона VD1 и составляет 1,9 В (UVD1 = 1,9 В).

Зададим сопротивление резистора R9 = 100 Ом, тогда ток через этот резистор будет составлять


Длительность импульса с коллектора транзисторов VT1 и VT2 соответственно составляет


тогда базовые сопротивления резисторов R3 и R2 будут равны


Согласно [38] выберем по шкале номинальных величин сопротивления резисторов R3 и R2, которые равны 47 кОм и 82 кОм соответственно. Отсюда по формулам (5.2) и (5.3) длительность проблеска и паузы будет равна


Период колебаний мультивибратора равен сумме длительностей импульсов


Сопротивление на коллекторе транзистора должно удовлетворять условию


где β - коэффициент усиления тока;

S - степень насыщения (обычно равна 1,2 - 2).

Зададим β = 140 и S = 1,5, тогда


Таким образом, выберем R4 = 3,6 кОм, а R1 = 5,6 кОм.

Ток коллектора транзисторов VT1 и VT2 определяется выражением


Ток базы транзисторов VT1 и VT2 равен


Ток эмиттера транзисторов VT1 и VT2 будет равен сумме базового и коллекторного токов


Амплитуда импульса выходного напряжения


Выберем в качестве транзисторов VT1 и VT2 транзистор BD180 [39].

Длительность среза выходного импульса (при открывании транзистора) приближённо оценивается VT1 и VT2


Длительность фронта выходного импульса (при запирании транзистора) определяется временем зарядки конденсаторов C2 и C3

5.2 Расчёт переключателя и стабилизатора напряжения

Выберем в качестве VT6 транзистор BC108C и примем по входной характеристике ток базы, Iб6 = 4 мкА (рисунок 5.4), тогда ток коллектора транзистора VT6 будет равен


где β6 = 500 - коэффициент усиления тока в схеме с ОЭ.

Ток делителя транзистора VT6, проходящий через сопротивления Rб1(6) и Rб2(6) равен


отсюда сопротивление Rб2(6) равно


где Uбэ6 - напряжение база-эмиттер транзистора VT6 (0,6 В), тогда


Сопротивление Rб2(6) определяется выражением

Согласно выражению (5.22) выберем сопротивления резисторов R14 = 7,5 кОм, R16 = 4,3 кОм и R18= 5,6 кОм и сделаем проверку


Зададим ёмкость конденсатора C4 = 6,8 мкФ.

Рисунок 5.4 - Схема включения ИМ

Падение напряжения на резисторе Rб1(6) определяется выражением


где UVL1 - напряжение на лампе (2,5 В). Таким образом, падение напряжения равно


отсюда сопротивление Rб1(6) равно


Сопротивление Rб1(6) определяется также выражением


Зададим R15 = 75 кОм, R19 = 36 кОм и проверим выражение (5.24)


Ток коллектора транзистора VT5 равен току нагрузки (лампы)

Iк5 = 0,45 А.

Выберем в качестве VT5 транзистор BD180 (рисунок 5.5). Зададим коэффициент усиления тока, β5 = 10. Тогда ток базы транзистора VT5 будет равен

Рисунок 5.5 - Схема включения РЭ

Выберем в качестве VT4 транзистор 2N4240 и примем по входной характеристике ток базы, Iб4 = 0,46 мА (рисунок 5.6). Возьмём коэффициент усиления тока транзистора VT4, β4 = 100. Ток коллектора будет равен


Ток, протекающий через резистор R13 равен


тогда сопротивление резистора R13 будет равно


Выберем по номинальному ряду [38] сопротивление резистора

R13 = 680 Ом ±10 %.

Рисунок 5.6 - Схема включения УР

Напряжение на эмиттере транзистора VT4 равно


где UVD4 = 1,9 В - напряжение стабилизации VD4.


Суммарное сопротивление резисторов R10 и R11 определяется выражением


где Iэ4 - ток эмиттера транзистора VT4 (Iэ4 ≈ Iк4).

Зададим сопротивление развязывающего резистора R11 = 1 Ом, тогда сопротивление резистора R10 будет равно


Падение напряжения на резисторе R12 определяется как


тогда сопротивление резистора R12 будет равно


Зададим ток, протекающий через резисторы R8 и R17 (IR8,17 = 0,6 мА) и ток резистора R17


Напряжение на коллекторе транзистора VT6 определяется как


где UR10,11 - падение напряжения на резисторе R10 и R11


следовательно, сопротивление резистора R17 будет равно


Выберем по номинальному ряду [38] сопротивление резистора

R17 = 9,1 кОм ±5 %.

Падение напряжения на резисторе R8 равно


Получим сопротивление резистора R8


По номинальному ряду [38] сопротивление резистора

R8 = 1,5 кОм ±10 %.

Сопротивление резистора R7 по [46] равно темновому сопротивлению фоторезистора СФ2-6 (рисунок 5.7)

R7 = 1,5 МОм.

Зададим сопротивление резистора R6 (R6 << R7)

R6 = 33 кОм.

Падение напряжения на резисторе R6 должно быть меньше 0,6 В (в закрытом состоянии транзистора VT3)


Рисунок 5.7 - Схема включения ПК

Смоделируем электрическую принципиальную схему фотоавтомата в пакете Micro-CAP 7.0 как показано на рисунке 5.8 и построим временные диаграммы напряжений и токов. Лампа накаливания обозначена на схеме резистором R20 с сопротивлением 5,56 Ом.

Рисунок 5.8 - Схема фотоавтомата в Micro-Cap 7.0

Для построения временных диаграмм в меню «Analysis» выберем «Transient…». Далее появится окно «Transient Analysis Limits» (рисунок 5.9).

Рисунок 5.9 - Окно «Transient Analysis Limits»

Зададим параметры построения временных диаграмм согласно рисунку 5.9 и нажмём клавишу «Run». Далее появятся графики, представленные на рисунке 5.10.

Для перевода фотоавтомата в постоянный режим горения необходимо включить в схему диод VD2, установив переключатель SA1 в положение «вкл.» (рисунок 5.1). В результате этого ВЗГ отключится. При этом амплитуда напряжения и тока будет постоянная (рисунок 5.12).

Рисунок 5.10 - График зависимости амплитуды напряжения от времени (в 12 и 1 узлах схемы)

Рисунок 5.11 - График зависимости амплитуды напряжения и тока на лампе от времени

Рисунок 5.12 - График амплитуды напряжения и тока на лампе от времени при постоянном режиме горения

Исходя из проведённого анализа схемы фотоавтомата в пакете Micro-CAP 7.0, можно сделать вывод о том, что полученные значения длительности проблеска и паузы, а также амплитуд напряжений и токов совпадают с расчётными значениями.

6. Конструкторская часть

.1 Выбор конструкции пьезоэлектрического генератора

Пьезоэлектрический генератор (ПГ) состоит из механического преобразователя воздействия (МПВ) и пьезоэлектрического преобразователя (ПП).

На рисунке 6.1 изображена конструкция МПВ, в состав которого входят кольцо, ударник, стержень и шар. МПВ представляет собой цельную конструкцию, выполненную из углеродистой качественной конструкционной стали марки 30, с качеством поверхности группы 2ГП без термической обработки по ГОСТ 1050-88. МПВ крепится кольцом к подвесу таким образом, чтобы он мог отклоняться во всех направлениях.

Рисунок 6.1 - Конструкция МПВ

Рассчитаем диаметр шара МПВ.

Исходные данные:

-       масса маятника, m: 4000 г;

-       плотность материала, ρ: 7,87 г/см3;

-       расстояние от точки подвеса до центра шара, B: 80 см;

-       расстояние от точки подвеса до приложения усилия, b1: 3 см;

-       длина ударника, Lуд: 2 см;

-       радиус большого основания ударника, Rуд: 8,375 мм;

-       радиус малого основания ударника, rуд: 6,235 мм;

-       радиус стержня маятника, Rc: 0,5 см;

-       внутренний радиус кольца, rк: 0,5 см;

-       внешний радиус кольца, Rк: 1,0 см;

-       толщина кольца, Hк: 1 см;

-       расстояние от кольца до ударника, Rк.уд: 1,0 см.

Объём полукольца равен


Объём стержня между кольцом и ударником равен


Объём ударника определяется как

Объём стержня между малым основанием ударника и центром шара равен


Объём маятника от точки подвеса до центра шара (без большей части шара) определяется выражением


Масса маятника от точки подвеса до центра шара (без большей части шара) определяется выражением


Масса большей части шара равна


Составим систему уравнений для нахождения радиуса шара Rш


где mшм - масса малой части шара (масса части стержня длиной Rш);

Rш - объём шара;

mш - масса шара.

Решив систему уравнений (6.8), получим следующий результат

mшм = 29,317 г,

Rш = 4,743 см,

Vш = 446,954 см3,

mш = 3517,528 г.

В состав ПП (рисунок 6.2 - 6.4) входят:

-       опорное кольцо;

-       крышка;

-       5 держателей (стакан, фторопластовое кольцо (ФК), изоляционное пьезокерамическое кольцо (ИПК));

-       5 пьезокерамических дисков (пьезоэлементов);

-       5 протекторов.

Рисунок 6.2 - Опорное кольцо (вид сверху)

Рисунок 6.3 - Крышка (вид сверху)

Опорное кольцо крепится к корпусу буя. Пьезоэлементы помещаются в держатели, которые притягиваются крышкой к опорному кольцу через шайбы (А.6.01.Ст3кп ГОСТ 10450-78) пятью болтами (К1М6×1,0 - 8g×16.109.40X.019 ГОСТ 7805-70). ИПК тонким слоем клеится ко дну стакана клеем BC10-T (ГОСТ 22345-77), прижимая ФК. Таким же образом, каждый протектор клеится к пьезоэлементу. Материалом для ФК является фторопласт-4 марки ПН или О (ГОСТ 10007-80). Опорное кольцо, крышка, стаканы и протекторы состоят из того же материала, что и МПВ. В опорном кольце, каждом стакане и ИПК имеются отверстия диаметром 3 мм для вывода проводов, припаянных к металлизированной поверхности пьезоэлемента. Все пьезоэлементы параллельно соединяются через диоды (для исключения обратного пьезоэффекта) в один провод, через который импульсы поступают на RC-фильтр преобразователя.

Рисунок 6.4 - Держатель для пьезоэлемента (разрез)

.2 Выбор конструкция преобразователя

На рисунках 6.5 и 6.6 изображён преобразователь постоянного напряжения (ППН) MSS-MHL, входящий в состав преобразователя (см. схему на рисунке 4.9 главы 4). ППН представляет собой герметичный блок, в котором собрана вся печатная плата. Лёгкий аллюминивый корпус (300 г) обеспечивает высокую теплопроводность.

Рисунок 6.5 - DC/DC конвертор MSS-MHL (вид сверху)

Рисунок 6.6 - DC/DC конвертор MSS-MHL (вид сбоку)

.3 Выбор конструкции фотоавтомата

Печатные платы делятся на три типа:

-       односторонние;

-       двустроронние;

-       многосторонние.

Для фотоавтомата выберем двухстороннюю ПП с металлизированным монтажом и переходными отверстиями, характеризующуюся высокими коммутационными свойствами, повышенной прочностью соединений вывода навесного элемента с проводящим рисунком платы (ГОСТ 23751-86).

Монтажная плата фотоавтомата (ФА), на которой полностью смонтирована вся электрическая схема, помещается в пластмассовый корпус и заливается эпоксидным компаундом (ГОСТ Р 51330.17-99).

На рисунке 6.7 изображён сборочный чертёж фотоавтомата. Установка элементов производится по ОСТ 4.010.030-81.

Рисунок 6.7 - Сборочный чертёж фотоавтомата

Установка элементов производится следующим образом:

-       резисторы R1...R19 по варианту Ia;

-       конденсаторы C1...C3 по варианту IIв;

-       конденсатор C4 по варианту VIa;

-       разъём X1 в плотную на плату.

Шаг координатной сетки 1,25 мм. Распайка коллектора транзистора VT4 производится проводом поз. 5 по ГОСТ 23587-96. Под элементы, расположенные на печатных проводниках клеится лакоткань ЛХМ-105-02 (ГОСТ 2214-78) поз. 6 клеем БФ-2 (ГОСТ 12172-74). Припой ПОС-61 по ГОСТ 21931-76.

Фотодатчик СФ2-6, вынесенный на боковую поверхность корпуса буя, переключатель SA1 (для выбора режима работы) и сигнальный фонарь (лампа накаливания СГВ 2,5-0,45) соединяются с платой ФА через разъём X1 (BH-10R НЩО.364.061 ТУ). Преобразователь так же соединяется с ФА разъёмом через соответствующие выводы.

SA1 представляет собой переключатель ручного управления типа «Тумблер» (П1Т-1-1КВ ОЮ0.360.028). Концы присоединительных монтажных проводов должны без натяжения подводиться к переключателю. При подпайке должны приниматься меры, исключающие проникновение паяльного флюса на контактирующую поверхность. Концы подпаиваемых проводов должны быть предварительно облужены, места пайки следует закрасить изоляционным лаком или эмалью и поверх надеть изоляционную втулку. Перед пайкой монтажные провода должны быть механически закреплены в отверстиях выводов.

7. Экономическая часть

В данном разделе проводится расчет затрат на проектирование пьезоэлектрического генератора.

Необходимость расчётов вызвана требованиями технического задания. На основе данных полученных при расчете, можно будет сделать вывод о целесообразности разработки и проектирования

Затраты на проектирование устройства складываются из следующих статей затрат:

-       трудовые затраты на проектирование (основная заработная плата, дополнительная заработная плата, отчисления от фонда оплаты труда, включающие единый социальный налог ЕСН и на несчастные случаи: травматизм, ущерб для здоровья, увечья и др.);

-       материальные затраты (бумага, расходные материалы к принтеру, канцелярские принадлежности: карандаши, линейки, стерательная резинка, папки, скрепки, скобки, кнопки, и др.);

-       затраты на эксплуатацию и ремонт оборудования (оргтехники), состоящие из амортизационных отчислений оргтехники (исходя из срока полезного использования, который следует увязать с трудоемкостью работы на данном оборудовании), затрат на электроэнергию, затрат на ремонт оргтехники (2 - 3 % от стоимости);

-       амортизация рабочего места проектировщика;

-       накладные расходы (с указанием общего процента и состава).

.1 Заработная плата разработчика

Затраты на заработную плату разработчика включают затраты на основную заработную плату, дополнительную и отчисления на социальные нужды.

Основная заработная плата разработчика определяется по его должностному окладу и трудоёмкости выполненной им работы. Работа заключается в разработке пьезоэлектрического генератора. На разработку методики ушло 2 месяца (февраль и март 2005 года), что составляет 59 дней. Из них 18 дней выпало на выходные и праздники. Получаем, что на исследования потребовалось 41 рабочих дня. При этом были выполнены виды работ, приведённые в таблице 7.1. Поправочные коэффициенты равны единице.

Учитывая, что среднее число рабочих дней в месяце на 2005 год составляет 21 день, получаем, что трудоемкость разработки методики контроля равна 2 чел/мес. (41/21 = 2).

Разработкой пьезоэлектрического генератора занимается один исполнитель - младший научный сотрудник. Оклад младшего научного сотрудника восьмого разряда составляет 2500 рублей.

Его основная заработная плата (ОЗП) находится по формуле

ОЗП = ОЗ∙ТР = 2∙1220 = 5000 руб.,

где ОЗ - должностной оклад младшего научного сотрудника, руб;

ТР - трудоемкость работ, чел./мес.

Потребный фонд заработной платы для разработчика рассчитывается по формуле

ПФЗП = ОЗП + ОЗП∙РК = 5000 + 5000∙0,15 = 5750 руб.

где РК - районный коэффициент (для нашего региона РК = 15 %).

Таблица 7.1

Наименование этапов

Количество листов (единица нормирования), шт.

Трудоемкость,  чел.-дн.

1. Техническое задание: изучение вопроса; изучение объекта разработки; составление задания.

2 (А4)

2. Техническое предложение: поиск литературы; изучение литературы; патентный поиск.

10 (А4)

 5 10 2

3. Разработка рабочей документа-ции: механический преобразователь воздействия; схема расчёта механического воздействия; сборочный чертёж пьезоэлектрического преобразователя; ведомость покупных изделий; подготовка, оформление и проведение расчётов.

 1 (А2) 1 (А2)  2 (А1) 1 (А4)  11 (А4)

 2 1  2 1  3

ИТОГО:

41


Затраты, связанные с основной заработной платой разработчика приведены в таблице 7.2.

Рассчитаем дополнительную заработную плату (ДЗП) разработчика. Определим коэффициент ДЗП. В 2005 году 365 дней, из них рабочих - 250. Выходные составляют 105 дня, праздничные 10. Из 250 рабочего дня вычтем: на отпуск - 27 дней, на больничные - 7 дней, на выполнение государственных обязательств - 1 день. Осталось 215 дней. Коэффициент рассчитывается по формуле

КДОП = (250/215) - 1 = 0,163 или 16,3 %

Дополнительная заработная плата разработчика будет равна

ДЗП = ПФЗП∙КДОП = 5750∙0,163 = 937,25 руб.

Таблица 7.2

Исполнитель

Трудоёмкость, чел.-мес.

Должностной оклад, руб. (по данным единой тарифной сетки)

Основная зарплата (ОЗП), руб.

Районный коэффициент к ОЗП, руб.

Полный фонд зарплаты (ПФЗП), руб.

Младший научный сотрудник

2

2500

5000

750

5750


Отчисления во внебюджетные фонды (ЕСН = 26 %: пенсионный фонд - 20 %, медицинского страхования - 2,8 %, фонд социального страхования - 3,2 %) от потребного фонда заработной платы (включая районный коэффициент) и дополнительной заработной платы.

Затраты необходимые на выплату заработной платы разработчику приведены в таблице 7.3.

Таблица 7.3

Статья затрат

Сумма затрат, руб.

1. Потребный фонд основной заработной платы (ПФЗП), руб.  2. Дополнительная заработная плата (ДЗП) (при КДОП. = 16,3 %), руб. 3. Отчисления во внебюджетные фонды (при ЕСН = 26 %), руб.

5750 937,25 1738,69

ИТОГО:

8425,94


.2 Расчёт материальных затрат на проектирование

Разработка конструкторских документов велась с помощью 1 компьютера, текстовые документы печатались на бумаге формата А4 на лазерном принтере HР-1010, графическая часть на бумаге формата А2 и А1 на струйном плоттере DesignJet: 250С. В таблице 7.4 приведены затраты на расходные материалы.

Таблица 7.4

Расходный материал

Рыночная стоимость

Количество

Стоимость, руб.

Бумага А4

135 руб. - 500 листов

24 листа

6,48

Бумага А2

3 руб. за лист

2 листа

6

Бумага А1

6 руб. за лист

2 листа

12

Картридж для принтера HР-1010

935 руб. на 1000 копий

на 24 копии

22,44

Картридж для плоттера НР Design Jet: 250С

1160 руб. на 300 копий А1 и на 600 копий А2

на 3 копии

7,73

ИТОГО:

54,65


.3 Расчёт затрат на эксплуатацию оргтехники

7.3.1 Затраты на амортизацию и ремонт оборудования

В процессе работы техника изнашивается, стареет, поэтому необходимо рассчитать отчисления на амортизацию и ремонт оборудования. В таблице 7.5 приведены сведения об отчислениях на эти статьи (согласно данным планово-экономического отдела рассматриваемого предприятия).

Расчет амортизационных отчислений за период работы оборудования проводился из расчета того, что в месяце в среднем Чм = 166,33 рабочих часов по формуле

Аобор. = Спер.∙На/100∙Тпр.м∙К,

где Спер. - первоначальная стоимость оборудования, руб.;

На - процент месячных отчислений на амортизацию оборудования (из расчета работы оргтехники 3 - 5 лет из общероссийского классификатора основных средств). На = 1/(3∙12)∙100 % = 2,8 %;

Тпр - трудоемкость выполнения по каждому из исполнителей, чел.-ч.;

Чм - среднее количество рабочих часов в месяце, ч. (принято 166,33 ч.);

К - коэффициент использования оборудования (принять равным 0,7).

Затраты на ремонт оргтехники рассчитываются по формуле

Зрем. = (Ррем.∙Спер.∙Тпр.м.∙К)/(12∙100 %),

где Ррем - среднестатистический процент годовых затрат на ремонт оргтехники от его стоимости (по данным общероссийского классификатора основных средств принять 4 %).

Таблица 7.5

Оборудование

Первоначальная стоимость (Спер.), руб.

Время работы (Тпр.),чел.-ч

Отчисления на амортизацию за отчетный период, руб.

Отчисления на ремонт за отчетный период, руб.

Компьютер

15000

30

53,03

6,31

Принтер HР-1010

5200

1,5

0,92

0,11

Плоттер НР DesignJet: 250С

80000

1,0

9,43

1,12

ИТОГО:

63,38

7,54

ИТОГО: отчисления на амортизацию и на ремонт оргтехники

70,92


.3.2 Затраты на электроэнергию

В таблице 7.6 приведены затраты на электроэнергию. Для г. Омска установлен тариф за пользование электроэнергией в размере 1,27 руб./кВт-ч. Расчет затрат произведён по формуле

Зэ/э = Тпр.∙К∙Мпотр.∙Цэ/э,

где Мпотр. - потребляемая мощность оборудования (по паспорту), кВт;

Цэ/э - стоимость 1 кВт-ч. потребленной электроэнергии, руб.

Таблица 7.6

Оборудование

Время работы Тпр., ч.

Потребляемая мощность по паспорту Мпотр., кВт

Фактически потребленная мощность (Тпр.∙Мпотр.∙К), кВт-ч

Затраты на электроэнергию, руб.

Принтер НР-1010

1,5

0,025

0,026

0,033

Плоттер НР DesignJet: 250С

1

0,05

0,035

0,044

Компьютер

30

0,3

6,3

8,001

ИТОГО: затраты на электроэнергию составили

8,078


.3.3 Затраты на амортизацию программного обеспечения

В затраты на эксплуатацию ЭВМ необходимо включать и затраты на амортизацию программного обеспечения, которые рассчитываются по формуле

Зп/о = (К∙∑Цп/о∙ Тпрм.)/Тсм.,

где ∑Цп/о - сумма цен программного обеспечения, включающая в себя: стоимость одного Windows XP = 1700 руб.; стоимость одного пакета Office XP = 1800 руб.; стоимость одного пакета MathCAD 2003 = 1500 руб.;

Тсм. - продолжительность работы программного обеспечения до его замены (принять равным 24 мес.).

Таким образом, затраты на амортизацию программного обеспечения ЭВМ составили

Зп/о = (0,7∙(1700 + 1800 + 1500)∙30/166,33)/24 = 26,3 руб.

.4 Затраты на амортизацию рабочего места проектировщика

Затраты на амортизацию рабочего места проектировщика определяются по формуле

Ар.м. = (С1∙Sпр.∙ Нар.м.∙Тпрм.)/100 %,

где С1 - стоимость 1 м2 производственной площади, руб. (по данным планово-финансового отдела предприятия принять 4500 руб. за 1 м2);

Sпр. - площадь, отведенная для одного проектировщика (принято 4 м2)

Нар.м - процентная доля амортизации за 1 месяц, которая рассчитывается исходя из периода эксплуатации помещения 80 лет. Нар.м = 100 %/(80∙12) = 0,1 %.

Таким образом, затраты на амортизацию рабочего места проектировщика составили:

Ар.м. = (4500∙4∙0,1∙30/166,33)/100 % = 3,25 руб.

.5 Накладные расходы

Накладные расходы рассчитываются по формуле

Знакл. = ПФЗП∙Кнакл/100 %,

где Кнакл - процент накладных расходов (по данным планово-финансового отдела на рассматриваемом предприятии принято 160 %).

Данная статья расходов включает в себя следующие расходы:

-       основная и дополнительная плата административного персонала - 32,5 %;

-       премии административно-управленческого персонала - 4,5 %;

-       почтовые и телеграфные расходы - 4,4 %;

-       содержание зданий, сооружений, инвентаря хозяйственного назначения - 18 %;

-       отчисления на капитальный ремонт - 10 %;

-       текущий ремонт зданий и сооружений - 20 %;

-       отчисления на производство испытаний, опытов и исследований - 9 %;

-       услуги грузового автотранспорта -5,6 %;

-       расходы на работы по охране труда - 3,5 %;

-       расходы на сторожевую и пожарную охрану - 7 %.

Таким образом, накладные расходы составят

Знакл. = 5750∙160 %/100 % = 9200 руб.

.6 Смета затрат на проектирование

Смета затрат на проектирование приведена в таблице 7.7.

Таблица 7.7

Статья расходов

Величина расходов, руб.

Суммарные трудовые затраты

8425,94

Затраты на расходные материалы

54,65

Расходы на эксплуатацию оборудования

105,298

Затраты на амортизацию рабочего места проектировщика

3,25

Накладные расходы

9200

ИТОГО:

17789,138


8. Безопасность и экологичность проекта

.1 Охрана труда

.1.1 Анализ вредных и опасных производственных факторов на рабочем месте инженера-конструктора (при работе с ЭВМ)

В данном дипломном проекте рассчитывается пьезоэлектрический генератор, который может быть использован в качестве генератора электрической энергии в навигационном буе, поэтому в данном разделе рассмотрим рабочее место инженера-конструктора. В соответствии с [42] реальные производственные условия подразделяются на опасные и вредные производственные факторы.

Опасные и вредные производственные факторы подразделяются на:

Физические:

)        повышенная температура внешней среды;

)        отсутствие или недостаточная освещенность рабочей зоны;

)        повышенное значение напряжения в электрической цепи, замыкание которой может произойти через тело человека;

)        повышенный уровень статического электричества;

)        повышенный уровень электромагнитных излучений.

Психофизические:

1)      умственное перенапряжение;

2)      перенапряжение зрительных и слуховых анализаторов;

)        монотонность труда;

)        эмоциональные перегрузки.

Воздействие указанных неблагоприятных факторов приводит к снижению работоспособности, вызванное развивающимся утомлением. Появление и развитие утомления связано с изменениями, возникающими во время работы в центральной нервной системе, с тормозными процессами в коре головного мозга. Длительное нахождение человека в зоне комбинированного воздействия различных неблагоприятных факторов может привести к профессиональному заболеванию. Анализ травматизма среди работников вычислительных центров (ВЦ) показывает, что в основном несчастные случаи происходят от воздействия физически опасных производственных факторов при заправке носителя информации на вращающийся барабан при снятом кожухе, при выполнении сотрудниками несвойственных им работ. На втором месте случаи, связанные с воздействием электрического тока.

.1.1.1 Освещение

Освещение подразделяется на естественное и искусственное. В свою очередь естественное освещение бывает: боковое (световой проём в стене), верхнее (световой проём в потолке), комбинированное (боковое и верхнее). Искусственное освещение подразделяется на: общее (равномерное или локализованное), комбинированное (общее и местное).

Освещенность рабочего места должна соответствовать характеру выполняемой работы, который определяется наименьшим размером объекта различения, контрастом объекта с фоном и характеристикой фона. Согласно [40] инженер-конструктор выполняет работы высокой точности, отнесённые к разряду III. В таблице 8.1 приведены значения освещённости и коэффициента естественного освещения.

Требования к освещению [43]:

)        освещённость на поверхности стола в зоне расположения документа 300 - 500 лк;

)        освещённость поверхности экрана не должна быть больше 300 лк;

)        показатель ослеплённости для источников общего искусственного освещения в производственных помещениях должен быть не более 20;

)        коэффициент пульсации не должен превышать 5%.

Таблица 8.1

Характеристика зрительной работы

Минимальный объект различения, мм

Совмещенное боковое освещение, КЕО %

Искусственное освещение, лк




Система общего освещения

Высокой точности

0,3 - 0,5

1,2

300


.1.1.2 Оптимальные нормы микроклимата для помещений ЭВМ

В соответствии с [44] нормы микроклимата показаны в таблице 8.2.

Таблица 8.2

Период года

Категория работ

t, 0С

Относительная влажность, %

Скорость движения воздуха, м/с

Холодный

Лёгкая Іа

22 - 24

40 - 60

0,1

Тёплый

Лёгкая Іа

23 - 25

40 - 60

0,1


Рабочее место инженера-конструктора относится к категории Іа, т.е. работы, производимые сидя и не требующие физического напряжения (до 120 ккал/час).

Для внутренней отделки интерьера в помещении с ЭВМ должны использоваться диффузно отражающие материалы с коэффициентом отражения для потолка 0,7 - 0,8, для стен 0,5 - 0,6, для пола 0,3 - 0,5. Не рекомендуется использовать материалы следующего вида: древесностружечные плиты, синтетические ковровые поверхности, покрытия, слоистый бумажный пластик и т.д., т.е. материалы, выделяющие в воздух вредные химические вещества.

Поверхность пола должна быть ровной, не скользкой, удобной для очистки и влажной уборки, обладать антистатическими свойствами.

Для повышения влажности воздуха в помещение с ЭВМ следует применять увлажнители воздуха.

8.1.1.3 Обеспечение электробезопасности

Электрические установки, к которым относится практически все оборудование ЭВМ, представляют для человека большую потенциальную опасность, так как в процессе эксплуатации или проведении профилактических работ человек может коснуться частей, находящихся под напряжением. Специфическая опасность электроустановок: токоведущие проводники, корпуса стоек ЭВМ и прочего оборудования, оказавшегося под напряжением в результате повреждения (пробоя) изоляции, не подают каких-либо сигналов, которые предупреждают человека об опасности. Реакция человека на электрический ток возникает лишь при протекании последнего через тело человека.

Исключительно важное значение для предотвращения электротравмотизма имеет правильная организация обслуживания действующих электроустановок ВЦ, проведения ремонтных, монтажных и профилактических работ. В зависимости от категории помещения необходимо принять определенные меры, обеспечивающие достаточную электробезопасность при эксплуатации и ремонте электрооборудования. Так, в помещениях с повышенной опасностью электроинструменты, переносные светильники должны быть выполнены с двойной изоляцией или напряжение питания их не должно превышать 42 В. В особо опасных же помещениях напряжение питания переносных светильников не должно превышать 12 В, а работа с электротранспортируемым напряжением не выше 42 В разрешается только с применением СИЗ (диэлектрических перчаток, ковриков и т.п.).

В соответствии с [45] напряжения прикосновения и токи, протекающие через тело человека при нормальном (неаварийном) режиме электроустановки, не должны превышать значений, указанных в таблице 8.3.

Таблица 8.3

Род тока

U, В

I, мА


не более

Переменный, 50 Гц Переменный, 400 Гц Постоянный

2,0 3,0 8,0

0,3 0,4 1,0


Предельно допустимый уровень напряжения прикосновения при аварийном режиме согласно [45] не должен превышать значений указанных в таблице 8.4.

 

Таблица 8.4

Время воздействия, с

0,01

0,1

0,2

0,3

0,4

0,5

0,6

0,7

0,8

0,9

1

Предельно допустимый уровень напряжения, В

220

200

100

70

55

50

40

35

30

25

20


.1.1.4 Требования к организации и обслуживания рабочих мест с ПЭВМ

К ним относятся следующие требования [43]:

1)  рабочие места с ПЭВМ по отношению к светлым проемам должны располагаться так, чтобы естественный свет падал сбоку преимущественно слева;

2)      схема размещения рабочих мест с ПЭВМ должны учитывать, что расстояние между боковыми поверхностями монитора должны быть 1,2 метра, а расстояние от экрана монитора до тыльной стороны соседнего монитора не менее 2 метров;

)        оконные проемы должны быть оборудованы регулированными устройствами типа жалюзи, занавесы, внешние козырьки;

)        рабочие места с ПЭВМ при выполнении творческой работы, требующее значительно умственного напряжения или высокой концентрации внимания, следует изолировать друг от друга перегородками высотой 1,5 - 2 метра;

)        конструкция рабочего стола должна обеспечивать оптимальное размещение на рабочей поверхности используемого оборудования (в том числе и дополнительного);

)        конструкция рабочего стула (кресла) должна обеспечивать поддержание национальной рабочей позы, позволять изменять позу с целью снижения статического напряжения мышц шейно-плечевой области и спины. Для предупреждения развития утомления. Рабочий стул должен быть подъемно-поворотным, регулированным по высоте и углам наклона сиденья и спинки, а также расстояние спинки от переднего края сиденья. При этом регулировка должна быть независима, легко осуществляемой;

)        поверхность сиденья спинки и других элементов стула должна быть полумягким и нескользящим, не электризующимся и воздухопроницаемым покрытием, обеспечивающий легкую очистку от загрязнения;

)        расстояние от экрана монитора до глаз пользователя, оператора не менее 50 см, оптимальное расстояние 60 - 70 см;

)        клавиатура должна находиться ниже поверхности стула, на специальной выдвижной полки. Расстояние от края полки до края клавиатуры должно быть 10 - 30 см;

)        в помещениях с ПЭВМ должна проводится ежедневно влажная уборка. Должны быть оснащены аптечкой первой помощи и углекислотным огнетушителем;

)        рабочее место с ПЭВМ должно быть оснащено легко перемещаемым пюпитром для документов.

.1.1.5 Требования к ПЭВМ

К ним относятся следующие требования [43]:

1)      конструкция ПЭВМ, его дизайн и совокупность эргономических параметров должны обеспечивать надежное и комфортное изображение информации в условиях информации;

2)      конструкция ПЭВМ должна обеспечивать фронтальное наблюдение экрана путем поворота корпуса в горизонтальной плоскости в переделах ± 300 и в вертикальной плоскости вокруг горизонтальной оси в пределах с фиксацией в заданном положении;

)        дизайн ПЭВМ должен предусматривать окраску корпуса в спокойные мягкие тона. Корпус ПЭВМ, клавиатуры и других устройств должны иметь матовую поверхность одного цвета с коэффициентом отражения 0,4 - 0,6. Не иметь, блестящих деталей способных создавать блики;

)        на лицевой стороне корпуса ПЭВМ не рекомендуется располагать органы управления, маркировку какие - либо вспомогательные надписи и обозначения. При необходимости расположения органов управления на лицевой панели они должны закрываться крышкой или быть утоплены в корпусе;

)        допустимое значение параметра неионизирующих электромагнитных излучений должны быть следующими: напряженность электромагнитного поля на расстоянии 50 см вокруг ВДТ по электрической составляющей должна быть не более 25 В/м в диапазоне частот от 5 Гц до 2 кГц и 2,5 В/м в диапазоне частот от 2 до 400 кГц;

)        поверхностный электростатический потенциал не должен превышать 500 В.

.1.1.6 Меры по снижению и устранению действия опасных и вредных факторов

Главными направлениями улучшения условий труда и обеспечения безопасности пользователей ПЭВМ являются следующие:

1)      улучшение условий зрительной работы;

2)      обеспечение удобной позы пользователя;

)        проведение производственной гимнастики;

)        обеспечение электробезопасности.

Уменьшение нагрузки на зрение может быть достигнуто за счет использования высококачественных мониторов, подбора освещенности и цвета рабочих и окружающих поверхностей.

Для уменьшения блесткости используемых мониторов их экраны необходимо обработать кислотой или покрыть антибликовым составом. Кроме того, можно использовать защитный светофильтр, который снижает уровень излучения от экрана.

.1.2 Расчёт искусственного и естественного освещения

Определим нормированное значение коэффициента естественной освещенности (КЕО) согласно [46]. Выберем следующие параметры: характеристика зрительной работы (различение объектов при фиксированной и нефиксированной линии зрения высокой точности), разряд III (высокой точности), подразряд зрительной работы В. В таблице 6.2 приведены нормы проектирования естественного, совмещенного и искусственного освещения для третьего разряда зрительной работы по [46].

.1.2.1 Расчёт искусственного освещения

Произведем расчет искусственного освещения помещения на рабочем месте инженера-конструктора, методом светового потока согласно [47]. Данный метод позволяет учесть как прямой световой поток, так и отраженный от стен, пола и потолка.

Исходные данные, необходимые для расчета освещения методом светового потока:

-       тип источника света - лампа накаливания;

-       высота подвеса светильника, Н: 2,5 м;

-       тип светильника: «Универсаль»;

-       число источников света: 6;

-       размеры помещения: 4м × 3м.

Световой поток F (лм) определится по следующей формуле

F = E×КЗ×S×Z / N×h,                                              (8.1)

где Е - нормированная освещенность (300 лк согласно нормам);

КЗ - коэффициент запаса, учитывающий старение ламп и загрязнение светильников (определяется из таблицы 3 [47], для помещения с малыми выделениями пыли КЗ = 1,3);- площадь помещения (м2);- коэффициент минимальной освещённости (1,15 для ламп накаливания);- число источников света;

h (%) - коэффициент использования светового потока, зависящий от типа светильника, коэффициента отражения R от стен, потолка, пола и от геометрических характеристик помещений, которые определяют индекс помещения i


В соответствии с полученным индексом помещения найдем коэффициент использования светового потока h по таблице 5 [47]. При этом необходимо учитывать коэффициенты отражения потолка (Rпт), стен (Rст) и пола (Rпл), а также тип светильника. Коэффициенты отражения потолка (Rпт), стен (Rст) и пола (Rпл) определим из таблицы 4 [47]. Они равны соответственно 0,5, 0,5 и 0,23. Согласно исходным данным, тип светильника - «Универсаль». Используя перечисленные данные, определим: h = 28%.

Найдем световой поток F по формуле (8.1)

= (300×1,3×12×1,15) / (6×0,28) = 3204 лм.

Мощность лампы (таблица 6), соответствующая полученному значению составляет 200 Вт, световой поток 2950 лм [47]. Отклонение светового потока данной лампы от расчетного значения составляет 8,6 %, что соответствует допустимому отклонению от минус 10 до плюс 20 % [46].

.1.2.2 Расчёт естественного освещения

Произведем расчет естественного освещения помещения согласно [43]. Предварительный расчет площади световых проёмов при боковом освещении проводится по формуле


где eн - нормированное значение КЕО (1,2%);

h0 - световая характеристика окон (в помещении применяются двойные деревянные стеклопакеты, следовательно, по таблице 7 [47] h0 = 15);

КЗД - коэффициент, учитывающий значение противостоящего здания (поблизости отсутствуют здания, следовательно, по таблице 8 [47] КЗД = 1);

τ0 - общий коэффициент светопропускания, определяется по формуле


где τ1 - коэффициент светопропускания материала (стекло оконное листовое - двойное, следовательно, по таблице 9 [47] τ1 = 0,8);

τ2 - коэффициент, учитывающий потери света в переплётах светопроёма (деревянный спаренный переплёт, следовательно, по таблице 9 [47] τ2 = 0,7);

τ3 - коэффициент, учитывающий потери света в несущих конструкциях, определяется по таблице 10 [47], и равен 0,9;

τ4 - коэффициент, учитывающий потери света в солнцезащитных устройствах (при отсутствии таких устройств равен 1);

τ5 - коэффициент, учитывающий потери света в защитной сетке под фонарями (при отсутствии сетки равен 1).

Таким образом

.

Коэффициент r1, учитывающий повышение КЕО, отраженного от поверхностей помещения, в зависимости от ряда параметров и в том числе средневзвешенного коэффициента отражения Rср, который рассчитывается по формуле


где Rст, Rпт, Rпл - коэффициенты отражения стен, потолка, пола;ст, Sпт, S - площади стен, потолка и пола.


Определим значение коэффициента r1 по таблице 11 [47], следовательно, r1 = 1,15.

Таким образом, площади световых проёмов при боковом освещении равны

Действительная площадь окон составляет S = 1,2м × 2м × 2 шт = 4,8 м2. Выразив из формулы (8.3) действительное значение КЕО, и подставив соответствующие значения коэффициентов, получим

н = 4,8·0,504·1,15 / (0,01·12·1,3·15·1) = 1,2 %.

Таким образом, действительное значение КЕО совмещенного бокового освещения составляет 1,2 %, что соответствует нормам.

.2 Безопасность в чрезвычайных ситуациях

Произведём расчёт устойчивости объекта от взрыва. Устойчивость объектов - это их способность противостоять поражающим факторам ЧС, сохраняя эксплуатационные функции. Под устойчивостью объектов экономики понимают их способность осуществлять перевозки, функционирование промышленных предприятий в условиях воздействия поражающих факторов ЧС. В качестве объекта выберем вычислительный центр со следующими элементами: здание административное, пульты управления, вентиляционная установка, кабель наземный и вычислительная техника.

-       количество топливно-воздушной смеси, Q: 75 т;

-       расстояние от места взрыва до объекта, R: 350 м;

-       число людей на объекте, P: 150 чел.

Радиус зоны бризантного действия (детонационная), где скорость распространения волны составляет несколько тысяч метров за секунду. В этой зоне происходит дробление материалов. Радиус зоны определяется выражением


Зона действия продуктов взрыва, осколков конструкций (зона «огненного» шара). Радиус поражения в этой зоне


Избыточное давление во фронте ударной волны обусловлено расстоянием до объекта и зависит от коэффициента α


При α ≤ 2 избыточное давление (кПа) рассчитывается по формуле


а если α > 2, то


Так как α ≤ 2, то избыточное давление будет равно

Запишем пределы устойчивости элементов и объекта (таблица 8.5). Степень разрушения здания - сильная при избыточном давлении 40,898 кПа.

Согласно выражениям (8.8) - (8.10), рассчитаем избыточное давление для разных значений R для определения радиусов поражения (см. таблицу 8.6) и построим зависимость Pизб от R (рисунок 8.1). По графику определяем расстояние от места взрыва, при котором избыточное давление будет безопасным для человека (10 кПа) - 867,22 м и расстояние от места взрыва, при котором избыточное давление приведёт к летальному исходу (100 кПа) - 214,45 м. Количество пострадавших людей с травмами средней тяжести при сильной степени разрушения здания будет равно 15.

Таблица 8.5

Наименование объекта и его элементов

Предел устойчивости элементов, кПа

Устойчивость объекта, кПа

Вычислительный центр


10

Здание административное

30


Пульты управления

20


Вентиляционная установка

20


Кабель наземный

30


Вычислительная техника

20



Таблица 8.6

Pизб, кПа

551,43

114,74

53,569

32,579

13,461

11,167

8,2623

R, м

100

200

300

400

700

800

1000


Рисунок 8.1 - График зависимости избыточного давления от расстояния между местом взрыва и объектом

Похожие работы на - Разработка автономного радиомаяка

 

Не нашли материал для своей работы?
Поможем написать уникальную работу
Без плагиата!
Без нейросетей!