Моделирование существующего процесса материально-технического снабжения

  • Вид работы:
    Дипломная (ВКР)
  • Предмет:
    Информационное обеспечение, программирование
  • Язык:
    Русский
    ,
    Формат файла:
    MS Word
    3,86 Mb
  • Опубликовано:
    2011-12-14
Вы можете узнать стоимость помощи в написании студенческой работы.
Помощь в написании работы, которую точно примут!

Моделирование существующего процесса материально-технического снабжения

ВВЕДЕНИЕ

Практически в любой области деятельности люди используют тот или иной вид моделей, чтобы иметь более ясное представление о том, что они делают. Моделирование и формализация бизнес-процессов весьма актуальны для построения успешного бизнеса в настоящее время. Преимущества формализации процессов очевидны и заключаются в следующем:

1.   Появление принципиальной возможности роста для компании.

2.       Увеличение привлекательности компании для цивилизованного инвестора.

.        Рост эффективности бизнеса.

.        Возможность отойти от дел: продать бизнес или поставить наемного руководителя.

В данной работе стадии моделирования бизнес-процесса будут рассмотрены на примере процесса материально-технического обеспечения. Он организуется для того, чтобы обеспечить предприятие необходимыми ему материалами в соответствии с выявленными потребностями. Его задача заключается в определении потребности предприятия в материалах и технических ресурсах, изыскании возможностей покрытия этой потребности, организации хранения материалов и выдачи их в подразделения. Модель создается для уменьшения риска, избежания ошибок в процессе обеспечения предприятия ресурсами и увеличения вероятности получения необходимых ресурсов в срок и надлежащего качества. Чтобы рассмотреть процесс во всех деталях, будет произведена разработка модели и ее структурный анализ

Работа будет осуществляться с помощью программного средства BPWin версии 4.0 компании Computer Associates, являющегося мощным средством моделирования и документирования бизнес-процессов и позволяющего осуществлять структурный анализ средствами IDEF-моделирования.

1. АНАЛИЗ ПРОЦЕССА МАТЕРИАЛЬНО - ТЕХНИЧЕСКОГО ОБЕСПЕЧЕНИЯ ПРЕДПРИЯТИЯ

1.1 Описание процесса материально-технического снабжения

Одним из важнейших процессов в деятельности любой организации является процесс материально-технического обеспечения или снабжения предприятия. Он необходим для бесперебойного функционирования производства. Главной задачей органов снабжения предприятия является определение потребности предприятия в материалах и технических ресурсах, изыскании возможностей покрытия этой потребности, организации хранения материалов и выдачи их в подразделения, а также в проведении контроля за правильным использованием материально-технических ресурсов и содействия в их экономии. Владельцем процесса в рассматриваемом случае является начальник отдела материально-технического обеспечения, а исполнителями - сотрудники подразделения.

Содержание функций органа снабжения предприятия включает три направления.

. Планирование, которое предполагает:

изучение внешней и внутренней среды предприятия, а также рынка отдельных товаров;

прогнозирование и определение потребности всех видов материальных ресурсов, планирование хозяйственных оптимальных связей;

оптимизацию производственных запасов;

планирование потребности материалов и установление их лимита на отпуск цехам;

оперативное планирование снабжения.

. Организация, которая включает:

сбор информации о потребной продукции, участие в ярмарках, выставках-продажах, аукционах и т. п.;

анализ всех источников удовлетворения потребности в материальных ресурсах с целью выбора наиболее оптимального;

заключение с поставщиками хозяйственных договоров на поставку продукции;

получение и организацию завоза реальных ресурсов;

организацию складского хозяйства, входящего в состав органов снабжения;

обеспечение цехов, участков, рабочих мест необходимыми материальными ресурсами;

. Контроль и координация работы, в состав которых входят:

контроль за выполнением договорных обязательств поставщиков, выполнение ими сроков поставки продукции;

контроль за расходованием материальных ресурсов в производстве;

входной контроль за качеством и комплектностью поступающих материальных ресурсов;

контроль за производственными запасами;

выдвижение претензий поставщикам и транспортным организациям.

Входами в рассматриваемый бизнес-процесс являются заявки руководителей подразделений на приобретение оборудования и ресурсов (комплектующие, полуфабрикаты, необходимые для производства) и финансовые средства, с помощью которых можно осуществить закупки. Под бюджетами в данном случае подразумевается следующее:

Результатом процесса материально-технического снабжения является новое оборудование, полученные ресурсы и реестр поставщиков. Сотрудники подразделения во время работы руководствуются стандартами предприятия, своими должностными инструкциями и планом закупок. Под планом закупок подразумевается намеченная на определенный период работа с указанием целей, содержания, объёма, методов, последовательности, сроков выполнения закупок.

1.2 Анализ информационных потоков в процессе материально-технического снабжения

На предприятии, на котором рассматривается процесс материально-технического обеспечения, разработана, задокументирована, и внедрена система менеджмента качества (СМК). СМК основывается на процессном подходе, при этом деятельность предприятия рассматривается как управляемый процесс, в котором входные материальные и информационные потоки преобразуются в выходные потоки продукции и услуг. С целью визуализации и структурирования разработана модель системы качества, основанная на процессном подходе которая представлена на рисунке 1.

Как видно из рисунка одним из главенствующих процессов является менеджмент ресурсов, основные функции и упрощенные потоки которого отображены.

Если рассматривать более подробно информационный обмен, осуществляемый информационными потоками. и происходящий в процессе снабжения предприятия ресурсами, то можно представить его в виде, изображенном на рисунке 2.

В данном случае под информационными потоками понимается информация, находящаяся в упорядоченном движении по заданным направлениям с фиксированными начальными, промежуточными и конечными точками [2].

Из структурных подразделений предприятия в отдел материально-технического обеспечения поступают заявки на приобретение определенных изделий или комплектующих, необходимых либо в производстве, либо для организации труда, оказание определенных видов услуг т.п. В соответствии с заявками происходит поиск поставщика: производится анализ фирм, предоставляющих необходимые товары и услуги, изучается их ценовая политика, ведутся переговоры с менеджерами фирм.

Рисунок 1 - Модель системы менеджмента качества

Рисунок 2 - Направления информационных потоков в процессе материально-технического обеспечения

После того как обговорены все детали с поставщиком, оформляется договор на оказание услуги или поставку материально-технической ценности. Далее производится процесс поставки заказа на склад предприятия. При получении заказа производится контроль целостности, пригодности и работоспособности полученного изделия, после чего заказавшее материально-техническую ценность (МТЦ) подразделение может его получить со склада.

1.3 Постановка задачи моделирования бизнес-процесса материально-технического обеспечения

Новые условия развития общества и экономики предъявляют жесткие требования к эффективности решения задач управления для создаваемых, действующих и развивающихся предприятий и учреждений различного типа (производственных, финансовых, торговых, офисных и т.д.). Их конкурентоспособное функционирование на современном этапе становится невозможным без решения комплекса задач, связанных с реорганизацией их бизнес-процессов:

1 формализации деятельности предприятия;

2 анализа и верификации моделей бизнес-процессов;

3        формирования предложений по реорганизации бизнес-процессов;

         автоматизации бизнес-процессов и др. [3]

Моделирование деятельности - ключевой компонент построения бизнес-систем, поскольку стратегия функционирования компании выражается в действиях [1]. Для успешного управления компанией необходимо иметь наглядное представление процессов, протекающих в ней, визуализацию всех осуществляемых действий. Наличие модели значительно сокращает временные затраты и облегчает принятие и повышает количество корректных решений возникающих в процессе деятельности организации проблем.

Целью создания модели процесса материально-технического снабжения предприятия является совершенствование деятельности организации в данном направлении: сокращение временных затрат на поиск поставщиков и доставку ресурсов, а также сокращение финансовых затрат на организацию процесса.

Для достижения данной цели необходимо решить ряд задач, таких как, детальное изучение предметной области рассматриваемого процесса, разработка функциональной модели и сценариев, возможных вариантов проведения процесса, оптимизация процесса снабжения и создание на основе выполненных разработок связи с базой данных.

2 МОДЕЛИРОВАНИЕ СУЩЕСТВУЮЩЕГО ПРОЦЕССА МАТЕРИАЛЬНО-ТЕХНИЧЕСКОГО СНАБЖЕНИЯ

2.1 Разработка функциональной модели процесса материально-технического снабжения

Неизбежное постоянное усложнение систем, создаваемых человеком - искусственных организационно - технических систем в первую очередь - в разных областях деятельности, привело к осознанию необходимости предвидеть результаты длительных и дорогостоящих работ по их созданию и к поиску инструментария для этого. Этот поиск шёл в направлении обретения способности увидеть и оценить функционирование создаваемой системы раньше, чем она будет создана физически. Решение этой задачи связано с технологией моделирования работы систем.[4]

Взаимная совокупность методик и моделей концептуального проектирования IDEF разработана в США по программе Integrated Computer-Aided Manufacturing. В настоящее время имеются методики функционального, информационного и поведенческого моделирования и проектирования, в которые входит и IDEFO - функциональное моделирование (Function Modeling Method). Наиболее известной реализацией IDEF0 является методология SADT (Structured Analysis and Design Technique). Эта методика рекомендуется для начальных стадий проектирования сложных искусственных систем управления, производства, бизнеса, включающих людей, оборудование, программное обеспечение. IDEF0 модель - графическое описание системы или объекта, которое разработано для определенной цели и с выбранной точки зрения. Набор из одной или большего количества IDEF0 диаграмм, которые изображают функции системы или предметной области в графике, тексте и глоссарии [5]

Значительный спрос на функциональное моделирование вызывают работы по созданию систем менеджмента качества (СМК) в соответствии с международными стандартами ISO 9000:2000. Создаваемая функциональная модель позволяет сформировать описание работы (функционирования) создаваемой системы и проанализировать, с её помощью, реальность предстоящих улучшений, величины необходимых затрат и другие характеристики создаваемой, или подвергающейся модернизации, системы. А также грамотно скоординировать работу подсистем. [4]

 

.1.1 CASE-средство моделирования BPwin

Существенное расширение возможностей осуществления функционального моделирования принесло введение в 90-х годах истекшего века его компьютерной поддержки. Широко распространённым современным средством компьютерной поддержки функционального моделирования является пакет прикладных программ AllFusion Process Modeler, поставляемый компанией Computer Associates International, Inc., США. Помимо IDEF0, AllFusion Process Modeler поддерживает, также, методику моделирования информационных процессов DFD, а также методику потокового моделирования IDEF3. Поддерживаются как монометодические модели, так и "гибридные" функциональные модели, состоящие из диаграмм в методиках IDEF0, DFD, IDEF3. IDEF0 поддерживает моделирование как материальных систем, так и систем информационных. IDEF3 также поддерживает моделирование систем обоих видов. Все методики в составе AllFusion Process Modeler имеют возможность информационного пополнения модели данными о затратах на осуществление функций, о длительности выполнения функций и их повторяемости - в технологии функционально - стоимостного моделирования - Activity Based Costing (ABC). [4]

Для проектирования процесса материально-технического снабжения используем BPWin 4.0. Создадим сначала функциональную модель, содержащую 4 типа диаграмм: контекстную диаграмму, диаграммы декомпозиции, диаграммы дерева узлов, диаграммы потоков данных.

2.1.2 Разработка контекстной диаграммы

Функциональная модель (ФМ) разрабатывается как некоторый набор диаграмм, текстов и глоссария.

Каждая диаграмма разрабатывается как отдельный лист в формате от А4 до А1 или Customer (пользовательский). Основой функциональной модели является Activity - функция, графическим символом которой является прямоугольник (Box - в первоисточнике), в котором вписано имя функции в виде глагола или отглагольного существительного.

Каждая функция (прямоугольник Activity) встраивается в ФМ четырьмя типами связей - вход (Input) - всегда стрелка, символизирующая вход, направлена слева, в левую грань прямоугольника функции; выход (Output) - всегда из правой грани прямоугольника направо; управление (Control) - всегда стрелка сверху вниз, на верхнюю грань прямоугольника; механизм (Mechanism) выполнения функции - стрелка снизу к нижней грани прямоугольника Activity.

Это означает, что осуществление указанной в прямоугольнике функции приводит к преобразованию входа - в выход; что это преобразование осуществляется при помощи механизма и под управлением, символизированным стрелкой Control.

Первая диаграмма ФМ, называемая ТОР (верхней или контекстной) диаграммой, имеет только один прямоугольник Activity, который символизирует работу системы в целом. Все связи на этой диаграмме являются связями моделируемой системы со средой функционирования. [4]

Так как целью курсового проекта является рассмотрение процесса материально-технического снабжения, который является одним из множества процессов, осуществляемых на предприятии и функционирует в непосредственной взаимосвязи с ними, то наименованием контекстной диаграммы будет «Деятельность предприятия». На рисунке 3 представлена контекстная диаграмма, разрабатываемой модели. Из него видно, что входом в «деятельность предприятия» являются звонки клиентов, на выходе получаем «Выполненные заказы». Деятельность регулируется с помощью нормативных документов и осуществляется персоналом, оборудованием, программным обеспечением и информационной базой.

Стрелки на диаграмме верхнего уровня соединяют работу и границы диаграммы, они же - границы моделирования.

Рисунок 3 - Контекстная диаграмма деятельности предприятия


Рисунок 4 - Диалоговое окно настройки свойств модели

2.1.3 Разработка диаграмм декомпозиции

После описания контекста проводится функциональная декомпозиция- система разбивается на подсистемы и каждая подсистема описывается в том же синтаксисе, что и система в целом. Затем каждая подсистема разбивается на более мелкие и так до достижения нужного уровня подробности. В результате такого разбиения, каждый фрагмент системы изображается на отдельной диаграмме декомпозиции. Диаграмма декомпозиции предназначена для детализации работы. В отличие от моделей, отображающих структуру организации, работа на диаграмме верхнего уровня в IDEF0 - это не элемент управления нижестоящими работами. Работы нижнего уровня - это то же самое, что работа верхнего уровня, но в более детальном изложении. После каждого сеанса декомпозиции автором диаграммы формируется папка - набор документов, в который входит сама диаграмма, дополнительные отчеты и т.д. Папка направляется эксперту предметной области (т.е. человеку, хорошо разбирающемуся в моделируемом фрагменте деятельности предприятия) для проведения экспертизы. На уровне контекстной диаграммы это может быть управляющий предприятия, на уровне первой декомпозиции - начальник отдела и так далее вплоть до рядового исполнителя. Прежде чем декомпозировать далее, на текущем уровне необходимо внести в диаграмму все замечания экспертов. Таким образом, каждый из экспертов дополняет модель в той ее части, в которой он наиболее компетентен. В результате получается полностью адекватная системе модель, которая позволяет наглядно представить существующие недостатки, перенаправить и усовершенствовать бизнес - процессы, провести анализ стоимости производства, а также послужить основой для создания информационной системы.[6]

Деятельность предприятия разобьем на 6 функциональных блоков, определим для каждого блока стрелки входов, выходов, механизмов и управления. В случае, если какая-то из стрелок диаграммы декомпозиции отсутствует на родительской диаграмме, используем тоннели. Для того, чтобы облегчить восприятие диаграммы, обозначим стрелки разными цветами и воспользуемся функцией Squiggle. Диаграмма декомпозиции «Деятельность предприятия» представлена на рисунке 5.

Рисунок 5 - Диаграмма декомпозиции «Деятельность предприятия»

Так как рассматриваемый нами процесс связан с управлением ресурсами, то осуществим декомпозицию функционального блока «Управление ресурсами». На предприятии используются различные ресурсы, поэтому разобьем «Управление ресурсами» на 3 блока: «Найм и управление персонала», «Управление инфраструктурой» и «Управление производственной средой» (рисунок 6).

Рисунок 6 - Диаграмма декомпозиции «Управление ресурсами»

Обеспечение предприятия материально-техническими средствами относится к управлению инфраструктурой, поэтому следующим декомпозируем блок «Управление инфраструктурой» на 3 функциональных блока.

Рисунок 7 - Диаграмма декомпозиции «Управление инфраструктурой»

Управление закупками разобьем на 4 блока: «Планирование закупок», «Выбор поставщика», «Заключение договора с поставщиком» и «Доставку». Данная диаграмма декомпозиции представлена на рисунке 8.

Рисунок 8 - Диаграмма декомпозиции «Управление закупками»

Также осуществим декомпозиции в нотации IDEF0 функциональных блоков «Планирование закупок» и «Управление хранением». Диаграммы представлены на рисунках 9 и 10.

Рисунок 9 - Диаграмма декомпозиции «Планирование закупок»

Рисунок 10 - Диаграмма декомпозиции «Управление хранением»

Декомпозируем блоки «Заключение договора с поставщиком» и «Доставка» и представим их на рисунках 11 и12.

Рисунок 11 - Диаграмма декомпозиции «Заключение договора с поставщиком»

Рисунок 12 - Диаграмма декомпозиции «Доставка»

В дополнение к контекстным диаграммам и диаграммам декомпозиции при разработке и представлении моделей могут применяться другие виды IDEFO-диаграмм.

Дерево модели - обзорная диаграмма, показывающая структуру всей модели. На рисунке 13 приведена такая диаграмма. Обычно вершина дерева соответствует контекстному блоку, под вершиной выстраивается вся иерархия блоков модели. Однако не запрещается назначать вершиной произвольный блок, помещая под ним все его детские блоки. Из-за высокой итеративности функционального моделирования можно ожидать, что дерево модели будет неоднократно изменяться существенным образом до тех пор, пока не будет получена его стабильная версия. Обзор модели с использованием дерева помогает сконцентрироваться на функциональной декомпозиции модели. [1]

2.2 Разработка моделей и сценариев бизнес-процессов в нотации IDEF3

В отличие от IDEF0, представляющего моделируемую систему как совокупность видов деятельности, IDEF3 представляет собой технику моделирования деятельности как последовательности событий, а также участвующих в этих событиях объектов. В этом смысле IDEF3 похож на стандарт eEPC в ARIS. IDEF3 удобен для подробного моделирования деятельности отдельных подразделений, сотрудников, описания техпроцессов и т.д. Формат листа диаграммы IDEF3 аналогичен IDEF0. В IDEF3 используются следующие типы объектов:

1.   работа (Unit of Work, Activity)

2.       стрелка (Arrow)

.        перекресток, или коннектор (Junction)

4.       ссылочный объект (Referent)

IDEF3 дополняет IDEF0 и содержит все необходимое для построения моделей, которые в дальнейшем могут быть использованы для имитационного анализа. IDEF3 - это метод, имеющий основной целью дать возможность аналитикам описать ситуацию, когда процессы выполняются в определенной последовательности, а также описать объекты, участвующие совместно в одном процессе. Техника описания набора данных IDEF3 является частью структурного анализа. В отличие от некоторых методик описаний процессов IDEF3 не ограничивает аналитика чрезмерно жесткими рамками синтаксиса, что может привести к созданию неполных или противоречивых моделей. Каждая работа в IDEF3 описывает какой-либо сценарий бизнес-процесса и может являться составляющей другой работы. Поскольку сценарий описывает цель и рамки модели, важно, чтобы работы именовались отглагольным существительным, обозначающим процесс действия, или фразой, содержащей такое существительное. Диаграмма является основной единицей описания в IDEF3.

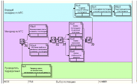
Осуществим декомпозицию блока «Выбор поставщика» в нотации IDEF3 и представим результаты на рисунке 14.

Рисунок 14 - Диаграмма декомпозиции в нотации IDEF3 процесса выбора поставщика

Процесс осуществления входного контроля поступающей продукции представим на рисунке 15.

Рисунок 15 - Диаграмма декомпозиции в нотации IDEF3 процесса проведения входного контроля.

Создадим диаграмму сценария возможного хода процесса выбора поставщика и представим ее на рисунке 16.

Рисунок 16 - Диаграмма сценария IDEF3 процесса выбора поставщика

2.3 Структурный анализ потоков данных

Диаграммы потоков данных (Data flow diagramming, DFD) используются для описания документооборота и обработки информации. Подобно IDEF0, DFD представляет модельную систему как сеть связанных меж собой работ. Их можно использовать как дополнение к модели IDEF0 для более наглядного отображения текущих операций документооборота в корпоративных системах обработки информации. DFD описывают функции обработки информации, документы, объекты, а также сотрудников или отделы, которые участвуют в обработке информации. Синтаксис DFD включает помимо работ и стрелок дополнительные элементы: внешнюю сущность, которая служит для изображения внешних по отношению к проектируемой системе объектов, (например, клиент, отдел кадров, справочники) и хранилище данных - "склад" информационных объектов.

Хранилищем данных может быть база данных, файл или архив бумажных документов. Хранилище данных - это как бы «замороженные» данные, позволяющие отобразить отсрочку в передаче объектов и информации от одной работы к другой.

Наличие в диаграммах DFD элементов для описания источников, приемников и хранилищ данных позволяет более эффективно и наглядно описать процесс документооборота. Однако, для описания логики взаимодействия информационных потоков более подходит IDEF3, называемая также workflow diagramming, - методология моделирования, использующая графическое описание информационных потоков, взаимоотношений между процессами обработки информации и объектов, являющихся частью этих процессов [6].

Создадим две диаграммы DFD для описания информационных потоков в процессе подготовки прогнозов цен на ресурсы и в процессе распределения материально-технических ценностей (рисунок 17 и 18).

Рисунок 17 - DFD диаграмма работы «Распределение»

Рисунок 18 - DFD диаграмма работы «Подготовка прогнозов уен на ресурсы»

имеет мощный инструмент навигации - Model Explorer, который позволяет представить смешанную модель в виде дерева диаграмм и существенно облегчает навигацию по модели. С помощью Model Explorer можно методом Drag&Drop переносить и копировать работы вместе со всеми соответствующими стрелками как внутри модели так и между моделями. Работы IDEF0 показываются в Model Explorer зеленым цветом, DFD - желтым и IDEF3 - синим.

В результате проведенной работы получили смешанную модель, представленную на рисунке 19.

бизнес модель снабжение диаграмма

Рисунок 19 - Представление смешанной модели в Model Explorer

2.4 Разработка диаграмм Swim Lane и Organization Chart

Для того чтобы наглядно представить структуру организации к любой модели в BPwin 4.0 можно добавить схему организации. Схемы организации BPwin имеют традиционную древовидную иерархическую структуру, на вершине которой находится один прямоугольник, от которого идут ветвления к нескольким нижестоящим. Каждый прямоугольник в схеме организации соответствует конкретной роли или должности, например президента или вице-президента.

С помощью диаграммы Organization Chart проиллюстрируем подчиненность должностных лиц, связанных с материально-технических снабжением организации и представим диаграмму на рисунке 20.

Рисунок 20 - диаграмма Organization Chart

Lane диаграммы можно добавлять к любой модели в BPwin для более наглядного изображения течения процесса. Эти диаграммы используют методологию IDEF3 и показывают горизонтальные полосы, которые представляют участие в процессе ролей.

Построение данной диаграммы необходимо начать после создания UDP. Создадим Swim Lane диаграмму, основываясь на диаграмме «Выбор поставщика», представим ее на рисунке 21.

Рисунок 21 - Swim Lane диаграмма процесса выбора поставщика.

2.5 Анализ модели «AS IS» и постановка задачи на строительство модели «TO BE»

Обычно в целях реорганизации предприятия сначала строится функциональная модель существующей организации работы -«AS-IS» (как есть). На основе модели «AS-IS» достигается консенсус между различными единицами бизнеса по тому, «кто что сделал», и что каждая единица бизнеса добавляет в процесс. Модель «AS-IS» позволяет выяснить «что мы делаем сегодня» перед тем, как перепрыгнуть на то, «что мы будем делать завтра». Анализ функциональной модели позволяет понять, где находятся наиболее слабые места, в чем будут состоять преимущества новых бизнес-процессов и насколько глубоким изменениям подвергнется существующая структура организации бизнеса. Детализация бизнес-процессов позволяет выявить недостатки организации даже там, где функциональность на первый взгляд кажется очевидной. Найденные в модели «AS-IS» недостатки можно исправить при создании модели «TO-BE» (как будет) - модели новой организации бизнес-процессов. Модель «TO-BE» нужна для анализа альтернативных лучших путей выполнения работы и документирования того, как компания будет делать бизнес в будущем. Как правило, строятся несколько моделей «TO-BE», из которых по какому-либо критерию выбирается наилучшая. Проблема состоит в том, что таких критериев много и непросто определить важнейший. Для того, чтобы определить качество созданной модели с точки зрения эффективности бизнес- процессов, необходима система метрики, то есть качество следует оценивать количественно. предоставляет аналитику два инструмента для оценки модели - стоимостной анализ, основанный на работах (Activity Based Costing, ABC) и свойства, определяемые пользователем (User Defined Properties, UDP). ABС является широко распространенной методикой, используемой международными корпорациями и государственными организациями (в том числе Департаментом обороны США) для идентификации истинных движителей затрат в организации.

Стоимостной анализ представляет собой соглашение об учете, используемое для сбора затрат, связанных с работами, с целью определить общую стоимость процесса. Стоимостной анализ основан на модели работ, поскольку количественная оценка невозможна без детального понимания в функциональности предприятия. Обычно ABC применяется для того, чтобы понять происхождение выходных затрат и облегчить выбор нужной модели работ при реорганизации деятельности предприятия (Business Process Re-engineering, BPR). С помощью стоимостного анализа можно решить такие задачи как определение действительной стоимости производства продукта, определение действительной стоимости поддержки клиента, идентификация работ, которые стоят больше всего (те, которые должны быть улучшены в первую очередь), обеспечение менеджеров финансовой мерой предлагаемых изменений т.д.[6]


Рисунок 22 - Окно настройки Activity Based Costing Report

Рисунок 23 - Фрагмент отчета стоимостного анализа

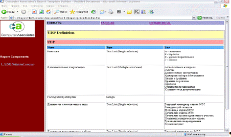
Если для того чтобы усилить значение модели, средств функционально-стоимостного анализа оказывается недостаточно, то в BPwin имеется возможность внесения собственных показателей - свойств, определенных пользователем (User Defined Properties, UDP). Имеется возможность задания 18 различных типов UDP. UDP позволяют провести дополнительный анализ, хотя и без суммирующих подсчетов.

Для описания UDP служит диалог User-Defined Property Editor (меню Model/UDP Definition Editor). В верхнем окне диалога вносится имя UDP, в списке выбора Datatype описывается тип свойства. С помощью Report Builder оформим отчет по UDP c генерацией html-кода. Окно настройки Report Builder представлено на рисунке 24.

Рисунок 24 - Диалоговое окно Report Builder

Выбрав параметры для формирования отчета, сгенерируем отчет, который будет отображаться браузером. Фрагмент отчета представим на рисунке 25.

Рисунок 25 - Фрагмент отчета по UDP

Качество оценивается с трех позиций:

1)  семантическая - смысловая адекватность бизнес-процессов, устанавливается в результате процедуры экспертной оценки;

2)      синтаксическая - в соответствии с требованиями IDEF, автоматически обеспечивается при построении диаграмм в BPWin;

)        количественная - характеризует отношение сложности диаграммы и подробности описания. При количественном анализе диаграмм необходимо чтобы выполнялись следующие условия:

–       количество блоков на диаграмме нижних уровней должно быть ниже количества блоков родительской диаграммы, то есть с увеличением уровня декомпозиции коэффициент  убывал (N - количество блоков на диаграмме, L - уровень декомпозиции);

–   коэффициент сбалансированности диаграммы должен быть минимальным


Аi - число стрелок соединяющихся с блоками;

–   модели функций должны упрощаться;

–       диаграммы должны быть сбалансированы - число входящих стрелок и стрелок управления не должно быть значительно больше, чем число выходящих стрелок.

Таблица 1. Количественная оценка диаграмм

Уровень декомпозиции L

Количество блоков N

Число дуг A

Коэффициент сбалансированности KB



1

6

56

6

2.7

2

3

33

1.5

2

3

3

24

1

4

4

4

29

1

0,75

5

2

13

0.4

0.5


Проведенный анализ показал несбалансированность модели, потому что коэффициент сбалансированности третьего уровня декомпозиции значительно выше коэффициентов на остальных уровнях.

Анализ организационной диаграммы, представленной на рисунке 20, показал децентрализованность управления процессом материально-технического снабжения. Отделы, участвующие в организации снабжения предприятия ресурсами, подчиняются разным заместителям генерального директора, что является причиной рассогласованности действий различных подразделений.

Проведенный UDP анализ выявил необходимость введения новой штатной единицы для доставки материально-технических ресурсов. Необходимо устранить недостатки модели “AS-IS” и повысить эффективность протекания процесса материально-технического снабжения.

2.6 Формализация и оценка качества бизнес-процесса материально-технического снабжения

Важнейшим элементом процессной модели любого предприятия является система классификации бизнес-процессов. Бизнес-процессом называется связанная совокупность функций, в ходе выполнения которой потребляются определенные ресурсы и создается продукт (вещественный или нематериальный результат человеческого труда: предмет, услуга, научное открытие, идея), представляющий ценность для потребителя.

Детализация бизнес-процесса осуществляется посредством бизнес-функций, бизнес-операций и бизнес-правил.[3] Осуществим формализацию бизнес-процесса в виде графа управления бизнес-функциями.

Деятельность по материально-техническому обеспечению предприятия содержит следующие бизнес-функции:

N - сбор заявок на приобретение ресурсов;

N - планирование закупок;

N - выбор поставщиков;

N - заключение договора;

N - доставка ресурса;

N - распределение.

Перечисленные бизнес-функции выполняются следующими работниками:

М - менеджер отдела материально-технического снабжения;

М - ведущий менеджер отдела материально-технического снабжения;

М - водитель;

М - кладовщик;

При выполнении бизнес-процесса учитываются следующие ресурсы:

R - компьютеры и оргтехника;

R - транспортные средства

Таким образом для рассматриваемого процесса:


Рисунок 26 - граф бизнес-процесса материально-технического снабжения

Опишем далее множество ребер графа бизнес-процесса.

Множество управляющих ребер:


Е описывает 1 последовательность выполнения бизнес-функции:

:

Множество ребер подчиненности:


Множество ребер исполнения бизнес-функции:


Множество ребер использования ресурсов:


3 СОВЕРШЕНСТВОВАНИЕ ПРОЦЕССА МАТЕРИАЛЬНО-ТЕХНИЧЕСКОГО СНАБЖЕНИЯ

Найденные в модели AS-IS недостатки исправляются путем создания модели ТО-ВЕ (как будет), т.е. модели новой организации процессов на предприятии. Создание и внедрение ИС приводит к изменению условий выполнения отдельных операций, структуры процессов и предприятия в целом. Это приводит к необходимости изменения системы правил, используемых на предприятии, модификации должностных инструкций сотрудников. Функциональная модель TO-BE позволяет уже на стадии проектирования будущей ИС определить эти изменения. Применение функциональной модели TO-BE позволяет не только сократить сроки внедрения информационной системы, но также снизить риски, связанные с невосприимчивостью персонала к информационным технологиям. Модель ТО-ВЕ нужна для анализа альтернативных (лучших) путей выполнения функции и документирования того, как компания будет делать бизнес в будущем.

Функциональная модель TO-BE позволит четко определить распределение ресурсов между операциями делового процесса, что дает возможность оценить эффективность использования ресурсов после предлагаемого реинжиниринга.

Дополнительные функции и возможности при построении функциональной модели процессов в модели TO-BE:

1.   модель позволяет идентифицировать все информационные объекты, которыми оперирует предприятие в своей деятельности. В отличие от информационных моделей (Data Flow Dia-grams, IDEF1X) функциональная модель IDEF0 отражает, как именно используются инфор-мационные объекты в рамках деловых процессов;

2.       модель позволяет четко определить распределение ресурсов между этапами процесса, что дает возможность оценить эффективность использования ресурсов.

Только на основе разработанной модели ТО-ВЕ в дальнейшем происходит построение модели данных, прототипа и затем окончательного вариант ИС.

3.1 Разработка функциональной модели процесса материально-технического снабжения

Проведенный анализ хода процесса выявил значительные нестыковки между подразделениями, занимающимися материально-техническим снабжением. Причиной этого может являться несогласованность действий руководителей, поэтому предложена новая схема подчиненности, представленная на рисунке 27.

Рисунок 27 - Организационная схема процесса материально технического снабжения модели “TO BE”

Были произведены некоторые изменения на втором, третьем и четвертом уровнях декомпозиции. В управление закупками добавился блок «Контроль за выполнением договора», который необходим для сбора статистики по работе с поставщиками и анализа выполнения поставщиками своих обязательств. Также произошла некоторые изменения с наименованиями блоков. Произошедшие изменения отображены на рисунках 28-30.

Рисунок 28 - Диаграмма декомпозиции «Управление ресурсами» модели «ТО ВЕ»

Рисунок 28 - Диаграмма декомпозиции «Снабжение» модели «ТО ВЕ».

Рисунок 28 - Диаграмма декомпозиции «Управление закупками» модели «ТО ВЕ»

Проведем повторно количественную оценку диаграмм модели «ТО ВЕ». Результаты представлены в таблице 2.

Таблица 2. Количественная оценка диаграмм модели «ТО ВЕ»

Уровень декомпозиции L

Количество блоков N

Число дуг A

Коэффициент сбалансированности KB



1

6

56

6

2,7

2

4

35

2

2,25

3

4

29

1,3

2

4

4

32

1

0,75

5

2

13

0,4

0,5


3.2   Разработка моделей и сценариев бизнес-процессов модели «ТО ВЕ»

В связи с обнаруженной необходимостью введения новой штатной единицы, в обязанности которого входило бы согласование деятельности по доставке закупленных ресурсов между отделом материально-технического снабжения и транспортной группой, разработаем диаграмму, описывающую процесс доставки в нотации IDEF3. А также на ее основе построим диаграмму Swim Lane. Диаграммы представлены на рисунках 29 и 30.

Рисунок 29 - Сценарий бизнес-процесса «Доставка ресурсов» модели «ТО ВЕ».

Рисунок 29 - Swim Lane диаграмма бизнес-процесса «Доставка ресурсов» модели «ТО ВЕ»

3.3         Моделирование потоков данных процесса материально-технического снабжения модели «ТО ВЕ»

Осуществим моделирование потоков данных для блока «Контроль за качеством выполнения договора». Результат представлен на рисунке 30.

Рисунок 30 - Диаграмма потоков данных в процессе контроля за качеством выполнения договора «ТО ВЕ»

4. РАЗРАБОТКА СТРУКТУРЫ БАЗЫ ДАННЫХ. ОБЕСПЕЧЕНИЕ ИНФОРМАЦИОННОЙ БЕЗОПАСНОСТИ ПРИ РАБОТЕ С БАЗОЙ ДАННЫХ. ПОЛИТИКА БЕЗОПАСНОСТИ, ВОЗМОЖНЫЕ АТАКИ

4.1 Разработка структуры базы данных

В процессе осуществления материально-технического снабжения образуются большие объемы информации, касающиеся поставляемых ресурсов, поставщиков, проведения входного контроля получаемой продукции, мест хранения и распределения. В каждом подразделении, участвующем в поставках, ведутся журналы, электронные таблицы, то есть данные о ходе процесса фиксируются. Но единого хранилища этих данных не существует. Возникают проблемы во взаимодействии разных подразделений. Для оптимизации работы, ускорения и повышения качества хода процесса необходимо разработать базу данных, в которой хранилась бы вся существенная информация, касающаяся процесса и к которой имели бы доступ, занятые обеспечением ресурсами сотрудники.

К базе данных, которая будет использоваться для процесса материально-технического снабжения, предъявляются следующие требования: простота обновления данных, независимость данных, совместное использование данных многими пользователями, безопасность данных, высокое быстродействие, адекватность отображения данных соответствующей предметной области и дружелюбный интерфейс пользователя.

Предметная область достаточно изучена в процессе моделирования бизнес-процесса, поэтому можно приступать к созданию логического и физического уровня базы данных с использованием программного средства ERWin. В последствии информация будет импортирована в BPWin, а также сгенерирована в MS Access. Именно в MS Access будет происходит настройка базы под рассматриваемый процесс: создание удобных форм для заполнения, отчетов, редакция сгенерированных таблиц и заполнение базы конкретными данными.

Логический уровень разрабатываемой базы данных, выполненный в программе ERWin, представлен на рисунке 31.



СПИСОК ЛИТЕРАТУРЫ

1. С.В. Черемных, Структурный анализ. IDEF-технологии - М.: Финансы и статистика», 2003.

. Туровец О.Г. Теоретические основы организации производства - Воронеж, 2003.

. Г.Н. Калянов «Моделирование, анализ, реорганизация и автоматизация бизнес-процессов» - М.: Финансы и статистика», 2007.

4. <http://www.ca.com/ru/about/content.aspx?cid=142677> Дубейковский В.И., 2006 год Технический консультант Отдел внедрения и консалтинга Компания Интерфейс www.interface.ru <http://www.interface.ru>

Похожие работы на - Моделирование существующего процесса материально-технического снабжения

 

Не нашли материал для своей работы?
Поможем написать уникальную работу
Без плагиата!
Без нейросетей!