Уборка урожая подсолнечника
СОДЕРЖАНИЕ
Введение
. Анализ состояния вопроса и агротехнические требования
. Обзор существующих конструкций
. Обоснование и выбор новой конструкции
. Технологический расчет
. Конструктивный расчет
. Расчет технико-экономических показателей
Заключение
Список использованной литературы
ВВЕДЕНИЕ
Уборка урожая - завершающий этап возделывания подсолнечника. Она требует
больших затрат труда и средств, своевременной и четкой организации работ,
умелого использования уборочной техники, погрузочно-разгрузочных и транспортных
средств.
Сроки уборки. Важное значение имеют сроки уборки. При слишком ранней
уборке преждевременно приостанавливается маслообразовательный процесс, семена
содержат меньше масла и выход его с единицы площади уменьшается. Влажность
семян, как правило, бывает повышенной, на токах и при хранении трудно создать
условия, исключающие их порчу от самосогревания. При поздних сроках уборки
снижается урожай из-за осыпания семян в поле и при воздействии рабочих органов
комбайна.
У подсолнечника различают следующие три степени спелости:
желтая - обхватывающие листья и тыльная сторона корзинки приобретает
лимонно-желтый цвет. Влажность корзинки 85-88%, а семян 30-40%. Это состояние
соответствует ботанической спелости подсолнечника. У семян полностью заканчивается
накопление питательных веществ, что обуславливает их высокие посевные и
урожайные качества.
бурая - корзинки приобретают бледно- и темно-бурую окраску, влажность их
снижается до 40-50%, а семян до 10-12%.
полная - влажность корзинок 18-20%, семян 7-10%.
Оптимальному сроку начала уборки соответствует состояние поля, когда
10-15% растений будут иметь желтые и желто-бурые корзинки, а остальные бурые и,
как правило, сухие. В такой фаз спелости влажность семян снижается на 12-14%,
самих корзинок - 70-75%, стеблей до 60-70%. Листья подсыхают, семена
приобретают типичную для сорта окраску, а ядра становятся твердыми. При этом за
счет более полного налива и увеличения семян фактический урожай, убранной при
полной спелости на 1,6-3,5 ц/га выше, чем при уборке в ранние сроки. Потери
семян при уборке в этот период при правильной регулировке комбайна минимальная.
В северных районах уборка может начаться несколько раньше, т.е. при наличии
20-30% желтых и остальных желто-бурых корзинок при влажности семян 16-20%.
Особенности условий уборки подсолнечника в зависимости от зон
возделывания заключается в том, что высота расположения корзинок над
поверхностью почвы может колебаться в пределах 60-200 см. диаметр корзинки
изменяется от 8-35 см, а толщина стебля на высоте среза 10-50 мм.
1. АНАЛИЗ СОСТОЯНИЯ ВОПРОСА И АГРОТЕХНИЧЕСКИЕ ТРЕБОВАНИЯ
Агротехнические требования к процессу уборки подсолнечника заключаются в
следующем:
общие потери семян не должны превышать 2,5%.
средняя высота оставляемой стерни не более 20 см.
в процессе обмолота корзинок и очистки семян на сепарирующих рабочих
органах количество поврежденных семян не должно быть более 1,5%;
дробление и обрушивание зерна при обмолоте на семена - не более 1%;
чистота вороха в бункере - не менее 95%.
Сложность уборки подсолнечника обусловлена специфическими особенностями
морфологического строения растения. Подсолнечник имеет высокий стебель, нередко
достигающий 230 см. это вызывает необходимость в переработке большой
вегетативной массы (100-120 ц/га) с различной степенью влажности.
Основной способ уборки подсолнечника - прямое однофазное комбайнирование
зерновым комбайном, оборудованным приспособлением 34-103. Работа этого
приспособления основана на принципе среза и обмолота только корзинок.
Технологический процесс уборки включает в себя подвод лифтерами корзинок
подсолнечника к режущему аппарату жатки и срезание их, затем срезанные корзинки
мотовилом уменьшенного диаметра подаются к шнеку и наклонным транспортером в
молотильную камеру. После обмолота и грубой очистки на сепарирующих органах
комбайна семена поступают в бункер, а обмолоченные корзинки в целом виде - в
копнитель с последующей выгрузкой их в поле небольшими копнами. Стебли
подсолнечника остаются в поле. Производительность комбайна, оборудованного
приспособлением 34-103, составляет 0,7-1,1 га/ч.
Однако это приспособление имеет существенные недостатки. Во-первых, при
уборке подсолнечника в полной спелости и во время перестоя допускаются большие
потери свободных семян в необмолоченных, срезанных корзинках, а также
значительное повреждение и дробление семян. Во-вторых, приспособление не может
обеспечить уборку всего биологического урожая (семена, корзинки, стебли) за
один производственный цикл. С полей пожнивные остатки убирают в несколько
приемов только после вывоза на край поля при помощи волокуш корзинок.
Стебли, остающиеся после уборки, подрезают и измельчают дисковыми
лущильниками ЛД-10, путем двух- или трехкратного прохода под острым углом вдоль
и поперек поля. После измельчения стебли сгребают граблями ГПТ-14,5 в валки, а
затем сволакивают их толкающими волокушами в копны или на край поля, где
сжигают.
Часто поля очищают от пожнивных остатков из-за большой загруженности
тракторного парка на других работах поздней осенью, что отрицательно влияет на
урожай последующих культур.
Основные причины потерь семян - несвоевременная уборка урожая,
неудовлетворительное техническое состояние приспособления и неправильная
регулировка комбайна, особенно жатки, неправильный выбор направления движения
уборочного агрегата на массиве.
Повысить качество уборки и снизить потери можно путем правильного
направления движения уборочного агрегата. Если уборка проводится поперек
пониклости корзинок, и каждый рядок попадает между лифтерами, то качество
уборки значительно возрастает. При маневрировании шириной захвата и нарушении
рядкового способа уборки потери увеличиваются почти в два раза.
Приспособление ПСП-1,5 к зерновым комбайнам выполняет следующие операции:
срезает корзинки с последующим их обмолотом; сепарирует ворох и собирает очищенные
семена в бункер; измельчает и разбрасывает стебли по полю; измельчает и
разбрасывает по полю обмолоченные корзинки (при необходимости собирает их в
транспортные средства).
Приспособление состоит из специальной жатки, измельчителя стеблей,
решетки, узлов дооборудования измельчителя корзинок ИСН-3,5А и цепных передач.
Оно легко монтируется на зерновых комбайнах. Помимо приспособления ПСП-1,5
комбайн снабжается автоприцепом АП-2А и тележкой для транспортировки
измельченных корзинок ПТС-40М.
Основной узел приспособления - жатка, которая состоит из каркаса, шнека,
лифтеров с транспортерами стеблей и семян, режущего аппарата и транспортера
наклонной камеры. Для предотвращения перебрасывания срезанных корзинок за борт
задняя стенка каркаса наращивается металлической сеткой.
. ОБЗОР СУЩЕСТВУЮЩИХ ПРИСПОСОБЛЕНИЙ ДЛЯ УБОРКИ ПОДСОЛНЕЧНИКА
Проведем анализ существующих конструкций жаток, которые представляют
наибольший интерес в изучении и в сельскохозяйственном машиностроении. Одним из
таких является приспособление 34-103.
Работа этого приспособления основана на принципе среза и обмолота только
корзинок. Технологический процесс уборки включает в себя подвод лифтерами
корзинок подсолнечника к режущему аппарату жатки и срезание их, затем срезанные
корзинки мотовилом уменьшенного диаметра подаются к шнеку и наклонным
транспортером в молотильную камеру. После обмолота и грубой очистки на
сепарирующих органах комбайна семена поступают в бункер, а обмолоченные
корзинки в целом виде - в копнитель с последующей выгрузкой их в поле
небольшими копнами. Стебли подсолнечника остаются в поле. Производительность
комбайна, оборудованного приспособлением 34-103, составляет 0,7-1,1 га/ч.
Регулировка машины сводится к следующему. Жатка устанавливается так,
чтобы носки стеблеподъемников были на 10-15 см ниже самих поникших корзинок.
Лифтеры должны иметь скат в сторону жатки с тем, чтобы по ним передвигались
осыпавшиеся семена. Предельную высоту установки жатки доводят до 1,2 м, чтобы
растения не выдергивались и не ломались.
Рисунок 3.1 Приспособление для уборки подсолнечника З4-103
Щит поднимается над бортами стеблеподъемников на такую высоту, чтобы под
него беспрепятственно проходили наиболее крупные по размерам корзинки.
В начале уборки мотовило поднимается на небольшую высоту, а вынос вперед
наибольший, это лучше очищает каналы между лифтерами. Скорость вращения
мотовила должна на 10-20% превышать поступательную скорость агрегата. Число
оборотов молотильного барабана уменьшают до 300-400 об/мин, что до минимума
уменьшает дробление и повреждение семян.
Однако это приспособление имеет существенные недостатки. Во-первых, при
уборке подсолнечника в полной спелости и во время перестоя допускаются большие
потери свободных семян в необмолоченных, срезанных корзинках, а также
значительное повреждение и дробление семян. Во-вторых, приспособление не может
обеспечить уборку всего биологического урожая (семена, корзинки, стебли) за
один производственный цикл.
Испытания приспособления 34-103 в различных зонах страны показали, что в
среднем оно допускает потери до 8%, обрушивает и повреждает около 5% семян, а
на уборке в полной спелости или при перестое потери свободных семян и корзинок
увеличиваются. Основная часть потерь приходится на жатку. Во время движения агрегата
часть корзинок ломается деталями жатки, при ударах корзинок о стеблеподъемники,
щит и планки мотовила семена вымолачиваются и безвозмездно теряются. Основные
причины потерь семян - несвоевременная уборка урожая, неудовлетворительное
техническое состояние приспособления и неправильная регулировка комбайна,
особенно жатки, неправильный выбор направления движения уборочного агрегата на
массиве.
Приспособление ПСП-1,5 к зерновым комбайнам выполняет следующие операции:
срезает корзинки с последующим их обмолотом; сепарирует ворох и собирает
очищенные семена в бункер; измельчает и разбрасывает стебли по полю; измельчает
и разбрасывает по полю обмолоченные корзинки.
Рисунок 3.2 Специальная жатка для уборки подсолнечника ПСП-1,5
Приспособление состоит из специальной жатки, измельчителя стеблей,
решетки, узлов дооборудования измельчителя корзинок ИСН-3,5А и цепных передач.
Оно легко монтируется на зерновых комбайнах СК-4 и «Нива». Помимо
приспособления ПСП-1,5 комбайн снабжается автоприцепом АП-2А и тележкой для
транспортировки измельченных корзинок ПТС-40М.
Основной узел приспособления - жатка, которая состоит из каркаса, шнека,
лифтеров с транспортерами стеблей и семян, режущего аппарата и транспортера
наклонной камеры. Для предотвращения перебрасывания срезанных корзинок за борт
задняя стенка каркаса наращивается металлической сеткой.
Технологический процесс уборки заключается в следующем: во время движения
комбайна лифтеры подводят стебли в каналы, где они захватываются лапками
цепного транспортера и принудительно подводятся к режущему аппарату.
Специальная форма лифтеров и линейная скорость комбайна несколько наклоняют
стебли вперед, а корзинки - влево (по ходу) для того, чтобы они располагались
над лифтерами. Это необходимо для улавливания и направления на жатку семян,
осыпавшихся в результате механических воздействий. Благодаря такой конструкции
лифтеров снижаются потери свободных семян и корзинок.
В конце канала корзинки срезаются режущим аппаратом, после чего они подаются
шнеком к центру, где радиальными лапками транспортера подаются шнеком к центру,
где радиальными лапками транспортера подаются в наклонную камеру. С
транспортера масса проходит по прутковой решетке, устанавливаемой перед
барабаном вместо переднего и заднего щитка приемной камеры, где предварительно
выделяются семена, вымолоченные рабочими органами жатки. В молотильный барабан
эти семена не поступают, а идут на грохот и сепарацию.
. ОБОСНОВАНИЕ И ВЫБОР НОВОЙ КОНСТРУКЦИИ ЖАТКИ
Опыт эксплуатации указанных жаток свидетельствует о том, что они не могут
убирать подсолнечник с высотой стеблей ниже одного метра по причине высокого
расположения режущих аппаратов над уровнем земли.
При уборке низкорослых сортов подсолнечника носки лифтеров упираются в
землю и не позволяют опускать режущие аппараты до необходимого уровня высоты
среза.
При уборке же высокорослых сортов подсолнечника носки лифтеров
поднимаются выше уровня линии среза, что недопустимо для нормального протекания
технологического процесса машины, так как уменьшение высоты среза в этих
условиях неизбежно ведет к снижению производительности комбайна. Это вызвано
тем, что вместе с корзинками в молотильное устройство поступают длинные стебли
подсолнечника, что перегружает молотильно - сепарирующие рабочие органы
комбайна.
Таким образом, высота среза стеблей подсолнечника ограничена
конструктивными особенностями известных жаток, не позволяющими использовать для
этой цели диапазон подъема и опускания жатки за счет изменения положения
наклонной камеры. Целью настоящей работы является повышение производительности
за счет
расширения функциональных возможностей жатки путем дополнительного
изменения угла расположения лифтеров жатки относительно поверхности земли, а
также снижение уровня потерь семян в условиях уборки как низкорослых, так и
высокостебельных сортов подсолнечника. Указанная цель достигается тем, что в
известной жатке между ее корпусом и наклонной камерой комбайна установлена
промежуточная рамка, которая жестко закреплена на наклонной камере и посредством
коаксиальных осевых шарниров соединена с корпусом жатки с возможностью его
поворота в продольном направлении.
При этом с целью компенсации изменяющегося расстояния между жаткой и
промежуточной рамкой на уровне днища наклонной камеры установлена поперечная
балка, на плоскую поверхность которой свободно опирается с возможностью
продольного перемещения переходной щиток, шарнирно закрепленный на днище жатки.
Более полному достижению указанной цели способствует то, что необходимый
угол поворота жатки относительно наклонной камеры обеспечивается кинематический
связанными с промежуточной рамкой гидроцилиндрами, дистанционно управляемыми из
кабины комбайна, а также то, что применено быстроразъемное соединение жатки с
наклонной камерой, осуществленное установкой поперечной балки в верхней части
промежуточной рамки, взаимодействующей с передним захватом наклонной камеры.
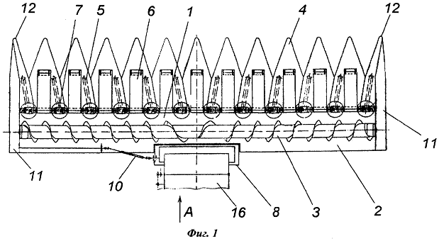
Жатка 1 (Рис.1, 5) содержит корпус 2 желобчатой формы, в котором размещен
шнековый 5 транспортер 3, лифтеры 4, цепные транспортеры стеблей 5, ленточные
транспортеры семян 6, режущие аппараты 7, промежуточную рамку 8, переходной
щиток 9 (Рис.5) и механизмы приводов рабочих органов жатки 10 (Рис.1).
Рисунок 1.
-жатка; 2-корпус; 3-шнековый транспортёр; 4-лифтеры; 5- цепные
транспортеры стеблей; 6- ленточные транспортеры семян; 7- режущие аппараты; 8-
промежуточную рамку; 9- переходной щиток; 10- механизмы приводов рабочих
органов жатки; 11- боковины; 12- делители; 13- ветровой щиток; 14-выбросное
окно; 15- стойки; 16-наклонная камера.
Корпус 2 жатки 1 состоит из каркаса сварной конструкции, по краям
которого закреплены боковины 11 с делителями 12, соединенные между собой
листовой обшивкой 10 днища и ветровым щитом 13 (Рис.2). В центральной части
ветрового щита имеется выбросное окно 14, образованное стойками 15, для прохода
срезанных корзинок подсолнечника, подаваемых шнековым транспортером 3 (Рис.1),
в наклонную камеру 16 комбайна.
В выбросном окне 14 (Рис.2) ветрового щита корпуса жатки между стойками
15 установлена соединенная с ними посредством двух коаксиальных осевых шарниров
17 и двух гидроцилиндров 18 (Рис.3, 4) промежуточная рамка 8 (Рис.1, 3).
Рисунок
3.2
На верхней поперечной балке 21 шарнирно закреплены гидроцилиндры 18, а на
нижней - ушки 23 для зацепа крюков замкового устройства при навеске жатки на 25
наклонную камеру комбайна.
В стойки 15 (Рис.2) корпуса жатки, а также в стойки 19 (Рис.3), 20
промежуточной рамки вварены соответственно втулки 24 (Рис.2) и 25 (Рис.3), в
которые вставлены пальцы 26 (Рис.2), образующие совместно с указанными втулками
два коаксиальных осевых шарнира 17, расположенных в смежных стойках попарно. На
левой стойке 19 (Рис.3) промежуточной рамки установлен контрприводной вал 27
(Рис.2, 3) для привода рабочих органов жатки.
Между стойками 19 и 20 по ширине приемного окна наклонной камеры комбайна
установлены стойки 28 и 29, образующие прилавочные поверхности для передних
кромок боковин наклонной камеры. 35 Нижняя балка 22 (Рис.3) имеет плоскую
поверхность 30 (Рис.4), по которой перемещается свободный конец переходного
щитка 9 (Рис.5), шарнирно закрепленный на корпусе 2 жатки и перекрывающий изменяющийся
зазор между жаткой и промежуточной рамкой.
Дл навески жатки 1 (Рис.6) к ней подводится комбайн с наклонной камерой
16, 40 опущенной до предела вниз гидроцилиндрами 31, так чтобы захват 32
наклонной камеры вошел внутрь промежуточной рамки и расположился ниже верхней
поперечной балки 21 (Рис.3).
При подъеме наклонной камеры стойки 28 и 29 промежуточной рамки 8
соприкасаются с ее передними боковыми кромками и образуют замкнутое
пространство между жаткой и 45 наклонной камерой.
Демонтаж жатки с наклонной камерой комбайна производится в обратном
порядке.
Работа предложенного устройства осуществляется следующим образом.
Дл уборки высокорослого подсолнечника жатка 1 (Рис.5) с наклонной камерой
16 посредством гидроцилиндров 31 поднимается в крайнее верхнее положение, при
этом 50 необходимый угол наклона носков лифтеров 4 обеспечивается поворотом в
продольном направлении корпуса 2 жатки на осевых шарнирах 17 (Рис.2)
относительно промежуточной рамки 8, неподвижно закрепленной на наклонной
камере.
Угол наклона лифтеров 4 (Рис.1, 5) изменяется поворотом корпуса 2 при
помощи гидроцилиндров 18 (Рис.3), установленных на верхней поперечной балке 21
и соединенных с кронштейнами 33 (Рис.5), приваренными к стойкам 15 (Рис.2)
корпуса. Управление гидроцилиндрами 18 осуществляется дистанционно оператором
из кабины на ходу агрегата. Для уборки низкорослого подсолнечника жатка 1
(Рис.6) совместно с наклонной камерой опускается в нижнее положение гидроцилиндрами
31, а положение лифтеров 4 относительно земли достигается поворотом корпуса 2
жатки относительно наклонной камеры в обратном направлении гидроцилиндрами 18
(Рис.3).
В дальнейшем технологический процесс, выполняемый предложенной жаткой,
протекает 10 аналогичным способом, как и в жатках ручьевого типа с жестким
соединением с наклонной камерой.
Благодаря такой шарнирной подвеске корпуса жатки, обеспечивающей
изменение угла расположения ее относительно земли и наклонной камеры в
зависимости от условий уборки, обеспечиваются пониженная высота среза при
уборке низкорослых сортов 15 подсолнечника, качественный технологический
процесс независимо от высоты среза, снижение потерь зерна и повышение
производительности всего уборочного агрегата.
Конструкция может найти широкое применение при производстве
приспособлений дл уборки семян подсолнечника к зерноуборочному комбайну.
.
ТЕХНОЛОГИЧЕСКИЙ РАСЧЕТ
Подготовка поля для уборки подсолнечника ничем не отличается от
общепринятой, за исключением следующих особенностей. Загонки нарезают длинной
стороной по направлению последней культивации и по возможности поперек наклона
большей части корзинок. Это сокращает потери семян при тряске комбайна. Чтобы
избежать их во время попадания делителя в середину гнезд, при нарезке загонов
комбайн направляют носком делителя всегда между рядками. Короткие (поперечные)
стороны загонок проходят в холостую.
Поперек всех загонок длиной более 1000 м делается один или два прокоса
шириной 10-12 м. Расстояние между прокосами определяется в зависимости от
урожайности - длинная его сторона должна быть такой, чтобы бункер наполнялся в
крайних точках загонки, а прокос был бы посредине участка. Указанное расстояние
можно определить по формуле:
,(4.1)
где
Д - расстояние, при котором заполняется бункер, м;
В
- вес семян в полном бункере, ц;
Ш
- ширина захвата жатки, м;
У
- урожай, ц/га.
Например,
бункер комбайна СК-4 вмещает около 8 ц семян подсолнечника, при урожае 16 ц/га
и ширине захвата жатки 4,1 м бункер заполняется через:
м.
Следовательно,
первый прокос необходимо сделать через 570-625 м от края поля, второй - через
1140-1250 м и последний опять через 570-625 м от второго. В основных зонах
промышленного возделывания подсолнечника средняя длина участков редко бывает
более 1 км, что позволяет проводить уборку при одном прокосе.
Расчет
ширины захвата жатки
Рабочая
ширина захвата жатки определяется пропускной способностью q молотилки комбайна,
его средней рабочей скоростью Vм ср, средней урожайностью убираемой культуры Q
и соотношением между зерном и соломой в хлебной массе (З : С). Для обеспечения
максимальной загрузки молотилки ширина захвата жатки (В) должна быть равна:
=
,(4.2)
гдеB
- ширина захвата жатки, м;- пропускная способность молотилки комбайна,
;- средняя урожайность убираемой культуры,
;м ср - средняя рабочая скорость комбайна,
;
n - коэффициент,
определяющий содержание зерна в хлебной массе, определяется:
n=
,(4.3)
При
З : С=1:1,5 n=
=0,4.
Так,
при средней урожайности Q=0,4
(40
), 3:C=1:1,5 (n=0,4), средней
скорости машины Vм ср= 1,3
и
пропускной способности молотилки q = 7
необходимый
захват жатки:=
=5,4.
Окончательно
ширину захвата жатки выбирают из рекомендованного ГОСТ ряда:
,2;
4,1; 5; 6; 7; 10;12; 15 м.
Принимаем
ближайшее большее значениеВ=6 м.
Значение
урожайности при расчетах принимаем в пределах 0,2-0,6
.
Зная
наибольшую и наименьшую урожайность Qmax и Qmin, определяем необходимый
диапазон изменения рабочих скоростей движения комбайна:
Vм min=
,
Vм max
(4.4)м max
=0,78
,
Vм
max
=2,33
.
Следовательно
при соотношении зерна к соломе З:С=1:1.5 принимаем ширину захвата жатки В=6 м.
При изменении урожайности от 0.2
до 0.6
, диапазон скоростей меняется от 0,78
до 2,33
.
Расчет
шнека жатки
Шнек
жатки при транспортировке хлебной массы должен обеспечивать производительность
равную максимальной производительности молотилки комбайна. Практикой
установлены пределы конструктивных и кинематических параметров шнеков: наружный
диаметр спирали D=460¼630 мм, высота витка шнека h=100¼125 мм, шаг спирали S=(0,8¼1)×D, окружная скорость
витков спирали Vокр=4,8¼6,0
, осевая
скорость Vосев=1,1¼1,65
.
Длина
окружности трубы шнека должна быть больше длины транспортируемых стеблей, во
избежание их наматывания, то есть:
>
,(4.5)
гдеL»0,8 - средняя длина стебля, м;
D=0,1 ¸ 0,15 м - необходимый
запас длины окружности трубы.
Так как хлебная масса
транспортируется от краев жатки к центру, то правая и левая части шнека
представляют собой самостоятельные транспортеры с расчетной
производительностью:р=0,5×q=0,5×7=3,5
.
Вычисляем необходимый диаметр
трубы шнека:=
=0,3 м.
Задаваясь высотой витков
шнека h=0,125 м, находим наружный диаметр спирали:
=d+2×h;(4.6)=0,3+2×0,125=0,55 м.
Шаг витков находим как=0,9×D;=0,9×0,55=0,495 м.
Определяем необходимую
частоту вращения шнека:
=
, (4.7)
гдеg=45
- объемный вес хлебной массы;
j=0.3 - коэффициент заполнения шнека.=
=188,3 мин-1.
Определяем окружную и осевую
скорости:окр=
;осев=
;окр=
=5,423
;осев=
1,553
.
Полученные значения находятся
в рекомендуемых пределах и, следовательно, работа транспортера будет
удовлетворительной. Для предотвращения защемления транспортируемой массы между
витками шнека и днищем жатки между ними должен быть предусмотрен зазор до 10 ¸ 15 мм.
. КОНСТРУКТИВНЫЙ РАСЧЕТ
Расчет сварного соединения
Детали, расположенные под
углом 90º
свариваются тавровым соединением.
Определение допускаемого
усилия для растяжения
[Р]=[τф]∙0,7∙к∙l,(5.1)
где [τф] - допускаемое напряжение для сварного шва на
срез, Н/м2 ;
к - катет шва;
l - длина шва; l= 200 см.
[τф]=0,6∙ [σр],(5.2)
где [σр] - допускаемое напряжение на растяжение, Н/см2, [σр]=1400Н/см2
[τф]=0,6∙1400=8400
Н∙см2
[Р]=8400∙0,7∙0,5∙200=588000
Н
Определение усилия растяжения
где 
-
величина длины шва, м
Р= 2∙50∙103/1=100000
Н
Итак, Р<[Р] условие выполняется.
Расчет болтового соединения.
Для ведения расчета
применяются следующие обозначения:
Рб - внешняя нагрузка
приходящаяся на один болт, Н
, (5.4)
где: Руст - вес установки
Руст=750 Н
Рб=750/6=125 Н.
Определяем расчетное усилие,
Н
Ррасч.=2,8 Рб
где 2,8 = коэффициент,
учитывающий предварительную растяжку
Изгибающий момент на головку
болта определяется расчетом по
формуле:
Мизг=0,5 Ррасч∙0,5 d,
(5.5)
где d - диаметр не
нарезанного стержня болта; определяется расчетом.
Момент сопротивления сечения
болта, определяется расчетом по формуле [7]:
(5.6)
Определяем расчетное усилие,
приходящееся на болт, Н.
Ррасч=2,8 ∙125=350 Н
Определяем диаметр болта.
(5.7)
√4 ∙350/3,14/19 ∙107=0,08 м
где [σ]р - допустимое напряжение в стержне болта, таблица 9
[15]; [σ]р=38 ∙107 Па
Расчет на прочность при
изгибе ведется по формуле [7]:
, (5.8)
где σизг - напряжение на изгиб, Па
Мизг=0,5 ∙350 ∙0,5
∙0,012=1,05 Н∙мизг=12(0,8 ∙1012)/6=230 мм2
σизг=1,05 ∙103/230= 4,5 Н/мм2=0,045 Па
σизг <[σ]изг (5.9)
,045< 1,4
Условия прочности
выполняются.
. ЭКОНОМИЧЕСКАЯ ЧАСТЬ
В качестве базы для сравнения технико-экономических показателей выбирают
как правило, аналогичную конструкцию.
Балансовая стоимость новой конструкции определяется по формуле:
Сб1= Сб0*G1*б/ G0, (6.1)
где - Сб1 и Сб0 - балансовая стоимости новой и базовой конструкции,
руб.;и G0 - масса новой и базовой конструкции, кг;
б- коэффициент, учитывающий удешевление или удорожание новой конструкции
в зависимости от сложности изготовления (б = 0,95…1,05).
Сб1= 39500*283*0,95/308=34479 руб.
Энергоемкость процесса рассчитывается по формуле;
Эе= Ne/Wч, (6.2)
где- Ne - потребляемая конструкцией мощность, кВт;ч - эксплуатационная
производительность конструкции, кг/с.
Эе0=32,1/7,1= 4,5 кВт*кг/с;
Эе1=32,1/8,5= 3,8 кВт*кг/с.
Металлоемкость процесс определяется по формуле:
Ме= G/WчТгодТсл, (6.3)
где -Ме - металлоемкость процесса, кг/т;- масса конструкции, кг;ч -
эксплуатационная производительность, т/ч;
Тгод - годовая загрузка машины, т;
Тсл -срок службы машины, лет.
Ме1=308/(8,5*285*10)=0,012 кг/т;
Ме0=283/(7,1*285*10)=0,013 кг/т
Фондоемкость процесса рассчитывается по формуле
=Cб/WчТгод (6.4)
где Fe - фондоемкость процесса, руб./т;б - балансовая стоимость машины,
руб.;ч - эксплуатационная производительность, т/ч;
Тгод- годовая загрузка машины, ч.
Fe1=34479/(8,5*285)=14,2 руб/т=39500/(7,1*285)=19,5 руб/т
Трудоемкость процесса определяется по формуле:
Те= nобсл/Wч, (6.5)
где Те - трудоемкость процесса, чел-ч/тобсл - количество обслуживающего
персонала, чел,ч ,- эксплуатационная производительность машины, т/ч.
Те0=1/7,1=0,14 чел-ч/т,
Те1=1/8,5=0,12 чел-ч/т.
Себестоимость работы, выполняемый с помощью спроектированной конструкции
и в исходном варианте, находят из выражения
экс=Сзп+Сэ+Срто+А, (6.6)
где -Sэкс - себестоимость работы, руб/т
Сзп - затраты на оплату труда, руб/т
Сэ - затраты ГСМ, руб/т
Срто - затраты на ремонт и техническое обслуживание, руб/т
А - затраты на амортизацию, руб/т.
Затраты на оплату труда определяют по формуле
Где - Сзп - затраты на оплату труда, руб./т,- тарифная часовая ставка,
руб./чел.-ч,
Те - трудоемкость процесса, чел.-ч/т.
Сзп0= 30*0,14=4,2 руб./т;
Сзп1= 30*0,12=3,6 руб./т.
Затраты ГСМ определяются по формуле:
, (6.8)
где
q- расход топлива, кг/т;
V - объем работ,
т;
-
эксплуатационная производительность, т/с;
Ц
- комплексная цена ГСМ.
руб/т.
руб/т
Затраты
на ремонт и техническое обслуживание определяют по формуле:
Срто=
СбНнрто/100WчТгод, (6.9)
где-
Срто - затраты на РТО, руб/т;
Нрто
- норма затрат на РТО, %;ч - эксплуатационная производительность, т/ч;
Тгод
- годовая загрузка машины, ч.
С0рто=39500*10/100*7,1*285=1,95
руб./т
С1рто=34479*10/100*8,5*285=1,42
руб./т.
Затраты
на амортизацию рассчитывают по формуле:
А=Сба/(100WчТгод),
(6.10)
где-
А - затраты на амортизацию, руб/т;
Сб
-балансовая стоимость машины, руб;
А
- норма амортизации, %;ч - эксплуатационная производительность, т/ч;
Тгод
- годовая загрузка машины, ч.
А0=39500*14/100*7,1*285=2,7
руб/т,
А1=34479*14/100*8,5*285=2
руб./т.экс0= 4,2+81+1,95+2,7=89,85 руб./т;экс1=3,6+68,4+1,42+2 =75,4 руб./т.
Уровень
приведенных затрат на работу конструкции определяют по формуле:
Спр=
Sэкс+ЕнКуд, (6.11)
где
-Спр - уровень приведенных затрат, руб/т;
Ен
- нормативный коэффициент эффективности капитальных вложений- 0,15;
Куд
- удельные капитальные вложения или фондоемкость процесса, руб/т.
Спр0=89,85+0,15*19,5=92,8руб./т;
Спр1=75,4+0,15*14,2=77,5
руб./т.
Годовая
экономия определяется по формуле:
Эгод=(Sэкс0
- S экс1)Wч Тгод, (6.12)
где
-Эгод - годовая экономия, руб;экс0 - уровень эксплуатационных затрат базовой
машины, руб/т;экс1 - уровень эксплуатационных затрат спроектированной машины,ч1
- эксплуатационная производительность машины, т/с;
Т1год
- годовая загрузка спроектированной конструкции, т.
Эгод=(92,8-77,5)*8,5*285=37064,3
руб.
Годовой
экономический эффект определяют по формуле:
Егод=
Эгод -Ен∆К, (6.13)
где-
Егод - годовой экономический эффект, руб;
Эгод
- годовая экономия, руб;
Ен-
- нормативный коэффициент эффективности
капитальных
вложений - 0,15;
∆К
- дополнительные вложения, равные балансовой
стоимости
конструкции, руб.
Егод=37064,3-0,15*34479=
31892,5 руб.
Срок
окупаемости дополнительных капитальных вложений определяют по формуле:
Ток=Сб1
/Эгод, (6.14)
где
- Ток - срок окупаемости дополнительных
капитальных
вложений, лет;
Сб1
- балансовая стоимость конструкции, руб.;
Эгод
- годовая экономия, руб.
Ток=34479/31892,5=1,1
года.
Коэффициент
эффективности дополнительных капитальных вложений определяют по формуле:
Еэф=
Эгод/ Сб1, (6.15)
где
-Еэф - коэффициент эффективности дополнительных
капитальных
вложений;
Эгод
- годовая экономия, руб;
Сб1
- балансовая стоимость конструкции, руб.
Еэф = 31892,5 / 34479 = 0,92
Сравнивая технико - экономические показатели можно сделать вывод, что
проектируемая конструкция является экономически выгодной. Она по многим
показателям (фондоемкость, энергоемкость, металлоемкость, уровень
эксплуатационных затрат , уровень приведенных затрат ) опережает базовую .Срок
окупаемости ее ниже 7 лет и коэффициент эффективности более 0,15. Из всего
следует, что проектируемая конструкция является экономически эффективной.
ЗАКЛЮЧЕНИЕ
В данной работе был проведен анализ существующих конструкций и технологий
для уборки подсолнечника комбайновым способом. В курсовой работе разработана
принципиально новая конструкция приспособления для соединения жатки с наклонной
камерой комбайна, отвечающая требованиям ЕСКД. Были приведены все
технологические и конструктивные расчеты, подтверждающие работоспособность
установки.
Разработанная данная конструкция отличается от существующей тем, что
конструкция оборудована специально для этой операции. Это дополнение улучшает
качество обработки, уменьшаются потери, повышается производительность труда,
что подтверждается экономическими расчетами.
СПИСОК ЛИТЕРАТУРЫ
уборка урожай
подсолнечник
жатка
1. Анурьев В. И. Справочник конструктора - машиностроителя.,
в 3 т., Т.1./
В. И. Анурьев.- М..машиностроение .1979 - 728 стр.;
В. И. Анурьев.- М..машиностроение .1978 - 559 стр.;
. Кленин Н.И.Сельскохозяйственные и мелиоративные машины /
Н. И. Кленин, В. А. Сакун - М, Колос, 1980 - 671 стр.;
. Красниченко А.В. Справочник конструктора
сельскохозяйственных машин
2 т./ А. В. Красниченко - М.: Машиностроение , 1962 - 864
стр.;
. Листопад Г.Е. Сельскохозяйственные и мелиоративные машины /
Г.Е.Листопад - М, Агропромиздат, 1986 - 688 стр.;
. Мудров А. Г. Текстовые документы. Учебно - справочное
пособие /
А. Г. Мудров.- Казань : РИЦ « Школа», 2004 - 144 стр.;
. Проектирование и расчет подъемно - транспортирующих машин
сельско-
хозяйственного назначения / М.Н.Ерохин, А.В. Карп, Н. А.
Выскребенцев и
до. - М.: Колос , 1999 - 228 с.;
. Сюткин А. М. Методические указания по экономическому
обоснованию
проектов на факультете механизации сельского хозяйства /
А. М. Сюткин. - Казань : КГСХА , 1995 - 48 стр.;
. Халанский В.М. Сельскохозяйственные машины / В. М.
Халанский.,
И. В. Горбачев. - М., Колос С ,2003 - 624 стр.;