Депарафинизация нефтяного сырья

  • Вид работы:
    Реферат
  • Предмет:
    Химия
  • Язык:
    Русский
    ,
    Формат файла:
    MS Word
    3,51 Mb
  • Опубликовано:
    2011-06-06
Вы можете узнать стоимость помощи в написании студенческой работы.
Помощь в написании работы, которую точно примут!

Депарафинизация нефтяного сырья

Содержание

1. Назначение процессов депарафинизации нефтяного сырья

. Физико-химические основы процесса

. Принципиальная схема установки депарафинизации

4. Принципиальная технологическая схема установки депарафинизации в растворе пропана

. Преимущество и недостаток метода

Список использованных источников

1. Назначение процессов депарафинизации нефтяного сырья

Одним из основных требований к нефтепродуктам является их подвижность при низких температурах. Потеря подвижности топлив и масел объясняется способностью твердых углеводородов (парафинов и церезинов) при понижении температуры кристаллизоваться из растворов нефтяных фракций, образуя структурированную систему, связывающую жидкую фазу. Для получения нефтяных масел с низкой температурой застывания в технологию их производства включен процесс депарафинизации, цель которого удаление твердых углеводородов. В то же время твердые углеводороды, нежелательные в маслах и топливах, являются ценным сырьем для производства парафинов, церезинов и продуктов на их основе, находящих широкое применение.

Твердые углеводороды нефтяных фракций, так же как и жидкие, представляют собой сложную смесь парафиновых углеводородов нормального строения разной молекулярной массы; изопарафиновых, различающихся по числу атомов углерода в молекуле, степени разветвленности и положению заместителей; нафтеновых, ароматических и нафтеноароматических с разным числом колец и длинными боковыми цепями как нормального, так и изостроения. Температура плавления твердых углеводородов зависит от структуры их молекул, что видно на примере трех типов углеводородов с одинаковым числом атомов углерода в молекуле (рис. 1), но с разными структурой и положением заместителя. Так, наиболее резко температура плавления углеводородов снижается при перемещении заместителя: от первого атома углерода в цепи н-алкана ко второму. При дальнейшем перемещении заместителя к центру молекулы температура плавления продолжает снижаться, причем насыщенные заместители (см. кривые 2 и 3) оказывают более сильное влияние на снижение температуры плавления углеводорода, чем фенильные радикалы.

Химический состав твердых углеводородов зависит от температурных пределов выкипания фракции. В низкокипящих масляных фракциях нефти содержатся в основном твердые парафиновые углеводороды нормального строения. С повышением пределов выкипания содержание н-алканов снижается, а концентрация из парафиновых и циклических углеводородов, особенно нафтеновых, возрастает. Основным компонентом твердых углеводородов (церезинов), концентрирующихся в остатке от перегонки мазута, являются нафтеновые углеводороды с боковыми цепями преимущественно изостроения; в меньшем количестве в них содержатся парафиновые и ароматические углеводороды с длинными алкильными цепями. С повышением температур выкипания фракции растет общее содержание твердых углеводородов и повышается их температура плавления.

Рис. 1. Зависимость температуры плавления монозамещенных н-алканов от положения и структуры заместителя: 1-фенилэйкозаны (С26Н46); 2-циклогексилэйкозаны (С26Н52); 3-бутилдокозаны (С26Н54)

Сущность процесса депарафинизации заключается в отделении твердых углеводородов от жидкой фазы, в связи с чем важную роль играет их кристаллическая структура, т. е. форма и размер кристаллов, которые в значительной мере предопределяют скорость и четкость разделения фаз. Так как твердые углеводороды нефти являются многокомпонентной смесью, большое значение имеет кристаллическая структура не только углеводородов отдельных гомологических рядов, но и их смесей. Структура кристаллов парафиновых, нафтеновых и ароматических углеводородов, близких по температурам плавления, исследована при помощи электронной микроскопии (увеличение в 13 000 раз). Результаты исследования (рис. 2) показали, что углеводороды всех рядов при кристаллизации из неполярных растворителей, в том числе и из нефтяных фракций, образуют кристаллы орторомбической формы, состоящие из параллельных ромбических плоскостей, т. е. каждая новая плоскость (слой) формируется на ранее образованной. Кристаллы твердых углеводородов, принадлежащих к разным гомологическим рядам, различаются по размерам и числу ромбических плоскостей (слоистости). Наиболее крупные и слоистые кристаллы имеют парафиновые углеводороды (см. рис. 2, а, б). Нафтеновые и особенно ароматические углеводороды характеризуются меньшим размером кристаллов и меньшим числом ромбических плоскостей (см. рис. 47, в - д.).



Твердые углеводороды нефти относятся в основном к изоморфным веществам, которые способны при совместной кристаллизации образовывать смешанные кристаллы из-за наличия боковых цепей нормального строения в молекулах циклических углеводородов.

При понижении температуры в первую очередь выделяются кристаллы наиболее высокоплавких углеводородов, на кристаллической решетке которых последовательно кристаллизуются углеводороды с меньшими температурами плавления. На рис 2 г. показаны кристаллы (увеличение в 400 раз), полученные совместной кристаллизации н-алканов С24 и С36, резко различающихся по температуре плавления, из раствора в ацетоне. На рис. 3б дана структура кристаллов н-алкана С36 после отмывки ацетоном. Анализ смытых кристаллов показал, что они принадлежат углеводороду С24, выделившемуся на кристаллах более высокоплавкого углеводорода.


При совместной кристаллизации из углеводородных сред форма кристаллов остается орторомбической, а их размер зависит от содержания циклических углеводородов в смеси с парафинами, и чем больше концентрация таких углеводородов в смеси, тем меньше размер кристаллов. При кристаллизации из растворов в полярных растворителях только парафиновые углеводороды образуют кристаллы правильной орторомбической формы. Кристаллы твердых циклических углеводородов имеют форму ромба, но с усеченными острыми углами ромбических плоскостей. Такую же форму имеют и смешанные кристаллы парафиновых и циклических углеводородов (рис. 4, г, д.), причем чем больше в смеси нафтеновых и особенно ароматических углеводородов, тем меньше размер кристаллов и больше их усечённость. Кристаллическая структура твердых углеводородов изменяется в присутствии смолистых веществ. В зависимости от характера смол либо образуются крупные кристаллы неправильной формы (совместная кристаллизация), либо происходит агломерация кристаллов при сохранении их орторомбической структуры (адсорбция смол на кристаллах).

Депарафинизации нефтепродуктов может осуществляться несколькими методами: кристаллизацией твердых углеводородов при охлаждении сырья; кристаллизацией твердых углеводородов при охлаждении раствора сырья в избирательных растворителях; комплексообразованием с карбамидом; каталитическим превращением твердых углеводородов в низкозастывающие продукты; адсорбционным разделением сырья на высоко- и низко застывающие компоненты; биологическим воздействием. Наиболее широкое промышленное применение получили методы депарафинизации с использованием избирательных растворителей; реже используют процесс карбамидной депарафинизации, главным образом для понижения температуры застывания дистиллятов дизельных топлив.

. Физико-химические основы процесса

Этот процесс основан на разной растворимости твердых и жидких углеводородов в некоторых растворителях при низких температурах и может применяться для масляного сырья любого фракционного состава. Твердые углеводороды масляных фракций ограниченно растворяются в полярных и неполярных растворителях. Как было указано, растворимость таких углеводородов подчиняется общей теории растворимости твердых веществ в жидкостях и характеризуется следующими положениями: растворимость твердых углеводородов уменьшается с увеличением плотности и температур выкипания фракции; для фракций, выкипающих в одном и том же температурном интервале, растворимость твердых углеводородов одного гомологического ряда уменьшается с увеличением их молекулярной массы; растворимость твердых углеводородов увеличивается с повышением температуры.

Растворимость углеводородов в полярных растворителях зависит от способности их молекул поляризоваться, что связано со структурными особенностями молекул углеводородов. Вследствие малой поляризуемости молекул твердых углеводородов индуцированные дипольные моменты этих соединений невелики, поэтому растворение твердых углеводородов в полярных растворителях происходит в основном под действием дисперсионных сил. Растворимость остальных компонентов масляных фракций является результатом индукционного и ориентационного взаимодействий, при: чем действие полярных сил настолько велико, что даже при низких температурах эти компоненты остаются в растворенном состоянии. При понижении температуры влияние дисперсионных сил постепенно ослабевает, в то время как влияние полярных сил усиливается; в результате при достаточно низких температурах твердые углеводороды выделяются из раствора и благодаря наличию длинных парафиновых цепей сближаются с образованием кристаллов.

Растворитель, применяемый в процессе депарафинизации, должен:

при температуре процесса растворять жидкие и не растворять твердые углеводороды сырья;

обеспечивать минимальную разность между температурами депарафинизации (конечного охлаждения) и застывания депарафинированного масла и способствовать образованию крупных кристаллов твердых углеводородов. Упомянутая разность температур называется температурным эффектом депарафинизации (ТЭД);

иметь не слишком высокую и не слишком низкую температуру кипения, так как высокая температура кипения приводит к повышению энергетических затрат и способствует окислению углеводородов при регенерации растворителя, низкая - вызывает необходимость проведения процесса при повышенном давлении;

иметь низкую температуру застывания, чтобы не кристаллизоваться при температуре депарафинизации и не забивать фильтровальную ткань;

быть коррозионно-неагрессивным;

быть доступным, по возможности дешевым и приемлемым с точки зрения санитарных норм.

Для депарафинизации предложено большое число как полярных, так и неполярных растворителей. Однако только некоторые из них нашли промышленное применение (кетоны, хлорорганические соединения, сжиженный пропан, легкая фракция бензина - нафта). В настоящее время наиболее распространен процесс депарафинизации с использованием полярных растворителей - низкомолекулярных кетонов, в частности метилэтилкетона и ацетона; иногда применяют метилизобутилкетон или сжиженный пропан.

Процесс депарафинизации является наиболее сложным, трудоемким и дорогостоящим в производстве нефтяных масел. Его эффективность и экономичность зависят, в частности, от скорости фильтрования суспензий; последняя в конечном итоге определяется структурой кристаллов твердых углеводородов, образующихся в процессе охлаждения сырья с растворителем, так как от их размеров зависят полнота и скорость отделения твердой фазы от жидкой.

Кристаллизация твердых углеводородов начинается с выделения из пересыщенного раствора зародышей кристаллов. При дальнейшем охлаждении раствора кристаллизация протекает на уже образовавшихся центрах кристаллизации. Для получения в процессе кристаллизации крупных кристаллов необходимо, чтобы число зародышей, образующихся в начальной стадии охлаждения, было невелико, так как дальнейшая кристаллизация происходит на этих центрах. При большом числе зародышей образуется мелкокристаллическая структура.

Скорость выделения твердой фазы (в г/с) из раствора на образовавшихся центрах кристаллизации может быть определена по уравнению И. И. Андреева:

 (1)

где  - количество вещества, выкристаллизовавшегося в единицу, времени;- коэффициент диффузии молекул углеводорода в насыщенном растворе;

б-средняя длина диффузионного пути; S - поверхность выделившейся твердой фазы; х - концентрация пересыщенного раствора; х' - растворимость зародышей кристаллов при данной степени их дисперсности.

Коэффициент диффузии D вычисляют по уравнению Эйнштейна:

 (2)

где R - универсальная газовая постоянная; N - число Авогадро; Т - абсолютная температура кристаллизации; т) -динамическая вязкость среды; г - средний радиус молекулы твердого углеводорода.

При подстановке значения D уравнение (1) приобретает вид:

 (3)

Следовательно, скорость выделения твердой фазы из раствора на образовавшихся центрах кристаллизации зависит от вязкости среды, средней длимы диффузионного пути, среднего радиуса молекулы твердого углеводорода и разницы между концентрацией раствора и растворимостью выделившейся твердой фазы при температуре Т.

3. Принципиальная схема установки депарафинизации

Процесс депарафинизации с применением избирательных растворителей осуществляется непрерывно и слагается из следующих стадий: смешения сырья с растворителем; термической обработки смеси; постепенного охлаждения полученного раствора сырья до заданной температуры, в результате чего из раствора выделяются кристаллы твердых углеводородов; отделения твердой фазы от жидкой; регенерации растворителя из растворов депарафинированного масла и гача или петролатума.


Депарафинируемое сырье I и растворитель II (рис.) в смесителе 1 смешивают в определенном соотношении и подвергают термообработке в паровом подогревателе 2. Если температура сырья, подаваемого на установку, выше 60 °С, то термообработку не проводят. Далее раствор сырья III охлаждается сначала в водяном холодильнике 3, потом в регенеративных кристаллизаторах 4, где хладоагентом служит раствор депарафинированного масла (фильтрат) V, и, наконец, в аммиачных кристаллизаторах 5, в которых хладоагентом является аммиак. Если температура конечного охлаждения раствора сырья ниже - 30 °С, то в качестве хладоагента на последней стадии охлаждения используют этан. Холодная суспензия твердых углеводородов в растворе масла IV поступает через приемник (на схеме не показан) в фильтры 6 (на некоторых установках - в центрифуги) для отделения твердой фазы от жидкой. Осадок твердых углеводородов на фильтре промывается холодным растворителем II и поступает в шнековое устройство, куда также добавляют некоторое количество растворителя II, обеспечивающее возможность перемещения осадка. В результате фильтрования получают раствор депарафинированного масла V, содержащий 75-80% растворителя, и раствор твердых углеводородов (гача или петролатума) VI с относительно небольшим содержанием масла. Оба раствора направляют в секции регенерации растворителя 7 и 8.

Полученное после регенерации растворителя депарафинированное масло VII поступает на доочистку, а твердые углеводороды VIII (гач в случае переработки дистиллятного и петролатум - остаточного сырья) - на дальнейшую переработку для производства парафина и церезина. Регенерированный растворитель возвращается на смешение с сырьем, промывку осадка и в небольшом количестве - в шнековое устройство. В зависимости от фракционного и углеводородного состава сырья растворитель можно подавать на смешение с сырьем как единовременно, так и порциями в определенные точки по ходу охлаждения сырья.

Принципиальные схемы холодильного отделения.


На большинстве установок депарафинизации и обезмасливания в качестве хладоагента применяют аммиак, а в последнее время - пропан, циркулирующий по замкнутой системе холодильной установки. Принципиальная схема холодильного отделения с использованием аммиака приведена на рис. Пары аммиака I, выходящего из кристаллизатора 1 (испарительная система), через аккумулятор 2 поступают в отделитель жидкости 3 (попадание жидкости в цилиндры компрессора может вывести его из строя), а затем - на I ступень сжатия двухступенчатого компрессора 8 и под давлением 0,25-0,3 МПа нагнетаются в промежуточный сосуд 6, в котором они доохлаждаются за счет испарения жидкого аммиака II, подаваемого из рабочего ресивера 5. Из промежуточного сосуда 6 пары аммиака поступают в цилиндр высокого давления соответствующего компрессора, где сжимаются до давления конденсации (1-1,2 МПа). После этого через маслоотделитель 7 пары вводятся в вертикальные кожухотрубчатые водяные конденсаторы-холодильники 4. Сконденсировавшийся аммиак II стекает в рабочий ресивер 5, откуда поступает в змеевик промежуточного сосуда 6, где переохлаждается от 34-36 °С (температура конденсации) до 0-5°С за счет испарения аммиака, содержащегося в сосуде. Переохлажденный аммиак поступает в аккумулятор 2, а затем в кристаллизатор 1, где за счет его испарения происходит охлаждение суспензии твердых углеводородов в растворе масла. Жидкий аммиак подается из промежуточного сосуда 6 в аккумулятор 2 через клапан, связанный с регулятором уровня. Температура охлаждаемой смеси на выходе из кристаллизатора регулируется при помощи клапана на линии отсоса паров аммиака из аккумулятора.


Если необходимо увеличить производительность и снизить температуру на линии паров, направляемых на компрессию, то устанавливают дополнительный компрессор. При давлении на приеме 30 кПа и на выходе 90 кПа можно снизить температуру паров аммиака до -57°С. Для обеспечения нормальной работы любой аммиачной холодильной установки необходимо герметизировать сальники компрессора и всасывающих магистралей, чтобы воздух не попадал в систему. Все холодные части холодильной установки покрывают пробковой изоляцией.

Принципиальная схема холодильного отделения с использованием жидкого пропана дана на рис, 8. Пары пропана II из аккумулятора 4 через отделитель жидкости 2 поступают на прием I ступени четырехступенчатого турбокомпрессора 3, с выхода которого направляются в конденсатор-холодильник 6, где конденсируются, после чего жидкий пропан стекает в приемник 7. Оттуда жидкий пропан поступает в трубное пространство промежуточного сосуда 8, где охлаждается за счет испарения пропана, подаваемого в межтрубное пространство и отсасываемого II (приемной ступенью турбокомпрессора. Часть жидкого пропана, минуя промежуточный сосуд, подается в змеевик отделителя жидкости 2, где охлаждается и далее смешивается с потоком жидкого пропана I, охлажденного в промежуточном сосуде и направляемого в кристаллизатор 5. Из нижней части отделителя жидкости 2 пропан стекает в дренажную емкость 1, откуда периодически выдавливается в приемник 7 и возвращается в систему.

При замене аммиачного охлаждения на пропановое к установке предъявляются более высокие требования по соблюдению правил техники безопасности, которые обусловлены низкими пределами взрываемости пропана, отсутствием характерного запаха и возможностью скопления его в низких местах территории установки. Даже незначительное нарушение герметичности системы может вызывать сильное переохлаждение участка трубопровода (до - 40°С) и, как следствие, его разрушение.

На установках глубокой (низкотемпературной) депарафинизации, чтобы охладить растворы до минус 60 - минус 62 °С, температура хладоагента в кристаллизаторах должна быть минус 62 - минус 65 °С. Для этого при использовании аммиака требуется значительный вакуум (температура кипения аммиака при атмосферном давлении равна -33,4 °С, при 17,3 кПа около - 70 °С, а при -77,3°С аммиак кристаллизуется). Поэтому при глубокой депарафинизации конечное охлаждение проводят в этановых кристаллизаторах, выполненных из легированной стали.

4. Принципиальная технологическая схема установки депарафинизации в растворе пропана

При депарафинизации в растворе сжиженного пропана существуют два варианта охлаждения раствора сырья: с хладоагентом, обычно используемым в последней стадии охлаждения аммиаком и за счет испарения из раствора самого пропана, которое осуществляется в вертикальных или горизонтальных аппаратах, действующих попеременно. Скорость охлаждения растворов в них регулируется скоростью снижения давления. Следовательно, в данных аппаратах испарение пропана зависит от отсоса его паров, для чего на установках этого типа предусмотрены компрессоры. Необходимую кратность пропана к сырью поддерживают, непрерывно добавляя пропан по мере его испарения или добавляя охлажденный пропан в конечной стадии охлаждения.

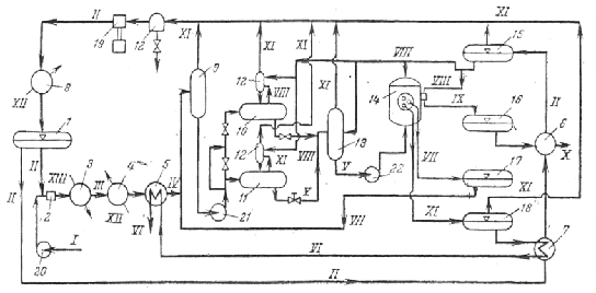
Рис. Принципиальная технологическая схема установки депарафинизации в растворе пропана:

-сборник жидкого пропана; 2- смеситель; 3- паровой подогреватель; 4, 8- холодильники; 5-7 - теплообменники; 9- промежуточная емкость для раствора сырья; 10, 11 - пропановые кристаллизаторы самоохлаждення периодического действия, работающие попеременно; 12-каплеотоойникн; 13 - приемник суспензии петролатума; 14-барабанный фильтр, работающий под давлением; 15-ёмкость для охлажденного пропана; 16- приемник суспензии петролатума; 17-приемник пропана от промывки осадка на фильтрах; 15-приемник раствора депарафинированного масла; 19-компрессор; 20-22- насосы.

Линии: I -сырье; II -пропан; III-раствор сырья; IV-охлажденный раствор сырья; V-суспензия петролатума; VI-раствор депарафинированного масла на регенерацию растворителя; VII - раствор от промывки осадка на фильтрах; VIII- охлажденный пропан на разбавление лепешки петролатума и на промывку лепешки на фильтрах, на разбавление охлажденного раствора, на добавку к сырьевому раствору для компенсации убыли его при самоохлаждении; IX -суспензия петролатума после фильтра; X- раствор петролатума на регенерацию растворителя; XI- пары пропана на компрессию; XII- вода; XIII-водяной пар.

Сырье I подается насосом 20 в диафрагмовый смеситель 2, где смешивается со сжиженным пропаном II, поступающим из сборника 1 (рис. 62). Смесь подвергается термической обработке в паровом нагревателе 3 до 50-70 °C, а затем раствор III охлаждается водой в холодильнике 4 до 35-40 °С. Дополнительно раствор охлаждается холодным фильтратом VI в теплообменнике 5. Охлажденный раствор IV поступает в промежуточную емкость 9, откуда насосом 21 подается в один из попеременно действующих кристаллизаторов 10 и II, где за счет снижения давления происходит испарение пропана VIII, подаваемого в кристаллизатор из сборника 15 через теплообменник (на схеме не показаны) непосредственно в раствор, охлажденный до минус 30 - минус 45 °С.

В сборнике 15 пропан охлаждается в результате испарения части его. Суспензия V собирается в приемнике 13 и далее насосом 22 подается в барабанные фильтры 14, работающие под избыточным давлением-25-50 кПа (0,25-0,50 кгс/см2). Раствор депарафинированного масла VI поступает в приемник 18, откуда, пройдя теплообменники 7 и 5, направляется в секцию регенерации растворителя. Раствор от промывки осадка VII собирается в приемник 17 и затем добавляется к охлаждаемому раствору сырья IV перед кристаллизаторами 10 и 11. Осадок на фильтре промывается Охлажденным пропаном VIII, поступающим из сборника 15. Кроме того, пропан добавляется к петролатуму для разжижения осадка, облегчения транспортирования его шнеком и подачи в приемник 16, откуда через теплообменник 6 раствор петролатума X поступает в регенерационную часть установки. Осадок с барабана фильтра отдувается циркулирующим газообразным пропаном, подаваемым газодувкой. Пары пропана XI, пройдя брызгоотделитель 12, отсасываются компрессором 19, охлаждаются в холодильнике 8 и. поступают в сборник жидкого пропана 1.

Основная масса пропана как из раствора депарафннированного масла VI, так и из раствора петролатума X, отгоняется под давлением 1,5-1,7 МПа в паровых испарителях, аналогичных используемым на установках деасфальтизации масел. Остатки пропана удаляют в отпарных колоннах, работающих под давлением, близким к атмосферному. Из отпарных колонн смесь паров пропана и воды поступает в конденсатор смешения, затем в брызгоотделитель и на компрессор. Примерный материальный баланс депарафинизации остаточного рафината пропаном приведен ниже:


% (масс.) от сырья

Состав растворов, % (масс.)

Взято



сырьё

100

Пропан



на разбавление

175

-

на промывку осадка

50

-

на разжижение осадка

75

-

Всего

400

-



% (масс.) от сырья

Состав растворов, % (масс.)

Получено



Раствор депарафияированного масла



масло

74-76

26

пропан

211

74

Итого

285

100



Раствор петролатума



петролатум

26-24

22,5

пропан

89

77,5

Итого

115

-

Всего

400

100


Характеристика сырья и получаемых продуктов следующая:

нефтяной депарафинизация пропан кристаллизация


Рафинад

Депараф. масло

Петролатум

Рафинад

Депараф. масло

Петролатум

Плотность при 20 °С, кг/м3

883

887

-

890

897

-

Вязкость при 100 °С, мм2

17,8

20,3

-

19,0

21,5

-

Температура, °С


застывания

-31

-21

-

45

-18

-

плавления

-

60,8

-

-

63,0


* Температура конечного охлаждения и фильтрования -40 °С.

5. Преимущество и недостаток метода

Основным достоинством этого процесса являются его простота и экономичность, так как пропан одновременно является и растворителем, и хладоагентом. Кроме того, пары пропана используют и для отдувки осадка на фильтре. Это позволяет исключить из схемы линию инертного газа. При депарафинизации пропаном вследствие малой вязкости раствора при низких температурах скорость охлаждения значительно выше, чем при использовании кетонов. В процессе охлаждения, особенно остаточного сырья, совместная кристаллизация Твердых углеводородов и смолистых веществ приводит к образованию крупных дендритных кристаллов, что обеспечивает высокую скорость фильтрования - до 600 - 1000 кг/(м2-ч) по сырью из расчета на полную поверхность фильтра.

При депарафинизации дистиллятного сырья скорость фильтрования снижается в 10-15 раз из-за образования мелкокристаллической структуры твердых углеводородов. Повысить эффективность процесса в этом случае можно_ добавлением некоторых присадок, приводящих к образованию более крупных кристаллов. Вследствие высокой растворяющей способности пропана кратность его к сырью небольшая от 0,8:1 до 2:1 (об.). В то же время высокая растворимость твердых углеводородов в пропане требует при депарафинизации низких температур охлаждения для достаточно полного выделения Кристаллизующихся компонентов, т. е. процесс проходит с высоким ТЭД (15-20°С), что является его недостатком.

Список использованных источников

Богданов Н. Ф., Переверзев А. Н. Депарафинизация нефтяных продуктов. М., Гостоптехиздат, 1961. 248 с.

Технология переработки нефти и газа. Ч. 3-я Черножуков Н. И. Очистка и разделение нефтяного сырья, производство товарных нефтепродуктов. Под ред. А. А. Гуреева и Б. И. Бондаренко. - 6-е изд., пер. и доп. - М.: Химия, 1978 г. -424 с.


Не нашли материал для своей работы?
Поможем написать уникальную работу
Без плагиата!
Без нейросетей!