Технология холоднокатаного листового проката

  • Вид работы:
    Дипломная (ВКР)
  • Предмет:
    Другое
  • Язык:
    Русский
    ,
    Формат файла:
    MS Word
    341,79 kb
  • Опубликовано:
    2011-06-17
Вы можете узнать стоимость помощи в написании студенческой работы.
Помощь в написании работы, которую точно примут!

Технология холоднокатаного листового проката

Содержание

Введение

. Технология производства холоднокатаных листов

. Методы контроля толщины полосы

. Технологические требования к системе контроля толщины

. Устройство и принцип действия ультразвуковых толщиномеров

. Поверка средств измерения

Заключение

Список использованных источников

Введение

Холодная прокатка по сравнению с горячей имеет два больших преимущества: во-первых, она позволяет производить листы и полосы толщиной менее 0,8-1 мм, вплоть до нескольких микрон, что горячей прокаткой недостижимо; во-вторых, она обеспечивает получение продукции более высокого качества по всем показателям - точности размеров, отделке поверхности, физико-механическим свойствам. Эти преимущества холодной прокатки обусловили ее широкое использование как в черной, так и в цветной металлургии.

Вместе с тем необходимо отметить, что процессы холодной прокатки являются более энергоемкими, чем процессы горячей прокатки. При холодной деформации металл упрочняется (наклепывается), в связи с этим для восстановления пластических свойств приходится проводить отжиг. Технология производства холоднокатаных листов включает большое число переделов, требует применения сложного и многообразного оборудования.

В настоящее время доля холоднокатаных листов в общей массе тонколистового проката составляет около 50 %. Производство холоднокатаных листов, полос и лент продолжает интенсивно развиваться. Основную массу (примерно 80%) холоднокатаных листов составляет низкоуглеродистая конструкционная сталь толщиной 0,5-2,5 мм, шириной до 2300 мм. Такую тонколистовую сталь широко используют в автомобилестроении, поэтому часто ее называют автолистом. Методом холодной прокатки производят почти всю жесть - продукцию, идущую в больших количествах для изготовления пищевой тары, в частности консервных банок. Материалом для жести также служит низкоуглеродистая сталь, но в большинстве случаев жесть выпускают с защитным покрытием, чаще всего - оловянным. Жесть прокатывают в виде полос толщиной 0,07-0,5 мм, шириной до 1300 мм. К числу распространенных видов холоднокатаной продукции также относятся: декапир (травленая и отожженная сталь, применяемая при производстве эмалированной посуды и других изделий с покрытиями), кровельный лист (часто выпускается оцинкованным), низколегированные конструкционные стали. Особо следует отметить две важные группы легированных сталей - коррозионностойкую (нержавеющую) и электротехническую (динамную и трансформаторную).

В цветной металлургии холодная прокатка применяется для получения тонких полос, листов и лент из алюминия и его сплавов, меди и ее сплавов, никеля, титана, цинка, свинца и многих других металлов. Наименьшую толщину имеет фольга. Например, алюминиевая фольга выпускается в виде полос минимальной толщиной 0,005мм, шириной до 1000-1500 мм. Разнообразие сортамента холоднокатаной листовой продукции обеспечивается применением прокатных станов различной конструкции, с очень разными техническими характеристиками и уровнями производительности.

. Технология производства холоднокатаных листов

Исходным материалом для производства холоднокатаных полос и листов служат горячекатаные полосы толщиной 1,8-6,0 мм, поступающие в цех холодной прокатки в рулонах.

Конечной продукцией цехов холодной прокатки рассматриваемого типа являются листы и полосы толщиной 0,3-3,0 мм, шириной до 2350 мм, из углеродистой стали обыкновенного и повышенного качества, а также из низколегированных сталей. Значительная часть листов и полос выпускается с защитными антикоррозионными покрытиями - цинковым, алюминиевым, полимерными и др.

Поверхность исходных горячекатаных полос покрыта окалиной (оксидами). Если проводить холодную прокатку заготовок в таком состоянии, то окалина будет вдавливаться в металл, резко ухудшая качество его поверхности. Кроме того, окалина, обладая относительно высокой твердостью, способствует износу прокатных валков. Поэтому первой необходимой технологической операцией является удаление окалины с поверхности горячекатаных полос.

Существует ряд способов удаления окалины, однако широкое, практическое применение получили два: химический и механический. Химический способ заключается в растворении оксидов в кислотах; механический - в осуществлении пластической деформации, способствующей отлущиванию окалины с поверхности полосы, или дробеметной (дробеструйной) обработке. В настоящее время оба эти способа чисто применяются совместно, причем химический, называемый травлением является основным, а механический - предварительным.

Перед поступлением полосы в травильные ванны производится дополнительное механическое разрушение окалины. Для этого применяется дрессировочная клеть или машина пластического растяжения.

Травление ведется в водном растворе серной или соляной кислоты.

Использование соляной кислоты в качестве травильной среды имеет ряд существенных преимуществ. Прежде всего, соляная кислота является более активной, чем серная, особенно по отношению к оксидам, что позволяет сократить время травления. Качество поверхности полос после обработки в соляной кислоте лучше, чем после работки в серной. Сокращается выделение водорода, в связи с чем уменьшается опасность возникновения водородной хрупкости. Соляная кислота легче и полнее удаляется с поверхности полос в промывных ваннах.

Протравленные и промасленные полосы в рулонах поступают на стан холодной прокатки (Рисунок 1). Чаще всего это четырех- или пятиклетевой непрерывный стан.

Рисунок 1 - Схемы непрерывных станов порулонной (а) и бесконечной (б) прокатки: 1-разматыватели; 2-рабочие клети; 3-моталки; 4-ножницы; 5-стыкосварочная машина; 6-петлеобразующее устройство; 7- летучие ножницы

Рулоны цепным транспортером подаются в разматыватель стана. Передний конец полосы отгибается специальным устройством и задается в тянущие ролики, которые подводят полосу к валкам первой клети.

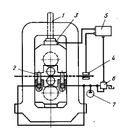
Рисунок 2 - Схема клети с гидромеханическим нажимным устройством и системой автоматического регулирования толщины полосы: 1 - нажимной винт; 2 - гидроцилиндры с плунжерами; 3 - месдоза; 4 - толщиномер; 5 - управляющее устройство; 6 - регулятор давления жидкости; 7 - насос

Пройдя через все клети (с заданным обжатием), передний конец полосы попадает на барабан моталки. С помощью захлестывателя, начинается намотка полосы на барабан. Все указанные начальные операции выполняются на малой, заправочной скорости (0,5-2,0 м/с). После намотки на барабан 3-4 витков полосы стан переводится на рабочую скорость (25-30 м/с). Когда прокатка рулона завершается и в разматывателе остается 2-3 витка полосы, скорость стана снова снижается до заправочной. Если поступающие на стан рулоны составлены (сварены) из нескольких полос, то прокатка сварных швов также осуществляется на пониженной скорости (около 5 м/с).

Следующий основной технологической операцией - после прокатки- является отжиг, который необходим для устранения наклепа, полученного при холодной деформации, и восстановления пластических свойств металла. Температура нагрева металла (низкоуглеродистой стали) 650-720 ˚С. С точки зрения структурных превращений этот отжиг является рекристаллизационным.

Отжиг осуществляется в колпаковых печах в рулонах (иногда в пачках) или в непрерывных агрегатах с протяжными печами.

После отжига тонколистовая сталь подвергается дрессировке. Этим термином обозначается процесс отделочной холодной прокатки с очень небольшим обжатием, обычно в пределах 0,8-1,5%. Дрессировка полос толщиной более 0,3 мм ведется в один пропуск.

В процессе дрессировки тонкие приконтактные слои металла обжимаются в валках и впоследствии при штамповке линии сдвига на поверхности не проступают. Помимо сказанного, дрессировка дает и другие положительные эффекты; уменьшается волнистость и коробоватость полос, несколько улучшаются механические свойства металла (предел текучести немного понижается, прочность увеличивается), формируется необходимый микрорельеф поверхности продукции.

Иногда дрессировка является последней технологической операцией в цехе холодной прокатки. После дрессировки часть рулонов может отгружаться потребителям в неразделенном виде, но большая часть их поступает на разделочные агрегаты для поперечной и продольной резки на листы и более узкие полосы по заказам.

Важно отметить, что в настоящее время значительное и растущее количество тонколистовой холоднокатаной стали выпускается с защитными антикоррозионными покрытиями, в первую очередь - цинковым и полимерными. Нанесение цинкового покрытия осуществляется методом погружения в расплав цинка (горячее цинкование) или электролитическим методом. При горячем цинковании толщина покрытия достигает 50 мкм, при электролитическом - до 10 мкм. Наибольшее применение получил способ горячего цинкования.

Дефекты холоднокатаных листов и полос

Виды дефектов холоднокатаных листов и полос очень многочисленны. Некоторые из них специфичны, т.е. относятся только к какому-либо конкретному виду продукции.

. Несоблюдение точности размеров и формы листов и полос.

Поскольку холоднокатаные листы в основной массе значительно тоньше, чем горячекатаные, на первый план выходят такие дефекты, как поперечная и продольная разнотолщинность, волнистость, коробоватость.

Причиной образования разнотолщинности проката является непостоянство условий деформации:

·изменение температуры заготовки;

·изменение диаметра валков вследствие их нагрева;

·эксцентриситет и неоднородность структуры рабочих валков;

·прокатка конца полосы без натяжения.

Для получения продукции с минимальной разнотолщинностью прежде всего должны быть использованы все меры, направленные на стабилизацию условий прокатки. Большое значение имеет выполнение следующих требований: минимальная исходная разнотолщинность заготовки (подката), минимальный температурный перепад по длине полосы при горячей прокатке, постоянство коэффициента трения и натяжений и др. При изготовлении и подготовке валков к прокатке необходимо добиваться минимального их биения при вращении в подшипниках рабочей клети.

Предупреждение их достигается оптимальной профилировкой валков, применением противоизгиба, введением автоматического управления процессом прокатки.

2. Нарушение сплошности металла.

Основной причиной возникновения дефектов такого рода (дыры, трещины, рваная кромка, плены, расслоения и др.) является плохое качество металла исходной горячекатаной заготовки.

3. Дефекты поверхности листов и полос относятся к числу наиболее распростаненых.

При травлении горячекатаных полос возможнынедотрав и перетрав. В первом случае на поверхности полосы остаются темные полосы или пятна нестравленной окалины (рис. 41, б); во втором - поверхность металла получается грубо шероховатой, разъеденной кислотным раствором. Распространенным видом повреждения холоднокатаных листов и полос является вкатанная металлическая крошка. Дефект возникает в результате попадания кусочков металла на поверхность прокатываемой полосы.

4. Отклонения по структуре и физико-механическим свойствам металла зависят главным образом от выполнения предписанных режимов термической обработки. Вместе с тем следует иметь в виду большое влияние режимов деформации, которые должны быть выбраны с учетом конечных свойств металла.

прокатка металлургия сталь легированный толщиномер

2. Методы контроля толщины полосы

Виды толщиномеров:

При производстве металло- и трубопроката, полиэтиленовых пленок, фольги, а также при нанесении различных покрытий контроль толщины - обязательный технологический этап. Для решения этой задачи применяют различные толщиномеры, которые производят моментальные измерения при одностороннем доступе к объекту контроля. Отпадает необходимость разрезать изделие для измерения его толщины. На сегодняшний день производители предлагают толщиномеры пяти видов: вихретоковые, магнитные и ультразвуковые. Принципиальным отличием является физический эффект, на котором основана работа толщиномера.

1) Магнитные толщиномеры

Принцип действия прибора основан на эффекте Холла, т.е. при помещении объекта контроля в магнитное поле, в нем возникает разность потенциалов. Магнитные толщиномеры (например, Magna-Mike 8500) предназначены для измерения толщины неферромагнитных материалов: пластиковых, стеклянных, алюминиевых емкостей, композитных деталей, упаковочных материалов, автомобильных панелей и др. Также, приборы используются и для измерения толщины немагнитных покрытий. Магнитные толщиномеры можно разделить на магнитоотрывные и индукционные. Работа магнитоотрывных толщиномеров основана на измерении силы отрыва магнита от объекта контроля. Индукционные толщиномеры определяют изменение магнитного сопротивления. Достоинства магнитных толщиномеров - широкий диапазон измерений, низкая погрешность измерений (2-3%), высокая производительность контроля (время одного измерения 2-3 сек).

2) Вихретоковые толщиномеры

Вихретоковые толщиномеры предназначены для измерения толщины диэлектрических материалов, т.е. тех, которые не проводят электрический ток. С их помощью можно контролировать толщину пластмассы, резины, стекла, различных покрытий, нанесенных на металлическое основание (например, толщиномерами серии ТМ). Принцип действия вихретоковых толщиномеров основан на методе вихревых токов, заключающемся в возбуждении вихревых токов в объекте контроля и регистрации изменений поля вихревых токов, обусловленных изменением толщины. Преимуществом таких толщиномеров является исключительно малое влияние шероховатости изделия на результаты измерения.

3) Ультразвуковые толщиномеры

Наиболее широкое распространение получила ультразвуковая толщинометрия. Принцип действия заключается в распространении ультразвуковых волн в объекте контроля. Ультразвуковые толщиномеры решают наиболее широкий спектр задач: они используются для контроля толщины стенок труб, металлопроката, резины, лакокрасочных покрытий и пр. Современные ультразвуковые толщиномеры (такие как MG2:XT, MG2:DL), позволяют одновременно контролировать как толщину основного металла, так и покрытия. Толщиномеры имеют широкий диапазон измерений: от нескольких миллиметров до десятка сантиметров; они компактны и высокопроизводительны (время контроля 2-3 сек.). При выборе толщиномера, предприятия чаще всего останавливаются именно на ультразвуковых толщиномерах. Это связано с невысокой стоимостью, широким спектром решаемых задач, низкой погрешностью измерений при высокой производительности.

4) Рентгеновские толщиномеры

Применяются в промышленности для измерения толщин от 0,3 мм и выше. Принцип действия основан на том, что при прохождении излучения через измеряемый материал происходит частичное поглощение лучей. Степень поглощения зависит от толщины и свойств материала (его химического состава).

5) Радиоизотопные толщиномеры

Принцип действия такой же как и у рентгеновских толщиномеров, используются источник и приемник радиоизотопного излучения. Измерители с γ-источниками имеют меньшие габариты, невысокую относительную стоимость и проще в эксплуатации.

3. Технологические требования к системе контроля толщины

Толщиномеры автоматизированного контроля, предназначенные для измерения толщины изделий в процессе их производства или эксплуатации

Таблица 1

Наименование подгруппы однородной продукции

Наименование показателя

Толщиномеры для измерения толщины изделий со значением параметра шероховатости поверхности Rz<=40мкм

1. Диапазон измеряемых толщин (по стали), мм

0,2-100,0; 0,1-100,0


2. Предел допускаемого значения основной погрешности, мм:

 


в диапазоне толщин до 10 мм

±0,003; ±0,005; 0,01


в диапазоне толщин свыше 10 мм

±0,001 Х*; ±0,01


3. Масса толщиномера, кг, не более

9


4. Мощность, потребляемая от сети, В·А, не более

60


5. Производительность контроля:

 


Количество измерений в секунду, не менее

1000


Время перенастройки толщиномера при смене объекта контроля, с, не более

300


6. Степень защиты от попадания внутрь толщиномера твердых тел и воды (по ГОСТ 14254), не хуже

IP54


7. Средняя наработка на отказ, ч, не менее

6600

Толщиномеры для измерения толщины изделий со значением параметра шероховатости поверхности Rz>40 мкм

1. Диапазон измеряемых толщин (по стали), мм

0,6-100,0


2. Предел допускаемого значения основной погрешности, мм:

 


в диапазоне толщин до 10 мм

±0,1


в диапазоне толщин свыше 10 мм

±(0,1 + 0,001 Х)


3. Масса толщиномера, кг, не более

18


4. Мощность, потребляемая от сети, В·А, не более

50


5. Производительность контроля:

 


Количество измерений в секунду, не менее

250


Время перенастройки толщиномера при смене объекта контроля, с, не более

300


6. Степень защиты от попадания внутрь толщиномера твердых тел и воды (по ГОСТ 14254), не хуже

IP54


7. Средняя наработка на отказ, ч, не менее

10000

*X - измеряемая толщина, мм.

Основные технологические требования к системе контроля толщины представлены в таблице 1.

Основная погрешность толщиномеров должна нормироваться на стандартных образцах в нормальных условиях испытаний.

Нормальные условия испытаний должны быть установлены в технических условиях на толщиномеры конкретных типов и соответствовать следующим:

·температура окружающего воздуха 20°С;

·отклонение температуры окружающего воздуха не должно превышать: ±2 или ±5 °С;

·относительная влажность от 45 до 75 %;

·атмосферное давление от 86 до 106 кПа;

·отклонение напряжения питания от номинального значения не должно превышать ±2 %;

·при питании от сетей переменного тока общего назначения максимальное отклонение частоты сети от номинального значения ±1 %; максимально допустимый коэффициент высших гармоник - 5 %;

·внешние электрические и магнитные поля должны отсутствовать или находиться в пределах, не влияющих на работу толщиномеров.

Показатели надежности толщиномеров:

1) средняя наработка на отказ;

2) среднее время восстановления работоспособного состояния;

3) средний срок службы.

4. Устройство и принцип действия ультразвуковых толщиномеров

Ультразвуковой толщиномер "Взлет УТ" предназначен для измерения толщины изделий из металлических и неметаллических материалов, индикации измеренных значений и их архивирования для последующего вывода на индикацию или на внешние устройства через порт RS232. Толщиномер может применяться для измерения:

- изделий с корродированными поверхностями (подверженные коррозии, имеющие дефекты в структуре);

- скорости распространения продольных ультразвуковых колебаний в материале изделий известной толщины;

- размеров изделий сложной геометрической формы, толщины трубопроводов, емкостей и т. д.

Принцип действия эхо-импульсных толщиномеров состоит в измерении времени двойного прохода ультразвуковых колебаний через изделие от одной поверхности до другой, пересчитываемое в значение толщины изделия.

Для излучения УЗ импульсов в изделие и приема их отражений используется УЗ преобразователь, который устанавливается на поверхность изделия в том месте, где необходимо измерить толщину. УЗ преобразователь имеет острую характеристику направленности излучения и приема ультразвука, поэтому толщина изделия определяется непосредственно под местом установки преобразователя. Если поверхность материала, противоположная той, на которую установлен УЗ преобразователь, имеет впадины, то УЗ импульсы отражаются от них и толщина определяется как кратчайшее расстояние от внешней поверхности до этих впадин.

В ультразвуковом толщиномере "Взлет УТ" реализован эхо-импульсный метод измерения с использованием раздельно-совмещенного преобразователя (рисунок 3). Принцип работы толщиномера основан на свойстве ультразвуковых колебаний (УЗК) отражаться от границы раздела сред с разными акустическими сопротивлениями.

Для излучения и приема ультразвуковых колебаний используется раздельно-совмещенный пьезоэлектрический преобразователь (ПЭП), который состоит из следующих основных элементов: корпуса, излучающего элемента - преобразователя электромагнитных колебаний в упругие, приемного элемента - преобразователя упругих колебаний в электромагнитные, протектора или акустической задержки (призмы), демпфера, электроакустического экрана и токопровода.

При измерении толщины раздельно-совмещенный пьезоэлектрический преобразователь излучает импульс ударного возбуждения через призму под небольшим углом (5-10°) к нормали поверхности изделия. Импульс УЗК распространяется в изделии, отражается от донной поверхности и через призму поступает на приемный элемент раздельно-совмещенного ПЭП. Время распространения импульса в изделии связано с толщиной зависимостью

где h - толщина изделия; с- скорость распространения продольных ультразвуковых волн; t - время распространения ультразвукового импульса в изделии, α - угол падения продольной волны.

Призмы изготавливаются, как правило, из плексигласа или специальных пластмасс. Для границы плексиглас-сталь показывает, что в области малых углов падения (5-10°) в стали существует практически только продольная волна. Эту область используют для возбуждения продольных волн раздельно-совмещенными ПЭП.

Резонансная частота ПЭП 2,5 МГц. Толщиномер позволяет работать с другими типами ПЭП в диапазоне частот от 2,5 до 10 МГц.

Из-за большой разности акустических сопротивлений на границе раздела сред плексиглас-воздух происходит практически полное отражение УЗК, поэтому для прохождения ультразвуковых волн из призмы в контролируемое изделие используется контактная жидкость, которая наносится между призмой и изделием.

Рисунок 3 - Конструкция (а) и внешний вид (б) УЗ преобразователя: 1 - пьезопластина; 2 - призма; 3- контактная жидкость; 4 - контролируемое изделие; 5 - токоотвод; 6 - демпфер; 7 - электроакустический экран.

Основными источниками погрешности ультразвуковых толщиномеров являются:

- внутренние дефекты изделия (трещины, вторичные включения других материалов, пустоты и т. д.);

- неправильный ввод скорости ультразвука;

- большая шероховатость или корродированная поверхность изделия.

Внутренние дефекты изделия являются источниками грубых погрешностей. При измерении толщины изделий с большой шероховатостью или корродированной поверхностью происходит реверберация (переотражение) ультразвука между поверхностью изделия и призмой ПЭП в полостях, заполненных контактной жидкостью. Неправильный ввод скорости ультразвука и большая шероховатость поверхности изделия являются методическими погрешностями.

Функциональная схема ультразвукового толщиномера "Взлет УТ" приведена на рисунке 5. Толщиномер состоит из микропроцессорного устройства управления и вычисления УУВ, генератора опорной частоты ГОЧ, генератора запускающих импульсов ГЗИ, измерителя временных интервалов ИВИ, цифро, аналогового преобразователя ЦАП, компаратора, временного селектора, клавиатуры и жидкокристаллического индикатора.

В режиме излучения УУВ выдает команду на одновременный запуск ГЗИ и ИВИ. Импульс с ГЗИ поступает на ПЭП и излучается в изделие. В режиме приема отраженный эхо, импульс, принятый ПЭП, усиливается, подвергается амплитудной и временной селекции и поступает в ИВИ как сигнал окончания счета импульсов ГОЧ. Полученный код на выходе ИВИ поступает в УУВ, которое после соответствующих вычислений выдает значение толщины на индикатор.

В режиме приема на усилитель от ПЭП поступает последовательность импульсов: импульс, отраженный от передней грани изделия; импульсы продольной и поперечной волн, отраженных от донной поверхности изделия; импульсы переотражения в призме ПЭП. Вследствие малого фазового сдвига некоторые импульсы воспринимаются ПЭП как один. Время распространения ультразвукового импульса в изделии t в выражении (1) определяется как временной интервал между импульсом, отраженным от передней грани изделия и импульсом продольной волны, отраженным от донной поверхности.

Рисунок 5 - Функциональная схема толщиномера"Взлет УТ"

Амплитуда принятых импульсов зависит от толщины изделия, коэффициентов затухания и расхождения ультразвуковых волн в изделии, шероховатости поверхности изделия и качества акустического контакта. Для уменьшения влияния этих факторов в приборе применятся амплитудная селекция с изменяющимся напряжением порога, которая осуществляется с помощью ЦАП и компаратора. ЦАП, управляемый УУВ, определяет пороговое напряжение. Компаратор выделяет импульсы, которые превышают уровень порогового напряжения.

Временная селекция импульсов с выхода компаратора выполняется с помощью временного селектора и схемы задержки, управляемой УУВ. Временной селектор выделяет импульс продольной волны, отраженной от донной поверхности.

Измерение временного интервала производится ИВИ, который осуществляет подсчет числа импульсов ГОЧ за период времени между импульсом, отраженным от передней грани, и импульсом продольной волны, отраженным от донной поверхности. Импульс волны, отраженной от передней грани изделия, является для ИВИ импульсом начала счета импульсов ГОЧ. Импульс продольной волны, отраженной от донной поверхности изделия, является импульсом конца счета. Измеренный временной интервал поступает в УУВ для обработки результатов измерения и формирования графической информации. При обработке результатов измерения учитывается время задержки в призме, которое считается известной величиной.

Значение скорости распространения продольных акустических волн в материале измеряемого изделия устанавливается в толщиномере с помощью клавиатуры или измеряется на образце известной толщины.

Записанный в памяти толщиномера массив данных можно перенести на персональный компьютер для анализа, обработки и использования в документации. Для переноса записанных данных на компьютер в толщиномере предусмотрена процедура передачи результатов измерений из памяти прибора на ПК. Основные технические характеристики ультразвукового толщиномера представлены в таблице 2.

Таблица 2 Технические характеристики

Наименование параметра

Значение параметра

Диапазон измеряемых толщин (по стали), h, мм

от 1 до 300

Диапазон измеряемых скоростей ультразвука, м/с

от 1 000 до 15 000

Абсолютная погрешность измерения толщины, не более, мм

±(0,035+0,001h*)

Разрешающая способность, мм - при измерении толщины - при измерении скорости ультразвука, м/с

 0,01 1

Глубина архива - измеренных значений - параметров настроек

 1000 100

Диапазон рабочих частот, МГц

2,5 - 10

Диапазон рабочих температур,°С

0 - 50

Длительность цикла измерения или периода следования показаний, с

от 1 до 3

Габариты прибора, мм

85 × 160 × 30

Масса, кг, не более

0,4

* h - измеряемая толщина

5. Поверка средств измерения

Поверка, основанная на статистических измерениях одной и той же постоянной величины

При поверке путем многократных (статистических) измерений одной и той же величины предел допускаемой относительной погрешности определяется следующим выражением:

Оценку предельного значения абсолютной погрешности можно получить как точечную оценку среднего квадратического отклонения; t - коэффициент Стьюдента-Фишера, зависящий от количества измерений n и доверительной вероятности Р, выбираемой, как правило, близкой к единице.

Для проведения поверки необходимо произвести 10-20 измерений толщины. Расчет точечных оценок математического ожидания и среднего квадратического отклонения. Принимая закон распределения Стьюдента-Фишера и задавшись значением доверительной вероятности Р, близкой к единице, находят для проделанного числа измерений n коэффициент Стьюдента-Фишера

t=f(P,n)

Далее рассчитываем интервальную оценку погрешности среднего арифметического и интервальную оценку истинного значения измеренной толщины


с указанием значений Ри n.

Интервальные оценки абсолютной и относительной погрешностей измерения толщины, близкие к предельным значениям при Р= 0,999 рассчитываются по формулам (4) и (2) соответственно. Полученные значение сравниваются с классом точности прибора.

Определение погрешности толщиномера с помощью набора образцов, выполненных из одной заготовки

Если скорость распространения ультразвука в материале образцов, выполненных из одной заготовки, известна, ввести ее значение, если неизвестна, то предварительно выполнить измерение скорости распространения ультразвука в материале образца толщиной 50 или 200 мм.

Измерение скорости ультразвука выполняется не менее трех раз с интервалом 1-2 с. Скорость распространения ультразвука в материале образцов определяется как среднее арифметическое трех измерений. После введения рассчитанного значения скорости ультразвука произвести измерения толщины образцов по методике определения погрешности прибора с помощью стандартных образцов.

Результаты поверки считаются положительными, если наибольшее значение погрешности толщиномера при измерении находится в пределах:

- при толщине образца 2 мм (±0,04 мм);

- при толщине образца 10 мм (±0,05 мм);

- при толщине образца 50 мм (±0,09 мм);

- при толщине образца 200 мм (±0,24 мм).

Заключение

Холоднокатаный листовой прокат относится к категории высококачественной металлопродукции. Использование его в различных отраслях промышленности чрезвычайно эффективно. Это является стимулом интенсивного научно-технического прогресса в области производства холоднокатаных листов. Идет непрерывное совершенствование существующих технологий, предлагаются принципиально новые технические решения.

В цехах с большим объемом производства сооружаются новые непрерывные станы, в основном 5-клетевые для прокатки полос толщиной не менее 0,3- 0,4 мм и 6-клетевые для прокатки более тонких полос.

В связи с постоянным ужесточением требований по минимальной поперечной разнотолщинности листов, а также их полной планшетности, продолжаются работы по совершенствованию профилировок валков.

Тенденция к постепенному уменьшению толщины прокатываемых листов вызывает необходимость применения более эффективных технологических смазок (эмульсий). Однако введение дополнительных количеств жировых компонентов в смазку приводит к повышенной зажиренности металла после прокатки, что нежелательно. Для устранения указанного противоречия современные смазочные системы на непрерывных станах должны предусматривать возможность раздельной подачи смазки по клетям, позволяя варьировать состав и концентрацию смазки. В этом случае на валки последней, чистовой клети подается низко концентрированная эмульсия или даже моющий раствор.

Современные смазочные системы также должны обеспечивать достаточное охлаждение и тщательную очистку эмульсии от металлических частиц и других загрязнений.

Выбор подходящего датчика основывается на требуемом диапазоне и разрешении измерений, акустических свойствах материала и геометрии детали. При выборе датчика следует поэкспериментировать с тестовыми образцами, представляющими нужный диапазон толщин. В целом, для получения приемлемых результатов рекомендуется использовать датчик с большей частотой и меньшим диаметром. Датчик с небольшим диаметром легче крепится к материалу и требует меньшего слоя контактной жидкости. Более того, высокая частота датчика приводит к сокращению времени установления эхосигнала и, теоретически, к увеличению степени точности измерений. С другой стороны, из-за акустических свойств материала и особенностей его поверхности может потребоваться больший низкочастотный датчик для преодоления плохого сцепления с материалом и случаев потери сигнала, возникающих из-за рассеивания или ослабевания сигнала. Иногда достижение лучшего разрешения осуществляется за счет снижения проникающей способности. Таким образом, для покрытия требующегося диапазона толщин могут использоваться два или более датчика.

Список использованных источников

·А.П. Грудев, Л.Ф. Машкин. Технология прокатного производства, 1994;

·Г. К. Алимочкин, Р. Н. Малаханов, Поверка ультразвуковых средств измерения. Методические указания, 2006;

·ГОСТ 28702-90 Контроль неразрушающий. Толщиномеры ультразвуковые. Общие технические требования;

<http://www.panatest-ndt.ru/>;

·Боднер В. А., Алферов А. В. Измерительные приборы. Т. 2: Методы измерений, устройство и проектирование приборов. М.: Изд-во стандартов, 1990.

Похожие работы на - Технология холоднокатаного листового проката

 

Не нашли материал для своей работы?
Поможем написать уникальную работу
Без плагиата!
Без нейросетей!