Радиационные рекуператоры

  • Вид работы:
    Реферат
  • Предмет:
    Другое
  • Язык:
    Русский
    ,
    Формат файла:
    MS Word
    472,53 kb
  • Опубликовано:
    2011-11-10
Вы можете узнать стоимость помощи в написании студенческой работы.
Помощь в написании работы, которую точно примут!

Радиационные рекуператоры













РЕФЕРАТ

По дисциплине: Теплотехника

на тему: «Радиационные рекуператоры»

Выполнила:

студентка гр. П-09

Аксенова В.В.

Преподаватель:

Бондарь Е.М.






2011 г.

Содержание

1.       Введение

2.       Принцип работы радиационных рекуператоров

.        Щелевые радиационные рекуператоры

.        Трубчатые радиационные рекуператоры

Введение

Нагревательные и термические печи металлургической и машиностроительной промышленности являются одним из основных потребителей топлива в стране, причем в них, как правило, расходуют наиболее ценные сорта топлива: мазут и газ. В подавляющем большинстве случаев промышленные печи работают с весьма низким термическим КПД величина которого в производственных условиях чаще всего не превышает 20 - 30 %, т.е. в 3 - 4 раза ниже, чем, например, КПД современных парокотельных установок. Низкий термический КПД промышленных печей обусловливается в основном очень большими потерями тепла с отходящими дымовыми газами, достигающими иногда 50 - 65% от количества тепла, подведенного в печь. Лучшим методом повышения термического КПД печей, а следовательно, и экономии топлива является возврат в печь части тепла, содержащегося в отходящих дымовых газах, подогревом в рекуператорах воздуха, используемого для горения топлива, а также подогревом горючего газа.

Любой рекуператор представляет собой теплообменный аппарат, работающий в условиях стационарного теплового состояния, когда тепло постоянно передается от остывающих дымовых газов к нагревающемуся воздуху (газу) через разделительную стенку.

Радиационные рекуператоры. Принцип работы

термический печь радиационный рекуператор

При температурах дымовых газов выше 900 - 1000°С основное количество тепла передается в рекуператорах излучением - радиацией. Отсюда и рекуператоры с преимущественно передачей тепла излучением получили название радиационных.

В этих рекуператорах на дымовом пути (воздух, как известно, практически лучепрозрачен) выполняют каналы большого сечения (диаметром 0,5 - 3,0 м), тогда как в конвективных рекуператорах приведены диаметры дымовых каналов, не превышающие 0,1 м. В радиационных рекуператорах дымовые газы, нагретые до высокой температуры, проходят в малой скорости в каналах большого сечения. Применение радиационных рекуператоров целесообразно при температуре дымовых газов не ниже 800°С, так как до этой температуры тепловое излучение относительно невелико.

В радиационных рекуператорах воздух движется со скоростью 20 - 30 м/с и выше, что обеспечивает весьма высокие коэффициенты теплоотдачи на воздушной стороне и позволяет получать значительную тепловую нагрузку поверхности нагрева. Однако благодаря интенсивному теплообмену от стенки к воздуху высокая тепловая нагрузка не вызывает опасного перегрева материала рекуператора. Температура стенки рекуператора обычно превышает температуру воздуха на 100 - 150 °С. В радиационных рекуператорах часто применяют прямоточную схему движения теплоносителей, которая вместе с интенсивным отбором тепла на воздушной стороне позволяет повысить температурный предел применения металлических радиационных рекуператоров до 1400 - 1500°С. Весьма важной положительной особенностью радиационных рекуператоров является значительно меньшая, чем у металлических рекуператоров, засоряемость поверхности нагрева, располагаемой обычно вертикально. Вместе с тем радиационные рекуператоры более громоздкие и требуют более жаростойких материалов.

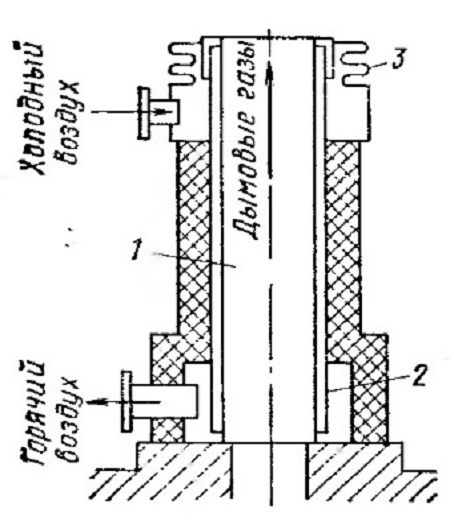
В настоящее время применяют радиационные рекуператоры большей частью двух конструкций: щелевые и трубчатые (из труб малого диаметра)

Щелевые рекуператоры:

Щелевые радиационные рекуператоры выполняют из двух концентрических цилиндров, сваренных из листов жаропрочной стали толщиной 4 - 8 мм. Рекуператоры этого типа являются в настоящее время наиболее распространенными. Устанавливают их обычно вертикально, но иногда встречаются установки с горизонтальным расположением цилиндров. Однако, при горизонтальной установке создаются менее благоприятные условия для обеспечения строительной прочности рекуператора и предохранения его от засорения, а также увеличивается неравномерность обогрева по периметру цилиндров. Диаметр дымового цилиндра зависит от размера рекуператора и обычно изменяется в пределах от 0,7 до 1,5 м. Ширина кольцевого канала для прохода воздуха равна 10 - 60 мм. На обоих концах рекуператора выполняются кольцевые короба для подвода и отвода воздуха. Воздух должен подводиться максимально равномерно, так как для нормальной эксплуатации щелевого радиационного рекуператора необходимо, чтобы вся его поверхность равномерно охлаждалась воздухом. В противном случае рекуператор будет коробиться и выходить их строя. Для компенсации теплового расширения цилиндров предусматривают специальные устройства. Снижение тепловых потерь достигается тепловой изоляцией наружного цилиндра. Важнейшим фактором, обеспечивающим эффективную работу радиационных рекуператоров, является развитый теплообмен на воздушной стороне, который тем интенсивнее, чем выше скорость движения воздуха. Однако обеспечение высокой скорости движения воздуха требует соответствующего повышения его движения, что в свою очередь предъявляет дополнительные требования к строительной прочности радиационных рекуператоров. Щелевые радиационные рекуператоры достаточно устойчиво работают при давлении воздуха до 4000 - 5000 Па, которого бывает недостаточно для обеспечения желаемой скорости движения воздуха. В случае необходимости повышения давления воздуха и, следовательно, строительной прочности применяют трубчатые радиационные рекуператоры.

Трубчатые рекуператоры:


Трубчатые радиационные рекуператоры бывают разных конструкций. Наибольшее распространение получили так называемые корзиночные рекуператоры. Поверхность нагрева такого рекуператора состоит из множества стальных прямых трубок небольшого диаметра, расположенных по окружности и приваренных к кольцевым коллекторам.

Рекуператор состоит из двух трубчатых «корзин». Воздух входит сначала в нижний коллектор нижней корзины, поступает по трубкам вверх, в верхний коллектор нижней корзины, а оттуда по специальному внешнему трубопроводу попадает в верхнюю корзину, в которой и довершается его нагрев. Таким образом, по отношению к направлению движения дымовых газов осуществляется противоточно-прямоточный метод движения воздуха. В таких рекуператорах при температуре дымовых газов 1300°С воздух может подогреваться до 800 - 850°С при средней тепловой нагрузке на единицу поверхности нагрева около 13 - 14 Вт/м².

Список литературы

1.       Кривандин В.А., Филимонов Ю.П. Теория, конструкции и расчеты металлургических печей: Учебник для техникумов. В 2 - х томах. 2 - е изд., перераб. и доп. Т. 1.

2.       Тебеньков Б.П., Рекуператоры промышленных печей, М., «Металлургия», 1975, 296 с.

Похожие работы на - Радиационные рекуператоры

 

Не нашли материал для своей работы?
Поможем написать уникальную работу
Без плагиата!
Без нейросетей!