Дорожные светофоры

  • Вид работы:
    Реферат
  • Предмет:
    Транспорт, грузоперевозки
  • Язык:
    Русский
    ,
    Формат файла:
    MS Word
    197,89 kb
  • Опубликовано:
    2011-09-22
Вы можете узнать стоимость помощи в написании студенческой работы.
Помощь в написании работы, которую точно примут!

Дорожные светофоры

Аннотация


В данной работе объемом 12 стр., рассматривается история создания дорожного светофора.

Ключевые слова: светофор дорожный, семафор, современные светофоры, установка светофоров, АСУД, сигналы светофора, выносной пульт управления, автоматическая система светофоров, дорожное движение, трехцветные светофоры.


Рецензия

В настоящей работе рассматривается история создания дорожного светофора. Светофор дорожный - устройство для подачи световых сигналов, регулирующих движение на улицах и автомобильных дорогах, подвижного состава на железной дороге.

Подробнейшим образом, насколько позволил объем работы, рассмотрена история создания и внедрения светофора как за рубежом, так и в России.

В работе сделан плавный переход к современным светофорам и их разновидностям, типам.

Современные светофоры - это сложные устройства, которые состоят из контроллера дорожной сигнализации, собственно светофора, датчиков транспортных средств, столбов и опор светофоров.

В работе указываются: строение современного светофора, значение его сигналов, типы и характеристики светофоров, метод руководства светофорами.

Управление работой светофоров автоматизировано и ведется с выносного пульта управления (ВПУ).

В современных больших городах для регулирования движения внедрены сложные автоматизированные системы управления дорожным движением (АСУД).

Светофор дорожный является неотъемлемой частью современного регулирования дорожного движения.

дорожный светофор автомобильный дорога

История светофора

Светофор дорожный - устройство для подачи световых сигналов, регулирующих движение на улицах и автомобильных дорогах, подвижного состава на железной дороге. Считается, что название устройство получило от слова "свет" и греческого слова phoros, что значит - несущий, носитель.

Предшественником светофора был семафор - стационарный сигнальный прибор, представляющий собой вертикальную мачту с подвижным плечом, которая образует угол, указывающий "свободно" или "опасность".

Прототипом дорожного светофора был вращающийся газовый фонарь, который излучал сигналы красного и зеленого цветов. Изобретение принадлежало инженеру Джону Найту (John Peake Knigh).

Первый светофор был установлен 10 декабря 1868 года в Лондоне возле здания Британского парламента. Его изобретатель - Дж. П. Найт - был специалистом по железнодорожным семафорам. Светофор управлялся вручную и имел два семафорных крыла: поднятые горизонтально означали сигнал "стоп", а опущенные под углом в 45° - движение с осторожностью. В тёмное время суток использовался вращающийся газовый фонарь, с помощью которого подавались, соответственно, сигналы красного и зелёного цветов. Светофор использовался для облегчения перехода пешеходов через улицу, а его сигналы предназначались для транспортных средств.

декабря 1868 года в Лондоне было установлено несколько светофоров Найта, один из них был прикреплен к зданию парламента. Это были массивные, управлявшиеся специально приставленными к ним полицейскими устройства. Днем полицейские регулировали движение, поднимая и опуская крыло семафора, в темное время суток они включали сигнальный фонарь. Стекла у фонаря были цветными, чтобы едущие с разных сторон перекрестка экипажи видели либо зеленый сигнал, разрешающий движение, либо красный, запрещающий.

Лондонские дорожные светофоры поначалу были настоящей достопримечательностью, на которую приезжали посмотреть даже из стран континентальной Европы.

Так продолжалось до 1869 года, пока один из светофоров не взорвался, когда приставленный к нему полицейский пытался его повернуть. Полицейский получил серьезные травмы. Парламент распорядился демонтировать все газовые светофоры и поручить регулировать дорожное движение полиции, пока не будет изобретен более безопасный механизм.

В 1910 году в Чикаго Эрнестом Сирином (Earnest Sirrine) была разработана и запатентована первая автоматическая система светофора без участия человека. В его устройстве использовались надписи "STOP" и "Proceed" ("Стоп" и "Продолжить движение") без подсветки.

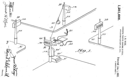
Осенью 1913 года американский изобретатель Джеймс Ходж (James Hoge) получил патент на электрическое устройство контроля движения на дорогах, состоящее из красного и зеленого фонарей и зуммера, который предупреждал о переключении сигналов. В том же году он создал первую в мире компанию, специализировавшуюся на производстве светофоров, - Американскую светофорную компанию (The American Traffic Signal Company).

Первые четыре светофора системы Ходжа были установлены 5 августа 1914 года в родном городе изобретателя Кливленде (штат Огайо, США) на перекрестке 105-й улицы и авеню Эвклида.

Первая автоматическая система светофоров (способная к переключению без непосредственного участия человека) была разработана и запатентована в 1910 году Эрнстом Сиррином из Чикаго. Его светофор использовал не подсвеченные надписи Stop и Proceed.

Изобретателем первого электрического светофора может, по-видимому, считаться Лестер Вайр из Солт-Лейк-Сити (штат Юта, США). В 1912 году он разработал (но не запатентовал) светофор с двумя круглыми электрическими сигналами (красного и зелёного цвета).

августа 1914 года в Кливленде (штат Огайо, США) Американская светофорная компания установила на перекрёстке 105-й улицы и авеню Эвклида четыре электрических светофора конструкции Джеймса Хога. Они имели красный и зелёный сигнал и, переключаясь, издавали звуковой сигнал. Система управлялась полицейским, сидящим в стеклянной будке на перекрёстке. Светофоры задавали правила движения, аналогичные принятым в современной Америке: поворот направо осуществлялся в любое время при отсутствии помех, а поворот налево - на зелёный сигнал вокруг центра перекрёстка.

Система светофоров Джеймса Хога (рисунок из патента)

В 1920 году трёхцветные светофоры с использованием жёлтого сигнала были установлены в Детройте (штат Мичиган, США) и Нью-Йорке. Авторами изобретений были, соответственно, Уильям Поттс и Джон Ф. Харрис.

В Европе аналогичные светофоры были впервые установлены в 1922 году в Париже на пересечении Рю де Риволи и Севастопольского бульвара и в Гамбурге на площади Стефанплатц. В Англии - в 1927 году в городе Вулвергемптоне.

В СССР первый светофор установили 15 января 1930 года в Ленинграде на пересечении проспектов 25 Октября и Володарского (ныне Невского и Литейного проспектов). А первый светофор в Москве появился 30 декабря того же года на углу улиц Петровка и Кузнецкий Мост.

В связи с историей светофора часто упоминают имя афроамериканского изобретателя Гаррета Моргана, запатентовавшего в 1922 году светофор оригинальной конструкции. Существует устойчивый миф о большом влиянии Моргана на развитие светофоров, однако в действительности он лишь один из многих изобретателей разнообразных светофоров начала XX века.

В середине 1990-х были изобретены зелёные светодиоды с достаточной яркостью и чистотой цвета, и начались эксперименты со светодиодными светофорами. Москва стала первым городом, в котором светодиодные светофоры стали применяться массово.

Затем и в других городах США начали появляться светофоры. Изначально предполагалось, что светофоры будут включаться полицейскими только в случае особой необходимости, однако уже через несколько лет работа светофоров стала постоянной.

В 1920 году в Детройте и Нью-Йорке появились трехцветные светофоры с использованием сигнала желтого цвета.

В Европе первые трехцветные "регулировщики" начали использоваться в 20-х годах ХХ века, сначала в Париже и Гамбурге, затем и в городах Англии.

В России первый светофор заработал 15 января 1930 года на углу Невского и Литейного проспектов в Ленинграде, а 30 декабря того же года - на углу Петровки и Кузнецкого моста в Москве.

Позже, в 1932 году, такой же светофор установили на пересечении улиц Кузнецкий мост и Неглинная. Установка обоих этих светофоров носила экспериментальный характер. И только к концу 1933 года, когда эксперимент был признан удачным, было установлено около ста светофоров по всей Москве.

Современные светофоры - это сложные устройства, которые состоят из контроллера дорожной сигнализации, собственно светофора, датчиков транспортных средств, столбов и опор светофоров.

Компьютер в составе контроллера управляет выбором и синхронизацией направлений движений в соответствии с изменяющимися условиями движения, которые регистрируются датчиками устройствами для индикации прохождения или присутствия транспортных средств.

Управление работой светофоров автоматизировано и ведется с выносного пульта управления (ВПУ).

Светофор представляет собой корпус, чаще пластиковый или алюминиевый, в который помещен в него источник света. В качестве источника света используются либо же простые лампы накаливания, или же более современные и долговечные светодиодные матрицы, эксплуатация которых рассчитана пять лет. Главными цветами регулирования движением являются: красный, желтый, зеленый. Метод руководства светофорами может существовать автоматическим и ручным. Сигналы светофора имеют следующие значения:

. Зеленый круглый сигнал - разрешает движение транспортных средств и пешеходов;

. Зеленый сигнал в виде стрелки (стрелок) на черном фоне разрешает движение в указанных направлениях. Такое же значение имеет и зеленая стрелка в дополнительной секции светофора, показывая разворот влево, вправо, либо поворот;

. Зеленый мигающий сигнал разрешает дальнейшее движение, но предупреждает, что скоро его время истечет.

. Желтый сигнал запрещает движение и предупреждает, что скоро произойдет смена сигналов. Его время обычно составляет 3-5 секунд.

. Желтый мигающий сигнал а так же два желтых попеременно мигающих сигнала позволяют движение. Они информируют о наличии на дороге опасного участка (пешеходного перехода, железнодорожного переезда, нерегулируемого перекрестка и т.п.);

. Красный сигнал, в том числе мигающий, либо два попеременно мигающих красных сигнала запрещают движение транспорта и пешеходов;

. Одновременно включенные красный и желтый сигналы соответствуют желтому (такое сочетание сигналов запрещает движение транспорта и пешеходов и информирует о предстоящем включении зеленого сигнала);

. Черные контурные стрелки на красном и желтом сигналах не изменяют их значения, а только предупреждают, что позднее включения зеленого движение вероятно лишь по указанным направлениям.

Метод руководства светофорами может существовать автоматическим и ручным. Существуют три главных системы координирования автоматическими светофорами: система с фиксированным временем; система, активируемая транспортным средством, и система с компьютерным руководством. В первой длительность красного и зеленого сигнала задается электронному реле времени остается неизменной, пока практика не потребует изменить эти установки. Простые системы координирования не учитывают изменения транспортного потока и могут существовать использованы лишь там, где поток транспорта всегда относительно невелик. Современные светофоры - сложные устройства, которые состоят из контроллера дорожной сигнализации, собственно светофора, датчиков транспортных средств, столбов и опор светофоров. Компьютер в составе контроллера управляет выбором и синхронизацией направлений движений в соответствии с изменяющимися условиями движения, которые регистрируются датчиками устройствами для индикации прохождения а так же присутствия транспортных средств. Датчики активизируются изменением электрической индуктивности, вызванной транспортным средством. Цель координации состоит в том, чтобы пропустить самое громадное число транспортных средств через систему с наименьшими задержками. Имеются два типа датчиков транспортных средств: верхние датчики, датчики транспортных средств-петли. Верхние датчики установлены на шоссе и ориентированы на линии остановки транспортного средства, петли датчика транспортного средства помещены под шоссе и индуцируют магнитное поле. Движение фиксируется датчиками на подходах к светофорным объектам для корректировки сигналов, чтобы контролировать и назначать очередность проезда на основе изменяющихся условий движения.

Когда транспортное средство обнаружено, сообщение посылается контроллеру, управляющему работой светофоров, чтобы изменить очередность сигналов. Все дорожные светофоры, установленные на одном светофорном объекте, работают согласно утвержденному планом режиму работы. Всякой светофорный объект, входящий в систему координированного регулирования движения ("зеленая волна"), имеет верятность работать в индивидуальном автоматическом режиме, независимо от работы иных светофорных объектов. Самые загруженные направления в координации движения являются приоритетными по сравнению с менее загруженными. Длительность светофорного цикла колеблется от 80 до 160 секунд. Руководство работой светофоров автоматизировано и ведется с выносного пульта администрирования (ВПУ). Пульт соединен с дорожным контроллером многожильным кабелем, длина которого составляет не менее 250 метров. Питание пульта материализуется от контроллера. Контроль работы ВПУ материализуется оператором. Конструкция светофора должна отвечать следующим требованиям: все детали сборочные единицы светофоров должны существовать изготовлены из антикоррозионных материалов а так же иметь защитное покрытие по ГОСТ 9.032-74, детали секции светофора (конус, крышка и козырек) должны существовать черного а так же серого цвета. При наличии дополнительной секции на рассеивателе главного зеленого сигнала наносят контурные стрелки направлений движения. При этом светофор должен существовать оснащен экраном белого цвета прямоугольной формы (или же повторяющей контур светофора) с закругленными краями выступающим за размеры светофора не менее чем на 120 мм. Светофоры должны иметь защиту от влияния окружающей среды по ГОСТ 14254-96. В качестве источников света в светофорах используют светоизлучающие диоды а так же электрические лампы накаливания всеобщего назначения.

В светофорах, использующих в качестве источников света сигнальные модули, выход из строя более 20% светоизлучающих диодов одной из секций считают достаточным для завершения их дальнейшей эксплуатации. Сигналы светофоров должны существовать отчетливо различимы в ночное время с расстояния не менее 100 м, когда они переведены на режим пониженного напряжения питания ламп накаливания, составляющий не менее 80% от номинального напряжения (220 В) электросети. В современных больших городах для регулирования движения внедрены сложные автоматизированные системы администрирования дорожным движением (АСУД). Типичная АСУД работает следующим образом: информация о параметрах транспортных потоков собирается детекторами телекамерами, передается в центр координирования АСУД и обобщается, впоследствии чего на основе полученных данных рассчитываются режимы работы светофоров.

Установка светофоров призвана обеспечить поочередный пропуск участников дорожного движения через аварийно опасные участки улично-дорожной сети, а также для обозначения конфликтных участков (объектов) дорог.

Установка светофоров - мероприятие, требующее опыта, профессионализма и наличия государственной лицензии. Наряду с установкой светофоров нередко требуется модернизация, реконструкция светофорных объектов.

Строительство светофорного объекта в настоящее время осуществляется с использованием современного оборудования и технических устройств лучших отечественных и зарубежных производителей. Поэтому светофор, монтаж которого выполняется, представляет собой сложное техническое устройство.

В зависимости от назначения сигналы светофора могут быть круглые, в виде стрелки (стрелок), силуэта пешехода или велосипеда и Х-образные.

Светофоры с круглыми сигналами могут иметь одну или две дополнительные секции с сигналами в виде зеленой стрелки (стрелок), которые располагаются на уровне зеленого круглого сигнала.

В местах, где дороги пересекаются на одном уровне, и имеется интенсивное движение, его регулирование с помощью светофоров является основным средством, обеспечивающим поочередный проезд пересекающихся транспортных потоков и возможность безопасного перехода проезжей части пешеходами.

Условия, при которых должно применяться светофорное регулирование, определены ГОСТ 23457-86 "Технические средства организации дорожного движения. Правила применения". Основным критерием применения светофорной сигнализации является интенсивность движения транспортных и пешеходных потоков.

Типы применяемых светофоров и их характеристики определяются ГОСТ 25695-91 "Светофоры дорожные. Типы. Основные параметры". Он же регламентирует светотехнические параметры всех типов светофоров и методы их проверки.

В группе транспортных светофоров - десять типов, в группе пешеходных - два. Транспортные светофоры имеют шесть различных вариантов исполнения (с одной дополнительной секцией, с двумя секциями, с горизонтальным расположением сигналов и др.)

Согласно ГОСТ 23457-86 светофоры на перекрестке должны размещаться с учетом их наилучшей видимости теми участниками движения, для которых они предназначены. Сигналы светофора должны быть различимы водителями при любых погодных условиях с расстояния не менее 100м.

Сила света (в канделах) по оси светового пучках светофора должна быть не менее. 200 - для красного и зеленого сигналов, 300 - для желтого. При измерении силы света не по оси светового пучка, а под углом 20° (т.е. когда водитель видит светофор, расположенный в стороне от линии его движения), стандарт допускает снижение яркости до 20 кандел для красного и зеленого сигналов и до 30 кандел - для желтого сигнала. Для лучшей видимости сигналов светофоры, как правило, в вертикальной плоскости наклоняют на 10 - 15° , что обеспечивает оптимальные условия их восприятия в большом диапазоне расстояний.

Применяются светофоры с диаметром светофильтра-рассеивателя 200 или 300 мм. В некоторых случаях могут использоваться светофоры с красным сигналом диаметром 300 мм и с зеленым и желтым сигналами диаметром 200 мм. Красный сигнал всегда располагается сверху при вертикальном размещении сигналов или слева - при горизонтальном их размещении.

Светофоры-повторители изготавливают с сигналами диаметром 100 мм и устанавливают на уровне глаз водителя. Сигналы такого же размера применяются в светофорах для регулирования движения маршрутных транспортных средств.

Для улучшения видимости дополнительной секции светофора применяется белый экран с использованием световозвращающей пленки. Дополнительной информацией для водителей о наличии секции является контурная стрелка на основном зеленом сигнале светофора.

Дополнительная секция всегда размещается на уровне зеленого сигнала. Как правило, с помощью этой секции регулируется поворотное движение. Поэтому в зависимости от конфигурации перекрестка стрелка может быть расположена не только горизонтально, но и под углом. Иногда с помощью дополнительной секции регулируют движение на Т-образных перекрестках, размещая секцию справа для пропуска движения одновременно с транспортными средствами, поворачивающими с примыкающей слева дороги. Такой способ регулирования "на просачивание" иногда применяют для повышения пропускной способности перекрестка при относительно невысокой интенсивности поворачивающего слева потока.

Список используемой литературы

1.       История светофора // <http://www33.brinkster.com/iiiii/trfclt/>

.        Материалы сайта <http://www.svetofory.ru>

.        Кременец Ю.А. Технические средства организации дорожного движения. - М.: Транспорт, 2000 - 344 с.

.        Клинковштейн Г.И., Афанасьев М.Б. Организация дорожного движения: учебник для вузов - М.: Транспорт, 2002 - 234 с.


Не нашли материал для своей работы?
Поможем написать уникальную работу
Без плагиата!
Без нейросетей!