Проектирование и гидравлический расчет водоотливной системы
Введение
В настоящие время идёт развитие торговли между
различными странами, что обуславливает развитие транспорта, в том числе и
водного. Одним из самых распространённых судов являются сухогрузы, перевозящие
генеральные и навалочные грузы не только в море, но и по рекам.
Для обеспечения движения сухогруза в различных
условиях плавания и выработки различных видов энергии служит его энергетическая
установка.
Одними из основных элементов энергетической
установки являются судовые системы, обеспечивающие связь между всем
оборудованием судна, а также его технических свойств по выполнению общесудовых
функций.
водоотливной
сухогрузный судно трубопровод
1. Сухогрузное судно общего назначения
Класс сухогрузного судов
включает суда общего назначения и специализированные - для перевозки
определённых грузов.
Сухогрузное судно общего
назначения (рис 1.1) предназначено для перевозки генеральных грузов и является
наиболее распространённым типом транспортных судов - около 60% (по количеству)
всех грузовых транспортных судов относится к этому типу. Длина составляет -
109,2 м, осадка - 6,3 м, водоизмещение - 10630 т. Грузоподъёмность морского
судна для генеральных грузов составляет 1600 т, скорость 20 уз.
Рис. 1.1. сухогрузное
судно общего назначения для перевозки генеральных грузов:
- грузовые трюма;
2-топливный бункер; 3 - машинное отделение;
- рулевая рубка; 5 -
грузовой люк.
Сухогрузное судно имеет
четыре просторных грузовых трюмов, занимающих основную часть корпуса, и две
палубы. Машинное отделение с дизельной установкой расположено в промежуточном
положении (сдвинуто в нос на один грузовой трюм). Каждый трюм имеет грузовой
люк, закрываемый металлическими закрытиями с механизированным приводом. В
качестве грузовых средств применяют краны грузоподъёмностью 10 т.
На сухогрузном судне
оборудован один рефрижераторный трюм (кормовой) для перевозки скоропортящихся
грузов и носовой диптанк для перевозки жидких пищевых масел.
Экипаж состоит из 35
человек, размещаемых в жилой надстройке в одно- и двухместных каютах.
2. Общие сведения о
судовых системах
.1 Судовые системы как комплекс
технических средств
.1.1 Общие сведения о судовых системах
По целям функционирование судовые системы
подразделяются на:
· общесудовые;
· энергетические;
· специальные;
Общесудовые системы - совокупность систем,
свойственных судну независимо от его типа и назначения, обеспечивающих
выполнение различных общих функций по его эксплуатации.
Энергетические системы - группа специальных
систем, предназначенных для выполнения определённых функций по обеспечению
эксплуатации судовой энергетической установки с целью создания хода судну,
генерирования электрической, тепловой, гидравлической, пневматической,
механической и др. видов энергии.
Специальные системы - совокупность систем,
свойственных только определённым типам судов, а также вооружения,
обеспечивающих выполнение ими специальных функций на судне.
Судовая система - совокупность трубопроводов,
механизмов, аппаратов, ёмкостей, арматуры, потребителей, приборов контроля и
управления, находящихся в расчётных соотношениях и связях друг с другом,
предназначенная для выполнения определённых функций путём перемещения
газообразных, жидких, псевдожидких, аморфных, твёрдых и многофазных
транспортируемых веществ и рабочих тел с заданными параметрами.
Трубопровод - совокупность труб, арматуры,
приборов, фасонных частей, соединений, компенсаторов, плотно соединённых между
собой, с деталями крепления и защиты труб от повреждений, предназначенная для
перемещения газообразных, жидких, псевдожидких, аморфных, твердых и многофазных
транспортируемых веществ и рабочих тел, а также для передачи давления и
звуковых волн.
Механизм - совокупность приводного двигателя,
механической передачи и рабочей части, предназначенная для придания транспортируемых
веществ и рабочих тел энергии определённых параметров (давления, температуры
скорости и т.д.).
Рабочая часть - основная часть механизма с
соответствующими рабочими органами, предназначенная для передачи энергии
приводного двигателя к транспортируемому веществу и рабочему телу.
Аппарат - совокупность теплообменных,
очистительных, дозирующих и конструктивных устройств в различных сочетаниях,
предназначенная для изменения параметров, физико-химического или агрегатного
состояния транспортируемых веществ и рабочих тел.
Арматура - комплект вспомогательных устройств и
деталей судовых систем, предназначенный для обеспечения различных режимов
функционирования системы.
Ёмкость - вместилище для газообразных, жидких,
твёрдых и аморфных тел и их смесей, предназначенное для их сбора, хранения и
расходования.
Потребитель - обслуживаемый судовой системой
объект на судне, а в особых случаях - за его бортом.
Приборы контроля - устройства, предназначенные
для измерения и индикации параметров транспортируемых веществ и рабочих тел в
мест установки, характеризующие работу судовой системы при заданных условиях
внешних воздействий.
Приборы управления - устройства, предназначенные
для регулирования и целенаправленного изменения параметров транспортируемых
веществ и рабочих тел и режимов функционирования судовой системы в месте
установки при заданных условиях внешних воздействий.
Принцип построения судовой системы - определение
общих границ расположения одного или нескольких магистральных трубопроводов
системы по отношению к отсекам, помещениям, судну в зависимости от возможности
их использования в различных эксплуатации.
Схема построения судовой системы - совокупность
взаимосвязанных магистральных трубопроводов, функциональных групп и
трубопроводов ответвления, влияющая на действия системы и способы её управления
в различных условиях деятельности судна.
Автономный участок магистрального трубопровода -
часть схемы построения судовой системы, отключаемой от другого магистрального
трубопровода арматурой и имеющей свою функциональную группу, обслуживающую свои
потребители.
Функциональный группа - совокупность элементов
судовой системы, определяющая расчётные величины передаваемой энергии
транспортируемых веществ и рабочих тел, изменение его параметров,
физико-химического или агрегатного состояния в зависимости от режима и внешних
условий функционирования системы.
.1.2 Общие технические требования к
проектированию судовых систем
Устройство, конструктивное оформления и общее
расположение судовых систем зависит от выполняемых ими функций. Для каждой
судовой системы эти вопросы решаются применительно её назначению. Однако
существует ряд общих положений и принципов проектирование всех систем,
вытекающих из общих требований к судну как инженерному сооружению. Эти
положения и принципы излагаются в требованиях к проектированию системы.
Общие требования к судовым системам:
. Системы должны эффективно выполнять
поставленные перед ними
задачи в заданных условиях эксплуатации:
. Системы должны быть безотказными в действии и
простыми в эксплуатации;
. Обслуживание систем должно обеспечиваться
минимальным экипажем, без перехода людей из отсека (помещения) в др. отсек
(помещение);
. Системы, обеспечивающие экстремальное и
аварийное функционирование судна, должны обладать максимальной живучестью;
. Системы должны исключать возможность аварий при
ошибочных (случайных) действиях экипажа;
. Все части систем должны быть доступны для
осмотра и ремонта;
. Системы должны быть обеспечены шумо-и
виброзащитной амортизацией;
. Отдельные узлы систем должны быть взаимозаменяемыми,
а арматура по возможности унифицирована;
. Системы должны иметь малые веса и габариты и
быть экономичными в изготовлении;
. Детали систем, соприкасающиеся с активными
средами, должны быть стойкими в отношении коррозии;
. Соединения систем должны быть надёжными от
самоотдачи;
. Все выводы систем из корпуса судна не должны
разрушаться при экстремальном и аварийном функционирование.
.2 Общесудовые системы сухо грузного судна
К трюмно-балластным системам относятся:
водоотливная, осушительная, балластная и нефтесодержащих трюмных вод.
Водоотливная система - система, предназначенная
для удаления за борт из помещений судна большой массы воды, поступившей при
аварии, повреждении корпуса или тушении пожара.
Системы осушения - система, предназначенная для
периодического удаления за борт воды, скапливающейся в корпусе судна в процессе
его эксплуатации, обеспечивая необходимые мореходные качества.
Принципиальная схема осушения топливных
(дифферентных) цистерн после их балластировки при помощи переносных
водоотливных средств:
-трубопровод водяной противопожарной
системы; 2-рукав рабочей воды; 3-эжектор; 4-отливной рукав; 3-переходной
патрубок; 6, 7, 10-клинкетные задвижки; 8, 9-топливная (дифферентная) цистерна.
Балластная система - система, предназначена для
приёма водяного балласта в цистерны и специально оборудованные помещения,
перекачивания и удаление его, изменяя мореходные качества (остойчивости и
посадку) судна.
Система нефтесодержащих трюмных вод - система, предназначенная
для обеспечения защиты окружающей среды и судна от нефтепродуктов путём очистки
от них трюмных вод до необходимых показателей и удаление их за борт или в
специальные ёмкости.
Система нефтесодержащих балластных вод - система,
предназначена для обеспечения защиты окружающей среды и судна от нефтепродуктов
путём очистки от них балластных вод до необходимых показателей и удаление их за
борт или в специальные ёмкости.
Одновременная работа всех средств
трюмно-балластных систем даёт возможность откачать весь балласт за время не
более 6 ч. В целях уменьшения длины трубопроводов трюмно-балластных систем и
улучшения условий труда экипажа на судне предусмотрена установка дистанционно
управляемой арматуры, расположенной в машинном отделении, кофердамах между
грузовыми трюмами и в них. Управление арматурой осуществляется из машинного
отделения или центрального поста управления.
Комплекс противопожарных систем, обычно имеющийся
на подобных судах, дополнен пожарными системами местного применения, наличие
которых с июня 2002 г. требуется в соответствии с главной конвенции СОЛАС.
К противопожарным системам относятся: водяная;
спринклерная; водораспыления; орошения; пенотушения; объёмная химическая;
водяных завес.
Система водяного пожаротушения - система, предназначенная
для тушения пожара путём подачи воды на очаг пожара в виде компактных или
распылённых водяных систем струй от переносных или стационарных стволов.
Принципиальная схема трубопроводов
пожарного насоса:
-воздушные трубопроводы; 2-головка
воздушного трубопровода;
- вентилятор; 4 - воздухоохладитель; 5, 7,
11, 13 - невозвратно-запорные клапаны; 6-дроссельная шайба; 7 - трубопровод
удаления воды за борт от воздухоохладителя; 9, 11 - реле давления; 10, 21, 22 -
клапаны;
- пожарный насос; 14 - валиковый привод;
15, 20 - пневмозатвор;
- напорный трубопровод; 17 - паропровод
обогрева кингстона;
- кингстонный ящик; 19 - кингстон; 23 -
трубопровод промывки кингстонного ящика; 24 - трубопровод «нулевого расхода».
Спринклерная система - система, предназначенная
для тушения пжа ров водой в виде распыленных струй от спринклеров,
автоматически включающих при повышении температуры в защищаемых помещениях до
заданной величины.
Система водораспыления - система, пожаров водой в
виде множества мелких распыленных струй от стационарных оросительных насадок
подаваемой на поверхности труднодоступных мест.
Система орошения - система, предназначенная для
тушения пожаров или понижения температуры в защищаемых помещениях и емкостях
водой в виде множества мелких компактных струй от стационарных оросительных
насадок.
Принципиальная схема
станции системы водяного орошения:
- водяная противопожарная
система; 2, 3, 12 - клапаны; 4 - трубопровод; 5 - реле давления; 6 -
распылители; 7, 8, 9 - оборудование автоматического и дистанционного включения
системы; 10-баллон; 11 - головка-затвор
Система пенного пожаротушения - система,
предназначенная для тушения пожаров путем подачи средне- или низкократной пены
на очаг пожара в виде компактных струй, полностью покрывая поверхность горения,
от переносных или стационарных пеногенераторов.
Типовая схема системы
пенотушения:
1, 3 - трубопроводы пенообразующей жидкости; 2,
4, 8, 14-клапаны;
-пожарный рожок; 6-станция пенотушения;
7-трубопровод забортной воды; 9 - трубопровод воздуха среднего давления;
10-крышка шахты забора воздуха; 11-шахта забора воздуха; 12-баллон воздуха
среднего давления; 13-пеногенератор
Система объемного химического пожаротушения -
система, предназначенная для тушения пожаров в защищаемых помещениях парами
легкоиспаряющихся огнетушащих жидкостей от стационарных распылительных насадок.
Принципиальная схема
системы объёмного химического тушения пожаров:
-огнетушители типа ОФК;
2-головки-затворы;
-распределительные
клапаны, 4-электропневмораспределители;
-трубопровод
огнегасителя; 6 - невозвратно-запорные клапаны;
-пульт управления
системой; 8, 10-клапаны; 9-баллон со сжатым воздухом; 11-трубопровод воздуха
среднего давления; 12-манометр;
-цепи управления
системой; 14-коллектор
Система водяных завес - система, предназначенная
для создания сплошных водяных завес внутри корпуса судна специальными насадками,
препятствующих распространению огня, пара, газов, защищая людей, вооружение и
технические средства от тепловой радиации и охлаждая корпусные конструкции.
Система сжатого воздуха используются для
получения, хранения и подачи потребителям воздуха требуемого давления.
Типовая схема
стационарного аппарата типа «СО»:
, 7-баллоны с воздухом
высокого давления; 2-трубопровод системы воздуха высокого давления;
-трубопровод сжатого
воздуха;
-электромагнитный клапан;
5, 9, 11, 13,15, 18-клапаны;
, 25-предохранительные
клапаны; 8-редуктор; 10, 12-манометры;
-трубопровод для подачи
раствора на шланги пеногенераторов;
-штуцер; 17-шланг;
19-трубопровод системы бытовой пресной воды; 20-пеногенератор; 21-катушка;
22-резервуар с пенообразующей смесью; 23-указательная колонка; 24-трубопровод
пенообразующей жидкости.
Система воздуха среднего
давления - система, предназначенная для обеспечения сжатым воздухом с давлением
1 ÷ 10 МПа вооружение и
технические средства судна при различных условиях эксплуатации.
Система воздуха низкого давления - система,
предназначенная для обеспечения сжатым воздухом с давлением менее вооружение и
технические средства судна при различных условиях эксплуатации.
Система гидравлики - система, предназначенная для
обеспечения управления и работы вооружения и технических средств, а также
управления судном путем подачи рабочей жидкости под давлением к их
гидроприводам и приборам управления.
Система рефрижерации - система, предназначенная
для отбора заданного количества теплоты от разных объектов и грузов судна путем
создания холодного цикла хладагента с помощью холодной машины.
Система питьевой воды - система, предназначенная
для обеспечения людей судна питьевой водой с необходимыми показателями,
поддерживая работоспособность и здоровье людей, путем очистки, обеззараживания
и кондиционирования мытьевой воды.
Система мытьевой воды - система, предназначенная
для обеспечения судна пресной (технической) водой с необходимыми показателями,
поддерживая гигиену и санитарию на необходимом уровне и сохраняя здоровье и
хорошие условия обитаемости людей, путем очистки и обеззараживания опресненной
воды.
Учитывая требования заказчика, а также для
улучшения условий обитаемости и ремонтопригодности, на судне применена водяная
система отопления помещений, за исключением жилых и служебных, где используется
система круглогодичного комфортного кондиционирования воздуха, состоящая из
системы вентиляции и кондиционирования воздуха.
Система вентиляции - система, предназначенная для
обеспечения отсеков и помещений судна газо-воздушной средой необходимых
параметров за счет заданного воздухообмена с забором воздухом и его
механической очистки.
Система кондиционирование воздуха - система,
предназначенная для обеспечения и подержания заданных параметров газо-воздушной
среды отсеков и помещений судна за счёт её механической, физической и
химической очистки и термовлажностной обработки.
Система комфортного кондиционирование воздуха -
система, предназначенная для обеспечения и поддержания субъективно необходимых
комфортных параметров газо-воздушной среды в помещениях отдыха судна за счет её
физической и химической очистки и термовлажностной обработки.
Система технического кондиционирование воздуха -
система, предназначенная для обеспечения и подержания заданных параметров
газо-воздушной среды в технических и необитаемых помещениях судна за счёт её
физической и химической очистки и термовлажностной обработки.
Гравитационная система сточных вод - система,
предназначенная для обеспечения защиты окружающей среды от различных стоков и
поддержания на должном уровне гигиены и санитарии путём сбора гравитационным
способом и обработки сточных вод из туалетов, гальюнов, медицинских помещений с
последующим удалением её за борт или в специальные ёмкости.
Система хозяйственно-бытовых вод - система,
предназначена для обеспечения защиты окружающей среды от хозяйственно-бытовых
вод и поддержания на высоком уровне гигиены и санитарии путем сбора и обработки
из умывален, бань, прачечных, камбузов и других подобных помещений с
последующем удалением ее за борт или в специальные емкости.
Система стоков открытых палуб и настроек -
система, предназначенная для поддержания остойчивости судна путем отвода за
борт воды, попавшее на открытые палубы и настройки при волнение акватория,
выпадении атмосферных остатков и тушении пожаров.
2.3 Трубопроводы
водоотливной системы
Водоотливная система
предназначена для удаления за борт больших масс воды, поступившей в отсеки
корабля в результате получения пробоин и неплотностей в корпусе, а также
тушения водой пожаров и её фильтрации из смежных затопленных отсеков.
Следует отметить, что
водоотливную систему, как правило, используют после временной заделки пробоин и
неплотностей в корпусе корабля.
Дистанционное управление
системой осуществляют из трюмных боевых постов путём подачи сжатого воздуха
среднего давления 4,5 МПа на привод пневмозатвора 4.
При отсутствии сжатого воздуха осуществляют
местное ручное управление затворами 4 при помощи ручного привода.
Для спуска воды из
вышерасположенных помещений в нижерасположенные помещения предназначена
спускная система.
Система состоит из
автоматических спускных клапанов 6, пневмозатворов и трубопроводов 8.
Из концевых отсеков
корабля воду удаляют водоотливными эжекторами.
На рис. 1. представлена
типовая схема участка водоотливной системы.
Рис. 1. Типовая схема участка для
концевого отсека к водоотливной системы для концевого отсека корабля:
-пневмозатвор;
-автоматический спускной клапан;
-воздушная головка;
-водоотливной эжектор;
-кингстон;
-приемная сетка с клапаном;
-трубопровод водяной противопожарной
системы.
Схема принципиально не отличается от
схемы, представленной на рис. 1, кроме того, что вместо водоотливных насосов
используют водоотливные эжекторы 4.
Для выравнивания аварийных кренов и
дифферентов, а также для создания искусственных кренов и дифферентов служат
креповая и дифферентная системы корабля.
Балластная система служит для повышения
остойчивости корабля в особо тяжёлых условиях плавания путём заполнения
балластных или топливных цистерн.
Принцип действия креновой, дифферентной и
балластной системы корабля одинаков. Эти системы для спрямления крена и
дифферента корабля используют топливные и дифферентные цистерны или топливные и
дифферентные отсеки.
Каждая из этих систем состоит (см. рис. 1)
из трубопровода 12 по которому самотёком забортная вода через кингстон
водоотливной системы 11, пневмозатворы 13 поступает в топливную (дифферентную)
цистерну 14.
Удаление воды из топливных (дифферентных)
цистерн после их балластировки производят переносными водоотливными средствами.
Принципиальная схема осушения топливных (дифферентных) цистерн после их
балластировки при помощи переносных водоотливных средств представлена на рис.
2.
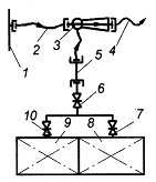
Рис. 2. Принципиальная схема осушения
топливных (дифферентных) цистерн после их балластировки при помощи переносных
водоотливных средств:
-трубопровод водяной противопожарной
системы;
-рукав рабочей воды;
-эжектор;
-отливной рукав;
-переходной патрубок;
, 7, 10-клинкетные задвижки;
, 9-топливная (дифферентная) цистерна.
Осушение топливных (дифферентных) цистерн
осуществляется посредством переносного водоотливного эжектора (насоса) 3,
который присоединяют к переходному всасывающему патрубку 5, рукаву рабочей воды
2 от трубопровода 1 водяной противопожарной системы и отливному рукаву 4,
который падают на плавучую емкость.
После подачи рабочей воды из трубопровода
5 водяной противопожарной системы на эжектор (пуска переносного водоотливного
насоса) вода из цистерны 8 или 9 через открытые клинкетные задвижки 7 или 10,
клинкетную задвижку 6 и переходной патрубок 5 по отливному рукаву 4 поступает в
плавучую ёмкость.
3. Система водоотливная
.1 Общие требования к
системе
Водоотливная система должна
предусматриваться для всех классов кораблей. Для малых кораблей и катеров
допускается совмещение водоотливной и осушительной системы при соблюдении
требований по предупреждению загрязнения моря.
Допускается использовать
водоотливную систему для балластировки корабля, а также для затопления погребов
и отсеков подводной конструктивной защиты.
Для кораблей со
стандартным водоизмещением до 5000 т время удаления воды из любого отсека не
должно превышать 60 мин, а для кораблей водоизмещением более 40000 т - 3 ч.
после заделки пробоины.
Водоотливная система на
кораблях водоизмещением свыше 1000 т должна выполняться по автономной схеме для
любого отсека, а водоизмещением до 1000 т - по автономной схеме для машинных
отделений. Для повышения живучести системы следует предусматривать возможность
удаления воды из затопленных помещений средствами смежных отсеков.
В качестве водоотливных
средств рекомендуется использовать водоотливные насосы и эжекторы.
Водоотливные насосы
должны надежно работать в затопленном помещении и иметь напор, превышающий
статический напор забортной воды, который определяется высотой линии аварийных
напоров для рассматриваемого отсека. Водоотливные электронасосы должны
обеспечиваться электропитанием не менее чем от двух независимых источников. Кроме
того, они должны иметь возможность обеспечения аварийным питанием при помощи
аварийных сростков и надёжно работать при аварийных кренах и дифферентах
корабля.
В оконечностях корабля
допускается применение водоотливных эжекторов и построение системы по схеме с
автономными участками.
Управление водоотливной
системой должно осуществляться дистанционно из поста энергетики и живучести,
запасного командного поста энергетики и живучести, а также из трюмных боевых
постов. Трюмные боевые посты следует размещать на первой непрерывной палубе.
Электрооборудование системы управления должно иметь двубортное питание.
В помещениях, где нет
средств водоотлива, должны быть предусмотрены переносные «погружные»
водоотливные электронасосы. В целях обеспечения надежной работы системы
рекомендуется уменьшать длину всасывающих трубопроводов и количество путевых
соединений.
Для кораблей стандартным
водоизмещением более 1000 т должен быть предусмотрен автоматический спуск воды
из помещений корабля в помещения с водоотливными средствами.
Забортные отверстия
должны иметь два запора.
Заполнение водой штатных
отсеков для спрямления крена и дифферента должно составлять не более 10-15 мин,
а нештатных отсеков - не более 30 мин.
Осушение штатных отсеков,
используемых для спрямления крена и дифферента должно составлять не более 12
мин, а нештатных отсеков - не более 60 мин.
Заполнение водой и
последующее осушение дифферентных цистерн должно составлять не более 12 мин.
Управление креновой и
дифферентной системами должно осуществляться из трюмных боевых постов,
размещаемых на первой непрерывной палубе (палубе живучести) или из поста
энергетики и живучести.
Мощность креновой системы
на корабле должна быть такой, чтобы при затоплении всех креновых отсеков одного
борта крен не превышал q = 10° при нормальном водоизмещении.
Заполнение водой и
последующее осушение балластных цистерн должно составлять не более 15 мин, а
балластных отсеков - не более четырех часов. При этом должно быть исключено
попадание воды в топливную систему корабля. Для балластной системы должно быть
предусмотрено дистанционное управление её техническими средствами.
Рекомендуется
использовать стольную арматуру и медно-никелевые трубопроводы. Для перепускной
системы допускается выполнять трубопроводы из оцинкованной стали.
.2 Назначение и принцип
действия системы
Водоотливная система
предназначена для удаления за борт больших масс воды, поступившей в отсеки
корабля в результате получения пробоин и неплотностей в корпусе, а также
тушения водой пожаров и её фильтрации из смежных затопленных отсеков.
Следует отметить, что
водоотливную систему, как правило, используют после временной заделки пробоин и
неплотностей в корпусе корабля
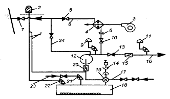
На рис. 3. представлена
типовая схема водоотливной системы.
, 11 - кингстоны;
- приемная сетка с клапаном;
- насосы;
, 13 - пневмозатворы;
- воздушный трубопровод;
- автоматические спускные
клапаны;
- воздушная головка;
- трубопроводы спускной
системы;
- помещения водоотливных
насосов;
- трубопровод перепускной
системы;
- трубопровод балластной
(дифферентной или креповой) системы;
- топливная цистерна.
Рис. 3. Типовая схема водоотливной системы
Система состоит из водоотливных насосов 3,
которые через приемные сетки с невозвратно-запорными клапанами 2 и
пневмозатворы 4 удаляют воду за борт через кингстон 1.
Водоотливные насосы размещают в
специальных помещениях 9 или непосредственно в обслуживаемых помещениях
(энергетических отсеках).
Для поддержания атмосферного давления в
затопленных помещениях размещают воздушные трубы 5, на концах которых
устанавливают воздушные головки 7 с сетками.
Для ввода в действие водоотливных насосов
3 открывают вначале пневмозатворы 4 на всасывающем и на отливном трубопроводе,
а затем дистанционно (при помощи магнитного пускателя) производят пуск насоса.
Для поддержания атмосферного давления в
затопленных помещениях размещают воздушные трубы 5, на концах которых
устанавливают воздушные головки 7 с сетками.
Для ввода в действие водоотливных насосов
3 открывают вначале пневмозатворы 4 на всасывающем и на отливном трубопроводе,
а затем дистанционно (при помощи магнитного пускателя) производят пуск насоса.
Для перепуска воды из смежных отсеков
(помещений) в помещения с водоотливными средствами служит перепускная система.
Если обслуживаемое помещение располагается
в надстройке, перепуск воды возможен на открытые участки палубы, оборудованной
шпигатами, позволяющими удалять воду за борт.
Перепускная система состоит из
трубопровода 10, по которому через открытый пневмозатвор перепускают воду из
смежного затопленного отсека (помещения) в помещение с водоотливными
средствами.
.3 Насосная установка системы
Удаление воды из
затопленных помещений (отсеков) за борт производят стационарными
электронасосами типа НЦВ 315/10 производительностью 315 м3/ч при
напоре 10 м. Для кораблей, имеющих значительные по объёму помещения, используют
электронасосы типа ПЦВ 630/15 производительностью 630 м3/ч при
напоре 15 м.
На кораблях применяют
центробежные водоотливные насосы вертикального исполнения, принципиальная схема
которых представлена на рис. 4.
Рис. 4. схема водоотливного насоса:
-напорный патрубок;
-электродвигатель;
-вал;
-рабочее колесо;
-корпус;
-всасывающий патрубок
Насос состоит из корпуса (улитки) 6,
внутри которого размещают рабочее (лопастное) колесо 4, закреплённое при помощи
шпонки на вертикальном валу 3 ротора насоса, имеющего привод от
электродвигателя 2.
В нижней части корпуса насоса находится
всасывающий патрубок 6, к которому присоединяется приёмный трубопровод, а сбоку
- напорный патрубок 1, соединённый с отливным трубопроводом.
Все центробежные насосы несамовсасывающие
и поэтому их рабочее колесо должно быть при работе заполнено водой. Вот почему
их необходимо располагать как можно ниже, т.е. непосредственно на втором дне.
4. Расчёт водоотливной
системы
.1 Выбор насоса и его характеристик
Учитывая габариты моего судна я выбрал
центробежный насос типа НЦВ 250/30 производительностью 250 м3/ч при
напоре 100 м. Q напор H 
частоту вращения 
мощность 
Для расчёта характеристик насоса находим
коэффициент быстроходности насоса.
Т.к. 
получено тихоходное колесо и используется его относительные
характеристики.
Для насоса с графиков типовых
относительных напорных и энергетических характеристик с тихоходным рабочим
колесом снимаются значения напора 
подачи 
мощности N и КПД η и заносится в табл. 1.1.
Таблица 1.1. Таблица значений
относительных напорной и энергетических характеристик насоса
|
Напор
 ,  99
|
108
|
112
|
111
|
107
|
100
|
91
|
79
|
|
|
Подача
|
87
|
100
|
111
|
122
|
157
|
172
|
200
|
247
|
|
Мощность
 0
|
43
|
69
|
87
|
97
|
100
|
98
|
91
|
|
|
КПД
 0
|
20
|
40
|
60
|
80
|
100
|
120
|
140
|
|
Абсолютные значения напора 
, подачи 
, мощности 
и КПД η для каждого режима находится
по формулам.
Где 
мв. ст,
, 
и 
- расчётные значения соответствующие напора, подачи, мощности и
КПД насоса, соответствующие стопроцентным значением относительных
характеристик.
Исходя из полученного коэффициента
быстроходности, воспользовавшись справочными данными типовых относительных
напорных и энергетических характеристик, получили относительные характеристики
данного насоса, сведённые в таблицу 1.2.
Таблица 1.2. Таблица значений
действительных напорной и энергетических характеристик насосов
|
Напор
 79,071
|
86,256
|
89,454
|
88,460
|
85,460
|
79,869
|
72,681
|
63,097
|
|
|
Подача
 0
|
32
|
64
|
96
|
128
|
160
|
192
|
224
|
|
|
Мощность
 52,621
|
63,811
|
74,002
|
83,670
|
92,432
|
100,623
|
107,862
|
112,100
|
|
|
КПД
  0
|
0,319
|
0,511
|
0,634
|
0,719
|
0,741
|
0,726
|
0,674
|
|
На основание полученных значений построены
соответственно напорная и энергетические характеристики насоса, представлены на
рис. 1.1÷1.3.
Рис. 1.1. Основная характеристика центробежного
насоса
Рис. 1.2. График зависимости мощности от подачи
центробежного насоса
Рис. 1.3. График зависимости КПД от подачи
центробежного насоса
4.2 Гидравлический расчёт участка системы
В практике расчета
водоотливной системы широко используют упрощенное выражение для определения
времени удаления воды из отсека (t):
где V3 - затопленный объём
отсека, м3;= 0,6-0,8 - коэффициент заполнения отсека оборудованием;
т - количество водоотливных средств;н
- производительность одного водоотливного средства, м3/ч.
Диаметры трубопроводов и потери напора в системе
определяют решением обратной задачи гидравлического расчёта по формулам,
изложенным в приложение 1.
Расчет водоотливной
системы обычно производят для нормального водоизмещения корабля и без учета
изменения посадки корабля при удалении воды из отсека. Для каждого
водонепроницаемого отсека определяют его расчетный объем (kV) и проверяют
выполнение требований к проектированию по времени удаления воды:
³ tтреб
Каждый автономный участок системы водяного
орошения практически одинакова.
.3 Особенности расчёта водоотливной
системы
Схема перепускной системы
определяется классом проектируемого корабля и количеством обслуживаемых
системой помещений. Диаметр перепускных трубопроводов и арматуры часто
принимают по прототипу. Расчет системы выполняют для проверки условия
бесперебойной работы водоотливного средства. Если водоотливной насос удаляет
воду из отсека, имеющего затопленный объем (k V3) за время
,
то диаметр перепускного трубопровода должен
обеспечить перепуск воды из смежного отсека за время
пер £ t
Расход воды (Q) в м3/с,
поступающей в отсек через перепускной трубопровод, можно ориентировочно
определить следующим образом
,
где F - площадь сечения отверстия
перепускного патрубка, м2;
Нсмеж - начальный напор воды в
отсеке, из которого перепускается вода, м;- возвышение центра перепускного
трубопровода над уровнем воды в отсеке, в который перепускается вода, м;
m = 0,60-0,75 - коэффициент
расхода.
Ориентировочное время перепуска воды при
среднем напоре
Нср =Нсрсмеж
- hср
будет составлять:
.
Принимаем время перепуска воды tпер=t,
ч, площадь сечения перепускного трубопровода
, м2.
Тогда диаметр перепускного трубопровода
(D):
, м.
4.4 Решение обратной задачи
.4.1 Определил расход по
ответвлениям
Q1-2=Q12-4=Q1+Q34-5=Q1+Q3+Q5
Qобщ= Q1+Q3+Q5+Q7
Q=
1=
м3/с3=
м3/с5=
м3/с7=
м3/собщ=0,014+0,0016+0,0217+0,024=0,0619 м3/с=
223м3/ч
4.4.2 Определяю местный напор
=
1-2=
2-3=
4-5=
6-7=
.4.3 Напор в узлах
Н11= H1-2+ H2-3=0,52+0,52=10,02
м.в.ст= Н11+ H4-5=1,02+1,12=20,14 м.в.ст
.4.3 Определяю коэфициент расхода
К =Q /H =10,02/0,34=3,33
К =Q /H =20,12/0,512=4,1
К =Q /H =70,12/0,0619
.4.4 Потери в системе
Н= Н + Н + H6-7=1+2,12+4=70,12
м.в.ст.
Таблица 4.1.
Вспомогательный бланк гидравлического расчета
|
Наименование
местных сопротивлений
|
Группы
и участки сопротивлений
|
|
II
|
IV
|
|
|
1-2
|
2-3
|
2-4
|
5-6
|
6-7
|
|
Колено
Диффузор Клапан
|
-
|
1,19
|
-
|
1,19
|
-
|
-
|
|
0,5
|
0,5
|
0,5
|
0,5
|
-
|
0,5
|
|
2,7
|
2,51
|
2,5
|
2,5
|
2,5
|
2,5
|
|
Тройник
|
-
|
1,3
|
1,3
|
1,3
|
1,3
|
-
|
|
Sx
|
4,5
|
5,5
|
5,5
|
5,5
|
2,8
|
9
|
|
Расчетная
скорость v
|
1,5
|
2
|
2
|
1,5
|
3
|
3
|
Таблица 4.2Основной бланк
гидравлического расчета
|
№
п/п
|
Наименование
расчетных величин
|
Обозначение
|
Размерность
|
Группы
и участки сопротивлений
|
|
|
|
|
III
|
IV
|
|
|
|
|
|
1-2
|
2-3
|
2-4
|
4-5
|
5-6
|
6-7
|
|
1
|
Расход
среды
|
Q
|
м/с
|
0,014
|
0,0016
|
0,0156
|
0,0217
|
0,036
|
0,036
|
|
2
|
Температура
среды
|
t°
|
°С
|
20
|
20
|
20
|
20
|
20
|
20
|
|
3
|
Удельный
вес среды
|
γ
|
Н/м3
|
1020
|
1020
|
1020
|
1020
|
1020
|
1020
|
4 Кинематический
коэффициент вязкости v м2/с 1,020
106
|
|
|
5
|
Диаметр
трубы
|
D
|
м
|
0,075
|
0,075
|
0,075
|
0,1
|
0,1
|
0,1
|
|
6
|
Сумма
длин прямых участков
|
l
|
м
|
5
|
5
|
5
|
15
|
5
|
1
|
|
7
|
Площадь
поперечного сечения трубы
|
F
|
м2
|
0,022
|
0,022
|
0,022
|
0,078
|
0,078
|
0,078
|
|
8
|
Средняя
скорость среды
|
v
|
м/с
|
0,372
|
0,372
|
0,372
|
3,68
|
3,68
|
3,68
|
|
9
|
Число
Рейнольдса
|
vD/u
|
-
|
243668
|
243668
|
243668
|
522270
|
522270
|
522270
|
|
10
|
Коэффициент
трения
|
l
|
-
|
0,0467
|
0,0467
|
0,0467
|
0,0424
|
0,0424
|
0,0424
|
|
11
|
Суммарная
потеря напора на участке
|
Ну
|
м
|
0,52
|
0,52
|
1,02
|
1,12
|
2,14
|
4
|
4.3 Выводы по результатам расчёта системы
На основание полученных данных расчётов
центробежного насоса и трубопроводов системы для заданного режима работы
системы, с учётом потерь на трение и местное сопротивление, в связи с чем для
данного типа судна были выбраны наиболее подходящие насосные установки,
материал трубопроводов, типы путевых соединений и т.д. Согласно требованиям
руковадящих документов система обеспечивает выполнения поставленной задачи в
полном объёме.
· Подача
насоса, равная расходу воды в трубопроводе, составляет 247,4;
· Мощность
насоса - 101,1 кВт;
· КПД насоса -
0,741.
При этом центробежный насос работает в
оптимальном режиме.
Это позволяет сделать вывод, что водоотливная
системас работает согласно заданым параметрам.
5. Эксплуатация водоотливной системы
.1 Особенности обслуживания центробежных
насосов
Центробежные насосы - наиболее распространённый
тип на судне. Обслуживают центробежные насосы в строгом соответствии с
инструкциями, в которых учтены основные свойства насосов, условиях их работы в
данной схеме системы и вытекающие отсюда особенности обслуживания.
Подача центробежного насоса при постоянной
частоте вращения зависит от его напора и вследствие этого от положения арматуры
обслуживаемой системы. У центробежных насосов, откачивающих жидкость из
открытых ёмкостей, имеется малый запас энергии на всасывающего трубопровода
(чистой, герметичностью) и положением арматуры на нём (полным открытием
клапанов, чисто приёмных фильтров). Приготовление к пуску центробежного насоса кроме
общих для всех механизмов мероприятий (внешний осмотр, проверка систем смазки и
охлаждения, проворачивание вручную и т.д.) предусматривает приготовление к
действию разрежающего самовсасывающего насоса, а также проверку полного
открытия клапанов на всасывающем трубопроводе.
Пуск производят при закрытом отливном клапане.
Это улучшает всасывающую способность насоса и снижает величину пускового тока.
Разрежающий насос отключается после полного удаления воздуха из всасывающей
магистрали.
При работе насоса кроме контроля над общим
состоянием работающего механизма необходимо контролировать величину напора (по
манометрам на всасывании и нагнетании), величину разрежения на всасывании. При
увеличении разрежения на всасывания или при повышении температуры перекачиваемой
воды возникает кавитация, которая приводит к полному срыву в работе насоса. В
этом случае насоса должен быть обязательно остановлен и пущен вновь после
устранения причины срыва.
Остановку насоса производят после закрытия
отливного клапана, иначе при отсутствии в системе невозвратных клапанов вода
будет перетекать в обратном направлении.
После остановки насоса и обслуживающую систему
приводят в исходное состояние.
.2 Основные неисправности в работе
центробежных насосов и меры по их устранению
Наиболее вероятными причинами неисправностей в
работе центробежных насосов являются:
. Попадание воздуха в систему и насос;
. Ухудшение условий всасывания;
. Износ и механические поломки движущихся
частей насоса;
. Неисправности привода насоса.
Попадание воздуха в систему и насос приводит к
срыву работы насоса - он или вообще не подаёт жидкость, или подача его меньше
номинальной, насос работает с шумом. Воздух в систему и насос может попасть в
результате:
. Некачественной заливки всасывающей линии
насоса перед пуском;
при быстрой заливке в системе или корпусе насоса
может остаться воздушный мешок;
. Подсоса воздуха в насос при его работе.
Воздух в насосе может проникать через не плотности во всасывающей линии (не
плотности в местах разъёма, через сальники штоком арматуры), через сальник
насоса или через частично обнажающуюся сетку всасывающего трубопровода.
Поступающий при работе насоса воздух частично уносится в напорную магистраль, а
частично скапливается в арматуре системы. При незначительном подсосе воздуха насос
может работать нормально при полной подаче, а при уменьшении подачи. Для
устранения протечек, сменить набивку сальников.
Ухудшение условий всасывания приводит к
уменьшению подачи, кавитации и срыву работы насоса. Условия всасывания
ухудшаются в результате:
. Засорения приёмной сетки (или фильтров)
на всасывании насоса;
. Попадания во всасывающий трубопровода
посторонних предметов (ветоши, грязи);
. Работы насоса с не полностью открытым
приёмным клапаном;
. Перекачивания насосом жидкости с
температурой выше спецификационной или сильно загрязнённой жидкости;
. Уменьшения статического подпора на
всасывании ниже спецификациионного для данного насоса.
Об ухудшении условий всасывания в первую очередь
сигнализирует повышение вакуумметрической высоты всасывания насоса. Насос при
этом следует остановить, причину ухудшения условия всасывания выявить и
устранить.
Износ и механические поломки движущихся частей
насоса могут привести к различным неисправностям:
. Повышению вибрации при работе насоса;
. Перегреву отдельных узлов насоса;
. Повышению потребляемой мощности;
. Срыву работы насоса;
Наиболее часто встречаются следующие
неисправности:
. Износ лопаток рабочих колёс (насос
работает с меньшей подачей или прекращает подачу) - износившиеся рабочие колёса
необходимо заменить;
. Засорение каналов рабочих колёс или
направляющих аппаратов (насос также работает с меньшей подачей или прекращает
подачу) - изношенные кольца необходимо разобрать, канала очистить;
. Износ уплотняющих колец (насос работает
с меньшими подачей и напором в результате перетекания жидкости по зазору) -
изношенные кольца необходимо заменить новыми;
. Износ разгрузочного кольца (при этом
смещается ротор насоса, рабочие колёса сдвигаются по отношению к направляющему
аппарату, подача насоса уменьшается) - необходимо заменить разгрузочные кольца;
. Изгиб вала насоса вследствие
неуравновешенности ротора (при этом потребляемая мощность колеблется, насоса
вибрируют) - насос необходимо вскрыть, ротор проверить;
. Перекос разгрузочного диска или кольца
(насос при пуске потребляет большую мощность) - перекос необходимо устранить;
. Перекос нажимной втулки сальникового
уплотнения или через мерная затяжка уплотнения (сальниковое уплотнение
нагревается) - необходимо ослабить затяжку гаек, выправить перекос или ослабить
затяжку сальника;
. Инородные включения в набивке сальника
(сальниковое уплотнение нагревается) - необходимо заменить набивку сальника;
. Наличие воды в ванне подшипникового
узла, загрязнённое или некачественное масло (подшипниковый узел нагревается) -
необходимо заменить масло;
. Излишнее количества масла в ванне
подшипникового узла и консистентной смазки в корпусе шарикоподшипника
(подшипниковый узел нагревается) - необходимо удалить лишнее масло
(консистентную смазку);
. Уменьшить зазор между разгрузочным
диском и кольцом (разгрузочный диск нагревается) - необходимо разобрать насос и
отрегулировать зазор между диском и кольцом;
. Засорен трубопровод гидравлической
разгрузки насоса (разгрузочный диск нагревается) - необходимо прочистить
трубопровод;
. Ослаблены крепления насоса на раме,
рабочих колёс на валу насоса, трубопровод и фланцев насоса (при работе насоса
появляется сильная вибрация) - необходимо подтянуть крепёж.
Неисправности привода насоса могут препятствовать
нормальному пуску насоса и привести к выводу его из строя. Учитывая, что
наиболее распространённым приводом является электропривод, ниже приведены,
характерны неисправности электропривода:
. Отсутствие питания вследствие
перегорания предохранителей или не исправности автоматического выключателя
(электродвигатель не запускается) - необходимо вставить предохранители,
исправить и включить автомат;
. Обрыв в пусковом реостате или
соединительных приводов между ротором и пусковым реостатом (электродвигатель не
запускается) - необходимо отыскать место обрыва и исправить;
. Обрыв одной фазы обмотки статора
асинхронного электродвигателя (электродвигатель не запускается) - необходимо
определить место обрыва и исправить;
. Межвитковое замыкание в обмотке статора
(при работе электродвигатель сильно нагревается) - необходимо отремонтировать
или заменить электродвигатель;
. Повышено или понижено напряжение сети
(электродвигатель нагревается) - при повышенном напряжении двигатель необходимо
отключить до понижения напряжения, при пониженном напряжении можно работать,
частично уменьшив подачу насоса перекрытием регулировочного клапана;
. Нарушением правильной вентиляции
электродвигателя (электродвигатель нагревается) - необходимо очистить
вентиляционные каналы, улучшить вентиляцию;
. Механические повреждения (износ
подшипников, выступание пазовых клиньев, выкрашивание изоляции и др.,
вызывающие ненормальный шум в двигателе, местные перегревы) - необходимо
устранить неисправности.
Заключение
Согласно заданию на курсовой проект для сухогруза, судна
общего назначения, был разработан комплекс общесудовых систем.
Выбрана и разработана водоотливная система,
выполненная по автономному принципу и линейной схеме с одним центробежным
насосом типа НЦВ 250/30, который имеет подачу 250 м3/ч при напоре
100 м в.ст. Водоотливной насос находится в трюме машинного отделения.
Расчёт режима работы водоотливной системы,
показал, что система спроектирована в соответствии с требованиями к ней.
Разработанная водоотливная система позволяет
эксплуатировать газовоз в различных режимах в соответствии с требованиями
противопожарной безопасности.
Список литературы
1. Александров А.В. Судовые системы. - Л.: Судпромгиз, 1962.
. Алмазов Г.К., Степанов В.В., Гуськов М.Г. Элементы общесудовых
систем: Справочник. - Л.: Судостроение. 1982.
. Андреев Е.Н. Принципы гидравлического расчёта корабельных
систем. - Л.: ВВМИОЛУ им. Ф.Э. Дзержинского, 1985.
4. Богачёв А.И. «Корабельные устройства и системы». Часть II. -
М.: Воениздат, 1959.
. Будов В.М. Судовые насосы. Справочник. Ленинград. Судостроение
1988 г.
6. Гончарук Ю.А. и др. методика расчёта корабельных трубопроводов.
- ВМФ, 1982 г.
. Горбачёв Ю.Ф. и др. Насосы. Ч. 1. - ВМФ, 1986 г.
. Кудрявцев Ю.М. и др. Корабельные вспомогательные механизмы и
системы. Часть 2. Вспомогательные установки и системы. ЛВВМИУ, 1982 г.
. Новиков Л.А. и др. Теория, устройство и живучесть корабля. Л.:
ВВМУ им. М.В. Фрунзе.
10. Хордас Г.С. Расчеты общесудовых систем. Справочник. -
Л.: Судостроение, 1983.
11. Баранов В.И. Методическое рекомендация. - Л.: СВМИ,
2008 г.