Производство сульфатостойкого портландцемента

  • Вид работы:
    Дипломная (ВКР)
  • Предмет:
    Другое
  • Язык:
    Русский
    ,
    Формат файла:
    MS Word
    336,55 kb
  • Опубликовано:
    2012-02-19
Вы можете узнать стоимость помощи в написании студенческой работы.
Помощь в написании работы, которую точно примут!

Производство сульфатостойкого портландцемента

МИНИСТЕРСТВО ОБРАЗОВАНИЯ И НАУКИ УКРАИНЫ

Харьковский государственный технический университет

строительства и архитектуры

Кафедра физико-химической механики и технологии строительных материалов и изделий






Пояснительная записка

к курсовому проекту по дисциплине "Вяжущие вещества"

Тема проекта: "Производство сульфатостойкого портландцемента"


Проектировал студент групи Т-22

Першин П.А.

Руководитель курсового проекта

доц. Латорец Е.В.




Харьков 2010

Задание на курсовой проект №18.14

Производство сульфатостойкого портландцемента

N=350 тыс. т/год

Состав портландцемента:

·        клинкер - 87%;

·        трепел - 8%, влажность W=10%;

·        природный гипсовый камень - 5%, влажность W=9%.

Состав сырьевой смеси:

·        известняк - 76%, влажность W=4,5%;

·        глина - 22,5%, влажность W=20,3%;

·        огарки - 1,5%, влажность W=3%.

Влажность шлама W=39,7%.

Механические потери:

·        кускового материала - 1%;

·        порошкообразного материала - 1,5%.

Способ производства - мокрый (схема 8).

СОДЕРЖАНИЕ

Введение

1. Номенклатура продукции, свойства сульфатостойких портландцементов

2. Технологическая часть

.1 Характеристика сырья

.2 Выбор способа производства и разработка технологической схемы

.3 Выбор режима работы завода и расчет фондов времени работы оборудования и работников

.4 Расчет потребности в сырье

.5 Определения производительности каждого технологического передела

.6 Расчет потребности в технологическом оборудовании

2.7 Расчет общезаводских и цеховых складов

3. Контроль технологического процесса и качества выпускаемой продукции

. Охрана труда, окружающей среды и техника безопасности

Использованная литература

Приложение

ВВЕДЕНИЕ

Вяжущие вещества научились получать и начали применять в строительстве еще в глубокой древности. Первым вяжущим веществом была необожженная глина, которую использовали при возведении простейших сооружений. В Древнем Египте и Древнем Риме научились получать искусственным путем и использовать в строительстве гипсовые и известковые вяжущие вещества, в т.ч. гидравлические растворы. В дальнейшем производство и использование вяжущих веществ развивалось по мере развития человеческой цивилизации. Увеличение объема промышленного и гражданского строительства в 18-20 веках предопределило освоение производства и применения гидравлических вяжущих веществ - романцементов и портландцементов. Выдающийся вклад в развитие науки о цементах внесли ряд отечественных и зарубежных ученых и производственников: В.М.Севергин, Шарлевиль, Е.Челиев, Д.Аспдин, А.Р.Шуляченко, Н.А.Белелюбский, Н.Н.Лямин, С.А.Дружинин и многие другие.

В настоящее время существует значительное количество разнообразных вяжущих веществ, однако в строительстве применяется лишь часть из них. Их называют строительными вяжущими веществами и делят на две основные группы: неорганические (минеральные) вяжущие вещества и органические вяжущие вещества.

Строительными минеральными вяжущими веществами называют порошкообразные материалы, которые после смешения с водой (а в отдельных случаях и с растворами некоторых солей) образуют массу, постепенно затвердевающую и переходящую в камневидное состояние. Большинство минеральных вяжущих твердеет в результате возникновения гидратных новообразований при взаимодействии вяжущего вещества с водой.

Почти все минеральные вяжущие вещества получают путем грубого и тонкого измельчения исходных материалов и полупродуктов, а также термической обработки сырья при разных температурах. В этих условиях протекают необходимые физико-химические процессы, обеспечивающие получение продукта с требуемыми свойствами. Производство вяжущих веществ представляет собой комплекс химических и физико-механических воздействий на исходные материалы, осуществляемых в требуемой последовательности.

Вяжущие вещества - основа современного строительства. Их широко применяют для изготовления штукатурных и кладочных растворов, а также разнообразных бетонов (тяжелых, легких, ячеистых и т.п.). Из бетонов изготовляют всевозможные строительные изделия и конструкции, в т.ч. и армированные сталью (железобетонные, армосиликатные и др.). Бетоны на вяжущих веществах применяют также для возведения отдельных частей зданий и целых сооружений (мосты, плотины и т.п.).

Все строительные минеральные вяжущие вещества в зависимости от их основных свойств делят на три основные группы: воздушные, гидравлические и кислотостойкие.

Гидравлические вяжущие вещества отличаются тем, что после смешения с водой и предварительного твердения на воздухе способны в последующем твердеть как в воздушной, так и в водной среде. Гидравлические вяжущие вещества применяют в производстве разнообразных изделий и конструкций, а также при возведении зданий и сооружений, предназначенных к эксплуатации как в воздушной, так и в водной среде.

В группу гидравлических входят многие вяжущие вещества, которые делят на несколько подгрупп. В первую подгруппу включают гидравлические вяжущие, не содержащие или содержащие не более 5-10% активных минеральных добавок. В эту подгруппу входят: портландцемент без добавок, портландцемент с минеральными добавками, сульфатостойкий портландцемент без добавок и с добавками, белый портландцемент; глиноземистый цемент; романцемент; гидравлическая известь.

Ко второй подгруппе относят смешанные гидравлические вяжущие, получаемые смешением чистых вяжущих друг с другом, а также отдельных вяжущих или их смесей с активными или минеральными добавками, вводимыми в количестве более 10-15%. Основными представителями этой подгруппы являются: на основе портландцемента - шлаковый портландцемент, пуццолановый портландцемент, цемент для строительных растворов и др.; на основе воздушной и гидравлической извести - известково-пуццолановые цементы, известково-кварцевое вяжущее для бетонов автоклавного твердения, известково-нефелиновый цемент, известково-шлаковый цемент и др.; на основе глиноземистого и портландского цементов, а также гипса - расширяющиеся и безусадочные цементы; на основе гипса, портландцемента и активных минеральных добавок - гипсоцементнопуццолановые вяжущие и др.; на основе доменных гранулированных шлаков и гипса - сульфатно-шлаковый цемент.

К третьей группе относится кислотоупорный кварцевый кремнефтористый цемент.

Целью данного курсового проекта является разработка технологии сульфатостойкого портландцемента. Проектируемое предприятие по производству сульфатостойкого портландцемента расположено в г. Балаклее Харьковской области. Возможности выпуска указанной продукции обусловлены наличием сырьевых и топливных ресурсов, а также обеспеченностью железнодорожным транспортом и обслуживающим персоналом. В качестве сырья для производства сульфатостойкого портландцемента предполагается использование глин местного карьера, а также других компонентов - известняка, огарков, двуводного гипсового камня, трепела, поставляемых на завод из других регионов железнодорожным транспортом.

Тема курсового проекта является актуальной, поскольку существует потребность строительной индустрии Харьковского и других регионов Украины в использовании разнообразных видов цементов, в т.ч. сульфатостойкого портландцемента.

Производительность завода - 350 тыс. т/год.

1. Номенклатура продукции, свойства сульфатостойких портландцементов

К группе сульфатостойких цементов относятся:

-    сульфатостойкий портландцемент;

-        сульфатостойкий портландцемент с минеральными добавками;

         сульфатостойкий шлакопортландцемент;

         пуццолановый портландцемент.

Все эти цементы получают измельчением портландцементного клинкера нормированного минералогического состава без добавок или с добавками.

Свойства сульфатостойких цементов и сырьевых компонентов для их производства регламентируются следующими нормативными документами - ДСТУ Б В.2.7-46-96, ГОСТ 310.1-76, ГОСТ 310.2-76, ГОСТ 310.3-76, ГОСТ 310.4-81, ГОСТ 2874-82, ГОСТ 3476-74, ГОСТ 4013-82, ГОСТ 5382-91, ГОСТ 22236-85, ГОСТ 22237-85, ТУ 21-26-11, ТУ 21-13-6, EN 196-1, EN 196-3, EN 196-6 и др.

Содержание в клинкере трехкальциевого силиката С3S, трехкальциевого алюмината C3A, четырехкальциевого алюмоферрита 4CaO·Al2O3·Fe2O3 и сумму щелочных оксидов рассчитывают по следующим формулам, исходя из данных его химического анализа:

CaO· SiO2 =4,07 (CaO - CaO св) - 7,6 (SiO2 - SiO2 св) - 6,7Al2O3 - 1,4 Fe2O3;

3CaO·Al2O3 =2,65 (Al2O3 - 0,64 Fe2O3);

CaO·Al2O3·Fe2O3 =3,04 Fe2O3;

R2O=Na2O + 0,658 K2O.

Химический анализ исходного клинкера и цемента проводят по ГОСТ 5382-73. Содержание различных минералов в клинкерах для сульфатостойких цементов (без добавок и с добавками) должно соответствовать данным, указанным в табл.1.

Таблица 1 - Минералогический состав клинкеров для сульфатостойких портландцементов


Вещественный состав различных видов сульфатных цементов должен соответствовать требованиям, указанным в табл. 2.

Таблица 2 - Вещественный состав сульфатных цементов

Цемент

Содержание добавок, % от массы цемента


гранулированный доменный или электротермо-фосфорный шлак

активные минеральные добавки



осадочного происхождения (кроме глиежа)

прочие (включая глиеж)

Сульфатостойкий портландцемент

не допускается

Сульфатостойкий порт-ландцемент с минеральными добавками

не менее 10 и не более 20

не менее 5 и не более 10

не допускается

Сульфатостойкий щлакопортландцемент

не менее 21 и не более 60

-

-

Пуццолановый портландцемент

-

не менее 20 и не более 30

не менее 25 и не более 40


Гранулированные доменные и электротермофосфорные шлаки по своим свойствам должны удовлетворять требованиям ГОСТ 3476-74. Содержание в них окиси алюминия не должно превышать 8%. Активные минеральные добавки по своим свойствам должны удовлетворять требованиям ОСТ 21-9-74. При совместном помоле материалов необходимо вводить двуводный гипс, отвечающий требованиям ГОСТ 4013-74. Его содержание в цементах, определяемое по количеству серного ангидрида SO3, не должно превышать 3,5%.

Тонкость помола цемента должна определяться по ГОСТ 3584-73. При этом при просеивании через сито №008 должно проходить не менее 85% массы пробы.

Начало схватывания цементов - не ранее 60 мин, конец схватывания - не позднее 10 ч (для марок 300, 400, 500).

По согласованию с потребителем допускается введение в эти цементы при их помоле пластифицирующих или гидрофобизирующих ПАВ в количестве не более 0,3% массы цемента в пересчете на сухое вещество добавки.

Физико-механические свойства цементов определяются в соответствие с указаниями ГОСТ 310.1-76 - ГОСТ 310.4-74.

По ГОСТ 22266-76 сульфатостойкие цементы подразделяются на марки 300, 400, 500. При этом цементы различных марок должны характеризоваться следующими минимальными показателями, указанными в табл.3. Цементы должны обладать стабильными показателями прочности при сжатии, при этом коэффициент вариации должен быть не более 5% для марок 300 и 400 и не более 3% для марки 500.

Таблица 3 - Марки и показатели прочности сульфатостойких цементов

Цемент

Марка цемента

Предел прочности, МПа (кгс/см2) через 28 сут



при изгибе

 при сжатии

Сульфатостойкий портландцемент

400

5,5 (55)

40 (400)

Сульфатостойкий портландцемент с минеральными добавками

400

5,5 (55)

40 (400)


500

6,0 (60)

50 (500)

Сульфатостойкий щлакопортландцемент

300

4,5 (45)

30 (300)


400

5,5 (55)

40 (400)

Пуццолановый портландцемент

300

4,5 (45)

30 (300)


400

5,5 (55)

40 (400)


Высокая стойкость сульфатостойких портландцементов в сульфатных водах обусловлена тем, что в затвердевшем состоянии они содержат пониженное количество высокоосновных гидроалюминатов кальция. Этим устраняется возможность образования значительного количества гидросульфоальмината кальция трехсульфатной формы, вызывающего коррозию портландцементного камня. Развитие коррозионных процессов замедляется также вследствие ограниченного содержания в клинкере С3S.

Такой портландцемент значительно превосходит по стойкости рядовые портландцементы, но уступает в этом отношении пуццолановым и шлаковым цементам, изготовляемых на основе клинкера того же цементного состава. Однако эти цементы менее морозостойки. Поэтому сульфатостойкий портландцемент целесообразнее всего применять в тех случаях, когда одновременно требуется высокая стойкость против воздействия сульфатных вод и попеременного замораживания и оттаивания, высыхания и увлажнения.

Для улучшения свойств этих цементов допускается вводить в них пластифицирующие или гидрофобизирующие добавки в количестве не более 0,3% от массы цемента.

Сульфатостойкие портландцементы без добавок или с ограниченным их содержанием следует применять в бетонных и железобетонных конструкциях, в т.ч. и преднапряженных, для тех зон гидротехнических сооружений, где они подвергаются действию сульфатных вод в условиях попеременного замораживания и оттаивания или высыхания и увлажнения.

2. Технологическая часть

2.1 Характеристика сырья

В данном курсовом проекте в качестве исходного сырья для производства портландцементного клинкера используется глина, известняк и огарки, а для производства сульфатостойкого портландцемента - портландцементный клинкер, природный двуводный гипс и трепел.

Глины представляют собой тонкодисперсные осадочные горные породы и легко дают суспензии, когда их разбалтывают с водой. Глины сильно различаются по минералогическому и гранулометрическому составу часто в пределах даже одного месторождения. Нередко они содержат значительное количество включений в виде песка и гравия, что вызывает необходимость их предварительного обогащения. По минералогическому составу глины характеризуются преимущественным содержанием водных алюмосиликатов и кварцевого песка. Легкоплавкие глины состоят в основном из кремнезема (70-80%), глинозема (3-10%), окиси железа (3-6%) и небольшого количества карбонатов кальция и магния. В отдельных случаях содержание окиси кальция может достигать 10-25%, а окиси магния - 3-5%. Иногда в глинах присутствуют соединения, содержащие SO3, Na2O и K2O. Включения веществ, содержащих эти окислы, а также MgO нежелательны и их количество должно быть минимальным. Влажность глин колеблется в пределах 15-25%. Плотность комовой глины составляет 1800-2000 кг/м3 (1,8-2,0 г/см3). Для производства сульфатостойких цементов используют низкоалюминатные глины.

Известняки и мел представляют собой карбонатные породы осадочного происхождения. Плотность плотных известняков составляет 2400-2700 кг/м3 (2,4-2,7 г/см3), а меловых пород - 1500-2000 кг/м3 (1,5-2,0 г/см3). Влажность этих материалов колеблется соответственно в пределах 2-6 и 15-30%. Известняки и мел содержат до 90% и более углекислого кальция и небольшие количества кварцевого песка, глинистых минералов и др. По химическому составу эти материалы характеризуются преимущественным содержанием окиси кальция (до 50% и более) и СО2 (до 40% и более). Они содержат также небольшие количества кремнезема, глинозема и др. Содержание окиси магния более 3-3,5% и серного ангидрида более 1-1,3% недопустимо. Свойства карбонатных пород для производства цемента регламентируются ТУ 21-13-6.

Поскольку не всегда удается получить клинкер требуемого химического и минералогического состава, изменяя только соотношение между двумя исходными компонентами - известняком и глиной, то применяют корректирующие добавки, содержащие значительное количество какого-либо из недостающих окислов клинкера. Недостаточное количество в сырьевой смеси окиси железа компенсируется добавкой колчеданных или пиритных огарков, железной руды и др.

Пиритные огарки - дисперсные отходы, образующиеся при переработке серного колчедана в серную кислоту. Состав, %: Fe2O3 - 56…77; SiO2 - 9…22; Al2O3 - 1…18; CaO - 0,8…5.

В качестве добавок, вводимых на стадии помола портландцементного клинкера при изготовлении сульфатостойкого портландцемента, используются природный двуводный гипс и трепел.

Природный двуводный гипс - горная порода осадочного происхождения, сложенная в основном из крупных или мелких кристаллов двуводного сернистого кальция CaSO4 ·2H2O. Плотные образования гипса называют гипсовым камнем. По внешнему виду и строению горной породы различают кристаллический прозрачный гипс, гипсовый шпат, тонковолокнистый гипс с шелковистым отливом (селенит) и зернистый гипс. Наиболее чистую разновидность зернистого гипса, напоминающую по внешнему виду мрамор, называют алебастром. Гипсовые породы содержат обычно некоторое количество примесей глины, песка, известняка и др. Чистый гипс - белого цвета, примеси придают ему различные оттенки: окислы железа окрашивают его в желто-бурые цвета, органические примеси - в серые и т.д. Небольшое количество примесей, равномерно распределенных в гипсе, заметно не ухудшает его качество. Вредное влияние оказывают крупные включения. В гипсовых породах лучших месторождений обычно содержится до 2-5% примесей, но часто их количество достигает 10-15% и более. Плотность гипсового камня зависит от количества и вида примесей и составляет 2,2-2,4 г/см3. Насыпная плотность гипсовой щебенки составляет 1200-1400 кг/м3, влажность колеблется в значительных пределах (3-5% и более).

Природный двуводный гипс добавляют в клинкер на стадии помола с целью регуляции сроков схватывания портландцемента. Качество природного двуводного гипса должно соответствовать требованиям ГОСТ 4013-82.

Трепел - активная минеральная добавка осадочного происхождения. Это легкая пористая малопрочная порода светло-серого или желтовато-серого цвета, окрашенная иногда в темные тона органическими примесями. Трепелы часто перемешаны с песком, глинами, карбонатными породами и т.п. Насыпная плотность в зависимости от степени уплотнения и содержания указанных примесей обычно колеблется в пределах 400-1000 кг/м3. Плотность колеблется в пределах 1,8-2,4 г/см3. Природная влажность трепелов значительно колеблется в зависимости от различных факторов и может достигать от 15-25 до 30-40%. Более плотные разновидности характеризуются меньшей влажностью. Трепелы состоят в основном из скоплений мельчайших шариков вторичного водного кремнезема (опала) размером 2-5 мкм. Как правило, трепелы содержат 70-90% кремнезема, 3-10% глинозема, 1-3% окиси кальция, 1-3% щелочей. Потери при прокаливании составляют 2-8%.

Трепел является активной минеральной добавкой пуццоланового типа, способствующей повышению сульфатостойкости и морозостойкости портландцемента. Качество добавок пуццоланового типа должно соответствовать требованиям ТУ 21-26-11.

2.2  Выбор способа производства и разработка технологической схемы

Производство сульфатостойкого портландцемента может быть разделено на два комплекса операций. Первый из них включает изготовление клинкера, второй - получение сульфатостойкого портландцемента измельчением клинкера совместно с природным двуводным гипсом и трепелом.

Получение клинкера - наиболее сложный и энергоемкий процесс, требующий больших капитальных и эксплуатационных затрат. Удельная стоимость клинкера достигает 70-80% общей стоимости портландцемента.

Производство сульфатостойкого портландцемента состоит из следующих основных операций: добычи известняка, глины и корректирующих добавок (огарков), подготовки сырьевых материалов и приготовления из них однородной смеси заданного состава, обжига сырьевой смеси материалов до спекания с получением клинкера, помола клинкера в порошок совместно с природным двуводным гипсом и активной минеральной добавкой (трепелом). Основной задачей является получение клинкера с заданным минералогическим составом, что зависит от состава и качества сырья, выбранного соотношения между исходными материалами, требуемой дисперсности и однородности сырьевой смеси, правильного режима обжига и охлаждения клинкера.

В настоящее время применяют два основных способа подготовки сырьевой смеси из исходных материалов: "мокрый", при котором помол и смешение сырья осуществляются в водной среде, и "сухой", когда материалы измельчаются и смешиваются в сухом виде. Каждый из этих способов имеет свои положительные и отрицательные стороны. В водной среде облегчается измельчение материалов, при их совместном помоле быстро достигается высокая однородность смеси, но расход топлива на обжиг сырьевой смеси при мокром способе в 1,5-2 раза больше, чем при сухом. Кроме того, значительно возрастают размеры обычных вращающихся печей при обжиге в них мокрой сырьевой смеси, так как эти тепловые агрегаты в значительной мере выполняют функции испарителей воды.

Сухой способ, несмотря на его технико-экономические преимущества по сравнению с мокрым способом, длительное время находил ограниченное применение вследствие пониженного качества выпускаемого клинкера. Однако современные достижения в технике тонкого измельчения и гомогенизации сухих смесей обеспечили возможности получения высококачественных портландцементов и по сухому способу.

Применение находит и третий, так называемый комбинированный способ. Сущность его заключается в том, что подготовка сырьевой смеси осуществляется по мокрому способу, затем шлам обезвоживается на специальных установках и направляется в печь. Комбинированный способ почти на 20-30% снижает расход топлива по сравнению с мокрым способом, но при этом возрастают трудоемкость производства и расход электроэнергии.

В данном курсовом проекте принимается мокрый способ производства сульфатостойкого портландцемента.

Технологическая схема изготовления сульфатостойкого портландцемента по мокрому способу представлена на рис. 1.

Рис. 1. Технологическая схема изготовления сульфатостойкого портландцемента по мокрому способу

Добыча, транспортирование и складирование сырья

Площадку для строительства цементного завода выбирают, как правило, вблизи месторождений (или размещения) основных исходных материалов - карбонатного и глинистого компонентов. Это делается с целью уменьшить расходы на транспорт и довести до минимума запасы, а, следовательно, и емкости складов сырья на площадке завода.

В данном случае цементный завод расположен вблизи месторождения глины, а остальные сырьевые компоненты доставляют на завод железнодорожным и автомобильным транспортом.

Добыча, транспортирование и складирование известняка.

Известняковые породы обычно залегают под слоем пустой породы (вскрыши), толщина которого может достигать 3-5 м и более. Для ее удаления применяют экскаваторы разных типов, бульдозеры. При гидромеханическом способе грунт размывают струей воды, подаваемой гидромонитором под давлением 1,5-2 МПа. Высокоэффективны разработка вскрышных пород с помощью роторных экскаваторов и их удаление в отработанные части карьеров ленточными конвейерами. Взорванную породу кусками размером до 1 м, а иногда до 1,5-2 м в поперечнике грузят на транспортные средства и отправляют на завод. Более крупные глыбы дробят пневматическими перфораторами. Известняк доставляют на цементный завод железнодорожным транспортом и складируют на штабельных складах открытого типа.

Добыча, транспортирование и складирование глины.

Добычу глины ведут в карьерах одноковшовыми или многоковшовыми экскаваторами, а затем при помощи ленточных конвейеров или автомобильным транспортом транспортируют на цементный завод и складируют на складе.

Получение, транспортирование и складирование огарков.

Пиритные огарки - дисперсные отходы, образующиеся при переработке серного колчедана в серную кислоту. Пиритные огарки с территории химического комбината доставляются на цементный завод автомобильным или железнодорожным транспортом и складируются на закрытых складах бункерного типа.

Добыча, транспортирование и складирование природного двуводного гипса.

Добычу гипсового камня производят по аналогии с известняком. Гипсовый камень доставляют на цементный завод железнодорожным транспортом и складируют на штабельных складах открытого типа.

Добыча, транспортирование и складирование трепела.

Добычу плотных разновидностей трепела производят по аналогии с известняком. Добычу рыхлых разновидностей трепела производят по аналогии с глиной. Трепел доставляют на цементный завод железнодорожным транспортом и складируют на штабельных складах открытого типа.

Приготовление сырьевой смеси для получения портландцементного клинкера

Сырьевыми материалами для получения портландцементного клинкера являются известняк, глина и огарки.

Приготовление сырьевой смеси включает: дробление известняка и глины, получение водной суспензии глины, дозирование известняка, водной суспензии глины и огарков, совместный тонкий помол и смешение компонентов, корректирование состава полученной смеси (шлама) и ее хранение.

Известняк с влажностью 4,5% со склада подается в бункер питателя, а затем ленточным конвейером транспортируется на первичное дробление. Для первичного дробления известняков используют щековые и конусные дробилки. В данной технологии используются щековые дробилки, т.к. они более экономичны при производительности 300-500 т/ч. В щековой дробилке известняк измельчается на куски крупностью до 200-300 мм. Затем известняк ленточным конвейером транспортируется на вторичное дробление. На второй стадии дробления могут быть использованы как молотковые, так и конусные дробилки, однако предпочтение отдают молотковым, так как они могут давать материал в кусках, размер которых меньше в два раза и более размера выпускной щели. В молотковой дробилке известняк измельчается на куски крупностью до 20-25 мм. Для обеспечения бесперебойной работы дробилки загружают из расходных бункеров, снабженных питателями, обеспечивающими непрерывную подачу материалов в количестве, соответствующем производительности дробилок. Вместимость расходных бункеров рассчитывают обычно так, чтобы обеспечить работу дробилок в течение 2-4 ч. Дробленый известняк ленточным конвейером транспортируется на промежуточный склад открытого или бункерного типа.

Глина с влажностью 20,3% со склада подается в бункер пластинчатого питателя, а затем ленточным конвейером транспортируется на дробление. Переработка мягких, пластичных, часто весьма влажных пород (мергелей, глин и др.) в щековых и молотковых дробилках вызывает значительные осложнения, поэтому глину измельчают в валковых дробилках. При измельчении относительно твердых непластичных материалов используют дробилки с рифлеными валками, вязких - зубчатые со скребками, очищающими углубления между зубьями. Измельченная глина ленточным конвейером направляется в глиноболтушку, где смешивается с водой. Глиноболтушка - это круглый или многогранный бассейн, дно и стенки которого футеруют чугунными плитами. В центре бассейна на фундаменте устанавливают вертикальный вал с крестовинами, на которые подвешивают стальные грабли. Вал приводится во вращение электродвигателем. Глину после предварительного измельчения в дробилках до кусков размером не более 20 см разбалтывают с водой, образуется суспензия с частицами до 3-5 мм. Крупные куски и примеси (песок, галька и т. п.), оседающие на дно, периодически удаляют. Полученный шлам насосами перекачивают в запасные бассейны, откуда он поступает на тонкое измельчение в мельницы совместно с другими компонентами сырьевой смеси. В цементном производстве применяют болтушки диаметром 12 м, производительностью до 30-50 м3/ч.

Огарки с влажностью 3% со склада направляются в расходный бункер.

Подготовленные компоненты сырьевой смеси - дробленый известняк, водная суспензия глины и огарки дозируются в автоматических весовых дозаторах и направляются на совместный тонкий помол в шаровую мельницу. Совместное измельчение известняка и глины в присутствии воды обеспечивает тщательное перемешивание исходных материалов. С этой же целью вместе с ними измельчают и корректирующие добавки - огарки, если заведомо известно, что химический состав двух исходных компонентов не позволяет получить клинкер заданного минерального состава.

В производстве портландцемента по мокрому способу сырье размалывают в шаровых мельницах со значительным количеством воды - мокрый помол (обычно при содержании воды до 36-42 % массы сухого вещества, в данном курсовом проекте - 39,7%).

Измельчение подаваемого в мельницу материала в один рабочий цикл до требуемой дисперсности называется одноступенчатым. При измельчении "на проход" получают материал в готовом виде (измельчение по открытому циклу). Применяют также измельчение по замкнутому циклу: материал, выходящий из мельницы, разделяется (классифицируется) на готовый продукт и "возврат", идущий в ту же мельницу на дальнейшее измельчение до требуемой дисперсности. При двух- или трехступенчатом измельчении исходный материал подвергают дроблению или помолу последовательно в двух или трех машинах. При этом из измельчаемого материала после каждой ступени соответствующими аппаратами (грохотами, сепараторами, гидроциклонами и др.) может быть извлечен продукт с необходимой степенью дисперсности.

Помол сырьевых материалов в шаровых мельницах осуществляют по открытому и замкнутому циклам. При помоле по открытому циклу материалы должны достаточное время находиться в мельнице. Обычно применяют трубные мельницы длиной 13 и 15 м и диаметром 2,6 и 3,2 м с двумя камерами. Их часовая производительность при мокром помоле сырья средней твердости до 8-10% остатка на сите № 008 соответственно достигает 35-40 и 70-80 т (сухого материала). Средний расход электроэнергии в этих мельницах - около 20 кВт·ч/т. К мельницам, работающим по замкнутому циклу совместно с грохотами или циклонами разных типов, относится мельница размером 3,2×8,5 м производительностью по мягким материалам до 150-230 т/ч. Замкнутая схема помола позволяет увеличить производительность мельниц на 20-30 % и снизить удельный расход электроэнергии на 15-20%.

При мягких материалах применяют наиболее простую схему помола в замкнутом цикле: материал после прохода через обе камеры подают с помощью ковшового элеватора в грохот того или иного типа, из которого продукт с требуемой дисперсностью направляется в сборные бассейны, а крупка поступает в первую камеру на измельчение.

При твердых материалах, предназначаемых для тонкого измельчения в водной среде, иногда используют более сложные схемы замкнутого помола. Например, глиноизвестняковый шлам после первой камеры направляют ковшовым элеватором в классификатор, из которого тонкая фракция подается во вторую камеру, а грубая - на доизмельчение в первую.

В качестве классификаторов шлама служат грохоты разных типов (виброгрохоты и дуговые), а также гидроциклоны. Выбор того или иного типа классификатора в большой мере определяется свойствами перерабатываемых материалов, а также надежностью и простотой обслуживания. Хорошо зарекомендовал себя дуговой грохот, характеризующийся высокой удельной производительностью; в нем отсутствуют движущиеся элементы.

При суточной производительности дробильно-помольных установок 500 т оптимальная крупность подаваемого в мельницу материала достигает 10-14 мм, а при производительности 2500-4000 т - 6-10 мм.

Сырье измельчают до степени, характеризуемой обычно остатком на сите №008 не более 5-10 %.

Выходящая из мельницы сырьевая смесь (шлам) имеет влажность 39,7%.

Корректирование состава шлама

Полученный шлам с влажностью 39,7% насосами перекачивают в вертикальные цилиндрические шламбассейны, где его корректируют по химическому составу.

При смешивании сырьевых компонентов не всегда удается сразу получить шлам требуемого химического состава вследствие разнородности сырья, несовершенства дозирующих устройств и других факторов. В связи с этим возникает необходимость в систематическом контроле содержания компонентов в сырьевой смеси и в случае отклонения от принятых значений в корректировании состава шлама. Для этого в него вводят недостающий компонент в соответствующем количестве. В зависимости от состава и однородности сырья, а также от состава и качества выпускаемого цемента сырьевую смесь корректируют по заданному содержанию в ней углекислого кальция (по титру), а также по требуемому коэффициенту насыщения и одному из модулей. Наиболее прост способ корректирования по содержанию углекислого кальция в смеси карбонатного и глинистого компонентов. Шлам признают пригодным для обжига, если его титр соответствует заданному. Необходимость корректирования шлама может возникать также и при недостаточном или избыточном содержании других компонентов (SiО2, Fe2О3). Состав шлама можно контролировать с помощью автоматического рентгеноспектрометра, ежечасно определяя содержание СаО, SiО2, A12О3 и Fe2О3. По результатам анализа вычислительная машина рассчитывает новые соотношения между сырьевыми компонентами, а также показатели дозирующих устройств для правильного питания сырьевых мельниц и получения шлама заданного состава. Важной характеристикой шлама является также его текучесть, зависящая от свойств исходных материалов, содержания в нем воды. Шлам должен обладать такой текучестью при минимальном содержании воды, при которой обеспечивалось бы нормальное протекание его по шламопроводам в печь для обжига. Снижение водосодержания в шламе с помощью разжижителей способствует значительной экономии топлива на обжиг клинкера и повышению производительности печных установок.

Корректируют и усредняют шламы в вертикальных цилиндрических резервуарах (шламбассейнах). Бассейны вертикального типа вместимостью 400-1000 м3 сооружают при значительной неоднородности исходного сырья. Они служат для усреднения шлама в относительно небольшом объеме, что обеспечивает быструю и хорошую гомогенизацию смеси. Перемешивание смеси в вертикальных бассейнах пневматическое.

Полученный усредненный шлам сливают в горизонтальные бассейны - горизонтальные железобетонные резервуары круглой формы диаметром до 25 м и больше при высоте 6-8 м, вместимостью 6000-8000 м3, оборудованные крановыми пневматическими мешалками для постоянного перемешивания шлама.

Готовый шлам из горизонтальных бассейнов подается дозирующими устройствами во вращающуюся печь на обжиг.

Обжиг сырьевой смеси

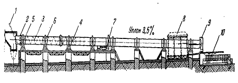
Для обжига сырьевой смеси при мокром способе производства применяют вращающиеся печи длиной 150-185 м и диаметром 4-5 м (рис.2).

Рис. 2. Вращающаяся печь 5×185 м: 1 - течка; 2 - фильтр- подогреватель; 3 - цепная завеса; 4 - теплообменники; 5- бандажи; 6 - подбандажные обечайки; 7 - привод печи; 8 - орошающее устройство; 9 - головка печи; 10 - холодильник.

В настоящее время основную массу клинкера обжигают в печах размерами 4,5×170 и 5×185 м. Они рассчитаны на суточную производительность по клинкеру 1200 и 1800 т. Удельный расход теплоты 6100-7600 кДж/кг, удельный расход электроэнергии по печной установке 25-26 кВт·ч/т клинкера.

Корпус печи - барабан длиной 185 м, сваренный из стальных обечаек, устанавливается на фундаменте с уклоном по длине 3-40, На нем закреплены бандажи, опирающиеся на роликовые опоры, а также венцовая шестерня, через которую печь приводится во вращение электродвигателем. Частота вращения обычно 0,5-1,2 об/мин, но она может изменяться. Приподнятая часть печи является холодным концом, входящим в пылеосадительную камеру через уплотняющее устройство, которое препятствует подсосу наружного воздуха. Для защиты от воздействия горячих газов и уменьшения теплопотерь корпус печи изнутри футеруют. Огнеупорные материалы для этой цели выбирают с учетом температуры газов в разных зонах печи, а также основности обжигаемого материала. Широко применяют шамотный и многошамотный кирпич, а также высокоглиноземистые и талькомагнезитовые огнеупоры. Для зоны спекания преимущественно используют хромомагнезитовый, периклазошпинелидный и магнезитохромитовый кирпич.

В печной агрегат входят также шламовый питатель, пылеосадительная камера, электрофильтры для очистки дымовых газов от пыли, дымосос, горячая головка печи, вентилятор для подачи в печь смеси воздуха с угольным порошком, колосниковый холодильник переталкивающего типа, предназначенный для охлаждения клинкера.

Одним из элементов печи являются встроенные в них разного вида теплообменники для интенсификации процессов теплоотдачи от печных газов обжигаемому материалу. В качестве теплообменников применяют фильтры-подогреватели, образуемые, в частности, плотно навешенными цепями на протяжении 5-7 м длины печи вблизи ее холодного конца. Печные газы фильтруются через цепи, смоченные шламом, нагревают его, а сами обеспыливаются. Используют подогреватели и других конструкций. Кроме того, устраивают цепные завесы в холодном конце до участка печи, где температура газов не превышает 700-8000С. Длина цепей может достигать 2 км и более. Цепные завесы состоят из цепей, подвешенных в одной (свободновисящие) или в двух точках (гирлянды). Чаще всего применяют комбинированную навеску цепей. В цепной зоне материал подсушивается до влажности 8-12%. В зонах с температурой газов 700-11000С устанавливают и другие теплообменники (ячейковые, цепные, экранирующие и т. п.), изготовляемые из жароупорного металла или керамических огнеупоров.

Вращающаяся печь работает по следующей схеме.

Шлам из шламбассейна перекачивается насосом в распределительный бак, установленный над печью. Отсюда он через ковшовый питатель или автоматический шламопитатель поступает в печь.

С противоположной стороны в печь вентилятором нагнетается уголь в виде пылевоздушной смеси, которая поступает из углепомольного отделения, размещаемого обычно вблизи печного агрегата. Попадая в раскаленное пространство, уголь воспламеняется. Образующиеся дымовые газы проходят через всю печь, отдавая свою теплоту обжигаемому материалу. По выходе из печи газы с температурой 150-2000С направляются через соединительную (пылеосадительную) камеру в электрофильтры для очистки от пыли. К этим печам обычно устанавливают горизонтальные электрофильтры со степенью очистки 96-98 %. Содержание пыли в очищенных газах по санитарным нормам не должно превышать 0,09 г/м3. Расход электроэнергии на очистку 1000 м3 газа 0,13-0,2 кВт·ч.

Очищенные газы дымососом через трубу выбрасываются в атмосферу. Уловленная пыль в зависимости от ее свойств используется по-разному. Если по химическому составу она мало отличается от шлама, то тем или иным способом ее возвращают в печь. При повышенном количестве в пыли щелочных соединений ее можно использовать в качестве местного вяжущего. При значительном содержании калийных соединений пыль применяют иногда в качестве удобрения в сельском хозяйстве.

Шлам, проходя через печь и подвергаясь воздействию газов все более высокой температуры, претерпевает ряд физических и физико-химических превращений. При 1300-15000С материал спекается, причем образуются клинкерные зерна размером до 15-30 мм и больше. Пройдя зону высоких температур, клинкер начинает охлаждаться потоками более холодного воздуха, поступающего из холодильника. Из печи он выходит с температурой 1000-11000С и направляется в колосниковый холодильник. Здесь он охлаждается до температуры 30-500С воздухом, проходящим через слой материала толщиной 20-25 см. Нагретый воздух из первого отделения холодильника частично направляется в зону горения топлива, а частично выбрасывается в атмосферу.

Охлажденный клинкер при периодических возвратно-поступательных движениях подвижных колосников перемещается вдоль холодильника и попадает на колосниковый грохот и далее в дробилку и бункер. Сюда же направляются и мелкие фракции клинкера, провалившиеся между колосниками, а также прошедшие через ячейки грохота.

В настоящее время на заводах, оснащенных вращающимися печами с часовой производительностью 25-100 т клинкера, преимущественно применяют колосниковые холодильники "Волга". Вращающиеся печи меньшей производительности оснащены так называемыми рекуператорными холодильниками клинкера.

Измельченный клинкер металлическими ячейковыми вибрационными и другими транспортерами подается на склад. Хранят клинкер в закрытых или открытых складах с учетом климатических условий. В последнее время для хранения клинкера используют силосные склады. Их вместимость рассчитана на трех - пятисуточную выработку предприятия. Организация складов той или иной вместимости определяется не только колебаниями в сбыте продукции, но иногда и необходимостью улучшить свойства клинкера. Известно, что во время его хранения (магазинирования) свободный оксид кальция, иногда содержащийся в материале, гасится влагой воздуха. Кроме того, если в клинкере имеется некоторое количество плохо стабилизированного β-C2S он переходит в γ-C2S. Эти процессы обычно благоприятно отражаются на размалываемости клинкера. Клинкер вращающихся печей, будучи хорошо обожжен и охлажден, может и не нуждаться в магазинировании, клинкер же шахтных печей приходится подвергать вылеживанию.

Со складов с помощью транспортных механизмов клинкер и добавки подают в бункера цементных мельниц для помола.

Процессы, протекающие при обжиге клинкера во вращающихся печах

Обжиг сырьевой смеси и получение клинкера сопровождаются сложными физическими и физико-химическими процессами, в результате которых из исходных компонентов образуются спекшиеся зерна, состоящие в основном из минералов C3S, β-C2S, C3A, C4AF и стекловидной фазы. Характер процессов, протекающих в сырьевой смеси, определяется температурой обжига. При этом необходимо обеспечить условия, способствующие получению клинкера с монадобластической микроструктурой, характеризующейся равномерным распределением в его объеме хорошо закристаллизованных алита и белита. Этому способствует повышенный коэффициент насыщения сырьевой смеси и оптимальная продолжительность выдержки клинкера в зоне высоких температур.

Шлам, попадая в печь, подвергается воздействию дымовых газов, имеющих значительную температуру (300-6000С). При этом начинается энергичное испарение воды, сопровождаемое постепенным загустеванием шлама. В дальнейшем, когда значительная часть воды уже испарилась, образуются крупные комья, которые затем распадаются на более мелкие частицы вследствие ухудшения связующих свойств глиняного компонента, а также разрыхляющего воздействия цепей.

При последующем движении по длине печи материал попадает в область более высоких температур. При 400-5000С в материале выгорают органические примеси и начинается дегидратация каолинита и других глинистых минералов с образованием Al2О3·2SiО2. Удаление из глины гидратной воды сопровождается потерей пластичности и связующих свойств, что приводит к распаду образовавшихся ранее комьев материала в подвижный порошок. Все эти процессы проходят в печи до температуры материала примерно 600-7000С. Участок печи, где вода испаряется и материал высыхает, называется зоной сушки.

Следующая зона, где происходит дегидратация глины и идет дальнейшее нагревание материала до 700-8000С, называется зоной подогрева. Эти две зоны занимают до 50-55 % длины печи.

При 750-8000С и выше в материале начинаются реакции в твердом состоянии между его составляющими. Вначале они едва заметны, однако с повышением температуры материала до 10000С и более интенсивность их резко возрастает. При 8000С в результате взаимодействия между компонентами, находящимися в твердой фазе, начинается сцепление отдельных частичек порошка и образование гранул разного размера. Повышению интенсивности реакций в твердом состоянии способствует тонкое измельчение материала и тесное смешение компонентов. При реакциях в твердом состоянии между карбонатом кальция и продуктами распада глинистых минералов образуются β-2CаО·SiO2, СаО·А12O3 и 2СаО·Fe2O3.

При 900-10000С резко усиливается разложение СаСО3 с образованием СаО и СО2. Участок печи, где разложение углекислого кальция идет наиболее интенсивно, т.е. в пределах 900-11000С, называется зоной кальцинирования. В этой зоне печи потребление теплоты наибольшее. Это обусловлено тем, что разложение СаСО3 является эндотермической реакцией, идущей с большим поглощением теплоты (1780 кДж на 1 кг СаСО3).

На участке вращающейся печи, где температура материала достигает 1000-11000С и где основная масса СаСО3 уже превратилась в свободную окись кальция и частично в C2S, СА и C2F (конец зоны кальцинирования), резко возрастает интенсивность реакций в твердом состоянии.

Реакции образования силикатов, алюминатов и ферритов кальция являются экзотермическими. В связи с этим интенсивное образование указанных соединений сопровождается значительным выделением теплоты (до 420 кДж на 1 кг клинкера), что приводит к интенсивному повышению температуры материала на 150-2000С на коротком участке печи (в несколько метров). Этот участок печи получил название экзотермической зоны. В зоне кальцинирования, особенно в экзотермической зоне, с повышением температуры материала возрастает скорость образования C2S, а также перехода СА в С5А3 и далее в С3А. К концу экзотермической зоны температура материала достигает примерно 13000С. К этому времени он состоит преимущественно из C2S, C3A, C4AF или C2F и некоторого количества СаОсвоб. При 13000С начинается спекание материала вследствие образования в нем расплава в количестве 20-30% объема начавшей спекаться массы. В начальный момент спекания в расплав переходят С3А, C4AF, MgO и СаО, в дальнейшем в нем начинает растворяться и двухкальциевый силикат C2S. При этом в жидкой фазе создаются благоприятные условия для образования основного минерала портландцемента - трехкальциевого силиката C3S из C2S и СаО. Это соединение плохо растворимо в расплаве, вследствие чего оно выделяется из него в виде мелких кристаллов, которые в последующем могут значительно увеличиваться в размерах. Выделение из расплава C3S сопровождается понижением в нем концентрации C2S и СаО, что приводит к переходу в расплав новых порций этих веществ, оставшихся в твердом состоянии в общей массе материала. Это, в свою очередь, обусловливает дальнейший ход процесса образования в расплаве и выделения из него С3S до почти полного связывания СаОсвоб. с C2S. Как уже отмечалось ранее, трехкальциевый силикат выделяется из расплава вместе с небольшими количествами А12О3 и MgO, образуя с ними твердый раствор, который называют алитом.

Участок печи, где проходит спекание материала и образование алита, называется зоной спекания. Здесь материал нагревается примерно от 1300 до 14500С, что способствует более быстрому усвоению СаО двухкальциевым силикатом и образованию алита. Оптимальная температура спекания зависит в основном от свойств исходных материалов, наличия в них различных примесей, тонкости измельчения и однородности смеси. Выдерживать материал при оптимальной температуре спекания нужно с надлежащей точностью, так как это отражается на качестве клинкера: с одной стороны, увеличение продолжительности выдержки материала в зоне спекания способствует более полному усвоению СаО, что улучшает качество клинкера; с другой, - оно может вызвать чрезмерное укрупнение кристаллов алита, отрицательно сказывающееся на его свойствах. Портландцементы с высокими физико-механическими показателями получают из клинкеров, в которых алит и белит характеризуются благоприятной кристаллической структурой, а содержание неусвоенного СаО не превосходит 0,5-1%.

Температура образования жидкой фазы и ее количество зависят от тех компонентов сырья, которые в процессе обжига образуют минералы-плавни (С3А, C4AF). Однако их содержание в клинкере ограничивается, так как при повышенном их количестве прочностные характеристики и стойкость затвердевшего портландцемента ухудшаются.

Для ускорения процесса клинкерообразования, особенно при изготовлении клинкеров с высоким содержанием C3S, применяют специальные добавки-минерализаторы (фтористый кальций CaF2, кремнефтористые натрий Na2SiF6 или магний MgSiF6, оксид железа в виде руды или колчеданных огарков, гипс и фосфогипс и др.).

После зоны спекания обжигаемый материал переходит в зону охлаждения -последний участок печи, где полученный клинкер охлаждается воздухом от 13000С до температуры, при которой выходит из печи (1000-11000С). До температуры примерно 13000С в нем присутствует еще жидкая фаза и продолжается реакция усвоения СаО и образования C3S. Затем жидкая фаза застывает и спекание заканчивается.

Обычно при охлаждении клинкера с 1450 до 13000С и ниже жидкая фаза в нем застывает частично в виде стекла, частично же при этом происходит кристаллизация из расплава С3А, C4AF, а также MgO (в виде периклаза). Степень закристаллизованности расплава зависит от скорости охлаждения материала после его выхода из зоны спекания.

Охлажденный клинкер в основном состоит из кристаллов минералов-силикатов (алита и белита) и промежуточного вещества, в которое входят стекло, минералы-плавни (С4AF, С3А, C5A3, а также оксидов кальция и магния (в виде кристаллов).

В зависимости от скорости охлаждения изменяется не только содержание стекловидной фазы, но и размеры кристаллов периклаза MgO. Медленно охлажденные клинкеры содержат крупные кристаллы MgO (до 30-40 мкм), которые могут вызвать неравномерность изменения объема цемента. В быстроохлажденных клинкерах большое количество MgO остается в стекле, а остальная часть, переходя в мелкокристаллическое состояние (до 8-10 мкм), почти не оказывает отрицательного влияния на равномерное изменение объема цемента при твердении.

Обычно из медленно охлажденного клинкера получается цемент с пониженной активностью, что объясняется пониженным содержанием стекловидной фазы. Цемент с высоким содержанием стекла часто обладает повышенной сульфатостойкостью вследствие того, что содержание трехкальциевого алюмината (в виде кристаллов) в нем снижается. Это следует учитывать при выборе клинкеров для изготовления сульфатостойких цементов и не ограничиваться данными о количестве С3А, получаемом расчетом по химическому составу. Цементы с повышенным содержанием стекла в клинкере характеризуются повышенной экзотермией.

Помол клинкера с добавками

Клинкер после охлаждения на промежуточном складе подается в расходный бункер, дозируется и направляется на помол.

Гипсовый камень с влажностью 9% со склада подается на первичное дробление в щековую дробилку, затем на вторичное дробление в молотковую дробилку. Подробленный гипсовый камень подсушивается в барабанной сушилке, направляется в расходный бункер, дозируется и направляется на помол.

Трепел с влажностью 10% со склада подается на двухстадийное дробление. Если используется плотная (камневидная) разновидность трепела, то первичное дробление осуществляется в щековой дробилке, а вторичное дробление в молотковой дробилке. Если используется рыхлая разновидность трепела, то первичное и вторичное дробление осуществляются в валковых дробилках. Подробленный трепел подсушивается в барабанной сушилке, направляется в расходный бункер, дозируется и направляется на помол.

Для помола клинкера с добавками применяют почти исключительно шаровые мельницы производительностью до 50-100 т/ч и более.

Клинкер размалывают по открытому или замкнутому циклу с применением одностадийного, а иногда и двухстадийного измельчения.

Длина шаровых мельниц, работающих по открытому циклу и называемых трубными (рис.3), в несколько раз превышает их диаметр (в 4-5 раз).

Рис. 3. Трубная мельница 1,5×5,6 м: 1 - загрузочная воронка, 2 - роликоопора, 3 - загрузочная часть, 4 - люк, 5 - барабан, 6 - разгрузочная часть, 7 - кожух разгрузки, 8 - эластичная муфта, 9 - редуктор, 10 - пальцевая муфта, 11 - электродвигатель, 12, 13 - камеры помола

На заводах применяют мельницы размерами 4×13,5, 3,2×15, 2,6×13 м и др. Их производительность при помоле клинкера до остатка 8-10% на сите № 008 достигает соответственно 90, 50, 25 т/ч. Первые две мельницы могут переключаться также на работу в замкнутом цикле с сепаратором. Трубные мельницы разделяют по длине дырчатыми перегородками на две, три и более камер. В многокамерные мельницы загружают шары нескольких размеров и цильпебс (цилиндрики) одного или двух размеров. При этом необходимо соответствие между удельной поверхностью мелющих тел и размалываемого материала во всех камерах. В первую камеру, где дробятся крупные зерна, помещают обычно более крупные стальные шары диаметром 60-120 мм (в зависимости от размера зерен поступающего клинкера). Вторую камеру заполняют шарами размером 40-60 мм, а третью - мелкими шарами 20-30 мм или цильпебсом размером 20-25 мм.

Большое влияние на производительность мельниц оказывает степень заполнения камер мелющими телами. Обычно камеру грубого измельчения заполняют на 26-32, среднего - на 26-30 и тонкого - на 24-30%. Однако правильность подбора мелющих тел и степень наполнения при помоле тех или иных материалов должны проверяться по эффективности работы мельницы. Расход мелющих тел при помоле известняка и клинкера вращающихся печей составляет ориентировочно 0,8 кг на 1 т продукта.

В шаровых мельницах с гладкими бронеплитами, загруженных шарами различного диаметра, мелющие тела во время работы расслаиваются тем больше, чем больше разница диаметров шаров. При этом более крупные шары скапливаются обычно у выходного конца той или иной камеры. Чтобы предотвратить это, мельницы футеруют сортирующими броневыми плитами. В этом случае барабан делят обычно на две камеры, причем камеры грубого и среднего измельчения объединяют в одну и загружают ее шарами различного диаметра. Сортирующие броневые плиты имеют ступенчатый профиль, благодаря чему внутри мельницы образуются конические кольца с углом подъема в сторону разгрузки материала, зависящим от диаметра шаров. Сортирующая конусно-ступенчатая футеровка обеспечивает непрерывную классификацию мелющих тел по длине мельницы, а также необходимую пропорциональность между размером мелющих тел и частицами измельчаемого материала.

При помоле материалов наблюдается значительное выделение теплоты, вызывающее нагревание мелющих тел и материала до 120-1500С и более, что отрицательно сказывается на производительности помольных установок. В связи с этим размалывать следует только холодный клинкер. Кроме того, большое значение приобретают приемы, способствующие уменьшению температуры материала при его измельчении. Для этого применяют вентиляцию мельниц, а также впрыскивают в них воду. Иногда используют и орошение водой корпуса мельницы снаружи. Вентиляция достигается просасыванием через барабан воздуха со скоростью 0,5-0,7 м/с с помощью аспирационной установки, в состав которой входят вентилятор, циклоны, а также рукавные фильтры или электрофильтр. В последних улавливаются тонкие частички, присоединяемые обычно к общей массе продукта.

Хранение, упаковка и отправка сульфатостойкого портландцемента

Цемент, выходящий из мельничной установки, взвешивают для учета эффективности ее работы, а затем направляют на склады с помощью пневмовинтовых или камерных насосов.

Хранят цемент обычно в железобетонных силосах диаметром 8-18 м и высотой 25-40 м. Вместимость их достигает 2500-10000 т и более. Силосы размещают блоками на колоннах или на железобетонной плите, уложенной прямо на грунт. Общая вместимость силосов соответствует обычно не менее 10-суточной производительности завода. Для учета массы цементов при их хранении в силосах принимается насыпная плотность портландцемента 1450 кг/м3.

Склад оборудуют подъездными путями, а также устройствами для взвешивания цемента, отправляемого в железнодорожных вагонах и автоцементовозах. В силосах устанавливают автоматически действующие измерители уровня цемента, а также пневматические устройства для разрыхления и выгрузки цемента, а иногда и для его гомогенизации. Для этой цели на дне силосов устанавливают воздухораспределительные коробки, занимающие 20-25% общей площади днища. Поверхность коробок покрыта воздухопроницаемыми керамическими плитками. Очищенный от влаги и масла воздух под давлением 0,2-0,3 МПа подается в эти коробки, проникает через плитки в цемент и аэрирует порошок, который становится текучим и легко перемещается к разгрузочным отверстиям. Выгружатели цемента, размещаемые в днище или в боковых стенках силосов, также снабжены устройствами для аэрации материала, что способствует быстрой его подаче в транспортные средства. С их помощью 60-тонные вагоны через гибкие рукава-шланги заполняются цементом в течение 15-20 мин. Отработанный воздух из силосов после очистки в фильтрах выбрасывается в атмосферу. Подобным же образом грузят цемент в специальные вагоны и автомобили-цементовозы разных типов. При всех условиях во время перевозки цемента необходимо предотвращать его увлажнение.

Основную массу цемента отправляют обычно с заводом потребителям в насыпном виде (навалом), но некоторая часть отгружается в пяти-шестислойных бумажных мешках. Упаковывают цемент в мешки в специальных отделениях с помощью упаковочных машин. До подачи в бункера машин цемент предварительно просеивают для отделения случайно попавших туда крупных предметов. Производительность современных машин 25-125 т/ч. Для лучшего заполнения мешков цементом их встряхивают. Заполненные мешки сбрасывают на конвейер. Все операции, за исключением навешивания мешков на соски, через которые засыпается материал, выполняются автоматически.

Для погрузки мешков в вагоны, автомобили, баржи и т. д. применяются специальные погрузчики производительностью до 2000 мешков в 1 ч.

На цемент, отправляемый потребителю, выдается специальный паспорт, в котором указываются завод-изготовитель, название цемента и его марка, вес партии и ряд других сведений в соответствии с нормативными документами.

.3 Выбор режима работы завода и расчет фондов времени работы оборудования и работников

Режим работы завода (цеха, отделения) характеризуется количеством рабочих дней в году, смен в сутки и длительностью смены в часах и устанавливается в соответствии с трудовым законодательством по нормам технологического проектирования предприятий вяжущих веществ.

Правильный выбор режима работы завода позволяет обеспечить выполнение производственной программы при оптимальных затратах рабочего времени и материальных ресурсов, энергии, что позитивно влияет на себестоимость готового продукта.

В зависимости от характера производства на заводе может быть принят двухсменный или трехсменный режим работы.

Двухсменный режим может быть принят только при прерывистом характере производственного процесса. При этом целесообразно делать две равно загруженные смены, а в третью выполнять ремонтные работы и подготовку оборудования к работе.

Трехсменный режим может использоваться как при прерывном, так и при непрерывном технологическом процессе. Необходимо учитывать, что третья смена наименее эффективна по производительности и наиболее опасна с точки зрения техники безопасности. Поэтому при проектировании нового завода с прерывистым технологическим циклом производства не рекомендуется использовать трехсменный режим работы.

Для непрерывного технологического процесса (например, обжиг клинкера во вращающейся печи) должен быть установлен трехсменный режим с четырех бригадным способом обслуживания: три бригады работают посменно, а четвертая отдыхает. Рабочая смена длится 8 ч.

Рекомендуются такие режимы работы завода:

-     для подготовительных (дробления и сортирования) отделений и помольных отделений - двухсменный с 262 рабочими днями в год;

-        для цеха обжига с вращающимися и шахтными печами - трехсменный с непрерывной неделей;

         для складов сырья и готовой продукции при использовании железнодорожного транспорта - трехсменный с 365 днями, а для автотранспорта - двух- или трехсменный с 262 рабочими днями в год.

Завод по производству сульфатостойкого портландцемента (мокрый способ) подразделяется на такие производственные цеха (отделения):

1.   склады сырья;

2.       подготовительное отделение;

.        цех сырьевого помола;

.        цех обжига;

.        цех основного помола;

.        склад цемента.

С учетом характера производственных процессов и соблюдения норм трудового законодательства принимаем такие режимы работы производственных цехов (отделений):

-     склады сырья, склад цемента и цех обжига - трехсменный с непрерывной неделей (365 рабочих дней в году, 3 смены в сутки, длительность смены - 8 ч);

-        подготовительное отделение, цех сырьевого помола и цех основного помола - двухсменный с прерывной неделей (262 рабочих дня в году, 2 смены в сутки, длительность смены - 8 ч).

Фонд рабочего времени - это норма рабочего времени за соответствующий учетный период (год, месяц, неделя и др.). Он зависит от режима работы.

Различают рабочие фонды рабочего времени работников и годовой фонд рабочего времени работы оборудования.

Существуют три вида фондов рабочего времени: календарный, номинальный и действительный.

Календарный фонд FК рабочего времени для единицы оборудования или одного работника определяется произведением календарных дней в году на 24 часа в сутки.

Принимая, что календарный год обычный (365 дней), определяем календарный фонд FК рабочего времени для единицы оборудования и одного работника, ч:


где    Д - количество дней в учетном периоде;

tСУТ - количество часов в сутках.

Номинальный (режимный) FН фонд времени зависит от количества рабочих дней в году и принятого режима (сменности) работы предприятия.

Определяем номинальный (режимный) FН фонд рабочего времени для одного работника, ч:


где    ДН - количество нерабочих (выходных и предпраздничных) дней за год;

tС - длительность рабочей смены, ч;

nС - принятый режим сменности работы предприятия (1,2, 3-я смены), при определении FН для рабочих nС =1.

Определяем номинальный (режимный) FН фонд рабочего времени оборудования на складах сырья, складе цемента и в цеху обжига, ч:


Определяем номинальный (режимный) FН фонд рабочего времени оборудования в подготовительном отделении, в цехе сырьевого помола и в цехе основного помола, ч:


Действительный (расчетный) FД фонд времени работника определяют из его номинального фонда времени с учетом отпуска и других плановых невыходов на работу. Длительность главного отпуска может составлять 15, 18, 24 суток. Продолжительность разных невыходов может приниматься от 0,2 до 12 суток. Принимая, что длительность отпуска составляет 18 суток, определяем действительный (расчетный) FД фонд рабочего времени для одного работника, ч:


де tn - неминуемые потери рабочего времени по уважительным причинам.

Действительный (расчетный) FД фонд времени работы оборудования определяется с учетом потерь времени на ремонт. Этот учет выполняется при помощи коэффициента использования оборудования:

-    для шаровых мельниц цехов помола - 0,83;

-       для цехов с вращающимися печами - 0,88;

-       для цехов дробления, сортирования, обогащения материала - 0,87.

Определяем действительный (расчетный) FД фонд рабочего времени оборудования на складах сырья, складе цемента и в цеху обжига, ч:


Определяем действительный (расчетный) FД фонд рабочего времени оборудования в подготовительном отделении, ч:


Определяем действительный (расчетный) FД фонд рабочего времени оборудования в цехе сырьевого помола и в цехе основного помола, ч:


Результати расчета времени (FК, FН, FД) заносим в табл. 4.

Таблица 4 - Фонд рабочего времени работника и оборудования

Наименование цеха, отделения, технологического передела

Характеристика режима работы

Фонд рабочего времени, ч


Коли-чество рабочих дней в году

Коли-чество смен в сутки

Дли-тель-ность смены

Кален-дарный FК

Номинальный FН

Действительный FД






для рабочих

для обору-дования

для рабочих

для обору-дования

склады сырья

365

3

8

8760

2096

8760

1950

7709

подготовительное отделение

262

2

8

8760

2096

4192

1950

3647

цех сырьевого помола

262

2

8

8760

2096

4192

1950

3479

цех обжига

365

3

8

8760

2096

8760

1950

7709

цех основного помола

262

2

8760

2096

4192

1950

3479

склад цемента

365

3

8

8760

2096

8760

1950

7709


2.4 Расчет потребности в сырье

Материальный баланс завода по производству сульфатостойкого портландцемента (мокрый способ)

1        Производственная мощность завода - N=350000 т/год.

2        Состав сырьевой смеси для получения клинкера:

2.1     известняк - 76%;

влажность известняка - 4,5%;

механические потери при дроблении - 1%.

2.2     глина - 22,5%;

влажность глины - 20,3%;

механические потери при дроблении - 1%.

2.3     огарки - 1,5%;

влажность огарков - 3%;

механические потери - 0,5%.

3        Состав сульфатостойкого портландцемента:

3.1     клинкер - 87%.

3.2     природный двуводный гипс - 5%;

влажность гипса - 9%;

механические потери при дроблении - 1%.

3.3     трепел - 8%;

влажность трепела - 10%;

механические потери при дроблении - 1%.

Потери цемента при помоле - 1,5%.

Годовое количество сульфатостойкого портландцемента - N=350000 т/год.

В помольном отделении должно быть помолото сульфатостойкого портландцемента (клинкер, гипс и трепел) больше, чем N, на величину потерь, которые равны 1,5%:

N1= N·1,015 = 350000·1,015 = 355250 т/год.

Поток сульфатостойкого портландцемента, перемалываемого в шаровой мельнице, состоит из потока клинкера - 87%, потока гипса - 5% и потока трепела - 8%. Тогда N1 принимаем за 100% и определяем количество клинкера (Кл), гипса (Г) и трепела (Т):

Кл = N1 · 87/100 = 355250 · 0,87 = 309067,5 т/год.

Г = N1 · 5/100 =355250 · 0,05 = 17762,5 т/год.

Т = N1 · 8/100 =355250 · 0,08 = 28420 т/год.

Чтобы определить количество природного двуводного гипса на сырьевом складе, нужно учесть потери гипса при его дроблении и влажность:

Г´= Г · 1,01 · 1,09 = 17762,5 · 1,01 · 1,09 = 19554,7 т/год.

Чтобы определить количество трепела на сырьевом складе, нужно учесть потери трепела при его дроблении и влажность:

Т´= Т · 1,01 · 1,1 = 28420 · 1,01 · 1,1 = 31574,6 т/год.

Необходимое количество клинкера можно получить обжигом сырьевых материалов: известняка - 76%, глины - 22,5% и огарков - 1,5%. Их количество можно определить с учетом потерь при обжиге (в известняке - 44%, в глине - 12%), а также потерь при дроблении, транспортировании каждого материала и их влажности. Таким образом, принимаем клинкер за 100%.

Тогда известняка в клинкера будет:

И = Кл · 76 / 100 = 309067,5 · 0,76 = 234891,3 т/год.

С учетом всех потерь известняка будет:

И´ = И · 1,44 · 1,01 · 1,045 = 234891,3 · 1,44 · 1,01 · 1,045 = 356999 т/год.

Это то количество известняка, которое должно быть доставлено на сырьевой склад.

Аналогично определяем количество глины:

Гл = Кл · 22,5 / 100 = 309067,5 · 0,225 =69540,2 т/год.

Гл´ = Гл · 1,12 · 1,01 · 1,203 = 69540,2 · 1,12 · 1,01 · 1,203 = 94632,6 т/год.

Аналогично определяем количество огарков:

О = Кл · 1,5 / 100 = 309067,5 · 0,015 = 4636 т/год.

О´ = О · 1,005 · 1,03 = 4636 · 1,005 · 1,03 = 4798,9 т/год.

Результаты расчета расхода материалов с учетом потерь за нормативные периоды времени (262×2×8) заносим в табл. 5.

Таблица 5 - Расход материалов

Материалы

Расход, т, за:



год

сутки

смену

час

1

Сульфатостойкий портландцемент

350000

1335,9

667,9

83,5

2

Известняк

356999

1362,6

681,3

85,2

3

Глина

94632,6

361,2

180,6

22,6

4

Огарки

4798,9

18,3

9,2

1,1

5

Клинкер

309067,5

1179,6

589,8

73,7

6

Гипс

19554,7

74,6

37,3

4,7

7

Трепел

31574,6

120,5

60,3

7,5

Расходная часть материального баланса определяет массу готового продукта и разного рода потерь в процессе переработки сырья.

Потери известняка И´ - И = 356999 - 234891,3 = 122107,7 т/год.

Потери глины Гл´ - Гл = 94632,6 - 69540,2 = 25092,4 т/год.

Потери огарков О´ - О = 4798,9 - 4636 = 162,9 т/год.

Потери гипса Г´ - Г = 19554,7 - 17762,5 = 1792,2 т/год.

Потери трепела Т´ - Т = 31574,6 - 28420 = 3154,6 т/год.

.5 Определения производительности каждого технологического передела

В соответствии с принятым режимом работы предприятия определяем производительность каждого технологического передела (в направлении, противоположном технологическому процессу).

Производительность технологических переделов с учетом потерь материала в единицу времени определяем по формулам:

; ; ,

где NГ - годовая производительность технологического передела с учетом потерь материала;

Д - количество дней;

n - количество смен;

tсм - длительность смены, ч.

. Производительность склада цемента:

NГ = N = 350000;

;  ;

. Производительность цеха основного помола:

NГ = N1 = 355250;

; ;

. Производительность цеха обжига:

NГ = Кл = 309067,5;

; ;

. Производительность цеха сырьевого помола:

NГ = И´ + Гл´ + О´ = 356999 + 94632,6 + 4798,9 = 456430;

; ;

. Производительность подготовительного цеха:

по известняку:

Г = И´ = 356999;

; ;

по глине:

NГ =Гл´= 94632,6;

; ;

по огаркам:

Г = О´ = 4798,9;

; ;

по гипсу:

Г = Г´ = 19554,7

; ;

по трепелу:

Г = Т´ = 31574,6

; ;

. Производительность склада известняка:

NГ = И´ = 356999;

; ;

. Производительность склада глины:

NГ =Гл´= 94632,6;

; ;

. Производительность склада огарков:

Г = О´ = 4798,9;

; ;

9. Производительность склада гипса:

NГ = Г´ = 19554,7

; ;

. Производительность склада трепела:

NГ = Т´ = 31574,6

; ;

Результаты расчетов заносим в табл. 6.

Таблица 6 - Производительность технологических переделов

№ п/п

Наименование технологического передела (цеха, отделения)

Единицы измерения, т

Расход за:




год

сутки

смену

час

1

Склад цемента

т

350000

958,9

319,6

39,9

2

Цех основного помола

т

355250

1355,9

677,9

84,7

3

Цех обжига

т

309067,5

846,8

282,3

35,3

4

Цех сырьевого помола

т

456430

1742

871

108,9

5

Подготовительное отделение

по известняку

т

356999

1362,6

681,3

85,2



по глине

т

94632,6

361,2

180,6

22,6



по огаркам

т

4798,9

18,3

9,2

1,1



по гипсу

т

19554,7

74,6

37,3

4,7



по трепелу

т

31574,6

120,5

60,3

7,5

6

Склад известняка

т

356999

978

326

40,8

7

Склад глины

т

94632,6

259,3

86,4

10,8

8

Склад огарков

т

4798,9

13,1

4,4

0,55

9

Склад гипса

т

19554,7

53,6

17,8

2,2

10

Склад трепела

т

31574,6

86,5

28,8

3,6


2.6 Расчет потребности в технологическом оборудовании        

1.       Щековая дробилка для дробления известняка.

Модель - СМ-166А.

Тип - со сложным движением щеки.

Производительность, м3/ч - 7…35.

Мощность электродвигателя, кВт·ч - 28.

Габаритные размеры, м: длина - 1,352; ширина - 1,835; высота - 1,23.

2.       Молотковая дробилка для дробления известняка.

Модель - СМ-19А.

Тип - однороторная, нереверсивная.

Производительность, т/ч - 34…54.

Мощность электродвигателя, кВт·ч - 125.

Габаритные размеры, м: длина - 2,23; ширина - 1,74; высота - 1,515.

3.       Валковая дробилка для измельчения глины.

Модель - СМ-438.

Тип - зубчатая.

Производительность, т/ч - 30.

Мощность электродвигателя, кВт·ч - 28.

Габаритные размеры не приведены.

4.       Глиноболтушка.

Модель - СМ-499.

Диаметр бассейна, м - 12.

Емкость резервуара, м3 - 200.

Производительность, т/ч - 36.

Мощность электродвигателя, кВт·ч - 75.

5.       Шаровая мельница для мокрого помола сырья.

Размеры шаровой мельницы, м - 3,2×15.

Тип - трубная, многокамерная.

Способ помола - мокрый.

Производительность, т/ч - 70 (открытый цикл).

Мощность электродвигателя, кВт·ч - 2000.

6.       Вращающаяся печь для обжига клинкера.

Размеры печи, м - 4×150.

Тип - вращающаяся.

Производительность, т/сут - 850.

Мощность электродвигателя, кВт·ч - 320.

Удельный расход тепла на обжиг, ккал/кг клинкера - 1400.

7.       Холодильник для охлаждения клинкера.

Модель - "Волга - 35С".

Тип - колосниковый.

Производительность, т/ч - 35.

Температура поступающего материала, 0С - 1200-1300.

Температура выходящего материала, 0С - 50-80.

Удельный расход мощности, кВт·ч/т клинкера - 6.

8.       Щековая дробилка для дробления гипса.

Модель - С-182Б.

Тип - со сложным движением щеки.

Производительность, м3/ч - 3,5…14.

Мощность электродвигателя, кВт·ч - 22.

Габаритные размеры, м: длина - 1,33; ширина - 1,202; высота - 1,414.

9.       Молотковая дробилка для дробления гипса.

Модель - СМ-431.

Тип - однороторная, нереверсивная.

Производительность, т/ч - 10…14.

Мощность электродвигателя, кВт·ч - 55.

Габаритные размеры, м: длина - 1,494; ширина - 1,255; высота - 1,23.

10.     Щековая дробилка для дробления трепела.

Модель - С-182Б.

Тип - со сложным движением щеки.

Производительность, м3/ч - 3,5…14.

Мощность электродвигателя, кВт·ч - 22.

Габаритные размеры, м: длина - 1,33; ширина - 1,202; высота - 1,414.

11.     Молотковая дробилка для дробления трепела.

Модель - СМ-431.

Тип - однороторная, нереверсивная.

Производительность, т/ч - 10…14.

Мощность электродвигателя, кВт·ч - 55.

Габаритные размеры, м: длина - 1,494; ширина - 1,255; высота - 1,23.

12.     Шаровая мельница для сухого помола клинкера с добавками.

Размеры шаровой мельницы, м - 3,2×15.

Тип - трубная, многокамерная.

Способ помола - сухой.

Производительность, т/ч - 50 (открытый цикл), 76 - (замкнутый цикл).

Мощность электродвигателя, кВт·ч - 2000.

Результаты расчетов потребности в технологическом оборудовании заносим в табл.7.

Таблица 7 - Расчет потребности в технологическом оборудовании

Наименование оборудования

Расчет

1

Щековая дробилка для дробления известняка СМ-166А

2

2

Молотковая дробилка для дробления известняка СМ-19А

2

3

Валковая дробилка для измельчения глины СМ-438

1

4

Глиноболтушка СМ-499

1

5

Шаровая мельницадля мокрого помола сырья3,2×15 м

2

6

Вращающаяся печьдля обжига клинкера4×150 м

1

7

Холодильникдля охлаждения клинкера"Волга-35С"

1

8

Щековая дробилкадля дробления гипсаС-182Б

1

9

Молотковая дробилкадля дробления гипсаСМ-431

1

10

Щековая дробилкадля дробления трепелаС-182Б

1

11

Молотковая дробилка для дробления трепела СМ-431

1

12

Шаровая мельница для сухого помола клинкера с добавками 3,2×15 м

1


2.7 Расчет общезаводских и цеховых складов

На заводе по производству сульфатостойкого портландцемента располагаются склады сырья (известняка, глины, огарков, гипса, трепела), склад готовой продукции (сульфатостойкого портландцемента), а также цеховые и промежуточные склады, склады топлива и др.

Нормы хранения материалов на складах устанавливаются в зависимости от потребления материалов производством и составляют, сут:

-    для известняка, глины, огарков, гипса, клинкера - 5;

-       для трепела - 7...15;

-       для сульфатостойкого портландцементу - 10...15.

Склады сырья - это склады известняка, глины, огарков, гипса и трепела.

Все эти сырьевые материалы, за исключением огарков, хранятся на открытых складах штабельного типа.

Общую площадь складов сырья рассчитывают по формуле, м2:

,

де     Nсут - суточная потребность в материалах, т/сут;

n - норма хранения, сут;

γн - насыпная плотность материала,т/м3;ск - норма складирования материала на полезной площади склада, м32.

Полная площадь склада учитывает проходы между штабелями и площадками для работ погрузочно-разгрузочной техники, которые занимают 30...40% полезной площади склада, м2:

 (або 0,7)

Общая площадь склада известняка, м2:


Полная площадь склада известняка, м2:


Общая площадь склада глины, м2:


Полная площадь склада глины, м2:


Общая площадь склада гипса, м2:


Полная площадь склада гипса, м2:


Общая площадь склада трепела, м2:


Полная площадь склада трепела, м2:


Огарки хранятся на закрытом складе бункерного типа.

Определяем емкость склада бункерного типа, который используется для хранения огарков, м3:


Если принять, что используются бункера емкостью VБ=10 м3, то для складирования огарков понадобится бункеров, шт:


Склад готовой продукции представляет собой хранилище, которое выполнено из железобетона или металла в форме цилиндра. Это - силосы, имеющие диаметр Ø 8, 10, 12, 15, 18 м при соотношении Н/ Ø = 1,5-2.

Наиболее экономичны силосы диаметром 10...12 м, их емкость 1200...1500 т. Для цемента каждого вида, каждой марки предусматриваются отдельные силосы. Силосы располагают блоками в два и более ряда, по 4-5 силосов в каждом ряду или строят в одну линию на колоннах вдоль железнодорожной колеи или на железобетонных плитах на грунте.

Расчет количества силосов для складирования сульфатостойкого цемента:

1.  Принимая, что диаметр силоса Д=10 м, высота силоса Н=15 м, коэффициент заполнения силоса К=0,9, определяем объем одного силоса, м3:


2.  Принимая, что суточное количество цемента NСУТ=958,9 т/сут, норма хранения цемента на складе n=12 сут, насыпная плотность цемента γН=1,45 т/м3, определяем объем цемента, который хранится на складе, м3:

сульфатостойкий портландцемент оборудование сырье


3.  Определяем количество силосов, необходимых для хранения сульфатостойкого портландцемента, шт:


3. Контроль технологического процесса и качества выпускаемой продукции

Получать цемент высокого качества на современных заводах можно, только строго соблюдая все технологические требования и правила осуществляя производственный цикл при установленных оптимальных режимах работы всех механизмов и установок. Большое значение при этом имеют контроль производства, в процессе которого определяют качество исходных материалов и соответствие их свойств требованиям норм и технических условий; выявляют свойства материалов и полуфабрикатов на всех стадиях производства и устанавливают их соответствие тем показателям, которые обеспечивают получение продукции требуемого качества; наблюдают за работой приборов, механизмов и установок в заданных оптимальных режимах, обеспечивающих качественную переработку материалов при наилучших технико-экономических показателях; определяют свойства получаемого цемента и их соответствие требованиям стандарта.

Контролировать производство нужно систематически на всех стадиях с помощью современных методов и приборов, обеспечивающих точность и возможность автоматизации контрольных операций. Быстрое вмешательство в ход производственных процессов позволяет устранять отклонения от заданных режимов и параметров и оптимизировать их.

Действенность производственного контроля зависит от правильного выбора мест отбора проб и определения технологических параметров (температура, влажность, подвижность смесей и т. д.); соответствия свойств пробы свойствам материала, а также от периодичности отбора проб и их величины.

В настоящее время созданы способы автоматического отбора проб материалов в процессе их переработки. Частота операций отбора проб и величина последних зависят от степени однородности материалов, размера потока, гранулометрии (при кусковых материалах) и других условий. Отбор и подготовка проб проводятся по стандартной методике.

Исходные материалы контролируют по химическому составу, содержанию СаСО3 (титр) в известняке и влажности сырья.

В сырьевом отделении проверяют состав смесей, тонкость их измельчения, влажность, текучесть и однородность титра. При производстве цементов становится обычным также контроль содержания в сырьевых смесях СаО, SiО2, A1203, Fe203.

Качество клинкера определяют часто по его насыпной плотности, которая при правильном составе сырьевой смеси и надлежащем обжиге во вращающейся печи (мокрый способ) колеблется обычно в пределах 1550-1650 г/л. Определяют также количество СаОсвоб, которое не должно превышать 1% для обычного клинкера и 0,2-0,3 % для быстротвердеющего.

Контроль при помоле клинкера с добавками сводится к проверке соотношения по массе между клинкером, гипсом и другими компонентами, соответствия степени измельчения цемента нормативам, контролю температуры клинкера и получаемого продукта и к другим определениям.

Правила приемки

Приемку цементов производят в соответствии с ГОСТ 22236-76 (с изм.).

Контроль на радиационную активность цемента и выдачу сертификата радиационного качества выполняют по РБН 356-91.

Методы испытаний

Определение физико-механических свойств цемента проводят в соответствии с ГОСТ 310.1-76, ГОСТ 310.2-76, ГОСТ 310.3-76, ГОСТ 310.4-81.

Допускается по требованию потребителя дополнительно проводить физико-механические испытания цемента по EN 196-1, EN 196-3, EN 196-6.

Химический анализ цемента осуществляют в соответствии с ГОСТ 5382-91.

Количество добавок в цементе определяют по отраслевой инструкции.

Наличие признаков ложного схватывания проверяют в соответствие с отраслевой инструкцией.

Пакетирование, маркирование, транспортирование и сбережение проводят в соответствие с ГОСТ 22237-85.

Гарантии изготовителя

Завод-изготовитель гарантирует соответствие цемента всем требованиям ДСТУ Б В.2.7-46-96 при соблюдении правил его транспортирования и сбережения: при поставке в таре - на протяжении 45 сут после отгрузки для цементов с высокой прочностью в раннем возрасте и 60 сут для остальных цементов; при поставе навалом - на момент получения цемента потребителем, но не больше 45 сут после отгрузки для цементов с высокой прочностью и 60 сут - для остальных цементов.

Заказчик по договоренности с изготовителем может получить дополнительную, кроме представленной в паспорте информации, информацию про характеристику данной партии цемента.

4. Охрана труда, окружающей среды и техника Безопасности

При большой насыщенности предприятий цементной промышленности сложными механизмами и установками по добыче и переработке сырья, обжигу сырьевых смесей и измельчению клинкера, перемещению, складированию и отгрузке огромных масс материалов, наличию большого количества электродвигателей особое внимание при проектировании заводов и их эксплуатации должно уделяться созданию благоприятных и безопасных условий для работы трудящихся. Охрану труда следует осуществлять в полном соответствии с "Правилами по технике безопасности и производственной санитарии на предприятиях цементной промышленности".

Поступающие на предприятия рабочие должны допускаться к работе только после обучения их безопасным приемам работы и инструктажа по технике безопасности. Ежеквартально необходимо проводить дополнительный инструктаж и ежегодно повторное обучение по технике безопасности непосредственно на рабочем месте.

На действующих предприятиях необходимо оградить движущиеся части всех механизмов и двигателей, а также электроустановки, приямки, люки, площадки и т. п. Должны быть заземлены электродвигатели и электрическая аппаратура.

Установки по приготовлению угольной пыли должны работать под разрежением. Температура аэроугольной смеси при выходе из мельницы не должна превышать для тощих углей 100, подмосковных - 80, длиннопламенных и бурых - 70°С. Нельзя подсушивать пыль до влажности ниже гигроскопической.

Обслуживание дробилок, мельниц, печей, силосов, транспортирующих и погрузочно-разгрузочных механизмов должно осуществляться в соответствии с правилами безопасной работы у каждой установки.

Большое внимание следует уделять обеспыливанию воздуха и отходящих газов печей и сушильных установок для создания нормальных санитарно-гигиенических условий труда. В соответствии с санитарными нормами проектирования промышленных предприятий концентрация в воздухе помещений цементной и остальных видов пыли не должна превышать 0,04 мг/м3.

Содержание в воздухе СО не допускается более 0,03, сероводорода - более 0,02 мг/м3. В воздухе, выбрасываемом в атмосферу, концентрация пыли не должна быть более 0,06 г/м3. При нормальной эксплуатации пылеочистных систем содержание пыли в выбрасываемом воздухе составляет 0,04 - 0,06 г/м3.

Для создания нормальных условий труда все помещения цементных заводов надо обеспечивать системами искусственной и естественной вентиляции. Этому в большой мере способствует герметизация тех мест, где происходит пылевыделение, а также отсос воздуха из бункеров, течек, дробильно-помольных механизмов, элеваторов и т.п.

Воздух, отбираемый из цементных мельниц, очищают с помощью рукавных или электрофильтров. Перед ними при значительной концентрации пыли в аспирируемом воздухе необходимо устанавливать циклоны. Важно не допускать просасывание через 1 м2 ткани фильтров более 60-70 м3 воздуха в 1 ч. Для очистки воздуха, отсасываемого из камер сырьевых мельниц, обычно устанавливают циклон и электрофильтр, соединенные последовательно. Воздух из сепаратора мельниц и головок элеваторов для очистки пропускается через рукавный фильтр.

Отходящие газы цементных печей необходимо очищать для предотвращения загрязнения окружающей среды. Для этого устанавливают электрофильтры. Если же отходящие газы содержат значительное количество пыли (более 25-30 г/м3), то их сначала пропускают через батарею циклонов.

Шум, возникающий при работе многих механизмов на цементных заводах, характеризуется зачастую высокой интенсивностью, превышающей допустимую норму (90 дБ). Особенно неблагоприятны в этом отношении условия работы персонала в помещениях молотковых дробилок, сырьевых и цементных мельниц, компрессоров, где уровень звукового давления достигает 95-105 дБ, а иногда и более. К числу мероприятий по снижению шума у рабочих мест относят применение демпфирующих прокладок между внутренней стенкой мельничных барабанов и бронефутеровочными плитами, замену в сырьевых шаровых мельницах стальных плит резиновыми. При этом звуковое давление снижается на 5-12 дБ. Укрытие мельниц и дробилок шумоизолирующими кожухами, облицовка источников шума звукопоглощающими материалами также дает хороший эффект (снижение на 10-12 дБ).

ИСПОЛЬЗОВАННАЯ ЛИТЕРАТУРА

1        Волженский А.В. Минеральные вяжущие вещества. - М.: Стройиздат, 1986.

2        Сапожников М.Я. Справочник по оборудованию заводов строительных материалов. - М.: Стройиздат, 1970.

         Колокольников В.С. Производство цемента. - М. :Высш. шк., 1970.

         Справочник по проектированию цементных заводов /Под ред. С.Н.Данюшевского. - М.: Стройиздат, 1969.

5        Методичні вказівки для виконання курсового проекту з дисципліни "В’яжучі речовини" для студентів спеціальності 7.092104 "Технологія будівельних конструкцій, виробів і матеріалів"/ Укладачі: Л.П.Шевченко, К.В.Латорець - Харків: ХДТУБА, 2007. - 32 с.

         ГОСТ 21.101-79 - 21. 108-78. Стандарты СПДС.

         ГОСТ 2.301 - 68 - 2.317-68 . Стандарты ЕСКД.

8        ДСТУ Б В 2.7-46-96. Будівельні матеріали. Цементи загально будівельного призначення. Технічні умови.

ПРИЛОЖЕНИЕ. Экспликация

№ п/п

Наименование

Количество

Примечание

1

Железнодорожный транспорт



2

Склад известняка



3

Склад глины



4

Склад огарков



5

Склад гипса



6

Склад трепела



7

Ленточный транспортер



8

Щековая дробилка для дробления известняка СМ-166А

2


9

Молотковая дробилка для дробления известняка СМ-19А

2


10

Валковая дробилка для измельчения глины СМ-438

1


11

Бак с водой



12

Глиноболтушка СМ-499

1


13

Пневмотранспорт



14

Расходные бункера известняка, глины и огарков



15

Автоматические весовые дозаторы



16

Шаровая мельница для мокрого помола сырья 3,2×15 м

2


17

Вертикальные шламбассейны



18

Горизонтальный шламбассейн



19

Расходный резервуар шлама с дозатором



20

Электрофильтр



21

Система возврата пыли



22

Дымосос



23

Вращающаяся печь для обжига клинкера 4×150 м

1


24

Система подачи и поджигания топлива



25

Холодильник для охлаждения клинкера "Волга-35С"

1


26

Склад клинкера



27

Щековая дробилка для дробления гипса С-182Б

1


28

Молотковая дробилка для дробления гипса СМ-431

1


29

Сушильный барабан для сушки гипса



30

Щековая дробилка для дробления трепела С-182Б

1


31

Молотковая дробилка для дробления трепела СМ-431

1


32

Сушильный барабан для сушки трепела



33

Расходные бункера клинкера, гипса, трепела



34

Шаровая мельница для сухого помола 3,2×15 м

1


35

Система пылеосаждения



36

Силосный склад сульфатостойкого портландцемента




Похожие работы на - Производство сульфатостойкого портландцемента

 

Не нашли материал для своей работы?
Поможем написать уникальную работу
Без плагиата!
Без нейросетей!