Технология и потребительские свойства инструментальной углеродистой стали

  • Вид работы:
    Дипломная (ВКР)
  • Предмет:
    Другое
  • Язык:
    Русский
    ,
    Формат файла:
    MS Word
    734,01 kb
  • Опубликовано:
    2011-12-12
Вы можете узнать стоимость помощи в написании студенческой работы.
Помощь в написании работы, которую точно примут!

Технология и потребительские свойства инструментальной углеродистой стали

Реферат


Тема работы: Технология и потребительские свойства инструментальной углеродистой стали.

Целью работы является закрепление знаний по технологии и товароведению промышленной продукции и развитие практических навыков самостоятельной работы с нормативно-технической документацией, классификаторами.

Работа содержит:____ страницы, 3 таблицы, 9 рисунков

Ключевые слова: инструментальная углеродистая сталь, потребительские свойства углеродисто стали, технология производства, марки стали.

Определены потребительские свойства инструментальной углеродистой стали ее классификационные признаки, изучены соответствующие стандарты.

Изучены вопросы контроля качества изделий из инструментальной углеродистой стали.

1. Применение инструментальной углеродистой стали в сфере производства или потребления


Инструментальная углеродистая сталь - сталь с содержанием углерода от 0,7 % и выше. Эта сталь отличается высокой твёрдостью и прочностью (после окончательной термообработки) и применяется для изготовления инструмента. Инструментальная углеродистая сталь делится на качественную и высококачественную. Содержание серы и фосфора в качественной инструментальной стали - 0,03 % и 0,035 %, в высококачественной - 0,02 % и 0,03 % соответственно.

Углеродистые инструментальные стали являются наиболее дешевыми. Как правило, их применяют для изготовления малоответственного режущего инструмента, работающего при малых скоростях резания и не подвергаемого разогреву во время эксплуатации. Ниже рассмотрены марки стали и их применение в сфере производства и потребления.

Сталь У7

·        для изготовления инструмента для обработки дерева (топоров, колунов, стамесок, долот);

·        для изготовления пневматических инструментов небольших размеров (зубил, обжимок, бойков);

·        для изготовления кузнечных штампов;

·        для изготовления игольной проволоки;

·        для изготовления слесарно-монтажных инструментов (молотков, кувалд, бородок, отверток, комбинированных плоскогубцев, острогубцев, боковых кусачек и др.).

Сталь У7А

·        для изготовления инструмента для обработки дерева (топоров, колунов, стамесок, долот);

·        для изготовления пневматических инструментов небольших размеров (зубил, обжимок, бойков);

·        для изготовления кузнечных штампов;

·        для изготовления игольной проволоки;

·        для изготовления слесарно-монтажных инструментов (молотков, кувалд, бородок, отверток, комбинированных плоскогубцев, острогубцев, боковых кусачек и др.);

·        для изготовления холоднокатаной термообработанной ленты толщиной 0,05-1,30 мм и плющеной термообработанной ленты толщиной 0,15-2,00 мм предназначенной для изготовления пружинящих деталей и пружин, за исключением заводных;

·        для изготовления измерительных лент.

Сталь У8

·        для изготовления инструментов, работающих в условиях, не вызывающих разогрева режущей кромки;

·        для изготовления инструмента для обработки дерева (фрез, зенковок, цековок, топоров, стамесок, долот, продольных и дисковых пил);

·        для изготовления накатных роликов, плит и стержней для форм литья под давлением оловянно-свинповистых сплавов;

·        для изготовления калибров простой формы и пониженных классов точности;

·        для изготовления холоднокатаной термообработанной ленты толщиной от 2,5 до 0,02 мм, предназначенной для изготовления плоских и витых пружин и пружинящих деталей сложной конфигурации (клапанов, щупов, берд, ламелей двоильных ножей, конструкционных мелких деталей, в том числе для часов, и т.д.

Сталь У8А

·        для изготовления инструментов, работающих в условиях, не вызывающих разогрева режущей кромки;

·        для изготовления инструмента для обработки дерева (фрез, зенковок, цековок, топоров, стамесок, долот, продольных и дисковых пил);

·        для изготовления накатных роликов, плит и стержней для форм литья под давлением оловянно-свинповистых сплавов;

·        для изготовления калибров простой формы и пониженных классов точности;

·        для изготовления холоднокатаной термообработанной ленты толщиной от 2,5 до 0,02 мм, предназначенной для изготовления плоских и витых пружин и пружинящих деталей сложной конфигурации (клапанов, щупов, берд, ламелей двоильных ножей), конструкционных мелких деталей, в том числе для часов, и т.д.

·        для изготовления холоднокатаной термообработанной ленты толщиной 0,05-1,30 мм и плющеной термообработанной ленты толщиной 0,15-2,00 мм предназначенной для изготовления пружинящих деталей и пружин, за исключением заводных;

·        для изготовления измерительных лент.

Сталь У8Г

·        для изготовления инструментов, работающих в условиях, не вызывающих разогрева режущей кромки;

·        для изготовления инструмента для обработки дерева (фрез, зенковок, цековок, топоров, стамесок, долот, продольных и дисковых пил);

·        для изготовления накатных роликов, плит и стержней для форм литья под давлением оловянно-свинповистых сплавов;

·        для изготовления калибров простой формы и пониженных классов точности;

·        для изготовления холоднокатаной термообработанной ленты толщиной от 2,5 до 0,02 мм, предназначенной для изготовления плоских и витых пружин и пружинящих деталей сложной конфигурации (клапанов, щупов, берд, ламелей двоильных ножей, конструкционных мелких деталей, в том числе для часов, и т.д.

·        для изготовления холоднокатаной ленты 0,95х327 мм, предназначенной для производства пил хлопкоочистительных машин.

Сталь У8ГА

·        для изготовления инструментов, работающих в условиях, не вызывающих разогрева режущей кромки;

·        для изготовления инструмента для обработки дерева (фрез, зенковок, цековок, топоров, стамесок, долот, продольных и дисковых пил);

·        для изготовления накатных роликов, плит и стержней для форм литья под давлением оловянно-свинповистых сплавов;

·        для изготовления калибров простой формы и пониженных классов точности;

·        для изготовления холоднокатаной термообработанной ленты толщиной от 2,5 до 0,02 мм, предназначенной для изготовления плоских и витых пружин и пружинящих деталей сложной конфигурации (клапанов, щупов, берд, ламелей двоильных ножей, конструкционных мелких деталей, в том числе для часов, и т.д.

·        для изготовления измерительных лент.

Сталь У9

·        ). для изготовления инструментов, работающих в условиях, не вызывающих разогрева режущей кромки;

·        для изготовления инструмента для обработки дерева (фрез, зенковок, цековок, топоров, стамесок, долот, продольных и дисковых пил);

·        для изготовления накатных роликов, плит и стержней для форм литья под давлением оловянно-свинповистых сплавов;

·        для изготовления калибров простой формы и пониженных классов точности;

·        для изготовления холоднокатаной термообработанной ленты толщиной от 2,5 до 0,02 мм, предназначенной для изготовления плоских и витых пружин и пружинящих деталей сложной конфигурации (клапанов, щупов, берд, ламелей двоильных ножей, конструкционных мелких деталей), в том числе для часов, и т.д.

Сталь У9А

·        для изготовления инструментов, работающих в условиях, не вызывающих разогрева режущей кромки;

·        для изготовления инструмента для обработки дерева (фрез, зенковок, цековок, топоров, стамесок, долот, продольных и дисковых пил);

·        для изготовления накатных роликов, плит и стержней для форм литья под давлением оловянно-свинповистых сплавов;

·        для изготовления калибров простой формы и пониженных классов точности;

·        для изготовления холоднокатаной термообработанной ленты толщиной от 2,5 до 0,02 мм, предназначенной для изготовления плоских и витых пружин и пружинящих деталей сложной конфигурации (клапанов, щупов, берд, ламелей двоильных ножей, конструкционных мелких деталей), в том числе для часов, и т.д.

·        для изготовления холоднокатаной термообработанной ленты толщиной 0,05-1,30 мм и плющеной термообработанной ленты толщиной 0,15-2,00 мм для изготовления пружинящих деталей и пружин, за исключением заводных.

Сталь У10

·        для изготовления игольной проволоки; инструментов, работающих в условиях, не вызывающих разогрева режущей кромки;

·        для изготовления инструмента для обработки дерева (ручных поперечных и столярных пил, машинных столярных пил, спиральных сверл);

·        для изготовления деталей штампов холодной штамповки (вытяжных, высадочных, обрезных и вырубных) небольших размеров и без резких переходов по сечению;

·        для изготовления калибров простой формы и пониженных классов точности;

·        для изготовления накатных роликов, напильников, слесарных шаберов;

·        для изготовления холоднокатаной термообработанной ленты толщиной от 2,5 до 0,02 мм, предназначенной для изготовления плоских и витых пружин и пружинящих деталей сложной конфигурации (клапанов, щупов, берд, ламелей двоильных ножей, конструкционных мелких деталей, в том числе для часов, и т.д.

·        для изготовления сердечников;

·        для изготовления игольной проволоки;

·        для изготовления инструментов, работающих в условиях, не вызывающих разогрева режущей кромки;

·        для изготовления инструмента для обработки дерева (ручных поперечных и столярных пил, машинных столярных пил, спиральных сверл);

·        для изготовления деталей штампов холодной штамповки (вытяжных, высадочных, обрезных и вырубных) небольших размеров и без резких переходов по сечению; калибров простой формы и пониженных классов точности;

·        для изготовления накатных роликов, напильников, слесарных шаберов;

·        для изготовления холоднокатаной термообработанной ленты толщиной от 2,5 до 0,02 мм, предназначенной для изготовления плоских и витых пружин и пружинящих деталей сложной конфигурации (клапанов, щупов, берд, ламелей двоильных ножей, конструкционных мелких деталей, в том числе для часов, и т.д.

·        для изготовления термообработанной ленты толщиной 0,35-0,70 мм предназначенной для изготовления голосовых язычков музыкальных инструментов;

·        для изготовления холоднокатаной термообработанной ленты толщиной 0,05-1,30 мм и плющеной термообработанной ленты толщиной 0,15-2,00 мм для изготовления пружинящих деталей и пружин, за исключением заводных;

·        для изготовления измерительных лент.

Сталь У11

·        для изготовления метчиков ручных, рашпилей, надфилей, пил для обработки древесины, матриц для холодной штамповки, топоров, калибров простой формы и пониженных классов точности.

Сталь У11А

·        для изготовления метчиков ручных, рашпилей, надфилей, пил для обработки древесины, матриц для холодной штамповки, топоров, калибров простой формы и пониженных классов точности.

Сталь У12

·        для изготовления ручных метчиков, напильников, слесарных шаберов;

·        для изготовления деталей штампов холодной штамповки обрезных и вырубных небольших размеров и без переходов по сечению;

·        для изготовления холодновысадочных пуансонов и штемпелей мелких размеров;

·        для изготовления калибров простой формы и пониженных классов точности;

·        для изготовления инструментов с пониженной износостойкостью при умеренных и значительных удельных давлениях (без разогрева режущей кромки): напильников, бритвенных лезвий и ножей, острых хирургических инструментов, шаберов, гравировальных инструментов.

Сталь У12А

·        для изготовления сердечников;

·        для изготовления ручных метчиков, напильников, слесарных шаберов;

·        для изготовления деталей штампов холодной штамповки обрезных и вырубных небольших размеров и без переходов по сечению;

·        для изготовления холодновысадочных пуансонов и штемпелей мелких размеров;

·        для изготовления калибров простой формы и пониженных классов точности;

·        для изготовления инструментов с пониженной износостойкостью при умеренных и значительных удельных давлениях (без разогрева режущей кромки): напильников, бритвенных лезвий и ножей, острых хирургических инструментов, шаберов, гравировальных инструментов;

·        для изготовления холоднокатаной термообработанной ленты толщиной 0,05-1,30 мм и плющеной термообработанной ленты толщиной 0,15-2,00 мм для изготовления пружинящих деталей и пружин, за исключением заводных.

Сталь У13

·        для изготовления инструмента повышенной износостойкости, работающего при умеренных и значительных давлениях без разогрева режущей кромки

Сталь У13А

·        для изготовления инструмента повышенной износостойкости, работающего при умеренных и значительных давлениях без разогрева режущей кромки.

Инструментальная углеродистая сталь не применяется для сварных конструкций.

2. Классификационные признаки инструментальной углеродистой стали


По химическому составу инструментальная углеродистая сталь делиться на качественную и высококачественную - А. Содержание серы и фосфора в качественной инструментальной стали - 0,03% и 0,035%, в высококачественной - 0,02% и 0,03% соответственно.

Сталь инструментальная углеродистая выпускается горячекатаная, кованая, калиброванная со специальной отделкой поверхности: серебрянка в виде полос, прутков, слитков, сердечников и другой продукции (ГОСТ 1435-94).

По способу дальнейшей обработки инструментальную углеродистую сталь можно поделить на: прокат горячекатаный и кованный для горячей обработки давлением (осадки, выточки); прокат для холодной механической обработки (обточки, фрезерования).

По назначению инструментальную углеродистую сталь можно разделить на: быстрорежущую - Р; шарикоподшипниковую - Ш; электротехническую - Э.

По назначению в зависимости от массовой доли хрома, никеля и меди описываемый товар используется для: - продукции всех видов, кроме патентированной проволоки и ленты;

патентированной проволоки и ленты; для продукции всех видов, изготавливающейся с многократными нагревами, усиливающими возможность проявления графитизации стали;

продукции, от которой требуется повышенная прокаливаемость (кроме проката для сердечников, патентированной проволоки и ленты).

По состоянию материала инструментальную углеродистую сталь можно разделить на: сталь без термической обработки; термически обработанную сталь - ТО и нагартованный прокат - НГ (для прутков калиброванных и со специальной отделкой поверхности).

3. Потребительские свойства инструментальной углеродистой стали


На долю углеродистых сталей приходится 80% от общего объема. Это объясняется тем, что углеродистые стали дешевы и сочетают удовлетворительные механические свойства с хорошей обрабатываемостью резанием и давлением. При одинаковом содержании углерода по обрабатываемости резанием и давлением они значительно превосходят легированные стали. Однако углеродистые стали менее технологичны при термической обработке. Из-за высокой критической скорости закалки углеродистые стали охлаждают в воде, что вызывает значительные деформации и коробление деталей. Кроме того, для получения одинаковой прочности с легированными сталями их следует подвергать отпуску при более низкой температуре, поэтому они сохраняют более высокие закалочные напряжения, снижающие конструкционную прочность.

Благодаря своим свойствам, сталь стала использоваться для самых требовательных видов работ, в самых жестких условиях. Например, одним из применений стали является ее применение в виде арматуры, в фундаментах зданий. Пластичность стали здесь очень кстати, поскольку при увеличении напряжения в отдельных точках конструкции, только, благодаря пластичности уменьшается опасность внезапного разрушения всей конструкции. Но не менее важную функцию выполняют и другие металлические изделия, требования к которым предъявляют жесткие рамки качества. Например, огромную ответственность несут на себе детали электропоездов, автомобилей, именно поэтому для их изготовления используют особый сорт качественных сталей, а именно инструментальные стали. Инструментальные стали занимают особую позицию в производстве, машиностроении.

Углеродистые стали применяются в промышленности для изготовления всевозможных изделий. Их назначение определяется содержанием углерода (таблица).

Таблица 1 "Назначение углеродистых сталей в зависимости от содержания углерода"

Назначение стали

Содержание углерода, %

Заклепки для кровельного железа

0,10-0,12

Котельное железо, строительная сталь

0,10-0, 20

Осевая сталь (валы, оси и т.д.)

0,25-0,35

Балки

0,15-0,25

Стальное литье

0,15-0,60

Бандажная сталь

0,45-0,80

Рельсовая сталь

0,45-0,80

Проволока

0,10-0,90

Сталь для режущих инструментов, не подвергающихся ударам

0,80-1,40

Сталь для ударных инструментов

0,60-0,85


Углеродистая инструментальная сталь используется для изготовления инструмента (сверла, метчики, развертки, напильники и др.), работающего в относительно легких условиях резания (небольшие скорости, температура нагрева инструмента не выше 200C). Следовательно, недостаток углеродистых инструментальных сталей заключается в низкой теплостойкости, т.е. быстром разупрочнении при нагреве.

Углерод оказывает существенное влияние на технологические свойства стали: свариваемость, обрабатываемость давлением и резанием. С увеличением содержания углерода ухудшается свариваемость, а также способность деформироваться в горячем, и особенно холодном состоянии.

Низкоуглеродистые стали отличаются малой прочностью и высокой пластичностью в холодном состоянии. Эти стали в основном производят в виде тонкого листа и используют после отжига при нормализации для холодной штамповки с глубокой вытяжкой. Они легко штампуются из-за малого содержания углерода и незначительного количества кремния, что и делает их очень мягкими. Их можно использовать в автомобилестроении для изготовления деталей сложной формы. Глубокая вытяжка из листа этих сталей применяется при изготовлении консервных банок, эмалированной посуды и других промышленных изделий.


4. Технология производства инструментальной углеродистой стали и ее технико-эконономическая оценка


Получение стали включает осуществление следующих процессов: плавление маталлошихты, окисление примесей и раскисление стали.

Блок-схема производства стали: 1 - плавление металлошихты; 2 - окисление примесей; 3 - раскисление стали; 4 - разливка стали.

Инструментальная углеродистая сталь выплавляется в мартеновских или электрических печах.

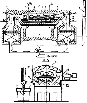
Мартеновская печь (рис.1) по устройству и принципу работы является пламенной отражательной регенеративной печью. В плавильном пространстве сжигается газообразное топливо или мазут. Высокая температура для получения стали в расплавленном состоянии обеспечивается регенерацией тепла печных газов.

Современная мартеновская печь представляет собой вытянутую в горизонтальном направлении камеру, сложенную из огнеупорного кирпича. Рабочее плавильное пространство ограничено снизу подиной 12, сверху сводом 11, а с боков передней 5 и задней 10 стенками. Подина имеет форму ванны с откосами по направлению к стенкам печи. В передней стенке имеются загрузочные окна 4 для подачи шихты и флюса, а в задней - отверстие 9 для выпуска готовой стали.

Рис.1 Схема мартеновской печи

Характеристикой рабочего пространства является площадь пода печи, которую подсчитывают на уровне порогов загрузочных окон. С обоих торцов плавильного пространства расположены головки печи 2, которые служат для смешивания топлива с воздухом и подачи этой смеси в плавильное пространство. В качестве топлива используют природный газ, мазут.

Для подогрева воздуха и газа при работе на низкокалорийном газе печь имеет два регенератора 1. Регенератор - камера, в которой размещена насадка - огнеупорный кирпич, выложенный в клетку, предназначен для нагрева воздуха и газов.

Отходящие от печи газы имеют температуру 1500…1600 C. Попадая в регенератор, газы нагревают насадку до температуры 1250 C. Через один из регенераторов подают воздух, который проходя через насадку нагревается до 1200 C и поступает в головку печи, где смешивается с топливом, на выходе из головки образуется факел 7, направленный на шихту 6.

Отходящие газы проходят через противоположную головку (левую), очистные устройства (шлаковики), служащие для отделения от газа частиц шлака и пыли и направляются во второй регенератор.

Охлаждённые газы покидают печь через дымовую трубу 8.

После охлаждения насадки правого регенератора переключают клапаны, и поток газов в печи изменяет направление.

Температура факела пламени достигает 1800 C. Факел нагревает рабочее пространство печи и шихту. Факел способствует окислению примесей шихты при плавке.

Продолжительность плавки составляет 3 - 6 часов, для крупных печей - до 12 часов. Готовую плавку выпускают через отверстие, расположенное в задней стенке на нижнем уровне пода. Отверстие плотно забивают малоспекающимися огнеупорными материалами, которые при выпуске плавки выбивают.

Футеровка печи может быть основной и кислой. Если в процессе плавки стали, в шлаке преобладают основные оксиды, то процесс называют основным мартеновским процессом, а если кислые - кислым.

В печь загружают железную руду и известняк, а после подогрева подают скрап. После разогрева скрапа в печь заливают жидкий чугун. В период плавления за счет оксидов руды и скрапа интенсивно окисляются примеси чугуна: кремний, фосфор, марганец и, частично, углерод. Оксиды образуют шлак с высоким содержанием оксидов железа и марганца (железистый шлак). После этого проводят период "кипения" ванны: в печь загружают железную руду и продувают ванну подаваемым по трубам 3 кислородом. В это время отключают подачу в печь топлива и воздуха и удаляют шлак.

Для удаления серы наводят новый шлак, подавая на зеркало металла известь с добавлением боксита для уменьшения вязкости шлака. Содержание CaO в шлаке возрастает, а FeO уменьшается.

В период "кипения" углерод интенсивно окисляется, поэтому шихта должна содержать избыток углерода. На данном этапе металл доводится до заданного химического состава, из него удаляются газы и неметаллические включения.

Затем проводят раскисление металла в два этапа. Сначала раскисление идет путем окисления углерода металла, при одновременной подаче в ванну раскислителей - ферромарганца, ферросилиция, алюминия. Окончательное раскисление алюминием и ферросилицием осуществляется в ковше, при выпуске стали из печи. После отбора контрольных проб сталь выпускают в ковш.

Электропечи имеют преимущества по сравнению с другими плавильными агрегатами:

а) легко регулировать тепловой процесс, изменяя параметры тока;

б) можно получать высокую температуру металла,

в) возможность создавать окислительную, восстановительную, нейтральную атмосферу и вакуум, что позволяет раскислять металл с образованием минимального количества неметаллических включений.

г) технология электроплавки гарантированно обеспечивает экологическую безопасность.

Различают дуговые и индукционные электропечи.

При строительстве металлургических заводов отдают предпочтение, как правило, двум типам печей:

печи постоянного тока с одним катодом (ДППТ)

дуговой печи трёхфазного переменного тока с высоким сопротивлением контура (ДСП)

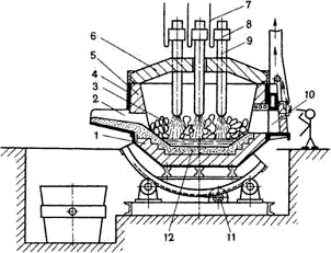
Рис.2 Схема дуговой печи трёхфазного переменного тока

Дуговая печь питается трёхфазным переменным током. Имеет три цилиндрических электрода 9 из графитизированной массы, закреплённых в электрододержателях 8, к которым подводится электрический ток по кабелям 7. Между электродом и металлической шихтой 3 возникает электрическая дуга. Корпус печи имеет форму цилиндра. Снаружи он заключён в прочный стальной кожух 4, внутри футерован основным или кислым кирпичом 1. Плавильное пространство ограничено стенками 5, подиной12 и сводом 6. Съёмный свод 6 имеет отверстия для электродов. В стенке корпуса рабочее окно 10 (для слива шлака, загрузки ферросплавов, взятия проб), закрытое при плавке заслонкой. Готовую сталь выпускают через сливное отверстие со сливным желобом 2. Печь опирается на секторы и имеет привод 11 для наклона в сторону рабочего окна или желоба. Печь загружают при снятом своде.

Вместимость печей составляет 0,5 - 400 тонн. В металлургических цехах используют электропечи с основной футеровкой, а в литейных - с кислой.

В основной дуговой печи осуществляется плавка двух видов:

а) на шихте из легированных отходов (методом переплава),

б) на углеродистой шихте (с окислением примесей).

Плавку на шихте из легированных отходов ведут без окисления примесей. После расплавления шихты из металла удаляют серу, наводя основной шлак, при необходимости науглероживают и доводят металл до заданного химического состава. Проводят диффузионное раскисление, подавая на шлак измельченные ферросилиций, алюминий, молотый кокс. Так выплавляют легированные стали из отходов машиностроительных заводов.

Плавку на углеродистой шихте применяют для производства конструкционных сталей. В печь загружают шихту: стальной лом, чушковый передельный чугун, электродный бой или кокс, для науглероживания металлов и известь. Опускают электроды, включают ток. Шихта под действием электродов плавится, металл накапливается в подине печи. Во время плавления шихты кислородом воздуха, оксидами шихты и окалины окисляются железо, кремний, фосфор, марганец, частично, углерод. Оксид кальция из извести и оксид железа образуют основной железистый шлак, способствующий удалению фосфора из металла. После нагрева до 1500 - 1540 C загружают руду и известь, проводят период "кипения" металла, происходит дальнейшее окисление углерода. После прекращения кипения удаляют шлак. Затем приступают к удалению серы и раскислению металла заданного химического состава. Раскисление производят осаждением и диффузионным методом. Для определения химического состава металла берут пробы и при необходимости вводят в печь ферросплавы для получения заданного химического состава. Затем выполняют конечное раскисление алюминием и силикокальцием, выпускают сталь в ковш.

Вместимость от десятков килограммов до 30 тонн. Схема индукционной тигельной печи представлена на рис 3.

Рис.3. Схема индукционной тигельной печи

Индукционная тигельная плавильная печь состоит из водоохлаждаемого индуктора 3, внутри которого находится тигель 4 (основные или кислые огнеупорные материалы) с металлической шихтой, через индуктор от генератора высокой частоты проходит однофазный переменный ток повышенной частоты (500 - 2000 Гц).

При пропускании тока через индуктор в металле 1, находящемся в тигле, индуцируются мощные вихревые токи, что обеспечивает нагрев и плавление металла. Для уменьшения потерь тепла, печь имеет съёмный свод 2.

Тигель изготавливают из кислых (кварцит) или основных (магнезитовый порошок) огнеупоров. Для выпуска плавки печь наклоняют в сторону сливного жёлоба.

Под действием электромагнитного поля индуктора при плавке происходит интенсивная циркуляция жидкого металла, что способствует ускорению химических реакций, получению однородного по химическому составу металла, быстрому всплыванию неметаллических включений, выравниванию температуры.

В индукционных печах выплавляют сталь и сплавы из легированных отходов методом переплава, или из чистого шихтового железа и скрапа с добавкой ферросплавов методом сплавления.

После расплавления шихты на поверхность металла загружают шлаковую смесь для уменьшения тепловых потерь металла и уменьшения угара легирующих элементов, защиты его от насыщения газами.

В основных печах раскисление проводят смесью из порошкообразной извести, кокса, ферросилиция, ферромарганца и алюминия.

В основных печах выплавляют высококачественные легированные стали с высоким содержанием марганца, титана, никеля, алюминия, а в печах с кислой футеровкой - конструкционные, легированные другими элементами стали.

В печах можно получать стали с незначительным содержанием углерода и безуглеродистые сплавы, так как нет науглероживающей среды.

При вакуумной индукционной плавке индуктор, тигель, дозатор шихты и изложницы, помещают в вакуумные камеры. Получают сплавы высокого качества с малым содержанием газов, неметаллических включений и сплавы, легированные любыми элементами.

Рис.4. Доводка и разливка стали

Из плавильных печей сталь выпускают в ковш. После этого в ковше (агрегат печь-ковш) происходит:

раскисление полупродукта стали)

коррекция и усреднение температуры и химсостава

рафинирование и модифицирование

Современный агрегат печь-ковш имеет конструкцию такого состава:

система для нагрева металла электрической дугой

система подачи ферросплавов и материалов для рафинирования стали в ковше

средства для перемешивания металла инертным газом и пр.

Из ковша сталь разливают в изложницы или с помощью машин для непрерывного литья заготовок. Разливка в изложницы является устаревшим и энергетически затратным по сравнению с непрерывной разливкой.

В изложницах (чугунные формы для изготовления слитков) или кристаллизаторах сталь затвердевает и получают слитки, которые подвергаются прокатке, ковке.

Изложницы выполняют с квадратным, прямоугольным, круглым и многогранным поперечными сечениями.

Слитки с квадратным сечением переделывают на сортовой прокат: двутавровые балки, швеллеры, уголки. Слитки прямоугольного сечения - на листы. Слитки круглого сечения используются для изготовления труб, колёс. Слитки с многогранным сечением применяют для изготовления поковок.

Спокойные и кипящие углеродистые стали разливают в слитки массой до 25 тонн, легированные и высококачественные стали - в слитки массой 0,5 - 7 тонн, а некоторые сорта высоколегированных сталей - в слитки до нескольких килограммов.

Сталь разливают в изложницы сверху (рис.5 а), снизу (сифоном) (рис.5 б) и на машинах непрерывного литья.

Рис.5. Разливка стали в изложницы

а - сверху; б - снизу (сифоном)

При сифонной разливке одновременно заполняются несколько изложниц (4 - 60). Изложницы устанавливаются на поддоне 6, в центре которого располагается центровой литник 3, футерованный огнеупорными трубками 4, соединённый каналами 7 с изложницами. Жидкая сталь 2 из ковша 1 поступает в центровой литник и снизу плавно, без разбрызгивания наполняет изложницу 5.

Поверхность слитка получается чистой, можно разливать большую массу металла одновременно в несколько изложниц.

Процесс розливки стали является технологически устаревшим и энергозатратным.

Процесс непрерывной разливки стали является одним из наиболее быстроразвивающимся в современной металлургии. В большинстве стран мира этим способом разливают около 90-95% выплавляемой стали.

Непрерывная разливка стали состоит в том, что жидкую сталь из ковша 1 через промежуточное разливочное устройство 2 непрерывно подают в водоохлаждаемую изложницу без дна - кристаллизатор 3, из нижней части которого вытягивается затвердевающий слиток 5.

Перед заливкой металла в кристаллизатор вводят затравку - стальную штангу со сменной головкой, имеющей паз, которая в начале заливки служит дном кристаллизатора. Вследствие интенсивного охлаждения жидкий металл у стенок кристаллизатора и на затравке затвердевает, образуется корка, соединяющая металл с затравкой. После прохождения тяговых роликов 6, затравку отделяют. Окончательное затвердевание в сердцевине происходит в результате вторичного охлаждения водой из брызгал 4. Ролики 6 обеспечивают вытягивание и регулирование скорости слитка. Затем затвердевший слиток попадает в зону резки, где его разрезают газовым резаком 7, на куски заданной длины.

Рис.6. Схема непрерывной разливки стали (вертикальная МНЛЗ)

Существует несколько типов МНЛЗ: - вертикальные; - криволинейные; - радиальные; - горизонтальные.

При непрерывной разливке стали, благодаря более быстрому охлаждению и затвердеванию, слитки получаются однороднее, прочнее, отходов почти нет.

В машиностроении, строительстве, на транспорте широко применяется металлический прокат: листы, полосы, ленты, рельсы, балки и т.д. Его получают в результате обжатия слитка металла в горячем или холодном состоянии между вращающимися валками прокатного стана. Таким образом, обрабатывают сталь, цветные металлы и их сплавы (рис.7).


Распространённые виды проката: труба, арматура, балка, швеллер, лист, уголок, полоса и т.д.

5. Нормативно-технические документы на описываемый товар. Нормируемые показатели качества в соответствии с требованиями нормативно-технической документацией


ГОСТ 1435-54 регулирует нормы изготовления прутков и полос кованных, горячетканных, калиброванных и со специальной отделкой поверхности из инструментальной углеродистой (нелегированной) стали, а также нормы химического состава для слитков, заготовок, листов, лент, проволоки и другой металлопродукции.

Таблица 2 "Химический состав по ГОСТ"

Марка стали

Содержание элементов в %


Углерод

Марганец

Кремний

Сера

Фосфор





не более

У7

0,65 - 0,74

0,2 - 0,4

0,15 - 0,35

0,03

0,035

У8

0,75 - 0,84

0,2 - 0,4

0,15 - 0,35

0,03

0,035

У8Г

0,8 - 0,9

0,35 - 0,6

0,15 - 0,35

0,03

0,035

У9

0,85 - 0,94

0,15 - 0,35

0,15 - 0,35

0,03

0,035

У10

0,95 - 1,04

0,15 - 0,35

0,15 - 0,35

0,03

0,035

У11

1,05 - 1,14

0,15 - 0,35

0,15 - 0,35

0,03

0,035

У12

1,15 - 1,24

0,15 - 0,35

0,15 - 0,35

0,03

0,035

У13

1,25 - 1,35

0,15 - 0,35

0,15 - 0,35

0,03

У7А

0,65 - 0,74

0,15 - 0,3

0,15 - 0,3

0,02

0,03

У8А

0,75 - 0,84

0,15 - 0,3

0,15 - 0,3

0,02

0,03

У8ГА

0,8 - 0,9

0,35 - 0,6

0,15 - 0,3

0,02

0,03

У9А

0,85 - 0,94

0,15 - 0,3

0,15 - 0,3

0,02

0,03

У10А

0,95 - 1,04

0,15 - 0,3

0,15 - 0,3

0,02

0,03

У11А

1,05 - 1,14

0,15 - 0,3

0,15 - 0,3

0,02

0,03

У12А

1,15 - 1,24

0,15 - 0,3

0,15 - 0,3

0,02

0,03

У13А

1,25 - 1,35

0,15 - 0,3

0,15 - 0,3

0,02

0,03


Обозначение марки стали:

У - углеродистая, следующая за ней цифра - средняя массовая доля углерода в десятых долях процента,

Г - повышенная массовая доля марганца.

Если сталь повышенного качества, то в конце марки ставится буква А.

Основой товарной классификации стали является ее химический состав, что отражают в ее маркировке: в большинстве случаев наименование марки стали подбирается таким образом, что по ней можно судить об основном химическом составе стали.

инструментальная углеродистая сталь потребительский

Твердость металлопродукции из углеродистой инструментальной стали после термообработки (отжига и закалки) должна соответствовать нормам (смотреть таблицу).

Таблица "Твердость металлопродукции из углеродистой инструментальной стали"

Марка стали

Твердость НВ после отжига, не менее

Твердость HRCэ после закалки в воде, не менее

У7, У7А, У8, У8А, У8Г, У8ГА

187

63

У9, У9А

192

63

У10, У10А

207

63

У11, У11А

212

У12, У12А

212

64

У13, У13А

217

64


Однако в целом товарная классификация стали является классификацией не по одному, а сразу по нескольким признакам, среди которых большое значение имеют такие, как химический состав, назначение стали и ее качество, так как от их суммы зависят свойства стали, ее стоимость, методы приемосдаточного контроля.

6. Контроль качества стали


Главным методом контроля сталей всех назначений и в любом состояние поставки является ее тщательный анализ и проверка соответствия их состава марочному, установленному в ГОСТе, несоответствие марочному химическому составу является браковочным признаком. Важность строгого соблюдения химического состава оправдана. Во-первых, содержание каждого из элементов, входящих в сталь, обусловливает вполне определенные ее свойства. Во-вторых, для получения готового изделия сталь во многих случаях приходится подвергать горячей обработке давлением (штамповке, ковке и т.д.) при сварке. При этом химический состав играет первостепенную роль, так как он предопределяет рациональные температуры нагрева, нижний уровень температуры, при которой еще можно производить обработку давлением, и другие технологические данные. И, наконец, в третьих, большинство готовых стальных изделий подвергается термической обработке, режимы проведения которой (температура нагрева, выдержки, скорости охлаждения) и, самое главное, получаемые результаты по структуре и свойствам стали находятся в прямой и непосредственной зависимости от ее химического состава.

Механические свойства контролируются и гарантируются для многих групп стали. Наиболее часто в ГОСТе оговариваются величина твердости, временного сопротивления разрыву, относительное сужение, относительное удлинение, удельная ударная вязкость. В сталях специального назначения обычно контролируют их основные эксплуатационные свойства. Многие группы сталей, за исключением стали неответственного назначения, контролируют по макро - и микроструктуре. Наиболее распространенными контролируемыми показателями макроструктуры являются разного рода ликвация, пористость, пузыри, трещинки, глубина обезуглероженного слоя. Многие из них количественно оцениваются по шкалам ГОСТов.

Для контроля механических и специальных свойств, а также для исследования макро - и микроструктуры образцы в большинстве случаев отбирают не из жидкой стали и не из слитка, а из изделия или полуфабриката, которые в дальнейшем уже не подвергаются горячей или холодной обработке давлением. Это может быть отливка, поковка, прокат или другой изделие.

Литература


1.       Мочальник И.А. "Основы технологии и продукция металлургического производства: Учеб. пособие" - Мн.: БГЭУ, 2005 - 2003 с.

2.       http://technologys. info <http://technologys.info>

.        Колесов С.Н. "Материаловедение и технология конструкционных материалов": - М.: Высш шк., 2004. - 512 с.

.        Арзамасов Б.Н. "Материаловедение": - М.: Изд-во МГТУ им. Н.Э. Баумана, 2003 - 648 с.

Похожие работы на - Технология и потребительские свойства инструментальной углеродистой стали

 

Не нашли материал для своей работы?
Поможем написать уникальную работу
Без плагиата!
Без нейросетей!