Электрификация производственных процессов в растениеводстве

  • Вид работы:
    Контрольная работа
  • Предмет:
    Физика
  • Язык:
    Русский
    ,
    Формат файла:
    MS Word
    277,16 kb
  • Опубликовано:
    2011-07-19
Вы можете узнать стоимость помощи в написании студенческой работы.
Помощь в написании работы, которую точно примут!

Электрификация производственных процессов в растениеводстве

Кафедра тракторов и автомобилей






КОНТРОЛЬНАЯ РАБОТА

по дисциплине «Электрификация сельскохозяйственного производства»

Электрическая цепь, её элементы, условные графические обозначения. Общие сведения об электротехнических материалах

электрическая цепь электродвигатель электрификация

Устройствами, образующими электрическую цепь, являются: источники (генераторы) электромагнитной энергии или электрических сигналов, приемники (потребители) электромагнитной энергии и устройства передачи и преобразования энергии (провода, трансформаторы и др.).

Каждый генератор и приемник имеют два зажима (полюса), выходные для генератора и входные для приемника, с помощью которых через систему передачи осуществляется связь между ними. Их называют двухполюсниками.

В общем случае источники и приемники могут объединять несколько двухполюсников, соединенных последовательно или параллельно.

Двухполюсник называют активным, если он содержит источник эдс; при отсутствии источника эдс двухполюсник будет пассивным.

Устройство для передачи энергии от источника к приемнику имеет четыре зажима (полюса); через входные энергия поступает от источника, а к выходным подключают приемник. Такое промежуточное устройство называется четырехполюсником.

Соединение элементов электрической цепи может быть последовательным, параллельным и смешанным. Участок электрической цепи, по которому проходит ток одного и того же значения и направления, называется ветвью.

Место соединения трех и более ветвей называют узлом.

Узел электрической цепи на схеме отмечается жирной точкой. Если на схеме место скрещивания ветвей точкой не отмечено, это означает, что электрического соединения между ними в месте их пересечения нет.

Замкнутую электрическую цепь, образуемую одной или несколькими ветвями, называют контуром.


Контур, внутри которого не лежат другие ветви, связывающие между собой его узлы, называют простым (или ячейкой).

Например, в схеме рис. 1 содержится шесть ветвей, четыре узла и три простых контура.

Анализ электрической цепи может быть произведен или экспериментально, или решением уравнений ее электрического состояния.

Основными физическими законами, позволяющими описать любые режимы электрической цепи, являются законы Ома, сохранения заряда и сохранения энергии, на основе которых составляются уравнения электрического состояния ветви, узла и контура.

Одно из главных таких направлений - создание материалов, обладающих свойством сверхпроводимости. Данное свойство появляется скачкообразно у некоторых широко известных материалов при низкой температуре, близкой к абсолютному нулю. Большой интерес в этом отношении представляет использование металлического водорода. Водород, являющийся превосходным изолятором, при определенных условиях может стать идеальным проводником (сверхпроводником) электрического тока.

Благодаря бурному развитию химии и химической промышленности стало возможным получать многие материалы, заранее задавая свойства, которыми они должны обладать. Такие материалы нужны для различных отраслей народного хозяйства, в том числе для энергетики и электротехнической промышленности. Большое внимание уделяется, например, созданию синтетического латекса. Он представляет собой легкую, эластичную, прочную губчатую резину. Для его получения микроскопически малые частицы синтетического каучука, находящиеся в воде во взвешенном состоянии, вспенивают воздухом и подвергают вулканизации. Синтетический латекс будут широко применять не только в электротехнической промышленности, но и в автомобилестроении, бумажной, строительной и других отраслях промышленности.

В электротехнике очень широко применяют различные изделия из пластмасс. Однако постоянно ведутся работы по созданию новых видов пластмасс. Создан, например, пенопласт изолан-1, который является прекрасным изолятором, легко поглощает звук, не горит.

Прогрессивно применение композиционных материалов. Например, в энергетике, как и в ряде других отраслей народного хозяйства, стали применять маслянит. Он представляет собой композицию металлов и высокополимеров и обладает высокой износостойкостью, антифрикционным свойством (смазка органически входит в его состав), не боится коррозии.

Представляет интерес и возможность применения натрия вместо меди для изготовления силовых кабелей. При этом 1 кг натрия может заменить 3,5 кг меди или 1,75 кг алюминия, к тому же натрий примерно в 8 раз дешевле меди. Использование натрия в сочетании с полиэтиленовой изоляцией дает возможность изготовить более гибкий кабель, чем кабель с медными или алюминиевыми жилами.

В различных переключателях, реле и других аналогичных устройствах применяют гибкие магниты. Для их изготовления в резиновую смесь добавляют до 80 % ферритовых частичек и пропускают ее через формовочную машину. Резиновые магниты прибивают также к дверям, приклеивают к дверцам холодильников и т. д.

Одно из магистральных направлений в работе по созданию новых материалов, применяемых в электротехнике, - синтез термостойких, жаропрочных и ограниченно горючих волокон. В результате этого получают материалы, обладающие повышенной термостойкостью, эластичностью, электроизоляционными свойствами, прочностью, химической инертностью. Например, из полиэпоксидных полимеров и борных волокон созданы слоистые пластики, обладающие вышеуказанными свойствами.

Создание и использование новых, 'более совершенных материалов - одно из ведущих направлений научно-технического прогресса во всех отраслях народного хозяйства.

 

Передача электрической энергии на расстояние. Современные линии электропередачи


Электрическая энергия, вырабатываемая на электрической станции ЭС генераторами Г, передается при напряжении более высоком, чем генераторное, по линии электропередачи высокого напряжения ЛЭП на подстанцию промышленного предприятия. Для изменения напряжения в системе применяются трансформаторы Т. Со сборных шин подстанции ПС электроэнергия распределяется по различным электроприемникам: электродвигателям М, источникам света Л, электротермическим установкам, нагревательным приборам и т. д.

Производство электрической энергии и ее потребление - процесс непрерывный и единый во времени. Электрическую энергию нельзя накапливать в больших количествах, не передавая ее потребителям. В каждый момент времени выработка электрической энергии должна соответствовать потреблению. Отдельные электростанции не могут обеспечить бесперебойную подачу электроэнергии. Поэтому по мере развития энергетики электрические станции, которые объединяют в системы, работают, параллельно на общую нагрузку. Их соединяют между собой линиями электропередачи.

Рис. 2.

Часть электроэнергетической системы, предназначенная для передачи и распределения энергии потребителям, называется электрической сетью.

В состав электрической сети входят линии электропередачи различных напряжений, трансформаторные, распределительные и преобразовательные подстанции.

Линия электропередачи (ЛЭП) - это электроустановка, состоящая из проводников тока и вспомогательных устройств и предназначенная для передачи на расстояние электрической энергии. По конструктивному исполнению различают воздушные, кабельные и другие линии электропередачи. Совокупность электрических подстанций и линий электропередачи называют электрической сетью.

Электроустановки, находящиеся на открытом воздухе, носят название открытых, а расположенные в помещении - закрытых. Электроустановки бывают стационарные и передвижные. К первым относятся, например, электросети различных зданий, а ко вторым - передвижные электростанции.

В зависимости от напряжения различают электроустановки напряжением до 1000 В и выше 1000 В. В данном пособии рассматриваются главным образом электроустановки напряжением до 1000 В.

Электромагнитное поле, создаваемое линиями электропередачи в определенной мере отрицательно влияет на состояние здоровья человека. Поэтому новые линии электропередачи высокого напряжения размещают вдали от населенных пунктов, а вокруг них создают санитарно-защитные зоны.

 

Понятие о нагреве и охлаждении электродвигателей. Номинальные режимы работы электродвигателей. Основы выбора и типа мощности электродвигателей

 

Правильный выбор номинальной мощности электродвигателя определяет экономическую эффективность привода. Применение, двигателя недостаточной мощности приводит к преждевременному выходу его из строя. Использование двигателей завышенной мощности ведет к увеличению первоначальной стоимости электропривода, увеличению расхода электроэнергии.

Мощность электродвигателя выбирают, исходя из необходимости обеспечения пуска, преодоления всех сопротивлений во время работы, соблюдения нормального теплового режима электродвигателя.

Нагрев электродвигателя вызывается потерями энергии. При длительной работе двигателя с постоянной нагрузкой, а следовательно, с постоянными потерями, температура двигателя превышает температуру охлаждающей среды на определенное значение и наступает тепловое равновесие. Если считать теплоотдачу двигателя пропорциональной разности температур двигателя и среды (температуре перегрева ΰ), то

ΰУ=ΔР/А,                                            (1)

где ΔР - потери мощности, Вт; А - удельная теплоотдача двигателя, Вт/°С.

Удельная теплоотдача двигателя - это количество теплоты, отдаваемое двигателем в окружающую среду за секунду при разности температур в один градус.

Установившаяся температура перегрева ΰУ, прямо пропорциональна потерям мощности и обратно пропорциональна теплоотдаче двигателя.

Удельная теплоотдача

А=ΔРН/ΰУ.Н,                                     (2)

где ΔРН- номинальные потери мощности, Вт; ΰУ.Н - номинальная установившаяся температура перегрева, 0С.

При включении двигателя в работу или при изменении нагрузки наблюдается тепловой переходный процесс.

Для того чтобы получить формулу для определения температуры ΰ перегрева двигателя в переходном процессе, составим уравнение теплового баланса электродвигателя как однородного твердого тела, все точки которого имеют одинаковую температуру:

ΔPdt=Aΰdt+Cdΰ.                                (3)

За малый промежуток времени dt в двигателе выделяется теплота в количестве ΔPdt. Часть ее, равная Aΰdt, отдается в окружающую среду, а другая сообщается всему объему двигателя. Та теплота, которая поглощается двигателем, равна произведению теплоемкости на повышение температуры dΰ. Теплоемкость двигателя равна произведению удельной теплоемкости на его массу m.

Разделив все члены уравнения (3) на Adt, получим равенство

.                                (4)

Имея в виду, что ΔP/А = ΰУ, и обозначив буквой Т отношение С/А, запишем выражение (4) в другом виде:

.     (5)

Это дифференциальное уравнение, описывающее переходный тепловой процесс, такое же, как и уравнение механического переходного процесса в электроприводе с линейной механической характеристикой двигателя. Поэтому и формулы для расчета будут аналогичны. В частности, температуру перегрева двигателя в переходных режимах вычисляют по выражению

ΰ= ΰу(1-е-t/T)+ΰначe-t/T,                    (6)

а время нагрева до заданной температуры

. (7)

Величина Т выражается в секундах или минутах и называется постоянной времени нагрева двигателя. Она представляет собой то время, в течение которого температура двигателя повысится от нуля до значения установившейся температуры при постоянных потерях и отсутствии отдачи теплоты в окружающую среду. Для двигателей небольшой мощности Т = 10...20 мин. Значение Т больше у двигателей тихоходных, закрытого исполнения и возрастает с увеличением номинальной мощности.

В электродвигателе наименьшей нагревостойкостыо обладают изоляционные материалы. В электрических машинах в основном применяют изоляционные материалы, которые относят к классам А, Е, В, F, Н.

Класс А включает в себя материалы из хлопка, бумаги, полиамидных волокон, пропитанных маслом или погруженных в него, а также эмали и лаки. Предельно допустимая температуpa, которую называют температурным индексом для этих материалов, составляет 105 °С.

В электродвигателях серии 4А применяют более нагревостойкую изоляцию из синтетических и неорганических материалов классов Е, В, F. Они имеют температурный индекс соответственно 120, 130, 155 °С. Еще более нагревостойкие материалы класса Н применяют во взрывобезопасных двигателях большой мощности.

Срок службы изоляции зависит от температуры, при которой она работает. Установлено, что повышение рабочей температуры на 10° по сравнению с предельно допустимой сокращает срок службы изоляции вдвое. При температуре более 200 °С двигатель выходит из строя в течение нескольких минут. Вследствие этого нагрев электродвигателей, как и другого электрооборудования, является основным критерием допустимой нагрузки.

Кроме предельно допустимой температуры нагрева, указывают предельно допустимое превышение температуры двигателя над окружающей средой. Эта величина получается при вычитании из предельно допустимой температуры двигателя номинальной температуры окружающей среды, которая принята равной 40 °С.

Номинальный режим указывают на заводском щитке условными обозначениями S1, S2, S3 и т. д. Основные номинальные режимы работы электродвигателей: продолжительный S1, кратковременный S2, повторно-кратковременный S3, перемежающийся S6 (рис. 3). Дополнительные номинальные режимы: повторно-кратковременный с частым пуском S4, повторно-кратковременный с частыми пусками и электрическим торможением S5, перемежающийся с частыми реверсами S7, перемежающийся с изменением частоты вращения S8.

Продолжительный режим (S1) характеризуется тем, что температура всех частей электродвигателя при работе с постоянной нагрузкой достигает установившегося значения. Температуру считает установившейся, если в течение часа работы она увеличивается не более чем на 1°. Такое состояние в электродвигателе наступает при работе с постоянной нагрузкой в течение времени, равного 4Т. Следовательно, при длительности работы, равной 4Т и больше, режим работы продолжительный.

Кратковременный режим (S2) характеризуется тем, что в рабочий период температура двигателя не успевает достигнуть установившегося значения, а пауза столь продолжительна, что температура двигателя снижается до температуры охлаждающей среды. В этом случае продолжительность работы tр<4T, а продолжительность паузы tp>4T0.

При повторно-кратковременном режиме (S3) кратковременные периоды нагрузки чередуются с непродолжительными периодами отключения двигателя. При этом tр < 4T; tп <4T0, то есть ни в одном из периодов температура не достигает установившегося значения, но среднее ее значение ΰУ.С устанавливается неизменным.

Повторно-кратковременный режим характеризуется относительной продолжительностью рабочего периода е и длительностью цикла tЦ: tЦ=tР+tП, ε=tР/tЦ.

Перемежающимся номинальным (S6) называют такой режим длительной работы электродвигателя, при котором кратковременные рабочие периоды чередуются с периодами холостого хода и tp<4T, tх<4T.

Рис. 3. Графики, характеризующие основные номинальные режимы работы электродвигателей

Работа двигателя в перемежающемся режиме характерна тем, что значение средней температуры достигает установившегося ΰУ.С. В рассматриваемом случае длительность цикла и относительную продолжительность нагрузки определяют так же, как для повторно-кратковременного режима.

Выбор электродвигателей но частоте вращения. Кроме мощности, электродвигатели отличаются номинальной частотой вращения, принципом работы и родом тока, исполнением по защите от окружающей среды, способу установки.

При выборе электродвигателя по номинальной частоте вращения учитывают экономические и технические показатели. Так, масса и стоимость быстроходных двигателей меньше, а номинальные КПД и коэффициент мощности больше.

В большинстве случаев частота вращения приводных валов сельскохозяйственных машин, за исключением вентиляторов и центробежных насосов, не совпадает со стандартными частотами вращения электродвигателей. Поэтому приходится учитывать стоимость и КПД механических передач.

Технико-экономические расчеты и практический опыт показывают, что в большинстве случаев наиболее экономичны двигатели с частотой вращения 1500 мин-1. Число таких двигателей в сельском хозяйстве превышает 90 %.

Двигатели на 3000 мин-1 применяют для привода центробежных насосов, вентиляторов большого напора, дробилок кормов.

Двигатели на 1000 мин-1 используют для поршневых компрессоров, вентиляторов среднего напора большой подачи и в других случаях, когда возможно прямое соединение с валом рабочей машины.

Тихоходные двигатели обладают техническим преимуществом по сравнению с быстроходными в том случае, когда происходят частые пуски, реверсы. При этом решающими факторами становятся потери энергии и продолжительность переходных процессов, а тихоходные двигатели, обладая малым значением кинетической энергии ротора, обеспечивают меньшие потери энергии и продолжительность переходных процессов.

По роду тока электродвигатели выбирают на основании технико-экономических расчетов; Для машин, не требующих регулирования скорости, следует применять исключительно приводы переменного тока, которые значительно дешевле приводов постоянного тока.

Выбор электродвигателей по типу. Возможно сравнение трех основных типов двигателей переменного тока: асинхронного с короткозамкнутым ротором, асинхронного с фазным ротором и синхронного. Выбирая тип двигателя в зависимости от характера нагрузки и мощности механизмов, можно руководствоваться следующими данными. При длительной постоянной и переменной нагрузке мощностью до 100 кВт наиболее экономичны асинхронные двигатели с короткозамкнутым ротором, при нагрузках мощностью более 100 кВт- синхронные двигатели. При резкопеременной нагрузке до 100 кВт применяют асинхронные двигатели с повышенным скольжением, при мощности свыше 100 кВт - асинхронные двигатели с фазным ротором. При повторно-кратковременной и кратковременной нагрузках используют чаще всего асинхронные двигатели с повышенным скольжением, асинхронные двигатели с фазным ротором.

При выборе электродвигателей и способов регулирования для производственных механизмов, требующих электрического регулирования скорости, приходится учитывать ряд технических требований. Основные требования - диапазон, плавность регулирования, стабильность скорости, надежность и простота управления. В сельскохозяйственном производстве в этом случае чаще применяют асинхронные двигатели с фазным ротором, многоскоростные короткозамкнутые двигатели, двигатели повышенного скольжения с короткозамкнутым ротором.

На предприятиях агропрома эксплуатируются двигатели единой общесоюзной серии 4А, массовое производство которых начато в 1975 г.

Выбор электродвигателей по исполнению. Двигатели основного исполнения предназначены для применения в умеренном климате в зданиях промышленного типа.

Для приводов, предназначенных для работы в различных условиях окружающей среды, предусмотрен ряд специализированных исполнений: влагоморозостойкие, химостойкие, пылезащищенные, тропические, для сельского хозяйства и др.

Электродвигатели, как и другое электрооборудование, различают по климатическому исполнению и категории размещения изделия.

В соответствии с ГОСТ 15150-69, ГОСТ 15543-70 электротехнические изделия изготавливают в пяти климатических исполнениях и маркируют следующим образом: У - для районов с умеренным климатом, УХЛ - для районов с умеренным и холодным климатом, Т - для районов как с сухим, так и влажным тропическим климатом, М - для районов с умеренно-холодным морским климатом, ОМ - для районов как с умеренно-холодным, так и жарким морским климатом.

В условное обозначение типа (марки) изделия дополнительно после всех обозначений, относящихся к модификации изделия, вводят буквы и цифры, обозначающие вид климатического исполнения.

Все электротехнические изделия, в том числе и электродвигатели, должны иметь корпуса и оболочки, обеспечивающие защиту персонала от соприкосновения с токоведущими и движущимися частями, а также определенную степень защиты изделия от попадания внутрь оболочки твердых посторонних тел и воды согласно ГОСТ 14254-80 (СТ СЭВ 778-77).

Формы исполнения электродвигателей по способу монтажа и их условные обозначения установлены ГОСТ 2479-79. По наличию крепежных приспособлений электродвигатели подразделяются на три группы: имеющие станину с лапами для крепления, лапы и фланец на подшипниковом щите, а также двигатели без лап с фланцем на подшипниковом щите. Имеются также различия по исполнению выступающего конца вала, способу монтажа. Все эти различия шифруются в условных обозначениях конструктивных исполнений по способу монтажа, состоящих из букв IM и четырех цифр. Первая цифра указывает группу конструктивного исполнения: 1 - на лапах, 2 - на лапах с фланцем; 3 - без лап с фланцем. Последняя цифра характеризует исполнение выступающего конца вала, средние - способ монтажа.

 

Электропривод по уборке навоза из животноводческих помещений

Уборка навоза - трудоемкий процесс, который занимает в производственном цикле ферм и комплексов значительное время. Поэтому создание устройств, обеспечивающих автоматическое управление работой навозоуборочных транспортеров в животноводческих помещениях,- важная задача. На животноводческих фермах наиболее распространены скребковые транспортеры кругового движения типа ТСН-3,0Б, ТСН-160 и возвратно-поступательного движения - УС-10, УС-15, УС-12, ТС-1 и др.

Транспортеры кругового движения ТСН-3,ОБ и ТСН-160 состоят из горизонтальных и наклонных транспортеров. Горизонтальные транспортеры при помощи скребков, прикрепленных к цепи, перемещают навоз по специальным каналам из помещения к наклонным транспортерам, которые подают его в транспортные средства. Сначала включается наклонный транспортер, затем - горизонтальный. Отключают их в обратной последовательности. После отключения горизонтального транспортера наклонный отключают через промежуток времени, достаточный для освобождения его от навоза, так как в зимний период при замерзании оставшегося на наклонном транспортере навоза рабочие движущиеся части транспортера могут приморозиться к его конструкции, особенно в той его части, которая выходит из помещения наружу. Запуск электродвигателя наклонного транспортера в этих условиях может не произойти, так как электродвигатель не сдвинет с места примерзшие рабочие органы транспортера. В этом случае защита должна отключить электродвигатель от сети, а если защита отсутствует или не сработает, то обмотка электродвигателя выйдет из строя.

В процессе уборки навоза транспортером кругового движения нагрузка электродвигателя меняется. Его пуск осуществляется при максимальной нагрузке. По мере движения цепи со скребками и сбрасывания навоза в приемную часть наклонного транспортера количество перемещаемого навоза уменьшается, и в конце цикла уборки, 1согда цепь транспортера совершит полный оборот, нагрузка уменьшится до ее значения при холостом ходе. Продолжительность работы горизонтального транспортера ТСН-ЗБ (ТСН-160) за одну уборку составит

,

где l - длина горизонтального транспортера, равная 170 м; v - скорость движения цепи со скребками, равная 0,19 м/с; 1,05 - коэффициент, учитывающий продолжительность пуска (разбега) и обеспечивающий некоторый запас времени.

Продолжительность работы наклонного транспортера, необходимая для освобождения его от находящегося на нем навоза после отключения горизонтального транспортера, можно принять равной 1,5 мин.

Расчеты показывают, что нагрузка в начале уборки примерно в 4 раза больше, чем в конце. Поэтому при выборе электродвигателя для горизонтальных транспортеров ТСН-З.ОБ, ТСН-160 определяют максимально возможную нагрузку в начале уборки и по условиям пуска находят достаточный пусковой момент и мощность электродвигателя.

Электротехническая промышленность выпускает комплектные устройства управления типа ЯАА, предназначенные для автоматического управления электродвигателями навозоуборочных транспортеров ЯАА5403 для УС-10, ТС-1, ЯАА5404 для УС-15, ЯАА5910 для ТСН-3,0Б, ТСН-160 и их защиты.

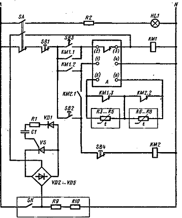
На рисунке 4 приведена принципиальная электрическая схема комплектного устройства ЯАА5910. Дистанционное управление электродвигателями транспортера осуществляется при помощи кнопочных постов SB1... SB4. При нажатии кнопки SB3 подается питание на катушку пускателя КМ1, который включает двигатель наклонного транспортера, подготавливает цепь пускателя К.М2 к включению на длительную работу и подает питание на устройство защиты А (УВТЗ-1М). Кнопкой SB2 подается питание на катушку магнитного пускателя КМ2, который включает электродвигатель горизонтального транспортера.

В схеме предусмотрено включение на зимний период блока защиты УЗП-1 от примерзания скребков наклонного транспортера. Блок подключается при помощи переключателя SA, о чем сигнализирует лампа HL1. В этом случае, если температура воздуха выше нормы, контакт датчика температуры SK замкнут, следовательно, с выпрямительного моста сигнал подается через диод VD1, резистор R1, конденсатор С1 на управляющий электрод тиристора VS, который открывается. Катушка магнитного пускателя К.М1 получает питание, включается двигатель наклонного транспортера.

Рис. 4. Электрическая схема управления навозоуборочным транспортером ТСН-160

Когда температура воздуха ниже нормы, контакт датчика температуры SK разомкнут, тиристор VS закрыт, следовательно, включение наклонного транспортера невозможно. Для обеспечения включения наклонного транспортера его надо тщательно осмотреть, освободить от возможного примерзания и намерзания.

Технологические линии навозоудаления на крупных животноводческих фермах и комплексах промышленного типа - сложные разветвленные поточно-транспортные системы с механизмами циклического действия. По функциональному назначению эти механизмы подразделяются на три группы: 1 - продольные, убирающие навоз из зон расположения животных; 2 - поперечные, транспортирующие его из помещения; 3 - механизмы, предназначенные для погрузки навоза в мобильные транспортные средства или перекачки в хранилище.

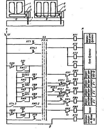
Такие линии при привязном содержании скота включают горизонтальные скребковые транспортеры установок ТСН-160а или ТСН-ЗБ, КНП-10 и УТН-10 (рис. 5, а); при боксовом содержании -УС-15, КНП-10 и УТН-10 (рис. 5, б).

В соответствии с технологической схемой (рис. 5, б), на рисунке 5, в приведена принципиальная электрическая схема автоматизации поточной линии.

В заданное время программное реле времени КТ1 замыкает свои контакты и включает реле времени КТ2, КТЗ, КТ4, а реле времени К.Т4 своими контактами включает магнитные пускатели KMI поперечного транспортера и КМ2 первого уборочного транспортера. Через время Δt1, достаточное для уборки навоза первым уборочным транспортером, срабатывает реле времени КТ2, которое своими контактами отключает магнитный пускатель КМ2 первого уборочного транспортера и включает магнитный пускатель КМЗ второго уборочного транспортера. После окончания уборки навоза вторым уборочным транспортером реле времени КТЗ с выдержкой времени Δt2=Δt1 отключает второй уборочный транспортер и включает третий. Через время Δt3= 3Δt1 программное реле времени КТ1 размыкает свои контакты и отключает все три реле времени и навозоуборочные транспортеры.

Через время Δt4, достаточное для освобождения от навоза поперечного транспортера, перемещающего навоз от навозоуборочных транспортеров в навозохранилище, он отключается при помощи реле времени КТ4.

Поршневой насос по перекачке навоза из навозосборника в навозохранилище включается и отключается при помощи своего программного реле времени КТ5.

Для технологической схемы, приведенной на рисунке 5, а, электрическая схема упрощается. Из нее нужно исключить магнитный пускатель КМ4 третьего уборочного транспортера и реле времени KТ3. В представленной электрической схеме предусмотрена раздельная работа уборочных транспортеров на общий поперечный транспортер. Если же подача поперечного транспортера равна суммарной подаче двух (рис. 5,а) или трех (рис. 5, б) уборочных транспортеров или больше нее, то их можно включать и отключать одновременно. Для этой цели из электрической схемы надо исключить реле времени КТ2 и КТЗ.

Рис. 5. Электропривод поточной линии уборки навоза: а-при привязном содержании; б-при боксовом содержании; в - принципиальная электрическая схема автоматизированного управления поточной линией уборки навоза; 1 - скребковый транспортер ТСН-160А; 2 - навозоуборочный конвейер КНП-10; 3- поршневой насос УТН-10; 4 - навозохранилище; 5 - скреперная установка УС-15.

Электрификация тепловых производственных процессов в растениеводстве. Электрооборудование парников и теплиц. Электроустановки для сушки сельхозпродукции

Виды и способы электрообогрева почвы и воздуха в парниках и теплицах. Для выращивания растений помещения защищенного грунта (парники и теплицы) оборудуют системами отопления, вентиляции, полива, добавочного освещения, предназначенными для создания надлежащих условий микроклимата, устанавливаемых агротехникой. Среди параметров микроклимата наиболее важный - температура внутри помещений.

Наиболее распространенные способы электрообогрева почвы и воздуха в парниках и теплицах - элементный и электрокалориферный.

Элементный обогрев почвы и воздуха осуществляют различными способами, отличающимися конструктивным выполнением нагревательных устройств, их размещением, значением питающего напряжения и др. В качестве нагревательных элементов используют нагревательные провода и кабели.

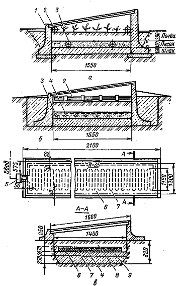
Для обогрева почвы нагревательные элементы размещают следующими способами: а) в асбоцементных или гончарных трубах, которые укладывают в слой песка под растительным слоем почвы (трубчатые нагревательные элементы); б) непосредственно в слое песка под почвой; в) в асфальтобетонном монолите под почвой. Частным случаем последнего способа является обогрев почвы асфальтобетонными нагревательными блоками.

Для обогрева воздуха нагревательные элементы подвешивают по конструкциям помещений (непосредственно или в асбоцементных трубах).

Для питания устройств почвенного и воздушного обогрева используют сетевое (380/220 В) или пониженное (24...127 В) напряжение.

Для обогрева почвы трубчатыми нагревательными элементами (рис. 6, а) используют асбоцементные или гончарные трубы диаметром 100...150 мм, а для обогрева воздуха - трубы диаметром 50...75 мм. Для повышения электроизоляционных свойств асбоцементные трубы предварительно пропитывают в горячем битуме или трансформаторном масле. Стыки труб тщательно заделывают цементом, чтобы не попадала вода, в противном случае нагревательные элементы быстро выйдут из строя. Трубы защищают нагревательные элементы от механических повреждений, увеличивают безопасность обслуживания и способствуют выравниванию температуры по поверхности почвы. Увеличение диаметра почвенных труб способствует лучшему выравниванию температуры почвы.

Трубы почвенного и воздушного обогрева прокладывают с уклоном 0,002...0,003. Внутри труб на изолирующих опорных дисках протягивают нагревательный провод или голую оцинкованную проволоку. На выходе из труб провод крепят на изоляторах в монтажных каналах по торцам парника. При использовании голой проволоки питание осуществляют на пониженном напряжении, что требует применения понижающих трансформаторов и повышенного расхода материалов на подводящие провода и шины.

При обогреве в трубах достигаются безопасность обслуживания, легкость смены перегоревшего провода, защита от механических повреждений. Однако это требует значительного числа труб. Так, на один стандартный двадцатирамный парник (размеры по внутреннему обмеру 1,55×21,3 м, площадь поверхности остекления 32 м2) при двух почвенных и двух воздушных элементах требуется около 86 м асбоцементных труб. При непосредственной укладке в песок провод от повреждений защищают металлической сеткой с ячейками 30...50 мм, укладываемой в песке над проводом на расстоянии 50 мм (рис. 6, б), или бетонной стяжкой. Сетку заземляют, и она служит дополнительной мерой электробезопасностн на случай повреждения изоляции провода. Шаг укладки провода в песок выбирают из условия, чтобы неравномерность температуры не превышала 3...40. В среднем шаг принимают равным 100...150 мм. Для этого на 1 м2 почвы требуется 4...6 м провода. В парниках шаг укладки у парубней меньше (100...110 мм), а посредине больше (150...160 мм). Для обогрева воздуха нагревательный провод подвешивают по строительным конструкциям или к несущему тросу при помощи специальных подвесок.

Рис. 6. Устройство электрообогрева почвы и воздуха в парниках: а - обогрев трубчатыми нагревательными элементами; б - обогрев нагревательным проводом в песке; в - обогрев асфальтобетонным монолитом; 1 - парубни; 2 - элементы воздушного обогрева; 3 - элементы почвенного обогрева; 4 - защитная металлическая сетка; 5 - клеммная коробка; 6 - асфальтобетонный монолит с нагревательным проводом 7 и защитной металлической сеткой 4; 8 - почва; 9 - гравий.

Общую длину провода обогрева почвы и воздуха разбивают на ряд отдельных секций. Изменяя схему их включения, можно регулировать мощность обогрева.

Для обогрева почвы в парниках наиболее эффективно применять асфальтобетонный монолит размером 24×1,1×0,1 м, в котором уложен нагревательный провод или голая оцинкованная проволока. Монолит закладывают под почвенный слой (рис. 6, б). Такой способ обеспечивает высокую теплоаккумулирующую способность устройств обогрева, безопасность обслуживания, а также равномерность распределения температуры. Аналогично выполняют обогрев почвы в теплицах. В стеллажных теплицах закрытые нагревательные элементы крепят под стеллажами.

Электрокалориферные установки применяют главным образом для обогрева воздуха в весенних пленочных теплицах, но их можно применять и для обогрева почвы по трубам, проложенным в подпочвенном слое.

Автоматическое поддержание температуры. Нормами технологического проектирования парников и теплиц установлены пределы отклонения температуры почвы ±1°, воздуха ±2°. Такие требования возможно удовлетворить лишь при применении электрического обогрева и соответствующей системы регулирования. Простейшей из них является двухпозиционное регулирование с использованием релейно-контакторной аппаратуры.

Парники и теплицы являются энергоемкими потребителями, поэтому система управления должна обеспечить возможность включения устройств обогрева только в отведенное энергосистемой время. Для автоматического поддержания заданной температуры почвы в пленочных теплицах применяется комплектное устройство КЭПТ-1УХЛ 3,1 (рис. 7). Схема включает силовой тиристорный блок (VSI...VS6), элементы защиты, измерения и сигнализации. Управление силовыми тиристорами осуществляется путем закорачивания через резисторы R1...R3 цепочек управляющих электродов каждой пары тиристоров при замыкании контактов KV1.1...KV1.3 промежуточного реле KV. Реле KV срабатывает по программе, задаваемой реле времени КТ, и при температуре почвы ниже заданной (контакт SK терморегулятора).

При разогреве нагревательные элементы ЕК1...ЕК3 включаются на полную мощность РН, а далее осуществляется двухпозиционное регулирование по программам реле времени КТ, которое имеет две программы: на 0,5РН (включенное и отключенное состояние по 20 мин) и на 0,25 РН (включение составляет 15 мин, отключение 45 мин). Реле времени не позволяет включать нагрев в часы максимума нагрузки энергосистемы. Защиту устройства обогрева от токов утечки осуществляет реле утечки КА с датчиком ТА. Сигнал с КА поступает в катушку независимого расцепителя автоматического выключателя QF, который отключает питание. При срабатывании А, а также при открывании двери теплицы (конечный выключатель SQ) подается световой сигнал «Авария» (лампа HL1). Снимают сигнал кнопкой SB. Вольтметр PV с переключателем SA2 служит для контроля целости нагревательных проводов по фазам. Сигнальные лампы HL3 предупреждают персонал о включении нагревательных элементов под напряжение и одновременно контролируют наличие питания на всех трех фазах. При выходе из строя тиристоров питание на нагрузку подается через QF после перевода переключателя SA1 в положение 2.

Рис. 7. Принципиальная электрическая схема устройства КЭПТ-1УХЛ3.1 для регулирования мощности обогрева почвы в пленочных теплицах.

Для установок искусственного облучения растений промышленность изготавливает стационарные тепличные облучатели ОТ-400 с лампой ДРЛФ400, ОТ-1000 с лампой ДРФ1000, ОТ-2000 и КОРТ-2000 с лампой ДРОТ2000. ОТ-3000 и КОРТ-3000 с лампой ДМ43000, ОТ-6000 с лампой ДМ46000; РСП15-2000 с лампой ДРЛ2000; ССПОЗ-750 с лампой ДРВ750; ЖСП18-400 с лампой ДНаТ400, ГСП26 с лампами ДРИ400 и ДРИ1000, серии ОГС01 «Фотос» с лампами ДРИ1000, 2000, 3500 и ДМЗЗООО и другие. Указанные облучатели совместно со шкафами управления входят в состав установок типов УОРТ, УОРТУ и СОРТ и поставляются со всем необходимым для монтажа оборудованием.

Тепловая техническая сушка

Тепловая сушка плодов и овощей осуществляется в сушилках разнообразных типов - шкафных, канальных. Наиболее распространены паровые ленточные. Процесс идет в них непрерывно, что дает возможность организовать поточное производство сушеной продукции.

Сушка в паровых ленточных сушилках. В России выпускают ленточные сушилки с поверхностью лент от 10 до 90 м2.


Схема 4-ленточной паровой сушилки ПКС-20 представлена на рисунке 8. Общая поверхность сушильных лент 20 м2, производительность - до 1 т в сутки в пересчете на сушеный картофель. Каждая лента сушилки натянута на барабаны - валы, которые приводятся в движение от электромотора. Скорость движения лент можно менять при помощи вариатора скоростей. Обычно она, колеблется в пределах 0,05-0,3 м/мин. Движение нижней ленты медленнее, чем верхней, так как по мере высушивания продукции удаление влаги происходит труднее. Каждая лента обогревается трубчатыми паровыми калориферами, вмонтированными между барабаном.

Температура сушки на лентах регулируется. Подготовленные для сушки плоды и овощи подают транспортером на верхнюю ленту и равномерно распределяют на ней.

Сушка в вальцовых сушилках. Вальцовые сушилки применяют для производства хлопьев из картофельного пюре. Это новый продукт переработки, требующий минимальной кулинарной обработки. Двухвальцовая сушилка, схема которой представлена на рисунке 9, состоит из двух вальцов-барабанов большого диаметра, обогреваемых изнутри паром. Барабаны вращаются в противоположные стороны. На них подается картофельное пюре, которое тонкой пленкой распределяется на их горячей поверхности. Температура и скорость вращения барабанов отрегулированы так, что за один оборот пленка пюре полностью высыхает до влажности 4-6% и снимается уже в виде хлопьев с нижней стороны при помощи ножей. При такой технологии продукт может получиться с большим содержанием клейстеризованного крахмала, хлопья будут хрупкими и легко разрушаться, образуя много пылезидных частиц.

Процесс сушки в распылительных сушилках. В вальцовых сушилках можно сушить овощные и плодовые пюре, но чаще для этого применяют распылительные сушилки. В них тонкодиспергированный продукт в виде аэрозоля попадает в поток горячего воздуха, нагретого до 120-180 °С, и почти мгновенно высушивается. Кратковременность сушки обуславливает получение сушеных порошков высокого качества, из которых после восстановления образуются соки или пюре, близкие по свойствам к исходному сырью.

Воздух, нагретый в калорифере до температуры 120- 180 °С, подают вентилятором с большой скоростью в сушильную камеру, в которую поступает также распыленный при помощи форсунок или других устройств продукт. Малые капли его, охваченные горячим воздухом, быстро высыхают и увлекаются током воздуха в разделительную камеру. Здесь за счет центробежной силы, создаваемой в циклоне, высушенный порошок отделяется и собирается в сборниках, а насыщенный влагой воздух выбрасывается наружу.

Большой эффект при сушке дает применение вакуум-аппаратов. В них продукт можно высушивать при более низкой температуре, чем при атмосферном давлении. Благодаря этому качество его оказывается более высоким.

Сублимационная сушка

Сублимационная сушка основана совсем на иных принципах, нежели тепловая при атмосферном или отрицательном давлении. Если при тепловой сушке влага в продукте передвигается в жидкой фазе, что приводит к разной степени высушивания отдельных зон продукта, усадке и деформации, значительным изменениям химического состава и потерям вкусоароматических и биологически активных веществ, то при сублимационной она передвигается по тканям в виде пара. Наблюдается явление сублимации или возгонки, при котором влага из твердой фазы - льда переходит в газообразную - пар, минуя жидкую. Так как сублимационная сушка идет при температуре несколько ниже 0 °С, в продукте отмечаются лишь незначительные изменения химического состава, в нем хорошо сохраняются витамины, летучие ароматические вещества, цвет. Благодаря тому что влага удаляется в виде пара, почти нет усадки и деформации продукта, его структура сохраняется, лишь пространство, занимаемое водой, освобождается.

В камере сублимационной сушки постоянно поддерживают высокий вакуум, и продукт в ней находится в замороженном состоянии, одновременно к нему необходимо подводить тепло. В связи с этим установки сублимационной сушки технически сложны.

Подготовленный продукт загружают в сублимационную камеру на лотки с пустотелыми стенками, куда можно подать воду, нагретую до 40-70°С. Камера соединена с высокопроизводительным вакуум-насосом, который создает в ней высокое разрежение порядка 133-400 Па. Воздух, удаляемый из камеры, осушается в конденсаторе-вымораживателе, в который вмонтирован испаритель-рефрижератор холодильной установки. Давление пара в вымораживателе всегда ниже, чем в камере, благодаря чему высушивание продукта происходит достаточно быстро.

Сублимационные сушилки оборудуются контрольно-регулирующей аппаратурой, которая обеспечивает поддержание необходимого режима сушки по температуре, давлению, подводу тепла и удалению влаги. Распространены сублимационные сушилки периодического действия, их устанавливают по нескольку штук и пар поочередной загрузке обеспечивается непрерывность производства В нашей стране созданы опытные образцы сублимационных сушилок непрерывного действия.

Способ сублимационной сушки применяют для консервирования таких биологических препаратов, как плазма крови, антибиотики, бактериальные удобрения. Благодаря высокой степени обезвоживания продукты после нее длительно и хорошо сохраняются при обычной и повышенной температуре, например в условиях тропиков.

 

Основные показатели экономической эффективности электрификации сельхозпроизводства. Показатели использования электрической энергии в сельском хозяйстве


При проектировании установок и систем сельского электроснабжения необходимо обеспечить выбор наиболее целесообразного, то есть имеющего лучшие технико-экономические показатели, варианта. Варианты могут отличаться как капитальными вложениями, так и текущими затратами (ежегодными издержками производства, эксплуатационными расходами). Если есть вариант, у которого и наименьшие капитальные вложения, и минимальные текущие затраты по сравнению с другими, естественно, он будет наилучшим. Однако в большинстве случаев у одних вариантов большие капитальные вложения, у других - повышенные текущие затраты. Для выбора целесообразного варианта в этом случае можно оценить сравнительную экономическую эффективность дополнительных капитальных вложений путем сопоставления разности капитальных вложений (K2 и К2 - соответственно для первого и второго сравниваемых вариантов) с экономией текущих затрат (С2 и C1 на годовую продукцию (себестоимость).

При этом срок окупаемости дополнительных капитальных вложений

tок = (К1 - К2)/(С2 - C1).                 (1)

Значение tOK следует сравнить с заранее установленным нормативным сроком окупаемости ТН. Если tOK < ТН, предпочтение следует отдать первому варианту (с большими капитальными вложениями), при tOK > ТН - второму.

Величина, обратная нормативному сроку окупаемости, называется нормативным коэффициентом сравнительной эффективности капитальных вложений ЕН:

ЕН = 1/ТН.                                               (2)

Аналогично вышеуказанному выбор целесообразного варианта можно проводить, используя коэффициент сравнительной эффективности капитальных вложений

Е = (С2 - C1)/(K1 - K2).          (3)

При этом вариант с большими капитальными вложениями будет целесообразен при Е > ЕН. Величину ЕН принимают равной 0,12 (для новой техники ЕН = 0,15).

На практике при сравнении вариантов в качестве показателя сравнительной экономической эффективности наиболее часто используют приведенные затраты. Это особенно удобно при сравнении нескольких вариантов.

Приведенные затраты З (руб. в год) по каждому варианту представляют собой сумму текущих затрат С (годовых издержек на эксплуатацию, руб. в год) и капитальных вложений К (руб.) на строительство и реконструкцию по рассматриваемому варианту, приведенных к одинаковой размерности при помощи нормативного коэффициента ЕН (1/год):

З = ЕНК + С.                                            (4)

Из сравниваемых вариантов оптимальным (наилучшим) будет тот, у которого З будут минимальными.

При определении капитальных вложений учитывают следующие составляющие:

К = Ксм. р + Коб + Кпр + Кобор.                    (5)

где Ксм. р - затраты на строительно-монтажные работы; Коб - затраты на приобретение оборудования, транспортных средств и инвентаря; Кпр - затраты на проектно-изыскательские и другие, связанные со строительством подготовительные работы; Кобор - затраты на формирование (пополнение) оборотных средств.

Текущие затраты (ежегодные издержки производства) включают ряд составляющих, которые можно записать в следующем варианте:

С = Ирен + Ик.р + Из + Ипроч + Иэ = Иа + Иобс + Иэ = Иа + И∑, (6)

где Ирен - амортизационные отчисления на реновацию, предназначенные для полного возмещения основных фондов по истечении срока службы объекта; Ик.р - амортизационные отчисления на капитальный ремонт, предназначенные для частичного восстановления и модернизации оборудования; И3 - зарплата обслуживающего персонала; Ипроч - прочие производственные и вне-производственные расходы, включающие затраты на вспомогательные материалы (смазочные, обтирочные и т. п.), текущий ремонт, услуги вспомогательных производств, а также общесетевые; Из - затраты на потери электроэнергии; Иа - амортизационные отчисления на реновацию и капитальный ремонт (ирен + ик.р); Иобс - затраты на обслуживание (ИЗ + Ипроч); И∑ - текущие затраты без суммарных амортизационных отчислений на реновацию и капитальный ремонт (Из+ Ипроч + Иэ).

Если продолжительность сооружения установок (систем) по сравниваемым вариантам более одного года, а капитальные вложения по этим вариантам осуществляются в разные сроки и текущие затраты изменяются во времени, то для сравнения таких вариантов приводят затраты к одному сроку (часто к первому году). При этом капитальные затраты Kt, сделанные в году t, приводят к году t0 по следующему выражению:

К0 = Kt/(1 + Ен. п)t-t0,                                       (7)

где ЕН.П - нормативный коэффициент приведения разновременных затрат, равный 0,08.

Соответственно для текущих затрат

И0 = Иt/(1+Ен.п) t-t0.                               (8)

При изменении приведенных затрат на рассматриваемые варианты установок (систем) по годам величина 3t для года t составит:

Зt = (Ен + Ра)Кt+И∑t,                              (9)

где И∑t - текущие затраты в год t без амортизационных отчислений; Kt - суммарные капитальные вложения, сделанные за срок, истекший до года t включительно; Ра = Иа/К - норма амортизационных отчислений.

При сравнении вариантов, для которых изменяются затраты по годам, используют суммы ежегодных затрат за определенный расчетный срок Тс. При этом ежегодные затраты должны быть приведены к одному моменту времени:

.                          (10)

За срок суммирования затрат, в частности при технико-экономическом сравнении вариантов реконструкции сети, часто принимают расчетный период. Этот период, как указывалось в главе 3, определяется временем, истекшим с момента ввода установки в эксплуатацию до установления нагрузки, равной расчетной (обычно 5 ... 10 лет).

Все сопоставляемые варианты сетей должны быть взаимозаменяемыми и обеспечивать одинаковый энергетический эффект, то есть одинаковую пропускную способность и одинаковые уровни надежности и качество электрической энергии у потребителя.

В целом порядок выполнения технико-экономических расчетов при проектировании сетей (установок) обычно принимается следующий.

. Определяют капитальные вложения на строительство (сооружение) и реконструкцию сетей (установок) для каждого из вариантов за рассматриваемый расчетный период с использованием показателей стоимости элементов сетей (установок). При этом элементы сетей, повторяющиеся во всех вариантах, не учитывают.

Для правильного сопоставления вариантов стоимости элементов сетей разных вариантов следует определять по одному источнику. В качестве таких источников могут быть, например, укрупненные показатели стоимости строительства и реконструкции электрических сетей.

. Определяют ежегодные текущие затраты на амортизацию и капитальный ремонт, на обслуживание сетей, на возмещение потерь электроэнергии для каждого рассматриваемого варианта.

Рассчитывают приведенные затраты для каждого варианта в соответствии с указанными выше выражениями и определяют оптимальный вариант.

При проведении сравнительной оценки вариантов значения приведенных затрат в ряде случаев могут мало отличаться одно от другого. Обычно при технико-экономических расчетах равно-экономичными считаются варианты, различающиеся по приведенным затратам не более чем на 5 %. В этих случаях целесообразный вариант выбирают на основе оценки дополнительных критериев (показателей), к которым относятся затраты тех или других материалов (например, металла), перспективность варианта, удобство эксплуатации и т. п.

СПИСОК  ЛИТЕРАТУРЫ

1.     Жеребцов И. П. Электрические и магнитные цепи. Основы электротехники.- 2-е изд., перераб. и доп. - Л.: Энергоатомиздат. Ленингр. отделение, 1987. - 256 с.: ил.

2.       Электротехника: Учеб для ПТУ/Шихин А. Я., Белоусова Н. М., Пухляков Ю. X. и др ; Под ред. А. Я. Шихина. - М.: Высш. шк., 1989. - 336 с.: ил.

.        Поляков В. А. Электротехника: Учеб. пособие для учащихся 9 / 10 кл. - М.: Просвещение, 1982. -239 с. ил.

.        Котельников С.К. Справочник сельского электромонтера. Челябинск, Кн. изд., 1963 г. 228 стр. (Челяб. обл. управление «Челябсельэнерго»).

5.     Луковников А. В. Охрана труда. - 5. изд., перераб. и доп.- М,: Колос, 1984.-288 с., ил. - (Учебники и учеб, пособия для высш. с.-х. учеб, заведений).

6.       Широков Е. П. Технология хранения и переработки плодов и овощей с основами стандартизации.- М.: Агропромиздат, 1988.- 319 с.: ил.- (Учебники и учеб, пособия для студентов высш. учеб, заведений).

.        Пястолов А. А., Чарыков В. И., Павлович Н. И. Экономия электроэнергии в сельском хозяйстве. - Челябинск, Южно-Уральское книжное издательство, 1988, 195 с.

8.     Электрооборудование и автоматизация сельскохозяйственных агрегатов и установок / И.Ф. Кудрявцев, Л.А. Калинин, В.А. Карасенко и др.; Под ред. И.Ф. Кудрявцева. - М.: Агропромиздат, 1988. - 480 с.: ил. - (Учебники и учеб, пособия для учащихся техникумов).

Похожие работы на - Электрификация производственных процессов в растениеводстве

 

Не нашли материал для своей работы?
Поможем написать уникальную работу
Без плагиата!
Без нейросетей!