Построение имитационной модели с использованием приложения Simulink пакета Mathlab

  • Вид работы:
    Дипломная (ВКР)
  • Предмет:
    Информатика, ВТ, телекоммуникации
  • Язык:
    Русский
    ,
    Формат файла:
    MS Word
    515,01 kb
  • Опубликовано:
    2011-10-18
Вы можете узнать стоимость помощи в написании студенческой работы.
Помощь в написании работы, которую точно примут!

Построение имитационной модели с использованием приложения Simulink пакета Mathlab

ВВЕДЕНИЕ

При построении оптимальных и адаптивных систем одной из основных задач является определение статических и динамических свойств объектов и сигналов внешних воздействий с целью получения соответствующих математических моделей.

Одним из методов построения математических моделей объектов и сигналов внешних воздействий является идентификация.

В частном случае при идентификации определяют коэффициенты известного дифференциального уравнения и аппроксимации статических характеристик объекта по данным эксперимента. В общем случае при идентификации рассматривают более сложные задачи, связанные с определением:

степени и формы связи между входными и выходными переменными;

стационарности и эргодичности исследуемых случайных процессов выхода объекта и сигналов внешних воздействий;

качественной и количественной оценки степени идентичности модели объект (оригиналу) или реальному сигналу;

оценки степени нелинейности и возможности получения с достаточной точностью линеаризированной модели;

алгоритмов идентификации и др.

Наиболее совершенным средством математического описания сложного объекта являются экспериментально-статистические методы, которые основаны на обработке экспериментального материала, полученного в реальных условиях. При этом возможны два способа накопления исходного статистического материала: пассивные и активные эксперименты.

Пассивный эксперимент основан на регистрации контролируемых параметров процесса в режиме нормальной работы объекта без внесения каких-либо преднамеренных возмущений. Активный эксперимент основан на использовании искусственных возмущений, вводимых в объект по заранее спланированной программе.

Способ активного эксперимента целесообразно применять, если возможно активно воздействовать на процесс: стабилизировать необходимые переменные (например, создавать автоколебания с различными параметрами), задерживать процесс в отдельные моменты и т.д. Способ пассивного эксперимента является практически единственно возможным в этом случае, когда испытанием подвергается реальный промышленный объект с высокопроизводительным непрерывным производством дорастающего продукта.

При обработке экспериментальных данных используют аппарат математической статистики (регрессионный и дисперсионный анализы), позволяющий получать математические описания простого вида. Применение статистических методов требует большого объема вычислительной работы, однако дает возможность производить идентификацию в тех случаях, когда обычные детерминистические методы оказываются непригодными.

1. ПОСТРОЕНИЕ КОНЦЕПТУАЛЬНОЙ МОДЕЛИ СИСТЕМЫ

.1 Вентиляторы главного проветривания как объект автоматизации

Сейчас практически все вентиляторные установки шахт и рудников автоматизированы.

Для автоматизации управления используется аппаратура типа УКВГ, АДШВ, ЭРВГП и др., а также современная унифицированная аппаратура УКЛВ-2.

Аппаратура автоматизации управления вентиляторами должна удовлетворять следующим основным требованиям:

1.Обеспечивать надежную работу без постоянного присутствия обслуживающего персонала.

2.Предусматривать возможность трех видов управления дистанционно-автоматизированного, выполняемого диспетчером или оператором с пульта управления, который должен находиться па поверхности шахты в диспетчерском пункте или в помещении одной из постоянно обслуживаемых стационарных установок;

дистанционно-автоматизированного из машинного зала, аналогичного управлению от диспетчера;

местного индивидуального, деблокированного с места установки механизмов (для проведения ремонтно-наладочных работ).

3.  Переход с одного вида управления на другой не должен выбывать остановки работающего вентиляторного агрегата.

4.  Допускать реверсирование воздушной струи и переход с одного вентилятора на другой при закрытом направляющем аппарате без остановки вентиляторного агрегата (если это разрешается по технологии работы вентилятора, например, для центробежных вентиляторов).

5.Обеспечивать аварийное отключение вентилятора при коротких замыканиях и нарушениях изоляции по отношению к «земле» в силовых цепях;

исчезновении более чем на 10с напряжения на станциях управления;

неисправности в системе охлаждения приводных двигателей (при принудительном их охлаждении);

перегреве подшипников электродвигателей и вентиляторов;

несимметричных режимах работы двигателей и их длительной перегрузке;

несостоявшемся или затянувшемся пуске;

выпадении синхронного двигателя из синхронизма или неполном выводе ступеней реостата в цепи ротора асинхронного электродвигателя после окончания пуска;

прекращении протока масла через подшипники или понижении давления в маслосистеме;

действии тормозных устройств во время работы агрегата.

6.Обеспечивать подачу светового и звукового предупредительных сигналов при неисправностях, которые не вызывают необходимости аварийного отключения работающего вентилятора. Например, при предельной производительности или депрессии вентиля тора.

7.Обеспечивать возможность аварийной остановки вентиляторе обслуживающим персоналом из машинного зала при любом виде управления.

8.Обеспечивать блокировки, запрещающие: одновременную работу двух вентиляторов на шахтную сеть

если не используется их параллельная работа, а также реверсирование воздушного потока без остановки вентилятора;

повторное или самопроизвольное включение привода вентилятора после оперативного или аварийного отключения без последующей команды на пуск и до устранения причин, вызвавших аварийное отключение;

одновременное применение различных видов управления агрегатом;

включение электродвигателей лебедок ляд и шиберов при pработающем вентиляторе;

пуск вентилятора при не соответствующих выбранному режиму работы положениях ляд в вентиляционных каналах.

9.Обеспечивать контроль:

депрессии и производительности вентилятора самопишущие приборами и устройствами, сигнализирующими на пульт управления об отклонении этих параметров от заданных значений;

температуры подшипников электродвигателя и вентиляторам протока и давления масла в системе маслосмазки;

положения ляд и лопаток направляющего или спрямляюше-направляющего аппаратов.

10.Обеспечивать сигнализацию, отражающую:

в машинном здании (световую или блинкерную) - аварийное отключение вентилятора с расшифровкой причины отключения работу в нормальном или реверсивном режиме; ввод в работу резервного насоса системы смазки; повышенную температуру подшипников электродвигателей и вентиляторов; на пульте диспетчера (световую) - включение и отключение вентилятора; работу в нормальном или реверсивном режиме (по положению переключателя на пульте); аварийное отключение вентилятора (без расшифровки причины) с дублированием звуковым сигналом;

11.Обеспечивать независимость электроснабжения рабочего и резервного вентиляторных агрегатов. Схемы не должны содержать общих элементов, выход из строя которых может вызвать неуправляемость или отключение обоих агрегатов.

1.2 Аппаратура автоматизированного управления вентиляторами главного проветривания

Для автоматизации шахтных и рудничных вентиляторов главного проветривания применяется комплект УКАВ-2 унифицированной аппаратуры автоматизации вентиляторов, позволяющий автоматизировать все типы выпускаемой промышленностью вентиляторов. По сравнению с ранее применявшейся аппаратурой автоматизации вентиляторных установок этот комплект обеспечивает: широкую унификацию схем, станций и пультов управления для автоматизации вентиляторов главного проветривания любой модификации; максимально возможное поагрегатное разделение электрооборудования, средств автоматизации, управления, контроля, сигнализации и защиты; выполнение всех технологических и эксплуатационных требований к современным автоматизированным вентиляторным установкам; использование современных средств автоматизации.

Комплектная поставка аппаратуры УКАВ-2 с технологическим оборудованием упрощает и снижает сроки проектирования, изготовления и монтажа автоматизированных вентиляторных установок и дает большой экономический эффект.

Дальнейшее совершенствование аппаратуры автоматизации вентиляторных установок осуществляется на основе применения высоконадежных полупроводниковых устройств и герметизированных реле, разработки блочных конструкций, обеспечивающих удобство эксплуатации и повышающих ремонтопригодность аппаратуры.

Назначение аппаратуры УКАВ-2 - автоматизация вентиляторных установок, оснащенных одним или двумя осевыми (нереверсивными или реверсивными) или центробежными (одностороннего или двустороннего всасывания) вентиляторами с электроприводом от синхронных или асинхронных двигателей высокого или низкого напряжения, а также автоматизация вентиляторных установок с двухдвигательным реверсивным электроприводом вентиляторов встречного вращения.

Предусмотрена возможность подключения к аппаратуре УКАВ-2 аппаратуры регулирования частоты вращения вентилятора с помощью машины дойного питания или асинхронного машинно-вентильного каскада. Напряжение питания электроприводов - 10000, 6000, 380 и 220 В, а цепей управления - 220 В.

В комплект аппаратуры УКАВ-2 входят станции: автоматизации, включающие в себя аппаратуру управления маслостанцией; контрольно-измерительных приборов; возбуждения, вспомогательных приводов; статорная реверсивная и нереверсивная на токи 400 и 630 А и роторная; пульт управления.

Аппаратура позволяет: осуществлять автоматическое из машинного зала, или с пульта диспетчера, или местное управление, устанавливать нормальный или реверсивный режим проветривания; вести автоматический контроль за работой установки при управлении как из машинного зала, так и с пульта управления диспетчера; осуществлять частичное регулирование производительности вентилятора поворотом лопаток направляющего аппарата на ходу; автоматически включать резервный вентилятор при аварийном отключении работавшего; автоматически включать резерв (АВР) низкого напряжения; производить автоматическое повторное включение (АПВ) при кратковременном (до 10 с) отключении питающего напряжения; реверсировать вентиляционную струю воздуха без останова вентилятора; отключать вентилятор при возникновении аварийных ситуаций.

Автоматические блокировки аппаратуры исключают: одновременную работу двух вентиляторов (рабочего и резервного); повторное или самопроизвольное включение привода вентилятора после оперативного или аварийного отключения до устранения причин аварии и без новой команды на пуск; включение вентилятора без подачи команды на новый пуск при нарушении пускового режима; включение вентилятора до установки ляд в положение, соответствующее выбранному режиму работы; включение реверсивного двигателя вентилятора в обратную сторону до полной его остановки; одновременное использование двух видов управления; перестановку ляд нереверсивного вентилятора приоткрытом направляющем аппарате, перестановку ляд реверсивного вентилятора при включенном приводе или расторможенном роторе; одновременный пуск колес 1-й и 2-й ступени вентилятора встречного вращения; коммутацию высоковольтного разъединителя под нагрузкой.

Аварийное отключение вентиляторной установки производится: при коротких замыканиях и перегрузках приводного двигателя; при замыкании на землю токоведущих частей; при работе синхронного двигателя в асинхронном режиме; при отключении питающего напряжения на время больше 10 с и последующем его восстановлении; при наложении тормоза во время работы; при затянувшемся пуске (более 8 мин); при отсутствии потока и давления масла в системе маслосмазки; при повышении температуры подшипников двигателя и вентилятора свыше допустимых пределов.

Осуществляется автоматический контроль режимов и параметров: разгона электродвигателя; положения ляд; положения лопаток направляющего аппарата; депрессии и производительности вентилятора; температуры обмоток электродвигателя вентилятора, подшипников двигателя и вентилятора; отключения напряжения электродвигателя; положения тормозов; наличия напряжения на станциях управления; тока статора приводного двигателя; потока и давления масла в системе смазки; напряжения на низковольтных шинах вспомогательных электроприводов; остановки-вентилятора.

Аппаратура обеспечивает сигнализацию:

в машинном зале: блинкерную предупредительную и аварийную на станции автоматизации и световую на станциях: роторной (о наличии напряжения и готовности станции к пуску), возбуждения (о наличии напряжения и контроль форсировки), ста-торной (о наличии напряжения), вспомогательных приводов (о наличии напряжения и положении ляд); в диспетчерском пункте на пульте управления осуществляется световая предупредительная и аварийная сигнализация о включении или отключении, об автоматическом режиме работы вентилятора.

Звуковая сигнализация устанавливается как в машинном зале, так и в диспетчерском пункте.

Подготовка к пуску требует включить автоматы питания силовых цепей и цепей управления, установить переключатель режимов работы на станции автоматизации в положение, соответствующее выбранному виду управления.

Пуск агрегата осуществляется из машинного зала или с пульта диспетчера. При замкнутом контакте реле контроля отключенного состояния резервного вентилятора включается реле пуска вентилятора. После этого срабатывает реле и пускатели приводов направляющего и спрямляющего аппаратов устанавливают их в нужное положение. Включается маслонасос. Подается питание на дифманометры и логометры. Включается система контроля по времени запуска маслонасоса, контроля положения направляющего аппарата, аварийной сигнализации, защиты и пуска.

После выполнения всех подготовительных операций (ляды установлены в нужном положении, направляющий аппарат -в положении «Меньше», спрямляющий аппарат - в положении «Нормально», на вентилятор наложен тормоз, система масло-смазки работает нормально) собирается цепь готовности агрегата и включается реле пуска вентилятора, которое включает контактор пуска, что приводит к включению масляного выключателя и подключению к сети двигателя вентилятора.

Своими блок-контактами масляный выключатель размыкает цепь пускателя привода направляющего аппарата и контактора возбуждения. Реле размножения контактов после включения масляного выключателя подготавливает цепь контактора форси-ровки возбуждения и контактор управления двигателем возбуждения. Возбудительный агрегат включается.

При подключении синхронного двигателя к сети возникает толчок тока, включается реле контроля тока, и подготавливается цепь включения контактора, с помощью которого подается возбуждение на синхронный двигатель. По достижении двигателем подсинхронной частоты вращения ток статора уменьшается, реле контроля тока отключается, что в конечном счете приводит к включению контактора возбуждения, подаче тока возбуждения в обмотку ротора синхронного двигателя и одновременному отключению сопротивления гашения. Синхронный двигатель входит в синхронизм. Для облегчения втягивания электродвигателя в синхронизм производится форсировка возбуждения за счет закорачивания контактором форсировки сопротивления. Разгон вентилятора контролируется с помощью реле контроля скорости вентилятора и реле контроля оборотов. Если пуск вентилятора осуществляется в нормальном режиме, то после разгона вентилятора с помощью реле контроля режима включается пускатель направляющего аппарата и приводом направляющий аппарат устанавливается в положение «Больше», в котором привод отключается конечным выключателем. Режим пуска вентилятора на этом заканчивается.

В схеме станции автоматизации для управления вентилятором встречного вращения с двухдвигательным приводом имеются два реле скорости, которые контролируют тот двигатель, на котором они установлены. Цепи пусковых реле в этом случае дублированы. Пуск каждого двигателя осуществляется стандартной статорной станцией. Вначале разгоняется колесо 2-й ступени, а затем 1-й.

Остановка вентиляторной установки осуществляется нажатием кнопки из машинного зала или на пульте диспетчера. При подаче сигнала на отключение срабатывает электромагнит отключения масляного выключателя. Направляющий аппарат устанавливается в положение «Меньше» с помощью пускателя и соответствующего привода, который в положении «Меньше» отключается конечным выключателем. Происходит наложение тормоза, который удерживается до тех пор, пока не сработает реле контроля скорости и не обесточит катушку пускателя тормоза. Ляды возвращаются в положение, соответствующее остановленному вентилятору. Схема возвращается в исходное состояние.

Аварийная остановка вентилятора происходит после срабатывания реле аварийного отключения, которое включает реле отключения, что в конечном счете приводит к отключению двигателя от сети. На пультах управления включается аварийная световая и звуковая сигнализация.

Самозапуск вентиляторной установки может осуществляться только в том случае, если питающее напряжение исчезает не больше чем на 10 с и производится с помощью аппаратуры повторного включения двигателя без подачи нового сигнала на включение. Сигнализация об исчезновении напряжения осуществляется блинкером.

Автоматическое включение резервного вентилятора может быть осуществлено, если в схеме переключатель режимов работы установлен в положение «Замкнуто», что при аварийном отключении работавшего вентилятора приводит к замыканию цепи включения реле пуска резервного вентилятора и происходит его автоматический запуск.

Включение в работу соответствующего маслонасоса производится с помощью соответствующего переключателя и пускателя рабочего маслонасоса, который включается контактом реле пуска. Если через 3 мин после включения рабочий маслонасос не разовьет необходимого давления и не будет получена необходимая скорость протекания масла, происходит включение резервного маслонасоса, о чем диспечетру подается предупредительный сигнал (звуковой и световой).

Растормаживание колеса вентилятора происходит после подключения электродвигателя вентилятора в сети. Контроль положения тормоза осуществляется конечным выключателем. Если произойдет наложение тормоза во время работы вентилятора, то конечный выключатель включает блинкер и реле останова вентилятора.

При реверсе вентилятора на ходу или кратковременном исчезновении напряжения тормоз не накладывается, так как питание на катушку управления пускателя не поступает (в этой цепи остается разомкнутым контакт реле времени).

1.3 Автоматическая газовая защита

Комплекс автоматической газовой защиты и телемеханического контроля содержания метана в рудничной атмосфере является составной частью автоматизированной системы проветривания. Можно выделить три основных типа аппаратуры, используемой в системе газовой защиты.

Переносные сигнализаторы метана (типа СМП), предназначенные для непрерывного контроля концентрации метана в рудничной атмосфере очистных и подготовительных забоев шахт. Это приборы группового и индивидуального пользования, имеющие визуальный индикатор метана и аварийную звуковую и световую сигнализацию. Очевидно, что эти сигнализаторы не могут быть использованы для сбора и передачи информации о содержании метана в УВМ.

Встроенные комбайновые метан-реле ТМРК-3, предназначенные для непрерывного измерения концентрации метана и автоматического отключения комбайна при превышении заданного уровня концентрации с одновременной подачей светового сигнала. Метан-реле ТМРК-3 также не имеет блоков для передачи телемеханической информации в УВМ.

В автоматизированной системе проветривания должны использоваться те средства автоматической газовой защиты, при помощи которых может быть обеспечен сбор и передача в УВМ необходимой информации о содержании метана в различных местах шахты. К таким средствам может быть отнесен комплекс «Метан».

Многофункциональная комплексная аппаратура - комплекс «Метан» предназначена для непрерывного местного и централизованного контроля содержания метана и выдачи сигнала на автоматическое отключение электрической энергии контролируемого объекта при достижении предельно допустимой концентрации метана в угольных шахтах, опасных по газу.

Рисунок 1.3.1 - Блок-схема комплекса «Метан»

Этот комплекс может использоваться как самостоятельная система автоматической газовой защиты (АГЗ), а также включаться как подсистема в систему автоматизированного управления проветриванием шахты.

Комплекс «Метан» состоит из трех составных частей (Рисунок 1): анализатора метана АТ1-1, контролирующего содержание метана в одной точке (один датчик метана);

анализатора метана АТЗ-1, контролирующего содержание метана в трех местах;

стойки приема информации СПИ-1, устанавливаемой на поверхности в диспетчерской.

1.4 Автоматическое регулирование производительности вентиляторов

При автоматизации проветривания шахт необходимо регулировать производительность вентиляторов, так как фактическая потребность в подаче воздуха непрерывно меняется под воздействием: характера ведения горных работ (например, метановыделение в добычные смены увеличивается на 25-50%); изменения протяженности подземных выработок; колебания естественной тяги и др.

Однако автоматическое регулирование производительно вентиляторов представляет сложную техническую задачу, поскольку наряду с широким диапазоном изменения производительности необходимо обеспечить высокие технико-экономические показатели их работы.

Выбор способа регулирования производительности вентилятора определяется возможностями его технической реализации и экономичностью.

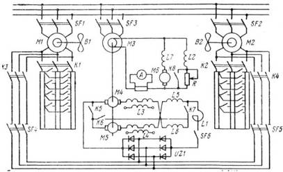
Рисунок 1.4.1 - Схема силовых цепей автоматической вентиляторной установки с АМВК

В настоящее время существуют различные способы регулирования производительности вентиляторов: дроссельное; изменением угла установки лопаток рабочего колеса или направляющего (спрямляющего) аппарата; изменением угловой скорости (частоты вращения) рабочего колеса.

Наименее экономичен способ дроссельного регулирования и поэтому, несмотря на его простоту, он не получил распространения.

В основном в системах автоматизации проветривания производительность регулируется поворотом лопаток, направляющего аппарата и изменением частоты вращения рабочего колеса.

Первый способ менее экономичен, но весьма прост по реализации, так как вентиляторы снабжаются устройством для одновременного поворота лопаток направляющего (спрямляющего) аппарата. Однако, как правило, этот способ используют при небольших диапазонах изменения производительности.

Второй способ реализован на установках с вентиляторами ВЦД-32 или ВЦД-40 на основе асинхронного машинно-вентильного каскада (АМВК), принципиальная схема которого приведена на рисунке 1.4.1.

Регулирование угловой скорости двигателей вентиляторов Ml и М2 производится путем подачи в их ротор противо-э.д.с. машин постоянного тока М4 и М5. Чем больше значение Uэ, тем мены ток ротора двигателя вентилятора и момент, который он развивает. Вследствие этого уменьшается частота вращения рабочего колеса вентилятора и, следовательно, его производительность. При низкой частоте вращения (от 0,5 до 0,75 номинальной) машины М4 и Ml. соединяются последовательно (контакт К6 замкнут, а К5 и K7 разомкнуты). При больших скоростях (0,75 и выше) - машины М4 и М5 соединяются параллельно (контакт К6 разомкнут, а К5 и К7 замкнуты). Пуск двигателей вентилятора производится с помощью роторных сопротивлений, которые затем отключаются. Энергия скольжения двигателей Ml и М2 рекуперируется в сеть.

Основная задача проектирования САУ вентиляторной установкой состоит в создании системы управления, которая обеспечит устойчивую работу этого объекта при всех возможных изменениях возмущающего воздействия.

Функциональная схема САУ представляет собой совокупность соединенных определенным образом элементов (звеньев, типовых блоков) системы по выполняемым ими функциям, независимо от их физической природы.

Построение функциональной схемы следует вести, базируясь на схеме проветривания и группировании ее исполнительных элементов в функциональные блоки, разделенные входными и выходными сигналами, несущими смысловую информацию.

автоматизация вентиляторный имитационный модель

Рисунок 1.4.2 - Функциональная схема автоматической вентиляторной установки с АМВК

На рисунке обозначены следующие элементы:

БУ-МП- блок управления и механизм подачи;

ДВ - двигатель;

В - вентилятор;

С - сеть;

Д - датчик расхода воздуха;

Uз, Uу, Uф - соответственно задающее, управляющее и фактическое напряжения;

ΔU - сигнал рассогласования;

ω - угловая частота вращения вала электропривода;

Qв - расход воздуха

Q - средний расход воздуха.

1.5 Определение передаточных функций блоков схемы и расчет их параметров

Передаточная функция вентиляционной сети Wc(p) весьма сложна и обычно в каждом случае определяется по переходной характеристике. Измеряя расход воздуха в стволе шахты, упрощенную передаточную функцию звена «вентилятор-сеть» можно записать так:


где КB - коэффициент передачи выработки; τ = l/a = 37.5 - время чистого запаздывания (l - протяженность выработки, а - скороcть потока воздуха); Тв = 2 - постоянная времени выработки.


где La, l - соответственно акустическая масса и длина участка выработки; R - аэродинамическое сопротивление сети; RB, QB - соответственно внутреннее сопротивление и производительность вентилятора.

БУ-МП- блок управления и механизм подачи описывают передаточной функцией апериодического звена первого порядка:

;

где = 0,1 - коэффициент усиления;

 = 0,04с - постоянная времени.

В последнее время ведутся работы по внедрению асинхронного машинно-вентильного каскада в качестве регулятора напряжения, подводимого к приводу вентилятора.

В динамическом отношении асинхронный машинно-вентильный каскад приближенно описывает передаточной функцией апериодического звена первого порядка с постоянной времени  = 0,05 с.

Датчик расхода воздуха Д в динамическом отношении представляют усилительным звеном с передаточной функцией


где = 2 - коэффициент усиления датчика расхода воздуха.

Номинальные значения угловой скорости вращения электродвигателя рассчитывают по соотношению:


где  - частота вращения вала электродвигателя, об/мин, выбирают по технической характеристике принятого двигателя. Передаточную функцию двигателя (ДВ) представляют так:


То есть при управлении скоростью трехфазного асинхронного двигателя за счет изменения подводимого к его статору напряжения, двигатель описывают передаточной функцией апериодического звена первого порядка,  - коэффициент пропорциональности:

;

где  - фазовое напряжение, подводимое к статору, В;

 - синхронная угловая скорость двигателя, с-1;

 - критическое скольжение;

 - активное сопротивление статора, Ом;

 - реактивное сопротивление короткого замыкания.

Учитывая сложность определения коэффициента пропорциональности, а в дальнейшем, при исследовании на устойчивость его корректировку, определяют  приближенно по формуле:

.

 

Постоянная времени  в выражении передаточной функции двигателя определяют так:

;

где  - момент инерции ротора двигателя, ;

В технических характеристиках электродвигателей указывают на моменты инерции, а маховые моменты. Между числовыми значениями момента инерции  и махового момента существует связь:


где  - максимальный вращающий момент электродвигателя, Н*м.

При жесткой сети . В каталогах для электродвигателей дают отношение  ,

 - номинальный момент электродвигателя, Н*м,


где  - номинальная мощность электродвигателя, кВт;

- номинальная частота вращения, об/мин.

При известном отношении:

,

критическое скольжение Sk определяют во формуле:


где  - номинальное скольжение


где  - синхронная частота вращения, об/мин.

Передаточная функция вентилятора Wв(p) может быть представлена апериодическим звеном первого порядка:

,

Где ТВ - постоянная времени, а значение  - коэффициента усиления звена В устанавливают расчетным путем исходя из номинальных значений: угловой скорости вращения электродвигателя вентилятора  и линейной скорости подачи воздуха . Номинальные значения скорости подачи воздуха на выходе установки принимаем  = 3,6 м/с.

2. АЛГОРИТМИЗАЦИЯ МОДЕЛИ И ЕЕ РЕАЛИЗАЦИЯ НА ЭВМ

Динамическую модель системы автоматического управления, необходимо заменить её элементы соответствующими динамическими звеньями и соединить их между собой.

Структурная схема САУ нагрузкой вентилятора главного проветривания представлена на рисунке 2.1.

иcунок 2.1 - Структурная схема САУ вентилятором главного проветривания.

где Xвх(p) - входной сигнал, входная переменная (входное воздействие, задающее воздействие);

Xвых(р) - выходной сигнал, выходная переменная;

Хос(р) - сигнал обратной связи;

WБУ-МП(р), WДВ(p), WВ(p), WС(p), WД(p), - передаточные функции блока управления и механизма подачи, двигателя вентилятора, самого вентилятора, сети, датчика расхода воздуха.

Передаточная функция блока управления и механизма подачи:

;

.

Передаточная функция двигателя вентилятора:

;

.

Передаточная функция вентилятора:

;

.

Передаточная функция сети:

;

.

Передаточная функция датчика расхода воздуха:


Согласно структурной схемы представленной на рисунке 2.1 составим модель САУ вентилятора главного проветривания в пакете MATLAB в приложении визуального моделирования SIMULINK (рисунок 2.2).

Рисунок 2.2 - Модель САУ вентилятора главного проветривания в пакете MATLAB

Рисунок 2.3 - Модель САУ вентилятора главного проветривания в пакете MATLAB с использованием ПИ-регулятора.

3. ПОЛУЧЕНИЕ И ИНТЕРПРЕТАЦИЯ РЕЗУЛЬТАТОВ МОДЕЛИРОВАНИЯ СИСТЕМЫ

В результате моделирования системы САУ ленточного конвейера в среде MATLAB получили графики переходных процессов системы, которые приведены на рисунках 6 - 7.

В соответствии с выполненными расчетами по составленной имитационной модели получены результаты, исследования ее при различных параметрах блока регулирования, представленного типовым законом ПИ - регулятора:

.

При параметрах ПИD регулятора:

Кр = 0,08;

Тu = 0;

tp = 8300c;

Результаты показаны на рисунке 3.2 (а).

Кр = 0,8;

Тu = 0;

tp = 2000c;

Результаты показаны на рисунке 3.2 (б).

Рисунок 3.1 - График переходного процесса системы без использования ПИ-регулятора

Рисунок 3.2 - График переходного процесса системы при параметрах ПИ регулятора: а) Кр = 0,08   б) Кр = 0,8


В ходе выполнения курсовой работы была разработана концептуальная модель, составлена математическая модель в виде передаточных функций элементов системы. Было выполнено построение имитационной модели с использованием приложения SIMULINK пакета MATLAB. Выполнено исследование системы при различных параметрах ПИ регулятора.

При параметрах Кр = 0,08, Тu = 0 время регулирования Тр = 8400с, и средний расход воздуха Q = 0,19м3/с; при Кр = 0,8 время регулирования Тр = 2000с, и средний расход воздуха Q = 0,43м3/с. Было определено, что с увеличением Кр уменьшается время регулирования системы.

Похожие работы на - Построение имитационной модели с использованием приложения Simulink пакета Mathlab

 

Не нашли материал для своей работы?
Поможем написать уникальную работу
Без плагиата!
Без нейросетей!