Взаимодействие 1,3-дегидроадамантана с бромистым и хлористым аллилами

  • Вид работы:
    Дипломная (ВКР)
  • Предмет:
    Химия
  • Язык:
    Русский
    ,
    Формат файла:
    MS Word
    499,96 kb
  • Опубликовано:
    2011-05-11
Вы можете узнать стоимость помощи в написании студенческой работы.
Помощь в написании работы, которую точно примут!

Взаимодействие 1,3-дегидроадамантана с бромистым и хлористым аллилами












Дипломная работа

Взаимодействие 1,3-дегидроадамантана с бромистым и хлористым аллилами

Аннотация

В работе изучено взаимодействие 1,3-дегидроадамантанов с аллилгалогенидами. Работа содержит литературный обзор, обсуждение результатов, экспериментальную часть, инженерные расчеты и выводы.

Работа содержит 65 страниц, 6 рисунков, 8 таблиц, 46 литературных ссылок.

Введение

Адамантан - трицикло[3,3,1,13,7]декан - является трициклическим насыщенным мостиковым углеводородом состава С10Н16, состоящим из трех циклогексановых колец в конформации «кресло»; пространственное расположение атомов углерода в молекуле адамантана такое же, как и в кристаллической решетке алмаза. Впервые данное соединение было получено С. Ландой и В. Махачеком в 1933 г. при исследовании нефти Годонинского месторождения (Чехословакия). Впоследствии адамантан был найден в ряде нефтей других месторождений. Содержание адамантана в нефти в зависимости от ее характера составляет 0,03 - 0,0001 %, обычно это содержание больше для нефти с большим содержанием нафтеновых углеводородов. К настоящему времени в нефти найдено около тридцати углеводородов ряда адамантана, общее содержание которых в 10 и более раз превышает содержание самого адамантана. Затем были разработаны синтетические методы получения адамантана в лаборатории [1]

Целью данной работы является исследование взаимодействия 1,3-дегидроадамантана с бромистым и хлористым аллилами. Для достижения этой цели, нам необходимо решить ряд задач:

1.       Изучить взаимодействие 1,3-ДГА с бромистым и хлористым аллилами;

2.       Исследовать хромато-масс-спектр реакционной массы данного взаимодействия;

.        Разработать эффективный метод получения 3-галоген-1-аллиладамантанов.

В работе мы будем использовать такой физико-химический метод анализа как масс-спектрометрия. Сущность метода масс-спектрометрии заключается в переводе молекул образца в ионизированную форму с последующим разделением и регистрацией образующихся при этом ионов. Масс-спектр позволяет сделать выводы о молекулярной массе соединения, его составе и структуре.

Поставленные перед нами цели являются чрезвычайно актуальными, поскольку соединения на основе адамантана представляют собой еще не достаточно изученное и активно развивающееся направление химической технологии. Кроме того, перспективность применения производных адамантана обуславливается набором специфических свойств: относительно большой размер адамантильного радикала (его диаметр составляет 5Å), высокая липофильность (растворимость в неполярных растворителях), конформационная жесткость. Последние два свойства особенно важны при создании новых лекарственных препаратов. Введение адамантильного радикала повышает, в целом, термическую стабильность вещества и его стойкость к окислению и радиационному облучению, что важно, в частности, при получении полимеров со специфическими свойствами. Вот лишь некоторые области применения производных адамантана:

1.       Входит в состав полимеров, отличающихся высокими температурами стеклования, размягчения, низкой усадкой. Подобные полимеры применяются для получения оптических стекол ;

2.       Используется в лазерах на органических соединениях для продления времени их работы, поскольку не имеет полос поглощения в ультрафиолетовом диапазоне ;

.        Как сырье для получения медицинских препаратов, обладающих антивирусной (ремантадин, амантадин, троматадин) и неврологической активностью (в том числе для борьбы с болезнью Паркинсона). [1]

1. Литературный обзор

.1 Методы получения целевого продукта

Бромпроизводные адамантана

-бромметиладамантан. Нагревают 4 часа при 1000 1-гидроксиметиладамантан с насыщенным при 00 С раствором бромистого водорода в безводной уксусной кислоте. Выход 85% [2]:


2 3-бромметил-1-метиладамантан

Раствор спирта 1-метил-3-гидроксиадамантана в ледяной уксусной кислоте, насыщенной при 00 С бромистым водородом, нагревают на кипящей водяной бане 4 часа. Выход 97 % [2]:


3 3-( β -бромэтил)-1-метиладамантан

Получают из спирта 1-метил-3-(β-гидроксиэтил)адамантана и насыщенного при 00 С раствора бромистого водорода в уксусной кислоте. Выход 97 % [2]:


2-(1-адамантил)-1,3,3-трибром-1-пропен

Смесь 2-(1-адамантил)-2-бромпропана и брома нагревают с обратным холодильником в течение 2 часов. Выход 61 %[3]:


2-(3,5,7-триметил-1-адамантил)-2-бромпропан

Соединение 2-(3,5,7-триметил-1-адамантил)пропен нагревают с раствором бромистого водорода в ледяной кислоте при 1000 в течение 10 часов. Выход 95 %[3]:


2-(3-бром-1-адамантил)-1,3,3-трибромпропен

Соединения 2-(3-бром-1-адамантил)-2-бромпропан и бром нагревают с обратным холодильником в течение 5 часов. Выход 95 %[3]:


2-(3,5,7-триметил-1-адамантил)-1,3,3-трибромпропен

Смесь соединения 1-изопропил-3,5,7-триметиладамантана и брома нагревают с обратным холодильником. Выход 97%[3]:


Хлорпроизводные адамантана:

,3-диметил-5-хлорадамантан

К ClSO3H, охлажденной до 00 С, добавляли по каплям 1,3-диметиладамантан, перемешивали 1 час при охлаждении льдом и выливали на лед. Выход 75 %[4]:


1,3-диметил-5,7-дихлорадамантан

Смесь выдерживают при 0-50 С 60 часов. Выход 83 %[4]:


1,3,5-триметил-7-хлорадамантан

К 1,3,5-триметиладамантану, охлажденного до 50 С, добавляли ClSO3H. Смесь перемешивали 1 час, выливали на лед и экстрагировали CHCl3. Выход 92 %[4]:


При взаимодействии 1,3-ДГА с этиловым эфиром хлоруксусной кислоты (1), методом хромато-масс-спектроскопии установлено образование смеси продуктов реакции как по С-Н, так и по С-Сl связям, с преобладанием этилового эфира 2-(адамант-1-ил)-2-хлоруксусной кислоты (1а). Аналогичное наблюдалось и при взаимодействии 1,3-ДГА с этиловыми эфирами других 2-хлоркарбоновых кислот (2, 3)[5]:

 

R = H(1), Me(2), Et(3)

Эфир 2’-(3-хлор-адамант-1-ил)-2’,2’-дихлоруксусной кислоты

С увеличением числа атомов хлора в молекуле исходного эфира соотношение продуктов реакции по С-Н и С-С1 связям изменяется в пользу последних. Так взаимодействие 1,3-ДГА с этиловым эфиром трихлоруксусной кислоты приводит селективно к эфиру 2’-(3-хлор-адамант-1-ил)-2’,2’-дихлоруксусной кислоты[5]:


Фторпроизводные адамантана:

Адамантанкарбоновые кислоты гладко превращаются при действии четырехфтористой серы в соответствующие трифторметильные производные. Таким способом синтезированы 1-трифторметил- и 1,3бис(трифторметил)-адамантаны [6]:


При бромировании в присутствии BF3 1-трифторметиладамантана получен 1-трифторметил-3-бромадамантан:

 

Фторирование 2-карбоксильных и карбонильных производных адамантана

-(трифторметил)-5,7-дифторадамантан

Фторирование адамантан- 2-карбоновой кислоты четырехфтористой серой в безводном фтористом водороде при 1600 С позволяет ввести два атома фтора в адамантановый цикл и приводит к образованию 2-(трифторметил)-5,7-дифторадамантана [7]:


2-(гексафторизопропилиден)-5,7-дифторадамантан

С целью дальнейшего выяснения влияния электроотрицательных трифторметильных групп на способность атомов водорода в узловых положениях адамантана замещаться атомами фтора при окислительном фторировании было проведено фторирование изопропилиденового эфира (адамантилен-2)малоновой кислоты четырехфтористой серой во фтористом водороде. При этом был выделен 2-(гексафторизопропилиден)-5,7-дифторадамантан [7]:

1,3-ди(трифторметил)-5,7-дифторадамантан

Повышение температуры в реакции 1,3-ди(трифторметил)адамантана с четырехфтористой серой и фтористым водородом до 200-2100 С позволяет ввести в молекулу еще два атома фтора и получить 1,3-ди(трифторметил)-5,7-дифторадамантан [7]:


Не только адамантанкарбоновые кислоты фторируются четырехфтористой серой, но в алкил- и ариладамантилкетонах карбонильные группы можно превратить в дифторметильные. Так, адамантилметилкетон в реакции с SF4 превращается в 1-(1,1-дифторэтил)адамантан, а адамантилфенилкетон - в 1-(a, a-дифторбензил)адамантан [7]:


При взаимодействии адамантан-1-карбоновой кислоты с SF4 в присутствии большого избытка фтористого водорода происходит как превращение карбоксильной группы в трифторметильную, так и замена двух атомов водорода атомами фтора у третичных атомов углерода адамантанового цикла [8]:

 

Продукт этой реакции - 1-трифторметил-3,5-дифторадамантан.

Такая же зависимость наблюдается и в реакции с адамантан-1-уксусной кислотой:


Продукт этой реакции - 1-(2,2,2-трифторэтил)-3,5,7-трифторадамантан.

Получение бромфторпроизводных адамантана

-(трифторметил)-3,5,7-трибромадaмантан

Установлено, что 1-(трифторметил)-3,5,7-трифторадамантан не реагирует ни с едким кали, ни с этилатом натрия в спирте при кипячении в течение нескольких часов. При действии на это же соединение трехбромистого бора осуществляется обмен атомов фтора, расположенных в узловых положениях, и образуется 1-(трифторметил)-3,5,7-трибромадaмантан [9]:

 

,2-дифтор-5,7-дибромадамантан

BBr3 при действии на 2,2,5,7-тетрафторадамантан не вызывает обмена атомов фтора во втором положении и изомеризации - образуется 2,2-дифтор-5,7-дибромадамантан [10]:


ди(перфторпропенил)адамантан

Дегидрофторирование 1,3-бис-(2Н-гексафторпропил)-адамантана [11]:


2-(адамант-1-ил)-2-фторуксусная кислота

Взаимодействие 1,3-ДГА с этил-2-фторацетатом протекает исключительно с разрывом связи С-Н в исходном эфире и приводит к образованию этилового эфира 2-(адамант-1-ил)-2-фторуксусной кислоты с выходом 65 %[12]:


Получение галогеналкиладамантанов:

Взаимодействие с галогеналкилами

Галогеналкилы малоэффективны в качестве алкилирующих агентов; реакции адамантанов в этих случаях протекают неселективно и зачастую сопровождаются реакциями галогенирования [1]:


С образованием непредельных полизамещенных бромидов вступают в реакцию бромирования также некоторые тетрациклические углеводороды ряда адамантана [1]:

1-бромэтаноадамантан

В 2,4-этаноадамантане различную реакционную способность проявляет каждый из четырех третичных атомов углерода. В присутствии бромистого алюминия и бутилбромида углеводород с высокой селективностью образует 1-бромэтаноадамантан [1]:


Взаимодействие 1,3-ДГА с a-бромкетонами:


К 2-3-кратному мольному избытку соответствующего α-бромкетона приливают раствор 1,3-дегидроадамантана в легкокипящем инертном растворителе (диэтиловый эфир), при этом наблюдается экзотермический эффект. Раствор 1,3-дегидроадамантана и α-бромкетона в диэтиловом эфире нагревают в течение 3-4 часов при температуре кипения реакционной смеси (34-40° С), после чего растворитель и избыток исходного α-бромкетона отгоняют в вакууме водоструйного насоса. Возможна регенерация исходных α-бромкетонов путем их отгонки из реакционной смеси и организация рецикла с добавлением рассчитанного количества свежего α-бромкетона. Синтезированные 3-бромадамантил-1-алкил(арил)кетоны очищают вакуумной перегонкой. Выходы данных продуктов составляют 59-86 %. [13]

1-бром-3-бромметиладамантан

Получен взаимодействием 3,7-диметиленбицикло[3,3,1]нонана с 4 % раствором брома в безводном метиловом спирте в присутствии оксида ртути(HgO) при 00 С [1]:


Иодид N- (3-иод-1 -адамантил)пиридиния

Получен обработкой 1,3-дегидроадамантана иодом в присутствии пиридина [14]:


Получение 1-(1-адамантил-1)-пропанола-1

В трехгорловую колбу, снабженную обратным холодильником и газоподводящей трубкой, помещают 1,2 г (0,0079 моля) адамантанола; 1,5 мл (0,064 моля) трифторуксусной кислоты; 15 мл хлористого метилена и при комнатной температуре в течение 7 ч. Пропускают 0,5 л (0,022 моля) сухого пропилена. По окончании реакции смесь разлагают разбавленным раствором соды и экстрагируют эфиром. Эфир отгоняют, к остатку добавляют 15 мл 20 % раствора щелочи калия и кипятят в течение 4 ч, после чего экстрагируют эфиром. Эфирные вытяжки промывают водой до нейтральной реакции, высушивают над сульфатом магния, эфир отгоняют.

Сырой 1-(1-адамантил-1)-пропанол-1 перекристаллизовывают из петролейного эфира (т. кип. 38-50° С). Выход 10,76 г, т.е. 66 %, считая на адамантанол-1, вступивший в реакцию, и 50 % - на введенный, т. пл. 85-86° С. [15]

Взаимодействие адамантана с пропиленом

В стальной автоклав емкостью 50 мл загружают 1 г адамантана, 5 мл циклогексана и 1 мл окиси алюминия, обработанной 3 н. серной кислотой, добавляют пропилен при 20° С до 8 атм. Мольное отношение адамантан : пропилен равно 1:6. Реакцию ведут при 190° в течение 5 ч. Получают 1,10 г продукта (выход 110 % на адамантан). Выделение пропениладамантанов осуществляют методом адсорбционной хроматографии, пропуская полученную смесь над силикагелем с азотнокислым серебром. Получают 0,45 г продукта. [16]

Получение 1-виниладамантана

В реактор помещают 0,3 г катализатора (Re2O7, Al2O3), добавляют раствор 1 г 1-пропениладамантана в 5мл н-гептана, через барботер пропускают этилен (100 мл). Температура 200 С, давление атмосферное, длительность 1 ч. О протекании реакции судят по содержанию пропилена в отходящем газе. Жидкие продукты реакции отделяют от катализатора, отгоняют растворитель. Анализ продуктов реакции осуществляют ГЖХ, ИК-, ПМР- и масс-спектрометрическими методами. Выход (98 %) и селективность (99 %) практически не зависят от заместителя а адамантановом ядре. [17]

Получение аллиладамантанов

В реактор помещают 21,5 г 1-бромадамантана и 12,1 г бромистого аллила в СS2 при -700С. Добавляем 1 г AlCl3. Повышаем температуру до - 300 С. Длительность процесса 1 ч. Затем помещаем реактор в холодную воду или раствор воды с эфиром. Добавляем MgSO4 и 25,5 г 1-(2,3-дибромпропил)адамантана. Реакцию ведем при атмосферном давлении. Добавляем 7,8 г цинка и 70 мл 95 % этанола. Ведем реакцию еще 2,5 ч, затем помещаем продукт в холодную воду. Выход 1-аллиладамантана составляет 89 %. [18]

1.2 Анализ основной реакции


Таблица 1 - Физические свойства реагентов и продуктов реакции

Вещество

Фазовое  состояние

Плотность,  г/см3

ТКИП. ТПЛ.,° С

Примечание

C10H14 1,3-ДГА

Кристаллы белого цвета

-

55,68 152,659

Tвозг.=100-130° С при р=20 мм рт. ст. легко растворим в простых эфирах, алканах, ацетоне, легко взаимодействует с влагой воздуха уже при комнатной температуре. Полимеризуется при 130-160° С в запаянной ампуле.

C3H5Br Бромистый аллил

Б/ц жидкость

1,398

71,3 -119,4

Не растворим в воде, диэтиловом эфире и этиловом спирте. Растворим в хлороформе, сероуглероде и тетрахлорметане.


Свойства реагентов и продуктов реакции взяты из литературных данных [19, 20].

Электронная структура реагентов и продуктов реакции

Электронная структура 1,3-дегидроадамантана

После разработки эффективного метода получения 1,3-ДГА стал доступным соединением и применяются для получения 1-замещенных и 1,3-дизамещенных адамантанов. Однако механизмы таких реакций до сих пор детально не изучены.

Было определено электронное строение катион-радикала 1,3-ДГА-одного из основных возможных интермедиатов химических превращений данного соединения и его производных. После проведения серии квантовомеханических расчетов геометрического и электронного строения 1,3-ДГА была подтверждена sp2-гибридизация атомов углерода С1 и С3 центральной связи, так как сумма валетных углов ∟ССС при этих атомах углерода 124,10·2+111,60=359,80 близкое к значению 3600, характерному для sp2-гибридизованных атомов углерода.

Примечательно, что область повышенной электронной плотности для 1,3-ДГА лежит с обратной стороны 1,3-узловой связи инвертированных углеродных атомов, т.е. в части пространства, наименее защищенной от внешней атаки. В результате этого 1,3-ДГА может проявлять свойства сильного основания. Формально считают, что пропелланы, в том числе обсуждаемый 1,3-ДГА являются «олефинами» с непривычной топологией sp2-гибридных углеродных атомов, что определяет необычно высокую реакционную способность этих соединений.

Считается, что такое поведение обусловлено особенностью электронного строения одного из основных возможных интермедиатов химических превращений 1,3-ДГА и его производных - катион-радикала (КР) 1,3-ДГА.

В 1999г. Сотрудниками МГУ им. Ломоносова и Волгоградского ГТУ было установлено, что необычное электронное строение КР 1,3-ДГА вызвано изменением ориентации однакратно занятой молекулярной орбитали в ходе ионизации молекулы 1.3-ДГА.

Ранее было установлено, что при однократной ионизации циклопропановое кольцо изменяет свою структуру путем сильного удлинения (и ослабления) либо одной С-С-связи, либо одновременно двух (в зависимости от заместителя):

При повышении температуры одна удлиненная С-С-связь циклопропановых (в обоих случаях) с легкостью испытывает дальнейшее удлинение, которое сопровождается разворотом одной из концевых метиленовых групп на 900. В результате этого образуется изомерные формы КР, в которых положительный заряд и спиновая плотность пространственно разделены. Такие формы КР названы дистоническими.

В 1,3-дегидроадамантане центральная тетразамещенная С1-С3-связь циклопропанового кольца наиболее удлинена (1,5720 А) и, следовательно, обязана при однократной ионизации испытывать дальнейшее удлинение. Однако в 1,3-ДГА положение циклопропанового кольца жестко фиксировано норадамантановым фрагментом, поэтому для катион-радикала дальнейшее растяжение центральной циклопропановой С1-С3-связи с разворотом одной из ее составляющих частей на 900 невозможно.

В катион-радикале 1,3-ДГА атомы углерода С1 и С3 приобретают частично тетраэдрическое строение. В каждом радикале 1,3-ДГА рассматриваемое значение 85,30 валентного угла ∟ССС превышает значение ~ 800, характерное для циклической формы КР циклопропана, отвечает ситуации, при которой тип однократно занятой молекулярной орбитали, по всей видимости, уже обязан измениться.

В отличие от других пропелланов, в которых однократно занятая молекулярная орбиталь локализована на центральной С1-С3-связи, в КР 1,3-ДГА она преимущественно локализована на примыкающих к С1-С3-связи четырех углерод-углеродных связях. Причиной необычного электронного строения КР 1,3-ДГА является наличие дополнительной CH2-метиленовой группы в 1,3-ДГА по сравнению с пропелланом, что приводит к повышению энергии молекулярной орбитали центральрой связи С1-С3.

Необычность электронного строения КР 1,3-ДГА также состоит в том, что приразрыве центральной связи С1-С3 образуются две однакратно занятые несвязанные между собой p-орбитали атомов углерода, что фактически означает образование бирадикальной структуры.

На основе изложенных особенностей строения катион-радикала 1,3-ДГА объясняется необычное в ряду пропелланов химическое поведение 1,3-ДГА в реакциях электрофильного присоединения.

Таким образом, на основании строения 1,3-ДГА можно сделать вывод о его чрезвычайной реакционной способности и перспективности данного пропеллана в качестве исходного реагента для синтеза адамантилсодержащих карбонильных соединений.

В результате проведенного опыта: взаимодействие 1,3-ДГА с CBr4 мы получаем новое вещество, а электронной структуры его не знаем, т.к. это новое вещество. [1]

Больший интерес у нас вызывает 1,3-ДГА, электронное строение которого мы описали выше.

Бромистый аллил

В молекуле бромистого аллила наблюдаются отрицательные индуктивный и мезомерный эффекты. Индуктивный эффект представляет собой смещение электронной плотности вдоль σ связи в сторону атома брома. Мезомерный эффект - это смещение π электронного облака вдоль двойной связи в сторону заместителя.

1.3 Химические свойства реагентов и продуктов реакции

Химические свойства аллилов

Галогензамещенные олефины с галогеном у насыщенного атома углерода способны довольно легко присоединять галоген. Например, присоединением брома к бромистому аллилу в ЧХУ при -5° С получается 1,2,3-трибромпропан с выходом 96-98 %.

Наличие галогена у насыщенного атома углерода затрудняет присоединение галогена, способность присоединения снижается в ряду: [21]


В темноте и в отсутствии кислорода чистый свежеприготовленный бромистый аллил за 10 суток количественно присоединяет HBr с образованием «нормального» 1,2-дибромпропана. «Нормальному» присоединению значительно способствует добавка ZnBr2.

В присутствии малых количеств кислорода или перекисей, добавляемых или содержащихся в старых препаратах, за 30 мин. Из бромистого аллила образуется «аномальный» 1,3-дибромпропан. «Аномальное» присоединение является радикально-цепной реакцией, которая инициируется специальными радикалообразующими веществами или фотохимически в жидкой и газовой фазах. [22]


«аномальное» присоединение «нормальное» присоединение

Индуцированное бромом аутоокисление бромистого аллила до перекиси α,α’-дибромизопропила. [23]


К раствору 0,2 моль хлористого аллила и 0,002 моль перекиси бензоила в ЧХУ или CH2Cl2 по каплям прибавляют смесь приблизительно одинаковых количеств SO2Cl2 (0,15-0,3 моль) и ЧХУ с такой скоростью, чтобы смесь слабо кипела, и после окончания прибавления кипятят ещё около часа. Выход 80-90 %. [22]

Химические свойства 1,3-дегидроадамантана

Подобно другим ациклическим углеводородам, содержащим напряженный трехчленный цикл, 1,3-дегидроадамантан и его производные обладают высокой реакционной способностью. Связь С(1)-С(3) значительно ослаблена, ее длина; ее длина 1,64 Å (длина других С-С связей в адамантане 1,53 Å). Вследствие этого реакции 1,3-дегидроадамантана протекают селективно с раскрытием трехчленного цикла и образованием 1-моно- или 1,3-дизамещенных производных адамантана; иногда происходит также фрагментация адамантанового цикла.

Окисление 1,3-дегидроадамантана воздухом при 20° С в гептане приводит к образованию пероксида, который разлагается со взрывом при 160° С. На воздухе в растворе пентана при комнатной температуре 1,3-дегидроадамантан превращается в смесь сополимеров с кислородом, главным из которых является взрывоопасный полипероксиадамантан (ОС10Н14О)n. При нагревании (130-160° С) в запаянной ампуле 1,3-дегидроадамантан превращается в белый полимер - 1,3-полиадамантан состава (C10H14)n, нерастворимый в органических растворителях и устойчивый в атмосфере азота при 400° С. Аналогичный полидиметиладамантан образуется из 1,3-дегидро-5,7-диметиладамантана при 90-145° С. В отсутствие кислорода 1,3-дегидроадамантан термически устойчив, период полупревращения при 195° С в растворе н-октана составляет 4 ч. Каталитическое гидрирование 1,3-дегидроадамантана приводит к адамантану с выходом 82 %; при взаимодействии 1,3-дегидроадамантана с бромом или иодом образуется соответственно 1,3-дибром-или 1,3-дииодадамантан. [1]

Взаимодействие с дихлоркарбеном

В условиях каталитического генерирования дихлоркарбена 1,3-дегидроадамантан присоединяет 2 экв. карбена с образованием спиро[7-дихлорметиленбицикло [3,3,1] ионан-3,1’- (2’,2’-дихлорциклопропана)] [24]:


Взаимодействие с арилиодозокарбоксилатами

Исследована реакция 1,3-дегидроадамантана с арилиодозокарбоксилатами общей формулы Ar(OCOR)3, где R=Alk, Ar. Основными продуктами реакции, протекающей в инертных растворителях при комнатной температуре, являются иодбензол и 1,3-диацилоксипроизводные адамантана. [25]

Взаимодействие с ацетонитрилом

,3-Дегидроадамантан, образующийся при электровосстановлении 1,3-дибромадамантана в ацетонитриле на ртутном электроде, реагирует с ацетонитрилом и содержащейся в нем водой, давая 1-гидрокси-и 1-ацетоаминоадамантаны [26]:


Присоединение уксусной кислоты к 1,3-дегидроадамантану приводит к 1-адамантилацетату.

При взаимодействии 1,3-дегидроадамантана с малеиновым ангидридом, акрилонитрилом, диметиловым эфиром ацетилендикарбоновой кислоты образуются олигомерные продукты. Реакцию проводят при комнатной температуре и в отсутствие инициаторов полимеризации; гомополимеризация каждого из этих мономеров протекает в более жестких условиях. Известен ряд других реакций 1,3-дегидроадамантана, протекающих с раскрытием трехчленного цикла и приводящих к получению производных, представляющих интерес в отношении физиологической активности [27, 28, 29]:


Взаимодействие 1,3-ДГА с рядом алифатических альдегидов:

IV=H: R2= Ме (I), Pr (II), Bu (III); R1 = R2 = Me (IV)

Для получения 2-(1-адамантил)-2-метилпропаналя с хорошим выходом целесообразно осуществлять взаимодействие в следующих условиях: проведение реакции в среде исходного альдегида, с молярным соотношением 1,3-ДГА: 2-метилпропаналь равном 1:4-6, при температуре 35-400 С, в течение 3-5 часов.

Увеличение температуры реакции с 20 до 400 С выход возрастает с 38 до 74 %. Дальнейшее повышение температуры (с 50 до 650 С) ведет к снижению выхода целевого соединения до 42 %, что по- видимому связано с протеканием побочной реакции альдольной конденсации. [30]

Взаимодействие 1,3-ДГА с кетонами:


R1= R2= H, R3= t-Bu (IX); R1= H, R2= Ме: R3= Ме (X), Et (XI);

R1= H, R2 = Et, R3= Pr (XII); R1= H, R2 = Pr: R3= Ме (XIII),(XIV); R1= R2 = Me: R3= Pr (XV)

Адамантилирование в среде исходных кетонов, в атмосфере сухого, очищенного от кислорода азота, в отсутствие катализатора, при мольных соотношениях 1,3-ДГА: кетон равном 1: (2-8), при температуре 60-1200 С, в течение 6-14 часов и приводит к целевым a-адамантилсодержащим кетонам (IX-XVI) с выходом 30-88 %.

Установлено, что при увеличении продолжительности реакции с 4 до 10-14 часов, выход 2-(адамантил)-циклопентанона увеличивался с 41 до 86 %.

Изменение молярного соотношения реагентов 1,3-ДГА: циклопентанон с 1:6 до 1:2 приводит к некоторому снижению выхода. [31]

Взаимодействие с фторсодержащими b-дикетонами

,3-ДГА быстро (за 1,5-2 часа) взаимодействует с разнообразными фторсодержащими b-дикетонами типа RFC(O)CH2C(O)R в среде кипящего диэтилового эфира, в атмосфере сухого и очищенного от кислорода азота:


При этом соответствующие фторсодержащие адамант-1-ил-b-дикетоны образуются с выходом 87-98 %. Оптимальное мольное соотношение 1,3-ДГА: b-дикетон = 1:1,5-2, меньший избыток b-дикетона приводит к неполной конверсии 1,3-ДГА [30].

Взаимодействие 1,3-ДГА с циклическими b-дикетонами [31]:


Взаимодействие 1,3-ДГА с кетоэфирами

Взаимодействие 1,3-ДГА с рядом кетоэфиров и 2-карбоксиметилциклопентаноном:


Адамантилирование ацетоуксусного эфира в условиях синтеза адамантилсодержащих b-дикетонов привело к относительно невысокому (51 %) выходу этилового эфира 2-(1-адамантил)-3-оксоизомасляной кислоты. Увеличение продолжительности реакции до 4 часов привело к повышению выхода до 83 %. При адамантилировании этилового эфира бензоилуксусной кислоты и 2-карбоксиметилциклопентанона в кипящем диэтиловом эфире получены соответствующие адамантилсодержащие кетоэфиры с выходами 90 и 95 % соответственно, при продолжительности взаимодействия 4 часа. [30]

1.3.2.10 В последнее время интенсивно изучаются полимеры на основе 1,3-ДГА. В частности, сополимеризация 1,3-дегидроадамантана с электрондефицитными винильными мономерами, протекающая в тетрагидрофуране при комнатной температуре с выходом до 88%, изучена коллективом из Японии [32]:


В отличие от 1,3-полиадамантана, полученные сополимеры растворимы в различных органических растворителях, включая хлороформ и тетрагидрофуран.

Поли(5-бутил-1,3-адамантан) [33, 34], поли(6-бутил-6-метил-1,3-адамантан) [34], полученные катионной полимеризацией с раскрытием цикла теми же авторами в присутствии CF3SO3H в среде CH2Cl2 при 0°С за 6-42 ч. Полученные соединения растворимы в хлороформе, ТГФ и 1,2-дихлорбензоле, но не растворимы в гексане, бензоле, метаноле и воде. Строение полученных соединений доказано ИК-, 1H и 13C ЯМР-спектроскопией, элементным анализом.

2. Обсуждение результатов

.1 Химизм процесса

Анализ литературных данных указывает на возможность протекания реакции между 1,3-дегидроадамантаном и аллилгалогенидами.

,3-Дегидроадамантан синтезировался из соответствующих дибромпроизводных каталитической реакцией на Li-содержащих катализаторах в тетрагидрофуране:


Исходное дибромпроизводное всегда содержит инертные примеси моногалогенпроизводного и адамантанола, которые отделить от целевых дегидроадамантанов очень сложно. Поэтому данные примеси всегда присутсвуют в реакционной массе взаимодействия дегидроадамантанов с протоноподвижными соединениями [1].

Как было показано в литературном обзоре, 1,3-дегидроадамантан легко вступает в реакции с галогенсодержащими соединениями.

Взаимодействие 1,3-дегидроадамантана с данными аллилгалогенидами осуществлено нами впервые.

В качестве исходных реагентов в реакции присоединения к 1,3-ДГА нами были использованы хлористый и бромистый аллилы. Реакции проводили в среде исходного аллилгалогенида при температуре его кипения, в атмосфере сухого, очищенного от кислорода азота, в отсутствии катализатора, в течение 2 часов. В случае бромистого аллила реакция протекала с разрывом связи C-Br с получением 3-бром-1-аллиладамантана (1a). Взаимодействием 1,3-ДГА с хлористым аллилом получены продукты как по связи углерод-хлор (2a), так и углерод-водород (2b), в близком процентном соотношении, что, по-видимому, связано с высокой реакционной способностью как атома хлора, так и протона метиленовой группы (Есв. С-Cl=417.2 кДж/моль, Есв. С-H=423.4 кДж/моль).


По окончании реакции избыток аллилгалогенида отгоняли, полученные продукты выделяли вакуумной перегонкой. Выход 3-бром-1-аллиладамантана составил 90%. Разделить 3-хлор-1-аллиладамантан (2a) и 3-хлор-3-адамантил-1-пропен (2b) не удалось ни данным методом, ни методом колоночной хроматографии.

Структура синтезированнох соединений подтверждена методами хромато-масс-спектрометрии [35].

Наряду с целевым продуктом в реакционной массе взаимодействия 1,3-ДГА с бромистым аллилом был обнаружен и идентифицирован аллиладамантиловый эфир, являющийся продуктом взаимодействия 1,3-ДГА с аллиловым спиртом (примесь в составе бромистого аллила).

2.2 Идентификация соединений

После отгонки избытка аллилгалогенида реакционная масса была исследована методом хромато-масс-спектрометрии [36, 37].

Установлено, что в случае бромистого аллила реакция протекала с разрывом связи C-Br с получением 3-бром-1-аллиладамантана (1a). Взаимодействием 1,3-ДГА с хлористым аллилом получены продукты как по связи углерод-хлор (2a), так и углерод-водород (2b), в близком процентном соотношении.

Рисунок 1 - Масс-спектр 3-бром-1-аллиладамантана

адамантан дегидрофторирование бром хлор

Рисунок 2 - Масс-спектр 3-хлор-1-аллиладамантана

Рисунок 3 - Масс-спектр 3-хлор-3-(адамант-1-ил)-1-пропена

Масс-спектрометрическому изучению адамантанов с ненасыщенной боковой цепью посвящен ряд работ [1, 38]. В то же время литературы о поведении аллиладамантанов, имеющих в составе молекулы атом галогена, под действием электронного удара практически нет.

В результате анализа масс-спектров полученных соединений выделен ряд пиков, характерных для распада 3-(галоген)-1-аллиладамантанов(1a, 2a): пика тропилий-катиона (m/z 91), пика 1,3-адамантильного иона с m/z 133(интенсивностью 37%(1a) и 29%(2a)), сигнал бром-(m/z 213) или хлорадамантила(m/z 169), молекулярного иона слабой интенсивности (2%(1a) и 3%(2a)). Масс-спектральный распад 3-хлор-3-адамантил-1-пропена(2b) характеризуется наличием пиков, соответствующих ионам фрагментации адамантанового каркаса (m/z 95, 107), 1-адамантильного иона (m/z 135), являющегося самым интенсивным, молекулярного иона (m/z 209, 5%).

Исследование масс-спектров полученных соединений показало, что их молекулярные ноны (М+) значительно менее устойчивы, чем молекулярный ион аллиладамантана (для соединений 1a, 2a, 2b и аллиладамантана интенсивность М+ составят 2, 3, 5 и 92% соответственно). Эти данные свидетельствуют о меньшей по сравнениию с аллиладамантаном прочности СAd-СAllyl-связи в аллиладамантанах, имеющие в составе молекулы атом галогена.

Таким образом, анализ масс-спектров полностью доказывает структуру полученных соединений.

Таблица 1 - Параметры масс-спектров полученных соединений.

Соединение

Масс-спектр, m/z, I

  

253, 2% М+; 213, 32% AdBr; 175, 100%[M - Br]; 133, 45% 1,3-Ad

  

210,3% [М]; 169, 100% [AdCl]; 133, 31% [1,3 - Ad]

2b


209, 5% [М]+; 175, 2% [Ad-CH-CH=CH2]+;135, 100% [1-Ad]


2.3 Механизм основной реакции


На первой стадии катион-анионная пара бромистого аллила поляризует пропеллановую связь 1,3-ДГА, образуется переходный комплекс. На второй стадии переходный комплекс распадается, образуя адамантилаллильный катион и анион брома. На третьей стадии образовавшийся адамантилаллильный катион быстро рекомбинирует с анионом брома с образованием молекулы 3-бром-1-аллиладамантана.

При составлении механизма реакции были использованы литературные данные [39].

2.4 Кинетическая модель реакции

Исходя из механизма, реакция является некаталитической и гомофазной, соответствует второму порядку. Катализ в данной реакции отсутствует. Скорость данной реакции будет определяться как произведение константы скорости реакции на концентрацию 1,3 - дегидроадамантана и концентрацию бромистого аллила:

υr = K*С1,3-ДГА*СAllylBr

С1,3-ДГА - концентрация 1,3-дегидроадамантана; СAllylBr -концентрация бромистого аллила; К - константа скорости химической реакции.

Из этого можно сделать вывод, что данная реакция является реакцией второго порядка.

3. Экспериментальная часть

3.1 Свойства исходных соединений

,3-Дегидроадамантан синтезируется из соответствующих 1,3-дибромадамантанов по стандартной методике. Свойства 1,3-дегидроадамантана соответствуют литературным данным [40]. Бромистый аллил синтезируется из аллилового спирта по методике [41], его свойства соответствуют литературным данным [42, 43].

3.2 Синтез 3-бром-1-аллиладамантана

В реактор с мешалкой поместили 165,44 г 1,3-ДГА (1,23 моль/мин) и 746,93 г (6,17 моль/мин) бромистого аллила. Реактор продувался инертным газом (азотом). Реакционную смесь интенсивно перемешивали при t=70-80° C в течение двух часов.

По окончании реакции избыток бромистого аллила отгоняли, полученный 3-бром-1-аллиладамантан выделяли вакуумной перегонкой. Выход целевого продукта составил 90 % (283,33 г).

3-бром-1-аллиладамантан - бесцветная прозрачная жидкость,

Tкип=104° С/9 мм. рт. ст., nd20=1,5352

.3 Приборы анализа

Состав реакционной массы изучался на хромато-масс-спектрометре «Varian WS» (700 В), стальная колонка длиной 1 м, неподвижная фаза - SE-30, газ-носитель-азот. Температура колонки - 230° С, испарителя - 250° С.

4. Инженерные расчеты

4.1 Выбор типа реактора


По фазовому состоянию реагентов реакция взаимодействия 1,3-ДГА с бромистым аллилом является гомогенной, т.к. 1,3-дегидроадамантан растворен в бромистом аллиле.

Для гомогенных реакций в жидкой фазе широко применяются реакторы с перемешивающими устройствами.

Существует несколько видов перемешивающих устройств - механические мешалки, пневматические мешалки, перемешивание на полках и перемешивание со шнеком.

Тип мешалки определяется вязкостью реакционной среды. Для жидкостей с незначительной вязкостью применяются реакторы с пропеллерными мешалками, а также реакторы с пневматическими мешалками, т.е. с перемешиванием за счёт барботажа воздуха или пара через реакционную массу. При повышении вязкости реакционной среды применяют реакторы с якорными мешалками.

Нами выбрана лопастная мешалка, т.к. вязкость реакционной массы не высока.

По гидродинамическому режиму выбранный нами реактор относится к реакторам идеального смешения. Т.е. потоки всех реагентов мгновенно и равномерно перемешиваются во всем реакционном объеме.

Реактор периодического действия. Все отдельные стадии процесса протекают последовательно в разное время. Характер изменения концентрации реагирующих веществ одинаков во всех точках реакционного объема, но различен во времени для одной и той же точки объема. [44]

Время проведения реакции 2ч, нагрева смеси 15 мин., охлаждения смеси 40 мин.; техническое обслуживание реактора 2ч.

 

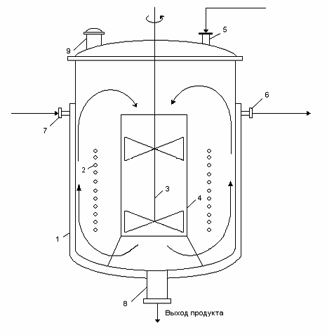
Рисунок 4 - Реактор периодического действия для получения 3-бром-1-аллиладамантана

- рубашка; 2 - змеевик ; 3 - мешалка; 4 - стакан (диффузор); 5 - штуцер для ввода продуктов; 6,7 - штуцеры для входа и выхода теплоносителя; 8 - штуцер для вывода продукта реакции; 9 - штуцер для сброса газов.

 

4.2 Расчет материального баланса

 

Общее выражение для материального баланса процесса имеет вид:

∑Gприх. = ∑Gрасх. + ∑Gпотери

где ∑Gприх. - мольный поток, приходящий в реактор;

∑Gрасх. - мольный поток, уходящий из реактора;

∑Gпотери. - потери (для теоретического расчета баланса принимаем

∑Gпотери =0).

Данные материального баланса:

Основная реакция:


Побочная реакция:


Таблица 2 - Данные материального баланса

Технологический выход продукта, f , %

Молярное Соотношение исходных реагентов, А:В

Производительность реактора, П, моль

Степень превращения, Ха, %

Селек-тивность основной реакции, Ф, %

Состав исходного реагента, А, %масс

Состав исходного реагента, В %масс






1,3-ДГА

Примесь (адамантанол)

примесь (бром-адамантан)

Бромистый аллил

примесь (аллиловый спирт)

90

1:5

1

100

90

98

1

1

95

5


Материальный баланс составляется с учетом технико-экономических показателей процесса (степень превращения, селективность, выход), соотношения исходных реагентов, чистоты сырья.

Расчет приходной части баланса

1.       Рассчитаем производительность с учетом технологического выхода:

 моль/мин.

Т. к. 1,3-дегидроадамантан в реакционной массе находится в недостатке, то требуемый расход смеси рассчитываем по нему:

. Количество 1,3-ДГА Необходимое для получения 1,1111 моль/мин. 3-бром-1-аллиладамантана:

 моль/мин.

. Пересчитаем количество 1,3-ДГА с учетом селективности процесса:

 моль/мин.

4.       Определяем количество 1,3-ДГА с учетом степени превращения:

 моль/мин.

г/мин.

5.      
Определим количество 1,3-ДГА, пошедшее на побочную реакцию:

моль/мин.

. Определим количество 1,3-ДГА, с учетом его состава:

 г/мин.

7.       Количество примесей, поступивших с 1,3-ДГА:

iбромадамантан(I)= iадамантанол(II)=iприм.

 г/мин.

 моль/мин.

 моль/мин.

8.       Определим количество бромистого аллила, поступающего в реактор, с учетом мольного соотношения:

 моль/мин.

 г/мин.

9.       Определим количество бромистого аллила, пошедшее на основную реакцию:

моль/мин.

10.     Определим количество бромистого аллила с учетом его состава:

 г/мин.

11. Определим количество примесей, поступающих с бромистым аллилом:

 г/мин.

 моль/мин.

. Количество непрореагировавшего бромистого аллила:

 моль/мин.

 г/мин.


 моль/мин.

. Количество непрореагировавшего аллилового спирта:

 моль/мин.

 г/мин.

Расчет расходной части баланса

1.       Определим количество 3-бром-1-аллиладамантана, образующееся в основной реакции:

 моль/мин.

г/моль

. Определим количество аллиладамантилового эфира:

 моль/мин.       

Результаты расчета сведем в таблицу.

Таблица 3 - Результаты расчета материального баланса

Приход

Расход

Вещество

моль/мин.

%, мольн.

 г/мин.

%, масс.

 Вещество

моль/мин.

% мольн.

г/мин.

% масс.

С10Н14

1,2346

15,23

165,4364

17,32

С13Н19Br

1,1111

16,17

283,3305

29,67

С3Н5Br

6,1730

76,17

746,9330

78,21

C13H20O

0,1235

1,80

23,7120

2,48

С3H6O

0,6778

8,36

39,3123

4,12

С3Н5Br непрореаг.

5,0619

73,68

612,4899

64,13

С10Н15Br прим.

0,0079

0,10

1,6881

0,18

С3H6O непрореаг.

0,5543

8,07

32,1494

3,37

С10Н16О прим.

0,0111

0,14

1,6881

0,18

С10Н15Br прим.

0,0079

0,11

1,6881

0,18






С10Н16О прим.

0,0111

0,16

1,6881

0,18

Итого

8,1044

100

955,0579

100

Итого

6,8698

100

955,0579

100

Вывод: таким образом, в результате составления материального баланса, рассчитанного с учетом технологических критериев и состава сырья соответствующему закону действия масс (), установлено, что для получения единицы продукции (1моль/мин.) 3-бром-1-аллиладамантана требуется взять 165,4 г 1,3-ДГА и 746,9 г бромистого аллила. Показатели данного процесса имеют высокие значения, а именно степень превращения составляет 100 %, это говорит о том, что исходное вещество полностью вступило в реакцию, а также, что реакция протекает в прямом направлении (неравновесная). Селективность, равная 90 % показывает, что прореагировавшее сырье в основном пошло на получение целевого продукта. Все выше перечисленные факторы обеспечивают выход продукта, равный 90 %.

4.3 Расчет теплового баланса


В основе теплового баланса (энергетического) лежит закон сохранения энергии:


Составим тепловой баланс стадии синтеза, используя данные для теплового баланса и данные рассчитанного материального баланса, определим тепловую нагрузку на реактор.

Таблица 4 - Данные теплового баланса

Температура исходных реагентов, К

288

Температура продуктов реакции, К

344,3

Тепловые потери от прихода тепла, %

4

 

Подготовка исходных данных

Рассчитаем эмпирическими методами теплоту образования и теплоемкость участников реакции, используя литературные данные [45]

,3-ДГА:


Бромистый аллил:


-бром-1-аллиладамантан:


Аллиловый спирт:

Аллиладамантиловый эфир:


Бромадамантан:


Адамантанол:

 

Таблица 5 - Термодинамические свойства веществ

Вещество

ΔH0298, кДж/моль

C0p, Дж/(моль·К)

С10Н14

-177,23

209,84

С3Н5Br

28,09

96,98

С13Н19Br

-149,14

306,81

С3Н6О

-99,48

96,98

C13H20О

256,52

231,57

С10Н15Br

-200,14

245,78

С10Н16О

-327,71

287,58


Расчет тепловой нагрузки стадии нагрева реакционной смеси

Приход


Расход


Таблица 6 - Результаты расчёта теплового баланса стадии нагрева реакционной смеси

Приход

Расход

Тепловые потери

Дж/мин.

%

Тепловые потери

Дж/мин.

%

∑Qi,1

275594,37

83,65

∑Qi,2

329469,23

100

QF

53874,86

16,35




Итого

329469,23

100

Итого

329469,23

100


Расчет тепловой нагрузки стадии проведения реакции

Приход


Основная реакция:


Побочная реакция:


Расход

 


QF>0, следовательно, реакция является экзотермической, то есть необходимо подводить тепло к реактору.

Таблица 7 - Результаты расчёта теплового баланса стадии проведения реакции

Приход

Расход

Тепловые потери

Дж/мин.

%

Тепловые потери

Дж/мин.

%

∑Qi,1

329469,23

82,08

∑Qi,2

329464,98

82,08

QF

71911,69

17,92

Qпотери

6589,38

1,64




∑Qr

65326,56

16,28

Итого

401380,92

100

Итого

401380,92

100


Расчет тепловой нагрузки стадии охлаждения отработанной смеси

Приход

 

 

Расход

 


Таблица 8 - Результаты расчёта теплового баланса стадии охлаждения отработанной смеси

Приход

Расход

Тепловые потери

Дж/мин.

%

Тепловые потери

Дж/мин.

%

∑Qi,1

329464,98

100

∑Qi,2

275590,82

83,85




QF

53874,16

16,35

Итого

329464,98

100

Итого

329464,98

100


Определение площади теплообмена реактора

Из трех рассчитанных ранее значений тепловой нагрузки выбираем наибольшую. Так как для стадии охлаждения и стадия нагрева тепловые нагрузки практически одинаковы, рассчитаем для стадии нагрева.

Нагрев будем производить паром с температурой 75º С.

Согласно литературным данным для нагрева паром коэффициент теплопередачи колеблется в пределах 120 - 640 [46]. Принимаем коэффициент теплопередачи 120 Вт/м2·К.

 

Определение объема реактора

Для реактора периодического действия в общем случае объем можно рассчитать по формуле:


В нашем случае она примет вид:


Принимая плотность смеси 1,5 г/см3, получим GV,0.


Коэффициент запаса φ принимаем равным 0,15

Коэффициент заполнения b принимаем равным 0,7


Вывод: расчёт теплового баланса показал, что реакция является экзотермической и для её протекания необходимо подвести тепло в количестве 17,92 % от общего количества к реактору, обладающему площадью теплообменной поверхности 1744 см2.

 

4.4 Операторная схема процесса


I стадия: Подготовка сырья

.1. Приготовление раствора дибромадамантана

На данной стадии смешиваются в смесителе 1 1,3-дибромадамантан (1,3-ДБА) с растворителем тетрагидрофураном (ТГФ).

1.2. Получение 1,3-ДГА        

Полученная смесь поступает в реактор 2, где добавляется Li-содержащий катализатор (Li-kat) и осуществляется процесс получения 1,3-ДГА.

.3. Фильтрование раствора от Li-kat

Полученная смесь, образовавшаяся после реакции, поступает в аппарат фильтрации 3 для отделения от Li-содержащего катализатора, при этом Li-kat возвращается на стадию получения 1,3-ДГА.

.4. Отгонка растворителя (ТГФ)

После отделения от Li-kat, полученная смесь, состоящая из 1,3-дегидроадамантана (1,3-ДГА) и тетрагидрофурана (ТГФ), поступает в ректификационную колонну 4 для отгонки растворителя, с целью получения чистого 1,3-ДГА. При этом ТГФ возвращается на стадию приготовления раствора дибромадамантана.

.5. Возгонка 1,3-ДГА

,3-ДГА поступает в аппарат возгонки 5, где происходит возгонка 1,3-дегидроадамантана, в результате чего образуется кристаллическое вещество, а побочные вещества остаются в кубе.

.6. Очистка бромистого аллила

Второй продукт бромистый аллил, участвующий в синтезе, необходимо предварительно очистить от примесей. Он поступает в ректификационную колонну 6, где происходит его очистка от примесей, которые остаются в кубе.

II стадия: Стадия синтеза

,3 - ДГА и бромистый аллил поступают в реактор 7, который обогревается теплоносителем 8, где происходит химическое превращение (t = 70- 80º С) в течение 2 часов.

III стадия: Стадия разделения

.1. Отделение бромистого аллила

Продукт реакции и непрореагировавший бромистый аллил поступают в ректификационную колонну 9, где происходит отделение непрореагировавшего бромистого аллила, который возвращается на стадию очистки бромистого аллила. В ректификационной колонне 10 происходит отделение от бромистого аллила аллилового спирта.

.2. Очистка продукта (вакуумная перегонка)

Продукт реакции поступает в ректификационную колонну 11, где выделяется в чистом виде, а примеси 1,3-ДГА и аллиладамантиловый эфир подаются в ректификационную колонну 12.

.3. Разделение примесей и продукта побочной реакции

Примеси 1,3-ДГА и аллиладамантиловый эфир поступают в ректификационную колонну 12, где происходит их разделение на аллиладамантиловый эфир и смесь адамантанола и бромадамантана. После разделения они поступают на переработку.

На стадии подготовки 1,3-дибромадамантан (1,3-ДБА), тетрагидрофуран (ТГФ) и Li-содержащий катализатор (Li-kat) смешиваются в смесителе 1 и поступают в реактор 2. Полученная смесь, состоящая из 1,3-дегидроадамантана (1,3-ДГА) и тетрагидрофурана, поступает в аппарат фильтрации 3 для отделения от Li-kat, при этом Li-kat возвращается на стадию получения 1,3-ДГА. После отделения от Li-kat, полученная смесь, состоящая из 1,3-дегидроадамантана (1,3-ДГА) и тетрагидрофурана (ТГФ), поступает в ректификационную колонну 4 для отгонки растворителя, с целью получения чистого 1,3-ДГА. При этом ТГФ возвращается на стадию приготовления раствора дибромадамантана, а 1,3-ДГА поступает в аппарат возгонки 5, где происходит возгонка 1,3-дегидроадамантана, в результате чего образуется кристаллическое вещество, а побочные вещества остаются в кубе. Далее 1,3-ДГА смешивается с бромистым аллилом, и эта смесь поступает в реактор 7, который обогревается теплоносителем 8, где происходит химическое превращение (t = 70- 80º С) в течение 2 часов. Продукты реакции и непрореагировавший бромистый аллил поступают из реактора в ректификационную колонну 9, где происходит отделение непрореагировавшего бромистого аллила, который возвращается на стадию очистки бромистого аллила. В ректификационной колонне 10 происходит отделение от бромистого аллила аллилового спирта. Продукт реакции поступает в ректификационную колонну 11, где выделяется в чистом виде, а примеси 1,3-ДГА и аллиладамантиловый эфир подаются в ректификационную колонну 12, где происходит их разделение на аллиладамантиловый эфир и смесь адамантанола и бромадамантана. После разделения они поступают на переработку.

Выводы

. В работе приведен обзор химических свойств 1,3-дегидроадамантана и аллилгалогенидов. Анализ литературных данных указывает на возможность протекания реакции между 1,3-дегидроадамантаном и аллилгалогенидами.

2. Изучены реакции взаимодействия бромистого и хлористого аллилов с 1,3-дегидроадамантаном. Установлено, что проведение реакций в среде аллилгалогенидов приводит к образованию 1-бром-3-аллиладамантана (90%); 1-хлор-аллиладамантана (31 %) и 3-хлор-3-адамантил-1-пропена (31 %) в отсутствии катализатора.

. Впервые были синтезированы 1-бром-3-аллиладамантан, 1-хлор-3-аллиладамантан и 3-хлор-3-адамантил-1-пропен. Структура полученных продуктов была подтверждена методом хромато-масс-спектроскопии.

. Разработан эффективный метод синтеза 1-бром-3-аллиладамантана.

5. Исходя из природы использованных реагентов, а также учитывая условия проведения рассмотренных реакций, предположен ионный (электрофильное присоединение) механизм взаимодействия 1,3-дигидроадамантана с бромистым аллилом.

6. На основании материального баланса установлено, что для получения 283 г/мин 1-бром-3-аллиладамантана необходимо взять 165 г/мин 1,3-дегидроадамантана и 747 г/мин бромистого аллила.

7. Расчёт теплового баланса показал, что реакция является экзотермической, так как (QF >0), и для её протекания необходимо подводить тепло в количестве 17,92 % от общего количества к реактору, обладающему площадью теплообменной поверхности 1774 см2.

. Для проведения процесса выбран реактор идеального смешения периодического действия, объёмом 1,046 л.

. Предложена операторная схема процесса получения1-бром-3-аллиладамантана.

Библиографический список

1.     Багрий Е.И. Адамантаны: Получение, свойства, применение - М.: Наука, 1989. - 290 с.

2.       Степанов Ф.Н. Журнал органической химии / Ф.Н Степанов, П. Н. Красуцкий, Л. И. Руденко //. - 1972. - т. 8. - №12. - с.2616

.        Юрченко А.Г. Журнал органической химии / Юрченко А.Г., Ворощенко А.Т., Степанов Ф.Н//. -1970. - т. 6. - № 1. - с.189-190

.        Юрченко А.Г. Журнал органической химии/ Юрченко А.Г., Мурзинова З.Н., Степанов Ф.Н.//.- 1972. - т. 8. - № 1. - с.2332-2338

.        Подхалюзин А.Т., Назарова М.П.// Докл. АН СССР.1976,т.229, №1, с.105-107

.        Александров А.М. Журнал органической химии/ Александров А.М., Сорочинский А.Е., Краснощек А.П.//. - 1979. - т.15. - №2. - с.336-342

.        Александров А.М. Журнал органической химии/ Александров А.М., Даниленко Г.И., Краснощек А.П.//. - 1974. - т.10. - №7. - с.1548-1549

.        Александров А.М. Журнал органической химии/ Александров А.М., Сорочинский А.Е., Кухарь В.П., Краснощек А.П.//.- 1979. - т.15. - №2. - с.445-446

.        Сорочинский А. Е. Журнал органической химии/ Сорочинский А. Е., Тарасевич А. С., Александров А.М., Кухарь В. П.//. -1981. - т.17. - №11. - с.2339-2343

.        Подхалюзин А.Т., Назарова М.П.// Докл. АН СССР.1976, Т.12, №4, с.910

.        Бутов Г.М. Взаимодействие 1,3-ДГА с эфирами галогенкарбоновых кислот./Г.М.Бутов, В.М.Мохов, С.В.Дьяконов// Известия ВолгГТУ: межвуз. Сб. науч. ст. сер. Химия и технология элементорганических мономеров и полимерных материалов. Вып. 4, №5 ВолгГТУ. - Волгоград, 2007. с.30-34.

.        Кунаев Р. У. Синтез адамантилсодержащих кетонов на основе 1,3-дегидроадамантана: Автореф. канд. хим. наук. - Волгоград, 2007.-с. 15

.        Соколенко В. А., Когай Б. Е. // Журн. орган. химии. 1976. Т. 12, №6. С. 1370 - 1371.

.        А. с. 606853 СССР, М.Кл2 С 07С 35/22. Способ получения 1-(адамантил-1)-пропанола-1 / В. В. Ковалев, Э. А. Шокова, А. Ф. Платэ. -№2444307/23-04; заявлено 17.01.77; опубл. 24.04.78, Бюл. № 18. - 2 с.

.        А. с. 639844 СССР, М.Кл2 С 07С 13/54. Способ получения С13 - С18-алкениладамантанов / В. Н. Соловьев, В. Г. Заикин, Е. И. Багрий, П. И. Санин. - №2381454/23-04; заявлено02.07.76; опубл. 30.12.78, Бюл. №48. - 3 с.

.        А. с. 789472 СССР, М.Кл3 С 07С 5/52. Способ получения 1-виниладамана или его замещенных / В. Н. Соловьев, Е. И. Багрий, П. И. Санин, С. М. Носакова, Л. Г. Либеров. - №2635730/23-04; заявлено 29.06.78; опубл. 23.12.80, Бюл. №47. - 3 с.

.        Пат. 3457318 США, МКИ2 С 07 С. Alkenyl adamantanes / C. Capaldi, A. E. Borchert . - №686840; заявлено 30.11.67; опубл. 22.07.69, Бюл. № 71. - 6 с.

.        Справочник химика. т.2, 2-е изд.; М.:1963-1169с.

.        Справочник химика, том 1 / Под ред. Б.П.Никольского. - Л.: Химия, 1966

21.     J. R. Johnson, W. L. McEwen, Org. Syntesen, F. Wieweg u. Sohn, Braubschweig, 1937, s. 522; Org. Synth., Coll. V. 1, 2ed, 1956, p. 521.

22.     F. R. Mayo, C. Walling, Chem. Rev., v.27, 1940, p. 351

23.     W. Bockemüller, L. Pfeuffer, Ann., v. 537, 1939, p.178

24.     Соколенко В. А. Журнал органической химии/ Соколенко В. А., Маркова В. А., Когай Б. Е. //. - 1978. - т. 14. - №5. - с. 1111.

.        Когай Б. Е., Карпицкая Л. Г., Меркушев Е. Б. и др. // Науч. конф. по химии орган. полиэданов: Тез. докл. Волгоград, 1981. С. 81.

.        Лейбзон В. Н., Мендкович А. С., Климова Т. А., Краюшкин М. М. // Науч. конф. по химии орган. полиэданов: Тез. докл. Волгоград, 1981. С. 81.

.        Когай Б. Е., Соколенко В.А. // Науч. конф. по химии орган. полиэданов: Тез. докл. Волгоград, 1981. С. 73.

.        Когай Б. Е., Соколенко В. А., Фурин Г. Г., Якобсон Г. Г. // Науч. конф. по химии орган. полиэданов: Тез. докл. Волгоград, 1981. С. 74.

.        Но Б. Н., Сон В. В., Ущенко В. П. и др. // Науч. конф. по химии орган. полиэданов: Тез. докл. Волгоград, 1981. С. 108.

.        Паршин Г.Ю. Синтез адамантилсодержащих карбонильных соединений на основе 1,3-дегидроадамантана и их свойства: автореф. канд. хим. наук: 02.00.03 / Паршин Глеб Юрьевич. - Волгоград, 2002.-18 с.

31.   a-Адамантилсодержащие алифатические кетоны /Но Б.И., Бутов Г.М., Мохов В.М., Паршин Г.Ю. //XIII междунар. научно-техническая конференция “Химические реактивы, реагенты и процессы малотоннажной химии”, Тула, 23-25 мая 2000 г.: Тез. докл./Тула, 2000. - С.14.

32.   Matsuoka S., Ogiwara N., Ishizone T. Formation of alternating copolymers via spontaneous copolymerization of 1,3-dehydroadamantane with electron-deficient vinyl monomers.// J.Am.Chem.Soc.,-2006.-128.-P.P.8708-8709.

33.     Ishizone T.,Matsuoka S., Sakai S., Harada W., Tajima H. Synthesis of poly(1,3-adamantane)s by cationic ring-opening polymerization of 1,3-dehydroadamantanes // Macromolecules.-2004.-37.-PP.7069-7071.

.        Ishizone T. Ring-Opening Polymerization of 1,3-Dehydroadamantanes // Перспективы развития химии и практического применения алициклических соединений: Тезисы докладов XI Международной научно-технич. Конф /ВолгГТУ. - Волгоград 2008.-С.12.

35.   Лебедев А.Т. Масс-спектрометрия в органической химии. М., 2003.-493с.

36.     Иоффе Б.В., Костиков Р.Р., Разин В.В. Физические методы определения строения органических соединений. М., 1984.-336с.

.        Преч Э. Определение строения органических соединений. Таблицы спектральных данных/Э.Преч, Ф.Бюльман, К.Аффольтер.-М.: Мир, 2006.-438с.

.        Заикин В. Г., Соловьев В. Н., Сметанин В. И. и др. // Изв. АН СССР. Сер. хим. 1975. №7. с. 1633 - 1636.

39.   Рубанова Р. А., Бутов Г. М., Паршин Г. Ю., Пестов А. Г. Механизмы реакций в органической химии. Учеб. пособие / ВолгГТУ. - Волгоград, 2005. 199 с.

40.     Когай Б.Е. Реакции 1,3-дегидроадамантана с электрофильными реагентами.: автореф. дис. канд. хим. наук: 02.00.03. - Красноярск., 1983.-16 с.

.        Вейгант-Хильгетаг. Методы эксперимента в органической химии.-М.: Химия, 1968.-944 с.

.        Справочник химика.т.2, 2-е изд.; М.:1963-1169с.

43.     Cвойства газов и жидкостей. Рид, Шервуд. - Л: Химия, 1983

.        Методы расчета процессов и аппаратов химической технологии (примеры и задачи). Учеб. пособие для вузов./ П. Г. Романков, В. Ф. Фролов, О.М. Флисюк, М.И. Курочкина - СПб: Химия, 1993. - 496с.

.        Справочник химика, том 1 / Под ред. Б.П.Никольского. - Л.: Химия, 1966, 1072 с.

.        Березин Б.Д., Березин Д.Б. Курс современной органической химии Учебное пособие для вузов. - М.: Высш. Шк.,1999. - 768 с: ил.5

Похожие работы на - Взаимодействие 1,3-дегидроадамантана с бромистым и хлористым аллилами

 

Не нашли материал для своей работы?
Поможем написать уникальную работу
Без плагиата!
Без нейросетей!