Модернизация гидрообъемной трансмиссии погрузчика 'Амкодор-208'
МИНИСТЕРСТВО
ОБРАЗОВАНИЯ РЕСПУБЛИКИ БЕЛАРУСЬ
Белорусский
национальный технический университет
Факультет
транспортных коммуникаций
Кафедра
«Строительные и дорожные машины»
группа 114119
Зав. кафедрой СДМ
Профессор __________ А.В.Вавилов
ДИПЛОМНЫЙ ПРОЕКТ
Тема:
Модернизация гидрообъемной трансмиссии погрузчика «Амкодор-208»
Исполнитель:
Котлобай Андрей Анатольевич
Руководитель
проекта _________ А.Я. Котлобай
Консультанты:
Конструкторская
часть _________ А.Я. Котлобай
Технологическая
часть ___________ М. М.Гарост
Экономическая
часть __________ В.В. Арсенов
Охрана труда _________ Ж.В. Первачук
Нормоконтроль ___________ А.А. Шавель
Минск 2004г.
Реферат
Пояснительная записка 137с., 44 рис., 8 табл., 14 источников, 5 прил.,
иллюстрированный материал 9 листов формата А1.
Ковшовый погрузчик, прямолинейное движение, гидрообъемная трансмиссия,
насосный агрегат, насос, распределитель.
В дипломном проекте представлены разработки насосного агрегата,
включающего сдвоенный насос принципиально новой конструкции и
гидрораспределителя поворота для мобильного ковшового погрузчика
«Амкодор-208А».
Цель проекта - модернизация существующей гидрообъемной трансмиссии
погрузчика с целью повышения его управляемости.
В процессе работы проведен анализ существующих конструкций и патентов,
выбрана схема для реализации, дано техническое обоснование ее использования.
Проведен расчет и разработаны чертежи насосного агрегата и
гидрораспределителя поворота, определен ряд технико-экономических показателей
модернизированного погрузчика.
Разработан технологический процесс изготовления золотника распределителя
поворота. Приведены мероприятия по охране труда в ходе эксплуатации погрузчика.
Экономический расчет показал, что экономический эффект от внедрения
данного технического решения составит 4 млн. руб. в год на одну машину.
ковшовый
погрузчик трансмиссия насос распределитель
Введение
В настоящее время все более широкое распространение на строительных
площадках находят малые мобильные погрузчики. Связано это в первую очередь с их
универсальностью. Наличие большого числа сменных рабочих органов обеспечивают
еще более широкое их применение.
Основной тенденцией конструирования современных строительных и дорожных
машин в настоящее время является полная замена механического привода
гидравлическим. Так, практически все зарубежные модели мобильных ковшовых
погрузчиков оснащены гидроприводом. Реализация посредством гидравлики бортового
поворота повышает маневренность машины и упрощает конструкцию ходовой части.
В нашей стране в настоящее время популярен мобильный погрузчик
«Амкодор-208» грузоподъемностью 0,8 тонн. Конструкция его разрабатывалась с
учетом передового опыта зарубежных стран, однако низкое качество гидроагрегатов
в совокупности с особенностями реализации бортового поворота дало низкие
показатели управляемости. В частности, прямолинейное движение машины
затруднено, прямолинейное движение с малыми скоростями (порядка 1…3 км/ч)
невозможно.
Целью данной работы является модернизация гидравлической системы
мобильного погрузчика «Амкодор-208». В работе предлагается принципиально новое
усовершенствование конструкции основного гидравлического насоса,
разрабатывается конструкция этого насоса. Также разрабатывается золотниковый
распределитель поворота, предназначенный для осуществления бортового поворота
машины, оснащенной разработанным насосным агрегатом и показывается возможность
установки такой трансмиссии в корпусе машины.
Помимо этого в работе проводится анализ мероприятий по охране труда на
предприятиях, эксплуатирующих погрузчик, анализ экономической эффективности
разработки. В технологической части приводится техпроцесс изготовления
золотника проектируемого распределителя.
Работа выполнялась с применением следующих программных продуктов: Microsoft Word®, Microsoft Excel, Microsoft Equation Editor 3.0 из пакета Microsoft Office 97; Autodesk AutoCAD 2004, ABBYY Fine Reader 6.0.
1
ОПИСАНИЕ
БАЗОВОЙ МАШИНЫ
1.1 Назначение
Погрузчик одноковшовый универсальный предназначен для механизации
погрузочно-разгрузочных и землеройно-транспортных работ на грунтах I-II
категорий в стесненных условиях, и может использоваться в промышленном,
гражданском и дорожном строительстве, коммунальном и сельском хозяйстве, в
морских и речных портах (для зачистки трюмов судов и барж от остатков
навалочных грузов, выполнения складских работ, очистки территорий портов от
снега и мусора и т.п.), на железнодорожном транспорте и других работах.
1.2 Основные
технические данные машины
Таблица 1
|
Наименования показателей
|
Значения номинальные
|
|
Модель
|
Амкодор-208
|
|
Тип
|
одноковшовый универсальный
|
|
Грузоподъемность, т
|
0,8
|
|
Вместимость ковша, м3:
|
|
|
геометрическая
|
0,4
|
|
с шапкой
|
0,5
|
|
Высота разгрузки
максимальная ковша без зубьев при угле разгрузки 45о, мм, не менее
|
2390
|
|
Вылет кромки ковша без
зубьев при максимальной высоте разгрузки и угле разгрузки 45о мм,
не менее
|
890
|
|
Максимальный угол
запрокидывания ковша в нижнем положении, о, не менее
|
32
|
|
Максимальный угол разгрузки
ковша при максимальной высоте разгрузки, о, не менее
|
45
|
|
Управление рабочим
оборудованием
|
Гидравлическое
|
|
Ширина режущей кромки
ковша, мм
|
1760
|
|
Время подъема ковша на
максимальную высоту, с
|
4,8
|
|
Масса эксплуатационная, кг,
не более
|
3500
|
|
Габаритные размеры в
транспортном положении, мм:
|
|
|
длина
|
3450 + 100
|
|
ширина (по ковшу)
|
1760 + 20
|
|
высота
|
2160 + 50
|
|
Статическая опрокидывающая
нагрузка, кН (кгс), не менее
|
16 (1600)
|
|
Радиус поворота минимальный
(по ковшу в транспортном положении), мм, не более
|
2100
|
|
Выглубляющее усилие, кН
(кгс)
|
24 (2400)
|
|
Вырывное усилие, кН (кгс),
не менее
|
17,5 (17500)
|
|
Материалоемкость удельная,
кг/т
|
4400
|
|
Энергоемкость удельная,
кВт/т
|
55
|
|
Максимальная скорость
передвижения, м/с (км/ч), не менее
|
38 (10)
|
|
Колея, мм
|
1450+20
|
|
База, мм
|
1030 + 20
|
|
Тип двигателя
|
дизель 4-цилиндровый
четырехтактный рядный
|
|
Марка двигателя
|
Д-244
|
|
Мощность двигателя
эксплуатационная, кВт (л.с.)
|
40 (85)
|
|
Частота вращения
коленчатого вала двигателя номинальная, рад/с (об/мин)
|
179 (1700)
|
|
Крутящий момент двигателя
максимальный, Нм (кгс м)
|
260 (26,9)
|
|
Расход топлива удельный при
номинальной мощности. г/кВт ч (г/л.с. ч.)
|
228 (168)
|
|
Система охлаждения
двигателя
|
Жидкостная закрытого типа с
принудительной циркуляцией охлаждающей жидкости.
|
|
Система смазки двигателя
|
смешанная, под давлением,
выполнена по принципу мокрого картера
|
|
Система запуска двигателя
|
электростартерная
|
|
Тип стартера
|
24.3702
|
|
Номинальное напряжение
стартера, В
|
12
|
|
Мощность, кВт
|
4
|
|
Тип зарядного генератора
|
464.3701
|
|
Номинальное напряжение
генератора, В
|
12
|
|
Мощность, кВт
|
0,7
|
|
Тип аккумуляторных батарей
|
3СТ-215А
|
|
Количество аккумуляторных
батарей, шт
|
2
|
|
Тип трансмиссии
|
гидростатическая, с
раздельным приводом бортов
|
|
Тип насосов трансмиссии
|
регулируемые, типа 316.33
|
|
Количество насосов
|
2
|
|
Рабочий объем насоса, см3
|
|
|
номинальный
|
33
|
|
Минимальный
|
0
|
|
Тип гидромоторов
|
ГСТ-90
|
|
Количество гидромоторов
|
2
|
|
Рабочий объем гидромотора,
см3
|
89
|
|
Максимальное рабочее
давление, МПа
|
28
|
|
Управление насосами
|
механогидравлическое
|
|
Давление в контуре
управления, МПа
|
3 + 0,05
|
|
Тип колесных редукторов
|
планетарные, двухрядные
|
|
Передаточное число
|
15.2
|
|
Место расположения
|
в ступицах передних колес
|
|
Шина
|
12.4L-16
или 11.2-16
|
|
Давление в шинах, МПа
(кгс/см2)
|
0,29 (2,9)
|
|
Рама
|
жесткая, сварная
|
|
Тормоза стояночные
|
многодисковые, постоянно
замкнутые с гидравлическим растормаживанием
|
|
Место установки тормозов
|
смонтированы в ступицах
задних колес
|
|
Гидрораспределитель
управления стояночным тормозом
|
ВМП6 574 УХЛ 4 ГОСТ
24679-81
|
|
Тип рулевого управления
|
независимое управление
приводом колес каждой стороны
|
|
Гидропривод рабочего
оборудования
|
|
Тип и особенности
гидросистемы
|
закрытого типа
|
|
Рабочая жидкость
|
МГ3О ТУ38-101-50-79
|
|
Насос
|
|
|
модель
|
210.16
|
|
тип
|
аксиально-поршневой
нерегулируемый
|
|
привод
|
независимый
|
|
количество, шт
|
1
|
|
Частота вращения
номинальная, с-1 (об/мин)
|
48,8 (2450)
|
|
Наибольшее давление при
номинальной частоте вращения, МПа (кгс/см2)
|
20 (200)
|
|
Действительная подача
одного насоса при номинальной частоте вращения, л/мин
|
65
|
|
Направление вращения со
стороны приводного вала
|
левое
|
|
Гидромотор привода щетки
|
МГП-160 ТУ23-21588-82
|
|
Распределитель рабочего
оборудования
|
типа 67020 с гидроуправлением
|
|
Блоки управления:
|
|
Привода хода и рабочего
оборудования
|
601.70 ТЧ22-3744-76
|
|
Привода активного рабочего
органа
|
606.70 ТН22-3744-76
|
|
Гидроцилиндры подъема
стрелы:
|
|
количество, шт
|
2
|
|
диаметр поршня, мм
|
80
|
|
диаметр штока, мм
|
40
|
|
ход поршня, мм
|
500
|
|
Гидроцилиндр поворота
ковша:
|
|
количество, шт
|
2
|
|
диаметр поршня, мм
|
63
|
|
диаметр штока, мм
|
36
|
|
ход поршня, мм
|
630
|
|
Гидроцилиндр
корректирующий:
|
|
количество, шт
|
2
|
|
диаметр поршня, мм
|
63
|
|
диаметр штока, мм
|
36
|
|
ход поршня, мм
|
180
|
|
Гидроцилиндры
двухчелюстного ковша:
|
|
количество, шт
|
2
|
|
диаметр поршня, мм
|
75
|
|
диаметр штока, мм
|
30
|
|
ход поршня, мм
|
200
|
|
Давление предохранительного
клапана защиты гидроцилиндров от реактивных нагрузок , МПа (кгс/см2)
|
20 (200)
|
|
Баки:
|
|
количество, шт
|
1
|
|
расположение
|
в задней части левого лонжерона
рамы
|
|
Вместимость заправочная, л:
|
|
|
Бак топливный двигателя
|
70
|
|
Система охлаждения
двигателя (с радиатором)
|
19
|
|
(Система смазки двигателя
(с радиатором)
|
15
|
|
Воздухоочиститель
|
1,7
|
|
Редуктор привода насосов
1,5
|
1,5
|
|
Гидросистема рабочего
оборудования и привода хода
|
70
|
|
Бачок привода управления
сцеплением
|
0,5
|
|
Ступицы передних колес
|
4
|
|
Ступицы задних колее
|
4
|
|
Сменные рабочие органы:
|
|
Отвал бульдозерный
|
|
Ширина отвала, мм, не менее
|
2100
|
|
Высота отвала, мм, не менее
|
650
|
|
Масса, кг, не более
|
187
|
|
Ковш увеличенный
|
|
Номинальная вместимость, м3
не менее
|
0,6
|
|
Ширина режущей кромки, мм,
не менее
|
1600
|
|
Масса, кг, не более
|
170
|
|
Ковш для снега
|
|
Номинальная вместимость, м3
,не менее
|
0,5
|
|
Ширина режущей кромки, мм,
не менее
|
2200
|
|
Масса, кг, не более
|
220
|
|
Ковш для корнеплодов
|
|
Номинальная вместимость, м3,не
менее
|
0,5
|
|
Ширина режущей кромки, мм,
не менее
|
1600
|
|
Масса, кг, не более
|
155
|
|
Щетка
|
|
Ширина, мм, не менее
|
2000
|
|
Угол поворота в плане, о
|
+ 15; + 30
|
|
Отвал бульдозерный
поворотный
|
|
Ширина отвала, мм, не менее
|
2100
|
|
Высота отвала, мм, не менее
|
650
|
|
Угол поворота в плане, о
|
+15;+30
|
|
Масса со сцепкой, кг, не
более
|
2.50
|
|
Вилы грузовые
|
|
Грузоподъемность, т, не
менее
|
0,8
|
|
Высота подъема, мм, не
менее
|
2910
|
|
Масса, кг, не более
|
130
|
|
Захват вильчатый
|
|
Грузоподъемность, т, не менее
|
0,8
|
|
Высота подъема, мм, не
менее
|
2900
|
|
Ширина захвата по осям
крайних пальцев, мм, не менее
|
1210
|
|
Масса, кг, не более
|
215
|
|
Ковш двухчелюстной
|
|
Номинальная вместимость, м3,не
менее
|
0,38
|
|
Наибольшая высота
разгрузки, мм, не менее
|
2620
|
|
Вылет кромки ковша при
наибольшей высоте разгрузки, мм, не менее
|
700
|
|
Ширина захвата, мм, не
менее
|
2100
|
|
Масса, кг, не более
|
185
|
|
Вилы сельскохозяйственные
|
|
Грузоподъемность, т, не
менее
|
0.8
|
|
Высота подъема, мм, не
менее
|
3040
|
|
Ширина захвата (по осям
крайних пальцев) мм, не менее
|
1200
|
|
Масса, кг, не более
|
125
|
|
Крюк монтажный
|
|
Грузоподъемность, т, не
менее
|
0,8
|
|
Максимальная высота подъема
по крюку, мм, не менее
|
3300
|
|
Максимальный вылет крюка от
оси передних колес, мм, не менее
|
1550
|
|
Масса, кг, не более
|
84
|
|
Бетоносмеситель
гравитационный
|
|
Объем по загрузке, л
|
375
|
|
Объем замеса, л
|
|
Время перемешивания смеси,
мин, не более
|
3
|
|
Масса, кг, не более
|
300
|
|
Захват вильчатый (для
навоза)
|
|
Грузоподъемность, т, не
менее
|
0,6
|
|
Высота подъема, мм, не
менее
|
2960
|
|
Ширина захвата по осям
крайних пальцев, мм, не менее
|
1995
|
|
Масса, кг, не более
|
290
|
|
Удлинитель к отвалу
|
|
Вылет кромки ножа отвала от
оси передних колес, мм, не менее
|
2500
|
|
Масса, кг, не более
|
185
|
|
Захват бордюрного камня
(применяется в комплекте с монтажным поворотным и неповоротным крюками)
|
|
Масса, кг, и длина, мм,
бордюрных камней соответственно
|
340 и 3000, 100 и 1000
|
|
Масса захвата, кг, не более
|
60
|
|
Крик монтажный поворотный
|
|
Грузоподъемность, т, не
менее
|
0,6
|
|
Максимальная высота подъема
по крюку, мм, не менее
|
3100
|
|
Максимальный вылет крюка от
оси передних колес, мм, не менее
|
2420
|
|
Угол поворота, о
|
|
|
влево
|
21
|
|
вправо
|
23
|
|
Масса, кг, не более
|
135
|
|
Захват для рулонов
|
|
Грузоподъемность, т, не
менее
|
0,8
|
|
Максимальная высота подъема
до средней поперечной плоскости захватов, мм, не менее
|
3330
|
|
Максимальный вылет от оси
передних колес до оси рулона, мм, не менее
|
1790
|
|
Ширина захвата по
внутренним поверхностям пластин, мм
|
|
|
min
|
1125
|
|
max
|
1950
|
|
Масса, кг, не более
|
139
|
1.3 Состав,
устройство и работа погрузчика
Погрузчик (см. лист 1 графической части) представляет собой
короткобазовую самоходную колесную машину с независимым гидростатическим
приводом ведших колес правого и левого бортов (типа "Бобкэт") и
включает в себя силовую установку, привод управления сцеплением, ходовую часть
с приводом, раму, привод стояночного тормоза, электросистему, гидросистему,
рабочее оборудование, кабину с оперением.
Кинематическая схема погрузчика показана на рис. 1.
1.3.1 Устройство
и работа силовой установки
Установка силовая состоит из силового агрегата, в который входят
двигатель, редуктор привода насосов, управление подачей топлива, установка
воздухоочистителя, глушителя, топливная система и система охлаждения.
Топливная система состоит из топливного бака, всасывающего и сливного
топливопроводов, а также деталей самого двигателя. Топливный бак образован
металлоконструкцией портальной (задней) части правого лонжерона рамы. В верхней
части бака вварена заливная горловина, закрывающаяся пробкой. В горловине
смонтированы фильтры. Кроме этого установлен электрический указатель уровня
топлива. С внутренней стороны бака вварен трубопровод для забора топлива, а в
днище бака вставлен штуцер для слива остатков топлива. Слив осуществляется
выворачиванием штуцера на несколько оборотов.
Система охлаждения двигателя - закрытая, с принудительной циркуляцией
охлаждающей жидкости. В систему входят (помимо узлов двигателя) водяной
радиатор с пробкой, в которой смонтирован паровоздушный клапан, шторка, кожух
вентилятора, трос управления шторкой, патрубки подвода и отвода жидкости к
двигателю. Перед водяным радиатором закреплен масляный радиатор, соединенный
трубопроводами с системой смазки двигателя, и масляный радиатор гидросистемы.
Для слива охлаждающей жидкости имеются сливные краники: на никнем бачке
радиатора и блоке цилиндров.
Рис.1. Кинематическая схема погрузчика
Редуктор привода насосов предназначен для привода насосов хода и рабочего
оборудования погрузчика. Картер редуктора устанавливается на двух штифтах и
крепится к картеру маховика двигателя. Крутящий момент от двигателя на входной
вал редуктора передается через сцепление. На шлицах входного вала установлена
ведущая шестерня, которая находится в зацеплении с двумя вал-шестернями привода
регулируемых насосов хода, и шестерней, установленной на валу насоса рабочего
оборудования.
Для облегчения запуска двигателя в холодное время года предусмотрено
выключение сцепления с помощью рычага управления сцеплением через
гидравлический привод сцепления.
Смазка редуктора осуществляется маслом, заливаемым в корпус редуктора
через заливную пробку-сапун до уровня контрольной пробки. Трущиеся поверхности
и подшипник отводки смазывается через масленку, установленную на смотровом
лючке корпуса редуктора.
Привод управления подачей топлива состоит из ножной педали и дублирующего
рычага ручного управления, который служит одновременно для останова двигателя и
установки минимальных устойчивых оборотов холостого хода, а также тросов
дистанционного управления. При нажатии на педаль посредством троса педали
происходит перемещение рейки топливного насоса. Подача топлива при этом
увеличивается. Возврат педали в исходное положение обеспечивается
вспомогательной пружиной.
После запуска двигателя рукояткой управления подачей топлива перемещением
ее от себя устанавливается минимальные устойчивые обороты холостого хода. При
этом усилие посредством троса рукоятки передается на рычаг, свободно сидящий на
оси и воздействующий на рычаг педали, поворачивая ее на определенный угол. В
этом положении рукоятка ручного управления удерживается за счет трения
фиксирующих шайб.
Для останова двигателя рукоятка ручного управления перемещается на себя в
крайнее положение и вспомогательная пружина перемещает рейку топливного насоса
в крайнее положение, перекрывая подачу топлива.
Система очистки воздуха - многоступенчатая. Воздухоочиститель двигателя
комбинированный: сухая центробежная очистка и масляный пылеуловитель с мокрым
капроновым фильтром. В корпусе воздухоочистителя между опорными обоймами из
литого пластика установлены три фильтрующих элемента из капроновой щетины
разной плотности. О засоренности фильтров сигнализирует индикатор засоренности
воздухоочистителя, установленный на впускном патрубке двигателя.
Система выпуска отработавших газов состоят из глушителя, применяемого на
тракторе МТЗ-80.
1.3.2 Привод
управления сцеплением
Управление сцеплением служит для отключения привода насосов от двигателя.
Прежде всего с целью облегчения запуска двигателя при низких температурах
окружаемой среды.
Управление сцеплением осуществляется гидравлическим способом.
Гидросистема управления сцеплением состоит из блока управления, цилиндра
сцепления, компенсационного бачка, клапана прокачки, трубопроводов, рукавов и
соединительной арматуры.
Усилие, приложенное к рукоятке блока управления, через шток передается к
поршню главного цилиндра управления сцеплением.
Поршень воздействует на
рабочую жидкость, поступающую самотеком из компенсационного бачка. Создается
гидравлическое давление. Это давление по трубопроводам передается под поршень
цилиндра сцепления, перемещает поршень и через шток поворачивает рычаг
сцепления, который, воздействуя на выжимной подшипник и выключает сцепление,
т.е. отсоединяет привод насосов от коленчатого вала двигателя.
Выключать сцепление во время движения и работа погрузчика запрещается,
т.к. в результате этого погрузчик становится неуправляемым
1.3.3 Ходовая
часть
Привод хода включает в себя правый и левый колесные редукторы, ступицы с
тормозами, закрепленные на раме гайками, цепи, закрытые кожухами, и четыре
колеса, соединенные со ступицами гайками.
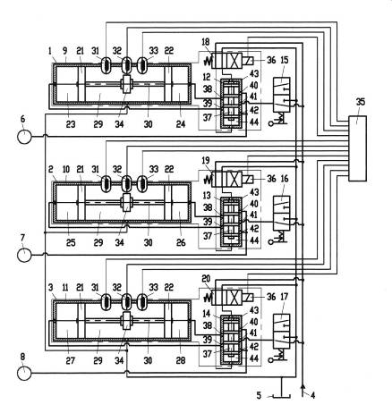
Колесный редуктор (рис. 2) предназначен для привода передних ведущих
колес погрузчика, и через цепную передача - задних колес. Он представляет собой
двухступенчатую замкнутую планетарную передачу, установленную в ступицах
передних колес. Солнечная шестерня 3 находится в зацеплении с тремя сателлитами
9. Сателлиты установлены на подшипниках 8, и свободно вращаются на осях,
установленных в водиле 2.
Водило 2 через ступицу 26 связано с солнечной шестерней 25 тихоходной
ступени. Шестерня 25 находится в зацеплении с тремя сателлитами 13,
установленными на подшипниках 11 и осях 12 в водиле 24.
Водило 24 через ступицу 23 неподвижно закреплено на шлицах цапфы 20
Двухвенцовая коронная шестерня 28 установлена в ступице колеса 27, Ступица
колеса установлена на двух конических роликоподшипниках, один из которых - 16,
установлен непосредственно на цапфе, а другой 15, - на переходной ступице 23
колесного редуктора. Регулировка подшипников производится гайкой 14.
Рис. 2. Колесный редуктор
На шлицах ступицы колеса установлена звездочка 7 цепной передачи привода
задних колес.
Смазка колесного редуктора производится маслом, заливаемым в полость
ступицы. Уплотнение этой полости производится манжетой, запрессованной в крышку
18.
Привод колесного редуктора осуществляется гидромотором 19, установленным
в цапфе 20, которая крепится к раме погрузчика. Крутящий момент от гидромотора
через муфту 21, закрепленную на валу гидромотора, и полуось 22, передается на
солнечную шестерню 3 быстроходной ступени, установленную на шлицевом конце
полуоси, и далее посредством сателлитов 9 водила 2, ступицы 26, солнечной
шестерни 25 и сателлитов 13 на коронную шестерню 28, жестко связанную со
ступицей 27 колеса и, следовательно, на колесо.
Цепные передачи. Цепь одевается на звездочки ступиц передних и задних
колес и замыкается при помощи соединительного звена, оси которого шплинтуются.
После установки цепей правого и левого бортов необходимо отрегулировать их
натяжение с помощью натяжных болтов, для чего необходимо ослабить гайки
крепления задних ступиц и, вворачивая натяжной болт, добиться необходимого
натяжения цепи. Натяжение считается нормальным, если стрела провисания ведомой
ветви составляет не более 20 мм при приложении усилия 160+10Н (16+1кгс). После
регулировки натяжения цепи затянуть ослабленные гайки крутящим моментом 560…600
Нм (50...60кгс м).
Техническое обслуживание цепной передачи заключается в периодической
проверке и регулировке (при необходимости) натяжения цепей и их смазывании
Ходовые колеса. В качестве движителя на погрузчике используются
пневматические шины размерности 12.4L-16 модели Ф-160 или 11,2-16 модели Я-358 с рисунком повышенной
проходимости. Монтаж шины на обод и ее демонтаж следует проводить на полу или
на чистой площадке, чтобы вовнутрь покрышки не попадала земля и грязь, которые
могут вызвать при работе повреждения камеры.
1.3.4 Рама
Рама погрузчика (рис.3) сварной конструкции из листовой стали служит для
установки всех агрегатов и систем машины.
Рама состоит из двух лонжеронов, имеющих отверстия для установки пальцев
крепления стрелы рабочего оборудования и гидроцилиндров.
Ребра, вваренные между боковинами лонжеронов, образуют замкнутые полости,
служащие топливным и масляным баками. Между лонжеронами вварены поперечины и
днище, обеспечивающее необходимую жесткость рамы.
Отверстия в проушинах и перемычках между боковинами предназначены для
строповки погрузчика. Ловители 2 стрелы служат для центрирования стрелы
рабочего оборудования относительно рамы при опускании стрелы и ограничения ее
поперечных перемещений в нижнем положении.
1.3.5 Стояночный
тормоз
Тормоз предназначен для торможения машины на стоянке, а также может быть
использован в качестве аварийного тормоза.
Тормоз представляет собой две «мокрые» постоянно замкнутые многодисковые
фрикционные муфты, установленные в ступицах задних колес. Привод задних колес
осуществляется цепной передачей через звездочку, установленную на шлицах
ступицы. Ступица установлена на конических роликоподшипниках, а подшипники - на
цапфе, закрепленной на раме погрузчика. Регулировка подшипников производится
натяжной гайкой.
На шлицах цапфы установлена неподвижная ступица, на ее шлицах посажено
шесть металлокерамических ведомых дисков, а в пазах диска их - пять ведущих дисков.
Сжатие пакета дисков производится восемью пружинами через поршень. Пакет дисков
разжимается при подаче давления в управляющую полость. Усилие сжатия пружин
регулируется специальной гайкой.
Рис. 3. Рама погрузчика
Полость ступицы заполняется маслом до уровня контрольного отверстия при
максимальном верхнем положении заливного отверстия. Уплотнение этой полости
производится манжетой, запрессованной в крышку.
1.3.6 Привод
стояночного тормоза
Привод стояночного тормоза состоит из гидропанели, управляемой педалью.
Гидропанель состоит из предохранительного клапана КПМ 6/3-В2 ТУ 2-053-1441-79Е
и гидрораспределителя ВМР6 5749ХЛ4 ГОСТ 24679-81. Для очистки рабочей жидкости
в напорной линии между насосом и гидропанелью установлен фильтр.
Предохранительный клапан настроен на давление (3+0,05) МПа. Механическая
часть привода представляет собой педаль, состоящую из подушки, закрытой чехлом,
и рычага. При нажатии на педаль толкатель включает гидрораспределитель,
обеспечивавший перепуск рабочей жидкости от тормозов в сливную магистраль
гидросистемы рабочего оборудования - происходит торможение погрузчика. При
полном нажатии педаль управления фиксируется - погрузчик заторможен для
стоянки. Для расфиксации необходимо, слегка нажав на педаль, повернуть стопой
ноги подушку от себя и в таком положении стопы отпустить педаль.
1.3.7 Электросистема
Электрооборудование предназначено для запуска двигателя, питания
электрических приборов и устройств, а также для обеспечения работы погрузчика в
ночное время и при движении в транспортном режиме.
На погрузчике применяется электрооборудование постоянного тока
номинальным напряжением 12В. Электроприборы соединены по однопроводной схеме,
при которой отрицательным проводом служат металлические части («масса».) С
«массой» соединены все отрицательные клеммы приборов электрооборудования.
Источники электрической энергий. Источниками электроэнергии на погрузчике
являются а) две аккумуляторные батареи типа ЗСТ215А; б) генератор типа
464.3701. Аккумуляторные батареи служат для запуска двигателя, длю питания
потребителей при неработающем двигателе и при малой частоте вращения якоря
генератора.
Номинальное напряжение аккумуляторной батареи - 12В. Номинальная емкость
при 20 часовом режиме разряда - 215 А ч. Масса батареи с электролитом - 34,8
кг.
Выключатель «массы» служит для отключения батареи при неработающем
двигателе и во время стоянки с целью уменьшения саморазрядки батареи.
Выключатель типа 8Н418, установленный в кабине, блокирует запуск двигателя при
открытой двери.
Для невозможности отключения батареи при работающем двигателе
предусмотрена блокировка выключателя «массы» - реле типа 111.3747.
Генератор представляет собой бесконтактную трехфазную электромашину с
протяжной вентиляцией, с односторонним электромагнитным возбуждением,
встроенным полупроводниковым выпрямительным блоком БПВ23-50, собранным по
трехфазной мостовой схеме на кремниевых диодах, и с интегральным устройством
типа Я112Б. Привод генератора осуществляется клиновидным ремнем от оси шкива двигателя.
Номинальное напряжение генератора - 14 В; номинальная мощность -700 Вт;
частота вращения, соответствующая номинальной частоте вращения двигателя -
83,3…8,3 с-1 (500-50 об/мин); номинальная масса без шкива и
вентилятора - 5,4 кг.
Запуск двигателя осуществляется с помощью стартера типа 24.3708, из
кабины, дистанционно, выключателем типа 12.3704, расположенным на правом пульте
управления. Стартер установлен на двигателе и представляет собой двигатель
постоянного тока последовательного возбуждения, кратковременного режима работы
с длительностью не более 10 с. Питание стартера осуществляется от
аккумуляторной батареи емкостью 215 А ч. Номинальное напряжение стартера - 12
В; номинальная мощность - 4 кВт; масса стартера - 18 кг.
Включение стартера осуществляется поворотом ключа. При этом подается
напряжение 12 В на тяговое реле стартера, которое включает стартер в цепь
питания аккумуляторной батареи. Якорь стартера начинает вращаться и через
шестерню передает крутящий момент от стартера на маховик двигателя. После
запуска двигателя ключ выключателя возвращается в исходное положение, разомкнув
цепь питания обмоток тягового реле, в результате чего стартер отключается от
аккумуляторной батареи. Продолжительность непрерывной работы стартера при
запуске двигателя не должна превысить 20 с в холодное время и 10 с в летнее.
Повторный запуск можно производить только после одной-двух минут перерыва.
Допускаемой кол-во повторных запусков не более 3-х.
Контроль режима работы двигателя осуществляется измерительными приборами,
расположенными на пультах управления - правом и левом.
Освещение и приборы сигнализации. Для освещения фронта работ на
погрузчике установлены фары передние и одна задняя. Для обеспечения внешней
световой сигнализации установлены фонари поворотов передние и задние. Также
предусмотрены световозвращатели - боковые и задние.
Для освещения кабины на потолке установлен плафон со встроенным выключателем.
На крыше кабины установлен фонарь сигнальный типа проблескового маячка с
оранжевым рассеивателем.
На дверях кабины устанавливается стеклоочиститель типа СЛ230П.
Звуковой сигнал типа 20.3721_дстанавливается в правом верхнем углу
кабины.
Отопительная установка с электродвигателем вентилятора типа 19.3730
обеспечивает обогрев кабины.
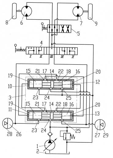
1.3.8 Гидросистема
Гидросистема погрузчика состоит из гидросистемы привода хода,
гидросистемы рабочего оборудования и системы управления. Рассмотрим работу
наядой из этих систем по схеме гидравлической принципиальной (рис. 3.6).
Гидросистема привода хода.
Гидросистема привода хода служит для обеспечения передвижения Погрузчика.
На нем установлены два насоса типа 313.33 (по одному на каждый борт), каждый из
которых соединен с гидромотором типа МП 90 по закрытой схеме. Подпитка этой
гидросистемы происходит из гидробака через подпитывающие насосы, которые
установлены на основных насосах.
Предохранительные клапаны этой системы настроены на давление 25+1 МПа.
Для очистки рабочей жидкости в гидросистеме между подпиточными и
основными насосами установлены фильтры.
Гидросистема рабочего оборудования.
Гидросистема рабочего оборудования служит для привода рабочих органов и
включает в себя насос типа 210.16, который запитан из гидробака,
гидрораспределитель типа Р155И, гидроцилиндры, предохранительные клапана,
обратный клапан и гидрораспределитель типа ВХ10.44.
Рис.4. Гидросистема
Предохранительный клапан 6 гидросистемы настроен на давление 16+1,5 МПа.
Для защиты гидроцилиндров ковша от реактивных нагрузок установлены
предохранительные клапана, настроенные на давление 21+0,5 МПа.
Гидрораспределитель типа ВХ10.44 после доработки настроен на давление
управления 2,5 МПа и предназначен для обеспечения плавающего положения.
Обратный клапан предотвращает возможность разряжения в гидросистеме
погрузчика.
Для очистки рабочей жидкости на сливе в гидросистеме установлен фильтр с
предохранительным клапаном, настроенным на давление 5 МПа.
При включений соответствующей секции гидрораспределителя рабочая жидкость
от насосе поступает к гидроцилиндрам, которые выполняют соответствующие
движения. Из гидроцилиндров рабочая жидкость через распределитель, фильтр,
масляный радиатор поступает на слив в бак.
Система управления.
Система управления служит для управления насосами хода и
гидрораспределителем рабочего оборудования, запитана от насоса тормозной
системы типа НШ-10,установленного на двигателе. Состоит из блоков давления типа
60 120А и одного блока 1 типа 60 620А, соединенных с насосами хода и
распределителем рабочего оборудования.
Гидробак.
Является встроенным в раму и содержит и регулятор давления, клапан для
спуска воздуха, заливную горловину, указатели уровня, крышку, сливную пробку,
сливные и всасывающие патрубки, штуцера.
Гидробак оборудован системой заправки закрытым способом и очистки рабочей
жидкости в процессе эксплуатации.
Гидроцилиндр.
Двухстороннего действия состоит из корпуса сварной конструкции на резьбе
которого закреплена крышка; штока, уплотненного манжетой. Поршень посажен на
шток, закреплен гайкой и уплотнен манжетами.
Муфта разрывная.
Состоит из корпуса левого, пружин, 2 шариковых клапанов, корпуса правого
и предназначена для быстрого подсоединения рукавов высокого давления.
1.3.9 Техническое
обслуживание гидросистемы
Агрегаты гидросистемы не требуют специального обслуживания и регулировок,
кроме предохранительных клапанов, регулировку которых должен выполнять только работник организации,
выполнявшей сервис, или квалифицированный специалист в специализированной
мастерской.
Обслуживание гидросистемы заключается в периодическом контроле уровня
рабочей жидкости в баке и ее смене, герметичности трубопроводов, надежности
затяжки и контровки резьбовых соединений и состояния рукавов высокого давления.
В процессе эксплуатации машины необходимо следить за состоянием фильтров.
При срабатывании индикатора засоренности необходимо провести смену
фильтроэлемента.
Предохранительный клапан фильтра отрегулирован за давление 0.3+0,05 МПа.
Разбирать и регулировать клапан запрещается.
Предохранительные клапана гидросистемы хода должны быть настроены на
давление 25+1 МПа, клапан гидросистемы рабочего оборудования (в распределителе)
на давление 16+1,5 МПа, клапана ковшевых гидроцилиндров - на давление 21+0,5
МПа.
1.3.10 Рабочее
оборудование
Рабочее оборудование состоит из стрелы, основного ковша геометрической
емкостью 0,4 м3, сцепки. Стрела с помощью пальцев крепится к порталу
и соединяется с компенсирующими, стреловыми и ковшевыми гидроцилиндрами.
Ковш, как и все сменные рабочие органы, стыкуемые со стрелой, соединяется
со сцепкой посредством двух крюков, опирающихся на пальцы сцепки, и двух втулок
с вырезом, фиксируемых поворотными пальцами.
Сцепка служит для быстрой смены рабочих органов и посредством пальцев
крепится к стреле, а другими пальцами соединяется с ковшевыми гидроцилиндрами.
Все пальцы рабочего оборудования имеют масленки для смазки и фиксируются
от проворачивания посредством приварных фланцев.
Элементы погрузочного оборудования: стрела, ковш и сцепка, - выполнены в
виде сварных конструкций.
К сменному рабочему оборудовании относятся: отвал бульдозерный
(поворотный и неповоротный), щетка, ковш увеличенный, ковш для снега, ковш для
корнеплодов, ковш двухчелюстной, вилы грузовые, вилы сельскохозяйственные,
захват вильчатый, крюк монтажный (поворотный и неповоротный), захват для леса,
бетоносмеситель, гидромолот, гидробур и т.д.
Точки навески сменных рабочих органов унифицированы с соответствующими
элементами погрузчика-бульдозера ДЗ-133 (на базе трактора МТЗ-82), что
позволяет агрегатирование погрузчика «Амкодор 208» со всем шлейфом сменных
рабочих органов указанного погрузчика-бульдозера.
Для осуществления смены рабочего органа (рабочий орган находится на
земле) необходимо: потянув фиксатор на себя и, тем самым сжав пружину и выведя
фиксатор из отверстия в щеке сцепки, повернуть пальцы в направлении от ковша
вниз (до попадания фиксатора в нижнее отверстие на щеке сцепки) и снять рабочий
орган сначала с пальцев стрелы, а затем с пальцев гидроцилиндра.
Установка рабочего органа на сцепку производится в обратном порядке.
Техническое обслуживание рабочего оборудования заключается в
периодической проверке креплений и смазывании пальцев.
2
АНАЛИЗ ГИДРАВЛИЧЕСКИХ СИСТЕМ МАШИН
2.1 Гидравлические
системы гидрообъемных трансмиссий
Гидравлические системы ОГП содержат механизмы и устройства,
ограничивающие максимальное давление жидкости, управляющие гидромашинами
(изменяющие их рабочие объемы), осуществляющие охлаждение и фильтрацию рабочей
жидкости и др. Иногда они содержат устройства переключения передач в
механических редукторах, распределители, позволяющие отключать гидромоторы или
переключать их с параллельного соединения на последовательное, регуляторы
расхода, ограничивающие подачу жидкости к гидромотору буксующего колеса, и др.
На строительно-дорожных и сельскохозяйственных машинах применяют общую
гидравлическую систему управления ГОТ и технологическими агрегатами.
Основное требование, предъявляемое к гидравлической системе - минимальное
число гидравлических элементов, через которые проходит поток жидкости под
максимальным давлением, так как эти элементы имеют значительные размеры, массу
и стоимость.
Ниже рассмотрена типовая гидравлическая система ГОТ, обеспечивающая
нормальное функционирование ОГП (рис.5). Подобная система использована в
отечественной косилке-плющилке (только имеет нерегулируемый гидромотор),
зерноуборочном комбайне Е-516 (ГДР) и других машинах. Главный контур содержит
регулируемые насос 1 и гидромотор 16, всасывающую (нижнюю) и напорную (верхнюю)
гидролинии. При реверсировании, а также при движении самоходной машины по
инерции или на спуске всасывающая линия выполняет функции напорной, а напорная
- всасывающей. Для предохранения ОГП от перегрузок установлены клапаны 9 и 10,
ограничивающие максимальное давление. При давлении выше допустимого один из
клапанов открывается и перепускает жидкость из напорной линии во всасывающую.
Рис.5. Гидравлическая схема ОГП с регулируемыми насосом и гидромотором и
двумя предохранительными клапанами
Для снижения стоимости ОГП садово-огородных тракторов их не снабжают
предохранительными клапанами. Максимальное давление в системе ограничивается
буксованием ведущих колес, т.е. определяется силой сцепления колес с грунтом.
Общая гидравлическая система включает систему подпитки, обеспечивающую
создание подпора во всасывающей линии для устранения кавитации и,
следовательно, для повышения частоты вращения насоса и уменьшения проходных
сечений его каналов. Система подпитки объединена с системой охлаждения жидкости
и содержит шестеренный насос 5 подпитки, гидравлически управляемый
распределитель 12, переливной клапан 11, предохранительный клапан 6,и обратные
клапаны 7 и 8. Насос 5 забирает охлажденную жидкость из общего бака системы и
подает ее через клапан 8 во всасывающую линию ОГП, Здесь охлажденная жидкость,
увлекаемая общим потоком, поступает к насосу 1. Часть жидкости компенсирует
утечки, имеющие место в ОГП. Так как подача насоса 5 больше утечек,
образовавшийся во всасывающей линии излишек жидкости (нагретой после выхода из
гидромотора) через золотниковый распределитель 12 и переливной клапан 11 поступает
к охладителю 17 и далее на слив. Переливной клапан 11 ограничивает давление
подпитки, а распределитель 12 обеспечивает соединение клапана 11 со всасывающей
линией и блокирует поступление к нему жидкости из напорной линии. Золотник
распределителя перемещается под действием давления жидкости, подводимой к его
торцам.
Таким образом, вся жидкость от насоса подпитки (кроме утечек) проходит
через охладитель 17. Предохранительный клапан 6 предотвращает случайное
повышение давления. Систему охлаждения рассчитывают так, чтобы температура
охлаждающей жидкости не была более 82 °С. В трансмиссиях самоходных машин
обычно используют воздушно-масляные охладители, способные отводить в виде
теплоты около 20% энергии, передаваемой трансмиссией.
Часто на выходе клапана 11 устанавливают распределитель с ручным
управлением, перепускающий жидкость на слив, минуя охладитель 17. Это позволяет
поддерживать необходимую температуру жидкости в зимнее время. Проходящая через
переливной клапан 11 жидкость теряет свою энергию, что приводит к
дополнительным потерям в передаче. Поэтому следует стремиться к минимальному
расходу жидкости и минимальному давлению в системе подпитки.
По данным фирмы «Секмаер» (Франция), подача насоса подпитки должна
составлять 12 ... 15 % максимальной подачи насоса 1 ОГП. Такая подача
компенсирует утечки в передаче и обеспечивает прохождение через охладитель
определенного количества жидкости. Иногда насос подпитки используют для
управления различными дополнительными агрегатами. При этом его подача должна
быть несколько большей. Известны гидравлические системы, содержащие два насоса
подпитки: один, имеющий привод от двигателя, и второй - от ведомого вала ОГП.
Второй насос поддерживает давление в системе подпитки при движении самоходной
машины с неработающим двигателем. Иногда (значительно реже) вместо шестеренного
насоса подпитки применяют шиберный.
Давление в системе подпитки выбирают в зависимости от скорости жидкости в
окнах распределителя гидромашины. Оно также зависит от совершенства форм
гидролиний. Обычно для гидромашин, используемых в ОГП транспортных машин,
давление подпитки составляет 0,6...0,4 МПа. При высоких скоростях жидкости
(высокооборотные гидромашины) давление подпитки достигает 1,5 МПа.
В некоторых ОГП применяют нулеустановители, которые при падении давления
в системе подпитки устанавливают блок цилиндров насоса или его наклонный диск в
нейтральное положение. Благодаря этому предотвращается работа ОГП при
неисправной системе подпитки, что исключает разрушение деталей распределителя
из-за кавитации.
Для очистки жидкости имеется фильтр 18 тонкой очистки, установленный на
входе в насос подпитки. Жидкость через фильтр подводится во всасывающую линию,
а отработанная жидкость с частицами износа отводится через клапан 11. Иногда в
обводном канале фильтра устанавливают переливной клапан, рассчитанный на
давление 0,2...0,3 МПа, обеспечивающий подачу жидкости в линию подпитки при
засорившемся фильтре.
В современных конструкциях фильтр часто устанавливают не на всасывающей,
как показано на рисунке, а на напорной линии подпиточного насоса. Его выполняют
съемным и размещают снаружи передачи.
Иногда кроме фильтра тонкой очистки применяют и фильтр грубой очистки.
Системы управления насосом 1 и гидромотором 16 содержат гидроусилители с
жесткой обратной связью, обеспечивающие следящее действие, т.е.
пропорциональность между перемещением органа управления усилителем и углом
поворота наклонного диска или блока цилиндров гидромашины. Гидроусилитель
насоса состоит из золотникового распределителя 3 и гидроцилиндра 2, а гидроусилитель
гидромотора - из золотникового распределителя 14 и гидроцилиндра 15.
Механическая обратная связь между перемещениями поршня гидроцилиндра и
золотника распределителя на рисунке не показана. Жидкость подается из системы
подпитки через дроссели 4 и 13. Иногда для питания гидроусилителей применяется
отдельный насос.
При помощи специального устройства обеспечивается определенная
последовательность управления насосом и гидромотором: сначала от нуля до
максимального значения увеличивается рабочий объем насоса, после чего при
постоянном максимальном рабочем объеме насоса производится уменьшение рабочего
объема гидромотора.
Срабатывание предохранительных клапанов 9 и 10 приводит к резкому
увеличению температуры рабочей жидкости, несмотря на то, что вся жидкость от
предохранительных клапанов поступает во всасывающую линию и далее через
распределитель 12, клапан 11 подается в охладитель 17, По имеющимся данным для
ОГП с насосом подачей 151 л/мин при максимальном давлении 35 МПа и объеме масла
в баке 3,8 л срабатывание предохранительных клапанов вызывало повышение
температуры масла на 17оС в 1с. Если трансмиссия работает с частыми
перегрузками, то для защиты системы от перегрева применяют специальный
золотниковый распределитель, к которому через обратные клапаны поступает
жидкость под давлением нагнетания. Как только это давление превысит заданное
значение, подача жидкости в гидроусилитель управления насосом прекращается, и
он соединяется со сливной линией, при этом на наклонный диск насоса действуют
только собственные силы, возникающие в результате его взаимодействия с
башмаками поршней и поворачивающие наклонный диск в нейтральное положение. Задний
ход самоходных машин получают двумя способами. При первом используют
распределитель с ручным управлением, осуществляющий подвод жидкости от насоса к
разным штуцерам гидромотора. Однако вследствие того, что распределитель имеет
большие размеры и массу (так как его устанавливают в напорной линии) и создает
дополнительное сопротивление движению жидкости, такой способ получения заднего
хода транспортных машин широкого распространения не получил.
Чаще для получения заднего хода переводят блок цилиндров (наклонный диск)
насоса через нулевое положение. При этом напорная линия становится сливной, а
сливная - напорной. Для перевода блока цилиндров в противоположную сторону при
ручном управлении насосом необходимо переместить орган управления
гидроусилителем за положение, соответствующее нулевой подаче насоса. При
автоматическом управлении насосом при прямом и заднем ходах увеличению рабочего
объема насоса должно соответствовать одно и то же направление перемещения
органа, управляющего гидроусилителем. Поэтому в гидравлическую систему
необходимо ввести дополнительный распределитель, меняющий местами подвод
жидкости к цилиндру гидроусилителя. При изменении подвода жидкости поршень
гидроусилителя перемещается в противоположную сторону при прежнем направлении
перемещения органа, управляющего гидроусилителем.
В ОГП самоходных машин для разгрузки главного контура часто применяют
устройство, соединяющее между собой всасывающую и напорную гидролинии. Обычно
для этого используют клапаны 9 и 10, снабжаемые специальными механизмами. При
помощи этих механизмов освобождают запорно-регулирующие элементы клапанов от
действующих на них усилий. Устройствами управляет жидкость, подаваемая к ним от
насоса подпитки через распределитель с ручным у правлением. Разгрузку главного
контура применяют для переключения передач в механическом редукторе, если такой
имеется в трансмиссии, и для других целей. Нейтральное положение ГОТ можно
также получить в результате принудительной установки наклонных дисков или
блоков цилиндров насоса и гидромотора в нулевое положение.
ГОТ целесообразно использовать для торможения самоходной машины на
затяжных спусках, когда из-за нагрева тормозных накладок нельзя применять
тормозные механизмы, а использование сопротивления проворачиванию двигателя
малоэффективно и приводит к значительному износу его деталей.
Возможны различные способы торможения машин. При одном из них наклонный
диск насоса устанавливается в нейтральное положение, в результате чего жидкость
под максимальным давлением перепускается через один из предохранительных
клапанов 9 или 10. Тормозной момент на колесах увеличивается при увеличении
рабочего объема гидромотора от нуля до максимального значения.
В зарубежной литературе предлагается для торможения автомобилей с ГОТ
использовать специальный клапан, через который жидкость из напорной линии
гидромотора, работающего в режиме насоса, проходит в его всасывающую линию. При
этом перекрывается подача жидкости от гидромотора к насосу. Гидромотор работает
при постоянном максимальном рабочем объеме. Тормозной момент на колесах
изменяется в результате изменения силы поджатая пружины клапана, на которую
действует давление жидкости из системы подпитки, причем устройство поджатия
пружины рекомендуется выполнять так, чтобы падение давления подпитки, вызванное
теми или иными неисправностями, приводило к торможению автомобиля.
Для торможения самоходной машины при помощи ГОТ можно также использовать
регулируемый дроссель.
В гидравлическую систему должны входить, приборы контроля. К ним
относятся электротермометры, измеряющие температуру жидкости в гидролинии, по
которой она поступает из основного контура в систему охлаждения, а также
манометры для измерения давления в системе подпитки и в напорной гидролинии.
Предохранительные клапаны 9 и 10, расположенные в главном контуре, имеют
большие размеры и высокую стоимость; они должны содержать устройства для
предотвращения колебаний запорно-регулирующего элемента и для освобождения его
от действия пружины. Поэтому иногда применяют один предохранительный клапан и
три обратных клапана более простой конструкции. Такую систему имеет ОГП фирмы
«Секмаер» (Франция) (рис.6), которая состоит из регулируемого насоса и
нерегулируемого гидромотора. При увеличении давления в напорной гидролинии выше
установленного значения через один из обратных клапанов 5 или 6 жидкость
подводится к предохранительному клапану 4 и через него и один из обратных
клапанов 2 или 3 системы подпитки поступает во всасывающую линию. Обратный
клапан 1 предотвращает поступление жидкости к насосу 14 подпитки и далее на
слив. Распределитель 7 с ручным управлением обеспечивает свободный проход
жидкости через предохранительный клапан из напорной линии во всасывающую для
получения нейтрального положения трансмиссии. Переливной клапан 15
устанавливает давление во всасывающей гидролинии, а предохранительный клапан 13
ограничивает максимальное давление в ней.
Для питания гидроцилиндра 12 применен отдельный насос 9. Распределитель
11 при нейтральном положении золотника и неподвижном поршне гидроцилиндра 12
обеспечивает поступление жидкости от насоса 9 на слив. В этом случае на выходе
из распределителя целесообразно установить дополнительный охладитель 10. Он
обеспечивает дополнительное охлаждение рабочей жидкости, практически не вызывая
увеличения потребляемой мощности, в то время как повышение подачи насоса 9 и
расхода жидкости через охладитель 8 связано с увеличением непроизводительных
затрат мощности. Гидравлические системы тракторов, сельскохозяйственных,
строительных и дорожных машин содержат устройства отвода жидкости к
гидромоторам и гидроцилиндрам, управляющим различными агрегатами. Часто для
этой цели применяют дополнительные насосы. В садовых тракторах для привода
технологических агрегатов обычно используют насос подпитки, давление которого
при помощи дополнительного переливного клапана повышают до 3,5...5 МПа. Вся
система представляет собой устройство, условно называемое гидравлическим валом
отбора мощности.
Рис.6. Гидравлическая схема ОГП с регулируемым насосом, нерегулируемым
гидромотором и одним предохранительным клапаном
Выше рассматривались гидравлические системы простых ОГП с одним насосом и
одним гидромотором. ОГП с несколькими гидромоторами иногда содержат
распределители, отключающие часть из них или изменяющие их соединение с
параллельного на последовательное (см далее). Известно применение
распределителей для питания всех гидромоторов от всех насосов или раздельного
питания части гидромоторов от отдельных насосов с целью устранения эффекта
механического дифференциала. Следует отметить, что эти распределители
существенно усложняют ОГП и создают дополнительные сопротивления рабочему
потоку жидкости.
Важное значение для надежной работы передачи имеет качество рабочей
жидкости. Требования, предъявляемые к рабочим жидкостям ОГП, их свойства
подробно рассмотрены в соответствующей литературе.
Заводы-изготовители гарантируют надежную работу аксиально-поршневых
гидромашин при кинематической вязкости жидкости 8...1500 мм2/с.
Оптимальная кинематическая вязкость при тонкости очистки 25 мкм составляет
16...25 мм2/с и при тонкости очистки 40 мкм 27...33 мм2/с.
Из отечественных рабочих жидкостей наиболее подходящей по своим качествам
для самоходных машин является загущенное минеральное масло АМГ-10. Оно
представляет собой раствор полимерной вязкой присадки в маловязкой легкой
масляной основе. Легкие масляные фракции имеют пологую вязкостно-температурную
характеристику и низкую температуру застывания, но их вязкость при высоких
температурах оказывается недостаточной. Вязкостная присадка к маловязкой основе
повышает только уровень вязкости с сохранением или улучшением крутизны
вязкостно-температурной кривой. Поэтому загущенные масла способны обеспечить
работу ОГП самоходной машины в широком диапазоне температур.
Кинематическая вязкость масла АМГ-10 при изменении температуры от +50 до
-50 °С изменяется от 10 до 1250 мм2/с. Масло АМГ-10 содержит
присадки, обеспечивающие антикоррозионную защиту и хорошие смазывающие
свойства, предотвращающие разрушение резиновых и других изделий. К недостаткам
этого масла следует отнести резкое ухудшение смазывающих свойств при повышенных
температурах и выпадение смолистых осадков. Препятствием к использованию масла
АМГ-10 в ОГП самоходных машин может служить его очень высокая стоимость.
Для ОГП строительных, дорожных и других самоходных машин созданы и
рекомендуются в качестве основных две рабочие жидкости: ВМГЗ (при отрицательных
температурах окружающего воздуха) и МГ-30 (при положительных температурах).
Жидкость ВМГЗ используют в качестве всесезонной для районов крайнего
севера и в качестве зимней для районов с умеренным климатом. Она обеспечивает
длительную работу гидромашин в диапазоне температур -40...+65 °С и
кратковременную в диапазоне -50...+70 °С. В диапазоне температур +50...-40 °С
кинематическая вязкость жидкости изменяется от 10 до 1500 мм2/с. При
температуре воздуха ниже -40 °С необходимо на малых оборотах двигателя без нагрузки
путем дросселирования прогреть систему, повысив температуру рабочей жидкости до
10...15 °С. Для повышения температуры применяют также специальные
подогреватели.
Жидкость ВМГЗ относится к загущенным маслам на нефтяной основе и содержит
присадки, обеспечивающие антиокислительные, противоизносные, антикоррозионные и
антипенные свойства.
Рабочую жидкость МГ-30 используют в качестве всесезонной для южных
районов и в качестве летней для районов с умеренным климатом.
Она обеспечивает длительную работу гидромашин в диапазоне температур
+5...+70 °С и кратковременную в диапазоне -10...+70 °С. В диапазоне температур
+50...-15 °С кинематическая вязкость жидкости изменяется от 28 до 4000 мм2/с.
Рабочая жидкость МГ-30, как и ВМГЗ, содержит различные присадки, обеспечивающие
ее необходимые свойства.
Заменителями рабочей жидкости ВМГЗ и МГ-30 являются масла соответственно
АУ и И-ЗОА. Срок службы жидкостей ВМГЗ и МГ-30 составляет 3500...4000 ч работы
и в 2...3 раза превышает срок службы других нестандартных масел. Известны
гидромашины ОГП самоходных машин, в которых в качестве рабочей жидкости
используют дизельное топливо.
К присадкам рабочей жидкости следует относиться с определенной
осторожностью. Высокое давление способствует разрушению загущающих присадок
минеральных масел, а моющие присадки не дают частицам загрязненной среды
оседать в баке или фильтре, увеличивая их вредное воздействие на систему.
Важным свойством рабочей жидкости является ее сжимаемость, которая
снижает КПД гидромашин. Увеличение рабочего давления лимитируют не механическая
прочность гидромашин и не герметичность, а сжимаемость жидкости. В настоящее
время имеются рабочие жидкости, обеспечивающие нормальное функционирование ОГП
при давлении до 75 МПа.
Работоспособность гидромашин существенно зависит от чистоты рабочей
жидкости. Повышение тонкости фильтрации от 20 до 5 мкм увеличивает срок службы
насосов в 10 раз и гидроаппаратуры в 5...7 раз. Чем выше тонкость фильтрации
жидкости, тем больше гидравлическое сопротивление фильтров и выше стоимость фильтрующего
материала.
2.2 Выбор
схемы полнопоточной гидрообъемной трансмиссии
Гидрообъемным трансмиссиям свойственны различные принципиальные схемы,
характеризующие использование в них тех или иных агрегатов и их взаимное
расположение в силовом потоке. От принципиальной схемы зависят главные качества
трансмиссии: возможный нагрузочный диапазон изменения передаточного отношения,
масса, стоимость, удобство компоновки агрегатов на самоходной машине и др.
Выбор схемы зависит от типа самоходной машины.
Первую группу составляют нераздельно-агрегатные трансмиссии самоходных
машин с колесной формулой 4X2, содержащие механический дифференциал (рис. 7,
дифференциал обозначен буквой Д).
По схеме, изображенной на рис.7, а, содержащей регулируемый насос и
нерегулируемый гидромотор, выполнены почти все трансмиссии садово-огородных
тракторов и подобных им машин. Такую трансмиссию целесообразно применять на
машинах небольшой массы и мощности, не требующих большого диапазона изменения
нагрузочного передаточного отношения. По схеме, показанной на рис.7, б,
содержащей регулируемый насос и регулируемый гидромотор, выполнена трансмиссия
«Лукас Т-100» (Великобритания), рассчитанная на передачу мощности до 75 кВт,
используемая в трансмиссиях тракторов, дорожных катков и экскаваторов. Такая
схема, по сравнению с предыдущей, позволяет значительно увеличить нагрузочный
диапазон изменения передаточного отношения при прежнем рабочем объеме
гидромашин.
Схема, изображенная на рис.7, в, содержит регулируемый насос и
нерегулируемый гидромотор и двух- или трехступенчатый зубчатый редуктор. По
такой схеме выполнены ГОТ различных зерноуборочных комбайнов (в том числе
отечественных), сельскохозяйственных подборщиков и некоторых других самоходных
машин. Редуктор позволяет увеличить общий диапазон изменения передаточного
отношения, разделив его на несколько диапазонов.
Рис.7. Схемы раздельно-агрегатных трансмиссий с механическим
дифференциалом самоходных машин с колесной формулой 4X2
Схема, показанная на рис.7, г с регулируемым насосом, регулируемым
гидромотором и ступенчатым зубчатым редуктором, использована в трансмиссиях
семейства тракторов «Интернейшнл Харвестр» (США) и в трансмиссиях некоторых
других машин. Такая схема является более совершенной, поскольку обеспечивает
более широкий диапазон бесступенчатого изменения передаточного отношения.
Передаточное отношение редуктора выбирают так, чтобы на каждой передаче в тех
или иных условиях можно было продолжительно работать, не производя
переключений. Для трактора одну передачу обычно используют в качестве рабочей,
а другую в качестве транспортной. В этом случае применение ступенчатого
редуктора не лишает ГОТ ее важнейшего качества - бесступенчатого изменения
передаточного отношения.
На рис.8 показаны схемы раздельно-агрегатных трансмиссий, характерные
тем, что имеют два параллельно соединенные гидромотора и не содержат
механического дифференциала. При такой схеме, как и при наличии механического
дифференциала, колеса самоходной машины могут вращаться с различной частотой.
Трансмиссии этой группы, как и предыдущей, предназначены для самоходных машин с
колесной формулой 4X2.
По схеме, показанной на рис.8, а, с высокооборотным нерегулируемыми
гидромоторами, работающими совместно с понижающими редукторами, выполнена тракторная
трансмиссия Тородрайв фирмы «Даути» (Великобритания), а также одна из
трансмиссий фирмы «Линде АГ» (ФРГ), представляющая собой гидравлический ведущий
мост, предназначенный для различных самоходных машин. Иногда гидромотор
размещают в колесе, т.е. используют конструкцию мотор-колесо.
По схеме, показанной на рис.8, б, с мотор-колесами, содержащими
высокомоментный гидромотор, выполнялись первые ГОТ тракторов.
Рис.8. Схемы раздельно-агрегатных трансмиссий без механического
дифференциала самоходных машин с колесной формулой
Регулируемый высокооборотный гидромотор, работающий совместно с
понижающим редуктором, содержит трансмиссия Тородаин фирмы «Даути»
предназначенная для тракторов, погрузчиков, экскаваторов и дорожных катков
(рис.8, в).
Для увеличения общего нагрузочного диапазона изменения передаточного
отношения иногда применяют схему (рис.8, г) с понижающими редукторами, имеющими
переменное передаточное отношение. Например, трансмиссия фирмы «Бауц» (ФРГ)
зерноуборочного комбайна «Титан-1300» содержит трехступенчатый редуктор.
Для ГОТ с двумя гидромоторами определенное место занимают схемы, в
которых для увеличения общего нагрузочного диапазона изменения передаточного
отношения производится переключение гидромоторов с параллельного соединения на
последовательное, что позволяет получить два диапазона регулирования. Эти схемы
отличаются от схем, показанных на рис.8, б, наличием распределительного
клапана, осуществляющего изменение соединений гидромоторов. Известны также
гидромоторы, позволяющие выключать из работы часть цилиндров, что приводит к
тому же эффекту.
Иногда каждое колесо приводится от нескольких гидромоторов (рис.9, а).
При помощи распределителя РС производится отключение части гидромоторов.
Выше не были показаны входящие в общую гидравлическую систему насосы и
гидромоторы, предназначенные для привода технологических рабочих органов
сельскохозяйственных и строительных дорожных машин, не относящиеся к
трансмиссии. Насосы, питающие гидромоторы технологических рабочих органов,
можно использовать и для осуществления движения, подключив их к насосу
трансмиссии. На рис.9, б показана схема с двумя насосами. Один из них питает
гидромоторы колес, а второй - гидромоторы технологических рабочих органов
(ГТРО). На транспортном режиме при помощи распределителя PC осуществляется
привод гидромоторов колес от двух насосов, что увеличивает скорость движения
машин.
Подключение одного насоса к гидромотору правого борта, а второго - к
гидромотору левого борта дает возможность устранить дифференциальную связь, что
требуется для увеличения проходимости машины.
Трансмиссии, выполненные по схемам, показанным на рис.8, а и б, имеют
небольшой нагрузочный диапазон изменения передаточного отношения. Для его
увеличения применяют схемы, изображенные на рис.8,в и г.
Рис.9. Схемы раздельно-агрегатных трансмиссий самоходных машин с колесной
формулой 4X2 с отключаемыми гидромоторами и двумя насосами
Суммарный объем трех гидромоторов (см. рис.9, а), вращающихся с большой
частотой, меньше рабочего объема одного гидромотора (рис.8, в).
Сравнивая между собой нераздельно- и раздельно-агрегатные трансмиссии
применительно к тракторам, отметим следующее. После того как в 1954 г.
институтом NIAE в Англии была разработана конструкция первого трактора с
гидрообъемной трансмиссией, выполненной по схеме, показанной на рис.8, б, стали
считать, что преимущества применения ГОТ на тракторах будут получены только при
использовании высокомоментных гидромоторов, расположенных непосредственно в
ведущих колесах, так как при этом не нужно применять дополнительные агрегаты и
устройства. По такому пути шло дальнейшее развитие ГОТ.
В 1963 г. на Минском тракторном заводе была создана опытная
нераздельно-агрегатная объемная гидропередача. Такая передача устанавливается
вместо обычного сцепления и коробки передач, так что сохраняется часть
механической трансмиссии (главная передача, дифференциал). Это позволяет по
желанию устанавливать гидрообъемную и механическую трансмиссию на один и тот же
трактор.
Начиная с 1965 г. фирма «Айхер» (ФРГ) выпустила около 300 тракторов с
рассмотренной передачей, после чего прекратила их выпуск. Успех выпал на долю
фирмы «Интернейшнл Харвестр», которая в 1967 г. в содружестве с фирмой
«Сандстрэнд» (США), выпускающей гидромашины, создала трактор модели 656 с
гидрообъемной нераздельно-агрегатной трансмиссией. До настоящего времени фирма
«Интернейшнл Харвестр» устанавливает на различные модели тракторов такую
трансмиссию. В определенной степени успеху способствовало то, что были
использованы гидромашины с наклонным диском, имеющие меньшую стоимость и массу.
Создание компактной передачи, заменяющей сцепление и коробку передач,
является важным этапом в развитии ГОТ самоходных машин.
Рассмотрим ГОТ самоходных машин с колесной формулой 4X4.
Рис.10. Схема нераздельно-агрегатной трансмиссии с механическим
дифференциалом самоходных машин с колесной формулой 4X4
Сначала остановимся на трансмиссиях с механическим дифференциалом. На
рис.10 показана схема ГОТ отечественного ковшового экскаватора ЭО-3322. По
такой схеме выполнена также трансмиссии фирмы К-Н-Д (ФРГ) экспериментального
трактора «Итрак-2005» (на схеме не показан механический привод валов отбора
мощности). Трансмиссия содержит два ведущих моста: передний и задний, которые
приводятся во вращение от гидрообъемной передачи через раздаточную коробку с
двухступенчатым редуктором, обеспечивающим два диапазона изменения
передаточного отношения, а также задний ход. Предусмотрена возможность
отключения переднего моста.
На рис.11, а показана схема трансмиссии, содержащей один насос и четыре
встроенных в колеса высокооборотных гидромотора. По такой схеме выполнена
трансмиссия самоходного шасси фирмы «Хеги» и некоторых других машин.
Использование нерегулируемых гидромоторов ограничивает нагрузочный диапазон
изменения передаточного отношения. Следующим характерным типом трансмиссии
является трансмиссия, выполненная по схеме, аналогичной показанной на рис.11,
а, но содержащая мотор-колеса с регулируемыми высокооборотными гидромоторами.
Долгое время применению регулируемых гидромоторов, расположенных в
подрессоренных колесах, перемещающихся относительно рамы, мешали трудности,
связанные с созданием системы их следящего управления. В настоящее время эта
задача успешно решена: управление гидромоторами осуществляется при помощи
изменения управляющего давления жидкости, подаваемой в гидроусилители
гидромоторов. Применение трансмиссий с регулируемыми расположенными в колесах
гидромоторами технически оправдано и перспективно.
Рис.11. Схемы раздельно-агрегатных трансмиссий без механического
дифференциала самоходных машин с колесной формулой 4X4
Получила распространенеие также схема трансмиссии с высокомоментными
мотор-колесами (рис.11, б). По такой схеме выполнена трансмиссия трактора фирмы
«Родес Тракшн» (Великобритания), виноградоуборочной машины фирмы «Бэнак э Фис»
(Франция), экспериментального автобуса фирмы «Теодор Клятт» (ФРГ) и др. Иногда
высокомоментные гидромоторы выполняют регулируемыми, например в трансмиссии,
разработанной в МВТУ им. Н.Э. Баумана для трактора К-700 с ломающейся рамой и
всеми ведущими колесами. В трансмиссии использованы мотор-колеса с
оригинальными высокомоментными гидромоторами, регулирование которых осуществляется
в результате поворота детали распределителя.
Иногда для увеличения диапазона изменения силы тяги на колесах и частоты
их вращения применяют гидромоторы, работающие совместно с редукторами, имеющими
несколько передач (рис.11, в). Переключение передач, как указывалось, обычно
производится при помощи фрикционных сцеплений, имеющих дистанционное
гидравлическое управление. Такие трансмиссии со сдвоенным насосом и четырьмя
гидромоторами, снабженными двухступенчатыми редукторами, устанавливают на
отечественном ковшовом экскаваторе ЭО-4321 и на некоторых тракторах,
выпускаемых за рубежом.
ГОТ самоходных машин с колесной формулой 4X4, содержащие четыре
гидромотора, имеют большие возможности для отключения части гидромоторов и
переключения их с последовательного соединения на параллельное (по сравнению с
ГОТ самоходных машин, имеющих колесную формулу 4X2). Гидромоторы отключаются
при помощи распределителя, который отсоединяет вход гидромотора от гидролинии
высокого давления и соединяет его с гидролинией низкого давления. Для
прекращения движения поршней при отключении высокомоментных гидромоторов иногда
жидкость под небольшим давлением подают в корпус гидромотора, что приводит к
утапливанию поршней. Полное отключение высокооборотных гидромоторов мотор-колес
осуществляется при помощи гидравлически управляемых сцеплений.
Отключаемые гидромоторы содержит, например, трансмиссия аэродромного
тягача фирмы «Гар Вуд Индастриз» (США) с одним насосом и четырьмя
гидромоторами. Трансмиссия обеспечивает три бесступенчатых диапазона изменения
передаточного отношения. На первом диапазоне работают все гидромоторы, на
втором отключаются два гидромотора, на третьем отключается часть цилиндров
оставшихся включенными гидромоторов.
В одной из первых гидрообъемных трансмиссий, разработанных для трактора в
НАТИ, предусмотрено для расширения общего диапазона изменения передаточного
отношения отключение гидромоторов передних колес.
Интересна схема трансмиссии, разработанная в ВИМе для тракторов класса
1,4 типа «Беларусь». Трансмиссия (рис.11, г) содержит два насоса, каждое заднее
колесо приводится во вращение от одного высокооборотного гидромотора через
понижающий редуктор, а каждое переднее колесо - от двух высокооборотных
гидромоторов через понижающий редуктор (колеса одинакового размера). Жидкость
от насосов к гидромоторам поступает через сложный распределитель PC, состоящий
из гидравлического устройства (контроллера) и переключателя. От распределителя
жидкость подается также к гидравлическому валу отбора мощности (ГВОМ). Схема
обеспечивает следующие режимы работы трактора:
1) Жидкость от двух насосов подводится к
параллельно соединенным гидромоторам всех колес. Максимальное тяговое усилие
составляет 18 кН, максимальная скорость движения 9 км/ч.
2) Жидкость от одного насоса подводится
к параллельно соединенным гидромоторам всех колес. Второй насос подает жидкость
к гидравлическому валу отбора мощности. Максимальное тяговое усилие то же,
максимальная скорость движения 4,5 км/ч.
3) Жидкость подводится от двух насосов к
четырем гидромоторам передних колес. Гидромоторы задних колес отключены
(закольцованы). Тяговое усилие до 9 кН, скорость движения до 18 км/ч.
4) Питание гидромоторов передних колес
производится от одного насоса, второй подает жидкость к гидравлическому валу
отбора мощности. Тяговое усилие до 9 кН, максимальная скорость до 9 км/ч.
5) Оба насоса подают жидкость только к
одному гидромотору каждого переднего колеса. Тяговое усилие до 4,5 кН, скорость
движения до 36 км/ч.
6) Только один насос подает жидкость к
одному гидромотору каждого переднего колеса. Скорость движения до 18 км/ч.
При подводе жидкости ко всем колесам трансмиссия эквивалентна
механической трансмиссии с межколесными и межосевыми дифференциалами, что
исключает возможность появления циркуляции мощности. Распределитель позволяет
для улучшения проходимости трактора подключить один насос к гидромоторам
передних колес, а другой - к гидромоторам задних колес. Это приводит к
блокировке межосевой гидродифференциальной связи.
Подключение одного насоса к гидромоторам правого переднего колеса, а
второго - к гидромоторам левого переднего колеса обеспечивает блокировку
межколесной дифференциальной связи. Распределитель позволяет осуществить
соединение напорной и всасывающей магистралей и тем самым получить нейтральное
положение трансмиссии, необходимое, например, при буксировке трактора.
При установке наклонного блока цилиндров в нейтральное положение
осуществляется торможение трактора при помощи трансмиссии.
Жидкость проходит через предохранительный клапан. Тормозная сила не
регулируется и равна максимальному тяговому усилию.
В ВИМе создан трактор с трансмиссией подобной схемы, в которой вместо
высокооборотных гидромоторов с понижающими редукторами применены
высокомоментные гидромоторы. В передних колесах размещены гидромоторы,
позволяющие отключать половину цилиндров. Гидромоторы задних колес снабжены
специальным устройством, обеспечивающим при их отключении прекращение движения
поршней, что устраняет помехи их свободному вращению и снижает потери в
трансмиссии. Прекращение движения поршней достигается подачей в корпус
гидромотора жидкости под давлением подпитки. Это приводит к перемещению всех
поршней к центру ротора гидромотора и прекращению их связи с реактивной
обоймой.
Особое внимание следует обратить на применение во многих схемах трансмиссий
двух насосов. В трансмиссиях тракторов, сельскохозяйственных, строительных и
дорожных машин насос, предназначенный для привода гидромоторов технологических
агрегатов, используют для питания гидромоторов трансмиссии, в результате чего
повышается скорость движения машины на транспортном режиме. Кроме того, два
насоса позволяют блокировать дифференциальные связи между колесами и осями.
Суммарный рабочий объем двух насосов, допускающих большую частоту вращения,
меньше рабочего объема одного насоса.
Схемы с двумя насосами распространены на машинах с колесной формулой как
4X4, так и 4X2. В трансмиссиях некоторых самоходных машин применяют специально
разработанные двухсекционные насосы, непосредственно присоединяемые к двигателю
без использования зубчатого редуктора.
В первые годы создания гидрообъемных трансмиссий для тракторов широко
использовалось отключение гидромоторов, в настоящее время большое внимание
обращается на разработку конструкций с многоступенчатыми редукторами. На
самоходных машинах с колесной формулой 4X4 оправдано применение тех и других
схем.
Индивидуальный привод каждого колеса от отдельного гидромотора (см.
рис.11) позволяет устранить многие агрегаты механической трансмиссии и снизить
ее массу по сравнению с массой трансмиссии, выполненной по схеме, показанной на
рис.10, содержащей обычные ведущие мосты с главными передачами и
дифференциалами. Схемы, изображенные на рис.11, безусловно целесообразны, когда
требуется свобода компоновки агрегатов трансмиссии (сельскохозяйственные и
некоторые строительные и дорожные машины). Схему, показанную на рис.11, б,
рационально использовать для трансмиссии легкового автомобиля. Применение
схемы, изображенной на рис.10, может снизить стоимость трансмиссии в результате
применения только двух, объединенных в одном корпусе, гидромашин и
использования стандартных ведущих мостов. В настоящее время нельзя отдать
абсолютное предпочтение той или иной схеме.
Для самоходных многоколесных тележек единственно целесообразной является
схема трансмиссии с индивидуальным приводом каждого колеса (или, как обычно
принято делать, пары колес) от отдельного гидромотора (рис. 12). При этом
широко используют отключение гидромоторов для увеличения общего диапазона
изменения передаточного отношения.
Обычно применяют несколько быстроходных насосов, имеющих меньший
суммарный рабочий объем по сравнению с рабочим объемом одного тихоходного
насоса большого рабочего объема. Использование нескольких насосов позволяет при
необходимости устранить дифференциальные связи для улучшения проходимости
машины.
Трансмиссия, выполненная по схеме, показанной на рис.12, имеет три
диапазона регулирования. На первом диапазоне жидкость от насосов подводится ко
всем гидромоторам, на втором - к половине гидромоторов и на третьем - к одной
четвертой гидромоторов.
Подача жидкости от четырех насосов в общую магистраль и питание от нее
всех гидромоторов обеспечивает дифференциальную связь всех колес. Питание групп
гидромоторов (по четыре в каждой) от отдельного насоса позволяет устранить
дифференциальные связи между этими группами.
На рис. 12 для простоты показана схема трансмиссии самоходной тележки,
содержащей 32 колеса. Как указывалось, число колес некоторых самоходных тележек
достигает 192. Каждая пара колес выполняется управляемой. Поворот всех колес на
90° обеспечивает боковое перемещение самоходной тележки.
Известны трансмиссии, осуществляющие вследствие раздельного привода колес
правого и левого бортов поворот короткобазовых машин или машин, снабженных
шинами сверхнизкого давления. Применение таких трансмиссий на длиннобазовых
машинах исключается по двум причинам: из-за необходимости использования
гидроагрегатов, рассчитанных на большую мощность, и из-за недопустимо высокого
износа шин. При определенном отношении базы к колее поворот машины становится невозможным.
Рис.12. Схема трансмиссии многоколесной самоходной тележки
При повороте машины в результате раздельного привода колес на них
действуют значительные боковые силы, приводящие к уводу, который для шин
сверхнизкого давления весьма существен и способствует повороту машины.
Схема трансмиссии с раздельным приводом колес каждого борта,
осуществляющей поворот машины, приведена на рис.13, а. По такой схеме выполнена
трансмиссия отечественного малогабаритного тягача Д-456. Ту же схему, но с
высокомоментными гидромоторами имеет трансмиссия малогабаритного вездехода
фирмы «Дж А.В Дизайн Энд Констракшн» (Великобритания). Трансмиссия
короткобазового бульдозера фирмы «Хеншель» (ФРГ) отличается от предыдущих тем,
что содержит высокооборотные гидромоторы, работающие совместно с установленными
за ними двухступенчатыми редукторами. Трансмиссии, выполненные по рассмотренной
схеме, имеют межосевые дифференциальные связи и лишены межколесных
дифференциальных связей.
На малогабаритных вездеходах с шинами сверхнизкого давления и колесной
формулой 4X4, 6X6 и даже 8X8 иногда для упрощения и удешевления трансмиссии
применяют один гидромотор для каждого борта, от которого цепными передачами
вращение передается ко всем колесам борта (рис.13, б). Трансмиссия не имеет как
межколесных, так и межосевых дифференциальных связей.
Большим разнообразием отличаются трансмиссии гусеничных машин. Два насоса
и два высокомоментных гидромотора, приводящие во вращение ведущую звездочку
своего борта, содержит трансмиссия трактора фирмы «Бэгнол» (рис.14, а).
Рис.13. Схемы трансмиссий колесных самоходных машин, осуществляющие
поворот
Рис.14. Схемы трансмиссий гусеничных самоходных машин
Отечественные гусеничные ковшовые экскаваторы ЭО-4121 и ЭО-4123 и
некоторые зарубежные содержат ГОТ, в которых высокооборотные гидромоторы
работают совместно с понижающими редукторами (рис.14, б). Обычно используют
сдвоенные насосы (два насоса вместе с редуктором, размещенные в одном корпусе).
Аналогичную трансмиссию (с двумя приводимыми во вращение через конический
редуктор насосами) и двумя высокооборотными, работающими с понижающими редукторами,
гидромоторами, имеет малогабаритный гусеничный снегоход (мотонарты) фирмы
«Кашман моторе» (США).
Дальнейшим усовершенствованием этой схемы является установка за каждым
гидромотором редуктора с переменным передаточным отношением (рис.14, в).
Примером такой трансмиссии является трансмиссия отечественного экскаватора
ЭО-5122, в которой за гидромоторами установлены трехступенчатые редукторы.
Если необходимо иметь большой нагрузочный диапазон бесступенчатого
изменения передаточного отношения или несколько таких диапазонов, то применяют
регулируемые гидромоторы.
Как и в трансмиссиях колесных машин, в трансмиссиях гусеничных машин
можно использовать несколько бесступенчатых диапазонов изменения передаточного
отношения, получаемых в результате отключения части гидромоторов. Известно
несколько вариантов решения этой задачи, в одном из которых вращение передается
к ведущим звездочкам каждого борта от нескольких гидромоторов. На первом
диапазоне работают все гидромоторы, на втором - часть из них. В соответствии с
другим вариантом в трансмиссии используют гидромоторы с группой отключаемых
цилиндров. Наконец, возможна трансмиссия, при которой каждая гусеница
приводится в движение двумя ведущими звездочками (расположенными в передней и
задней частях машины), получающими вращение от гидромоторов. На первом
диапазоне работают четыре гидромотора четырех ведущих звездочек, а на втором -
только два гидромотора.
Выше рассматривались трансмиссии, не имеющие дифференциальной связи между
гусеницами. На рис.14, г показана схема трансмиссии, обеспечивающая
дифференциальную, связь между гусеницами. Особенностью ее является применение
одного насоса. Поворот машины осуществляется в результате уменьшения рабочих
объемов гидромоторов одного борта и увеличения рабочих объемов гидромоторов
другого борта. Привод каждой ведущей звездочки от двух гидромоторов и
отключение одного из них обеспечивают получение двух диапазонов бесступенчатого
изменения передаточного отношения. Такая трансмиссия по сравнению с
трансмиссией, содержащей два регулируемых насоса и два регулируемых
высокооборотных гидромотора, позволяет уменьшить суммарную установочную
мощность гидромашин на 40 ... 45 % и значительно повысить КПД трансмиссии.
Во всех предыдущих схемах ГОТ использовалась для поворота гусеничной
машины. Возможно применение ОГП совместно с обычным механическим механизмом
поворота (МП) (рис.14, д). Такую передачу можно устанавливать на стандартную
машину вместо обычного сцепления и коробки передач. ОГП рассчитывают на
передачу максимальной мощности двигателя. В рассмотренных ранее трансмиссиях
ОГП каждого борта рассчитывается на мощность, большую максимальной мощности
двигателя. Несмотря на указанные преимущества, ГОТ с механическим механизмом
поворота не получили широкого распространения, так как поворот гусеничной
машины с использованием ОГП происходит весьма плавно, при этом увеличиваются
маневренность и скорость самоходной машины.
На гусеничных машинах с двигателем большой мощности целесообразно иметь
две ОГП (рис.14, е): одну, рассчитанную на максимальную мощность двигателя и
предназначенную для обеспечения прямолинейного движения машины, а вторую,
входящую в бесступенчатый механизм поворота, рассчитанную на меньшую мощность.
Механизм поворота кроме ОГП содержит планетарные механические передачи (по одной
на каждый борт).
Бесступенчатые гидрообъемные механизмы поворота применяют также и с
обычной или гидромеханической, содержащей гидротрансформатор, трансмиссией.
Как следует из изложенного, выбор схемы трансмиссии зависит от типа
самоходной машины, который определяет ее допустимую стоимость, необходимый
диапазон изменения передаточного отношения, возможность разбивки этого
диапазона на отдельные диапазоны со ступенчатым переходом с одного на другой
при продолжительной работе на каждом из них.
2.3 Обснование
структуры гидрообъемных многомоторных приводов
В настоящее время системы отбора мощности развиваются по пути
использования гидрообъемных приводов. Анализ структуры гидрообъемных приводов
ходового и рабочего оборудования позволяет выявить некоторые сложившиеся
подходы при формировании структуры приводов:
·
предпочтительно
применение одной силовой установки независимо от числа рабочих органов;
·
увеличивается
количество насосов при увеличении числа рабочих органов;
·
распределение
мощности силовой установки по контурам объемного гидравлического привода
осуществляется посредством согласующих редукторов, связывающих ведущие валы
нескольких стандартных насосов с валом силовой установки;
·
широко
применяется распределение потока мощности гидромотора по контурам потребителей
посредством механических передач.
Силовая установка реализуется, в основном, как моноагрегат, насосная
установка практически всегда многоагрегатна. Такие подходы обусловлены
существующей номенклатурой и конструктивным исполнением гидравлических
агрегатов.
При увеличении количества насосов насосного агрегата, и уменьшении
количества гидромоторов удельный вес механической части привода возрастает. Это
отрицательно сказывается на габаритных возможностях машины по размещению
технологического оборудования.
Существенным резервом рационализации систем отбора мощности силовой
установки на привод оборудования является уменьшение удельного веса
механических передач в кинематической цепи привода ходового и рабочего
оборудования.
Такая задача может решаться по двум направлениям:
·
создания
отдельных гидравлических дозирующих систем деления - суммирования потока
рабочей жидкости насоса стандартной конструктивной схемы;
·
создания
многопоточных моноагрегатных насосных установок с модернизированной
коструктивной схемой применяемых типов гидромашин.
Данный материал подготовлен на основании анализа патентов РБ номера 375U,
551U, 655U, 702U, 703U, 722U, 724U, 778U, 779U,795U, 796U, 797U, 931U,
932U,933U,979U, 980U, 1028U, 1232U, 1233U (авторы Котлобай А.Я., Котлобай
А.А.), 920U, 921U, 922U, 957U, 1055U (авторы Котлобай А.Я., Котлобай А.А.,
Пилипенко В.М.).
2.3.1 Дозирующие
системы гидрообъемных многомоторных приводов
В настоящее время применяются дроссельные и объемные делители потока.
Независимость параметров рабочего процесса различных контуров
многомоторного гидропривода достигается при применении дроссельных делителей
потока за счет дросселирования напорных магистралей контуров, и коррекции
параметров дросселей в соответствии с нагрузками контуров потребителей.
Известные конструкции дроссельных делителей потока рассчитаны на применение в
контурах не более двух потребителей. При работе таких устройств неизбежны
потери давления жидкости в дросселях.
Объемные делители потока более предпочтительны. Область применения
объемных делителей потока широка. Целесообразно их применение в гидросистемах,
имеющих несколько независимых контуров. Делитель потока обязателен в насыщенных
исполнительными органами агрегатированных с шасси машинах, питающихся от насоса
шасси.
Возможны два основных принципиальных технических решения объемного
деления потока рабочей жидкости насоса. Первое, реализуемое в настоящее время в
ряде конструкций, состоит в том, что гидравлический контур каждого потребителя
питается автономной секцией насоса, движение рабочего органа которой,
обеспечивающей расход жидкости, синхронизировано с движением рабочих органов
остальных секций насоса посредством механической, гидравлической, либо иной
связи. Рабочая жидкость подается одновременно по всем контурам гидросистемы.
Использование данного принципиального технического решения характерно для
гидравлических машин с рабочими органами, обеспечивающими расход жидкости,
роторного типа. Жесткая связь роторов обеспечивает независимость от нагрузки
расходов жидкости по контурам потребителей. Реализация таких делителей потока
возможна в виде блока шестеренных гидромоторов с ведущими шестернями, жестко
соединенными с одним ведущим валом, а ведомые шестерни свободно вращаются на
общей, либо собственных осях [1]. Гидромашины, объединенные в блок,
обеспечивают полную независимость контуров потребителей.
В отличие от дроссельных, шестеренный делитель потока практически не
снижает КПД системы, так как разгруженная секция работает в режиме гидромотора.
Наряду с объемным делением потока посредством применения блоков
гидромашин, обеспечивающих одновременную подачу рабочей жидкости по контурам
потребителей, возможно принципиальное техническое решение, состоящее в
дискретной подаче фиксированных объемов рабочей жидкости последовательно по
напорным магистралям потребителей. При таком техническом решении насос
многомоторного привода работает каждый дискретный промежуток времени с контуром
одного потребителя. Далее, насос последовательно подключается к контуру каждого
потребителя гидросистемы. Нагрузочные режимы различных контуров не оказывают
взаимного влияния.
Для реализации такого технического решения необходимо обеспечить
дискретизацию потока жидкости, подаваемой насосом, на малые одинаковые объемы.
Точность, достигаемая при дискретизации потока жидкости, определит точность
деления потока по контурам потребителей.
Возможны два варианта дискретизации потока жидкости, подаваемой насосом.
Первый вариант предполагает фиксацию времени связи насоса с контурами
последовательно всех потребителей. Эта задача решается посредством установки в
цепи гидролиний связи насоса с рядом потребителей гидрораспределителя,
подключающего насос последовательно в контур каждого потребителя на малое,
точно фиксированное время. Такой гидрораспределитель может быть решен как
золотниковый с электромагнитным включением, и роторный с гидравлическим, либо
механическим приводом.
Второй вариант дискретизации потока жидкости, подаваемой насосом,
предполагает использование промежуточных устройств с малыми объемами,
периодически заполняемых насосом, и опорожняемых в контур последовательно
каждого потребителя. Технически такие устройства могут быть реализованы на
основе технических решений поршневых возвратно-поступательных гидромашин.
Отличительной особенностью поршневых возвратно-поступательных гидромашин
является периодическое изменение объема гидравлической полости, образованной
поршнем в гидроцилиндре. В зависимости от подвода энергии к поршню, либо
жидкости, устройство работает в режиме насоса, либо мотора. Несмотря на
сложность взаимного преобразования поступательного движения поршней и
вращательного валов, возвратно-поступательные гидромашины имеют преимущества,
обеспечивающие их широкое применение. К числу преимуществ следует отнести:
возможность достижения высоких давлений; простота и надежность конструкции,
технического обслуживания и ремонта; высокий коэффициент полезного действия.
Анализ работы возвратно-поступательных гидромашин показывает возможность
использования их в качестве дозирующих систем, обеспечивающих объемное
дозирование потока, в частности модульных дозирующих систем, работающих в
режимах «Деление потока» и «Суммирование потоков».
Рассмотрим конструктивные схемы дозирующих систем и алгоритм их работы.
Под модулем, в общем случае, понимаем совокупность гидроагрегатов,
обеспечивающих работу гидравлического контура одного потребителя. Предлагаемые
модульные дозирующие системы выполнены на основе конструктивных решений
возвратно-поступательных гидромашин.
На рис. 15 представлена трехконтурная модульная дозирующая система,
работающая в режимах «Деление потока», «Суммирование потоков» с
последовательным включением двухагрегатных модулей.
Система включает двухагрегатные модули 1, 2, 3. Каждый из модулей
обслуживает контур одного потребителя 4, 5, 6 и состоит из модуля дозирования
7, 8, 9 и гидрораспределителя управления 10, 11, 12. Модули дозирования 7, 8, 9
выполнены по единой конструктивной схеме и оснащены плунжерами 13 с тремя
кулачками, образующими торцевые рабочие полости 14, 15. Гидрораспределитель
управления 10 выполнен по схеме 4/2, гидрораспределители управления 11, 12 - по
схеме 4/3 с запертыми отводами. Один подводящий канал гидрораспределителя
управления каждого модуля связан с напорной магистралью 21 источника давления и
баком 22 гидросистемы в первой и второй позициях гидрораспределителя 23.
Гидрораспределитель переключения 23 выполнен по схеме 4/2.
При работе модульной дозирующей системы в режиме «Деление потока»
гидрораспределитель переключения 23 переводится в первую позицию.
Рабочая жидкость из напорной магистрали 21 источника давления подается
через гидрораспределитель управления 10 в полость 14 модуля дозирования 7 и
вытесняется из полости 15 в напорную магистраль потребителя 4. При достижении
плунжером 13 крайнего положения жидкость через каналы 19, 16 модуля дозирования
7 поступает в торцевую управляющую полость гидрораспределителя управления 11.
Вторая управляющая полость этого гидрораспределителя через каналы 17, 20
соединяется со сливом в бак 22. Гидрораспределитель управления 11 переводится в
третью позицию.
Рис. 15. Двухагрегатная трехконтурная модульная дозирующая система с
последовательным включением модулей
Жидкость поступает в полость 15 модуля дозирования 8 и вытесняется из
полости 14 в напорную магистраль потребителя 5. Далее, жидкость через каналы
19, 17 модуля дозирования 8 поступает в торцевую управляющую полость
гидрораспределителя управления 12 и переводит плунжер его в первую позицию.
Жидкость поступает в полость 14 модуля дозирования 9 и вытесняется из
полости 15 в напорную магистраль потребителя 6. При достижении плунжером 13
крайнего положения жидкость через каналы 19, 16 модуля дозирования 9 поступает
в торцевую управляющую полость гидрораспределителя управления 10 и переводит
плунжер его во вторую позицию.
Жидкость поступает в полость 15 модуля дозирования 7 и вытесняется из
полости 14 в напорную магистраль потребителя 4. При достижении плунжером 13
крайнего положения жидкость через каналы 19, 17 поступает в торцевую
управляющую полость гидрораспределителя управления 11 и переводит плунжер его в
первую позицию.
Далее, поочередно, жидкость поступает в полости 14, 15 модулей
дозирования 8, 9 и вытесняется из полостей 15, 14 в напорные магистрали
потребителей 5, 6.
Цикл последовательной работы дозирующих модулей 1, 2, 3 продолжается, как
описано выше. Анализ работы модульной дозирующей системы в режиме «Деление
потока» показывает, что модули системы работают последовательно, режимы работы
различных модулей не оказывают взаимного влияния.
Для работы модульной дозирующей системы в режиме «Суммирование потоков»
гидрораспределитель переключения 23 переводится во вторую позицию. Цикл
последовательной работы дозирующих модулей 1, 2, 3 продолжается, как описано
выше. Последовательная работа дозирующих модулей обеспечивает независимость
работы различных контуров потребителей.
Структура модульной дозирующей системы позволяет изменять количество
модулей в соответствии с потребностями гидросистемы. Для реализации алгоритма
работы модульной дозирующей системы необходимо, чтобы один из
гидрораспределителей управления имел две позиции, остальные гидрораспределители
управления - три позиции с запиранием рабочих полостей модулей дозирования в
средней позиции гидрораспределителя управления данного модуля.
Модульная дозирующая система позволяет реализовать алгоритмы работы, при
которых часть модулей работает в режиме закачки рабочей жидкости в напорные
магистрали потребителей, а часть в режиме слива. Реализация такого алгоритма
работы достигается введением в структуру модульной дозирующей системы
дополнительных гидрораспределителей.
Рассмотренные модульные дозирующие системы предполагают циклическую
работу модулей при включении последующего модуля по окончании цикла работы
предыдущего. Кроме такого алгоритма работы возможны алгоритмы, предполагающие
одновременное начало цикла работы модулей, параллельную, либо последовательную,
в порядке, определяемом нагруженностью контуров, работу в цикле, одновременное
окончание цикла. Двухагрегатная модульная дозирующая система, реализующая
данный алгоритм, может быть выполнена по конструктивной схеме, представленной
на рис. 16.
Модульная дозирующая система включает модули 1, 2, 3. Каждый из модулей
обслуживает один из потребителей 4, 5, 6 и состоит из модуля дозирования 7, 8,
9 и гидрораспределителя управления 10, 11, 12.
Модули дозирования 7, 8, 9 выполнены с плунжерами 13, образующими
торцевые рабочие полости 14, 15. Плунжеры 13 оснащены канавками, соединяющими
между собой попарно каналы двух диаметрально расположенных групп 16, 17, 18, 19
и 20, 21, 22, 23.
Гидрораспределители управления 10, 11, 12 оснащены плунжерами 24,
образующими торцевые управляющие полости 25, 26. Плунжеры 24 оснащены
канавками, соединяющими в крайних положениях плунжеров каналы двух групп: 27,
28, 29, 30 и 31, 32, 33, 34. Плунжеры 24 подпружинены посредством пружин малой
жесткости со стороны полостей 25.
Каналы 33, 34 гидрораспределителей управления 10, 11, 12 связаны с
напорными магистралями потребителей 4, 5, 6. Каналы 31, 32 гидрораспределителей
управления 10, 11, 12, каналы 21, 22 модуля дозирования 9 связаны с баком 35 и
напорной магистралью 36 источника давления в первой и второй позициях
гидрораспределителя переключения 37. Торцевые рабочие полости 14, 15 модулей
дозирования 7, 8, 9 связаны с группами каналов 27, 30 и 28, 29
гидрораспределителей управления. Каналы 20, 23 модуля дозирования 9 связаны с
напорной магистралью 36 источника давления и баком 35 гидросистемы в первой и
второй позициях гидрораспределителя переключения 37. Каналы групп: 20, 16; 21,
17; 22, 18; 23, 19 связаны между собой попарно для модулей дозирования 7, 8 и
8, 9. Группы каналов 16, 17 и 18, 19 модуля дозирования 7 связаны с торцевыми
управляющими полостями: гидрораспределителей управления 25, 26.
Рис. 16. Двухагрегатная трехконтурная модульная дозирующая система с
одновременным включением модулей
Для работы модульной дозирующей системы в режиме «Деление потока»
гидрораспределитель переключения 37 переводится во вторую позицию. Жидкость из
напорной магистрали 36 источника давления поступает через каналы 32, 28
гидрораспределителей управления 10, 11, 12 в торцевые рабочие полости 15
модулей дозирования 7, 8, 9.
Плунжеры 13 перемещаются и жидкость из полостей 14 через каналы 30, 34
поступает в напорные магистрали потребителей 4, 5, 6. При различных нагрузочных
режимах в контурах потребителей плунжеры 13 перемещаются не одновременно, а по
мере увеличения нагрузки в контурах.
При достижении плунжерами 13 модулей дозирования крайнего положения
жидкость через каналы 22, 18 поступает в торцевые управляющие полости 26
гидрораспределителей управления 10, 11, 12. Полости 25 через каналы 16, 20
соединяются со сливом в бак 35. Плунжеры 24 гидрораспределителей управления 10,
11, 12 переводятся во вторую позицию.
Жидкость через каналы 31, 27 поступает в торцевые рабочие полости 14, а
из полостей 15 через каналы 29, 33 - в напорные магистрали потребителей 4, 5,
6.
При достижении плунжерами 13 крайнего положения жидкость через каналы 21,
17 поступает в торцевые управляющие полости 25. Полости 26 через каналы 19, 23
соединяются со сливом в бак 35. Плунжеры 24 возвращаются в первую позицию.
Далее цикл работы модульной дозирующей системы в режиме «Деление потока»
продолжается, как описано выше.
Для работы модульной дозирующей системы в режиме «Суммирование потоков»
гидрораспределитель переключения 37 переводится в первую позицию. Система
действует аналогично.
Модули предлагаемой дозирующей системы начинают и заканчивают работу
одновременно. Структура связей модулей обеспечивает выполнение требования:
модули не начинают новый цикл работы до окончания предыдущего цикла работы
всеми модулями.
Возможны также иные конструктивные решения модулей рассмотренной выше
дозирующей системы.
Структура модульной дозирующей системы позволяет реализовать алгоритмы,
при которых в контуры потребителей поступает поток рабочей жидкости с малым
расходом и потенциалом давления, превышающим максимальное давление в напорной
магистрали источника давления. Реализация такого технического решения может
быть достигнута посредством оснащения модуля дозирования дополнительной
полостью с плунжером меньшего диаметра плунжера модуля дозирования.
Модульная дозирующая система с одновременным началом и окончанием цикла
работы всех модулей (см. рис. 16) может быть реализована с одним, общим для
всех гидроцилиндров дозирования гидрораспределителем управления. Алгоритм
работы модульной дозирующей системы не меняется, поскольку в обоих случаях
перевод гидрораспределителей управления в следующую позицию осуществляется
одновременно для всех гидроцилиндров дозирования.
Увеличение числа контуров потребителей, обслуживаемых модульной
дозирующей системой, может осуществляться посредством соответствующего
увеличения числа модулей дозирования, кулачков и каналов гидрораспределителя
управления.
Рассмотрим одноагрегатные модульные дозирующие системы, модули которых
конструктивно решены без гидрораспределителя управления.
В модульной дозирующей системе (рис. 17) гидроцилиндры дозирования имеют
конструктивную схему, аналогичную конструктивной схеме, представленной на рис.
15.
Отличительной особенностью гидроцилиндров дозирования таких модульных
дозирующих систем является наличие пружин малой жесткости, фиксирующих
начальное положение плунжеров. Плунжер одного гидроцилиндра дозирования
выполнен с одной пружиной, обеспечивающей плунжеру начальную рабочую позицию,
плунжеры остальных гидроцилиндров дозирования выполнены с двумя пружинами,
обеспечивающими данному плунжеру дополнительно среднюю позицию, при которой
контур потребителя заперт.
Модульная дозирующая система (см. рис. 17) включает одноагрегатные модули
1, 2, 3, обеспечивающие работу контуров потребителей 4, 5, 6. Модули состоят из
модулей дозирования 7, 8, 9.
Модули дозирования выполнены с плунжерами 10, образующими торцевые
рабочие полости 11, 12. Плунжеры 10 оснащены кулачками, соединяющими между
собой попарно в крайних позициях плунжеров каналы двух групп: 13, 14 и 15, 16,
17. Плунжер 10 модуля дозирования 9 подпружинен со стороны полости 11
посредством пружины, удерживающей плунжер 10 в первой позиции. Плунжеры 10
модулей дозирования 7, 8 подпружинены со стороны обоих рабочих полостей 11, 12
посредством пружин, обеспечивающих плунжерам среднюю позицию. Пружины имеют
незначительную жесткость и не оказывают значимого влияния на нагруженность
системы при работе.
Каналы 15, 17 модулей дозирования 7, 8, 9 связаны с напорными
магистралями потребителей 4, 5, 6. Каналы 16 связаны через переключатель режима
18 с баком 19 гидросистемы и напорной магистралью 20 источника давления. Каналы
13, 14 модулей дозирования 8, 9 связаны с торцевыми рабочими полостями 11, 12
модулей дозирования 8, 7. Каналы 13, 14 модуля дозирования 7 связаны с
торцевыми рабочими полостями 11, 12 модуля дозирования 9 через двухпозиционный
гидрораспределитель согласования 21. Торцевая управляющая полость
гидрораспределителя согласования 21 связана с баком 19 гидросистемы и напорной
магистралью 20 источника давления через переключатель режима 18.
Рис. 17. Одноагрегатная трехконтурная модульная дозирующая система с
последовательным включением модулей
У модульной дозирующей системы, обеспечивающей работу четного числа
контуров потребителей (в данном случае двух), гидрораспределитель согласования
в структуре отсутствует.
При работе модульной дозирующей системы (см. рис. 17) в режиме «Деление
потока» в напорную магистраль 20 источника давления подается жидкость,
поступающая к каналам 16 модулей дозирования.
Жидкость через каналы 16, 13 модуля дозирования 9 поступает в торцевую
рабочую полость 11 модуля дозирования 8. Плунжер 10, находящийся в средней
позиции под действием пружин, перемещается и жидкость из полости 12 через
каналы 14, 17 модуля дозирования 9 поступает в напорную магистраль потребителя
6.
При крайней позиции плунжера 10 модуля дозирования 8 жидкость через
каналы 16, 13 модуля дозирования 8 поступает в торцевую рабочую полость 11
модуля дозирования 7. Плунжер 10 перемещается и жидкость из полости 12 через
каналы 14, 17 модуля дозирования 8 поступает в напорную магистраль потребителя
5.
При крайней позиции плунжера 10 модуля дозирования 7 жидкость через
каналы 16, 13 модуля дозирования 7, гидрораспределитель согласования 21
поступает в торцевую рабочую полость 12 модуля дозирования 9. Плунжер 10
перемещается и жидкость из полости 11 через каналы 14, 17 модуля дозирования 7
поступает в напорную магистраль потребителя 4.
Аналогично, жидкость поступает в полости 12, 11 модулей дозирования 8, 7,
9 и вытесняется из полостей 11, 12 в напорные магистрали потребителей 6, 5, 4.
При работе модульной дозирующей системы в режиме «Суммирование потоков»
жидкость из напорной магистрали потребителя 6 через каналы 17, 14 модуля
дозирования 9 поступает в рабочую полость 12 модуля дозирования 8. Плунжер 10
перемещается и жидкость из полости 11 через каналы 13, 16 модуля дозирования 9
поступает на слив в бак 19 через переключатель режима 18 в первой позиции.
При крайней позиции плунжера 10 крайнего жидкость из напорной магистрали
потребителя 5 через каналы 15, 13 модуля дозирования 8 поступает в рабочую
полость 11 модуля дозирования 7, а из полости 12 через каналы 14, 16 -на слив в
бак 19.
При крайней позиции плунжера 10 жидкость из напорной магистрали
потребителя 4 через каналы 17, 14 модуля дозирования 7, гидрораспределитель
согласования 21 поступает в рабочую полость 12 модуля дозирования 9, а из
полости 11 через гидрораспределитель согласования 21, каналы 13, 16 модуля
дозирования 7 - на слив в бак 19.
Далее, жидкость последовательно поступает из напорных магистралей
потребителей 6, 5, 4 соответственно в рабочие полости 11, 12, 11 модулей
дозирования 8, 7, 9, а из полостей 12, 11, 12 - на слив в бак 19.
Возможен вариант модульной дозирующей системы, где на каждом плунжере
образованы две кольцевые канавки, соединяющие между собой в крайних позициях
группы каналов. Алгоритм работы модульной дозирующей системы аналогичный ранее
рассмотренному алгоритму (см. рис. 17).
В модульной дозирующей системе (см. рис. 18) дополнительно к модульной
дозирующей системе (см. рис. 17) гидрораспределители переключения 21, 22, 23
установлены в гидролиниях связи напорной магистрали 20 источника давления и
бака 19 с полостями гидроагрегатов модулей 1, 2. 3. Каждый модуль оснащен
гидрораспределителем согласования 24, 25, 26.
Гидрораспределители согласования 24, 25, 26 выполнены с плунжерами 27,
образующими торцевые управляющие полости 28, и дренажные 29. Плунжеры 27
подпружинены со стороны дренажных полостей 29. Три кулачка каждого плунжера 27
связывают в крайних позициях группы каналов: 30, 31 и 32, 33, 34.
Торцевые рабочие полости 11, 12 модулей дозирования 7, 8 связаны с
каналами 33 и 32, 34 гидрораспределителей согласования 25, 26, а полости 11, 12
модуля дозирования 9 - с каналами 32, 34 и 33 гидрораспределителя согласования
24. Торцевые управляющие полости 28 связаны через гидрораспределители
переключения 21, 22, 23 с баком 19 и напорной магистралью 20 источника
давления.
Для работы модульной дозирующей системы в режимах «Деление потока» и
«Суммирование потоков» гидрораспределители переключения 21, 22, 23 переводятся
соответственно в первую и вторую позиции. Гидрораспределители согласования 24,
25, 26 также переводятся в первую и вторую позиции.
Рис. 18. Трехконтурная двухагрегатная модульная дозирующая система с
последовательным включением модулей
Для реализации режима, при котором, например, модули 1, 3 работают в
режиме закачки, а модуль 2 в режиме слива рабочей жидкости из напорных
магистралей потребителей 4, 5, 6 гидрораспределители 21, 23 переводятся в первую,
а гидрораспределитель 22 - во вторую. Гидрораспределители согласования 24, 26
остаются в первой позиции, а гидрораспределитель 25 переводится во вторую.
Жидкость из напорной магистрали 20 источника давления через
гидрораспределитель переключения 23, каналы 16, 13 модуля дозирования 9, 31, 33
гидрораспределителя согласования 26 поступают в торцевую рабочую полость 11
модуля дозирования 8, а из полости 12 через каналы 32, 30 гидрораспределителя
согласования 26, 14, 17 модуля дозирования 9 поступают в напорную магистраль
потребителя 6.
При крайнем положении плунжера 10 модуля дозирования 8 жидкость из
напорной магистрали потребителя 5 через каналы 17, 14 модуля дозирования 8, 30,
33 гидрораспределителя согласования 25 поступает в торцевую рабочую полость 11
модуля дозирования 7, а из полости 12 через каналы 34, 31 гидрораспределителя
согласования 25, 13, 16 модуля дозирования 8, и гидрораспределитель
переключения 22 поступает на слив в бак 19.
При крайнем положении плунжера 10 модуля дозирования 7 жидкость из
напорной магистрали 20 источника давления через гидрораспределитель
переключения 21, каналы 16, 13 модуля дозирования 7, 31, 33 гидрораспределителя
согласования 24 поступает в торцевую рабочую полость 12 модуля дозирования 9, а
из полости 11 через каналы 32, 30 гидрораспределителя согласования 24, 14, 17
модуля дозирования 7 в напорную магистраль потребителя 4.
Далее, жидкость поступает в полости 12, 12. 11 модулей дозирования 8, 7,
9 из напорных магистралей: 20 источника давления; 5 потребителя; 20 источника
давления. При перемещении плунжеров 10 жидкость поступает в напорные магистрали
потребителя 6, в бак 19, напорную магистраль потребителя 4.
Модульное построение дозирующей системы позволяет реализовать также
алгоритмы регулирования расхода рабочей жидкости по напорным магистралям
потребителей. Возможны следующие варианты технического решения задачи:
·
отключение
потребителя и слив рабочей жидкости из его магистрали в бак;
·
изменение хода
плунжера модуля дозирования;
·
изменения
конструктивного объема полости модуля дозирования.
Отключение потребителя и слив рабочей жидкости из его магистрали в бак
достигается введением в модули двухпозиционных регуляторов расхода, позволяющих
соединять напорные магистрали со сливом.
Изменение характеристик расхода рабочей жидкости по магистралям
потребителей посредством изменения хода плунжеров модулей дозирования
достигается фиксированием промежуточного положения плунжеров.
Реализация технического решения регулирования расхода рабочей жидкости
посредством изменения конструктивного объема полости модуля дозирования
предполагает наличие в модуле дозирования ряда гидравлических полостей и
возможность подключения их заданным образом к напорной магистрали потребителя.
Современный уровень развития электронных систем управления делает
перспективным использование электронной системы управления дозирующими
модулями.
Модульная дозирующая система, представленная на рис. 19 позволяет
работать модулям в режимах закачки и слива, изменять расход жидкости по
напорным магистралям потребителей.
Модульная дозирующая система состоит из трех модулей 1, 2, 3,
установленных в цепи гидролиний связи напорной магистрали источника давления 4
и бака 5 с напорными магистралями потребителей 6, 7, 8. Модули включают
гидроцилиндры дозирования 9, 10, 11, двухпозиционные гидрораспределители
управления 12, 13, 14, переключатели режима 15, 16, 17, двухпозиционные
гидрораспределители переключения 18, 19, 20.
Два поршня 21, 22 каждого гидроцилиндра дозирования 9, 10, 11 делят
полость гидроцилиндра дозирования на две рабочие 23, 24, 25, 26, 27, 28 и
дренажную 29, связанную с баком 5. Поршни 21, 22 соединены между собой попарно
штангами 30.
На корпусах гидроцилиндров дозирования 9, 10, 11 установлены по три
геркона 31, 32, 33, взаимодействующих в крайних и промежуточных позициях
поршней 21, 22 с магнитными полями магнитов 34, закрепленных на штангах 30.
Расстояние между герконами 31, 32 и 32, 33 разное. Сигналы герконов 31, 32, 33
поступают в блок управления 35, обеспечивающий электропитание катушек электромагнитов
36 двухпозиционных гидрораспределителей переключения 18, 19, 20.
Гидрораспределители управления 12, 13, 14 выполнены с плунжерами 37,
кулачки которых обеспечивают связь каналов двух групп: 38, 39 и 40, 41, 42.
Плунжеры 37 гидрораспределителей управления 12, 13, 14 образуют торцевые
управляющие полости 43, 44, связанные через двухпозиционные гидрораспределители
переключения 18, 19, 20 с напорной магистралью источника давления 4 и баком 5.
Торцевые рабочие полости 23, 25, 27 и 24, 26, 28 гидроцилиндров дозирования 9,
10, 11 связаны соответственно с каналами 39 и 38 гидрораспределителей
управления 12, 13, 14. Каналы 40, 42 гидрораспределителей управления 12, 13, 14
связаны с напорными магистралями потребителей 6, 7, 8, а каналы 41, через
переключатели режима 15, 16, 17 - с напорной магистралью источника давления 4 и
баком 5.
Рис. 19. Трехконтурная, трехагрегатная модульная дозирующая система с
электроннной системой управления
Для работы устройства в режиме «Деление потока» всех модулей 1, 2, 3
переключатели режима 15, 16, 17 переводятся в первую позицию. В напорную
магистраль источника давления 4 подается жидкость. При обесточенных обмотках
катушек электромагнитов 36 гидрораспределители переключения 18, 19, 20 находятся
в первой позиции под действием пружин. Жидкость поступает в торцевые
управляющие полости 44 гидрораспределителей управления 12, 13, 14, а из
торцевых управляющих полостей 43 - на слив в бак 5. Плунжеры 37
гидрораспределителей управления 12, 13, 14 переводятся в первую позицию (на
чертеже верхнюю).
Жидкость через каналы 41, 38 гидрораспределителей управления 12, 13, 14
поступает в торцевые рабочие полости 24, 26, 28 гидроцилиндров дозирования 9,
10, 11. Поршни 22, 21 перемещаются, и жидкость из полостей 23, 25, 27 через
каналы 39, 42 гидрораспределителей управления 12, 13, 14 поступает в напорные
магистрали потребителей 6, 7, 8.
Модульная дозирующая система позволяет обеспечить три уровня объемов
рабочей жидкости, подаваемой гидроцилиндром дозирования за один ход поршня.
Объем жидкости пропорционален ходу поршня. Минимальный ход поршня равен
расстоянию между герконами 32, 33; средний - расстоянию между герконами 31, 32;
максимальный - расстоянию между герконами 31, 33. При постоянном расходе
рабочей жидкости в напорной магистрали источника давления 4, задавая
необходимый алгоритм работы блока управления 35, можно получить различные
соотношения расходов рабочей жидкости по напорным магистралям потребителей 6,
7, 8.
Максимальный ход поршней 21, 22 (максимальный расход рабочей жидкости по
контуру данного потребителя) достигается при выключении геркона 32.
При достижении поршнями 21 крайнего положения (на чертеже левого)
электромагниты 34 входят в зону герконов 31. Герконы 31 замыкаются. Сигнал
герконов 31 подается на блок управления 35. При получении блоком управления 35
сигналов от герконов 31 всех гидроцилиндров дозирования 9, 10, 11, блок
управления 35 подает питание на обмотки электромагнитов 36 и
гидрораспределители переключения 18, 19, 20 переводятся во вторую позицию.
Жидкость поступает в торцевые управляющие полости 43 гидрораспределителей
управления 12, 13, 14, а торцевые управляющие полости 44 соединяются со сливом
в бак 5. Плунжеры 37 переводятся во вторую позицию (на чертеже нижнюю).
Жидкость через каналы 41, 39 поступает в торцевые рабочие полости 23, 25,
27. Поршни 21, 22 перемещаются, и жидкость из полостей 24, 26, 28 через каналы
38, 40 поступает в напорные магистрали потребителей 6, 7, 8.
При достижении поршнями 22 крайнего положения (на чертеже правого)
электромагниты 34 входят в зону герконов 33. Герконы 33 замыкаются, а герконы
31 размыкаются. Сигнал герконов 33 подается на блок управления 35. Блок
управления 35 обесточивает катушки электромагнитов 36 и гидрораспределители
переключения 18, 19, 20 возвращаются в первую позицию под действием своих
пружин. Жидкость поступает в торцевые управляющие полости 44, а торцевые
управляющие полости 43 соединяются со сливом в бак 5. Плунжеры 37 переводятся в
первую позицию (на чертеже верхнюю).
При разном давлении в напорных магистралях потребителей поршни
перемещаются поочередно. Блок управления 35 не поменяет режим питания обмоток
электромагнитов 36, пока поршни всех гидроцилиндров дозирования не займут
крайнее однозначное положение.
Для работы модульной дозирующей системы в режиме «Суммирование потоков»
переключатели режима 15, 16, 17 переводятся во вторую позицию.
Блок управления 35 меняет алгоритм работы: при положении магнита 30 в
зоне срабатывания геркона 31 питание катушек электромагнитов 36 выключается, а
при положении магнита 36 в зоне срабатывания геркона 33 - питание катушек
электромагнитов 36 включается.
При обесточенных обмотках катушек электромагнитов 36 гидрораспределители
переключения 18, 19, 20 находятся в первой позиции под действием пружин.
Жидкость поступает в торцевые управляющие полости 44 гидрораспределителей
управления 12, 13, 14, а из торцевых управляющих полостей 43 - на слив в бак 5.
Плунжеры 37 гидрораспределителей управления 12, 13, 14 переводятся в первую
позицию (на чертеже верхнюю).
Жидкость из напорных магистралей потребителей 6, 7, 8 через каналы 42, 39
гидрораспределителей управления 12, 13, 14 поступает в торцевые рабочие полости
23, 25, 27 гидроцилиндров дозирования 9, 10, 11. Поршни 21, 22 перемещаются, и
жидкость из полостей 24, 26, 28 через каналы 38, 41 гидрораспределителей
управления 12, 13, 14, переключатели режима 15, 16, 17 поступает на слив в бак
5.
При достижении поршнями 22 крайнего положения (на чертеже правого)
электромагниты 34 входят в зону герконов 33. Герконы 33 замыкаются, а герконы
31 размыкаются. Сигнал герконов 33 подается на блок управления 35. Блок
управления 35 подает питание на обмотки электромагнитов 36 и
гидрораспределители переключения 18, 19, 20 переводятся во вторую позицию.
Жидкость поступает в торцевые управляющие полости 43 гидрораспределителей
управления 12, 13, 14, а торцевые управляющие полости 44 соединяются со сливом
в бак 5. Плунжеры 37 переводятся во вторую позицию (на чертеже нижнюю).
Жидкость из напорных магистралей потребителей 6, 7, 8 через каналы 41, 38
поступает в торцевые рабочие полости 24, 26, 28 гидроцилиндров дозирования 9,
10, 11. Поршни 22, 21 перемещаются, и жидкость из полостей 23, 25, 27 через
каналы 39, 41, переключатели режима 15, 16, 17 поступает на слив в бак 5.
При достижении поршнями 21 крайнего положения (на чертеже левого) герконы
31 замыкаются, а герконы 33 размыкаются. Сигнал герконов 31 подается на блок
управления 35. Блок управления 35 выключает питание обмоток электромагнитов 36
и гидрораспределители переключения 18, 19, 20 переводятся во вторую позицию под
действием своих пружин. Жидкость поступает в торцевые управляющие полости 44
гидрораспределителей управления 12, 13, 14, а торцевые управляющие полости 43
соединяются со сливом в бак 5. Плунжеры 37 возвращаются в первую позицию (на
чертеже верхнюю).
При разном давлении в напорных магистралях потребителей поршни
перемещаются не одновременно. Блок управления 35 не поменяет режим питания
обмоток электромагнитов 36, пока все поршни не займут в гидроцилиндрах дозирования
9, 10, 11 крайнее однозначное положение.
При необходимости деления на потоки с разными расходами, и суммирования
потоков с разными расходами изменяются хода поршней гидроцилиндров дозирования.
Так, для создания режима с минимальным расходом рабочей жидкости в контуре
потребителя в блоке управления 35 включается режим, при котором активизируются
герконы 32, 33, а геркон 31 выключается. Для создания режима со средним
расходом рабочей жидкости в контуре потребителя в блоке управления 35 включается
режим, при котором активизируются герконы 31, 32, а геркон 33 выключается.
Также, для создания режимов работы модульной дозирующей системы с
различными расходами рабочей жидкости по контурам потребителей возможно
изменение частоты включения электромагнитов 36 различных модулей 1, 2, 3. Так,
для увеличения расхода жидкости по контуру потребителя блок управления 35
задает режим, при котором гидрораспределитель переключения данного модуля
работает в штатном режиме, а количество циклов остальных гидрораспределителей
переключения уменьшается в соответствии с необходимым алгоритмом.
Модульная дозирующая система обеспечивает режим работы, при котором часть
модулей работает в режиме закачки рабочей жидкости в напорные магистрали
потребителей, а часть - в режиме слива жидкости из контуров потребителей.
Например, для работы модулей 1, 3 в режиме «Деления потока», а модуля 2 -
в режиме слива, переключатели режима 15, 17 переводятся в первую позицию, а
переключатель режима 16 - во вторую.
В модулях 1, 3 жидкость подается через каналы 41, 38 гидрораспределителей
управления 12, 14 в торцевые рабочие полости 24, 28 гидроцилиндров дозирования
9, 11, а из полостей 23, 27 через каналы 39, 42 - в напорные магистрали
потребителей 6, 8.
Одновременно, рабочая жидкость из напорной магистрали потребителя 7 через
каналы 42, 39 гидрораспределителя управления 13 поступает в торцевую рабочую
полость 25 гидроцилиндра дозирования 10, и сливается из полости 26 через каналы
38, 41, переключатель режима 16 в бак 5.
Далее, при достижении поршнями крайних позиций блок управления 35
переключает позиции гидрораспределителей переключения 18, 19, 20 и цикл работы
продолжается.
Рассмотренные модульные дозирующие системы и алгоритмы их работы
обеспечивают ступенчатое регулирование расхода рабочей жидкости по контурам
потребителей в процессе работы без переналадки системы.
Предлагаемые модульные дозирующие системы позволяют реализовать
многомоторный гидравлический привод ходового и рабочего оборудования мобильных
строительных, дорожных машин. Такое построение модульных дозирующих систем
обеспечивает:
·
независимость
работы контуров потребителей при дискретно-синхронном расходе рабочей жидкости
по напорным магистралям потребителей;
·
возможность
модульного изменения числа контуров потребителей в соответствии с потребностями
реализуемого гидропривода;
·
возможность
дискретно синхронной подачи рабочей жидкости в напорные магистрали ряда
контуров потребителей модульной дозирующей системы, и одновременного слива
рабочей жидкости из напорных магистралей остальных потребителей, а также
возможность выключения контуров потребителей;
·
возможность
ступенчатого регулирования расхода рабочей жидкости между контурами
потребителей.
2.3.2 Многопоточные
гидропередачи
В рамках реализации второго направления применяемые гидромашины могут
быть модернизированы.
Аксиально-поршневая гидромашина (рис. 20) включает установленные в
подшипниковых узлах 1, 2 в корпусе гидромашины 3 приводной вал 4, и связанный с
ним посредством шлицевого соединения 5 блок цилиндров 6. Поршни 7, образуют
рабочие полости 8. Блок цилиндров 6 пружиной 9 и давлением рабочей жидкости
прижат к самоустанавливающемуся опорно-распределительному диску 10.
Двухпоточная аксиально-поршневая гидромашина имеет две группы
полукольцевых пазов: 11, 12 и 13, 14. Полукольцевые пазы каждой группы
находятся на одной осевой линии. Радиусы относительно оси гидромашины осевых
линий обоих групп полукольцевых пазов различные. Рабочие полости 8 рядом
расположенных цилиндров связаны с полукольцевыми пазами 11, 12 и 13, 14 разных
групп посредством каналов 15, 16, образованных в блоке цилиндров 6 на различных
радиусах относительно оси гидромашины. Каждый из полукольцевых пазов 11, 12,
13, 14 связан с соответствующим каналом 17, 18, 19, 20 крышки 21 корпуса 3
подвода и отвода рабочей жидкости в рабочие полости 8 гидромашины.
Поршни 7 прижимаются к поверхности установленного наклонно диска 22 с
помощью бронзовых башмаков 23, завальцованных на их сферических головках,
прижимного диска 24, сферической втулки 25 и пружины 9.
При работе аксиально-поршневой гидромашины в режиме насоса с двумя
потоками рабочей жидкости вал 4 вращается от двигателя (не показан), и приводит
во вращение блок цилиндров 6 посредством шлицевого соединения 5. Поршни 7
совершают возвратно-поступательное движение в блоке цилиндров 6.
При выдвижении поршней 7 из блока цилиндров 6 объем рабочих полостей 8
увеличивается. При вращении вала 4 насоса по часовой стрелке полукольцевые пазы
11, 13 через каналы 17, 19 сообщаются с всасывающей линией гидросистемы.
Рабочая жидкость из полукольцевых пазов 11, 13 через каналы 15, 16 поступает в
рабочие полости 8 блока цилиндров 6.
При движении поршней 7 внутрь блока цилиндров 6 объем рабочих полостей 8
уменьшается, и рабочая жидкость через каналы 15, 16 поступает в полукольцевые
пазы 12, 14, и далее, через каналы 18, 20 в напорные магистрали потребителей.
Различие нагрузок в контурах потребителей аксиально-поршневого насоса не
оказывает влияния на параметры расхода рабочей жидкости по контурам
потребителей.
Рис. 20. Двухконтурная гидромашина с модернизированным
опорно-распределительным диском
При использовании аксиально-поршневого насоса в контуре одного
потребителя оба канала 18, 20 соединяются с напорной магистралью данного
потребителя.
При внедрении таких гидромашин отпадает необходимость в применении двух,
и более насосов и редуктора привода. Это позволит создавать трехагрегатные и
более гидрообъемные передачи в рамках существующих схем аксиально-поршневых
гидромашин.
Потенциальные возможности данной конструктивной схемы по увеличению числа
контуров ограничены. Это объясняется тем, что увеличение числа групп
полукольцевых пазов повлечет за собой увеличение габаритов
опорно-распределительного диска, сложности уплотнения полукольцевых пазов.
На базе гидромашины предложенной конструктивной схемы может быть создана
гидропередача (рис. 21), модернизирующая известную гидропередачу ГСТ-90 [1].
Объемная гидропередача включает аксиально-поршневой регулируемый
гидронасос 1, аксиально-поршневые нерегулируемые гидромоторы 2, 3.
Аксиально-поршневой регулируемый гидронасос 1 включает установленный в
подшипниках 4, 5 в корпусе 6 насоса приводной вал 7, и связанный с ним
посредством шлицевого соединения блок цилиндров 8. Поршни 9 образуют рабочие
полости 10. На торцевой поверхности блока цилиндров 8 укреплен антифрикционный
диск 11. Блок цилиндров 8 пружиной 12 и давлением рабочей жидкости прижат к
опорно-распределительному диску 13.
На опорно-распределительном диске 13 образованы две группы полукольцевых
пазов 14, 15 и 16. 17. Полукольцевые пазы каждой группы находятся на одной
осевой линии. Радиусы относительно оси насоса осевых линий обоих групп
полукольцевых пазов 14, 15 и 16, 17 различные. Рабочие полости 10 рядом
расположенных цилиндров связаны с полукольцевыми пазами 14, 15 и 16, 17
посредством каналов 18, 19, образованных в блоке цилиндров 8 и диске 11 на
различных радиусах относительно оси насоса. Каждый из полукольцевых пазов 14,
15 и 16, 17 связан с соответствующим каналом 20, 21, 22, 23 крышки 24 корпуса 6
насоса.
Рис. 21. Двухпоточная гидропередача на базе гидропередачи ГСТ-90
Изменение производительности насоса осуществляется изменением угла
наклона шайбы 25 с диском 26, к которому прижимаются поршни 9 с помощью
бронзовых башмаков, завальцованных на их сферических головках, прижимного диска
27, сферической втулки 28 и пружины 12.
Изменение угла наклона шайбы 25 и фиксирование ее в необходимом положении
достигается посредством гидроцилиндров 29, 30 с поршнями 31, 32, образующими
рабочие полости 33, 34. Поршни 31, 32 подпружинены посредством пружин 35 со
стороны полостей 33, 34 и связаны тягами 36 с наклонной шайбой 25. Полости 33,
34 связаны с баком 37 гидросистемы, насосом подпитки 38 через
четырехпозиционный гидрораспределитель управления 39. Насос подпитки 38 имеет
механический привод от вала 7 насоса.
Каждый из аксиально-поршневых нерегулируемых гидромоторов 2, 3 включает
установленный в подшипниках приводной вал 40, и связанный с ним посредством
шлицевого соединения блок цилиндров 41. Поршни 42 образуют рабочие полости 43.
На торцевой поверхности блока цилиндров 41 укреплен антифрикционный диск. Блок
цилиндров 41 пружиной и давлением рабочей жидкости прижат к
опорно-распределительному диску 44, 45 у гидромоторов 2, 3. На
опорно-распределительном диске 44, 45 образованы полукольцевые пазы 46, 47 и
48, 49. Рабочие полости 43 связаны с полукольцевыми пазами 46, 47, 48, 49
посредством каналов 50, 51. Каждый из полукольцевых пазов 46, 47 и 48, 49
связан с соответствующим каналом 52, 53 и 54, 55 крышки корпуса гидромотора 2,
3.
Поршни 42 прижимаются с помощью бронзовых башмаков, завальцованных на их
сферических головках, к диску 56, закрепленному на наклонной шайбе 57.
Каналы 20, 21 и 22, 23 насоса 1 связаны соответственно с каналами 54, 55
и 52, 53 гидромоторов 2, 3.
Каналы 54, 55 и 52, 53 связаны через гидролинии с обратными клапанами 58,
59 с напорной магистралью насоса подпитки 38.
В напорной магистрали насоса подпитки 38 установлен напорный клапан 60. В
гидромоторы 2, 3 вмонтированы напорные клапаны 61, 62. В гидромоторы 2, 3
вмонтированы также гидравлически управляемые распределители 63 с напорными
клапанами 64.
Корпуса насоса 1 и гидромоторов 2, 3 связаны дренажными каналами с баком
37 гидросистемы.
Вал 7 насоса 1 вращается от двигателя (не показан), и приводит во
вращение насос подпитки 38. Рабочая жидкость из бака 37 подается к
гидрораспределителю 39, и через обратные клапаны 56, 57 к каналам 52, 53, 54,
55 гидромоторов 2, 3, и 20, 21, 22, 23 насоса 1.
При переводе гидрораспределителя 39 в четвертую позицию рабочие полости
33, 34 гидроцилиндров 29, 30 соединяются со сливом в бак 37, и поршни 31, 32
под действием пружин 35 одинаковой жесткости занимают исходное положение, при
котором шайба 25 насоса 1 устанавливается посредством тяг 36 перпендикулярно
продольной оси насоса. Поршни 9 не совершают возвратно-поступательного
движения, объемы рабочих полостей 10 остаются неизменными. Насос 1 не подает
рабочую жидкость в магистрали гидромоторов 2, 3. Жидкость, подаваемая насосом
подпитки 38 в напорную магистраль, сливается через напорный клапан 58 в бак 37
гидросистемы.
При переводе гидрораспределителя 39 в первую позицию жидкость от насоса
подпитки 38 поступает в рабочую полость 33 гидроцилиндра 29. Рабочая полость 34
гидроцилиндра 30 соединяется со сливом в бак 37. Поршни 31, 32 перемещаются,
шайба 25 посредством тяг 36 занимает положение, при котором ее продольная ось
смещается относительно оси насоса 1. Поршни 9 совершают
возвратно-поступательное движение в блоке цилиндров 8. При достижении шайбой 25
необходимого положения гидрораспределитель 39 переводится во вторую позицию,
фиксируя заданное положение поршней 31, 32.
При выдвижении поршней 9 из блока цилиндров 8 объем рабочих полостей 10
увеличивается. Рабочая жидкость из полукольцевых пазов 15, 17 через каналы 18,
19 поступает в рабочие полости 10.
При движении поршней 9 внутрь блока цилиндров 8 объем рабочих полостей 10
уменьшается и жидкость через полукольцевые пазы 14, 16, каналы 20, 22, 54, 52,
полукольцевые пазы 48, 46, каналы 51, 50 поступает в рабочие полости 43
гидромоторов 3, 2. Поршни 42 перемещаются в блоке цилиндров 41, и,
взаимодействуя своими бронзовыми башмаками с дисками 56, закрепленными на
наклонных шайбах 57, приводят во вращение блоки цилиндров 41, и соответственно
валы 40 гидромоторов 3, 2. Изменение частоты вращения валов 40 достигается
посредством изменения угла наклона шайбы 25.
Для изменения направления вращения валов 40 гидромоторов 2, 3
гидрораспределитель 39 переводится в третью позицию. Жидкость поступает в
полость 34 и сливается из полостей 33 в бак 37.
При достижении шайбой 25 необходимого положения гидрораспределитель 39
переводится во вторую позицию, фиксируя заданное положение поршней 31, 32.
При выдвижении поршней 9 из блока цилиндров 8 рабочая жидкость из каналов
52, 54 через каналы 20, 22, полукольцевые пазы 14, 16 поступает в рабочие
полости 10.
При движении поршней 9 внутрь блока цилиндров 8 жидкость через
полукольцевые пазы 15, 17, каналы 21, 23, 55, 53, полукольцевые пазы 49, 47,
каналы 51, 50 поступает в рабочие полости 43 гидроцилиндров 3, 2. Поршни 42
перемещаются в блоке цилиндров 41, и, взаимодействуя своими бронзовыми
башмаками с дисками 56, закрепленными на наклонных шайбах 57, приводят во
вращение блоки цилиндров 41, и валы 40 гидромоторов 3, 2. При этом валы 40
вращаются в обратную сторону.
Насос подпитки 38 компенсирует утечки рабочей жидкости через неплотности
сопряжений. Напорные клапаны 59, 60 ограничивают давление рабочей жидкости в
напорных магистралях. Гидрораспределители 61 и напорные клапаны 62 ограничивают
давление рабочей жидкости в сливных магистралях гидромторов 2, 3.
Мощность, снимаемая с валов 40 гидромоторов 2, 3 расходуется на привод
рабочих органов потребителей. Различие нагшрузок на валах 40 гидромоторов 2, 3
не оказывает влияния на параметры расхода рабочей жидкости по напорным
магистралям гидромоторов. Объемная гидропередача обеспечивает синхронное
вращение валов 40 гидромоторов 2, 3.
Для реализации многопоточной гидромашины более перспективной может оказаться
конструктивная схема (рис. 22), позволяющая обеспечить число потоков, равное
числу цилиндров гидромашины.
Аксиально-поршневая гидромашина включает установленный в подшипниках 1, 2
в корпусе 3 гидромашины приводной вал 4, блок цилиндров 5. Поршни 6 образуют
рабочие полости 7.
Распределительное устройство выполнено в виде одного на каждый цилиндр
двухпозиционного гидрораспределителя с золотником 8, взамодействующим с
кулачком 9, установленным на валу 4. Профиль кулачка 9 обеспечивает золотнику 8
две позиции. Золотник 8 подпружинен посредством пружины 10, фиксирующей первую
позицию золотника 8.
При уменьшении объема рабочей полости 7 золотник 8 находится в первой
позиции, соединяя рабочую полость 7 посредством канала 11, кольцевой канавки
золотника 8 с отводящим каналом 12. Подводящий канал 13 заперт в первой позиции
кулачком золотника 8. При увеличении объема рабочей полости 7 золотник 8
перемещается во вторую позицию, соединяя рабочую полость 7 посредством канала
11, кольцевой канавки золотника 8 с подводящим каналом 13. Отводящий канал 12
заперт кулачком золотника 8. Подводящие каналы 13 всех цилиндров могут быть
объединены, например, посредством кольцевой канавки 14 крышки корпуса 3
гидромашины. Отводящие каналы 12 могут быть сгруппированы любым образом в
зависимости от числа контуров потребителей.
Рис. 22. Многопоточная гидромашина с неподвижным блоком цилиндров и
вращающейся шайбой
Поршни 6 прижимаются к поверхности диска 15, закрепленного наклонно на
приводном валу 4, с помощью бронзовых башмаков 16, завальцованных на их
сферических головках, прижимного диска 17, сферической втулки 18 и пружины 19.
При работе аксиально-поршневой гидромашины в режиме насоса с шестью (по
числу цилиндров), или любым другим числом потоков рабочей жидкости (при
соответствующем группировании отводящих каналов 12), вал 4 вращается от
двигателя (не показан), и приводит во вращение наклонный диск 15. Наклонный
диск 15 приводит в движение с помощью прижимного диска 17, сферической втулки 18,
пружины 19, бронзовых башмаков 16, поршни 6, совершающие
возвратно-поступательное движение в блоке цилиндров 5.
При выдвижении поршней 6 из блока цилиндров 5 объем рабочих полостей 7
увеличивается. Одновременно кулачок 9, ориентированный соответствующим образом
относительно диска 15, переводит золотники 8 во вторую позицию, деформируя
пружины 10. Рабочая жидкость из бака гидросистемы через кольцевую канавку 14,
подводящие каналы 13, кольцевые канавки золотников 8, каналы 11 поступает в
рабочие полости 7.
При движении поршней 6 внутрь блока цилиндров 5 объем рабочих полостей 7
уменьшается. Одновременно кулачок 9 освобождает золотники 8, и пружины 10
возвращают их в первую позицию. Рабочая жидкость из полостей 7 через каналы 11,
кольцевые канавки золотников 8, отводящие каналы 12 поступает в напорные
магистрали потребителей.
Различие нагрузок в контурах потребителей аксиально-поршневого насоса не
оказывает влияния на параметры расхода рабочей жидкости по контурам
потребителей.
Аксиально-поршневая гидромашина позволяет обеспечить при шести цилиндрах
число контуров потребителей от одного до шести, объединяя отводящие каналы
необходимым образом для получения заданных характеристик расхода по напорным
магистралям потребителей. Предлагаемая схема аксиально-поршневой гидромашины
позволяет реализовать компоновочные решения с различным числом и диаметрами
цилиндров.
На базе гидромашин предлагаемой конструктивной схемы может быть создана
двухконтурная гидропередача (рис. 23).
Рис. 23. Двухпоточная гидропередача на базе гидромашин с неподвижным
блоком цилиндров и вращающейся шайбой
Объемная гидропередача включает аксиально-поршневой регулируемый насос 1,
аксиально-поршневые нерегулируемые гидромоторы 2, 3.
Аксиально-поршневой регулируемый насос 1 включает установленный в
подшипниках в корпусе гидромашины ведущий вал 4, блок цилиндров 5. Поршни 6
образуют рабочие полости 7.
Распределительное устройство выполнено в виде одного на каждый цилиндр
двухпозиционного гидрораспределителя с золотником 8, взаимодействующим с
кулачком 9, установленным на валу 4. Профиль кулачка 9 обеспечивает золотнику 8
две позиции. Золотник 8 подпружинен посредством пружины 10, фиксирующей первую
позицию золотника 8.
В первой позиции золотника 8 рабочая полость 7 соединяется посредством
канала 11, кольцевой канавки золотника 8 с каналом 12. Канал 13 заперт кулачком
золотника 8. Во второй позиции золотника 8 рабочая полость 7 соединяется
посредством канала 11, кольцевой канавки золотника 8 с каналом 13. Канал 12
заперт кулачком золотника 8. Каналы 12 и 13 сгруппированы в четыре группы, по
две группы каналов 12 и 13. Каналы двух, рядом расположенных цилиндров,
объединяются в различные группы посредством кольцевых канавок, выполненных на
крышке корпуса 14 распределительного устройства.
Поршни 6 прижимаются к поверхности шайбы 15 с помощью бронзовых башмаков
16, завальцованных на их сферических головках, прижимного диска 17, сферической
втулки 18 и пружины 19.
Шайба 15 установлена на шарнирах блока 20 гидроцилиндров управления.
Плоскость шарниров увязана с плоскостью эксцентриситета кулачка 9 таким
образом, что при изменении направления движения поршня 6 каждого цилиндра
золотник 8 меняет позицию. Поршни 21, 22 гидроцилиндров управления образуют
рабочие полости 23, 24, и подпружинены со стороны полостей 23, 24 посредством
пружин 25. Шайба 15 соединена тягами 26 с поршнями 21, 22.
Блок 20 гидроцилиндров управления, установлен в подшипниках 27 корпуса
насоса, связан шлицевым соединением с ведущим валом 4, и взаимодействует
торцевой поверхностью с опорно-распределительным диском 28, установленным на
крышке корпуса гидромашины. На опорно-распределительном диске 28 образованы две
кольцевые канавки 29, 30, соединенные с каналами 31, 32 крышки корпуса
гидромашины.
Каналы 31, 32 связаны через гидрораспределитель управления 33 с напорной
магистралью насоса подпитки 34 и баком 35 гидросистемы. Насос подпитки 34 имеет
привод от вала 4 насоса 1.
Каждый из аксиально-поршневых нерегулируемых гидромоторов 2, 3 включает
установленный в подшипниках в корпусе гидромотора вал 36, блок цилиндров 37.
Поршни 38 образуют рабочие полости 39.
Распределительное устройство выполнено в виде одного на каждый цилиндр
двухпозиционного гидрораспределителя с золотником 40, взамодействующим с кулачком
41, установленным на валу 36. Профиль кулачка 41 обеспечивает золотнику 40 две
позиции. Золотник 40 подпружинен посредством пружины 42.
Поршни 38 прижимаются к поверхности шайбы 43, закрепленной наклонно на
валу 36, с помощью бронзовых башмаков 44, завальцованных на их сферических
головках, прижимного диска 45, сферической втулки 46 и пружины 47. В первой
позиции золотника 40 рабочая полость 39 соединяется посредством канала 48,
кольцевой канавки золотника 40 с каналом 49. Канал 50 заперт кулачком золотника
40. Во второй позиции золотника 40 рабочая полость 39 соединяется посредством
канала 48, кольцевой канавки золотника 40 с каналом 50. Канал 49 заперт
кулачком золотника 40. Каналы 49 и 50 сгруппированы в четыре группы, по две
группы каналов 49 и 50. Каналы двух, рядом расположенных цилиндров,
объединяются в различные группы посредством кольцевых канавок, выполненных на
крышке корпуса 51 распределительного устройства.
Каждая группа каналов 12 и 13 насоса 1 соединена через гидролинии с
обратными клапанами 52, 53 с напорной магистралью насоса подпитки 34, и через
гидрораспределитель переключения 54, 55 - с двумя группами каналов 49 и 50
гидромотора 2, 3, соединенных параллельно и последовательно в первой и второй
позициях гидрораспределителя переключения 54, 55.
В напорной магистрали насоса подпитки 34 установлен напорный клапан 56. В
гидромагистралях гидромоторов 2, 3 установлены напорные клапаны 57, 58.
Установлены также гидравлически управляемые распределители 59 с напорными
клапанами 60.
Корпуса насоса 1 и гидромоторов 2, 3 связаны дренажными каналами с баком
35 гидросистемы.
Вал 4 насоса 1 вращается от двигателя (не показан), и приводит во
вращение насос подпитки 34.
Рабочая жидкость из бака 35 подается к гидрораспределителю 33, и через
обратные клапаны 52, 53 к каналам 12, 13 насоса 1, и через гидрораспределители
переключения 54, 55 к каналам 49, 50 гидромоторов 2, 3.
При переводе гидрораспределителя 33 в четвертую позицию рабочие полости
23, 24 гидроцилиндров управления блока цилиндров 20 соединяются со сливом в бак
35, и поршни 21, 22 под действием пружин 25 одинаковой жесткости занимают
исходное положение, при котором шайба 15 насоса 1 устанавливается посредством
тяг 26 перпендикулярно продольной оси насоса 1. Поршни 6 не совершают
возвратно-поступательного движения, объемы рабочих полостей 7 остаются
неизменными. Насос 1 не подает рабочую жидкость в магистрали гидромоторов 2, 3.
Жидкость, подаваемая насосом подпитки 34 в напорную магистраль, сливается через
напорный клапан 56 в бак 35 гидросистемы.
При переводе гидрораспределителя 33 в первую позицию жидкость от насоса
подпитки 34 через канал 32, кольцевую канавку 30 поступает в рабочую полость 24
блока гидроцилиндров 20. Рабочая полость 23 через кольцевую канавку 29, канал
31 соединяется со сливом в бак 35. Поршни 21, 22 перемещаются, шайба 15
посредством тяг 26 занимает положение, при котором ее продольная ось смещается
относительно оси насоса 1. Поршни 6 совершают возвратно-поступательное движение
в блоке цилиндров 5. При достижении шайбой 15 необходимого положения
гидрораспределитель 33 переводится во вторую позицию, фиксируя заданное
положение поршней 21, 22.
При выдвижении поршней 6 из блока цилиндров 5 объем рабочих полостей 7
увеличивается. Кулачок 9, ориентированный соответствующим образом относительно
шайбы 15, переводит золотники 8 во вторую позицию, деформируя пружины 10.
Рабочая жидкость насоса подпитки 34 через обратные клапаны 53, каналы 12,
кольцевые канавки золотников 8, каналы 11 поступает в рабочие полости 7.
Поскольку каналы 12, объединенные в две группы, расположены по окружности блока
цилиндров 5, часть из них будет заперта при данном положении шайбы 15.
При движении поршней 6 внутрь блока цилиндров 5 объем рабочих полостей 7
уменьшается. Кулачок 9 освобождает золотники 8, и пружины 10 возвращают их в
первую позицию. Рабочая жидкость из полостей 7 через каналы 11, кольцевые
канавки золотников 8, каналы 13 поступает к гидрораспределителям переключения
54, 55. Так как каналы 13, объединенные в две группы, расположены по окружности
блока цилиндров 5, часть из них будет заперта при данном положении шайбы 15.
При данном положении шайбы 15 каналы 13 являются напорными, а каналы 12 -
всасывающими.
При первой позиции гидрораспределителей переключения 54, 55 рабочая
жидкость из каналов 13 поступает через каналы 50 групп, кольцевые канавки
золотников 40, каналы 48 в рабочие полости 39 гидромоторов 2, 3. Поршни 38
перемещаются в блоках цилиндров 37, и, взаимодействуя своими бронзовыми
башмаками 44 с антифрикционными дисками, закрепленными на наклонных шайбах 43,
приводят во вращение шайбы 43, и валы 36 гидромоторов 2, 3. Одновременно
рабочая жидкость сливается из полостей 39, и через каналы 48, 49
гидрораспределители переключения 54, 55, каналы 12, кольцевые канавки
золотников 10, каналы 11 поступает в рабочие полости 7 насоса 1.
Изменение частоты вращения валов 36 достигается посредством изменения
угла наклона шайбы 15.
При параллельном соединении групп каналов 49, 50 гидромоторов 2, 3 в
первой позиции распределителей переключения 54, 55 рабочая жидкость из полостей
7 насоса 1 поступает одновременно в рабочие полости 39 двух групп. При таком
соединении полостей частота вращения валов 36 пониженная при высоких значениях
моментов.
При последовательном соединении групп каналов 49, 50 гидромоторов 2, 3 во
второй позиции распределителей переключения 54, 55 рабочая жидкость из полостей
7 насоса 1 поступает последовательно в рабочие полости 39 одной, и затем второй
группы. При таком соединении полостей частота вращения валов 36 повышенная при
малых значениях моментов.
Различие нагрузок на валах 36 гидромоторов 2, 3 не оказывает влияния на
параметры расхода рабочей жидкости по магистралям гидромоторов 2, 3.
Объемная гидропередача обеспечивает расширение диапазона изменение
частоты вращения валов 36 гидромоторов 2, 3. Объемная гидропередача
обеспечивает также разность частот вращения валов 36 гидромоторов 2, 3 при
включении различных позиций гидрораспределителей 54, 55.
Для изменения направления вращения валов 36 гидромоторов 2, 3
гидрораспределитель 33 переводится в третью позицию. Жидкость поступает через
канал 31, кольцевую канавку 29 в полость 23 и сливается из полости 24 в бак 35.
При достижении шайбой 15 необходимого положения гидрораспределитель 33
переводится во вторую позицию, фиксируя заданное положение поршней 21, 22.
При выдвижении поршней 6 из блока цилиндров 5 насоса 1 объем рабочих
полостей 7 увеличивается.
Рабочая жидкость из полостей 39 гидромоторов 2, 3 через
гидрораспределители переключения 54, 55, и насоса подпитки 34 через обратные клапаны
52, каналы 13, кольцевые канавки золотников 8, каналы 11 поступает в рабочие
полости 7 насоса 1.
При движении поршней 6 внутрь блока цилиндров 5 объем рабочих полостей 7
уменьшается и рабочая жидкость из полостей 7 через каналы 11, кольцевые канавки
золотников 8, каналы 12 поступает к гидрораспределителям переключения 54, 55.
При данном положении шайбы 15 каналы 12 являются напорными, а каналы 13 -
всасывающими.
Рабочая жидкость из каналов 12 поступает через каналы 49 групп, кольцевые
канавки золотников 40, каналы 48 в рабочие полости 39 гидромоторов 2, 3. Поршни
38 перемещаются в блоках цилиндров 37, и, взаимодействуя своими бронзовыми
башмаками 44 с антифрикционными дисками, закрепленными на наклонных шайбах 43,
приводят во вращение шайбы 43, и валы 36 гидромоторов 2, 3. Одновременно
рабочая жидкость сливается из полостей 39, и через каналы 48, 50,
гидрораспределители переключения 54, 55, каналы 13, кольцевые канавки
золотников 10, каналы 11 поступает в рабочие полости 7 насоса 1.
Изменение частоты вращения валов 36 достигается посредством изменения
угла наклона шайбы 15.
При первой позиции распределителей переключения 54, 55 частота вращения
валов 36 пониженная при высоких значениях моментов.
При второй позиции распределителей переключения 54, 55 частота вращения
валов 36 повышенная при малых значениях моментов.
Различие нагрузок на валах 36 гидромоторов 2, 3 не оказывает влияния на
параметры расхода рабочей жидкости по магистралям гидромоторов.
Насос подпитки 34 компенсирует утечки рабочей жидкости. Напорные клапаны
57, 58 ограничивают давление рабочей жидкости в напорных магистралях
гидромторов 2, 3. Гидрораспределители 59 и напорные клапаны 60 ограничивают
давление рабочей жидкости в сливных магистралях гидромторов 2, 3.
Мощность, снимаемая с валов 36 гидромоторов 2, 3 расходуется на привод
рабочих органов потребителей. Различие нагрузок на валах 36 гидромоторов 2, 3
не оказывает влияния на параметры расхода рабочей жидкости по напорным
магистралям гидромоторов 2, 3.
Объемная гидропередача обеспечивает синхронное вращение валов 36
гидромоторов 2, 3, а также вращение валов с заданным соотношением частот
вращения.
Объемная гидропередача обеспечивает передачу мощности на привод рабочих
органов двух потребителей, вращение валов с заданным соотношением частот
вращения, расширение диапазона регулирования частоты вращения валов
гидромоторов.
2.3.3 Гидрообъемные
трансмиссии самоходных машин
Рассмотрим некоторые варианты применения многоконтурных гидравлических
передач в трансмиссиях самоходных машин.
Основной задачей, решаемой при применении многоконтурных гидропередач,
является блокирование дифференциальной связи ведущих колес самоходной машины,
что приводит к улучшению показателей устойчивости прямолинейного движения,
тягово-сцепных свойств машины. Одновременно, гидрообъемная трансмиссия должна
содержать агрегаты, обеспечивающие возможность маневрирования машины, изменения
направления движения.
На рис. 24 представлена схема гидрообъемной трансмиссии, реализованной с
применением модульной дозирующей системы (см. рис. 17).
Рис. 24. Гидрообъемная трансмиссия с двухконтурной одноагрегатной
дозирующей системой
Гидрообъемная трансмиссия самоходной машины включает насос 1 с
регулируемой производительностью и постоянным направлением потока с баком 2,
делитель потока 3 объемного типа, пятипозиционный гидрораспределитель поворота
4, двухпозиционный гидрораспределитель реверса 5, нерегулируемые гидромоторы 6,
7 с реверсируемым потоком, вал каждого из которых кинематически связан с
колесом 8, 9 борта.
Делитель потока 3 состоит из гидроцилиндра дозирования 10 и
двухпозиционного гидрораспределителя управления 11. Эти гидравлические агрегаты
оснащены плунжерами 12, 13, каждый из которых имеет по три кулачка: центральный
14 и периферийные 15, 16. Эти кулачки образуют в корпусах четыре полости -
внутренние 17, 18 и торцевые 19, 20. На образующих поверхностях корпусов
гидроцилиндра дозирования 10 и двухпозиционного гидрораспределителя управления
11 образованы каналы для подвода и отвода жидкости: 21, 22 с одной стороны и
23, 24, 25 с другой.
Каналы 23, 25 двухпозиционного гидрораспределителя управления 11 связаны
с гидравлическими полостями 26, 27 гидропневматических аккумуляторов 28, 29 и
через гидрораспределители поворота 4, реверса 5 с гидромоторами 6, 7.
При подготовке машины к работе пневматические полости гидропневматических
аккумуляторов 28, 29 заряжаются газом до расчетного давления.
При движении машины насос 1 подает рабочую жидкость к делителю потока 3.
Жидкость от насоса 1 поступает через каналы 24 гидрораспределителя управления
11 в полость 17 этого гидрораспределителя, и далее через канал 21 в полость 19
гидроцилиндра дозирования 10. Плунжер 12 сдвигается (на чертеже вправо) до
упора. Жидкость из полости 20 гидроцилиндра дозирования 10 через канал 22
двухпозиционного гидрораспределителя управления 11 поступает в полость 18, и
далее через канал 25 - в полость 27 гидропневматического аккумулятора 29, и
далее к гидрораспределителю поворота 4.
При прямолинейном движении прямым ходом гидрораспределитель поворота 4
находится в третьей позиции, а гидрораспределитель реверса 5 - в первой.
Жидкость малой порцией поступает к гидромотору 7. Поскольку в момент подачи
малой порции рабочей жидкости в напорную магистраль гидромотора 7 гидромотор 6
фактически остановлен, часть рабочей жидкости остается в полости 27
гидропневматического аккумулятора 29, поднимая давление в нем. Колесо 9
поворачивается на незначительный угол. Одновременно жидкость поступает через
канал 24 в полость 17 гидроцилиндра дозирования 10, и через канал 21 этого
гидроцилиндра в торцевую полость 20 двухпозиционного гидрораспределителя
управления 11. Плунжер 13 перемещается (на чертеже влево) вытесняя жидкость из
полости 19 через канал 22 в полость 18 гидроцилиндра дозирования 10 и далее
через канал 25 на слив в бак 2.
Далее жидкость от насоса 1 поступает через канал 24 двухпозиционного
гидрораспределителя управления 11 в полость 18, и далее через канал 22 в
полость 20 гидроцилиндра дозирования 10. Плунжер 12 перемещается и вытесняет
жидкость из полости 19 гидроцилиндра дозирования 10. Жидкость поступает через
канал 21 двухпозиционного гидрораспределителя управления 11 в полость 17, и
далее через канал 23 этого гидрораспределителя в полость 26
гидропневматического аккумулятора 28, и далее к гидрораспределителю поворота 4.
Жидкость через гидрораспределитель поворота 4 в третьей позиции, и
гидрораспределитель реверса в первой позиции поступает к гидромотору 6 и
проворачивает вал его с колесом 8 на некоторый малый угол. Часть рабочей
жидкости поступает из полости 27 гидропневматического аккумулятора 29 в
напорную магистраль гидромотора 7. Колесо 9 также проворачивается на некоторый
угол, меньший угла поворота колеса 8. Вследствие этого также часть рабочей
жидкости остается в полости 26 гидропневматического аккумулятора 28.
Одновременно жидкость через канал 24 гидроцилиндра дозирования 10 после
открытия его при прохождении кулачка 14 плунжера 12, поступает в полость 18, и
далее через канал 22 - в полость 19 двухпозиционного гидрораспределителя
управления 11. Плунжер 13 перемещается (на чертеже вправо) и занимает крайнее
положение, вытесняя жидкость из полости 20 через канал 21 гидроцилиндра
дозирования 10 в полость 17 этого гидроцилиндра, и далее через канал 23 на слив
в бак 2.
Гидромоторы 6, 7 получают из делителя потока 3 одинаковые объемы рабочей
жидкости, чем объясняется необходимая курсовая устойчивость самоходной машины
независимо от условий сцепления колес обоих бортов с опорной поверхностью.
Изменение скорости движения машины достигается посредством изменения
объема насоса 1.
Изменение направления движения обеспечивается переводом
гидрораспределителя реверса во вторую позицию, в результате чего реверсируются
гидромоторы 6, 7.
Гидрообъемная трансмиссия обеспечивает возможность маневрирования
самоходной машины посредством рассогласования скоростей движения колес 8, 9.
Гидрораспределитель поворота 4 обеспечивает два режима поворота: плавный и
резкий.
При плавном повороте гидрораспределитель поворота 4 переводится во вторую
либо четвертую позицию. Так, при положении гидрораспределителя 4 во второй
позиции полость 26 гидропневматического аккумулятора 28 и напорная магистраль
гидромотора 6 соединяются со сливом в бак 2. Колесо 8 движется в ведомом
режиме. Колесо 9 сохраняет ведущий режим, поскольку напорная магистраль
гидромотора 7 соединена с насосом 1 через делитель потока 3. Гидрообъемная
трансмиссия обеспечивает самоходной машине плавный поворот. Плавный поворот в
другую сторону обеспечивается при переводе распределителя 4 в четвертую
позицию.
Резкий поворот обеспечивается при первой и пятой позициях
гидрораспределителя поворота 4. При положении гидрораспределителя 4 в первой
позиции напорная магистраль напорная магистраль гидромотора 6 запирается,
колесо 8 затормаживается. Весь расход жидкости насоса 1 подается в напорную
магистраль гидромотора 7, обеспечивая удвоенную частоту вращения колеса 9.
Резкий поворот в другую сторону достигается переводом гидрораспределителя 4 в
пятую позицию. При этом гидромотор 7, и соответственно, колесо 9
затормаживаются, а гидромотор 6 и колесо 8 вращаются с удвоенной частотой
вращения.
Также существуют варианты исполнения гидрообъемных трансмиссий с
двухконтурными дозирующими системами различного конструктивного исполнения.
Модульные дозирующие системы позволяют реализовать алгоритмы изменения
скорости машины при использовании насоса постоянной производительности.
Возможна гидрообъемная трансмиссия, частота вращения гидромоторов привода колес
которой регулируется посредством изменения ходов плунжеров гидроцилиндров
дозирования, также предлагается применение многополостного гидроцилиндра
дозирования для изменения частоты вращения гидромоторов привода колес.
Наиболее рациональным может быть применение в гидрообъемной трансмиссии
двухпоточной гидропередачи с регулируемым аксиально-поршневым насосом и двумя
нерегулируемыми аксиально-поршневыми гидромоторами (см. рис. 21).
2.4 Выбор
типа гидромашин
2.4.1 1.
Насосы и быстроходные гидромоторы с наклонным блоком цилиндров
В ГОТ самоходных машин используют гидромашины различных конструкций.
Качество ГОТ в первую очередь зависит от правильного выбора типа гидромашин.
Прежде чем сделать вывод о целесообразности применения тех или иных типов
гидромашин, рассмотрим их конструктивные особенности и технические характеристики.
В настоящее время на самоходных машинах, как правило, используют
аксиально-поршневые насосы, которые совместно с понижающим редуктором применяют
и в качестве гидромоторов. Такие гидромашины допускают большое давление рабочей
жидкости, имеют высокий КПД, относительно небольшую массу и достаточный срок
службы.
Различают аксиально-поршневые гидромашины с наклонным блоком цилиндров и
с наклонным диском. В первых ось блока цилиндров находится под углом к оси
приводного вала, а во вторых она совпадает с осью приводного вала. В
гидромашинах с наклонным блоком цилиндров рабочий объем изменяется в результате
поворота блока цилиндров относительно оси вала, а в гидромашинах с наклонным
диском - в результате поворота наклонного диска относительно оси вала.
Гидромашины с наклонным блоком цилиндров, в свою очередь, разделяют на
гидромашины с несиловой карданной передачей и бескарданные.
На рис. 25 показана схема гидромашины с несиловой карданной передачей.
Она содержит блок цилиндров 4, в котором перемещаются поршни 6, соединенные
шатунами 5 с упорным диском 3, выполненным как одно целое с валом, укрепленным
в подшипниках качения 1 в корпусе гидромашины. Блок цилиндров размещен в
наклонной люльке 9, которая может поворачиваться в корпусе гидромашины 10.
Упорный диск соединен с блоком цилиндров при помощи вала 2, снабженного двумя
карданными шарнирами.
При работе гидромашины в режиме насоса и вращении блока цилиндров от
приводного вала поршни совершают возвратно-поступательное движение. Жидкость по
всасывающему каналу в люльке и имеющейся в ней сегментообразной выточке
подается к цилиндрам на всасывание. Через вторую сегментообразную выточку и
напорный канал жидкость поступает в гидролинию высокого давления. Торцевая
поверхность блока цилиндров и сопрягаемая с ней торцевая поверхность люльки с
сегментообразными выточками образуют распределитель. Блок цилиндров
относительно люльки центрируется осью 7 и прижимается к люльке при помощи
пружины 8
Рабочий
объем насоса и, следовательно, его подача изменяются в результате изменения
угла
поворота люльки. При повороте люльки на отрицательный
угол всасывающий канал становится напорным, а напорный всасывающим. Изменение
направления потока жидкости необходимо для реверсирования ОГП. Люлька
поворачивается при помощи гидроусилителя, не показанного на схеме.
Рис.25. Схема гидромашины с наклонным блоком цилиндров и несиловой
карданной передачей
В рассмотренной конструкции карданный вал оказывается разгруженным от
рабочего момента. Он передает лишь момент потерь на трение, возникающих при
вращении блока цилиндров. Рабочий крутящий момент с вала передается на упорный
диск и уравновешивается моментами, создаваемыми на определенных плечах силами
Р, действующими на упорный диск со стороны шатунов поршней. Силы Р действуют на
одну половину упорного диска, которая контактирует с шатунами поршней,
находящимися под давлением жидкости. Эти силы возникают в результате разложения
нормальных сил N на вертикальные Р и горизонтальные Т. Подшипники гидромашины
работают в тяжелых условиях: они воспринимают осевую нагрузку от сил Т,
радиальную нагрузку от тех же сил, создающих момент, стремящийся изогнуть вал
гидропередачи, и радиальную нагрузку от сил Р.
При подаче к гидромашине жидкости под давлением она работает в режиме
гидромотора. Силы Р, вызванные давлением жидкости на поршни, создают на упорном
диске крутящий момент, который передается к выходному валу. Гидромашины с
несиловой карданной передачей не нашли распространения в современных ГОТ
самоходных машин Исключение составляют гидромашины фирмы «Секмаер» (Франция),
предназначенные для ГОТ тепловозов, самосвалов сверхбольшой грузоподъемности и
других машин, снабженных мощными двигателями Установочная мощность выпускаемых
гидромашин достигает нескольких тысяч киловатт. Их отличительной особенностью
является работа при высоком номинальном давлении жидкости (55 МПа). При таких
значениях мощности и давления потери на трение, возникающие при вращении блока
цилиндров, значительны, и для их преодоления и синхронного с валом ведения
блока цилиндров применена несиловая карданная передача.
Обеспечение надежной работы гидромашины с высоким давлением потребовало
длительной их доводки и использования ряда новых конструктивных решений. В
гидромашинах фирмы «Секмаер» упорный диск, выполненный как одно целое с
приводным валом, установлен в корпусе гидромашины в сложном подшипниковом узле,
состоящем из двух сдвоенных роликовых, двух конических (воспринимающих осевые
силы) и одного шарикового подшипников. Карданный вал имеет два карданных
шарнира с игольчатыми подшипниками, смазываемыми под давлением. Блок цилиндров
изготовлен из стали с высоким пределом прочности. Он содержит 11 цилиндров,
обеспечивающих равномерную подачу жидкости, а следовательно, малую вибрацию и
малый шум.
При создании гидромашин, работающих при высоком давлении большое внимание
было уделено уменьшению потерь. Для снижения утечек в паре поршень-цилиндр
жесткие поршни были заменены на поршни с эластичной головкой из бронзы. При
рабочем ходе поршня головка под давлением масла деформируется и плотно
прижимается к стенкам цилиндра, а при холостом - принимает первоначальную
форму. В зазор между поршнем и цилиндром попадает небольшое количество масла
для смазывания. Утечки рассчитывают из условия обеспечения необходимого
количества смазочного материала.
Использование поршней с эластичной головкой привело к уменьшению и
механических потерь. При отсутствии эластичной головки возникают большие
утечки, образующие вокруг поршня масляный клин и затрудняющие его перемещение.
Таблица 2. Потери мощности (%) в гидромашинах
|
Потери
|
Гидромашина
|
|
Неусовершенствованная
|
усовершенствованная
|
|
На сухое трение
|
1,5
|
1,5
|
|
На утечки в зазорах и
гидравлическое трение
|
10
|
2,5
|
|
На сжатие жидкости
|
22
|
2
|
|
Гидравлические, вызывающие
уменьшение давления
|
1
|
1
|
|
На привод насоса подпитки
|
2,5
|
1
|
|
Общие потери
|
37
|
8
|
|
Полный КПД передачи при
изменении частоты вращения от 0,1 номинальной до номинальной
|
0,63
|
0,92
|
Путем выбора соответствующих геометрических форм каналов, по которым
проходит жидкость, удалось снизить вероятность возникновения кавитации и
уменьшить давление насоса подпитки, а следовательно, затрату мощности на его
привод.
Введено автоматическое запаздывание открытия отверстий распределителя.
Запаздывание продолжается до тех пор, пока давление в цилиндре не станет равным
давлению в распределителе. Это привело к тому, что рабочая жидкость из
распределителя не «врывается» со сверхзвуковой скоростью в цилиндр, что резко
снижает потери полезной мощности, нагрев жидкости и шум. В результате
использования автоматического запаздывания открытия отверстий распределителя
резко сократились потери на сжатие жидкости.
В табл.2 показано, какие потери и насколько удалось снизить в процессе
доводки, а какие нет. Представляет также большой интерес распределение потерь в
гидромашине данного типа.
Выпускают несколько типоразмеров насосов и гидромоторов, рассчитанных на
установочную мощность до 4400 кВт. Некоторые из них работают при давлении 65
МПа. В дальнейшем предполагается увеличить давление до 80 МПа. Срок службы
гидромашин составляет 20 000 ч. Основным препятствием для повышения давления
является не механическая прочность деталей агрегатов и не герметичность
соединений, а сжимаемость рабочей жидкости. Предполагается использовать
малосжимаемые жидкости.
В результате использования большого давления и высокой частоты вращения
удельная масса ОГП, состоящей из регулируемого насоса с рабочим объемом 275 см3
и нерегулируемого гидромотора при нагрузочном диапазоне изменения передаточного
числа около четырех равна 1,15 кг/кВт.
Ниже приведены параметры насосов «Секмаер» нескольких типоразмеров.
|
Рабочий объем, см3/об
|
275
|
800
|
1600
|
1000*
|
|
Номинальная частота
вращения, об/мин
|
2500
|
1800
|
1250
|
2200
|
|
Коэффициент быстроходности,
см/мин
|
16300
|
16800
|
14800
|
22000
|
|
Номинальная мощность, кВт
|
618
|
1294
|
1804
|
1977
|
|
Удельная масса, кг/кВт
|
-
|
0,38
|
-
|
0,35
|
* Специального назначения
Нерегулируемые гидромоторы того же рабочего объема, что и насосы, имеют
на 11 - 20% большую частоту вращения и на 45 % меньшую удельную массу.
Более широкое распространение нашли аксиально-поршневые гидромашины с
наклонным блоком цилиндров и шатунным ведением поршней без силовой карданной
передачи. Такие гидромашины серий 200 и 300 для строительных, дорожных и
коммунальных машин выпускает Московский машиностроительный завод имени М.И.
Калинина, Одесский завод «Стройгидравлика» и Свердловское производственное
объединение «Пневмостроймашина».
Допустимое давление жидкости гидромашин серий 200 и 300 зависит от
применяемого блока цилиндров. При бронзовом блоке номинальное давление
составляет 20 МПа (в ранних конструкциях 16 МПа), а максимальное - 25 МПа. Для
повышения максимального давления до 32 МПа применяют стальной блок с
вставленными в его цилиндры бронзовыми гильзами (втулками) и с приваренной со
стороны распределителя бронзовой пятой.
На рис.26 показана конструкция регулируемого насоса типа 207. В корпусе
насоса на трех подшипниках установлен приводной вал 1 и на двух подшипниках -
люлька -, которая может поворачиваться в обе стороны на 25°. К крышке 4 люльки,
имеющей две дугообразные прорези, примыкает неподвижный сферический
распределитель 5, также имеющий две дугообразные прорези. К распределителю при
помощи тарельчатых пружин 7, упирающихся в центральный шип 6, прижимается блок
цилиндров 5, имеющий семь поршней. В сферических гнездах упорного диска,
выполненного как одно целое с ведущим валом, укреплены головки шатунов поршней
и головка центрального шипа, прижимаемая к упорному диску штампованной
пластиной.
При вращении вала шатуны прилегают к юбкам поршней и, действуя на них,
приводят во вращение блок цилиндров. Юбки поршней выполнены длинными, а шатуны
снабжены точными конусными шейками. При расположенных под углом осях вала и
блока цилиндров поршни совершают возвратно-поступательное движение. Рабочая
жидкость по каналам в люльке поступает из всасывающей гидролинии в напорную.
С правой стороны насос закрыт кожухом (на рисунке не показан). Поворот
люльки для изменения рабочего объема насоса осуществляется при помощи укрепленной на ней цапфы,
соединенной с гидроусилителем или с регулятором мощности. Насосы типа 207
применяют в ГОТ экскаваторов ЭО-5122, ЭО-6122 и др.
Рис.26. Регулируемый насос с наклонным блоком цилиндров типа 207
На рис.27 показана конструкция нерегулируемой гидромашины типа 210,
которая может использоваться в качестве насоса и гидромотора.
Рис.27. Нерегулируемая гидромашина с наклонным блоком цилиндров типа 210
На рис.28 показана конструкция сдвоенного двухпоточного регулируемого
насоса типа 223. Он содержит два унифицированных с насосом типа 207 качающихся
узла, включающих в себя блок цилиндров 5, поворотную люльку 4 и другие детали,
установленные в одном корпусе 3 параллельно друг другу. Валы качающихся узлов
приводятся во вращение при помощи механического редуктора с центральной
шестерней 2, выполненной за одно целое с входным валом 1. Насосы выпускают с
редуктором, имеющим различное передаточное число, что позволяет при одной и той
же частоте вращения валов качающихся узлов получить различную частоту вращения
входного вала.
Насосы работают на самовсасывании. Поворот люлек качающихся узлов
осуществляет регулятор мощности. Насосы типа 223 используют в ГОТ ковшовых
экскаваторов ЭО-5115А, ЭО-4321, ЭО-3322А, Э0-4122 и др.
Рис.28. Сдвоенный регулируемый насос типа 223
Аналогичные гидромашинам типа 207 и типа 210 гидромашины типа A2V и типа
A2F выпускает фирма «Гидроматик». Они рассчитаны на несколько большее давление:
номинальное 32 МПа и максимальное 40 МПа. Угол наклона блока цилиндров
нерегулируемого гидромотора удалось здесь увеличить до 40°.
Специалистами Московского машиностроительного завода имени М.Л.Калинина
была предложена принципиально новая схема аксиально-поршневой гидромашины с
наклонным блоком цилиндров [А.с. № 568737 (СССР)], позднее получившая название
«Тримот». Выполненные по такой схеме регулируемый насос типа 313 и регулируемый
гидромотор типа 312 выпускает отечественная промышленность и соответственно
насос A7V и гидромотор A6V - фирма «Гидроматик». На рис.29 показана конструкция
гидромотора. Новым решением является отказ от применения поворотной люльки,
свойственной гидромашинам с наклонным блоком цилиндров. Изменение угла наклона
блока 1 цилиндров осуществляет гидроусилитель, перемещающий установленный в
проточке корпуса 3 распределитель 2. Конструкция гидроусилителя подробно
рассмотрена дальше. Распределитель со стороны, прилегающей к корпусу, имеет
цилиндрическую поверхность, ограниченную четырьмя гранями. Со стороны,
прилегающей к блоку цилиндров, распределитель имеет сферическую поверхность, по
которой центрируется блок цилиндров. Перемещение распределителя приводит к
перемещению блока цилиндров. Рабочая жидкость подводится и отводится через окна
и каналы, выполненные непосредственно в корпусе гидромотора. Максимальный угол
поворота блока цилиндров составляет 25о, минимальный 7°. Устранение
поворотной люльки позволило уменьшить массу гидромотора приблизительно на 40 %.
Рис.29. Регулируемый гидромотор с наклонным блоком цилиндров без
поворотной люльки
По схеме «Тримот» отечественная промышленность выпускает сдвоенные
регулируемые насосы типа 323 и строенные регулируемые насосы типа 333. Третий
качающийся узел строенного насоса имеет рабочий объем блока цилиндров
приблизительно в 3 раза меньший рабочего объема блока цилиндров двух других
качающихся узлов. На рис.30 показана конструкция сдвоенного насоса типа 323.
Приводной вал 1 выполнен торсионным, что обеспечивает прямое соединение насоса
с двигателем без промежуточной компенсирующей муфты, демпфирование пульсации
крутящего момента, снижение вибрационных нагрузок на подшипники, разгрузку
подшипников приводного вала от влияния несоосности присоединения валов.
Распределитель 3 перемещается при помощи регулятора мощности и поворачивает
блок цилиндров 2. Устройство регулятора мощности рассматривается дальше.
Наибольший угол наклона блока цилиндров 25°, наименьший угол несколько больше
нуля и выбран таким, чтобы ограничить давление рабочей жидкости заданной
максимальной величиной. Насосы типа 323 устанавливают на экскаватор ЭО-3323.
Насосы типа 323 по сравнению с насосами типа 223 имеют в 1,5-2 раза
больший срок службы. Срок службы качающихся узлов определяется сроком службы
подшипниковых опор. В насосах типа 323 применены усиленные подшипники и
уменьшено плечо их консольной нагрузки путем нарезания шестерни на фланце вала.
При среднем давлении рабочей жидкости за цикл копания 16 МПа, частоте вращения
качающихся узлов 1500 об/мин, тонкости фильтрации 25 мкм и оптимальной вязкости
рабочей жидкости 16...25 мм2/с срок службы насосов типа 323
составляет не менее 6000ч. В тех же условиях срок службы насосов типа 223 равен
4000 ч. При давлении 20 МПа их срок службы составляет соответственно 4000 и
2000 ч.
Рис.30. Сдвоенный насос типа 323
Наряду с регулируемыми гидромашинами серии 300 выпускают нерегулируемые
насосы типа 311 и нерегулируемые гидромоторы типа 310.
Гидромашины серий 200 и 300 выпускают как с чугунным корпусом, так и с
корпусом из высокопрочного алюминиевого сплава, что позволяет уменьшить массу
гидромашины приблизительно на 30 %.
идромашины серии 300 в основном имеют стальной с тонкими бронзовыми
гильзами блок цилиндров, рассчитанный на номинальное давление 20 МПа и
максимальное 32 МПа.
В дальнейшем предполагается увеличить номинальное давление до 32 МПа и
максимальное до 40 МПа.
В табл.3 приведены основные параметры гидромашин серии 200 и 300
нескольких типоразмеров (первые три цифры определяют тип гидромашины, а две
следующие - диаметр поршней в мм).
Таблица 3. Основные параметры гидромашин серий 200 и 300
|
Типоразмер гидромашины
|
Рабочий объем, см3
|
Частота вращения, об/мин
|
Номинальная мощность, **
кВт
|
Масса, *** кг
|
|
|
номинальная
|
максимальная*
|
|
|
|
Серия 200
|
|
207.12
|
11,6
|
2400
|
5000
|
9,8
|
5,5
|
|
207.16
|
28,1
|
1920
|
4000
|
18,9
|
12,5
|
|
207.20
|
54,8
|
1500
|
3150
|
28,8
|
39
|
|
207.25
|
107
|
1200
|
2500
|
45,0
|
75
|
|
207.32
|
225
|
960
|
2000
|
75,8
|
140
|
|
210.12
|
11,6
|
2400
|
5000
|
9,8 / 8,8
|
4,4
|
|
210.16
|
28,1
|
1920
|
4000
|
18,9/17,0
|
9
|
|
210.20
|
54,8
|
1500
|
3150
|
28,8 / 26,0
|
25
|
|
210.25
|
107
|
1200
|
2500
|
45,0/40,0
|
52
|
|
210.32
|
225
|
960
|
2000
|
75,8/68,2
|
100
|
|
223.20
|
2х54,8
|
1500
|
3150
|
57,6
|
162
|
|
Серия 300
|
|
312.20
|
1500
|
3000
|
26,5
|
30
|
|
312.25
|
112
|
1200
|
2400
|
42,4
|
77
|
|
312.32
|
224
|
960
|
1920
|
67,9
|
116
|
|
311.20; 310.20
|
56
|
1500
|
3000
|
29,4 / 26,5
|
23
|
|
311.25; 310.25
|
112
|
1200
|
2400
|
47,1 / 42,4
|
41
|
|
311.32; 310.32
|
224
|
960
|
1920
|
75,4 / 67,9
|
86
|
|
323.20
|
2х56
|
1500
|
3000
|
58,8
|
90
|
|
333.20
|
2х56+28
|
1500
|
3000
|
77,7
|
100
|
* При номинальном давлении.
** В числителе указана мощность нерегулируемых насосов, в знаменателе -
нерегулируемых гидромоторов. Для сдвоенных насосов потери в зубчатом редукторе
при расчете мощности не учитывались.
*** Для насосов типа 207 без кожуха и гидроусилителя управления, для
гидромоторов типа 312 и насосов типов 223, 323 и 333 с кожухом и гидравлическим
регулятором рабочего объема.
Примечание. Угол поворота блока цилиндров гидромашин серии 300 несколько
отличается от 25° для получения рабочих объемов по ГОСТ 13824-80.
Рис.31. Сдвоенный насос типа A8V
Рис.32. Нерегулируемая гидромашина с конической шестеренчатой передачей
На рис.31 показана конструкция сдвоенного насоса «Гидроматик» (ФРГ) типа
A8V. Распределитель перемещается в плоскости, перпендикулярной плоскости
чертежа. Подвод и отвод рабочей жидкости осуществляются по каналам в крышке
корпуса насоса. Подшипниковый узел имеет подшипники одинакового диаметра. Насос
не обладает преимуществами насоса типа 323 (согласование допустимой частоты
вращения блока цилиндров с частотой вращения вала двигателя и возможность
перекосов и несоосности насоса с валом двигателя). Использование только двух
пар шестерен и в результате этого отсутствие центрального вала со своим
подшипниковым узлом и шестерней позволяет получить меньшую массу.
Некоторые фирмы, например «Брюнингхаух» (ФРГ), выпускают гидромашины,
рассчитанные на различное давление рабочей жидкости
|
Серия гидромашины
|
А
|
В
|
С
|
D
|
Е
|
|
Давление, МПа
|
|
|
|
|
|
|
длительное
|
8
|
15
|
18
|
18
|
40
|
|
при перегрузках
|
30
|
40
|
40
|
60
|
60
|
Характерным является то, что с увеличением давления уменьшается угол
наклона блока цилиндров: для серии А он равен 25°, для серии Е - 9°.
В нерегулируемых гидромашинах с наклонным блоком цилиндров для вращения
последнего иногда используют коническую зубчатую передачу (рис.32). Конические
зубчатые венцы 1 к 2 прикреплены к упорному диску и к блоку цилиндров. Использован
плавающий распределительный диск 4, прижимаемый давлением рабочей жидкости к
блоку цилиндров 3. Благодаря синхронности вращения вала и блока цилиндров угол
наклона блока цилиндров составляет 40...45°, что позволяет получить большой
рабочий объем гидромашины при малых ее размерах и массе.
2.4.2 2.
Насосы и быстроходные гидромоторы с наклонным диском
Гидромашины с наклонным диском разделяют на гидромашины с силовой
карданной передачей и бескарданные. Аксиально-поршневой насос с силовой
карданной передачей использован в ГОТ самоходных шасси Ш102 и Ш104,
разработанных ХЗТСШ. Для гидромашины с силовой карданной передачей
подшипниковый узел и силовая карданная передача имеют весьма большие размеры и
массу по сравнению с размерами и массой основного узла - блока цилиндров. В
настоящее время из-за большой массы такие насосы и гидромоторы в трансмиссиях
самоходных машин не применяются.
Бескарданные гидромашины с наклонным диском разделяют на гидромашины,
имеющие точечный контакт поршней с наклонным диском, и на гидромашины,
содержащие гидростатические опоры башмаков поршней. Гидромашины первого типа,
отличающиеся простотой конструкции, не нашли распространения в трансмиссиях
самоходных машин, так как они рассчитаны на небольшую мощность и работают при
максимальном давлении жидкости, не превышающем 25 МПа, что объясняется высокими
контактными напряжениями в местах соприкосновения поршней с наклонным диском.
В ГОТ самоходных машин нашли применение только гидромашины с
гидростатическими опорами башмаков поршней. Первая такая конструкция была
создана фирмой «Денисон» (США) в сороковых годах. Для ГОТ сельскохозяйственных
машин гидромашины с наклонным диском и гидростатическими опорами типа «Зауэр»
производит Кировоградский завод гидравлических силовых машин «Гидросила». Фирма
«Зауэр Гетрибе» выпускает гидромашины, разработанные фирмой «Санстрэнд Юнайтид
Кингдом Лимитид» (США). Поэтому указанные гидромашины иногда называют
гидромашинами типа «Санстрэнд», а не типа «Зауэр». На рис.33 показана
конструкция регулируемого насоса. На приводной вал 3 насоса посажен блок
цилиндров 8, который центрируется по валу и опирается на него. На поршни 1
блока цилиндров надеты башмаки 2 (этот узел хорошо показан на следующей
конструкции), которые опираются на наклонный диск 6. Последний вместе с его
опорой 5, выполненной в виде поворотной люльки, закрепленной на конических
подшипниках в корпусе насоса, может поворачиваться в обе стороны. Через
отверстия в поршнях к башмакам под давлением поступает рабочая жидкость из
цилиндров, создавая гидростатическую опору. Поясок башмака, представляющий
собой гидростатический подшипник скольжения, воспринимает 2...4% общей силы.
При вращении вала и блока цилиндров башмаки «плывут» по неподвижному наклонному
диску. При этом поршни совершают возвратно-поступательное движение, нагнетая
через распределитель 10 рабочую жидкость из линии низкого давления передачи в
линию высокого давления. Со стороны блока цилиндров на распределитель действует
такая же большая продольная сила, что и со стороны башмаков поршней на
наклонный диск. 96...98% этой силы воспринимается гидростатической опорой,
которую создает давление рабочей жидкости в пространстве, заключенном между
диском 9 и распределителем. Неуравновешенная часть силы воспринимается
гидродинамическим подшипником - опорными поясами диска 9.
Рассматриваемый насос имеет ряд конструктивных особенностей. На вал со
стороны блока цилиндров действует большая радиальная сила, стремящаяся его
прогнуть. Для ее восприятия вал имеет значительный диаметр и опирается на подшипники
со значительной несущей способностью. Посадка блока цилиндров на шлицах вала
выполнена с зазором, который обеспечивает самоустановку блока цилиндров
торцевой поверхностью к распределителю. Блок цилиндров выполнен из стали и
имеет вставные гильзы из специальной латуни. Блок цилиндров не контактирует
непосредственно с распределителем.
Рис.33. Регулируемый насос с наклонным диском и блоком цилиндров,
укрепленным на валу
К торцевой поверхности блока цилиндров при помощи штифтов прикреплен диск
из латуни, который контактирует с неподвижным стальным диском распределителя.
Казалось бы, что диск распределителя можно сделать из бронзы или латуни, с тем
чтобы он непосредственно контактировал со стальным блоком цилиндров. Есть
несколько причин заставляющих отказаться от такого решения и одна из них
гидравлическая эрозия диска распределителя в местах, где происходят перелом и
отсечка жидкости. Башмаки принудительно прижимаются к наклонному диску через
сферический подпятник 4 и обойму 7 несколькими пружинами малого диаметра,
размещенными в сверлениях, выполненных в блоке цилиндров. Центральная пружина
прижимает блок цилиндров к распределителю. Полые поршни насоса заполнены легким
и жестким материалом - феноловым пластиком для уменьшения мертвого пространства
в цилиндрах. Это снижает объемные потери, вызванные сжатием жидкости, на что
указывалось ранее, приводит к уменьшению шума, устраняет кавитацию и
обеспечивает более спокойную работу гидромашины. С правой стороны к корпусу
насоса прикреплен корпус 11, в котором расположен насос подпитки, приводимый во
вращение от ведущего вала. Срок службы насоса составляет 12000ч.
Выпускаются и нерегулируемые насосы подобной конструкции. Насос и
гидромотор с рабочим объемом 89 см3, применяемые в ГОТ отечественных
сельскохозяйственных машин, имеют максимальную частоту вращения 2590 об/мин и
максимальное давление рабочей жидкости 35 МПа. Масса насоса с насосом подпитки,
фильтром и другой гидроаппаратурой составляет 77 кг. Масса гидромотора равна
46,5 кг.
Гидромашины, аналогичные рассмотренным выше, выпускает фирма «Итон»
(США).
Гидромашины с наклонным диском отличаются по способу центрирования и
крепления блока цилиндров, а также по расположению наклонного диска и
распределителя. На рис.34 показана конструкция гидромотора фирмы «Лукас»
(Великобритания), в которой блок цилиндров опирается не на приводной вал, как в
предыдущей конструкции, а на корпус с помощью роликового подшипника. Зазор в
подшипнике, центрирующем блок цилиндров относительно корпуса, обеспечивает
самоустановку блока цилиндров, т.е. его плотное прилегание по всей поверхности
к распределителю. В отличие от предыдущей конструкции распределитель расположен
со стороны приводного вала, а наклонный диск - с противоположной стороны.
Наклонный диск установлен в корпусе гидромотора на подшипниках скольжения, что
позволяет снизить массу гидромотора. Подшипники скольжения имеют вкладыши из
стальной ленты с антифрикционным покрытием типа нейлона. Угол наклона диска
изменяется при помощи гидроусилителя.
Рис.34. Регулируемый гидромотор с наклонным диском и блоком цилиндров,
опирающимся на корпус
Чтобы на перекос блока цилиндров не влияла деформация приводного вала,
последний установлен на подшипниках качения в корпусе и соединен с блоком
цилиндров при помощи тонкого шлицевого вала, работающего только на кручение. В
ранее рассмотренной конструкции (см. рис.33) для уменьшения прогиба вал имеет
достаточно большой диаметр и не является консольным. Применение дополнительного
вала (рис.34) не является лучшим решением. На сферические поверхности поршней надеты
башмаки гидростатических опор. Башмаки соединены между собой обоймой,
опирающейся на сферическую пяту, укрепленную на шлицевом вале. Одна пружина,
действующая на сферическую пяту и блок цилиндров, прижимает башмаки и поршни к
наклонному диску, а блок цилиндров - к распределителю. Это прижатие
предварительное. Основное прижатие осуществляется давлением жидкости. Внутри
поршней имеются отверстия, через которые жидкость под давлением подводится к
башмакам, создавая гидравлические опоры.
Гидромотор имеет только один разъем корпуса, что снижает требования к
точности его изготовления. Блок цилиндров выполнен из бронзы с напрессованным
стальным кольцом, являющимся внутренней обоймой подшипника. Торец блока имеет
серебряное покрытие. Башмаки поршней - бронзовые с серебряным покрытием. Корпус
выполнен из алюминиевого сплава.
Рассматриваемая конструкция гидромашины имеет один важный недостаток - ее
неудобно использовать в качестве насоса. Насос в отличие от гидромотора для
получения компактной конструкции ОГП должен включать в себя насос подпитки. В
предыдущей конструкции гидромашины (см. рис.33) имеется проходной вал, от
которого приводится во вращение насос подпитки. Гидромашины рассматриваемого
типа (рис.34) не имеют проходного вала, что усложняет привод насоса подпитки.
Гидромашины фирмы «Лукас» работают при номинальном давлении 28 МПа и при
максимальном 35 МПа. В зависимости от типоразмера коэффициент быстроходности
лежит в пределах от 9900 до 13500 см/мин. Масса нерегулируемых гидромашин по
сравнению с массой регулируемых гидромашин в 2,2 - 2,4 раза меньше. Подобные
гидромашины, выпускаемые другой фирмой, имеют коэффициент быстроходности около
16 000 см/мин.
Рис.35. Регулируемый насос с наклонным диском, опирающимся на корпус
На рис.35 показана одна из последних конструкций регулируемого насоса
фирмы «Гидроматик», отличающаяся от выпускаемого насоса A4V наличием на ведущем
валу двойного сферического подшипника вместо роликового. Особенностью насоса
является простота конструкции, малое число деталей и небольшая масса. Блок
цилиндров опирается на приводной вал. Одни и те же пружины осуществляют прижим
башмаков к наклонному диску и блока цилиндров к распределителю. Блок цилиндров
стальной с гильзами из цветного металла. В отличие от рассмотренных
конструкций, в которых наклонный диск поворачивается на цапфах в корпусе, в
данной конструкции диск опирается через игольчатые подшипники, находящиеся в
специальном сепараторе, на цилиндрическую поверхность корпуса насоса. Это
позволяет заметно уменьшить массу гидромашины. Поворотом диска управляет
гидроусилитель. От ведущего вала приводится шестеренный насос подпитки с
внутренним зацеплением шестерен.
Насосы A4V выпускают четырех типоразмеров с рабочим объемом от 40 до 125
см3, рассчитанные на номинальное давление 35 МПа и максимальное 40
МПа.
В настоящее время наметилось новое направление создания гидромашин малой
удельной массы и низкой стоимости, работающих при низком давлении. Указанное
направление отражает конструкция насоса «Вердис» (рис.36),выпускаемого в Англии
и ФРГ для ГОТ самоходных машин. Номинальное и максимальное давление насоса
одинаково и составляет 21 МПа. В алюминиевом корпусе на подшипниках скольжения
установлен стальной блок цилиндров с алюминиевыми поршнями. Торцевой распределитель
имеет одно окно, соединенное с линией высокого давления. Рабочая жидкость
подается в цилиндры непосредственно из корпуса насоса. Насос нереверсивный (в
этом его недостаток).
Рис.36. Регулируемый быстроходный насос «Вердис» ограниченного давления с
наклонным диском
Использование низкого давления снижает требования к точности изготовления
деталей и качеству применяемых материалов. При малом давлении можно принять
небольшое отношение хода поршня к его диаметру и за счет этого при допустимой
максимальной скорости поршня получить высокий коэффициент быстроходности, а
следовательно, уменьшить удельную массу насоса. Кроме того, при малом давлении
уменьшаются нагрузки, действующие на детали, что позволяет уменьшить их
размеры, а следовательно, дополнительно снизить массу насоса.
Ниже приведены параметры двух насосов «Вердис», выпускаемых фирмой
«Паркер Ханнифин - НМФ» (ФРГ).
|
Тип насоса
|
033
|
055
|
|
Рабочий объем, см
|
32,8
|
57,4
|
|
Частота вращения, об/мин
|
|
|
|
номинальная
|
3000
|
|
|
максимальная
|
4000
|
|
|
Коэффициент быстроходности,
см/мин:
|
|
|
|
номинальный
|
9600
|
11600
|
|
максимальный
|
12800
|
15500
|
|
Мощность, кВт:
|
|
|
|
номинальная
|
34
|
58,8
|
|
максимальная
|
45
|
78,8
|
|
Масса, кг
|
12
|
|
|
Удельная масса, кг/кВт:
|
|
|
|
номинальная
|
0,35
|
0,20
|
|
минимальная
|
0,27
|
0,15
|
Несмотря на небольшое рабочее давление, насосы для заданной мощности
имеют весьма малую массу.
Все сказанное не исключает развития первого направления совершенствования
гидромашин, т.е. повышения их рабочего давления.
Некоторые модели аксиально-поршневых гидромашин с наклонным диском
работают при очень высоком давлении. Так, например, одна из нерегулируемых
гидромашин фирмы «Дайнекс Ко» (США) работает при максимальном давлении 56 МПа.
Нерегулируемые гидромашины фирмы «Ледюк» (Франция) работают при максимальном
давлении 60...70 МПа.
2.4.3 Сравнение
и оценка различных типов гидромашин
Прежде всего следует по различным показателям сравнить между собой
гидромашины с наклонным блоком цилиндров и с наклонным диском. Гидромашины с
наклонным диском (см. рис.26...31) имеют мощный подшипниковый узел, габаритные
размеры и масса которого равны, а иногда и превосходят размеры и массу блока
цилиндров. Кроме того, гидромашины, показанные на рис.26 и 4, имеют сложную
систему подвода и отвода рабочей жидкости через поворотную люльку. В таких
гидромашинах необходимо предусмотреть свободное пространство для перемещения
люльки, что приводит к увеличению размеров корпуса гидромашины. Все это
повышает массу и стоимость гидромашин.
Гидромашины с наклонным диском и гидростатическими опорами башмаков
поршней не содержат громоздких подшипниковых узлов, имеют меньшую стоимость и
значительно меньшую удельную массу (отнесенную к единице установочной мощности)
по сравнению с гидромашинами с наклонным блоком цилиндров и поворотной люлькой.
Однако удельная масса гидромашин с наклонным блоком цилиндров без поворотной
люльки, выполненных по схеме «Тримот», меньше, чем удельная масса гидромашин с
наклонным диском. Этот важный показатель подробно будет проанализирован дальше.
На поршень гидромашины с наклонным блоком цилиндров со стороны шатуна
действует сила, направление которой почти совпадает с осью поршня. Боковая
составляющая этой силы мала, что обусловливает небольшие силы трения поршня о
стенку цилиндра. В гидромашинах с наклонным диском поршень шарнирно опирается
на наклонную поверхность, реакция которой имеет осевую и боковую составляющие.
Приложенная консольно, боковая составляющая приводит к возникновению боковых
сил, действующих со стороны цилиндра на поршень, которые при движении поршня
вызывают значительные силы трения. Поэтому механический КПД насосов и, прежде
всего, гидромоторов с наклонным блоком выше, чем гидромашин с наклонным диском.
При малой частоте вращения, когда скорость поршней мала, между ними и
цилиндром возникает граничное трение, сопровождающееся неравномерным вращением
вала гидромотора. При значительной боковой силе граничное трение наступает
раньше. Поэтому минимальная частота вращения гидромотора с наклонным диском
составляет 25...50 об/мин, а гидромотора с наклонным блоком 1 об/мин.
Срок службы гидромашин с наклонным блоком цилиндров обычно определяется
сроком службы подшипникового узла, а гидромашин с наклонным диском - сроком
службы пары поршень-цилиндр.
Из-за увеличения контактных напряжений угол поворота наклонного диска не
превышает 20° (обычно этот угол составляет 18°); при увеличении давления он
уменьшается. Угол поворота наклонного блока регулируемых гидромашин достигает
30° (обычно он составляет 25°) и нерегулируемых - 40°.
Увеличение угла наклона блока и диска приводит к уменьшению размеров и
массы гидромашины. Большой угол наклона блока по сравнению с углом наклона
диска не компенсирует того увеличения габаритных размеров и массы гидромашины,
которое вызывает применение подшипникового узла и поворотной люльки.
Поскольку поршни гидромашин с наклонным блоком нагружены небольшой
боковой силой, они имеют большую допустимую линейную скорость, а следовательно,
коэффициент быстроходности таких машин выше (примерно на 10%) коэффициента
быстроходности гидромашин с наклонным диском.
Для гидромотора с наклонным блоком при максимальном угле поворота блока
25° и минимальном угле поворота 7° диапазон регулирования (изменения рабочего
объема) составляет 3,5 (е2=0,286). Для гидромотора с наклонным
диском при максимальном и минимальном угле поворота блока соответственно 18 и
7° диапазон регулирования составляет 2,6 (е2=0,379). Меньший
диапазон регулирования является существенным недостатком последнего
гидромотора.
Для нерегулируемых гидромоторов по сравнению с насосами иногда
рекомендуют на 11-20 % более высокую частоту вращения и, следовательно, более
высокий коэффициент быстроходности. Для регулируемых гидромоторов при заданной
частоте вращения и уменьшения угла наклона блока цилиндров линейная скорость
поршня уменьшается. Это позволяет при уменьшении угла наклона блока цилиндров
до минимального значения увеличить максимальную частоту вращения, по данным
фирмы «Линде АГ» на 28 % и по данным фирмы «Гидроматик» на 32...34 %,что имеет
важное значение при выборе параметров ГОТ.
Важнейшим показателем гидромашины являются ее номинальная и максимальная
удельные массы, т.е. массы, отнесенные к номинальной и максимальной
установочной мощности (при максимальном рабочем объеме). Удельная масса зависит
от четырех параметров: коэффициент быстроходности, рабочее давление,
коэффициент металлоемкости и максимальной подачи. Проанализируем влияние на них
типа гидромашины.
Гидромашины с наклонным блоком и наклонным диском обычно имеют одинаковое
номинальное и максимальное давление рабочей жидкости.
Коэффициент быстроходности выполненных гидромашин не зависит от их
рабочего объема. Наибольшее достигнутое значение - 22000 см/мин относится к
гидромашинам с наклонным блоком, несиловой карданной передачей и высоким
рабочим давлением. Для специальных гидромашин с наклонным блоком и шатунным
ведением поршней транспортного назначения он достигает 16000 см/мин. Для
гидромашин указанного типа общего назначения этот коэффициент значительно
меньше - 14 500 см/мин.
Коэффициент металлоемкости зависит от наличия оборудования, которое имеет
гидромашина (насос подпитки, гидроусилитель и т.д.), а также от материала
кожуха (из алюминиевого сплава или из чугуна). Различная комплектация
гидромашин не позволяет их сравнить (иногда приводят значение массы качающегося
узла гидромашины с наклонным блоком цилиндров без кожуха). Для большинства
гидромашин при рабочем объеме более 100 см3 коэффициент
металлоемкости сохраняется примерно постоянным. При уменьшении рабочего объема
от указанного значения коэффициент металлоемкости обычно резко возрастает. Это
объясняется тем, что размеры некоторых деталей (например, толщину литого
корпуса) трудно выполнить меньше определенных значений. Поэтому уменьшение
рабочего объема гидромашины не приводит к пропорциональному уменьшению размеров
и массы отдельных деталей. Для насосов с наклонным блоком цилиндров (в кожухе,
с насосом подпитки и гидроусилителем) при рабочем объеме 100 см3 и
выше коэффициент металлоемкости равен 0,95...0,85 кг/см3. Для
насосов с наклонным диском при той же комплектации этот коэффициент равен
0,60...0,55 кг/см3, а для насоса с наклонным блоком цилиндров без
поворотной люльки - приблизительно 0,5 кг/см3. Для нерегулируемого
гидромотора с наклонным блоком цилиндров коэффициент металлоемкости составляет
0,4 кг/см3, для нерегулируемого гидромотора с наклонным диском он
достигает иногда 0,2 кг/см3. Меньший коэффициент металлоемкости
насоса с наклонным блоком цилиндров без поворотной люльки по сравнению с
коэффициентом металлоемкости насоса с наклонным диском можно объяснить большим
углом наклона блока по сравнению с углом наклона диска.
В табл. 3 приведены параметры насоса A4V с наклонным диском. Все
гидромашины имеют кожух, регулируемые гидромашины снабжены гидроусилителем, а
насосы - насосом подпитки. Гидромашины работают при номинальном давлении 32 МПа
и максимальном 40 МПа. Удельная минимальная масса относится к максимальной
мощности, т.е. к максимальному давлению рабочей жидкости.
На основании данных табл. 3 и каталогов фирмы «Гидроматик» на рис.37
построены зависимости удельной мощности гидромашин от их установочной мощности.
С увеличением мощности от определенного значения удельная масса гидромашин
возрастает, что объясняется увеличением рабочего объема. При малой мощности и
рабочем объеме удельная масса также возрастает (это хорошо прослеживается для
других гидромашин), что объясняется увеличением коэффициента металлоемкости при
уменьшении саксимальной подачи. Таким образом, наиболее благоприятно создание
ГОТ определенной передаваемой мощности.
Таблица 4. Основные параметры насоса A4V
|
Параметр
|
Типоразмер
|
|
40
|
56
|
90
|
125
|
|
Рабочий объем см3
|
40
|
56
|
90
|
125
|
|
Максимальная частота
вращения, об/мин
|
3700
|
3400
|
2900
|
2600
|
|
Мощность, кВт:
|
|
|
|
|
|
номинальная
|
80
|
102
|
139
|
173
|
|
максимальная
|
100
|
128
|
174
|
216
|
|
Коэффициент быстроходности,
см/мин
|
12700
|
13000
|
13000
|
13000
|
|
Масса, кг
|
29
|
35
|
51
|
70
|
|
Удельная минимальная масса,
кг/кВт
|
0,290
|
0,273-
|
0,294
|
0,324
|
Рис.37. Зависимость удельной массы гидромашин от их установочной мощности
Удельная масса насосов с наклонным блоком цилиндров без поворотной люльки
на 35…48% меньше, чем удельная масса насосов с наклонным блоком цилиндров и
поворотной люлькой. Удельная масса гидромотора с наклонным блоком без
поворотной люльки приближается к удельной массе нерегулируемого гидромотора.
Удельная масса насоса с наклонным блоком без поворотной люльки на 23% меньше
удельной массы насоса с наклонным диском, что вызвано меньшим коэффициентом
металлоемкости из-за разных углов наклона блока и диска.
Весьма низкую удельную массу имеют гидромашины с наклонным блоком
цилиндров, несиловой карданной передачей и большим давлением рабочей жидкости
(прямая 1 - регулируемый насос и кривая 2 - нерегулируемый гидромотор). Это
достигнуто в результате высоких значений величин коэффициентов быстроходности,
и рабочего давления и малого значения коэффициента металлоемкости, для
регулируемого насоса равного 0,5...0,6 кг/см3. Малая удельная масса
характерна для быстроходных насосов с наклонным диском, работающих при
небольшом максимальном давлении (прямая 3), вследствие высокого коэффициента
быстроходности, равного 15 500 см/мин и очень малого коэффициента металлоемкости,
равного 0,20...0,35 кг/см3.
Теперь можно сделать выводы о целесообразности применения гидромашин того
или иного типа в ГОТ тех или иных самоходных машин. Для самоходных машин
небольшой стоимостью с малой мощностью двигателя (установочная мощность гидромашин
до 80 кВт), не требующих большого диапазона изменения передаточного числа,
целесообразно применять простой по конструкции регулируемый быстроходный насос
с наклонным диском и такой же нерегулируемый быстроходный гидромотор с
наклонным диском, работающие при небольшом номинальном и максимальном давлении
(около 20 МПа).
Для самоходных машин с большей мощностью двигателя и большим диапазоном
изменения передаточного числа целесообразно использовать в ГОТ регулируемый
насос с наклонным диском и регулируемый гидромотор с наклонным блоком цилиндров
без поворотной люльки, рассчитанные на максимальное давление около 40 МПа.
Насос с наклонным диском по сравнению с насосом с наклонным блоком цилиндров
является более простым и дешевым. Гидромотор с наклонным блоком цилиндров по
сравнению с гидромотором с наклонным диском имеет больший диапазон изменения
рабочего объема, более высокий КПД и другие указанные ранее преимущества.
Установочная мощность насосов с наклонным диском достигает 750 кВт, а
насосов с наклонным блоком цилиндров - 1500 кВт. Применение последних оправдано
в том случае, когда частота вращения коленчатого вала двигателя при
максимальной мощности больше допустимой частоты вращения вала насоса с
наклонным писком и равна или меньше допустимой частоты вращения вала насоса с
наклонным блоком, т.е. тогда, когда не требуется установка понижающего
редуктора.
Поскольку с увеличением мощности удельная масса гидромашин возрастает, в
ГОТ самоходных машин большой мощности с целью снижения массы может оказаться целесообразным
применение нескольких насосов и гидромоторов (масса четырех
регулируемых гидромоторов с наклонным блоком цилиндров без поворотной люльки
мощностью по 150 кВт каждый приблизительно в 2 раза меньше массы одного такого
же гидромотора мощностью 600 кВт). Применение нескольких гидромашин, как
указывалось, часто диктуется условиями компоновки самоходной машины и
использованием ГОТ для поворота самоходной машины.
В ГОТ самоходных машин с особо большой мощностью двигателя следует
использовать гидромашины с наклонным блоком цилиндров и несиловой карданной
передачей, рассчитанные на максимальное давление рабочей жидкости около 60 МПа.
3
ПРОЕКТИРОВОЧНЫЕ РАСЧЕТЫ
3.1 Проектирование
и расчет основных параметров насоса
Концепция данного расчета такова, что нам известен тип насоса и его
рабочий объем, так как имеет место модернизация гидропривода. В базовой машине
были установлены 2 насоса с объемной постоянной 33. Поскольку, уйдя от
раздаточной коробки и приняв 1 насос вместо двух, мы должны получить такие же
значения рабочих скоростей (или большие), примем в качестве базового насос с
объемной постоянной в 90. Тем более, как видно из таблицы 5, габарит насоса
316.90 лишь немногим больше габарита насоса 316.33.
Таблица 5
Также к исходным данным отнесем число цилиндров в насосе, равное 10, так
как оно должно быть четным, чтобы обеспечить синхронность движения бортов, и не
должно быть менее 10, так как менее 5 цилиндров на борт дадут чрезмерно высокую
пульсацию давления в системе. Диаграмма давления для 5 цилиндров показана на
рис.38.
Рис.38. Диаграмма пульсации давления
Далее находят геометрические параметры аксиально-поршневой гидромашины.
Диаметр поршня задают, исходя из рабочего объема гидромашины
, (1)
где
- рабочий объем насоса,
- число цилиндров,
-
максимальный угол наклона шайбы, примем
=20о,
т.к. при большем значении угла долговечность насоса резко снижается [3].
Подставив значения в формулу (1), определим диаметр цилиндра:
см.
Примем
диаметр цилиндра равным 20мм.
Толщину
стенки между цилиндрами принимают равной 0,2D=4мм, между
цилиндрами и наружной поверхностью блока - 0,3D=6мм. Диаметр
окружности расположения осей цилиндров

мм
Предварительным
геометрическим построением можно определить, что лишь при диаметре осей
цилиндров в 78мм будет соблюдено условие, что толщина стенки не менее 4мм.
Наружный диаметр блока
мм.
Определяем
ход поршня
см.
Уточним
максимальный угол наклона упорной шайбы
Очевидно,
что мы можем несколько уменьшить диаметр цилиндра, что позволит уменьшить
диаметр и металлоемкость блока цилиндров, вызвав незначительное увеличение угла
наклона шайбы. Так, при диаметре цилиндра в 18мм (толщина стенки не менее 3,6мм,
толщина наружной стенки не менее 5,4мм) цилиндры расположатся на окружности
диаметром 72мм, что даст блок цилиндров диаметром 102мм, ход поршня в 36мм и
обеспечит угол наклона шайбы к горизонтали в 13,7о (согласно [3]
дающий вполне приемлемую нагрузку на цилиндро-поршневую группу и достаточно
высокую долговечность насоса).
Расчет
распределителя. Торцовый распределитель аксиально-поршневых гидромашин
выполняется, как правило, в виде плоского или сферического диска с двумя
полукольцевыми окнами, соединяющими блок с полостями нагнетания и всасывания. В
течение одной половины оборота вала каждый цилиндр соединен со всасывающим
окном, в течение другой - с нагнетательным. Ширина перемычки между окнами
(рис.39) обычно составляет
, (2)
где t - длина окна в донышке цилиндра.
С
целью улучшения качества рабочего процесса в насосах положительное перекрытие
рабочих окон выполняют с обеих сторон (рис.39). При переходе из зоны всасывания
в зону нагнетания жидкость предварительно сжимается на участке
,что способствует устранению «заброса» давления в
момент соединения запертой полости с полостью нагнетания, снижению шума,
увеличению долговечности машины.
Плавное
снижение давления при переходе жидкости из зоны нагнетания в зону всасывания
обеспечивается за счет угла перекрытия
. Однако
поскольку мы имеем дело с управляемым насосом, примем эти углы равными друг
другу и приближенно для упрощения расчета равными 4о.
Площадь
окна цилиндра выбирают такой, чтобы скорость жидкости в нем не превышала более
чем в 2,5...3,2 раза среднюю скорость поршня [5]. При номинальной частоте
вращения вала насоса в 1700 мин-1 средняя скорость поршня составит
2,55 м/с. Отметим также, что для насосов с подпиткой наибольшая скорость
жидкости не должна быть более 8,5 м/с. Приняв окно, составленное из 2 отверстий
диаметром 6мм с удаленной перемычкой между ними (см. рис40), получим площадь
сечения в 61,6 мм2 (данная площадь была измерена посредством
встроенных в графическую систему AutoCAD 2000 средств), что обеспечит приемлемую для системы с
подпиткой скорость жидкости в канале, равную 8,2 м/с. Ширину распределительных
окон получилась, таким образом, равной 5,5мм.
Ширину
уплотнительных поясков принимают равной 0,125D. Учитывая, что интенсивность
изнашивания поясков неодинакова, ширину внутреннего пояска принимают равной
0,75...0,8 от ширины наружного. Очевидно, что если ширина поясков может быть
любой, но не менее 2мм. Зададимся ей конструктивно.
Рис. 39. Распределитель гидромашины одностороннего вращения
Рис.40.
Схема распределительного диска проектируемого насоса
Поскольку изменения, вносимые в конструкцию насоса, ограничиваются блоком
цилиндров и распределительным диском, расчет считаем завершенным: параметры
остальных деталей насоса соответствуют параметрам деталей базового насоса.
Расчет
предохранительных клапанов. Шариковый предохранительный клапан предназначен для
предохранения системы от перегрузок. Зададимся 20%-м значением перегрузки, т.е
при давлении
атм клапан должен открыться.
Диаметр
подвода к седлу шарика примем равным 3,3мм.
Усилие
отжатия шарика (начальное)
Далее
расчет также будет вестись с использованием несистемной единицы килограмм-сила,
так как эта единица применяется в используемой методике расчета [6].
Диаметр
шарика берем в соответствии с рекомендациями [6] равным
Определим
параметры пружины шарика. Рекомендуемый диаметр проволоки определим так
мм. (3)
Примем диаметр проволоки 2,7мм. Диаметр пружины D выберем из рекомендации
мм
Примем
16мм.
Шаг
пружины принимаем равным
мм
Принимаем
6мм.
Начальная
длина пружины выбирается не менее
, но не
более
, т.е. от
18 до 93,5 мм
Примем
80мм.
Так
как пружина надевается на шарикодержатель, то 2-3 витка ее в месте установки
признаем нерабочими. Это определит коэффициент i=1.5.
Число
рабочих витков найдем так
. (4)
Жесткость пружины
(5)
где
- модуль сдвига.
(6)
Начальная деформация пружины для удержания давления:
(7)
Заметим, что эта величина деформации должна создаваться винтом
регулировки давления при сборке клапана, т.е. длина резьбового соединения в
собранном состоянии не должна быть менее 23мм (с учетом фасок).
3.2 Расчет
гидрораспределителя
Поскольку, изменяя гидравлическую схему погрузчика, мы ушли от 2 насосов
с независимым регулированием к одному, дающему равные расходы жидкости по обоим
ветвям, для осуществления поворота машины потребуется прибегнуть к введению в
схему гидрораспределителей поворота.
Управление поворотом будет также осуществляться при помощи джойстика.
Джойстик, как было сказано выше, является дифференциальным распределителем
давления. Плавно утапливая плунжер от нуля до максимального положения, мы
плавно увеличиваем давление в соответствующей линии от нуля до максимальной
величины (3 МПа, см. технические характеристики машины).
Принцип осуществления поворота будет следующим. Поворачивая рычаг
джойстика в нужную сторону, мы повышаем давление в соответствующей гидролинии
управления. Это давление перемещает золотник распределителя поворота,
осуществляя посредством дросселирования перепуск рабочей жидкости из напорной
магистрали гидромотора соответствующего борта на слив, тем самым понижая
давление в гидромоторе. В среднем положении гидромотор оказывается в плавающем
положении. В то же время на другом борту вследствие отсутствия давления в
соответствующей гидролинии управления и нахождения золотника в крайнем положении
гидромотор реализует полную подачу насоса, колесо вращается с максимальной
скоростью. В результате машина совершает плавный поворот.
В случае отклонения джойстика в крайнее положение золотник поворота также
придет в крайнее положение, подав максимальный расход жидкости (без
дросселирования) на гидромотор, однако в этом случае направление вращения
гидромотора будет противоположным, и машина будет разворачиваться на месте.
Как видно, данный принцип позволяет осуществлять плавное регулирование
радиуса поворота машины.
Определим основные параметры гидрораспределителя. Выполнение этого
расчета позволит непосредственно перейти к конструированию распределителя.
Исходными данными для расчета будут являться: максимальный расход
жидкости через распределитель, максимальное давление в системе, максимальное
давление управления. И если давления известны и составляют соответственно 25 и
3 МПа, то расход предстоит вычислить.
. (8)
В данном случае мы взяли множитель ½, т.к. конструкция насоса предполагает
деление рабочего объема поровну на каждый борт.
Источник [6] рекомендует определять проходные сечения каналов
распределителя, исходя из непревышения скоростью течения жидкости в них
значения 5-6м/сек. Формула выглядит так:
см2. (9)
Коэффициент 100 позволяет перевести метры в секунду в сантиметры в
секунду, чтобы на выходе получилась площадь сечения в см2.
Рассчитываем диаметр подводящего (напорного) канала:
(10)
Конструктивно примем диаметр канала равным 18мм.
Конструктивно примем диаметр золотника равным 25мм.
Также
конструктивно зададимся следующими параметрами: перекрытие кулачка с проточкой
(без учета знака), расстояние между подводящими
каналами (равное расстоянию между отводящими) равно a=80мм.
Если
записать площадь сечения щели как
, то при
известных F, h и D можно определить d
. (11)
Примем диаметр пояска d
равным 12мм.
Так
как площадь щели пропорциональна
, она
будет линейно изменяться при перемещении золотника.
Назначим
диаметр кольцевой проточки
равным
30мм.
При
диаметре золотника 25мм максимальная осевая сила от гидравлической системы
управления составит
(12)
Определим силу жидкого трения золотника о корпус распределителя по
формуле
, (13)
где
- плотность масла,
-
кинематическая вязкость масла, для АМГ-10 они равны соответственно
и
;
- зазор в золотниковой паре, примем его равным 7 мкм;
- относительная скорость перемещения деталей, примем
равной 0,5 м/с;
- суммарная длина трения, равна 124 мм.
Как видим, сила трения гораздо меньше усилия, оказываемого на торец
золотника давлением управления и уравновешиваемого пружиной.
Рассчитаем пружину. Жесткость ее должна быть такой, чтобы предварительное
сжатие компенсировало приложение к ней усилия в 5% от максимального, а
максимальное сжатие пружины давало бы силу упругости, равную 95% максимального
усилия (данные поправки предназначены для компенсации неточностей изготовления
и регулировки распределителей джойстиков).
Таким
образом при сжатии на
она развивает усилие 1,32 кН.
Расчет
пружины взят из [6], где расчетная методика, использующая эмпирические величины
и табличные данные, оперирует внесистемными старыми единицами - килограммосилами.
В связи с этим расчет пружины произведем с применением этих величин, конечные
же результаты вновь переведем в СИ.
Жесткость
пружины будет равна
Определим
диаметр проволоки пружины по формуле [6]:
. (14)
Здесь мы приближенно приняли число рабочих витков пружины равным 14.
Принимаем диаметр проволоки равным 4мм. Диаметр пружины D выберем 15мм.
Шаг
пружины принимаем равным
мм. Принимаем 9мм.
Начальная
длина пружины выбирается не менее
, но не
более
, т.е. от 27 до 120мм. Примем 100мм.
Жесткость
пружины определим по формуле (5):
Проверим
поведение пружины: при подаче на нее усилия, равного
она
сожмется на 
Как
видно, полный ход золотника будет практически достигнут.
Начальная
деформация пружины для удержания давления:
.
Заметим,
что эта величина деформации должна создаваться винтом регулировки давления при
сборке клапана, т.е. длина резьбового соединения в собранном состоянии не
должна быть менее 6мм (с учетом фасок).
3.3 Расчет
основных технико-эксплуатационных параметров погрузчика
3.2.1 Расчет
развески, нагрузок на колеса
Расчеты развески выполнены по программе, разработанной в отделе
инженерных расчетов СКБ НПО «Дормаш» для ППЭВМ.
Начало координат принято в точке пересечения вертикальной оси машины,
проходящей по центру заднего моста, с опорной поверхностью.
Ось OX - направлена в сторону рабочего движения машины.
Ось OZ - вертикально вверх. Система координат правая.
Расчет развески.
Исходные данные и результаты расчета приведены в таблице 6, результаты
расчета - под таблицей.
Исходные данные:
Таблица 6
|
Наименование агрегатов,
сборочных единиц, деталей
|
Масса, кг
|
Координаты центра тяжести,
мм
|
|
|
X
|
Y
|
Z
|
|
1. Двигатель с глушителем
|
470.0
|
-0.330
|
0.000
|
0.870
|
|
2. Система охлаждения
|
50.0
|
-0.840
|
0.000
|
0.930
|
|
3. Насос
|
160.0
|
0.250
|
0.000
|
0.560
|
|
4. Аккумулятора с ящиками
|
160.0
|
0.590
|
0.090
|
0.960
|
80.0
|
0.900
|
0.000
|
0.660
|
|
6. Редуктора с моторами
|
280.0
|
1.050
|
0.080
|
0.420
|
|
7. Передние колеса
|
120.0
|
1.050
|
0.000
|
0.420
|
|
8. Задние колеса с
тормозами
|
120.0
|
0.000
|
0.060
|
0.420
|
|
9. Рама передняя
|
250.0
|
0.300
|
0.000
|
0.550
|
|
10. Рама задняя с капотами,
маслом и топливом
|
540.0
|
-0.570
|
0.060
|
0.950
|
|
11. Цепи с кожухом
|
120.0
|
0.525
|
0.060
|
0.420
|
|
12. Кабина
|
305.0
|
0.580
|
0.000
|
1.620
|
|
13. Оператор
|
75.0
|
0.425
|
0.060
|
1.300
|
|
Ковш в рабочем положении
|
|
14. Ковш
|
140.0
|
1.860
|
0.000
|
0.200
|
|
15. Стрела
|
190.0
|
0.800
|
0.000
|
1.250
|
|
16. Гидроцилиндры стрелы
|
110.0
|
0.100
|
0.006
|
1.300
|
|
17. Гидроцилиндр ковша
|
60.0
|
1.230
|
0.000
|
0.900
|
|
18. Сцепка
|
45.0
|
1,550
|
0.000
|
0.300
|
|
19. Пальцы
|
20.6
|
0.650
|
0.000
|
1.160
|
|
20. Корригирующие цилиндры
|
45.0
|
-0.180
|
0,000
|
1.620
|
|
Ковш в транспортном
положении
|
|
21. Ковш
|
140.0
|
2.000
|
0.000
|
0.450
|
|
22. Стрела
|
190.0
|
0.810
|
0.000
|
1.360
|
|
23. Гидроцилиндры стрелы
|
110.0
|
0.100
|
0.000
|
1.400
|
|
24. Гидроцилиндры ковша
|
60.0
|
1.300
|
0.000
|
1.450
|
|
25. Сцепка
|
45.0
|
1.590
|
0.000
|
0.340
|
|
26. Пальцы
|
20.0
|
0.700
|
0.000
|
1.200
|
|
27. Корригирующие цилиндры
|
45.0
|
-0.200
|
0.000
|
1.700
|
|
28. Груз
|
1000.0
|
2.000
|
0.000
|
0.470
|
|
Ковш в положении
максимального вылета
|
|
29. Ковш
|
140.0
|
2.500
|
0.000
|
2.100
|
|
30. Стрела
|
190.0
|
0.800
|
0.000
|
2.200
|
|
31. Гидроцилиндры стрелы
|
110.0
|
0.100
|
0.000
|
1.700
|
|
32. Гидроцилиндры ковша
|
60.0
|
1.480
|
0.000
|
2.250
|
|
33. Сцепка
|
45.0
|
2.100
|
0.000
|
2.000
|
|
34. Пальцы
|
20.0
|
0.700
|
0.000
|
2.100
|
|
35. Корригирующие цилиндры
|
45.0
|
-0.150
|
0.000
|
1.850
|
|
36. Груз
|
1000.0
|
2.600
|
0.000
|
2.150
|
|
Ковш в положении максимального
подъема
|
|
37. Ковш
|
140.0
|
2.100
|
0.000
|
3.500
|
|
38. Стрела
|
190.0
|
0.470
|
0.000
|
2.900
|
|
39. Гидроцилиндры стрелы
|
110.0
|
0.000
|
0.000
|
1.900
|
|
40. Гидроцилиндры ковша
|
60.0
|
0.990
|
0.000
|
3.250
|
|
41. Сцепка
|
45.0
|
1.700
|
0.000
|
3.350
|
|
42. Пальцы
|
20.0
|
0.400
|
0.000
|
2.760
|
|
43. Корригирующие цилиндры
|
45.0
|
-0.220
|
0.000
|
1.956
|
|
44. Груз
|
1000.0
|
2.150
|
0.000
|
3.660
|
Результаты расчета развески:
.Шасси (узлы 1-12)
Масса=2655.00; X=0.156; Y=0.000; Z= 0.812
. Погрузчик без груза, ковш в рабочем положении (узлы 1-20):
Масса=3340.00; X=0.305; Y=0.000; Z=0.846.
. Ковш в транспортном положении (узлы 1-13; 21-27):
Масса=3340.00; X=0.313; Y=0.000; Z= 0.874.
. Ковш в положении максимального вылета (узлы 1-13; 29-35):
Масса=3340.00; X=0.345; Y=0,000; Z= 1.049.
. Ковш в положении максимального подъема (узлы 1-13; 37-43):
Масса=3340.00; X=0.289; Y=0,00; Z=1.195.
. Погрузчик с грузом 1000 кг, ковш в транспортном положении (узлы 1-13;
21-28):
Масса=4340.00; X=0.702; Y=0.000; Z= 6.781.
. Ковш в положении максимального вылета (узлы 1-13; 29-36):
Масса=4340.00; X=0.864; Y=0.000; Z= 1.363.
. Ковш в положении максимального подъема (узлы 1-13; 37-44):
Масса=4340.00; X=0.713; Y=0.000; Z= 1.749.
. Погрузчик без груза, без оператора, ковш в транспортном положении (узлы
1-12; 21-27):
Масса=3255.60; X=0.311; Y=6.006; Z= 6.865.
. Погрузчик с грузом 1000 кг, без оператора, ковш в транспортном
положении (узлы 1-12; 21-28):
Масса=4265.00; X=0.707; Y=0.000; Z= 0.772.
. Рабочее оборудование (узлы 21-27):
Масса=610.00; X=0.983; Y= 0.000; Z= 1.093.
. Шасси (узлы 1-12)
Масса=2665.00; X=0.156; Y=0.000; Z=0.812.
Расчет нагрузок на колеса
Исходные данные:
База машины 1.050 м
Колея колес передних 1.450 м
Задних 1.450 м
Результаты расчета:
Таблица 7
|
Наименование расчетного
случая
|
Нагрузки на колеса и мосты
|
|
Передние
|
Задние
|
|
Левое
|
Правое
|
Левое
|
Правое
|
|
1. Ковш в транспортной
положении
|
498.4
|
498.4
|
1171.6
|
1171.6
|
|
996.9
|
2343.1
|
|
4. Ковш в положении
максимального вылета
|
548.0
|
548.0
|
1122.0
|
1122.0
|
|
1096.0
|
2244.0
|
|
6. Погрузчих с грузом 1000
кг. Ковш в транспортном положении
|
1450.8
|
1450.8
|
719.2
|
719.2
|
|
2901.6
|
1438.4
|
|
7. Ковш в положении
максимального вылета
|
1786.1
|
1786.1
|
383.9
|
383.9
|
|
3572.2
|
767.8
|
|
9. Погрузчик без груза, без
оператора, ковш в транспортном положении
|
483.3
|
483.3
|
1149.2
|
1149.2
|
|
966.5
|
2298.5
|
|
10. Погрузчик с грузом 1000
кг, без оператора, ковш в транспортной положении
|
1435.6
|
1435.6
|
696.9
|
696.9
|
|
2871.3
|
1393.7
|
(Данные приведены в кгс, т.к. программа выполняла расчет в этих
единицах).
Расчет опорных реакций при вывешивании одного из мостов.
В процессе наполнения ковша погрузчик вывешивается на ковше и передних
колесах, причем сила на ковше приложена вниз, а R2=0.
Выглубляющая сила на ковше равна:
кН; (15)
где а - расстояние от громки ковша до оси переднего моста, а=1,28м (см.
рис.1); GП - масса погрузчика с оператором, GП=32765Н; х
- расстояние от оси заднего колеса до центра тяжести погрузчика (ковш в рабочем положении), х= 0,305м; L
- база погрузчика, L=1,05 м.
Рис.41. Расчетная схема определения опорных реакций
По
возможностям гидросистемы рабочего оборудования
кН, т.е.
гидросистема рабочего оборудования обеспечивает вывешивание заднего моста.
,
следовательно,
кН. Опорная реакция на передний мост:
кН. (16)
В процессе наполнения ковша погрузчик вывешивается на ковше и задних
колесах, причем сила на ковше направлена вверх, a R1 =0.
Заглубляющая сила на ковше равна:
кН. (17)
Опорная реакция на задний мост:
кН. (18)
Нагрузки на колесах для согласования шин.
Статическая нагрузка на одно колесо переднего моста (случай вывешивания
заднего моста), V=0 км/ч, нагрузка приложена посредине ковша.
кН. (19)
Нагрузка на одно колесо переднего моста при транспортном передвижении
порожнего погрузчика:
кН. (20)
Нагрузка на одно колесо переднего моста при транспортном передвижении
груженого погрузчика (масса груза в ковше 1000 кг):
кН. (21)
Нагрузка на одно колесо заднего моста при вывешивании переднего моста
кН. (22)
Нагрузка на одно колесо заднего моста при транспортном передвижении
порожнего погрузчика.
кН. (23)
На каждые из четырех ведущих колес погрузчика установлено по одной шине
12.4L - 16. Из ТУ 38.4081 87 при давлении в шине р=2,2атм и скорости
передвижения V=30 км/ч полезная нагрузка на шину S=11,85 кН.
Статическая нагрузка на шину при скорости V=0 км/ч равна удвоенной
полезной нагрузке при V = 30 км/ч, т.е.
. (24)
Из
расчета у погрузчика видно, что статическая нагрузка на шину равна
,что на 10% превышает статическую нагрузку на шину по
ТУ. Однако при работе погрузчика нагрузки на колеса изменяются от 4,9 до
14,2кН; причем скорость погрузчика не превышает 15 км/ч, а нагрузка на колесо
переднего моста
кН получена при перевозке 1000кг груза в ковше;
грузоподъемность погрузчика Q=800кг. Следовательно, можно сделать вывод, что
установленные шины 12.4L - 16 обеспечивают выполнение технологических операций
при работе погрузчика.
Расчет
опрокидывающей нагрузки.
Ковш с грузом находится в положении максимального вылета. Опрокидывающую
нагрузку определяем для двух положений:
·
с оператором на
рабочем месте;
·
без оператора на
рабочем месте.
, (25)
где
-вес
погрузчика без груза с оператором, из расчета развески
=32,7кН, вес погрузчика без оператора
=32,0кН; х - координата центра тяжести погрузчика без
груза с оператором (ковш в положении максимального вылета), х=0,345м, без
оператора х=0,340м; L - база погрузчика, L=1,05м; b - расстояние от оси
переднего колеса до центра тяжести груза в ковше, b=1,55м.
Погрузчик
с оператором:
Погрузчик
бег оператора
3.2.2 Расчет
статической устойчивости
Расчет продольной устойчивости.
Продольную
устойчивость погрузчика определяем относительно передней и задней оси
опрокидывания, причем, продольная ось перпендикулярна линии наибольшего склона.
Продольная статическая устойчивость характеризуется предельными углами подъема
и уклона
, на
которых может стоять заторможенный погрузчик под действием силы тяжести, не
опрокидываясь.
Предельный угол продольной статической устойчивости на подъем определяем
по формуле
; (26)
на спуск
; (27)
где Х, Z - координаты центра тяжести погрузчика относительно продольной
оси и по высоте, берем из расчета развески; L - база погрузчика, L=1,05м.
Вычисленные,
углы
и
для
порожнего и груженого погрузчика для трех основных положений стрелы приведены в
табл.8.
Таблица 8
|
Расчетные положения
|
Погрузчик без груза, с
оператором
|
Погрузчик с грузом массой
1000кг
|
|
Подъем
|
Спуск
|
Подъем
|
Спуск
|
|
Транспортное положение
ковша
|
19°42'
|
40°08'
|
41°57'
|
24°01'
|
|
Ковш на максимальном вылете
|
18°12'
|
33°54'
|
8°07'
|
|
Ковш на максимальном
подъеме
|
13°35'
|
32°29'
|
22°19'
|
11°0'
|
Полученные предельные углы статической продольной устойчивости на подъеме
и уклоне сравниваются с наибольшими углами подъездных путей и рабочих площадок.
При оценке собственной устойчивости погрузчика проверяются углы подъема и
уклона при транспортном положении стрелы без груза в ковше:
;
(28)
где
Кб - коэффициент безопасности, учитывающий влияние динамических
нагрузок (торможение, наезд на препятствия и др); Кб=1.5;
- наибольший угол уклона подъездных путей, для
промышленных погрузчиков
=20о.
Подъем:
;
Спуск
С
целью увеличения устойчивости погрузчика при подъеме на крутые подъездные пути,
рекомендуется набрать в ковш 50…100 кг грунта.
При
расчете грузовой устойчивости погрузчика на наибольшем вылете и максимальном
подъеме стрелы должно соблюдаться условие
;
(29)
где
,
-
предельные углы статической продольной устойчивости с грузом в ковше на уклоне
и подъеме соответственно; Кб - коэффициент безопасности, Кб=2,0;
- допустимый угол рабочей площадки,
=5°. Из табл. 3 при массе груза в ковше 1000 кг
=8°07';
продольная
устойчивость погрузчика с грузом 1000 кг обеспечена.
При
массе груза в ковше 800 кг координаты центра тяжести для стрелы в положении
максимального вылета будут X=0.780м; Z=1.240м.
следовательно,
продольная устойчивость груженого погрузчика (масса, груза в ковше 800 кг)
обеспечена.
Расчет
боковой устойчивости.
Боковая
статическая устойчивость определяется предельными углами склона, на которых
колесный погрузчик, установленный боком, сохраняет равновесие под действием
силы тяжести. При этом погрузчик располагают по наклонной поверхности таким образом, чтобы боковые грани опорного
контура были перпендикулярны основной линии склона.
Для
колесных погрузчиков с поворотными колесами и жесткой рамой предельные углы
боковой статический устойчивости для порожнего и груженого состояния и трех
положений стрелы определяем по формуле:
(30)
де В - ширина колеи погрузчика, В=1,45 м, Z - высота центра тяжести.
Погрузчик без груза в ковше:
·
ковш в
транспортном положении
·
максимальный
вылет ковша
·
максимальный
подъем
Погрузчик с грузом в ковше:
·
ковш в
транспортном положении
·
ковш в положении
максимального вылета
·
ковш в положении
максимального подъема
Наименьший из полученных углов устойчивости сравнивается с наибольшим
возможным по условиям эксплуатации погрузчика углом наклона рабочей площадки.
Для безопасной эксплуатации погрузчика должно соблюдаться условие
где
Kб коэффициент безопасности, учитывающий одновременность
действия статических и динамических нагрузок, торможение погрузчика, переезд
препятствий и др., Кб=2,0;
-
допустимый угол наклона рабочей площадки,
=5°.
Как
видим, боковая устойчивость погрузчика достаточная.
3.2.3 Тяговый
расчет
Погрузчик представляет собой колесную самоходную машину с приводом на все
четыре колеса. Привод на два передних (грузовых) колеса осуществляется
гидромоторами ГСТ-90. От передних колес через две цепные передачи мощность
подводится на два задних (моторных) колеса. Гидроматоры ГСТ-90 запитаны от
сдвоенного регулируемого насоса.
Характеристика силового привода.
Дизель.
Установлен дизель Д-244 с номинальной мощностью Ne=57 л. с.
при номинальной частоте вращения nе=1800об/мин. Номинальный крутящий
момент
кНм. (31)
Гидронасос. На привод хода установлен гидронасоса
сдвоенного действия типа 316.80. Рабочий объем насоса, см3:
·
номинальный - 40;
·
минимальный - 0.
Частота вращения, об/мин:
·
номинальная -
1600;
·
максимальная -
4000.
Подача насоса, л/мин:
·
номинальная - 64;
·
минимальная - 0.
Давление в гидролинии высокого давления, МПа:
·
номинальная - 20;
·
максимальная -
35.
Коэффициент подачи насоса - 0,95.
Масса насоса - 60кг.
Привод гидросистемы рабочего оборудования осуществляется от
установленного на хвостовике насоса хода сдвоенного аксиально-поршневого
гидронасоса.
Гидромоторы МП-90:
Номинальный рабочий объем гидромотора - 89 см3
Частота вращения при номинальном давлении, об/мин:
·
номинальная -
1500;
·
максимальная -
2590;
·
минимальная -
500.
Давлении в гидролинии высокого давления, МПа:
·
номинальное - 27;
·
максимальное -
36,5.
Гидромеханический КПД мотора - 0,88.
Номинальная эффективная мощность гидромотора, л. с. - 66.5
Номинальный крутящий момент, Н м - 311,8.
Статический радиус колеса и масса погрузчика.
На
колеса погрузчика устанавливаются шины 12,4 L - 16, статический радиус колеса
=0,42м.
Масса
порожнего погрузчика - 3500 кг.
Масса
поднимаемогс груза - 800 кг.
Тяга
на колесах и скорость погрузчика.
Окружное
усилие на колесах погрузчика определяем по формуле
(32)
где
МГ - крутящий момент на валу гидромотора; i,
- передаточное число и КПД трансмиссии.
В
каждой ступице двух ведущих колес переднего (грузового) моста установлены
двухрядные планетарные редукторы; передаточное число планетарного редуктора ip=15,2;
=0,92.
Для
привода двух задних колес установлены цепные передачи с передаточным числом iц=1
и
=0,92.
Таким
образом передаточное число трансмиссии погрузчика равно
;
. (33)
Крутящий момент (наибольший) на валу гидромотора при давлении р=300кгс/см2
(по предохранительному клапану) в гидромоторе привода хода определяем по
формуле:
Нм. (34)
кН.
Тяга (наибольшая) от двух паромоторов составит:
. (35)
Скорость погрузчика
; (36)
где nг - частота вращения гидромотора:
; (37)
где QH - действительная производительность гидронасоса 316.90.
; (38)
где
qH - рабочий объем насоса сдвоенного типа 316.80, номинальный, qH=45см3
на выход. nН - частота вращения насоса, принимается равной
номинальной частоте вращения дизеля, nН=1800 об/мин;
- объемный КПД гидронасоса,
=0,95.
л/мин.
об/мин.
Наибольшая скорость погрузчика:
км/ч.
Так
как на передвижение машины со скоростью 8,5 км/ч необходима небольшая мощность
(
10л.с.), то обороты двигателя могут превышать номинальные,
а производительность насосов увеличится по сравнению с номинальной и
действительная скорость погрузчика составит 14-15 км/ч.
Наибольшие
значения тяги и скорости погрузчика (регулируемые насосы и нерегулируемые
гидрометры) показаны на рис. 42 пунктирной линией (без учета мощности
двигателя). С учетом мощности двигателя значения тяги и скорости показаны
сплошной линией.
Рис.42. Диаграммы параметров передачи погрузчика
Тягу на колесах и скорость погрузчика с учетом мощности дизеля определяем
по формуле
; (39)
где
NЭ -
эксплуатационная мощность дизеля; NЭ=52 л.с.;
- КПД
трансмиссии;
; (40)
где
- КПД гидронасоса,
=0,9;
- КПД гидромотора,
=0,88;
- КПД планетарного редуктора и цепной передачи,
=0,83.
При
тяге Т=20 кН скорость погрузчика при NЭ=52 л.с. будет
км/ч.
При
V=5 км/ч тяга будет
кН.
V=6
км/ч; Т=15,1 кН.
V=7
км/ч; Т=13,0 кН.
V=8 км/ч; Т=11,4
кН.
V=9 км/ч; Т=10,1
кН.
V=10 км/ч;
Т=9,08 кН.
Определение
наибольшего преодолеваемого угла подъема.
Определяем
угол при передвижении груженого погрузчика на подъем на дороге с коэффициентом
сопротивления перекатыванию f=0,1.
Расчет
по сцеплению шин с грунтом (коэффициент сцепления
):
;
;
;
.
Расчет
по двигателю

;
Расчет
напорного усилия.
Удельное
напорное усилие на кромке ковша:
(41)
где
- наибольшее тяговое усилие по двигателю или по
сцепному весу; В - наружная ширина режущей кромки ковша, В=1,76 м.
Наибольшее
тяговое усилие на колесах погрузчика равно Рк=20600 кН.
Удельное
напорное усилие на кромке ковша
Удельного
напорного усилия qР = 11,7
кН/м достаточно для удовлетворительного наполнения ковша материалом.
3.2.4 Расчет
времени рабочего цикла
Для привода рабочего оборудования установлен насос аксиальный поршневой
типа 210.20. Частота вращения насоса равна номинальной частоте вращения
двигателя (1800 об/мин).
Действительная производительность насоса равна:
л/мин.
Время
подъема стрелы:
; (42)
где
- диаметр поршня гидроцилиндра подъема стрелы;
- ход поршня.
Время
опорожнения ковша
; (43)
где
- диаметр поршня гидроцилиндра поворота ковша;
- ход поршня этого цилиндра.
Время
опускания стрелы:
(44)
где
- диаметр штока гидроцилиндра подъема стрелы;
- ход поршня.
Время гидравлического цикла равно:
3.2.5 Расчет
производительности.
Определение производительности является довольно сложной задачей по
причине универсальности погрузчика. Даже если рассматривать только ковшовое
рабочее оборудование, производительность погрузчика как машины в целом будет
различной для различного типа задач.
В связи с этим, говоря о производительности погрузчика, имеется в виду
производительность при вполне определенном фронте работ.
Рассмотрим следующую схему их выполнения
Рис.
43. Расчетная схема для определения производительности
Отметим, что выполнение работ по данной схеме (погрузка сыпучего
материала из отвала в кузов автосамосвала) является довольно типичным, к тому
же эта схема учитывает высокую мобильность машины - основное ее достоинство.
Производительность погрузчика как машины циклического действия
определится по формуле
, (45)
где
- емкость ковша «с шапкой»,
=0,5м3;
-
коэффициент использования погрузчика по времени в течение часа, примем
;
-
продолжительность рабочего цикла. Определим ее
, (46)
где
- время гидравлического цикла, см. выше;
- расстояние транспортировки груза, в нашем случае
-
скорость погрузчика, примем ее равной скорости при максимальной подаче насоса
на номинальных оборотах двигателя;
- время
на остановку машины и включение обратного направления движения, примем
. Тогда
Тогда
производительность погрузчика будет равна
м3/час.
4
ОПИСАНИЕ КОНСТРУКЦИИ РАЗРАБАТЫВАЕМЫХ УЗЛОВ
4.1 Описание
конструкции насосного агрегата
Спроектированный насосный агрегат в совокупности с двумя гидравлическими
распределителями поворота заменяет присутствовавшие в конструкции базовой
машины два управляемых насоса, один неуправляемый и раздаточную коробку.
Чертеж насосного агрегата приведен на листах 4 и 5 графической части
проекта.
Насосный агрегат состоит из управляемого насоса принципиально новой
конструкции, присоединенного к нему насоса подпитки, и агрегатируемого с ними
неуправляемого насоса привода рабочего оборудования 1 (см. листы графической
части).
Управляемый насос состоит из корпуса 2, вала 3, установленного в
подшипниках 70 и 71, блока цилиндров 10, 10 поршней 11, наклонной шайбы 4 с
механизмом изменения ее наклона, распределительного диска 12 и клапанной
коробки.
Новизна конструкции насоса заключается в том, что каналы блока цилиндров
10 выходят на канавки разных радиусов распределительного диска 12. Так, 5
цилиндров соединены с наружными канавками, а 5 - с внутренними. В результате
этого насос ведет себя как два независимых насоса, а подачи на выходе могут
изменяться наклоном шайбы, но всегда остаются равны друг другу.
Наклонная шайба вращается в подшипниках 69, установленных в корпусе
насоса. Для демонтажа наклонной шайбы в нижней стенке корпуса 2 насоса имеется паз
соответствующего размера. Поворот шайбы осуществляется через люльку 15, надетую
на цилиндрическую часть вала шайбы и стянутую болтом 51 с гайкой 57 и шайбами
80 и 81. Поворот на малые углы осуществляется посредством рычага 16,
вращающегося относительно люльки вокруг болта-оси 17. При повороте на большие
углы поршень 18 выбирает зазор и непосредственно воздействует на люльку.
Подшипники 69 удерживаются от осевого перемещения: верхний - планкой 25,
присоединенной к корпусу двумя болтами 50 с шайбами 79, а нижний - нижней
крышкой 19 через втулку 23. Нижняя крышка уплотнена резиновым кольцом 61.
Поршень 18 перемещается в цилиндрическом отверстии корпуса 2. Уплотнения
поршня производится по посадке. В поршне выполнен паз для люльки 15 и рычага
16. Внутри поршня установлены две возвратные пружины 73 с шайбами 77 по торцам.
Перемещение шайб 77 ограничено шайбами 82 и стопорными кольцами 66. Через
центральное отверстие поршня пропущен болт 52 с гайкой 58. Пружины обеспечивают
симметричное положение поршня относительно болта, а симметричное положение
болта в корпусе осуществляется подбором потребного числа шайб 83,
устанавливаемых под упорные пробки 24. При регулировке следует следить, чтобы
поршень находился в строго центральном положении, и отсутствовало свободное
осевое его перемещение.
Пробки вворачиваются в торцевые пробки 22, которые, в свою очередь,
уплотняются резиновыми кольцами 62.
Механизм поворота наклонной шайбы сверху накрывается верхней крышкой 20,
которая, как и нижняя крышка 19, крепится к корпусу болтами 50 с шайбами 79.
Крышка 20 уплотнена прокладкой 48.
Сферические части поршней 10 завальцованы в башмаки 7, которые опираются
на шайбу 6. Крепление их осуществляется посредством кольца 8, которое
прикреплено к шайбе пятью винтами 54. Шайба же 6 скользит по наклонной шайбе 4,
которая дополнительно опирается на сферический колпак 9, надетый на цапфу блока
цилиндров.
Блок цилиндров укреплен на валу 3 посредством эвольвентных шлицев.
Поджатие блока цилиндров к распределительной шайбе осуществляется пружиной 72
через шайбу 14, упирающуюся в бурт вала, и кольцо 13, завальцованное в блок
цилиндров. Осевая нагрузка от этой пружины передается через вал на подшипник
69, который, в свою очередь, фиксируется от перемещения крышкой 5 с
установленной в ней манжетой 67 и стопорным кольцом 64.
Задней крышкой насоса служит корпус клапанной коробки 26. Для образования
в нем кольцевой канавки для подвода жидкости от насоса подпитки в корпус
запрессована втулка 27. Распределительный диск 12 упирается в плоскую часть
корпуса клапанной коробки и удерживается от проворачивания тремя винтами 56.
Клапанная коробка содержит 4 шариковых клапана подпитки (по одному на
каждую ветвь - в соответствии с гидросхемой), 4 предохранительных клапана и
клапан давления подпитки.
Клапана подпитки состоят из седла 28, заворачиваемого в резьбовую часть
горизонтального канала, шариков 84 и пружин 74. Давление срабатывания клапана
определяется начальной длиной и жесткостью пружины; клапан не нуждается в
регулировке.
Пружины упираются в седло предохранительного клапана 29.
Предохранительный клапан включат в себя шарик 85 малого диаметра, держатель 30,
пружину 75, пробку 31. Стопорение пробки осуществляется контргайкой 59. Для
предотвращения несанкционированной регулировки клапана он закрыт колпачком 35,
который устанавливается на свинцовую пломбу.
Клапан давления подпитки состоит из седла 33, шарика 86, держателя 34,
пружины 76 и крышки 32. На крышке выполнен 6-гранный шлиц для регулировки
клапана.
Сброс жидкости через клапан давления и предохранительные клапана
осуществляется в сливные каналы. Технологические выходы каналов закрыты
заглушками 36 и 37. Сброс осуществляется в корпус насоса, а из него - через
канал, закрытый пробкой 21, в бак.
В корпус клапанной коробки вворачивается штуцер 38 для присоединения к
насосу подпитки, и 4 штуцера 39 для подсоединения насоса к гидросистеме машины.
В корпусе клапанной коробки имеется цилиндрическая выемка, в которую
вставляется центровочный бурт шестеренного насоса подпитки. Крепление насоса
осуществляется за фланец крышки 41 4 болтами 53 с шайбами 81. Болты проходят
через сквозные отверстия в корпусе клапанной коробки.
Шестеренный насос подпитки состоит из корпуса 40, крышек 41 и 42,
шестерен 47, платиков 45 и 46, прижимной прокладки 43 с защитным кольцом 44. Во
внутренние шлицы шестерен вставлены соответственно вал 3 и вал
аксиально-поршневого насоса типа 210.16. Валы уплотнены манжетами 68 со
стопорными кольцами 65.
Крышки крепятся к корпусу насоса болтами 49 с шайбами 78 и уплотняются
резиновыми кольцами 63.
К фланцу крышки 42 4 болтами М10 осуществляется крепление насоса 210.16.
4.2 Описание
конструкции распределителя поворота
Поворот машины осуществляется следующим образом. При отклонении рычага
управления ходом машины («Джойстика») влево либо вправо на соответствующей
линии управления возникает давление жидкости. «Джойстик» устроен таким образом,
что это давление пропорционально отклонению рычага. Оно передается в
управляющую полость соответствующего распределителя.
Конструкция распределителя показана на листе 6 графической части. Он
представляет собой корпус 5, выполненный из чугунного бруска методом
механической обработки. В корпусе распределителя перемещается золотник 6.
Под левый (на чертеже) торец золотника подается давление от управляющей
гидролинии. в отверстие с правого торца вложена шайба 15, в нее упирается
пружина 13. при отсутствии давления управления пружина отодвигает золотник в
крайнее левое положение.
Давление управление подается через штуцер 3, представляющий собой
пластину с приваренной к ней по периметру стальной бобышкой, в которой
просверлено отверстие, и в нем нарезана резьба. Штуцер крепится к корпусу 4
болтами 10 с шайбами 14 и уплотняется резиновым кольцом 12.
С другой стороны также 4 болтами 10 с шайбами 14 к корпусу крепится
направляющая втулка 4, по резьбе которой движется колпачок 9. Поворотом
колпачка за имеющиеся в нем отверстия (специальным ключом) осуществляется
регулировка пружины. Колпачок стопорится контргайкой 11 и ставится на краску.
В резьбовое отверстие колпачка вворачивается штуцер рукава, соединяющего
полость пружины со сливной линией. Он предназначен для сбора утечек.
Подвод жидкости и отвод ее от распределителя осуществляется через штуцера
1 и 2, также представляющие собой пластины с приваренными к ним отрезками стальной
трубы, на концах которых нарезана резьба. Штуцера также крепятся болтами 10 с
шайбами 14, уплотняются резиновыми кольцами 12. Технологический канал в корпусе заглушен с торца заглушкой 8,
запрессованной в корпус, а с другого конца - пластиной 7. Крепление и
уплотнение пластины аналогично креплению и уплотнению штуцеров.
Принцип действия распределителя поворота заключается в том, что по мере
перемещения золотника сначала появляется зазор, через который часть потока на
гидромотор дросселируется, затем по мере дальнейшего перемещения золотника
зазор увеличивается. В среднем положении вся жидкость от соответствующей секции
насоса перепускается через распределитель, гидромотор колеса находится в
плавающем положении, дальнейшее перемещение золотника плавно реверсирует
колесо. В крайнем положении осуществляется разворот машины на месте.
5 ПРОЕКТИРОВАНИЕ
ТЕХНОЛОГИЧЕСКОГО ПРОЦЕССА ПРОИЗВОДСТВА ЗОЛОТНИКА
5.1 Исходные
данные и анализ технологичности детали, выбор заготовки, выбор технологических
баз
Золотник предназначен для перепуска жидкости, минуя гидромотор, что
позволяет обеспечивать плавность поворота машины, вплоть до разворота на месте.
Золотник представляет собой цилиндрическую деталь, в теле которой
выполнены две проточки. Пояски между проточками и по краям их являются рабочим
элементом золотника.
В торцах золотника проделаны отверстия. Одно из них применяется для
установки в нем пружины, другое - из соображений симметрии, уменьшения веса
детали и для возможности перестановки золотника в распределителе другой
стороной, что позволит несколько компенсировать износ и продлить срок службы
золотника.
Золотники распределителей не подлежат ремонту. При ремонте золотник
заменяют новым ремонтного размера, а отверстие под золотник в корпусе
распределителя развертывают под ремонтный размер. В связи с этим изготовление
золотника из дорогих сталей нецелесообразно. Основным материалом для
производства является сталь 20Х ГОСТ 1050-88.
Заготовками для производства золотников являются круглые прутки стального
проката. Применение других типов заготовок невозможно либо нецелесообразно.
Отверстия в торцах золотника получают сверлением, проточки - токарной
обработкой, рабочую же поверхность обрабатывают шлифовкой.
На этапе чернового точения в качестве технологической базы выбирается
наружная поверхность заготовки. На этапе чистового точения и шлифовки деталь
устанавливается в центрах, предварительно необходимо обработать торцы и
отверстия под центра.
5.2 Разработка
маршрута обработки
Проанализировав типовые технологические процессы изготовления золотников
распределителей, предлагается следующий маршрут изготовления детали:
1. Заготовительная операция - обрезать
пруток на необходимую длину с учетом припуска на обработку торцов и с холостой
частью для крепления заготовки в 3-кулачковом патроне.
2. Токарно-сверлильная - выполнить
отверстие под центр на одном торце заготовки.
3. Токарная операция - черновая
обработка наружной поверхности с учетом припусков на дальнейшую обработку.
4. Химико-термическая - осуществить
цементацию изделия на необходимую глубину (1,5…2 мм с учетом припуска).
5. Токарная - провести прорезание
канавок для последующего точения шеек.
6. Токарная -точить шейки.
7. Токарно-отрезная - подрезать торец;
отрезать холостую часть, выполнив второй торец.
8. Сверлильная - просверлить отверстия
по торцам.
9. Термическая - произвести закалку
детали.
10. Круглошлифовальная - выполнить
черновое и чистовое бесцентровое шлифование рабочих поверхностей.
5.3 Расчеты
режимов обработки
Произведем расчет основных параметров для следующих пяти операций:
чернового точения, прорезки канавок, выполнения проточек, сверления отверстий и
бесцентрового шлифования.
Методики расчетов взяты из справочника [11].
5.3.1 Черновое
точение
1. Определим длину рабочего хода резца
по формуле:
(47)
где
- рабочая длина детали, равна 345 мм (с учетом
припусков на обработку торцов);
- сумма
длины подвода резца, врезания и перебега.
На
этапе чернового точения производится правка прокатной заготовки до диаметра
26мм, т.е. срезаемый слой равен 2мм. Для применяемого проходного отогнутого
резца (ГОСТ 18868-73) с углом атаки 45о длина врезания равна 2 мм.
Длина подвода и перебега равны по 4 мм. Тогда по формуле (47)
мм
1. Назначаем подачу резца на один оборот
шпинделя. Для чернового точения заготовок из стали при работе резцами с
твердосплавными пластинами и глубине резания до 2 мм назначим подачу в
интервале 0,4…0,6 мм/об. Поскольку подача зависит от жесткости системы
Станок-Приспособление-Инструмент-Деталь (СПИД), назначим подачу в 0,4 мм/об,
снизив тем самым требования к жесткости.
2. Стойкость инструмента при работе
одним резцом будет равна базовой стойкости, которая, в свою очередь, для резцов
с твердосплавными пластинами равна 60 мин.
3. Скорость резания зависит от угла
атаки и характера режущей поверхности резца, а также от подачи. Для выбранного
резца и подачи 0,4 мм/об табличная скорость резания составит 175 м/мин.
Скорость резания определится по формуле
, (48)
где
=1,1 для стали 20Х с твердостью не более 200НВ;
=1,0;
=1,2.
Тогда скорость резания составит
м/мин.
Частота вращения шпинделя, таким образом, будет равна:
мин-1.
Примем
частоту вращения шпинделя 2450 оборотов в минуту.
Определим
минутную подачу резца по формуле:
мм/мин
1. Определим время выполнения перехода:
1. Определим мощность, необходимую на
выполнение операции. Сила резания определится по формуле:
; (49)
где
- табличная сила точения стали с данной твердостью
резцом с данным углом атаки при снятии слоя в 1 мм,
=0,88 кН;
-
глубина резания. Таким образом, сила будет равна:
.
Потребная мощность определится по формуле:
5.3.2 Прорезка
канавок
Конфигурация шеек золотника, в частности, перпендикулярность их торцов
образующим цилиндрической поверхности золотника вынуждает нас изготавливать
шейки в два этапа: прорезка канавок по их концам с точным соблюдением размеров
и стачивание поверхности между ними. Расчет ведется в последовательности,
аналогичной предыдущей, за некоторыми исключениями. В частности, определение
рабочей длины не производится ввиду ее отсутствия, также, как и стойкости
инструмента ввиду малой продолжительности выполнения переходов.
1. Для работы отрезным резцом шириной
6мм для стали с твердостью менее 200НВ назначим подачу равной 0,18 мм/об.
Скорость
резания зависит от подачи. Для выбранного резца и подачи 0,18 мм/об табличная
скорость резания составит 104 м/мин. Скорость резания определится по формуле
(48), где
=1,1 для стали 20Х с твердостью не более 200НВ;
=1,0;
=1,2.
Тогда скорость резания составит
м/мин.
Частота вращения шпинделя, таким образом, будет равна
мин-1.
Примем
частоту вращения шпинделя 1700 оборотов в минуту.
Определим
минутную подачу резца по формуле:
мм/мин
1. Определим время выполнения перехода:
С
учетом того, что деталь содержит 4 таких канавки, чистое операционное время
составит
с.
1. Определим мощность, необходимую на
выполнение операции. Сила резания определится по формуле
; (50)
где
- табличная сила отрезания стали с данной твердостью
шириной в 1 мм,
=0,5 кН;
- ширина
резания. Таким образом, сила будет равна:
Потребная мощность определится по формуле
5.3.3 Выполнение
шеек
В
данном случае длина рабочего хода каждой шейки уже определена конструктивно и
равна
мм.
Поскольку нам предстоит удалить слой металла толщиной в 7 мм, а
требование на шероховатость поверхности определено как Ra 12,5, что вполне обеспечивается черновым однопроходным
точением все тем же резцом, что и при черновой проточке всей детали, то резонно
выполнить удаление металла в два прохода - соответственно слоями 4 и 3 мм.
1. Назначаем подачу резца на один оборот
шпинделя. Для чернового точения заготовок из стали при работе резцами с твердосплавными
пластинами и глубине резания от 3 до 6 мм назначим подачу в интервале 0,3…0,5
мм/об. Поскольку подача зависит от жесткости системы СПИД, назначим подачу в
0,3 мм/об для первого прохода и 0,4 мм/об для второго, снизив тем самым
требования к жесткости.
2. Стойкость инструмента при работе
одним резцом будет равна базовой стойкости, умноженной на поправочный
коэффициент K, который определяется по формуле
(51)
где
- число проходов;
=
для всех i; коэффициенты
определяется соотношением
и равны соответственно 1 и 0,5;
определяется соотношением
и равны соответственно 1 и 0,6;
определяется соотношением
и равны соответственно 1 и 0,8. Тогда в соответствии
с формулой (51) коэффициент
будет
равен 1,24, а стойкость резца определится как
Скорость
резания зависит от глубины резания, угла атаки и характера режущей поверхности
резца, а также от подачи. Для выбранного резца и подачи 0,3 мм/об табличная
скорость резания составит 190 м/мин, а для подачи в 0,4 мм/об и глубины резания
3 мм - соответственно 175 м/мин. Скорость резания определится по формуле:(48),
где
=1,1 для стали 20Х с твердостью не более 200НВ;
=1,0;
=1,0.
Тогда скорость резания составит
м/мин;
м/мин. Частота вращения шпинделя, таким образом,
будет равна
мин-1;
мин-1.
Примем
частоту вращения шпинделя 2550 оборотов в минуту.
Определим
минутную подачу резца по формуле:
мм/мин;
мм/мин
1. Определим время выполнения перехода:
Учитывая, что на золотнике выполняется 2 таких шейки, операционное время
составит 19,35 с.
Определим
мощность, необходимую на выполнение операции. Сила резания определится по
первому, наиболее тяжелому проходу, по формуле (49), где
- табличная сила точения стали с данной твердостью
резцом с данным углом атаки при снятии слоя в 1 мм,
=0,88 кН;
-
глубина резания. Таким образом, сила будет равна
Потребная
мощность определится по формуле
5.3.4 Сверление
отверстий.
Определим
длину рабочего хода резца по формуле (47), где
-
рабочая длина сверления, равна 36 мм;
- для
глухих отверстий сверлением без кондукторов диаметром 20мм равно 7 мм. Тогда
1. Стойкость сверла примем равной 40 мин
в соответствии с таблицей.
2. Назначаем подачу сверла на один его
оборот. Для спиральных быстрорежущих сверл при отношении глубины сверления к
диаметру меньше 3 выбираем группу подач I. Тогда для сверления стали диаметром 20 мм группе подач I будет соответствовать подача 0,32
мм/об.
Скорость
резания зависит от группы подач, соотношения глубины и диаметра сверления, а
также типа применяемого сверла. Для I группы подач, соотношения L/D<3
и сверла короткой серии табличная скорость сверления будет равна 20,4 м/мин.
Скорость резания определится по формуле (48), где
=
=
=1,0. Тогда скорость резания останется равна 20,4
м/мин. Частота вращения сверла, таким образом
мин-1
Примем частоту вращения шпинделя 325 оборотов в минуту.
Определим минутную подачу резца:
мм/мин
1. Определим время выполнения отверстия:
Учитывая, что на золотнике выполняется 2 таких отверстия, операционное
время составит 49,6 с.
1. Определим мощность, необходимую на
выполнение операции. Сила резания определится по формуле:
; (52)
где
- табличная сила сверления стали спиральным сверлом с
данным диаметром,
=8,5 кН;
-
коэффициент, для стали 20Х с твердостью менее 200НВ он равен 0,95. Таким
образом, сила будет равна
Потребная мощность определится по формуле
, (53)
где
- удельная табличная мощность сверления, в нашем
случае равна 5,83 кВт/(об/мин);
-
коэффициент, для стали 20Х с твердостью менее 200НВ он равен 0,95. Тогда по
формуле (53) имеем:
5.3.5 Шлифование
поверхности золотника
Заключительной стадией производства золотника является его шлифование.
Для получения столь малых значений шероховатости поверхности (Ra 0,1) необходимо проводить шлифование
в два этапа с применением двух различных кругов.
Поскольку основным требованием является правильность формы наружной
поверхности золотника, которая и является технологической базой, применим
бесцентренное шлифование.
1. Назначим количество и типы проходов.
Для снятия припуска в 0,5 мм и получения шероховатости Ra 0,1 для деталей диаметром до 30 мм рекомендуется назначить 3
прохода типа б для предварительной шлифовки и 5 проходов типа д. Применим круги
из белого электрокорунда (марка материала - 24А), зернистости соответственно 32
и 8, твердости С2 и Т, структуры 6 и 7, на керамическом связующем.
Материал для ведущего круга рекомендуют взять 14А (16-12) НТВ.
2. Зададимся частотой вращения
шлифовального круга в 3200 мин-1.
3. Определим скорость резания по формуле
1. Определим основные параметры
техпроцесса: припуск за проход, продольную подачу, скорость движения детали и
угол перекоса вала ведущего круга. Для выбранных режимов рекомендуются
следующие значения:
p=0,15мм;
p=0,03мм (для проходов типа б и д
соответственно);
Sm=2000 мм/мин;
vД=27 м/мин; vД=27 м/мин;
=4,6о;
=2,8о.
Методика
требует скорректировать данные табличные значения: p - на коэффициент K1,
Sm - на K2; vД - на. Для скорости шлифовального
круга меньше 30 м/с и шлифовки закаленной стали 20Х K1=0,8; для
круга высотой менее 350 мм K2=1,0; K3=0,9. Тогда p=0,12 и
0,024 мм, что при 3-х черновых проходах и 5 чистовых даст срезаемый слой в
0,48мм. Если этого окажется недостаточно для шлифовки золотника точно в размер
25h5, допускается сделать еще один-два прохода типа д. vД=24,3
м/мин; vД=45
м/мин.
1. Определим частоту вращения ведущего
круга
; (54)
;
.
Примем
эти частоты вращения равными соответственно 75 и 145 мин-1.
1. Продольная подача детали:
.
м/мин;
м/мин.
1. Рабочее время на выполнение операции
; (55)
де 0,95 - коэффициент проскальзывания. С учетом кратности проходов
рабочее время на выполнение шлифования будет равно 0,553 мин и 0,817 мин.
6
ОБОСНОВАНИЕ ЭКОНОМИЧЕСКОЙ ЭФФЕКТИВНОСТИ
В данной работе переработке была подвергнута гидросистема машины. В
частности, изменился агрегатный состав машины. Результатом явилось некоторое
изменение ее характеристик, в частности улучшение маневренности, увеличение
скорости перемещения. Косвенно переработка насосного агрегата (отказ от
раздаточной коробки с повышающим зубчатым редуктором) несколько повысил
продолжительность перемещений рабочих органов.
В данном разделе будет проведен экономический анализ вносимых в
конструкцию машины изменений.
Расчет суммарного экономического эффекта осуществляется в программе
Microsoft Excel® по алгоритму, разработанному В.В.Арсеновым. Текст
документа с расчетами приведен в Приложении А.
Для определения себестоимости новой машины требуется узнать стоимость
компонентов и машины в целом.
По сведениям, предоставленным руководителем практики от предприятия
"Амкодор" себестоимость изготовления погрузчика составляет порядка
$12200, что в рублях составит 26,84 млн.руб.
Стоимость раздаточной коробки равняется приблизительно $300, т.е. 660
тыс.руб. Стоимость управляемого насоса типа 316.33 при покупке его заводом
составляет около $515, т.е. 1133 тыс.руб. Розничная стоимость данного насоса
составляет (по прайс-листу отпускных цен Кировоградского завода
"Гидросила", данные получены у дилера - ОДО "Гидротехсервис) -
$880. В то же время отпускная цена насоса типа 316.90 составляет $1360.
Предположив, что усложнение конструкции насоса (изменение формы блока
цилиндров и распределительного диска, создание клапанной коробки отличной от
базовой конструкции) приведет к удорожанию насоса на 15%, а также то, что при
необходимости завод сможет приобрести насос на тех же условиях, что и насосы
313.33, получим следующую стоимость насоса
, или
2010 тыс.руб.
Рыночная
стоимость 2-секционного золотникового распределителя на требуемые по
конструкции расход и давление производства РФ составляет $141. Приняв, что
односекционный распределитель будет стоить на 45% дешевле, определим примерную
стоимость золотникового распределителя: $77,5, т.е. 170 тыс.руб.
Это
позволит нам, проводя расчет, определить экономию средств в производстве
машины.
Для
определения экономического эффекта в эксплуатации нам потребуется знать
производительности как базовой, так и проектируемой машин. В предыдущем разделе
было описано определение производительности и выбрана расчетная схема.
В
силу конструктивных недостатков базовой машины (в частности, раздельного
привода бортов) машина оказывалась неспособна двигаться прямолинейно, так что
траектория ее была бы искажена, что показано на рисунке.
Рис.44.
Искажение траектории базовой модели
Непосредственное измерение средствами программы AutoCAD дает нам результат в 33 метра, т.е. только за счет
маневрирования длина пути транспортирования возросла на 10%.
Отсутствие раздаточной коробки в конструкции проектируемой машины ведет к
увеличению времени гидравлического цикла рабочего оборудования: для базовой
машины он равен 8,2 сек. Однако применение насоса с большим рабочим объемом
увеличивает скорость машины, так что время рабочего цикла базовой машины для
данной расчетной схемы будет равно
Производительность
базовой машины будет тогда равна:
м3/час
Отметим,
что остальные параметры, такие, как стоимость ТО и Р, расход ГСМ, оплата труда
машинистов и прочего персонала не изменяются из-за отсутствия принципиальных
изменений в конструкции машины.
Далее,
в Приложении А показан расчет экономического эффекта в народном хозяйстве от
внедрения модернизированного погрузчика.
7
ОХРАНА ТРУДА
7.1 Общие
вопросы безопасности при эксплуатации строительных машин и средств малой
механизации
7.1.1 Организационные
формы управления
Создание на строительной площадке безопасных условий труда,
обеспечивающих соблюдение санитарно-гигиенических норм, предупреждающих
производственный травматизм и заболевания при эксплуатации строительных машин и
средств малой механизации, является одной из главных задач и
инженерно-технических работников, и рабочих строительно-монтажных и
специализированных организаций.
Анализ явлений производственного травматизма показывает, что большинство
несчастных случаев при выполнении строительно-монтажных работ происходит из-за
несоблюдения требований безопасности при управлении и техническом обслуживании
строительной техники и недостаточного контроля за работой со стороны
инженерно-технического персонала. Развитие строительного производства сопряжено
с увеличением парка машин. Современные строительные машины - более совершенной
конструкции, чем выпускавшиеся ранее. При этом повышается уровень технической
эксплуатации, а это возможно лишь при наличии необходимой производственной базы
и соответствующих высококвалифицированных специалистов.
В трестах и управлениях механизации, как правило, концентрируются
землеройные, подъемно-транспортные, дорожно-строительные машины (экскаваторы,
бульдозеры, скреперы, грузоподъемные краны, автогрейдеры, корчеватели,
рыхлители, сваебойное оборудование и т.д.); в управлениях и на участках малой
механизации - средства малой механизации строительные подъемники,
телескопические вышки и гидравлические подъемники, пневматические пробойники,
самоподъемные люльки, строительно-отделочные и ручные машины и т. д.). При
выполнении работ специализированными субподрядными организациями (управлениями
механизации, участками малой механизации и т. д.) генподрядные строительные
организации осуществляют всю координацию работ на стройке, несут
ответственность за предоставление фронта работ, осуществление мероприятий по
созданию безопасных условий труда работающим, в том числе: ограждение опасных
зон, освещение территории, содержание внутрипостроечных и подъездных дорог,
подкрановых путей, обеспечение питанием, санитарно-бытовыми помещениями,
питьевой водой, медицинской помощью. Субподрядные организации отвечают за
выполнение требований безопасности при работе машин, за их техническое
состояние, за выполнение мероприятий и соблюдение графиков производства
совмещенных работ, проекта производства работ или технологических карт.
Пожарная и сторожевая охрана машин, передвижных бытовых помещений складов
и других материальных ценностей, принадлежащих управлениям (трестам)
механизации на объектах строительства, осуществляется генподрядными
строительными организациями. Управления (тресты) механизации в нерабочее время
сдают под охрану генподрядной организации все машины, склады и другие
материальные ценности в установленном порядке.
Ответственность за выполнение требований стандартов, правил, норм и
инструкций по охране труда при эксплуатации машин и средств малой механизации
несут инженерно-технические работники и рабочие.
7.1.2
Планово-предупредительный ремонт и надзор
Важнейшим условием предотвращения аварий, поломок и продления срока
работоспособности строительных машин и средств малой механизации является
организация технического обслуживания и ремонта, проводимая по системе
планово-предупредительных ремонтов (ППР). Сиcтема ППР основана на регулярном контроле и надзоре за
техническим состоянием строительной техники в процессе ее эксплуатации. Все
виды технического обслуживания проводятся строго по плану, в обязательном
порядке и с определенным объемом работ. Система ППР предусматривает: повышение
технической готовности машин; применение прогрессивных методов технического
обслуживания и ремонтов; обеспечение регулярного контроля и надзора за
техническим состоянием; увеличение сроков службы как отдельных деталей,
сборочных единиц, так и машины в целом; обеспечение парка машин необходимыми
средствами для технического обслуживания и ремонта (квалифицированными рабочими
и инженерно-техническими работниками, оборудованием, запасными частями,
приспособлениями и инструментом, ремонтными и эксплуатационными материалами).
Ремонты по этой системе подразделяются на текущие (Т) и капитальные (К) и
выполняются только при необходимости. В целях определения производственных
затрат, рабочей силы и денежных средств ремонты планируют.
Техническое обслуживание подразделяется на ежесменное техническое обслуживание
(ЕО), выполняемое в течение рабочей смены, и периодическое техническое
обслуживание (ТО), выполняемое после отработки определенного числа
машино-часов.
Ежесменное техническое обслуживание (ЕО) является одним из главных
профилактических мероприятий. Его проводит машинист или рабочий другой
профессии в соответствии с требованиями инструкции по эксплуатации
завода-изготовителя. Ежесменное техническое обслуживание проводится в перерывах
между сменами или в специально установленное время. При ежесменном техническом
обслуживании производят следующие операции: смазку, подготовку машин к передаче
при смене, контрольный осмотр перед пуском (началом работы), имеющий целью
проверить исправность действия рабочих органов, ходовой части, тормозной
системы, приборов безопасности, освещения, сигналов, системы управления и т. д.
При периодическом техническом обслуживании (ТО) производятся очистка,
мойка, осмотр и контроль технического состояния узлов, агрегатов, приборов,
канатов, гидравлической системы и сменного рабочего оборудования, крепление
деталей, регулировка механизмов, узлов и агрегатов, смазка, заправка, замена
масел, топливных фильтров, выполнение мелких ремонтных работ.
7.1.3 Перемещение,
установка, монтаж и демонтаж строительных машин
Дальнейшая индустриализация, повышение темпов и сокращение
продолжительности строительства обусловливают рост количества перебазировок
строительных машин. Основные строительные машины (башенные краны, тяжелые
гусеничные и пневмоколесные краны, краны с башенно-стреловым исполнением,
сваебойное оборудование, строительные подъемники и др.) перебазируют в
разобранном или частично разобранном виде, что вызывает необходимость их
монтажа и демонтажа на месте работы.
При перемещении машин своим ходом, на буксире или с помощью транспортных
средств следует выполнять требования Правил дорожного движения. Особую
осторожность необходимо проявлять при переезде через железнодорожные пути,
мосты и искусственные сооружения. Переезд через полотно железной дороги
разрешен только в установленных местах (переездах) при наличии сплошного
настила, уложенного вдоль рельсов по обе их стороны. В том случае, если
железнодорожный переезд не регулируется, транспортируемую (перевозимую) машину
останавливают перед переездом не ближе 10 м от первого рельса и убеждаются, что
путь свободен. Движение через переезд осуществляется на низшей передаче, при
этом не допускается переключать передачи, выключать сцепление, останавливаться.
Несоблюдение этих требований приводит к несчастным случаям с тяжелыми
последствиями. При переезде через мост по дорожному знаку предварительно
проверяется грузоподъемность. Движение через мост меньшей грузоподъемности, чем
масса машины, запрещается.
Движение машин по льду (рек, озер и т. п.) допускается только по
специально подготовленным и обозначенным направлениям с указателями о
максимальной грузоподъемности ледовой переправы, при этом грузоподъемность
ледовой переправы должна в два раза превышать массу машины. В случае
необходимости переезда через водные преграды вброд предварительно проверяют
глубину брода и состояние дна. В картерах проверяют наличие пробок в заливных
отверстиях, а при их отсутствии, во избежание попадания воды, устанавливают
временно деревянные.
Руководство перебазированием строительных машин осуществляет инженерно-технический
работник, назначенный приказом организации, на балансе которой находится
машина.
При работе в темное время суток самоходные строительные машины, как
правило, оборудуют автономными приборами для наружного освещения. Стекла фар и
плафонов периодически очищают, так как при загрязнении светильников резко
снижается освещенность места производства работ и рабочих органов.
При проезде под проводами действующей линии электропередачи расстояние по
вертикали между самой верхней точкой машины, оборудования, конструкции и т. д.
и нижним проводом должно быть не менее следующих значений:
|
Напряжение, кВ
|
Расстояние, м
|
|
До 1
|
1
|
|
До 20
|
2
|
|
До 110
|
3
|
|
От 150 до 220
|
4
|
|
До 330
|
5
|
|
До 500
|
6
|
При переезде под линией электропередачи рабочие органы машины и стрела
крана должны находиться в транспортном положении. Передвижение машин вне дорог
под проводами линии электропередачи следует производить в месте наименьшего
провисания проводов, т. е. ближе к опоре.
Монтаж и демонтаж подъемно-транспортных машин и оборудования представляет
собой относительно сложный, трудоемкий и ответственный процесс, который
значительно усложняется тем, что он зачастую выполняется на открытом воздухе
при воздействии неблагоприятных метеорологических явлений, в ряде случаев в
стесненных условиях при одновременной работе на строительной площадке большого
числа машин, транспорта и рабочих, а также в условиях действующего
производства.
Монтаж и демонтаж связаны с работой на высоте, подъемом и перемещением
громоздких и тяжеловесных монтажных элементов, что требует четкой организации и
продуманной технологии работ, обеспечивающих безопасные условия труда как
монтажников, так и рабочих других профессий, занятых в строительном
производстве.
Аварии, поломки и несчастные случаи в процессе монтажа, демонтажа и перевозки
чаще всего происходят из-за неподготовленности мест установки, несоблюдения
технологического процесса монтажа (демонтажа), несоответствия грузоподъемных
средств и технологической оснастки, неправильной строповки монтажных элементов
и их фиксации, неправильного складирования узлов и деталей, работы без
предохранительных средств защиты (касок, предохранительных поясов, рукавиц,
диэлектрических перчаток и т. д.), несоблюдения требований электробезопасности,
присутствия в монтажной зоне посторонних.
Инженерно-технический работник (производитель работ, механик, мастер),
руководящий монтажом или демонтажем, до начала работ обязан провести инструктаж
с членами монтажной бригады.
В проекте производства работ или технологической карте должны учитываться
требования инструкций заводов-изготовителей по монтажу, демонтажу и
транспортированию.
Площадка для монтажа принимается по акту организацией, производящей
монтаж. При приемке проверяется: состояние подъездных путей для завоза на
строительную площадку машины (монтажных элементов); соответствие подъездных
путей для завоза на строительную площадку машины (монтажных элементов);
соответствие размеров площадки требованиям инструкции по монтажу; плотность
основания под рельсовый путь и степень уплотнения грунта при засыпке пазух и
инженерных коммуникаций; обеспечение требований безопасности при привязке
рельсовых путей к строящемуся зданию или котловану (соблюдение расстояний до
выступающих частей здания и призмы обрушения); надежность устройства подпорной
стенки, выполняемой согласно расчету; наличие наружных и подземных коммуникаций
в зоне работы машины; наличие источника электроснабжения необходимой мощности и
устройства подключательного пункта; расстояние от места монтажа до воздушной
линии электропередачи.
Монтаж, демонтаж и перевозка выполняются, как правило,
специализированными монтажными бригадами. Это не только ускоряет процесс
перебазирования и ввод машин в эксплуатацию, но и способствует в определенной
мере обеспечению безопасности работ. В состав монтажных бригад входят
слесари-монтажники и электромонтажники, прошедшие медицинское
освидетельствование, обучение и проверку знаний данной профессии.
Рабочие монтажной бригады обязаны знать: устройство монтируемых машин и
оборудования, способы их монтажа и демонтажа; требования проверки и приемки под
монтаж мест установки машин и оборудования; правила браковки стальных канатов;
технические требования и допуски, предъявляемые к монтажу машин и оборудования;
способы строповки и перемещения монтируемых (демонтируемых) элементов, а также
меры безопасности при работе с ручными машинами, такелажным оборудованием и
технологической оснасткой; способы выверки, балансировки и регулировки
механизмов, оборудования и конструкций машин; правила погрузки (разгрузки)
монтажных элементов машин и оборудования на транспортные средства; требования
безопасности при испытаниях машин и оборудования после окончания монтажа.
Монтажную бригаду обеспечивают исправными грузоподъемными машинами и
механизмами соответствующей грузоподъемности и удовлетворяющими характеру
работы монтажным инструментом, технологической оснасткой и индивидуальными
средствами защиты.
При работе на высоте монтажники должны иметь специальные инструментальные
сумки; это уменьшает возможность падения инструмента и, кроме того, освобождает
руки, что очень важно при подъеме, спуске и передвижении по конструкциям.
Для обеспечения электробезопасности металлические корпусы
электроаппаратуры (пускатели, контроллеры, рубильники) заземляются и
запираются, электропроводка проверяется на отсутствие поврежденных участков
изоляции.
На рабочих местах монтажников не должно быть посторонних предметов, не
применяющихся при монтаже, а проходы и проезды к монтируемой машине и
вспомогательному оборудованию должны быть освобождены и содержаться в чистоте.
Опасную зону на монтажной площадке (зону, где производится монтаж или
демонтаж) ограждают и на ее границах вывешивают знаки безопасности с
соответствующими поясняющими надписями («Стой! Монтаж крана. Проход запрещен»;
«Стой! Опасная зона»). В необходимых случаях ее охраняют специально выделенные
рабочие. В зоне производства монтажных работ монтажники находятся в защитных
касках, а при работе на высоте применяют предохранительные пояса, места
крепления которых заранее указываются.
Зона, где производятся монтажные работы, является опасной, поэтому
монтажники должны быть особенно внимательными к выполнению своих обязанностей,
так как малейшее нарушение правил техники безопасности может привести к аварии
или несчастному случаю. Нахождение посторонних лиц на монтажной площадке не
допускается. При необходимости монтажная площадка очищается от строительных
отходов, снега, льда. При работе в темное время суток дороги, проходы,
лестницы, рабочие места освещаются.
7.1.4 Требования
безопасности при техническом обслуживании и ремонте
Техническое обслуживание и текущий ремонт строительных машин и средств
малой механизации выполняются по графикам, составляемым в соответствии с
инструкцией по проведению планово-предупредительного ремонта строительных
машин, как правило, специализированными бригадами с участием или без участия
машинистов. Техническое обслуживание и текущий ремонт проводят на
производственных базах управлений, участков механизации, а также на
строительных площадках на месте работы в соответствии с технологическими
картами, разработанными организациями, отвечающими за техническое состояние
машин и средств малой механизации, предусматривающими безопасное производство
этих работ.
К техническому обслуживанию и ремонту допускаются рабочие соответствующих
специальностей (слесари, электрослесари, электромонтеры, сварщики и др.),
прошедшие предварительное обучение, знающие устройство ремонтируемой техники,
требования паспортов и инструкций по эксплуатации заводов-изготовителей, а
также требования безопасности при выполнении работ по специальности.
При обслуживании (ремонте) машин бригадным методом рабочие проходят
обучение и проверку знаний по технике безопасности, производственной санитарии
и противопожарной безопасности по всем видам работ, предусмотренных заданием. В
целях предотвращения несчастных случаев принимают меры против самопроизвольного
перемещения машины в целом и отдельных ее частей.
При выполнении работ в условиях строительства самоходную машину
устанавливают на заранее подготовленную площадку, защищенную от ветра и пыли,
обеспечивающую безопасность и надлежащую чистоту при обслуживании. Машину
затормаживают, под гусеницы или колеса подкладывают инвентарные упоры, навесные
рабочие органы опускают в крайнее нижнее положение и опирают на подкладки или
устанавливают на фиксирующие устройства. Находиться под рабочими органами
машины, агрегатами и узлами, поднятыми и удерживаемыми грузоподъемными
механизмами, гидравлическим или пневматическим приводом, запрещается. Прицепную
машину отцепляют от тягача, выключают органы управления и снимают приводные
устройства, у машин с электроприводом выключают пусковые устройства, вынимают
предохранители, а ящики пусковых устройств запирают. Ключ находится у
руководителя работ.
На пусковом устройстве вывешивают знак безопасности с предупредительной
надписью: «Не включать - работают люди!».
При работающем двигателе производить техническое обслуживание и устранять
неисправности запрещается, за исключением регулировки систем питания,
электрооборудования двигателя и опробования действия тормозов.
Машины перед проведением технического обслуживания и ремонта очищают и
моют.
При выполнении работ, связанных со снятием колес (ходовых тележек), под
поднятую (вывешенную) машину (прицеп) устанавливают подставки (козелки), а под
неснятые колеса - упоры (башмаки). Выполнять какие-либо работы на машине,
тягаче, прицепе, удерживаемых только на одних домкратах, не допускается.
Подставки, применяемые для вывешивания машин, должны быть прочными. Применять
для этой цели бочки, ящики, кирпич, диски колес и прочие предметы запрещается.
При монтаже (демонтаже) узлов и деталей применяют инвентарные
приспособления (лестницы-стремянки, стойки, деревянные щиты, специальные
подкладки) и принимают меры против падения деталей и узлов. Применять для этих
целей приставные лестницы и случайные предметы не допускается.
При обслуживании (ремонте) вне смотровой канавы работающие под машиной
обеспечиваются лежаками (подстилками).
Для снятия отдельных агрегатов и деталей, связанного с большим физическим
напряжением, применяют съемники. Съемники не должны иметь трещин, погнутых
стержней или нарушенной формы рабочей поверхности, сорванной и смятой резьбы.
Пользоваться изношенными и неисправными съемниками и приспособлениями
запрещается, так как в этом случае они сами могут быть причиной травмирования.
При невозможности применения съемников или пресса применяют для демонтажных
операций выколотки с медными наконечниками и молотки с медными бойками.
Проводить эти работы с помощью кувалд не допускается.
Определенную опасность представляют монтаж и демонтаж узлов и механизмов
со сжатыми пружинами. Для обеспечения безопасности работы применяют специальные
приспособления, исключающие их действие.
Перед снятием узлов, агрегатов, деталей, связанных с гидравлической
системой или системами смазки, питания и охлаждения, предварительно сливают
масло, охлаждающую жидкость, топливо в специальные емкости, при этом не
допускается расплескивания и проливания жидкостей.
При сборке узлов и агрегатов совпадение отверстий в соединяемых деталях
проверяют ломиками, бородками. Проверять совпадение отверстий руками
запрещается.
Необходимо следить, чтобы при техническом обслуживании и ремонте на
движущихся частях или в корпусах не были оставлены болты, гайки, инструменты,
ветошь.
Технический осмотр и ремонт машин, базой которых являются автомобильные
шасси, как правило, выполняют на смотровой канаве, эстакаде, подъемнике.
Смотровые канавы и эстакады оборудуются направляющими предохранительными
бортами для предотвращения падения машины в канаву или с эстакады во время ее
передвижения. Глубина смотровых канав - не менее 1,6 м, ширина - не менее 0,8
м. По дну канавы кладут решетки (под ноги), в стене канавы предусмотрены ниши
для инструмента. Инструмент и приспособления для технического обслуживания
должны быть исправными, соответствовать своему назначению и обеспечивать
безопасность выполнения работ.
Незнание приемов монтажа и демонтажа, несоблюдение мер безопасности,
несоответствие применяемого инструмента, отсутствие предохранительных
приспособлений являются основной причиной несчастных случаев. Перед подъемом
машины (оси) для снятия колеса в целях предотвращения ее перемещения под
колеса, не подлежащие демонтажу, подкладывают упоры, а после подъема домкратом
под ось ставят козелок. При демонтаже шины предварительно из камеры выпускают
воздух.
Монтажно-демонтажные работы проводят с помощью монтажных лопаток,
предназначенных для данного типа колес. Применять при монтаже и демонтаже шин
ломы, кувалды, трубы, гаечные ключи запрещается.
Монтаж и демонтаж шин проводят на чистом полу или на брезенте. Перед
монтажом осматривают шину, обод, камеру. Внутри покрышки не должно быть грязи,
песка и посторонних предметов. Внутреннюю поверхность покрышки припудривают
тальком.
Обод должен быть правильной формы, не иметь вмятин (забоин) и очищен от
ржавчины и грязи. Одной из наиболее частых причин неисправностей является то,
что шины надевают на грязные, ржавые ободья с погнутыми бортами. Если появились
забоины, их нужно зачистить, после чего обод покрасить и просушить. Нельзя
монтировать шины на заржавленный обод, так как ржавчина разрушает резину.
При монтаже шины следят за правильным положением вентиля. Его перекос не
допускается, так как это может повлечь за собой пропуск воздуха у пятки вентиля
или его обрыв. Монтировать шины на неисправные диски колес, а также применять
не соответствующие размеру шин диски колес и съемные фланцы запрещается.
Стопорное кольцо должно надежно входить в выемку обода своей внутренней
поверхностью. Накачивать смонтированную шину следует с применением ограждений
или съемных предохранительных приспособлений, которыми накрывается шина.
При отсутствии ограждений колесо следует положить замочным кольцом вниз,
поставить к стене или направить в противоположную сторону от рабочего,
производящего накачку. Для предотвращения соскакивания колец используют
монтажные лопатки или П-образные металлические скобы диаметром 20 мм, которые
устанавливают в отверстия дисков колес.
При монтаже шин принимают меры против самопроизвольного демонтажа,
который может произойти из-за неправильного расположения деталей, крепящих шину
на ободе, дефектов колес, попытки исправить положение съемных деталей обода при
помощи молотка (кувалды) или других инструментов даже при частично накачанной
шине и т. д. Применение специальных стендов для демонтажа и монтажа шин
значительно уменьшает трудоемкость этих работ и опасность травмирования.
При монтаже шин ведущих колес обращают внимание на то, чтобы после
установки на машину направление вращения колеса совпало с имеющейся на покрышке
стрелкой. При затяжке гаек не следует наращивать ключи, так как это может
привести к травмированию рабочего, скручиванию шпилек или срыву резьбы. Если
при осмотре будут обнаружены неисправности, которые не могут быть устранены
силами обслуживающего персонала, дальнейшая работа не производится, о чем
докладывается руководителю работ.
По окончании технического обслуживания или ремонта проверяют: крепление
узлов, деталей, натяжение цепей, лент и ремней; наличие и надежность крепления
защитных ограждений; отсутствие посторонних деталей и инструмента.
Правильность сборки проверяют путем прокручивания движущихся частей
вручную или от привода без нагрузки.
7.1.5 Требования
безопасности при эксплуатации машин в осенне-зимний период
Ликвидация сезонности в строительстве требует проведения комплекса
мероприятий по подготовке технического состояния парка строительных машин и
средств малой механизации к эксплуатации в осенне-зимний период.
Необходимо учитывать, что при отрицательных температурах ухудшаются
условия движения, затрудняются управление и проведение технических
обслуживания, снижается надежность работы приводов, появляется опасность
замерзания систем охлаждения двигателей внутреннего сгорания, электролита в
аккумуляторных батареях, возникает опасность поломок из-за появляющихся
перегрузок.
Осенне-зимний режим эксплуатации начинается с момента, когда температура
наружного воздуха снижается до 0°С, а для дизельных двигателей ниже 5°С. Как
показывает практика, в период осенне-зимней эксплуатации увеличивается число
поломок и аварий, вызываемых техническими причинами, основными из которых
являются: отсутствие или неподготовленность средств для технического
обслуживания (водомаслогреек, утеплительных чехлов, цепей противоскольжения);
несоответствие технических характеристик машин условиям эксплуатации при низких
температурах (поломка стрел грузоподъемных кранов, выход из строя гидравлических
систем, тормозных устройств и т. д.); установка машин в зоне призмы обрушения
грунта до момента его промерзания на всю разрабатываемую глубину выемки; разрыв
монтажных петель строительных конструкций из-за несоответствия марок сталей;
затрудненная работа гидравлических приводов (в связи с загустением смазки);
увеличение утечки воздуха и замерзание конденсата (у пневматических приводов).
При низких температурах на 30...40 % уменьшается работоспособность
аккумуляторных батарей в связи с уменьшением их ЭДС.
Для обеспечения надежной и безаварийной работы, а также создания
безопасных и безвредных условий труда для обслуживающего персонала проводится
комплекс с мероприятий по подготовке к условиям осеннее зимней эксплуатации. Подготовка проводится по плану, в
котором предусматривается перечень работ с указанием объемов, сроков и
конкретных исполнителей. Эти мероприятия предусматривают: проведение занятий с
эксплуатационным и ремонтным персоналом по технологии производства работ,
технике безопасности, производственной санитарии и противопожарным
мероприятиям; ремонт производственных помещений и оборудования. При отсутствии
или отдаленности мест эксплуатации машин от ремонтной базы устраиваются
временные помещения; подготовку автомобилей «Техпомощь», агрегатов технического
обслуживания заправщиков топливно-смазочными материалами, водомаслогреек,
чехлов для капотов двигателей внутреннего сгорания, заправочного инвентаря
(насосов, ведер, бидонов, воронок с фильтрами) инструмента; утепление кабин
самоходных машин и установку приборов подогрева; создание запасов зимних сортов
горючего, смазочных материалов, антифриза, резинотехнических изделий и других
эксплуатационных материалов; проведение технического обслуживания по подготовке
к осенне-зимней эксплуатации в соответствии с требованиями инструкций по
эксплуатации заводов-изготовителей машин. При сезонном техническом обслуживании
особое внимание уделяется механизмам управления (сцеплению, рулевому
управлению, тормозам), так как их поломки или неправильные регулировки в зимний
период приводят к авариям; установку скребков для очистки лент конвейеров;
утепление помещений; консервацию строительных машин, средств малой механизации
и транспортных средств, не подлежащих эксплуатации в осенне-зимний период;
замену масел, смазок и жидкостей в агрегатах и механизмах согласно инструкциям
по их применению (замена производится независимо от отработанных машино-часов,
пробега к моменту подготовки к осенне-зимней эксплуатации); проверку состояния
и действия сливных кранов системы охлаждения, устройств для удаления конденсата
из пневматической системы тормозов, приборов отопления кабин, пусковых
подогревателей двигателя; очистку от загрязнений и промывку топливных баков,
топливных фильтров, топливопроводов, бензинового насоса, карбюратора; проверку,
очистку и регулировку насоса высокого давления и форсунок дизельных двигателей;
проверку состояния и зарядку аккумуляторных батарей, определение плотности
электролита и регулировку реле-регулятора.
Для машин, эксплуатирующихся в холодном климате, предусматриваются
дополнительно: установка шин и резинотехнических изделий в специальном
морозостойком исполнении; заправка агрегатов машины маслами, смазками и
рабочими жидкостями, обеспечивающими работоспособность в условиях температур до
минус 50 °С; утепление аккумуляторных батарей; подогрев (или утепление в
комплексе с подогревом) баков с дизельным топливом; обеспечение обзорности из
кабины. Большинство строительных машин в межсменное время находится на открытых
площадках и под навесами. Площадки для хранения машин в этом случае устраивают
на возвышенных местах в стороне от подъездных путей. Их выравнивают и обеспечивают
отвод талых вод. Стационарные площадки оборудуют устройствами для безопасного и
надежного пуска двигателей с использованием горячего воздуха, газовых горелок
инфракрасного излучения, электронагревательных элементов (ТЭН, горячей воды,
пара). В течение зимы площадки и машины систематически очищают от снега.
Территории и помещения, где находятся машины, должны отвечать требованиям
пожарной безопасности и быть обеспечены противопожарными средствами:
огнетушителями, ящиками с песком, лопатами, баграми, топорами, баками с водой,
ведрами и др. Закрытые помещения для хранения машин должны иметь
приточно-вытяжную вентиляцию.
Порядок размещения самоходных машин на местах стоянки определяется на
строительных объектах стройгенпланом, на территориях управлений механизации,
предприятий - руководителями этих организаций. Приказом (распоряжением) по
организации (предприятию) устанавливается перечень лиц, которым разрешен доступ
в зону стоянки в межсменное время.
В зоне стоянки производить какие-либо работы по техническому обслуживанию
и ремонту, а также хранить топливо, смазочные, обтирочные и другие материалы
запрещается.
При временном прекращении эксплуатации на срок более 1 мес машина
подвергается консервации, обеспечивающей ее сохранность. При возобновлении
эксплуатации удаляют средства защиты, заправляют системы, смазывают детали,
проверяют техническое состояние осмотром и опробованием действия механизмов и
агрегатов на ходу.
Перед началом работы машину осматривают. Путем опробования убеждаются в
том, что в передаточных механизмах и системах не произошло примерзания деталей.
Особое внимание обращают на состояние тормозов, так как попадание грязи, воды,
снега может вызвать примерзание тормозных колодок. При примерзании детали
отогревают, лед и грязь удаляют. Трапы, лестницы, площадки машин очищают от
снега и льда, а рабочие органы землеройных машин (ковши, отвалы и т. д.) - от
грунта.
При эксплуатации машин с двигателями внутреннего сгорания обеспечиваются
меры против замерзания воды в системе охлаждения. При применении низкозамерзающих
охлаждающих смесей (антифризов) соблюдаются меры предосторожности, так как
антифриз очень ядовит и попадание даже небольшого его количества в
желудочно-кишечный тракт человека вызывает тяжелые отравления. Лица,
соприкасающиеся с антифризом, предварительно обучаются правилам обращения с
ним. При обращении с антифризом соблюдаются меры личной гигиены. После выдачи,
получения, заправки и проверки уровня антифриза в системе тщательно моют руки с
мылом.
Антифриз перевозят и хранят в исправной металлической таре с
герметическими крышками (пробками), приспособленными для опломбирования. На
таре, в которой хранится и перевозится антифриз, несмываемой краской наносят
предупреждающий знак безопасности с надписью «яд». Следует иметь в виду, что
этиленгликолевые смеси нельзя хранить в оцинкованной таре, так как
этиленгликоль, взаимодействуя с цинком, образует белый аморфный осадок, который
при заполнении системы забивает трубки радиатора. Во время перевозки и хранения
антифриза все сливные, наливные и воздушные отверстия в таре, в том числе и в
порожней, пломбируют. Переливать антифриз при помощи шланга путем подсасывания
ртом запрещается. Систему охлаждения перед заполнением антифризом промывают и
проверяют на герметичность, так как этиленгликолевые смеси способны
просачиваться через соединения, обычно непроницаемые для воды. Заливают
антифриз в систему из заправочной посуды, промытой горячей водой, так как
попадание в него даже незначительного количества топлива или масла снижает
теплопроводность и вызывает вспенивание, что приводит к выбрасыванию антифриза
из системы. При обнаружении вспенивания антифриз сливают и систему промывают
повторно.
При заправке и осмотрах проверяют уровень антифриза в холодном и горячем
состояниях. Уровень не должен превышать 94 % объема системы, в противном случае
при работе двигателя часть антифриза будет выброшена наружу вследствие его
значительного расширения пря нагревании.
При неблагоприятном прогнозе погоды машины в длительные рейсы, как
правило, не направляются. В случае необходимости число направляемых машин
должно быть не менее двух. Машинисты и водители машин перед выездом проходят
инструктаж о мерах безопасности в пути следования. При движении интервалы между
отдельными машинами не должны превышать 100 м. Экипаж каждой машины
обеспечивается необходимым инвентарем, инструментом и запасом продуктов. На
головной машине у старшего группы должны быть рация, палатка с каркасом,
обогревательный прибор, аптечка первой помощи, пеньковые канаты, сигнальные
ракеты, запас топлива, карманные электрические фонари и спички в непромокаемой
упаковке.
При остановке во время пурги между отдельными машинами натягиваются
пеньковые канаты для ориентировки во время перехода от одной машины к другой.
Администрация строительно-монтажных и специализированных организаций
поддерживает регулярную связь с ближайшими метеорологическими станциями и
своевременно оповещает подчиненные ей подразделения и отдельные экипажи машин о
предстоящей перемене погоды (пурге, ураганном ветре, снегопаде и т. п.).
Работающие уходят с объекта по разрешению руководителя работ, при этом он
должен знать маршрут их движения. В необжитых местностях работающих знакомят с
географической схемой и особенностями местности, с правилами ориентировки на
местности и обучают обращению с компасом.
7.2 Техника
безопасности при эксплуатации погрузчика
Механизированный способ погрузочно-разгрузочных работ является
обязательным для грузов массой более 50 кг, а также при подъеме грузов на
высоту свыше 3 м.
Безаварийная и безопасная эксплуатация погрузчиков зависит прежде всего
от квалификации обслуживающего персонала и правильной организации работ,
которая предусматривает соблюдение последовательности операций технологического
цикла.
Анализ показывает, что травмы и аварии происходят в основном вследствие
управления машинами и выполнения такелажных работ рабочими, не прошедшими
специального обучения и инструктажа, из-за использования несоответствующих и
некачественных приспособлений и тары, неправильной строповки и укладки грузов,
нарушения трудовой и производственной дисциплины, а также вследствие нарушения
требований инструкции по эксплуатации.
Для перемещения штучных крупногабаритных грузов и технологического
оборудования с помощью погрузчиков администрацией организации (предприятия)
назначаются такелажники (стропальщики).
Территория площадки, предназначенная для производства
погрузочно-разгрузочных работ, должна быть освобождена от посторонних
предметов, спланирована, освещена и иметь достаточно твердую поверхность,
рассчитанную на восприятие нагрузок от погрузчиков и транспортных средств. В
зоне работы погрузчиков не разрешается ручная переноска и перевозка грузов,
пешеходное движение, прокладка надземных технологических трубопроводов и линий
электропередачи.
Погрузочно-разгрузочные площадки промышленных предприятий, складов, баз,
а также временные площадки строительных объектов и подъездные пути к ним,
рассчитанные на срок службы более года, должны иметь твердое покрытие. В зимнее
время площадки и подъездные пути очищают от снега и льда и посыпают песком или
шлаком. В соответствующих местах площадки устанавливают надписи «Въезд»,
«Выезд», «Разворот», а на внутриплощадочных дорогах и проездах - дорожные знаки
в соответствии с требованиями Правил дорожного движения.
Размеры погрузочно-разгрузочных площадок назначаются с таким расчетом,
чтобы обеспечить необходимый фронт работ для погрузчиков и транспортных
средств. Площадки для погрузки и выгрузки тарных грузов оснащают платформами
или эстакадами.
Расстояние между автомобилями, устанавливаемыми друг за другом (в
глубину), должно быть не менее 1 м, а между стоящими рядом (по фронту) - не
менее 1,5 м. При установке автомобилей для погрузки или разгрузки вблизи стены
здания (сооружения) между зданием и задним бортом кузова обеспечивается
расстояние не менее 0,5 м, при этом заднее колесо автомобиля должно упираться в
бордюрный камень тротуара или в отбойный брус. Расстояние между автомобилем и
штабелем груза должно составлять не менее 1 м.
При погрузке навалом грузы распределяют равномерно по всей площадке
кузова, при этом они не должны возвышаться над бортами. Штучные грузы,
возвышающиеся над бортами, закрепляют или увязывают так, чтобы во время
транспортирования не происходило их самопроизвольного смещения. При этом высшая
точка груза не должна превышать габаритную высоту проездов под мостами,
переходами и в туннелях.
Погрузку и разгрузку железнодорожных полувагонов и платформ начинают
только после полной остановки состава и укладки под колеса с двух сторон
тормозных башмаков. Использовать вместо тормозных башмаков ваги, шпалы, кирпич
и другие предметы не допускается.
Перед открытием бортов или снятием крепежных стоек проверяется
устойчивость уложенных грузов. Во избежание несчастных случаев при открывании
или снятии крепежных стоек рабочие находятся у торцов транспортных средств.
Находиться в момент разгрузки на трубах и лесоматериалах, а также в зоне их
возможного скатывания не допускается.
Штучные грузы начинают разгружать сверху штабеля. Во избежание
опрокидывания полуприцепы разгружают с передней части.
Перед опусканием груза осматривают место, на которое он опускается, и
принимают меры против его падения, опрокидывания или сползания, при этом
соблюдают расстояние, обеспечивающее безопасные проходы шириной не менее 0,7 м
на высоте до 2 м от уровня земли после опускания груза на место.
На месте разгрузки предварительно укладывают необходимой толщины
подкладки, чтобы вилочные подхваты легко и без повреждений извлекались из-под
груза.
При погрузке и разгрузке пылящих грузов машинист обеспечивается пылезащитными
очками и респираторами. Фильтры респираторов меняются по мере загрязнения, но
не реже одного раза в смену.
Если при попытке подъема происходит отрыв задних колес, дальнейший подъем
прекращают и груз опускают.
Грузы, близкие по массе к предельной грузоподъемности, поднимают на
минимальную высоту и транспортируют на минимальной скорости. Укладывать штучные
грузы выше защитного устройства, предохраняющего рабочее место машиниста, не
допускается.
Как исключение отступление от этого требования допускается при перевозке
единичных крупногабаритных грузов. В этом случае погрузчик передвигается задним
ходом или в сопровождении сигнальщика.
Для предотвращения несчастных случаев с людьми, аварий и поломок
запрещается: оставлять погрузчик с работающим двигателем и покидать кабину при
поднятом грузе или рабочем органе; выполнять работы, не свойственные назначению
сменного оборудования; укладывать груз выше защитного устройства,
предохраняющего рабочее место машиниста; укладывать груз краном непосредственно
в ковш погрузчика; находиться под грузом; поднимать и перевозить грузы, масса
которых превышает грузовую характеристику; устанавливать груз на временные
перекрытия, непосредственно на трубы паро- и газопроводов или электрические
кабели, а также прислонять к заборам и стенам строений; устанавливать погрузчик
в охранной зоне линии электропередачи без наряда-допуска, а при наличии его
поднимать и перемещать грузы в отсутствии лица, ответственного за безопасное
производство работ.
Заключение
В данной работе был проведен широкий анализ научной и патентной
литературы, документации на базовую машину и прочих источников. В результате
был разработан вариант модернизации гидросистемы погрузчика «Амкодор-208»,
повышающий его управляемость, безопасность при движении, скорость, и, как
следствие, производительность. Модернизация погрузчика таким образом, как
показано в работе, даст народному хозяйству страны немалый положительный
эффект. К тому же предлагаемые меры по модернизации, в частности, изменение
конструкции гидронасоса и изготовление распределителей, достаточно просты,
имеют малую трудоемкость, что позволяет надеяться на внедрение описанных в
данной работе мероприятий.
Литература
1. Гидропневмоавтоматика и гидропривод
мобильных машин. Объемные гидро- и пневмомашины и передачи: Учеб. пособие для
вузов / А.Ф. Андреев, Л.В. Барташевич, Н.В. Богдан и др.; Под ред. В.В.
Гуськова. - Мн.: Выш. школа. 1987. - 310 с.
2. Гидропневмоавтоматика и гидропривод
мобильных машин. Пневматические и гидравлические системы. Учебное пособие /
Н.В.Богдан. - Мн.: Ураджай. 2002. - 426 с.:ил.
3. Гидрообъемные трансмиссии самоходных
машин / В.А.Петров. - М.: Машиностроение. 1988. - 248 с.: ил.
4. Гидроприводы сельскохозяйственных
машин / З.В.Ловкис. - Мн.: Ураджай. 1986. - 216с.: ил.
5. Теория и проектирование гидро- и
пневмоприводов: учебник для студентов вузов по специальности «Гидравлические
машины, гидроприводы и гидропневмоавтоматика» / К.Л. Навроцкий. - М.: Машиностроение. 1991. - 384с.: ил.
6. Гидравлический привод современных
экскаваторов / В.Ю. Гурбан. - К.: Машгиз. 1963г. 152с.: ил.
7. Строительные машины: Справочник: В 2
т. Т.1.: Машины для строительства промышленных, гражданских сооружений и дорог
/ А.В. Раннев, В.Ф. Корелин, А.В.Жаворонков и др.; Под общ. ред. Э.Н.Кузина. 5-е
изд, переработанное. - М.: Машиностроение. 1991. - 496с.: ил.
8. 208-00.00.010ТО «Погрузчик А-208»
Техническое описание. КБ-2 з-д Амкодор. 1994.
9. 208-00.00.010Р «Погрузчик
Амкодор-208» Основные расчеты. КБ-2 з-д Амкодор. 1994.
10. Режимы резания металлов: Справочник /
Н.В.Баранович, Л.А.Брахман, А.И. Гдалевич
и др. - М.: НИИТавтопром. 1995. - 456с.: ил.
11. Обработка металлов резанием:
справочник технолога. А.АПанов, В.В.Аникин, Н.Г.Бойль и др.
Под ред. А.А.Панова. - М.: Машиностроение.
1988г. - 736с.: ил.
12. Справочное руководство по черчению /
В.Н.Богданов, И.Ф.Малежик, А.П. Верохла и др. -
М.: Машиностроение. 1989. 864с.: ил.
13. Детали машин. Проектирование: Учебное
пособие Л.В. Курмаз, А.Т. Скойбеда. - Мн.: УП «Технопринт». 2001. - 294с.: ил.
14. Справочник
конструктора-машиностроителя: В 3 т. - 5-е издание, переработанное и
дополненное В.И.Анурьев. - М.: Машиностроение. 1978.