Производственная вентиляция
МИНИСТЕРСТВО
ОБРАЗОВАНИЯ И НАУКИ УКРАИНИ
КРАСНОДОНСКИЙ
ГОРНИЙ ТЕХНИКУМ
Реферат по
предмету «БЕЗОПАСНОСТЬ
ТЕХНОЛОГИЧЕСКИХ
ПРОЦЕССОВ И
ПРОИЗВОДСТВ»
на тему: «ПРОИЗВОДСТВЕННАЯ ВЕНТИЛЯЦИЯ»
Студента группы 1ЕП-06
Урюпова Олега
Проверила: Дрокина Т.М
Краснодон 2010
Вентиляцией называется комплекс взаимосвязанных
устройств и процессов для создания требуемого воздухообмена в производственных
помещениях. Основное назначение вентиляции — удаление из рабочей зоны
загрязненного или перегретого воздуха и подача чистого воздуха, в результате
чего в рабочей зоне создаются необходимые благоприятные условия воздушной
среды. Одна из главных задач, возникающих при устройстве вентиляции,—
определение воздухообмена, т. е. количество вентиляционного воздуха,
необходимого для обеспечения оптимального санитарно-гигиенического уровня
воздушной среды помещений.
В зависимости от способа
перемещения воздуха в производственных помещениях вентиляция делится на
естественную и искусственную (механическую).
Применение вентиляции
должно быть обосновано расчетами, при которых учитываются температура,
влажность воздуха, выделение вредных веществ, избыточное тепловыделение. Если в
помещении нет вредных выделений, то вентиляция должна обеспечивать воздухообмен
не менее 30 м3/ч на каждого работающего (для помещений с объемом до
20 м3 на одного работающего). При выделении вредных веществ в воздух
рабочей зоны необходимый воздухообмен определяют исходя из условий их
разбавления до ПДК, а при наличии тепловых избытков — из условий поддержания
допустимой температуры в рабочей зоне.
Естественная
вентиляция производственных
помещений осуществляется за счет разности температур в помещении наружного воздуха
(тепловой напор) или действия ветра (ветровой напор). Естественная вентиляция
может быть организованной и неорганизованной.
При неорганизованной
естественной вентиляции воздухообмен осуществляется за счет вытеснения внутреннего теплового
воздуха наружным холодным воздухом через окна, форточки, фрамуги и двери. Организованная
естественная вентиляция, или аэрация, обеспечивает воздухообмен в
заранее рассчитанных объемах и регулируемый в соответствии с метеорологическими
условиями. Бесканальная аэрация осуществляется при помощи проемов в стенах и
потолке и рекомендуется в помещениях большого объема со значительными избытками
теплоты. Для получения расчетного воздухообмена вентиляционные проемы в стенах,
а также в кровле здания (аэрационные фонари) оборудуют фрамугами, которые
открываются и закрываются с пола помещения. Манипулируя фрамугами, можно
регулировать воздухообмен при изменении наружной температуры воздуха или
скорости ветра (рис. 4.1). Площадь вентиляционных проемов и фонарей
рассчитывают в зависимости от необходимого воздухообмена.
Рис. 4.1. Схема
естественной вентиляции здания: а — при безветрии; б — при ветре;
1 — вытяжные и приточные отверстия; 2 — тепловыделяющий агрегат
В производственных
помещениях небольшого объема, а также в помещениях, расположенных в
многоэтажных производственных зданиях, применяют канальную аэрацию, при которой
загрязненный воздух удаляется через вентиляционные каналы в стенах. Для
усиления вытяжки на выходе из каналов на крыше здания устанавливают дефлекторы
— устройства, создающие тягу при обдувании их ветром. При этом поток ветра,
ударяясь о дефлектор и обтекая его, создает вокруг большей части его периметра
разрежение, обеспечивающее подсос воздуха из канала. Наибольшее распространение
получили дефлекторы типа ЦАГИ (рис. 4.2), которые представляют собой
цилиндрическую обечайку, укрепленную над вытяжной трубой. Для улучшения
подсасывания воздуха давлением ветра труба оканчивается плавным расширением —
диффузором. Для предотвращения попадания дождя в дефлектор предусмотрен колпак.
Рис. 4.2. Схема
дефлектора типа ЦАГИ: 1 — диффузор; 2 — конус; 3 — лапки,
удерживающие колпак и обечайку; 4 — обечайка; 5 — колпак
Расчет дефлектора
сводится к определению диаметра его патрубка. Ориентиро-вочно диаметр патрубка d дефлектора типа ЦАГИ можно вычислить
по формуле:
,
где L — объем вентиляционного воздуха, м3/ч;
— скорость воздуха в патрубке, м/с.
Скорость воздуха (м/с) в
патрубке при учете только давления, создаваемого действием ветра, находят по
формуле
,
где
— скорость ветра, м/с;
— сумма коэффициентов местного
сопротивле-ния вытяжного воздуховода при его отсутствии e = 0,5 (при входе в патрубок); l — дли-на патрубка или вытяжного
воздуховода, м.
С учетом давления,
создаваемого ветром, и теплового давления скорость воздуха в патрубке вычисляют
по формуле
,
где
— тепловое давление Па; здесь
— высота дефлектора, м;
— плотность, соответственно, наружного
воздуха и воздуха внутри помещения, кг/м3.
Скорость движения воздуха
в патрубке составляет примерно 0,2...0,4 скорости ветра, т. е.
. Если дефлектор установлен без вытяжной
трубы непосредственно в перекрытии, то скорость воздуха несколько больше
.
Аэрация применяется для
вентиляции производственных помещений большого объема. Естественный
воздухообмен осуществляется через окна, световые фонари с использованием
теплового и ветрового напоров (рис. 4.3). Тепловое давление, в результате
которого воздух поступает в помещение и выходит из него, образуется за счет
разности температур наружного и внутреннего воздуха и регулируется различной
степенью открытия фрамуг и фонарей. Разность этих давлений на одном и том же
уровне называется внутренним избыточным давлением
. Оно
может быть как положительным, так и отрицательным.
Рис. 4.3. Схема аэрации
здания
При отрицательном
значении
(превышении наружного давления над
вну-тренним) воздух поступает внутрь помещения, а при положительном значении
(превышении внутреннего давления над
наружным) воздух выходит из помещения. При
= 0
движения воздуха через отверстия в наружном ограждении не будет. Ней-тральная зона
в помещении (где
= 0) может быть только при
действии одних те-плоизбытков; при ветре с теплоизбытками она резко смещается
вверх и исчезает. Рас-стояния нейтральной зоны от середины вытяжного и
приточного отверстий обратно пропорциональны квадратам площадей отверстий. При
, где
—
площади, соответственно, входных и выпускных отверстий, м2;
—высоты расположения уровня равных
давлений, соответственно, от входного до вы-пускного отверстий, м.
Расход воздуха G, который протекает через отверстие,
имеющее площадь F, вычисляют
по формуле:
,
где G — массовый секундный расход воздуха,
т/с; m — коэффициент расхода, зависящий от
условий истечения; r —
плотность воздуха в исходном состоянии, кг/м3;
— разность давлений внутри и снаружи
помещения в данном отверстии, Па.
Ориентировочное
количество воздуха, выходящего из помещения через 1 м2 площади
отверстия, с учетом только теплового давления и при условии равенства площадей
отверстий в стенках и фонарях и коэффициенте расхода m = 0,6 можно определить по упрощенной
формуле:
,
где L — количество воздуха, м3/ч;
Н — расстояние между центрами нижних и верхних отверстий, м;
— разность температур: средней (по
высоте) в помещении и наружной, ° С.
Аэрация с использованием
ветрового давления основана на том, что на наве-тренных поверхностях здания
возникает избыточное давление, а на заветренных сторо-нах разрежение. Ветровое
давление на поверхности ограждения находят по формуле:
,
где k — аэродинамический коэффициент,
показывающий, какая доля динамического давления ветра преобразуется в давление
на данном участке ограждения или кровли. Этот коэффициент можно принять в
среднем равным для наветренной стороны + 0,6, а для подветренной — -0,3.
Естественная вентиляция
дешева и проста в эксплуатации. Основной ее недостаток заключается в том, что
приточный воздух вводится в помещение без предварительной очистки и подогрева,
а удаляемый воздух не очищается и загрязняет атмосферу. Естественная вентиляция
применима там, где нет больших выделений вредных веществ в рабочую зону.
Искусственная
(механическая) вентиляция устраняет недостатки естественной вентиляции. При механической
вентиляции воздухообмен осуществляется за счет напора воздуха, создаваемого
вентиляторами (осевыми и центробежными); воздух в зимнее время подогревается, в
летнее—охлаждается и кроме того очищается от загрязнений (пыли и вредных паров
и газов). Механическая вентиляция бывает приточной, вытяжной,
приточно-вытяжной, а по месту действия — общеобменной и местной.
При приточной системе вентиляции
(рис. 4.4, а) производится забор воздуха извне с помощью вентилятора
через калорифер, где воздух нагревается и при необходимости увлажняется, а
затем подается в помещение. Количество подаваемого воздуха регулируется
клапанами или заслонками, устанавливаемыми в ответвлениях. Загрязненный воздух
выходит через двери, окна, фонари и щели неочищенным.
При вытяжной системе
вентиляции (рис. 4.4, б) загрязненный и перегретый воздух удаляется
из помещения через сеть воздуховодов с помощью вентилятора. Загрязненный воздух
перед выбросом в атмосферу очищается. Чистый воздух подсасывается через окна,
двери, неплотности конструкций.
Приточно-вытяжная
система вентиляции
(рис. 4.4, в) состоит из двух отдельных систем — приточной и вытяжной,
которые одновременно подают в помещение чистый воздух и удаляют из него
загрязненный. Приточные системы вентиляции также возмещают воздух, удаляемый
местными отсосами и расходуемый на технологические нужды: огневые процессы,
компрессорные установки, пневмотранспорт и др.
Для определения
требуемого воздухообмена необходимо иметь следующие исходные данные: количество
вредных выделений (тепла, влаги, газов и паров) за 1 ч, предельно допустимое
количество (ПДК) вредных веществ в 1 м3 воздуха, подаваемого в
помещение.
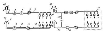
Рис. 4.4. Схема
приточной, вытяжной и приточно-вытяжной механической вентиляции: а —
приточная; 6 — вытяжная; в — приточно-вытяжная; 1 —
воздухоприемник для забора чистого воздуха; 2 — воздуховоды; 3 —
фильтр для очистки воздуха от пыли; 4 — калориферы; 5 —
вентиляторы; 6 — воздухораспределительные устройства (насадки); 7
— вытяжные трубы для выброса удаляемого воздуха в атмосферу; 8 —
устройства для очистки удаляемого воздуха; 9 — воздухозаборные отверстия
для удаляемого воздуха; 10 — клапаны для регулирования количества
свежего вторичного рециркуляционного и выбрасываемого воздуха; 11 —
помещение, обслуживаемое приточно-вытяжной вентиляцией; 12 — воздуховод
для системы рециркуляции
Для помещений с
выделением вредных веществ искомый воздухообмен L, м3/ч, определяется из условия баланса
поступающих в него вредных веществ и разбавления их до допустимых концентраций.
Условия баланса выражаются формулой:
,
где G — скорость выделения вредного
вещества из технологической установки, мг/ч; Gпр — скорость поступления вредных
веществ с притоком воздуха в рабочую зону, мг/ч; Gуд —
скорость удаления разбавленных до допустимых концентраций вредных веществ из
рабочей зоны, мг/ч.
Заменив в выражении Gпр и Gуд на
произведение
и
, где
и
—
соответственно концентрации (мг/м3) вредных веществ в приточном и
удаленном воздухе, a
и
объем приточного и удаляемого воздуха в
м3 за 1 час, получим

=
Для поддержания
нормального давления в рабочей зоне должно выполняться равенство
, тогда

-
Необходимый воздухообмен,
исходя из содержания в воздухе водяных паров, определяют по формуле:
,
где
— количество удаляемого или приточного
воздуха в помещении, м3/ч; Gп — масса водяного пара, выделяющегося
в помещении, г/ч;
— влагосодержание удаляемого
воздуха, г/кг, сухого воздуха;
— влагосодержание
приточного воздуха, г/кг, сухого воздуха; r — плотность приточного воздуха, кг/м3.
Влагосодержание d (г/кг) воздуха, т.е. отношение массы
водяного пара, содержащегося во влажном воздухе, к единице массы сухого воздуха
определяют по формуле:
где
— соответственно массы (г) водяного
пара и сухого воздуха. Необходимо иметь в виду, что значения
и
принимаются
по таблицам физической характеристики воздуха в зависимости от значения
нормируемой относительной влажности вытяжного воздуха.
Для определения объема
вентиляционного воздуха по избыточному теплу необходимо знать количество тепла,
поступающего в помещение от различных источников (приход тепла),
, и количество тепла, расходуемого на
возмещение потерь через ограждения здания и другие цели,
, разность
и
выражает количество тепла, которое идет на нагревание воздуха в помещении и
которое должно учитываться при расчете воздухообмена.
Воздухообмен, необходимый
для удаления избыточного тепла, вычисляют по формуле:
,
где
— избыточное количество тепла, Дж/с,
—температура удаляемого воздуха, ° К;
—температура приточного воздуха, ° К; С
— удельная теплоемкость воздуха, Дж/(кг×К); r —
плотность воздуха при 293° К, кг/м3.
Местная вентиляция бывает вытяжная и приточная?
Вытяжную вентиляцию устраивают, когда загрязнения можно улавливать
непосредственно у мест их возникновения. Для этого применяют вытяжные шкафы,
зонты, завесы, бортовые отсосы у ванн, кожухи, отсосы у станков и т.д. К
приточной вентиляции относятся воздушные души, завесы, оазисы.
Вытяжные шкафы работают с естественной или
механической вытяжкой. Для удаления из шкафа избытков тепла или вредных
примесей естественным путем необходимо наличие подъемной силы, которая
возникает, когда температура воздуха в шкафу превышает температуру воздуха в
помещении. Удаляемый воздух должен иметь достаточный запас энергии для
преодоления аэродинамического сопротивления на пути от входа в шкаф до места
выброса в атмосферу.
Объемный расход воздуха,
удаляемого из вытяжного шкафа при естественной вытяжке (рис. 4.5), (м3/ч)
где h — высота открытого проема шкафа, м; Q — количество тепла, выделяемого в
шкафу, ккал/ч; F
— площадь открытого
(рабочего) проема шкафа, м2.
Рис. 4.5. Схема вытяжного
шкафа с естественной вытяжкой: 1 — уровень нулевых давлений; 2 —
эпюра распределения давлений в рабочем отверстии; Т1 —
температура воздуха в помещении; T2 — температура газов внутри шкафа
Необходимая высота вытяжной трубы (м)
,
где
— сумма всех сопротивлений прямой трубы
на пути движения воздуха; d
— диаметр прямой трубы, м (предварительно задается).
При механической вытяжке
,
где v — средняя скорость всасывания в
сечениях открытого проема, м/с.
Бортовые отсосы устраивают у производственных ванн
для шкафа удаления вредных паров и газов, которые выделяются из растворов ванн.
При ширине ванны до 0,7 м устанавливают однобортовые отсосы с одной из
продольных ее сторон. При ширине ванны более 0,7 м (до 1 м) применяют
двухбортовые отсосы (рис. 4.6).
Объемный расход воздуха,
отсасываемого от горячих ванн одно- и двухбортовыми отсосами, находят по
формуле:
,
где L — объемный расход воздуха, м3/ч,
k3 — коэффициент запаса, равный
1,5...1,75, для ванн с особо вредными растворами 1,75...2; kТ — коэффициент для учета подсоса
воздуха с торцов ванны, зависящий от отношения ширины ванны В к ее длине
l; для однобортового простого отсоса
; для двухбортового —
; С — безразмерная
характеристика, равная для однобортового отсоса 0,35, для двухбортового — 0,5; j —угол между границами всасывающего
(рис. 4.7); (в расчетах имеет значение 3,14); Тв и Тп
— абсолютные температуры, соответственно, в ванне и воздуха в помещении, °К; g=9,81 м/с2.
Вытяжные зонты применяют, когда выделяющиеся
вредные пары и газы легче окружающего воздуха при незначительной его
подвижности в помещении. Зонты могут быть как с естественной, так и с
механической вытяжкой.
Рис. 4.6. Двухбортовой
отсос от ванны
При естественной
вытяжке начальный объемный
расход воздуха в тепловой струе, поднимающейся над источником, определяют по
формуле:
,
где Q — количество конвективного тепла,
Вт; F — площадь горизонтальной проекции
поверхности источника тепловыделений, м2; Н — расстояние от
источника тепловыделений до кромки зонта, м.
При механической
вытяжке аэродинамическая
характеристика зонта включает скорость по оси зонта, которая зависит от угла
его раскрытия; с увеличением угла раскрытия увеличивается осевая скорость по
сравнению со средней. При угле раскрытия 90° скорость по оси составляет l,65v (v
— средняя скорость, м/с), при угле раскрытия 60° скорость по оси и по всему
сечению равна v.
В общем случае расход
воздуха, удаляемого зонтом,
,
где v — средняя скорость движения воздуха
в приемном отверстии зонта, м/с; при удалении тепла и влаги скорость может быть
принята 0,15...0,25 м/с; F
— площадь расчетного сечения зонта, м2.
Приемное отверстие зонта
располагают над тепловым источником; оно должно соответствовать конфигурации
зонта, а размеры принимают несколько большими, чем размеры теплового источника
в плане. Зонты устанавливают на высоте 1,7...1,9 м над полом.
Для удаления пыли от
различных станков применяют пылеприемные устройства в виде
защитно-обеспыливающих кожухов, воронок и т.д.
Рис. 4.7. Угол между
границами всасывающего факела при различном расположении ванны: а — у
стены (
); б — рядом с ванной без отсоса
(
); в — отдельно (
); 1 — ванна с отсосом; 2
— ванна без отсоса.
В расчетах принять p = 3,14
Объемный расход воздуха L (м3/ч), удаляемого от
заточных, шлифовальных и обдирочных станков, рассчитывают в зависимости от
диаметра круга dкp(мм), а именно:
при
< 250 мм L = 2
,
при
250...600 мм L= 1,8
;
при
> 600 мм L = 1,6
.
Расход воздух (м3/ч),
удаляемого воронкой, определяют по формуле:
,
где VH —начальная скорость вытяжного факела
(м/с), равная скорости транспортирова-ния пыли в воздуховоде, принимается для
тяжелой наждачной пыли 14...16 м/с и для легкой минеральной 10...12 м/с; l — рабочая длина вытяжного факела, м;
k — коэффи-циент, зависящий от формы и
соотношения сторон воронки: для круглого отверстия k = 7,7 для прямоугольного с соотношением сторон от 1:1
до 1:3 k = 9,1; Vk — необходимая конечная скорость
вытяжного факела у круга, принимаемая равной 2 м/с.
ЛИТЕРАТУРА
1. Безопасность жизнедеятельности/Под
ред. Русака О.Н.— С.-Пб.: ЛТА, 1996.
2. Белов С.В. Безопасность
жизнедеятельности — наука о выживании в техносфере. Материалы НМС по дисциплине
«Безопасность жизнедеятельности». — М.: МГТУ, 1996.
3. Всероссийский мониторинг социально-трудовой сферы 1995 г.
Статистический сборник.— Минтруд РФ, М.: 1996.
4. Гигиена окружающей среды./Под ред.
Сидоренко Г.И.— М.: Медицина, 1985.
5. Гигиена труда при воздействии
электромагнитных полей./Под ред. Ковшило В.Е. — М.: Медицина, 1983.
6. Золотницкий Н.Д., Пчелиниев
В.А.. Охрана труда в строительстве.— М.: Высшая школа, 1978.
7. Кукин
П.П., Лапин В.Л., Попов В.М., Марчевский Л.Э., Сердюк Н.И. Основы
радиационной безопасности в жизнедеятельности человека.— Курск, КГТУ, 1995.
8. Лапин В.Л., Попов В.М., Рыжков
Ф.Н., Томаков В.И. Безопасное взаимодействие человека с техническими
системами.— Курск, КГТУ, 1995.
9. Лапин В.Л., Сердюк Н.И.
Охрана труда в литейном производстве. М.: Машиностроение, 1989.
10. Лапин В.Л., Сердюк Н.И.
Управление охраной труда на предприятии.— М.: МИГЖ МАТИ, 1986.
11. Левочкин Н.Н. Инженерные
расчеты по охране труда. Изд-во Красноярского ун-та, -1986.
12. Охрана труда в машиностроении./Под ред. Юдина Б.Я.,
Белова С.В. М.: Машиностроение, 1983.
13.
Охрана труда. Информационно-аналитический бюллетень. Вып. 5.— М.: Минтруд РФ,
1996.
14. Путин В.А., Сидоров А.И.,
Хашковский А.В. Охрана труда, ч. 1.—Челябинск, ЧТУ, 1983.
15. Рахманов Б.Н., Чистов Е.Д.
Безопасность при эксплуатации лазерных установок.— М.: Машиностроение, 1981.
16. Саборно Р.В., Селедцов В.Ф.,
Печковский В.И. Электробезопасность на производстве. Методические
указания.— Киев: Вища Школа, 1978.
17. Справочная книга по охране
труда/Под ред. Русака О.Н., Шайдорова А.А.— Кишинев, Изд-во «Картя
Молдовеняскэ», 1978.
18. Белов С.В., Козьяков А.Ф.,
Партолин О.Ф. и др. Средства защиты в машиностроении. Расчет и
проектирование. Справочник./Под ред. Белова С.В.—М.: Машиностроение, 1989.
19. Титова Г.Н. Токсичность
химических веществ.— Л.: ЛТИ, 1983.
20. Толоконцев Н.А. Основы
общей промышленной токсикологии.— М.: Медицина, 1978.
21. Юртов Е.В., Лейкин Ю.Л.
Химическая токсикология.— М.: МХТИ, 1989.