Совершенствоание снабженческо-сбытовой политики
Содержание
Аналитическая часть
Раздел
1. Комплексный анализ производственно-хозяйственной деятельности предприятия
1.1
Общая характеристика ОАО «Русполимет»
1.2 Анализ основных технико-экономических
показателей предприятия, включая конкурентоспособность предприятия и продукции.
1.3 Анализ эффективности использования
производственных ресурсов.
1.4 Анализ объёмов производства.
1.5 Анализ качества и конкурентоспособности
продукции.
1.6 Анализ внешней конкурентной среды.
1.7 Анализ затрат на производство.
1.8 Анализ прибыли и рентабельности
1.9 Анализ безубыточности
1.10 Анализ финансового состояния предприятия и
вероятности банкротства
1.11 Комплексный анализ эффективности производства
1.12 Спецанализ анализ деятельности ОМТС
Раздел 2. Технологическая часть.
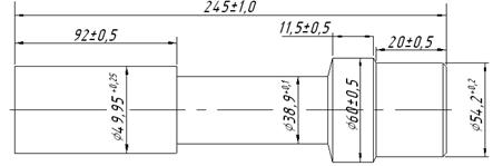
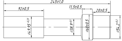
2.1 Краткая характеристика детали.
2.2 Анализ технологичности изделия, выбор и описание
типа производства, расчет такта или партии запуска деталей
2.3 Разработка технологического процесса
изготовления детали.
2.4 Расчёт калькуляции себестоимости детали из
заготовки-штамповки.
2.5 Определение технико-экономических показателей
Раздел 3. Организационно-экономическая часть.
3.1 Проектируемые организационно-экономические мероприятия.
3.2 Социально-экономическая эффективность от
введения проектных мероприятий
Раздел 4. Безопасность труда и экология. Анализ и
проектирование соответствующих мероприятий с экологическим основанием.
Раздел 5. Управление внедрением проектных
мероприятий.
5.1 Суммарная эффективность мероприятий за весь их
жизненный цикл.
5.2
Перечень работ по внедрению проектных мероприятий с указанием ответственности
исполнителя.
5.3 Сетевой график внедрения мероприятий с расчётом
пути табличным или секторным способом.
Заключение
Список использованной литературы.
Приложения
1.
Аналитическая часть
Комплексный
анализ производственно-хозяйственной деятельности предприятия ОАО «Русполимет»
1.1
Общая характеристика предприятия
ОАО
«Русполимет» - производит широкий спектр кольцевой продукции, востребованной
производителями транспортного машиностроения, электротехнического
машиностроения, авиационной, ракетно-космической отраслей, энергетического и
атомного машиностроения.
Современный
кольцепрокатный комплекс и отработанная технология производства на ОАО
«Русполимет» позволяет производить кольцевые заготовки для максимально широкого
диапазона типоразмеров диаметром до 6000 мм, высотой до 1200 мм, массой до 12000 кг.
Собственный
механообрабатывающий комплекс позволяет поставлять кольцевые заготовки в механически
обработанном состоянии.
Также
в интересах своих партнеров ОАО «Русполимет» ввел в эксплуатацию
газостатический комплекс ABB-ASEA
QIH-345 для:
-
высокотемпературной газостатической обработки крупных фасонных отливок
ответственного назначения и стали, алюминиевых, магниевых, титановых и других
специальных сплавов;
-
горячего изостатического прессования крупногабаритных заготовок из порошка и
гранул никелевых, железных и алюминиевых сплавов с использованием герметичных
вакуумированных формообразующих оболочек.
Полное
фирменное наименование: Открытое акционерное общество «Русполимет».
Сокращенное
фирменное наименование: ОАО «Русполимет».
Место
нахождения предприятия: Россия. Нижегородская область, г. Кулебаки, ул.
Восстания, д.1.
Почтовый
адрес: Россия, 607010, Нижегородская область, г. Кулебаки, ул. Восстания, д. 1.
Основными
покупателями продукции ОАО «Русполимет» являются российские машиностроительные,
авиационные, нефтяные, газовые промышленности. А также зарубежные партнеры из
стран СНГ и дальнего зарубежья (Латвии, Украины, Эстонии, Германии, Финляндии,
Индии и т. д.)
Реализация
продукции, выполнение работ и предоставление услуг осуществляются по ценам и
тарифам, устанавливаемым самостоятельно, кроме случаев, предусмотренных
законодательством.
Предприятие
«Русполимет» может создавать филиалы и открывать представительства на
территории РФ и за ее пределами с соблюдением требований действующего
законодательства Российской Федерации, а также соответствующих законодательств
иностранных государств по месту нахождения филиалов и представительств, если
иное не предусмотрено международным договором РФ. Оно имеет Филиал «Технический
центр открытого акционерного общества «Русполимет» в г. Москва.
1.2
Анализ основных технико-экономических показателей
Деятельность
предприятия характеризуется определенной системой экономических показателей,
каждый из которых раскрывает какую-либо одну сторону хозяйственной
деятельности, а в системе показателей выявляется целостная картина
экономического состояния производства.
Таблица
1.1.-Анализ основных экономических показателей
|
№ п/п
|
Показатели
|
Усл.
обозн.
|
Ед. изм.
|
Базовый период, (2007г.) П0
|
Анализир. период, (2008г.) П1
|
Индекс
|
Абсол. отклонение
|
Темп прироста, %
|
|
1
|
2
|
3
|
4
|
5
|
6
|
7
|
8
|
9
|
|
1.
|
Прибыль от реализации
|
Пр
|
тыс. руб.
|
1014023
|
454888
|
0,4485
|
-559135
|
-55,15
|
|
2.
|
Товарная продукция
|
Тп
|
тыс. руб.
|
4571980
|
3325100
|
0,7272
|
-1246880
|
-27,28
|
|
3.
|
Реализованная продукция
|
Рп
|
тыс. руб.
|
4206336
|
2986593
|
0,7100
|
-1219743
|
-29
|
|
4.
|
Основные производственные фонды
|
Фоп
|
тыс. руб.
|
1523993
|
2216733
|
1,4546
|
692740
|
+45,46
|
|
5.
|
Оборотные фонды
|
Фно
|
тыс. руб.
|
1759328
|
3226966
|
1,8342
|
1467638
|
+83,42
|
|
6.
|
Материальные затраты
|
Мз
|
тыс. руб.
|
2540336
|
1777470,4
|
0,6997
|
-762865,6
|
-30,03
|
|
7.
|
Численность персонала
|
Чп
|
чел.
|
3837
|
3705
|
0,9655
|
-132
|
-3,45
|
|
8.
|
Фонд заработной платы
|
Фзп
|
тыс. руб.
|
381770
|
439036
|
1,1500
|
57266
|
+15
|
|
9.
|
Себестоимость продукции
|
Сп
|
тыс. руб.
|
3192313
|
2531705
|
0,7930
|
-660608
|
-20,7
|
|
10.
|
Фондоотдача
|
Фотд
|
руб. руб.
|
3
|
1,5
|
0,5
|
-1,5
|
-50
|
|
11.
|
Материалоотдача
|
Мотд
|
руб. руб.
|
1,7273
|
1,7442
|
1,0097
|
0,01
|
+0,6
|
|
12.
|
Средняя зарплата
|
Зср
|
руб.
|
99497
|
118498
|
1,1909
|
19001
|
+19,09
|
|
13.
|
Производительность труда
|
Пт
|
руб./ чел.
|
1191551
|
897463
|
0,7531
|
-294088
|
-24,69
|
|
14.
|
Затраты на 1руб. ТП
|
Зр
|
коп.
|
70
|
76
|
1,0857
|
6
|
+9
|
|
15.
|
Рентабельность продаж
|
Rпр
|
%
|
24,1000
|
15,2300
|
0,6319
|
-8,9
|
-37
|
|
16.
|
Коэффициент оборачиваемости капитала
|
Кок
|
обороты
|
2,39
|
0.93
|
0,0.3891
|
-1,46
|
-61,09
|
По
результатам анализа основных показателей можно сделать следующие выводы о
деятельности предприятия:
1.
За
анализируемый период прибыль от реализации продукции снизилась на 559 135
тыс.руб. и составила 454888 тыс.руб. В результате темп прироста прибыли от
реализации продукции составил минус 55,15 %. Из этого следует, что у
предприятия имеются средства для оплаты долгов, но был не выполнен план за 2008
год по реализации продукции, вследствие чего ОАО «Русполимет» недополучило прибыль.
2.
Превышение
темпов прироста средней заработной платы одного работника (19,09 %) над темпом
прироста производительности труда (минус 24,69 %) характеризует регрессивную
тенденцию развития предприятия.
3.
Темп
прироста товарной продукции в 2008 г составил минус 27,28 %, а темп прироста
материальных затрат минус 30,03 % и темп прироста стоимости основных
производственных фондов 58,68 %. Это свидетельствует о том, что на предприятии
реализован экстенсивный путь развития.
4.
Так
как производительность труда уменьшилась на 24,69 %, фондоотдача уменьшилась на
50 % это говорит о снижение эффективности использования живого труда, основных
производственных фондов и материальных ресурсов.
5.
Рентабельность
продаж уменьшилась на 37 %, что говорит о снижении эффективности использования
текущих затрат.
6.
Снижение
оборачиваемости капитала в анализированном периоде на 61,09% говорит о снижении
эффективности его использования.
1.3
Анализ эффективности использования производственных ресурсов
1.3.1
Анализ эффективности использования основных фондов
Основным
показателем эффективности использования основных фондов является фондоотдача,
характеризующая объем продукции, приходящейся на 1руб. основных фондов:
Фотд
=
, руб./руб.
Фотд0
= 3, руб./руб. Фотд1 = 1,5, руб./руб.
На
фондоотдачу влияют следующие факторы:
1) изменение
товарной продукции
ΔФотд(ТП)
=
= -0,82 руб./руб.
2) изменение
стоимости ОПФ
ΔФотд(Фоп)
=
= -0,68 руб./руб.
Влияние
двух факторов:
ΔФотд
= ΔФотд(ТП) + ΔФотд(Фоп) = -1,5
руб./руб.
ΔФотд
= Фотд1 – Фотд0 = -1,5 руб./руб.
Относительный
ущерб:
ЭоФоп
= Фоп0 × Iрп
-
Фоп1 = -1134697,97 тыс.руб.
При
анализе эффективности использования основных фондов учитывалось изменение
фондоотдачи.
Относительный
перерасход от эффективного использования основных средств составила 1134697,97
тыс.рублей. Таким образом, фондоотдача в анализируемом периоде уменьшилась на
1,5 руб/руб, на это повлияли следующие факторы:
1.
снижение товарной продукции в анализируемом периоде по сравнению с базовым на
1246880 тыс. рублей.
2.
неэффективное использование основных производственных фондов в анализируемом
периоде.
1.2.3
Анализ эффективности использования предметов труда
Основным
показателем использования предметов труда является материалоемкость,
характеризующая величину материальных затрат на 1руб. выпущенной продукции.
Ме
=
, руб./руб.
Ме0
= 0,55 руб./руб. Ме1 = 0,53 руб./руб.
На
материалоемкость влияют факторы:
1) изменение
материальных затрат
ΔМе(Мз)
=
= -0,17 руб./руб.
2) изменение
товарной продукции
ΔМе(ТП)
=
= 0,15 руб./руб.
Общее
влияние двух факторов:
ΔМе
= ΔМе(Мз) + ΔМе(ТП) = -0,02
руб./руб.
ΔМе
= Ме1 – Ме0 = 0,5346 – 0,5556 =
-0,02 руб./руб.
Относительная
экономия:
Эо
Мз= Мз0 × Iрп
– Мз 1 = 26168,16 тыс.руб.
Итогом
анализа эффективности использования предметов труда стало уменьшение материалоемкости
на 3,78%. Влияние на материалоемкость оказало в первую очередь увеличение
товарной продукции на 5%. Материальные затраты в свою очередь увеличились на 3%
, что обусловлено ростом выпуска продукции.
Результатом
эффективного использования предметов труда явилась экономия в размере 11,04
млн. рублей.
1.3.3
Анализ эффективности использования трудовых ресурсов
Основным
показателем эффективности использования средств труда является
производительность труда, т.е. выработка на одного человека.
Пт
=
, тыс.руб./чел.
Пт0
=1191,55 тыс.руб./чел. Пт1 = 897,46 тыс.руб./чел.
1. изменение
товарной продукции
ΔПт(ТП)
=
= -324,96
тыс.руб./чел.
2. изменение
численности персонала
ΔПт(ЧП)
=
= 30,87
тыс.руб./чел.
Влияние
двух факторов:
ΔПт
= ΔПт(тп) + ΔПт(П) = -294,08тыс.руб./чел.
ΔПт
= Пт1 – Пт0 = 897,463 – 1191,551 =
-294,08 тыс.руб./чел.
Относительный
ущерб:
ЭоФзп
= Фзп0 × Iрп
– Фзп 1 = -167979,3 тыс.руб.
Проанализировав
эффективность использования средств труда делаем вывод о том, что
производительность труда в анализируемом периоде по сравнению с базовым
периодом уменьшилась на 24,69 %. На это в первую очередь повлияло уменьшение
товарной продукции на 27,28%,, так же на это повлияло уменьшение численности
персонала на 3,45 %, но при этом выработка в 2008 году значительно уменьшилась.
Однако,
на предприятии наблюдается следующий диссонанс: заработная плата растет, а
производительность труда уменьшается . Рост абсолютной величины средней
заработной платы сотрудников в 2008 году составил 15 %. Это говорит об
экстенсивном пути развития предприятия. Поэтому наблюдается относительный
перерасход 167979,3тыс.руб.. Не соответственное увеличение заработной платы при
соответствующей производительности труда может привести предприятие к
непомерному росту затрат и снижению показателей прибыльности. В целом данное
финансовое состояние на предприятии характеризует неэффективность использования
человеческих ресурсов.
1.3.4
Анализ показателей оборачиваемости оборотных средств
Ускорение
оборачиваемости оборотных средств повышает прибыль, высвобождает денежные
ресурсы, улучшает финансовые показатели предприятия.
Анализ
оборачиваемости оборотных средств проводится с помощью следующих показателей:
-
коэффициент оборачиваемости;
-
коэффициент закрепления оборотных средств в обороте;
-
длительность одного оборота.
Коэффициент
оборачиваемости показывает количество оборотов, которое делают оборотные средства:
Коб
=
Рассчитаем
коэффициент оборачиваемости оборотных средств за базовый и анализируемый
период:
Коб0
=
= = 2,39; Коб1
=
= = 0,93
Коэффициент
закрепления оборотных средств в обороте показывает, сколько оборотных средств
требуется для получения 1руб. реализованной продукции:
Кз
=
=
Рассчитаем
коэффициент закрепления оборотных средств за базовый и анализируемый период:
Кз0
=
=
= 0,42 Кз1 =
=
= 1,08
Длительность
одного оборота оборотных средств показывает, сколько дней оборотные средства
совершают полный оборот:
То
=
,
где
Д – число дней в году, Д=360дн.
Рассчитаем
длительность одного оборота оборотных средств за базовый и анализируемый
период:
То0
=
= 151 дн.; То1
=
= 387 дн.
Результаты
расчета представить в виде таблицы 2.
Таблица
1.2.-Анализ оборачиваемости оборотных средств
|
№ п/п
|
Показатели
|
Базовый период (2007),П0
|
Анализир. период (2008),П1
|
Индекс, I=П1/П0
|
Абсол. откл., Па=П1-П0
|
Темп прироста, Tпр=(I-1)×100
|
|
1.
|
Коэффициент оборачиваемости
|
2,39
|
0,93
|
0,39
|
-1,46
|
-61
|
|
2.
|
Коэффициент закрепления оборотных средств в
обороте
|
0,42
|
1,08
|
2,57
|
0,66
|
157
|
|
3.
|
Длительность одного оборота оборотных средств
|
151
|
387
|
2,56
|
236
|
156
|
Проанализировав
показатели оборачиваемости оборотных средств (коэффициент оборачиваемости,
коэффициент закрепления оборотных средств в обороте, длительность одного
оборота) можно сделать выводы об их замедлении. Это в свою очередь может
повлиять на увеличение длительности цикла воспроизводства капитала предприятия.
Коэффициент
оборачиваемости снизился на 61,09%. Это говорит о том, что предприятию в
анализируемом периоде потребуется высвобождение денежных ресурсов для
расширения производства.
Длительность
цикла оборота основного капитала влияет на цикличность развития предприятия. В
анализируемом периоде она увеличилась на 236 дней. Это может повлиять на
ухудшение финансовых показателей предприятия, например, таких как выручка от
продаж, реализованная продукция.
Коэффициент
закрепления оборотных средств увеличился на 0,66%.
1.4
Анализ объемов производства
Основными
показателями объем производства служат валовая, товарная и реализованная
продукция.
Таблица
1.3.-Анализ объемов производства продукции
|
№ п/п
|
Показатели
|
Усл.
обозн
|
Ед. изм.
|
Базовый период (2007г), П0
|
Анализир. период (2008г), П1
|
Индекс I=П1/П0
|
Абсол. откл.,
Па=П1-П0
|
Темп прироста,
Tпр=(I-1)×100
|
|
1
|
2
|
3
|
4
|
5
|
6
|
7
|
8
|
9
|
|
1.
|
Валовая продукция
|
Вп
|
4948265
|
3835960
|
0,7752
|
-1112305
|
-22,48
|
|
2.
|
Товарная продукция
|
Тп
|
тыс. руб.
|
4571980
|
3325100
|
0,7272
|
-1246880
|
-27,28
|
|
3.
|
Реализованная продукция
|
Рп
|
тыс. руб.
|
4206336
|
2986593
|
0,7100
|
-1219743
|
-29
|
Из
анализа следует, что в 2008 году произошло снижение объемов производства
продукции: валовой продукции - 22,48 %; товарной продукции - 27,28 %;
реализованной продукции – 29 %.
1.5
Анализ качества и конкурентоспособности продукции
Объектом
оценки качества служит сортовой прокат ОАО «Русполимет»,
Внесем
в таблицу 1.4. номинальное значение показателей качества по двум группам
показателей:
1.
технические
показатели;
2.
экономические
показатели.
Групповые
показатели весомости экспертным путем приняты: Р1 = 0,5; Р2=0,5.
А весовые характеристики отдельных показателей составляют: р1.1. =
0,25; р1.2. = 0,1; р1.3. = 0,2; р1.4. = 0,25;
р1.5. = 0,1; р1.6. = 0,1; р2.1. = 0,7; р2.2.
= 0,3.
На
основе значений номинальных показателей и максимальных значений рассчитываем
относительные показатели качества по формуле:
(или
),
где i – колонки (изделия), а j – строчки (показатели).
Затем рассчитываем
групповые оценки (qi,j)
с учетом весомости показателей по формуле:
В
конце расчетов определяем комплексные показатели качества с учетом весовых
коэффициентов:
Расчеты
вышеперечисленных показателей представлены в таблице 1.4., из которой видно,
что наиболее качественным является изделие предприятия . Следовательно,
наблюдается снижение конкурентоспособности продукции ОАО «Русполимет».
Таблица 1.4-.Результаты
расчетов
|
№
|
Показатели качества
|
Весомость
j
|
Изделия
|
|
ВСМПО «Ависма»
|
ОАО «Русполимет»
|
Firth Rixon (США)
|
|
ном.
|
относ.
|
ном.
|
относ.
|
ном.
|
относ.
|
|
1.
|
Технические показатели
|
0,5
|
X
|
0,9044
|
X
|
0,9164
|
X
|
0,938
|
|
1.1.
|
- предел прочности, МПа
|
0,25
|
540
|
0,771
|
640
|
0,914
|
700
|
1
|
|
1.2.
|
- ударная вязкость, Дж/см2
|
0,1
|
54
|
0,783
|
69
|
1
|
60
|
0,870
|
|
1.3
|
- предел усталости, МПа
|
0,2
|
70
|
1
|
69
|
0,986
|
68
|
0,971
|
|
1.4.
|
- ударная деформация, %
|
0,25
|
12
|
1
|
10
|
0,833
|
10
|
0,833
|
|
1.5.
|
- деформация разрушения, %
|
0,1
|
12
|
0,833
|
11
|
0,910
|
10
|
1
|
|
1.6.
|
- удельная материалоемкость,
руб./час
|
0,1
|
640
|
1
|
700
|
0,914
|
650
|
0,985
|
|
2
|
Экономические показатели
|
0,5
|
X
|
0,987
|
X
|
0,9832
|
X
|
0,9958
|
|
2.1
|
- цена, руб.
|
0,7
|
15655
|
0,99
|
15500
|
1
|
15600
|
0,994
|
|
2.2
|
- удельный расход на
транспортировку, руб./км
|
0,3
|
43,4
|
0,980
|
45,04
|
0,944
|
42,5
|
1
|
|
ИТОГО
|
|
|
0,9457
|
|
0,9498
|
|
0,9669
|
1.6
Анализ внешней конкурентной среды
Анализ
внешней конкурентной среды проводится на основе определения рыночной доли
предприятия, ее изменения.
Рыночная
доля определяется:
Дп
=
,
где
Дп- рыночная доля предприятия,
Вп
– выручка предприятия,
Вк
– выручка конкурента
Определяем
рыночную долю за базовый и анализируемый период:
Дп0
= 0,71; Дп1 = 0,57.
Проводим
факторный анализ:
Изменение
рыночной доли происходит под влиянием 2-х факторов:
1) изменение
выручки предприятия:
ΔДп(Вп)
=
= -0,05
2) изменение
выручки конкурента
ΔДп(Вк)
=
= -0,09
Общее
изменение рыночной доли под влиянием двух факторов:
ΔДп
= ΔДп(Вп) + ΔДп(Вк) =
-0,14
ΔДп
= Дп1 – Дп0 = -0,14
Проанализировав
внешнюю конкурентную среду было выявлено, что рыночная доля ОАО «Русполимет»
уменьшилась на 0,136 . На это оказало влияние (минус 0,005) уменьшение выручки
предприятия в 2008 году и увеличением выручки конкурента (минус 0,086).
1.7
Анализ себестоимости продукции
1.7.1
Анализ затрат по экономическим элементам
Анализ
затрат по экономическим элементам позволяет определить долю затрат прошлого
труда (через амортизацию), долю затрат живого труда (через фонд заработной
платы), долю материальных затрат в общей себестоимости.
Таблица
1.5.-Анализ затрат по экономическим элементам
№ п/п
|
Элементы затрат
|
Базовый период (2007г), П0
|
Анализ. период (2008г), П1
|
Отклонения, +/-
|
|
тыс. руб.
|
%
|
тыс. руб.
|
%
|
тыс. руб.
|
%
|
|
1
|
Материальные затраты
|
2540336
|
79,58
|
1777470,4
|
70,21
|
-762865,6
|
-9,37
|
|
2
|
Фонд заработной платы с начислениями
|
488284
|
15,30
|
561527
|
22,18
|
73243
|
6,88
|
|
3
|
Амортизация основных средств
|
21831
|
0,68
|
34643
|
1,37
|
12812
|
0,69
|
|
4
|
Прочие расходы
|
141862
|
4,44
|
158064,6
|
6,24
|
16202,6
|
1,8
|
|
5
|
Итого
|
3192313
|
100
|
2531705
|
100
|
-660608
|
-
|
Поскольку
уровень затрат и себестоимости влияет на величину результатов предприятия,
снижение себестоимости является важным фактором роста прибыли и индикатором эффективности
деятельности всего предприятия в целом и его руководства в частности. Анализ
затрат по экономическим элементам показал снижение себестоимости продукции на
20,7%.
Расходы
постоянные в анализируемом периоде возросли вследствие уменьшения товарной
продукции на 27,28%.
1.7.2
Анализ себестоимости по статьям калькуляции
Проанализируем
абсолютное и относительное отклонения по каждой статье и удельный вес каждой
статьи в общей себестоимости: цеховой себестоимости, производственной
себестоимости и полной себестоимости.
По
результатам анализа себестоимости по статьям калькуляции можно сделать вывод о
ее уменьшение на 660608 тыс. руб. Факторами уменьшения себестоимости могут
быть: уменьшение выпуска товарной продукции; недостаточное качество закупаемого
сырья и материала; повышение цен на топливо; рост инфляции; изменение норм
расходов газа, электроэнергии;
В
целом наблюдается увеличение постоянных затрат.
Таблица
1.6.-Затраты по статьям калькуляции себестоимости товарной продукции, тыс. руб.
|
№ п/п
|
Статьи затрат
|
Базовый период (2007г), тыс.руб.
|
Уд. вес, %
|
Анализ.период (2008г),тыс.руб.
|
Уд. вес, %
|
Абсолютное отклонение
|
Отклоне-ние уд. весов
|
Темп прироста, %
|
|
1
|
Сырье и материалы
|
2250300
|
70,50
|
1572200
|
62,1
|
-678100
|
-8,4
|
-30,13
|
|
2
|
Покупные изделия
|
90006
|
2,82
|
50200,4
|
1,98
|
-39805,6
|
-0,84
|
-44,23
|
|
3
|
Топливо и энергия
|
200030
|
6,27
|
155070
|
6,12
|
-44960
|
-0,15
|
-22,48
|
|
4
|
Основная зарплата рабочих
|
347064
|
10,87
|
399124
|
15,76
|
+52060
|
+4,89
|
+15,00
|
|
5
|
Дополнительная зарплата рабочих (10%)
|
34706
|
1,09
|
39912
|
1,57
|
+ 5206
|
+0,48
|
+15,00
|
|
6
|
Начисления на зарплату(27,9%)
|
106514
|
3,30
|
122491
|
4,83
|
+15977
|
+1,53
|
+15,00
|
|
7
|
Расходы на содержание и эксплуатацию оборудования
|
31236
|
0,98
|
43904
|
1,73
|
+12668
|
+0,75
|
+40,56
|
|
8
|
Общепроизводственные расходы
|
38177
|
1,2
|
47895
|
1,89
|
+ 9718
|
+0,69
|
+25,46
|
|
9
|
Общехозяйственные расходы
|
52060
|
1,63
|
63860
|
2,52
|
+11800
|
+0,89
|
+12,75
|
|
10
|
Потери от брака
|
1097,2
|
0,03
|
1435,4
|
0,057
|
+338,2
|
+0,027
|
+30,82
|
|
11
|
Прочие расходы
|
5680,8
|
0,18
|
6366,2
|
0,25
|
+685,4
|
+0,07
|
+12,07
|
|
Итого: производственная себестоимость
|
3156871
|
98,89
|
2502458
|
98,84
|
-654413
|
-0,05
|
-20,73
|
|
12
|
Коммерческие расходы
|
35442
|
1,11
|
29247
|
1,16
|
+0,05
|
-17,48
|
|
Итого: полная себестоимость
|
3192313
|
100,00
|
2531705
|
100,00
|
-660608
|
0
|
-20,70
|
1.7.3
Анализ затрат на 1 рубль товарной продукции
Показатель
затрат на 1 рубль товарной продукции является обобщающим показателем
себестоимости.
Если
он больше 1, производство устойчиво, если меньше 1- рентабельно.
Проведем
анализ показателя затрат на 1 рубль товарной продукции, который представлен в
таблице 1.7.
Таблица
1.7.-Затраты на 1 рубль товарной продукции
|
№ п/п
|
Показатель
|
Базовый период (2007г), П0
|
Анализир. период (2008г), П1
|
Индекс, I=П1/П0
|
Абсол. откл.,
Па=П1-П0
|
Темп прироста, Tпр=(
I-1)×100
|
|
1.
|
Товарная продукция, млн.руб.
|
4571980
|
3325100
|
0,7272
|
-1246880
|
-27,28
|
|
2.
|
Себестоимость продукции, млн.руб.
|
3192313
|
2531705
|
0,7930
|
-660608
|
-20,7
|
|
3.
|
Затраты на 1 рубль товарной продукции, коп.
|
70
|
76
|
1,0857
|
6
|
9
|
Производство
продукции рентабельно, так как затраты на 1 руб. продукции меньше 1 руб.
Проанализировав затраты на 1 руб. товарной продукции можно сделать вывод, что
этот показатель увеличился на 9 %. Это является отрицательным фактором в работе
предприятия. На него могло повлиять следующее: изменение структуры выпуска
продукции; изменение уровня затрат на производство; изменение цен и тарифов на
потребление материальных ресурсов; изменение оптовых цен на продукцию.
1.8
Анализ прибыли и рентабельности
1.8.1
Анализ показателей прибыли
Прибыль
характеризует абсолютный экономический результат и способность предприятия
наращивать капитал.
Таблица
1.8.-Расчет показателей прибыли, тыс.руб.
|
№
п/п
|
Показатель
|
Базовый период (2007г), П0
|
Анализир. период (2008г), П1
|
Индекс, I=П1/П0
|
Абсол. откл., Па=П1-П0
|
Темп прироста, Tпр=(
I-1)×100
|
|
1
|
Реализованная продукция
|
4206336
|
2986593
|
0,7100
|
-1219743
|
-29
|
|
2
|
Себестоимость продукции
|
3192313
|
2531705
|
0,7930
|
-660608
|
-20,7
|
|
3
|
Прибыль (убыток) от реализации продукции
|
1014023
|
454888
|
0,4485
|
-559135
|
-55,15
|
|
4
|
Прибыль (убыток) от реализации имущества
|
150355
|
270500
|
1,7991
|
120145
|
79,91
|
|
5
|
Балансовая (валовая) прибыль
|
1164378
|
725388
|
0,6230
|
-438990
|
-37,7
|
Валовая
прибыль в анализируемом периоде уменьшилась на 438990 тыс.руб. и составляют
725388 тыс.руб. Уменьшение валовой прибыли обусловлено главным образом
уменьшением прибыли от реализации продукции на 559135 тыс.руб.
Проведем
факторный анализ прибыли от реализации и выявим влияние на нее следующих
факторов:
1. Изменение
объема реализации продукции
ΔП(рп)=П0рп
×(Iрп-1)
= -294067 тыс.руб.
2. Изменение
структуры реализации продукции:
ΔП(стр)=
Паналит.рп -П0рп ×Iрп
=-324401 тыс.руб.
3. Изменение
производственной себестоимости
ΔП(Спр)=
Саналит.пр – С1пр = -326408
тыс.руб.
4. Изменение
коммерческих расходов
ΔП(Скр)=
Саналит.кр – С1кр = -3815 тыс.руб.
5. Изменение
цен на продукцию
ΔП(ц)=
Р1п -Раналит.п = 389556 тыс.руб.
Общее
изменение прибыли от реализации:
ΔП=
ΔП(рп)+ ΔП(стр)+ ΔП(Спр) +
ΔП(Скр) + ΔП(ц) = -559135 тыс.руб.
ΔП
= П1 – П0 = 454888 тыс.руб. – 1014023 тыс.руб. = -559135
тыс.руб.
Таблица
1.9.-Данные для анализа
|
№ п/п
|
Показатель
|
Базовый период (2007г), П0
|
Аналитический период (сопостави-мый), Паналит.
|
Анализируемый период (2008г), П1
|
|
1.
|
Производственная себестоимость
|
3156871
|
2176050
|
2502458
|
|
2.
|
Коммерческие расходы
|
35442
|
25432
|
29247
|
|
3.
|
Полная себестоимость
|
3192313
|
2201483
|
2531705
|
|
4.
|
Реализованная продукция
|
4206336
|
2597037
|
2986593
|
|
5.
|
Прибыль от реализации продукции
|
1014023
|
395555
|
454888
|
Проанализировав
прибыли от реализации под влиянием на нее: объема реализации продукции,
структуры реализации продукции, производственной себестоимости и цен на
продукцию можно сделать следующие выводы:
1.
При
уменьшение объема реализации оказывается отрицательное влияние на сумму
прибыли, так как продажи рентабельной продукции уменьшились.
2.
Отрицательное
влияние на сумму прибыли оказало изменение структуры товарной продукции. Что
говорит об уменьшение рентабельных видов продукции в объеме ее реализации.
3.
Под
влиянием себестоимости продукции сумма прибыли от реализации снизилась на
326408 тыс.руб.
4. Так
как уровень среднереализационных цен в анализируемом периоде вырос, то сумма
прибыли увеличилась на 389556 тыс.руб.
1.8.2
Анализ образования и распределения прибыли
Таблица
1.10.-Образования и распределения прибыли
|
№ п/п
|
Показатели
|
Базовый период (2007г), П0
|
Анализир. период (2008г), П1
|
Индекс, I=П1/П0
|
Абсол. откл.,
Па=П1-П0
|
Темп прироста, Tпр=(I-1)×100
|
|
1
|
2
|
3
|
4
|
5
|
6
|
7
|
|
1.
|
Выручка от реализации продукции
|
5129678
|
3642187
|
0,71
|
-1487491
|
-29
|
|
2.
|
НДС (18%)
|
923342
|
655594
|
0,71
|
-267748
|
-29
|
|
3.
|
Реализованная продукция
|
4206336
|
2986593
|
0,71
|
-1219743
|
-29
|
|
4.
|
Себестоимость продукции, в т.ч.:
|
3192313
|
2531705
|
0,793
|
-660608
|
-20,7
|
|
-материальные затраты
|
2540336
|
1777470,4
|
0,8997
|
-762865,6
|
-30,03
|
|
- затраты на оплату труда
|
381770
|
439036
|
1,15
|
+57266
|
+15
|
|
- ЕСН
|
106514
|
122491
|
1,15
|
+15 977
|
+15,00
|
|
- амортизация ОПФ
|
21831
|
34643
|
1,59
|
+12812
|
+59
|
|
- прочие расходы
|
141862
|
158064,6
|
1,11
|
16202,6
|
+11
|
|
5.
|
Прибыль от реализации продукции
|
1014023
|
454888
|
0,4485
|
-559135
|
-55,15
|
|
6.
|
Прибыль от реализации имущества
|
150355
|
270500
|
1,7991
|
120145
|
79,91
|
|
7.
|
Валовая прибыль
|
1164378
|
725388
|
0,6230
|
-438990
|
-37,7
|
|
8.
|
Налог на имущество (2%)
|
23288
|
14508
|
0,62
|
-8780
|
-38
|
|
9.
|
Налогооблагаемая прибыль
|
1141090
|
710880
|
0,62
|
-430210
|
-38
|
|
10.
|
Налог на прибыль(24%)
|
273862
|
170611
|
0,62
|
-103251
|
-38
|
|
11.
|
Чистая прибыль
|
867228
|
540269
|
0,62
|
-326959
|
-38
|
|
12.
|
Резервный фонд(5%)
|
43361,4
|
27013,45
|
0,62
|
-16347,95
|
-38
|
|
13.
|
Фонд развития производства(60%)
|
520336,8
|
324161,4
|
0,62
|
-196175,4
|
-38
|
|
14.
|
Фонд социального развития (25%)
|
216807
|
135067,25
|
0,62
|
-81739,75
|
-38
|
|
15.
|
Фонд материального поощрения (10%)
|
86722,8
|
54026,9
|
0,62
|
-32695,9
|
-38
|
Проанализировав
образование и распределение прибыли можно сделать следующие выводы:
1. уменьшение
выручки от реализации продукции на 29%. Это говорит о том, что в 2008 году
объем по производству и реализации продукции фактически был не выполнен.
2. уменьшение
себестоимости продукции на 20,7% - положительная тенденция, если при
относительном снижении затрат на производство реализованной продукции не
страдает ее качество.
3. уменьшение
прибыли от реализации продукции на 55,15% не благоприятен и свидетельствует об
уменьшении рентабельности продукции и относительном увеличении издержек
производства и обращения.
4. прибыль
от реализации имущества увеличилась в анализируемом периоде на 79,91%. Это
свидетельствует о том, что предприятие получает прибыль не только от основной
своей деятельности, но и от дополнительной. Однако это может оказать и
негативное влияние на деятельность предприятия, в связи с уменьшением стоимости
ОПФ.
5. уменьшение
таких показателей, как валовая прибыль (37,7%) и чистая прибыль (38%) указывают
на отрицательные тенденции в организации производства на данном предприятии.
Разные темпы изменения этих показателей были вызваны корректировкой системы налогообложения.
Кроме того, следует иметь в виду, что размер этих показателей во многом зависит
от учетной политики, применяемой на данном предприятии.
6. уменьшение
налогооблагаемой прибыли на 38% могло быть вызвано уменьшением уровня отпускных
цен и удельного веса более дорогой продукции в общем объеме продаж.
7. уменьшение
суммы налога на имущество на 38% могло произойти за счет уменьшения валовой
прибыли.
8. уменьшение
суммы налога на прибыль на 38% могло быть связано с уменьшением
налогооблагаемой прибылью, поскольку ставка налога на прибыль оставалась в
течение базового и анализируемого периода фиксированной в размере 24%.
9. проанализировав
формирование и распределение чистой прибыли в резервный фонд, фонд развития
производства, фонд социального развития, фонд материального поощрения, можно
сделать вывод, что основным фактором повлиявшем на уменьшение размеров отчислений
в данные фонды, является уменьшение суммы чистой прибыли в анализируемом
периоде. Коэффициенты отчислений прибыли в соответствующие фонды и в базовом, и
в анализируемом периоде оставались стабильными и равными соответственно 5%,
60%, 25% и 10%.
1.8.3
Расчет и анализ показателей рентабельности
Рентабельность
производства отражает эффективность использования и текущих, и капитальных
затрат:
Rпр=Пв×100%/(Фоп+Фно)
Рентабельность
реализованной продукции характеризует эффективность использования текущих
затрат:
Rрп=Пр*100%/Сп
Рентабельность
продаж:
Rпж=
Пр*100%/Рп
Рентабельность
собственного капитала:
Rск
= Пв × 100% / (Фоп + Фно – Зкк
- Зкд)
Рентабельность
основных фондов:
Rф
= Пр × 100% / Фоф
Таблица
1.11.-Анализ показателей рентабельности.
|
№ п/п
|
Показатели
|
Базовый период (2007г), П0
|
Анализир. период (2008г), П1
|
Абсол. откл.,
Па=П1-П0
|
Темп прироста, Tпр=(I-1)×100
|
|
1.
|
Рентабельность производства
|
35,5
|
13,3
|
-22,2
|
-62,5
|
|
2.
|
Рентабельность реализованной продукции
|
31,8
|
18
|
-13,8
|
-43,4
|
|
3.
|
Рентабельность продаж
|
24,1
|
15,2
|
-8,9
|
-37
|
|
4.
|
Рентабельность собственного капитала
|
116,8%
|
64,7%
|
-52,1
|
-44,6
|
|
5.
|
Рентабельность основных фондов
|
20,5
|
-46
|
-69,2
|
Факторный
анализ рентабельности производств
На
рентабельность оказывают влияние следующие факторы:
1)
Изменение валовой прибыли
ΔRпр(Пв)=(Пв1×100%/(Фоп0
+ Фно0))-(Пв0×100% / (Фоп0
+ Фно0)=-13,4%
2)
Изменение стоимости ОПФ
ΔRпр(Фоп)=(Пв1×100%/(Фоп1
+ Фно0))-(Пв1×100 % / (Фоп0
+ Фно0)=-3,9%
3)
Изменение стоимости оборотных средств
ΔRпр(Фно)=(Пв1×100%/(Фоп1
+ Фно1))-(Пв1 × 100 % / (Фоп1
+ Фно0)=-4,9%
Общее
изменение рентабельности под влиянием всех факторов:
ΔRпр
= ΔRпр(Пв)
+ ΔRпр(Фоп)
+ ΔRпр(Фно)
= -22,2
ΔRпр
= Rпр1
- Rпр0
=-22,2%
Анализ
рентабельности производства свидетельствует о снижение эффективности
использования текущих, и капитальных затрат. На это повлияло три основных
фактора: уменьшение валовой прибыли в анализированном периоде на 13,4 %,
уменьшение оборотных средств на 4,9 %, увеличение основных производственных
фондов на 3,9 %.
1.9
Анализ безубыточности
Рассчитаем
точку безубыточности изделия «кольцо цельнокатаное» на основании исходных
данных (приложение № ).
Qкр.
= Зу пост. / Ц – Зу пер.,
где
Qкр.
– безубыточный объем продаж, тн.
Зу
пост. – совокупные условно-постоянные затраты, руб.
Ц
– цена реализации единицы продукции, руб.
Зу
пер. – переменные затраты на единицу продукции, руб.
Qкр.0
= 4642000 / 212750 – 102505 = 42 шт.
Qкр.1
= 5988500 / 200300 – 90340 = 54 шт.
Определение
точки безубыточности можно представить графически (см.рис.1.1.).
Проведем
факторный анализ изменения точки безубыточности. На точку безубыточности
оказывают влияние следующие факторы:
1.
изменение
совокупных условно-постоянных затрат
ΔQкр.(Зу
пост.) = Зу пост.1 / (Ц0 – Зу пер.0)
- Зу пост.0 / (Ц0 – Зу пер.0)
= 12,32 шт.
2.
изменение
цены реализации продукции
ΔQкр.(Ц)
= Зу пост.1 / (Ц1 – Зу пер.0)
- Зу пост.1 / (Ц0 – Зу пер.0)
= 6,92 шт.
3.
изменение
условно-переменных затрат на единицу продукции
ΔQкр.(Зу
пер) = Зу пост.1 / (Ц1 – Зу пер.1)
- Зу пост.1 / (Ц1 – Зу пер.0)
= -7,24 шт.
ΔQкр.
= ΔQкр.(Зу
пост.) + ΔQкр.(Ц)
+ ΔQкр.(Зу
пер) = 12 шт.
ΔQкр.
= Qкр.1
- Qкр.0
= 12 шт.
Таким
образом, в целом запас финансовой устойчивости снизился по сравнению с прошлым
годом. Наиболее существенное влияние на уровень точки безубыточности повлиял
снижение уровня цен на продукцию (5,53 шт.), а также увеличение доли постоянных
затрат в себестоимости реализованной продукции (1,46 шт.).
1.10
Анализ финансового состояния предприятия и вероятности банкротства
Указателями
слабых мест в финансовом состоянии являются специальные коэффициенты, не
подверженные влиянию инфляции.
1.
Показатели платежеспособности, характеризующие ликвидность средств.
Наиболее
важный – коэффициент текущей ликвидности (Ктл), характеризующий
способность организации в течение года оплатить свои краткосрочные
обязательства за счет оборотных средств.
Ктл
=
Нормативное
значение Ктл>2.
Ктл0
= 0,85 Ктл1 = 0,82
Так
как Ктл0 и Ктл1 меньше 2, проведем
оценку вероятности банкротства предприятия с помощью пятифакторной модели «Z
– счет Альтмана».
Z=К1+К2+К3+К4+К5,
где
К1-
коэффициент, характеризующий платежеспособность организации.
К1=(Фно-Зкк)×1,2/(Фоп+Фно)
К10
= -0,1129 К11 = -0,1578
К2-
коэффициент, характеризующий рентабельность капитала.
К2=
Пб×1,4/(Фоп+Фно)
К20
= 0,4965 К21 = 0,1866
К3-
коэффициент, характеризующий рентабельность производства.
К3=
Пр×3,3/(Фоп+Фно)
К30
= 1,0192 К31 = 0,2758
К4-
коэффициент, характеризующий кредитоспособность организации.
К4=
Кс×0,6/ Кз=(Фоп+Фно-Зкк-Зкд)×0,6/
(Зкк+Зкд)
К40
= 0,2616 К41 = 0,1557
где
Кс- собств. капитал, Кз- заемный капитал
К5-
коэффициент, характеризующий оборачиваемость капитала.
К5=
Рп×0,9/(Фоп+Фно)
К50
= 1,153 К51 = 0,4938
Z0=К10+К20+К30+К40+К50
= 2,8174 Z1=К11+К21+К31+К41+К51
= 0,9541
Если
Z < 1,18 – вероятность
банкротства очень высокая,
Если
Z < 2,7 – вероятность банкротства
высокая,
Если
Z < 3,0 – вероятность банкротства
не высокая,
Если
Z > 3,0 – вероятность банкротства
очень низкая.
При
Z < 2,7 дальнейший анализ не
имеет смысла.
При
Z > 2,7 необходима оценка таких
показателей, как: показатели деловой активности, рентабельности (прибыльности)
предприятия и кредитоспособности.
2.
Показатели деловой активности. Они позволяют выявить, насколько эффективно
предприятие использует свои средства.
Коэффициент
оборачиваемости собственного капитала (Кос) – показывает, сколько
рублей продукции принес 1 руб. собственных активов или сколько оборотов
совершил за 1год собственный капитал.
Кос
=
Кос0
= 4,2193 Кос1 = 2,6624
3.
Показатели рентабельности - характеризуют прибыль организации.
Рассчитаем
рентабельность продукции (Rпр),
показывающую, сколько прибыли приходится на 1руб. текущих затрат.
Rпр
=
Rпр0
= 31,7645 Rпр1
= 17,9676
4.
Показатели кредитоспособности предприятия характеризуют финансовую устойчивость
предприятия.
Рассчитаем
коэффициент финансовой автономности (Кфа), характеризующий
зависимость организации от внешних займов.
Кфа
=
Кфа0
= 0,3036 Кфа1 = 0,2061
Нормальным
считается Кфа>0,5.
Коэффициент
соотношения собственных и заемных средств – дает общую оценку финансовой
устойчивости.
Кссз
=
Кссз0
= 0,436 Кссз1 = 0,2596
За
критическое значение принимается 1. Чем меньше показатель, тем больше
обязательств у предприятия и тем рискованнее ситуация, ближе вероятность
банкротства.
Результаты
анализа финансовых коэффициентов оформлены в таблице 1.12.
Таблица
1.12.-Расчет и анализ финансовых коэффициентов
|
№ п/п
|
Наименование показателя
|
Нормативное (рекомендованное) значение
|
Базовый период (2007г), П0
|
Анализ. период (2008г), П1
|
Отклонения, +,-
|
|
1
|
2
|
3
|
4
|
5
|
6
|
|
1
|
Коэффициент текущей ликвидности
|
Ктл >2
|
0,85
|
0,82
|
-0,03
|
|
2
|
Коэффициент оборачиваемости собственного капитала
|
Кос
|
4,2193
|
2,6624
|
-1,5569
|
|
3
|
Рентабельность продукции
|
Rпр
|
31,7645
|
17,9676
|
-13,7969
|
|
4
|
Коэффициент финансовой автономности
|
Кфа>0,5
|
0,3036
|
0,2061
|
-0,0975
|
|
5
|
Коэффициент соотношения собственных и заемных
средств
|
Кссз>1
|
0,436
|
0,2596
|
-0,1764
|
Финансовое
состояние предприятия с позиции краткосрочной и долгосрочной перспективы можно
оценить как не устойчивое, то есть предприятие своевременно не может произвести
в полном объеме расчет по обязательствам перед контрагентом. Поскольку Ктл
< 2, то структура баланса предприятия является не удовлетворительной, а
предприятие не платежеспособным. Неплатежеспособность означает, что у
предприятия нет достаточного объема средств на расчетном счете и отсутствие
просроченной кредиторской задолженности.
Одна
из важнейших характеристик финансового состояния предприятия – стабильность его
деятельности с позиции долгосрочной перспективы. Она связана, прежде всего, с
финансовой структурой предприятия, степенью его зависимости от кредиторов и
инвесторов. Так как Кссз<1 это означает, что данное предприятие имеет низкую
долю собственного капитала. Очевидно, что снижение чистых активов в динамике
рассматривается как негативная тенденция. В связи с этим отметим, что величина
чистых активов зависит от многих факторов: основным фактором снижение этого
показателя выступает текущая прибыль.
Проанализировав
коэффициент текучести ликвидных средств пришли к выводу, что предприятие не
обеспечено оборотными средствами для ведения хозяйственной деятельности и
своевременного погашения срочных обязательств предприятия. Хотелось бы отметить
то, что условия Ктл >2 само по себе является достаточно жестким и, вряд ли,
выполнимым для большинства отечественных предприятий. Критическое значение 2
взято из мировой практики без учета реальной ситуации, когда большинство
предприятий продолжают работать, как и в условиях централизированно планируемой
экономики, со значительным дефицитом собственных оборотных средств.
1.11
Комплексный анализ эффективности производства
Таким
образом, проведенный анализ финансово-хозяйственной деятельности ОАО
«Русполимет» за 2007 - 2008 годы позволил изучить тенденции развития, глубоко и
системно исследовать факторы изменения результата деятельности, выявить резервы
повышения эффективности производства, оценить результаты деятельности
производства предприятия.
В
результате анализа эффективности использования производственных ресурсов было
выявлено, что
-
неэффективное использование основных фондов дало нам следующий относительный
перерасход в размере 1134697,97 тыс.руб.
-
эффективное использование предметов труда дало нам следующую относительную
экономию в размере 26168,16 тыс.руб.
-
неэффективное использование живого труда дало нам следующий относительный
перерасход 167979,3тыс.руб.
Анализ
оборачиваемости оборотных средств показал, что темп прироста следующих
показателей: коэффициент оборачиваемости, коэффициент закрепления оборотных
средств в обороте, длительность одного оборота, составил соответственно минус 61;плюс
157; плюс 156. Это говорит об ухудшении использовании оборотных средств.
В
результате анализа объемов производства и реализации продукции выявлено снижение
следующих показателей:
-
Валовая продукция минус 22,48 %;
-
Товарная продукция минус 27,28 %;
-
Реализованная продукция минус 29 %.
Анализ
качества и конкурентоспособности продукции, внешней конкурентной среды показал,
что продукция ОАО «Русполимета» является конкурентоспособной. Однако
наблюдается уменьшение рыночной доли на 13,6%.
Анализ
затрат на производство показал, что себестоимость продукции уменьшилась и
составила 2531705 тыс.руб. Проанализировав затраты на 1 руб. товарной продукции
можно сделать вывод, о том что производство продукции является рентабельным.
В
результате анализа показателей прибыли выявлено, что валовая прибыль в
анализируемом периоде уменьшилась на 438990 тыс.руб. и составляют 725388
тыс.руб., а прибыль от реализации уменьшилась в 2008 году по сравнению с 2007
годом на 559135 тыс.руб.
Анализ показателей
рентабельности говорит, что в анализируемом периоде темп прироста
рентабельности производства, реализованной продукции, продаж, собственного
капитала, ОПФ изменились соответственно на минус 65,5%, минус 43,4%, минус 37%,
плюс 25,7%, минус 71,7%.
Расчет точки
безубыточности показал: в 2007 году необходимо было реализовать продукции на
сумму 584647 тыс.руб., чтобы покрыть все затраты, а в 2008 году на сумму минус
888732 тыс.руб. При такой выручки рентабельность ОАО «Русполимет» равна была бы
нулю. Фактически выручка составила в 2007 году 4206336 тыс.руб., что выше
пороговой на 3621655 тыс.руб., а в 2008 году – 2986593 тыс.руб., что выше
пороговой на 2338502 тыс.руб.
Анализ финансового
состояния предприятия и вероятности банкротства можно заключить следующее:
финансового состояния предприятия можно оценить как не устойчивое. А оценка
вероятности банкротства по «Z-
счету Альтмана» показала, что вероятность банкротства ОАО «Русполимет» очень
велика.
1.12
Спецанализ анализ деятельности ОМТС
Необходимым
условием выполнения планов по производству продукции, снижению ее
себестоимости, росту прибыли, рентабельности является полное и своевременное
обеспечение предприятия сырьем и материалами необходимого ассортимента и
качества.
Рост
потребности предприятия в материальных ресурсах может быть удовлетворен
экстенсивным путем (приобретением или изготовлением большего количества
материалов и энергии) или интенсивным (более экономным использованием имеющихся
запасов в процессе производства продукции).
Первый
путь ведет к росту удельных материальных затрат на единицу продукции, хотя
себестоимость ее может при этом и снизиться за счет увеличения объема
производства и уменьшения доли постоянных затрат. Второй путь обеспечивает
сокращение удельных материальных затрат и снижение себестоимости единицы
продукции. Экономное использование сырья, материалов и энергии равнозначно
увеличению их производства.
Задачи
анализа обеспеченности и использования материальных ресурсов:
a)
оценка реальности планов материально-технического снабжения, степени их
выполнения и влияния на объем производства продукции, ее себестоимость и другие
показатели;
б)
оценка уровня эффективности использования материальных ресурсов;
в)
выявление внутрипроизводственных резервов экономии материальных ресурсов и
разработка конкретных мероприятий по их использованию.
При
анализе обеспеченности предприятия материальными ресурсами в первую очередь
проверяют качество плана материально-технического снабжения. Проверку
реальности плана начинают c изучения норм и нормативов, которые положены в
основу расчета потребности предприятия в материальных ресурсах. Затем
проверяется соответствие плана снабжения потребностям производства продукции и
образования необходимых запасов исходя из прогрессивных норм расхода
материалов.
Важным
условием бесперебойной работы предприятия является полная обеспеченность
потребности в материальных ресурсах источниками покрытия. Они могут быть
внешними и внутренними. K внешним источникам относятся материальные ресурсы,
поступающие от поставщиков и в соответствии c заключенными договорами.
Внутренние источники — это сокращение отходов сырья, использование вторичного
сырья, собственное изготовление материалов и полуфабрикатов, экономия
материалов в результате внедрения достижений научно-технического прогресса.
Степень
обеспеченности материальных ресурсов договорами на их поставку оценивается с
помощью следующих показателей:
-
коэффициент обеспеченности по плану (Коб.пл)
-
коэффициент обеспеченности фактический (Коб.ф)
B
процессе анализа необходимо также проверить обеспеченность потребности в завозе
материальных ресурсов договорами на их поставку и фактическое их выполнение.
Для
проверки потребности в завозе материальных ресурсов договорами на их поставку
проанализируем обеспеченность потребности в завозе по основным видам сырья
(таблица 1.13 ).
Таблица
1.13.Виды сырья
|
Вид материала
|
Плановая потребность в мес.
|
Источники покрытия потребности
|
Заключено договоров, т
|
Обеспечение потребности договорами,%
|
Поступило от поставщиков, т
|
Выполнение договоров,%
|
|
внутренние
|
внешние
|
|
Лом
|
3600
|
300
|
3300
|
3430
|
103,9
|
3400
|
99,13
|
|
чугун
|
598
|
-
|
598
|
610
|
101,9
|
610
|
98,36
|
|
стружка
|
363
|
20
|
343
|
360
|
105
|
360
|
83,33
|
Коб.пл
(лом) = 0,95
Коб.ф
(лом) = 1,02
Коб.пл
(чугун) = 1,01
Коб.ф
(чугун) = 1,002
Коб.пл
(стружка) = 0,99
Коб.ф
(стружка) = 0,88
Потребность
в стружке удовлетворяется лишь на 88%. По остальным материалам потребность
удовлетворяется полностью.
АВС-анализ
, XYZ-анализ позволяют анализировать
материальные потоки предприятия и искать пути снижения затрат на материальные
ресурсы.
При
АВС-анализе материальные потоки делятся на 3 группы:
Группа
А
включает наиболее дорогостоящие материальные ресурсы, составляющие до 80% от
всех материальных затрат.
Группа
В
– это материалы средней стоимости, составляющие около 15% всех материальных
затрат.
Группа
С
– материалы, составляющие 5% от стоимости всех материалов.
Такое
распределение позволяет концентрировать внимание на тех группах материалов,
снижение затрат на которые даст максимальную отдачу.
XYZ-анализ
– это также анализ материальных потоков, но с точки зрения структуры
потребления материалов. Все материальные ресурсы предприятия в соответствии с
концепцией XYZ-анализа можно
разделить на группы:
Группа
X – материалы,
потребление которых носит постоянный характер.
Группа
Y включает в себя
материалы, потребление которых имеет тенденцию к повышению или понижению, или
же сезонный характер.
Группа
Z включает материалы,
потребление которых носит нерегулируемый характер.
На
основе вышесказанного проведем АВС-анализ материальных потоков мартеновского
цеха за 2008 г..
Таблица
1.14.- Структура материальных затрат
|
Материальные затраты
|
Сумма , тыс.руб.
|
Структура затрат,%
|
|
план
|
факт
|
+,-
|
план
|
факт
|
+,-
|
|
ГРУППА А
Основные сырье и материалы, тыс.руб.
В т.ч.
Лом
Чугун передельный
Чугун-бой
Стружка
Ферросплавы
Никель
Силикокальций
Алюминий
Отходы
|
283514
142670
49770
47575
3240
17968
11520
12360
1663
-3254
|
300168
162713
37267
63630
2248
19273
3907
5295
11043
-5211
|
+16653
+20043-12503
+16055
-992
+1304
-7612
-7064
+9380
-1957
|
84,88
42,71
14,9
14,24
0,97
5,38
3,45
3,7
0,49
-0,97
|
83,89
45,47
10,41
17,8
0,63
5,38
1,09
1,48
3,08
-1,45
|
-0,99
+2,76
-4,5
+3,5
-0,34
+0,006
-2,3
-2,2
+2,6
-0,48
|
|
ГРУППА В
Топливо и энергия, тыс.руб
В т.ч.
Газ
Мазут
Электроэнергия
Кислород
|
38856
9083
27630
1032
1110
|
45181
9222
33651
1083
1224
|
+6325
+139
+6020
+50
+113
|
11,63
2,71
8,27
0,3
0,33
|
12,62
2,57
9,4
0,306
0,34
|
+0,99
-0,14
+1,13
-0,006
+0,01
|
|
ГРУППА С
Вспомогательные материалы, тыс.руб.
В т.ч.
Камень известковый
Порошок магнезитовый
Руда
Огнеупорные материалы
Известь
|
11616
923
957
3971
4965
797
|
12459
994
10377
5327
852
|
+843
+70,65
+79,37
+280,3
+358,4
+54,77
|
3,47
0,27
0,28
1,19
1,487
0,239
|
3,48
0,28
0,29
1,18
1,488
0,238
|
+0,01
+0,01
+0,01
-0,01
+0,001
-0,001
|
|
Всего материальные затраты
|
333987
|
357809
|
+23822
|
100
|
100
|
-
|
Из
таблицы можно сделать вывод:
К
группе А можно отнести основные сырье и материалы, составляющие 83,89% от всех
материальных затрат.
К
группе В относятся топливо и энергия (12,62%).
К
группе С – вспомогательные материалы (3,48%).
Следовательно,
основную часть материальных затрат составляют шихтовые материалы, являющиеся
основным сырьем для производства мартеновской стали. Следует сконцентрировать
особое внимание на изучении именно этой группы материалов, поскольку разработка
мероприятий по снижению затрат на шихтовые материалы даст наиболее выгодный
экономический эффект.
XYZ-анализ
показал:
поскольку
мартеновская печь работает непрерывно, до остановки на капитальный ремонт, все
материалы носят постоянный характер, и , следовательно, относятся к группе X.
Таблица
1.15.-Себестоимость продукции по элементам затрат за 2008 г.
|
Элемент затрат
|
Сумма , тыс.руб.
|
Структура затрат,%
|
|
план
|
факт
|
+,-
|
план
|
факт
|
+,-
|
Материальные затраты
В т.ч.
Основные сырье и материалы
вспомогательные материалы
топливо и энергия
|
333987
283514
11616
38857
|
357293
300168
11943
45181
|
+23306
+16654
+326
+6325
|
67,3
57,1
2,34
7,8
|
68
57,2
2,3
8,6
|
+0,73
+0,1
-0,04
+0,8
|
|
Заработная плата
|
19776
|
19645
|
-131
|
3,98
|
3,7
|
-0,24
|
|
Отчисления в фонд соц. защиты
|
5873
|
5835
|
-39
|
1,18
|
1,11
|
-0,07
|
|
Амортизация ( амортизация оборудования ,
амортизация зданий, сооружений)
|
312
|
307
|
-5
|
0,062
|
0,058
|
-0,004
|
Прочие расходы
|
136278
|
142105
|
+5827
|
27,5
|
27,1
|
-0,4
|
|
Себестоимость
В т ч переменные расходы
постоянные расходы
|
496227
383475
112752
|
525183
409543
115640
|
+28956
+26068
+2888
|
100
77,27
22,73
|
100
78
22
|
0
+0,73
-0,7
|
Как
видно из табл.1.15 , фактические затраты цеха выше плановых на 28956 тыс. руб.,
или на 6%. Перерасход произошел в основном за счет увеличения материальных
затрат.
Увеличилась
сумма переменных (+26068) и постоянных затрат (+2888). Изменилась несколько и структура
затрат: увеличилась доля материальных затрат.
Проследим
изменение материалоемкости 2008 г .за счет влияния факторов в по таблице 1.16
Таблица
1.16.-Влияние факторов на материалоемкость продукции
|
Фактор
|
Изменение материалоемкости
В 2008 г. по отношению к плану, коп.
|
Изменение материалоемкости в
2008 г. по отношению к 2007 г., коп.
|
|
Объем выпуска продукции
|
67,8-64,9= +2,9
|
75,6-64,4 = +11,2
|
|
Структура производства
|
65,7-67,8= -2,1
|
64,7-75,6 = -10,9
|
|
Удельный расход сырья
|
70-65,7 = +4,3
|
68,6-64,7 = +3,9
|
|
Цены на сырье и материалы
|
71,5-70 = +1,5
|
79,7-68,6= +11
|
|
Отпускные цены на продукцию
|
67,6-71,5= -3,9
|
67,6-79,7= -12,1
|
|
Итого
|
+2,7
|
+3,1
|
По
данным таблицы 1.16 можно сделать вывод:
Увеличение
материалоемкости продукции в 2008 г. по отношению к плану составило +2,7 коп.,
а по отношению к 2007 г. +3,1 коп. на рубль товарной продукции.
Основной
рост материалоемкости в 2008 г. по сравнению с планом произошел за счет
перерасхода материальных ресурсов +4,3, на увеличение материалоемкости повлияли
также инфляционные процессы, отразившиеся на повышении цен на материальные
ресурсы +1,5. Данное обстоятельство требует от предприятия пересмотра состава и
структуры контрагентов. Снижение объема выпуска продукции по сравнению с планом
увеличило материалоемкость на 2.9 коп. Однако наблюдается снижение
материалоемкости за счет изменения структуры производства (-2,1), это говорит
об уменьшении выпуска более материалоемкой продукции по сравнению с планом.
По
отношению к 2007 году на рост материалоемкости в 2008 г. повлияли главным
образом цены на ресурсы (+11), снижение объема выпуска продукции (+11,2),
удельный расход сырья (+3.9).
Теперь
обратимся к анализу частных показателей материалоемкости ( сырьеемкость,
топливоемкость, энергоемкость) как составляющих частей общей материалоемкости
(табл1.17.)
Таблица
1.17.Анализ частных показателей материалоемкости.
|
Показатель
|
2007ф
|
2008пл
|
2008ф
|
Отклонение
|
|
2008ф-2008пл
|
2008ф-2007ф
|
|
Выпуск продукции, тыс.руб.
|
462884
|
514800
|
528828
|
+14028
|
+65944
|
|
Материальные затраты, тыс. руб.
|
298199
|
333987
|
357291
|
+23304
|
+59092
|
|
В том числе:
|
|
|
|
|
|
|
Сырье, материалы
|
260392
|
295130
|
312109
|
+16979
|
+51717
|
|
Топливо
|
35654
|
36713
|
42874
|
+6160
|
+7220
|
|
Энергия
|
2153
|
2143
|
2307
|
+164
|
+154
|
|
Общая материалоемкость, коп
|
64,42
|
64,88
|
67,56
|
+2,67
|
+3,1
|
|
В том числе:
|
|
|
|
|
|
|
Сырьеемкость
|
56,25
|
57,33
|
59,02
|
+1,68
|
+2,7
|
|
Топливоемкость
|
7,7
|
7,13
|
8,1
|
+0,97
|
+0,4
|
|
Энергоемкость
|
0,47
|
0,42
|
0,44
|
+0,02
|
-0,03
|
Из
таблицы1.17. видно, что сырьеемкость занимает большую часть в общей
материалоемкости. Показатель сырьеемкости в 2008 г. увеличился по сравнению с
планом на 1,68, а по сравнению с 2007 г. на 2,7. Материалоемкость продукции
должна исследоваться c учетом основных причин, повлиявших на повышение или
понижение ее уровня
По
данным табл.1.18. можно отследить уровень материалоемкости по отдельному виду
продукции и оценить величину ее изменения по сравнению c плановыми
показателями. Факторы, по которым в таблице приведены максимальные
положительные значения и представляют собой главные направления снижения
материалоемкости продукции .
B
процессе анализа необходимо также изучить причины изменения удельного расхода
сырья на единицу продукции и поиска резервов его сокращения. На изменение
количества израсходованных материальных ресурсов на единицу продукции оказывают
влияние качество материалов, замена одного вида другим, техники и технологии
производства, организация материально-технического снабжения и производства,
квалификация работников, изменение норм расхода, отходов и потерь и т.д.
Таблица
1.18.Анализ материалоемкости отдельных видов продукции.
|
Марка стали
|
Материалоемкость, коп
|
Отклонение от плана, коп.
|
|
Общее
|
В том числе за счет изменения
|
|
План
Ур пл*ЦМпл/
ЦПпл
|
Усл1
Ур ф*ЦМпл/
ЦПпл
|
Усл2
Ур ф*ЦМф/
ЦПпл
|
Факт
Ур ф*ЦМф/
ЦПф
|
Расхода сырья
|
Цен на сырье
|
Оптовых цен на продукцию
|
|
Ст 3 сп
|
58,45
|
62,99
|
68,88
|
64,5
|
+4,53
|
+4,53
|
+5,89
|
-4,38
|
|
Ст 45
|
71,42
|
71,43
|
73,52
|
71,48
|
+0,06
|
+0,02
|
+2,08
|
-2,04
|
По
данным таблицы1.18. видно, что уровень материалоемкости отдельных видов
продукции различен. Материалоемкость ст 3 сп ниже , чем материалоемкость стали
45ХН. По факту материалоемкость ст 3 сп увеличилась на 4,53 по сравнению с
планом, а материалоемкость ст 45ХН на 0,06. Материалоемкость стали 3 сп
увеличилась за счет удельного расхода сырья, цен на сырье. Эти факторы являются
главным направлением снижения материалоемкости продукции мартеновского цеха.
Анализ
материалоемкости продукции за 2007 -2008 гг. показал:
-
затраты на сырье и материалы составляют наибольший удельный вес в общей сумме
материальных затрат;
-
в 2008г. по сравнению с 2007 г. произошло увеличение материалоемкости ;
-
материалоемкость продукции мартеновского цеха увеличилась за счет удельного
расхода сырья, а также за счет роста цен на сырье и материалы;
Анализ
материалоемкости продукции выявил возможные резервы ее снижения. Для того чтобы
использовать эти резервы необходимо разработать мероприятия по снижению
материалоемкости. Основными резервами снижения материалоемкости является
удельный расход материалов и цены на материальные ресурсы.
Необходимо
разработать мероприятия по соблюдению строжайшего режима экономии на всех
участках производственно-хозяйственной деятельности предприятия, которые
проявятся прежде всего в уменьшении затрат материальных ресурсов на единицу
продукции. Также необходимо ликвидировать брак, либо сократить его до
определенного уровня.
Необходимо
провести маркетинговые исследования рынка поставщиков материальных ресурсов с
целью выявления новых поставщиков с более низкими ценами. Сотрудничество с
постоянными поставщиками может привести к выгодным системам скидок на
приобретаемые материалы (2-3%) с условием полной предварительной оплаты ,уменьшение
отходов благодаря введению нового оборудования по контролю при поставках
материалов на склад(весы).Производим структурные изменения в ОМТС(вводятся дополнительные
специалисты которые будут заниматься поиском новых поставщиков.
2.
Технологическая часть
2.1
Краткая характеристика детали
В
технологической части дипломного проекта разработан новый технологический
процесс механической обработки детали «Ступенчатый вал». При разработке
технологического процесса применено новейшее оборудование (станки с ЧПУ),
приспособление, применение которого позволяет быстро надежно закрепить
обрабатываемую деталь, применены режущие инструменты с пластинами из твердого
сплава, что способствует значительному повышению качества обрабатываемых
поверхностей, сокращению времени обработки детали.
Деталь
«Ступенчатый вал» предназначена для передачи крутящего момента. В детали «Ступенчатый
вал» обработка концов производится по 6 классу (Ra 1,25мкм). При обработке поверхностей детали «Ступенчатый
вал» не возникает трудностей, т.к. для всех поверхностей доступ режущего
инструмента свободен.
Деталь имеет
хорошие базовые поверхности для первоначальных операций, допускает применение
высокопроизводительных режимов обработки и довольно проста по конструкции.
Деталь
«Ступенчатый вал» изготавливается из стали 45 ГОСТ 1050-88.
Свойства
Стали 45 сведены в таблицы.
Таблица 2.1.-Химические
свойства, % [9,стр.154]
|
С
|
Si
|
Mn
|
Cr
|
S
|
P
|
Cu
|
Ni
|
As
|
|
не
более
|
|
0,42 – 050
|
0,17−0,37
|
0,50−0,80
|
0,25
|
0,04
|
0,035
|
0,25
|
0,25
|
0,08
|
Таблица 2.2.-Механические
свойства
|
Марка стали
|
Термообработка
заготовок
|
Предел
текучести
|
Временное
сопротивление
разрыву
|
Относит.
удлинение
|
Относит.
сужение
|
Ударная вязкость
|
|
|
кгс/мм
|
%
|
кгс/мм
|
|
не менее
|
не более
|
|
45
|
Нормализация
|
36
|
61
|
16
|
40
|
5
|
2.2 Анализ
технологичности изделия, выбор и описание типа производства, расчет такта или
партии запуска деталей
Анализ
технологичности изделия.
Деталь имеет
удобные базовые поверхности – наружный диаметр и торцы. Возможно выполнение
обработки поверхностей детали с применением минимально необходимого количества
режущих инструментов.
Конструкцию
данной детали упрощать нецелесообразно, так как она полностью соответствует
своему назначению и почти все ее элементы являются унифицированными.
Выбор типа
производства осуществляется по таблице зависимости типа производства от объема
выпуска и массы детали.
Таблица2.3.-Зависимость
типа производства от объема выпуска (шт.) и массы детали
Масса детали,
кг
|
Количество обрабатываемых деталей (шт.) и тип
производства
|
|
единичное
|
мелко-серийное
|
средне-серийное
|
крупно-серийное
|
массовое
|
|
<1,0
|
<10
|
10-2000
|
1500-100000
|
75000-200000
|
200000
|
|
1,0-2,5
|
10-1000
|
1000-50000
|
50000-100000
|
100000
|
|
2,5-5,0
|
<10
|
10-500
|
500-35000
|
35000-75000
|
75000
|
|
5,0-10
|
<10
|
10-300
|
300-25000
|
25000-50000
|
50000
|
|
>10
|
<10
|
10-200
|
200-10000
|
10000-25000
|
25000
|
В данном
случае, согласно этим параметрам производство является среднесерийным. Среднесерийное
производство характеризуется ограниченной номенклатурой изделий, изготовляемых
периодически повторяющимися партиями, и сравнительно большим объемом выпуска
чем в единичном производстве. При серийном типе производства используется универсальные
станки, оснащенные как специальными так и универсальными и универсально –
сборными приспособлениями, что позволяет снизить трудоемкость и себестоимость
изготовления изделий. В серийном производстве технологический процесс
изготовления изделия преимущественно дифференцирован, т.е. расчленен на
отдельные самостоятельные операции, выполняемые на определенных станках.
При
среднесерийном производстве применяют универсальные, специализированные,
агрегатные, станки с ЧПУ и другие. При выборе технологического оборудования
специального или специализированного, дорогостоящего приспособления и
инструмента необходимо учитывать затраты и сроки окупаемости, а также ожидаемый
экономический эффект от использования оборудования и технологического
оснащения.
Расчет
партии запуска детали
Партия
запуска: n, шт. определяется по формуле:
n = Nt / Фр,
где N –
годовая программа выпуска деталей, =20000 шт.(по плану);
t –
периодичность запуска партии деталей, дней (t=2…5 дней);
Фр – число
рабочих дней в году, дней,
n – размер
партии деталей, шт.
n =20000·5 /
251=398 шт.
Партия
запуска характеризуется группой заготовок одного наименования и типоразмера,
запускаемых в обработку одновременно или непрерывно в течение определенного
отрезка времени.
Механическая
обработка вала данной конфигурации не вызывает значительных трудностей. При
обработке вала возможно применение станков с ЧПУ, режущего инструмента с
пластинами из твердого сплава ВК6.
Деталь имеет
хорошие базовые поверхности для первоначальных операций. В качестве баз на
токарных и шлифовальных операциях используются торцевые поверхности вала и
центровочные отверстия, обработанные на первой операции (операция 005 –
фрезерно-центровальная). Это способствует снижению погрешности базирования,
достижению высокого качества обрабатываемых поверхностей детали. При обработке
шпоночного паза в качестве баз используются обработанные поверхности вращения.
2.3
Разработка технологического процесса изготовления детали
В данный
момент на заводе используется технологический процесс, в котором в качестве
заготовки используется прокат - пруток.
В проекте
рассматривается процесс, в котором заготовкой будет служить штамповка.
Целью
является – сравнить два варианта и выбрать из них наиболее эффективный.
Выбор и
описание вида и метода получения заготовки
При
изготовлении деталей очень важно выбрать самый экономичный способ получения
заготовок для данного типа производства, учитывая свойства материала и форму
детали, а также условия её эксплуатации в изделии.
Данная деталь
имеет достаточно простую конфигурацию. В качестве заготовки выбираем пруток.
Определение
КИМ.
Коэффициент
использования материала определяется по формуле:
где:
- вес детали;
- вес заготовки.
Расчёт
веса детали и заготовки.
Масса детали
и заготовки определяется по формуле:
где
– диаметр заготовки или
детали, см3
– высота заготовки или
детали, см3.
– удельный вес стали, кг/см3.
Определяем
массу детали.
Для
определения массы детали необходимо разбить деталь на несколько простых
геометрических фигур и затем найти массу для каждой из них.
Рисунок 1 –
Деталь «Ступенчатый вал».
Массу детали
определяем путём сложения масс простых геометрических фигур
Определяем
массу заготовки.
Рисунок 2 –
Заготовка прокат круглого сечения
После
определения масс заготовки и детали определяем коэффициент использования
материала:
Вариант
1.Технологический процесс заготовкой для которого служит прокат.
Рассчитаем
себестоимость детали, которая изготавливается по действующему на предприятии
технологическому процессу. В этом случае заготовкой служит прокат.
Себестоимость
заготовки из проката:
Sзаг. = М+ΣСо.з. [2,стр.30], где
М – затраты
на материал заготовки, руб.;
ΣСо.з. –
технологическая себестоимость операций правки, калибрования прутка, резки на
штучные заготовки.
Со.з.=
, руб. [2,стр.37], где
Сп.з. –
приведенные затраты на рабочем месте, руб./ч.
Тшт.(шт.-к.)
– штучное или штучно-калькуляционное время выполнения заготовительной операции
(правки, резки и др.).
Со.з. =
руб.
Тшт.(шт.-к.)
= 0,19хD2х10-3=2,1 мин.
Со.з. = 7,5 руб.
В данном
случае коэффициент использования материала 66%, т.е. 34% материала идёт в
отходы.
М =
6,467х20,8 – (6,467 – 4,017) х
= 132,3 руб.
Sзаг. = 132,3 + (2,1 + 7,5) = 142
руб.
Вариант
2. Технологический процесс заготовкой для которого служит штамповка.
А теперь
рассчитаем стоимость детали, изготавливаемой по предлогаемому технологическому
процессу, в котором заготовкой служит штамповка.
Рисунок 3.–
Заготовка штамповка
После
определения масс заготовки и детали определяем коэффициент использования
материала:
Коэффициент
использования материала во втором случае выше. Следовательно, более эффективно
с точки зрения экономии материала использовать заготовку штамповку, так как в
этом случае в отходы идёт всего 9% материала, а в случае проката – 34% идёт в
отходы.
Стоимость
штамповки определяется по формуле:
Sзаг = (
, руб., где
Ci – базовая стоимость 1т. заготовок,
руб.;
Sотх – цена 1т. отходов ( стружки ),
руб.;
Sотх = 900 руб. за 1т. ( по данным
завода);
Ci = 20800 руб. за 1т. (по данным
завода);
Sзаг = (
= 91,17 руб
Как видим, и
себестоимость заготовки намного ниже во втором случае, чем в первом.
Выбираем
заготовку штамповку.
Стоимость
основных материалов для годовой программы выпуска
М=91 х 20
000=1820000 руб.
Определение
припусков.
Припуски на
механическую обработку определяем по таблицам:
Таблица 2.4.-Припуски
на механическую обработку ступенчатого вала на сторону.
|
Номинальный
диаметр
|
Способ обработки
поверхности
|
Припуски на диаметр
при длине вала 245 мм.
|
|
Ø 49,95
|
Точение черновое
Точение чистовое
Шлифование черновое
|
1,6
0,45
0,1
|
|
Ø 38,9
|
Точение черновое
Точение чистовое
Шлифование черновое
|
1,6
0,45
0,1
|
|
Ø 60
|
Точение черновое
Точение чистовое
Шлифование черновое
|
1,7
0,5
0,1
|
|
Ø 54,2
|
Точение черновое
Точение чистовое
Шлифование черновое
|
1,7
0,5
0,1
|
Таблица 2.5.-Межоперационные
размеры и допуски на них:
|
Наименование
обработки
|
Получаемые размеры
|
|
точение
предварительное
|
Ø
|
Ø
|
Ø
|
Ø
|
|
точение окончательное
|
Ø
|
Ø
|
Ø
|
Ø
|
|
шлифование
|
Ø
|
Ø
|
Ø
|
Ø
|
Техническое
нормирование операций
Общая норма
времени определяется по формуле:
где То –
основное время на обработку, мин;
Тв –
вспомогательное время, мин;
Тобс – время
на обслуживание, мин;
Тодх – время
на отдых, мин.
Основное
время определяется по формуле:
L = Lo + L1+L2
Где L – длина резания, мм
Lo – длина обрабатываемой поверхности,
мм
L1 – величина врезания и перебега инструмента, мм
L2 – длина на взятие пробных стружек, мм
n – частота вращения шпинделя, об/мин
S – подача, мм/об
Sмин – минутная подача, мм/мин
i – число проходов.
Расчёт
технического нормирования на операцию «Фрезерно - центровальная».
Определяем
норму времени на фрезерование торца вала
L = 62 + 80 = 142 мм
То = 142 *
1/44,2 = 3,2 мин
Тв = 2,5 мин
Время на
техническое обслуживание и время отдыха принимаются в процентах от оперативного
времени
Топ = То + Тв
Топ = 3,2 +
2,5 = 5,7 мин
Тобс = 3% от
Топ
Тотд = 3% от
Топ
Тобс = 0,088
мин
Тотд = 0,088
мин
Тшт = 3,2 +
2,5 + 2*0,088 = 5,876 мин
Штучно –
калькуляционное время определяется по формуле
где Тп.з. –
подготовитель – заключительное время.
nз – партия запуска деталей.
Тшт.к = 5,876
+ 22/398 = 5,93 мин
Рассчитываем
норму времени на сверление центровых отверстий.
L = 13,34 + 5 = 18,34 мм;
То = 18,34 *
1/1650 * 0,15 = 0,074 мин;
Тв = 1,65
мин.
Определяем
оперативное время:
Топ = 0,074 +
1,65 = 1,724 мин;
Тобс = 0,052
мин;
Тотд = 0,155
мин.
Штучное
время:
Тшт = 0,074 +
1,65 + 0,052 + 0,155 = 1,931 мин.
Штучно –
калькуляционное время:
Тшт-к = 1,931
+ 12/398 = 1,96мин.
Расчёт
технического нормирования на операцию «Токарная с ЧПУ».
Определяем
основное автоматическое время:
,
где: i – число проходов;
L – длина обрабатываемого участка;
n - частота вращения шпинделя;
S – подача
Переход 2
Переход 3
Переход 5
Переход 6
Время
автоматической работы станка:
Вспомогательное
время на установку детали в патрон с поджатием задним центром и снятие после
обработки :
Вспомогательное
время, связанное с обработкой и не вошедшее в программу ( Т всп ), в него
входит:
-
включить(выключить) станок -0,04 мин;
-
открыть(закрыть) оградительный щиток от стружки – 0,03мин;
- установить
координаты - X Y – 0,15 мин;
- ввести
коррекцию – 7*0,04=0,28 мин
Итого Т всп =
0,5 мин
Ручное
вспомогательное время :
где: Тви=0
- Вспомогательное непрерывное время на ручные измерения.
Оперативное
время на операцию:
где: Ktв=0,95 – поправочный коэффициент на время выполнения
ручной вспомогательной работы.
Время на обслуживание
рабочего места, личные надобности и отдых составляет 9 % от оперативного
времени :
Штучное время
обработки детали:
Подготовительно
заключительное время на партию обрабатываемых деталей с разбивкой по элементам
затрат составляет:
- на
ограниченную подготовку средней сложности – 16 мин
- на наладку
станка, инструмента, приспособления:
1. Установить
инструмент в резцедержатель и снять после обработки – 0,4*7=2,8мин;
2. Установить
с регулировкой поводковый патрон и снять его после обработки – 4,5 мин;
3. Настроить
нулевое положение каретки суппорта – 2,5 мин
4. Установить
перфоленту, проверить работоспособность считывающего устройства, снять
перфоленту – 2,4 мин
Итого Тпз=2,8+4,5+2,5+2,4=12,2
мин
Штучно –
калькуляционное время:
где: N=398 партия деталей средней величины.
Расчёт
технического нормирования на операцию «Круглошлифовальная»
Рассчитываем
время на обработку поверхности 1
Рассчитываем
время на обработку поверхности 2
Рассчитываем
время на обработку поверхности 3
Рассчитываем
время на обработку поверхности 4
Определяем
для всей операции:
Определяем
общую трудоёмкость для изготовления детали
«Ступенчатый
вал»
2.4 Расчёт
калькуляции себестоимости детали из заготовки-штамповки
Таблица 2.6.-Калькуляция
себестоимости штамповки.
|
Наименование затрат
|
Сумма, руб.
|
|
Задано в производство
|
91,17
|
|
Отходы
|
0,08
|
|
Итого
|
91,25
|
|
Электроэнергия на 1 изделие
|
5,33
|
|
з/п рабочих
|
12,31
|
|
Дополнительная з/п
|
2,46
|
|
Отчисления от з/п
|
3,87
|
|
Общепроизводственные расходы
|
115,21
|
|
Общезаводские расходы (180%)
|
207
|
|
Прочие расходы (7,5%)
|
8,64
|
|
Производственная себестоимость
|
215,64
|
|
Внепроизводственные расходы(3,5%)
|
7,5
|
|
Полная себестоимость
|
223,2
|
|
Прибыль
|
72,42
|
|
Оптовая цена без НДС
|
300
|
|
НДС (18%)
|
52
|
|
Оптово-отпускная цена
|
2.5 Определение
технико-экономических показателей
2.5.1
Объем реализации определяю по формуле:
Vp.n.=Ц х N,
где: Ц -
оптовая цена (без НДС), руб.;
N - годовой
выпуск, шт;
Vp.n.= 352 х
20000=7040000 руб.
2.5.2
Себестоимость реализованной продукции определяю по формуле:
Ср=Сполн*N,
где: Сполн -
полная себестоимость,руб.;
N - годовой
выпуск, шт;
Ср=223,2 х
20000=4464000 руб.
2.5.3
Прибыль от реализованной продукции определяю по формуле:
n=Vp.n.-Cp,
где: Vp.n. -
объем реализации, руб.;
Ср -
себестоимость реализованной продукции, руб.;
П=7040000 -
4464000=2576000 руб.
2.5.4
Рентабельность определяю по формуле:
Рз=(( Vp.n.-
Ср)/ Ср) х 100%,
где: Vp.n. -
объем реализации, руб.;
Ср -
себестоимость реализованной продукции, руб.;
Рз=((7040000
- 4464000)/ 4464000) х 100%=58%
2.5.5
Использование прибыли:
Налог на
имущество 2,2% от среднегодовой стоимости имущества:
Сим=Сзд+Соб,
Сзд -
стоимость зданий, руб.;
Соб -
стоимость оборудования, руб.
Ним=2,2%
Сср.г.=0,022 х 7067500=155485 руб.
Налог на
прибыль 20% от налогооблагаемой прибыли:
Нпр=0,20 х
Пн=0,20 х 2576000 =515200 руб.
Чистую
прибыль определяю по формуле:
Пч=Пн-Нп,
где: Пн. -
налогооблагаемая прибыль, руб.; Нп - налог на прибыль, руб.
Пч=2576000 -
51520 = 2060800 руб.
Фонд
потребления определяю по формуле:
Фп=0,6 х
Пч=0,6 х 2060800 =1236480 руб
Фонд
накопления определяю по формуле:
Фн=0,4 х
Пч=0,4 х 2060800 =824320 руб.
Фонд
заработной платы за год
Фз.п=1772244+412908,1+214776=2399928,1
руб.
Среднемесячная
заработная плата на 1-го работающего определяю по формуле:
Ср.м.зп.=Фзп/(12
х работающих)
Ср.м.зп.=
(2399928,1)/(12 х 38)=5263руб.
Ср.м.зп.=
6743 руб.
Фондоотдачу
определяю по формуле:
Фoт=Vp.n./
Сср.г.ст.осн.ф.
Фот=7040000/
7067500 = 1 руб.
Фондовооруженность
определяю по формуле:
Фвоор=
Сср.г.ст.осн.ф/ Кработающих
Фвоор=7067500
/38= 185986,8 руб/чел.
Экономический
эффект будет равен следующему:
Э1 = (Sзаг1 – Sзаг2) хN =
(142 – 91)х20000 = 1020000 руб. – такую дополнительную экономию мы получим при
использовании заготовки штамповки на деталь «Ступенчатый вал».
При
использовании предлагаемого технологического процесса уменьшается время
межоперационного цикла на 18,5 мин, что также даёт дополнительную экономию:
Э2 = 20000 *
0,30 *40 = 800000 руб.
Дополнительная
экономия из-за уменьшения фонда оплаты труда составит:
Э3 = 1480 +
0,2*1480 + 0.26*1480 = 2160,8 тыс. руб. =2160800 руб.
Итоговая
экономия = 2160800 + 800000 + 1020000 = 3980800 руб.
Затраты на
введение данного технологического мероприятия составят 20 тыс. руб., которые
пойдут на маркетинговые исследования, на разработку подробного техпроцесса, на
оценку и анализ экономической эффективности данного мероприятия, на
переподготовку кадров, переналадку оборудования, изготовление нового
инструмента и приспособлений и т.д.
Таблица.2.5.
- Эффект в первый год предложенного мероприятия.
|
№ п/п
|
Статьи чистого дохода
|
Результат
|
|
1
|
Рост прибыли от реализации продукции
|
7040000руб.
|
|
2
|
Увеличение амортизации
|
---------------------------
|
|
3
|
Увеличение налога на прибыль
|
1408000руб
|
|
4
|
Увеличение налога на имущество
|
----------------------
|
|
5
|
Уплата процентов за кредит
|
-------------------------
|
|
Итого
|
5632000руб.
|
|
Дополнительная прибыль на единицу продукции
|
282 руб.
|
Рассчитаем
чистые денежные поступления на протяжении всего жизненного цикла мероприятия
(берём 7 лет)
Расчёт:
Исходные
данные для вычислений:
Инвестиции
-20 тыс. руб.
Процент
дисконта - 25%
Дополнительная
прибыль от реализации за единицу продукции – 0,282 тыс.руб.
Количество
реализованной продукции – 20000 шт.
Цена
реализации – 0,352 тыс. руб.
Полученные
данные из электронных таблиц представлены ниже в виде графика окупаемости
инвестиций и расчёта поступления чистых денежных поступлений в результате работы
данного проекта.
Таблица
2.6.-Исходные данные для расчета чистых денежных поступлений.
|
Показатель
|
Ед.изм.
|
Сумма
|
|
Себестоимость продукции до внедрения мероприятий
|
Тыс. руб.
|
0,142
|
|
Себестоимость продукции после внедрения
мероприятий
|
Тыс. руб.
|
0,091
|
|
Наиболее вероятная цена продукции
|
Тыс.руб.
|
0,352
|
|
Срок службы оборудования
|
год
|
7
|
|
Ликвидационная стоимость
|
Тыс. руб.
|
0
|
|
Норма дисконта
|
%
|
25
|
|
Дополнительная прибыль от реализации за единицу
|
Тыс.руб.
|
0,282
|
|
Годовая амортизация оборудования.
|
Тыс. руб.
|
0
|
Таблица
2.7.-Исходные данные для расчета чистых денежных поступлений.
|
Показатель
|
Год
|
|
1
|
2
|
3
|
4
|
5
|
6
|
7
|
|
Наиболее вероятные обьемы продаж в течении
жизненного цикла мероприятий ,шт.
|
20000
|
20000
|
20000
|
20000
|
20000
|
20000
|
20000
|
Таблица2.8.-Расчет
чистых денежных поступлений.
|
Показатель
|
Годы
|
|
1
|
2
|
3
|
4
|
5
|
6
|
7
|
|
Дополнительная прибыль от реализации,т.р.
|
5632
|
5632
|
5632
|
5632
|
5632
|
5632
|
5632
|
|
Налог на имущество,т.р.
|
0
|
0
|
0
|
0
|
0
|
0
|
0
|
|
Дополнительная налогооблагаемая прибыль,т.р.
|
5632
|
5632
|
5632
|
5632
|
5632
|
5632
|
5632
|
|
Налог на прибыль т.р.
|
1408
|
1408
|
1408
|
1408
|
1408
|
1408
|
1408
|
|
Амортизация, т.р.
|
0
|
0
|
0
|
0
|
0
|
0
|
0
|
|
Чистые денежные поступления, т.р.
|
7040
|
7040
|
7040
|
7040
|
7040
|
7040
|
7040
|
Таблица2.9.-Расчет
экономического эффекта проектных предложений.
|
Показатель
|
|
Годы
|
|
0
|
1
|
2
|
3
|
4
|
5
|
6
|
7
|
|
Процент
|
25%
|
25%
|
25%
|
25%
|
25%
|
25%
|
25%
|
25%
|
|
Чистые денежные поступления, т.р.
|
0
|
7040
|
7040
|
7040
|
7040
|
7040
|
7040
|
7040
|
|
Дисконтированные денежные поступления,т.р.
|
0
|
5632
|
4505,6
|
3604,5
|
2883,6
|
2306,9
|
1845,5
|
110,94
|
|
Инвестиции, т.р.
|
5000
|
0
|
0
|
0
|
0
|
0
|
0
|
0
|
|
Сумма дисконтированных чистых денежных поступлений,
т.р.
|
0
|
5632
|
10138
|
13742
|
16626
|
18933
|
20778
|
20889
|
|
Сумма дисконтированных инвестиций, т.р.
|
5000
|
5000
|
5000
|
5000
|
5000
|
5000
|
5000
|
5000
|
|
ЧДД, т.р.
|
-5000
|
632
|
5137,6
|
8742,1
|
11626
|
13933
|
15778
|
15889
|
|
ИД
|
0
|
1,13
|
2,03
|
2,75
|
3,33
|
3,79
|
4,16
|
4,18
|
|
|
|
|
|
|
|
|
|
|
Из
таблицы 2.9.видно, что
Чистый
дисконтированный доход равен 15888,9 тыс.руб.
Индекс
доходности равен 3,33
Срок
окупаемости инвестиций равен 0,89 года
По данным таблицы 2.9.
построим график окупаемости инвестиций
Раздел
3. Организационно-экономическая часть
Службу
материально-технического снабжения возглавляет отдел МТС (ОМТС).
Задача ОМТС - бесперебойное материальное
обеспечение производства в соответствии с планом выпуска продукции. Структура
ОМТС показана на рис. 1.
Основные функции ОМТС:
ü
- разработка
нормативов запасов материальных ресурсов;
ü
- планирование
потребности в материальных ресурсах и в ее увязка с планом производства и
нормативами запасов;
ü
- поиск
поставщиков, оценка вариантов поставок и выбор поставщиков по критериям
качества поставляемых материалов, надежности поставщиков, цен, условий платежей
и поставок, транспортно- заготовительных расходов и т.д.;
ü
- заключение
договоров на поставки;
ü
- организация
работ по доставке материальных ресурсов, контроль и оперативное регулирование
выполнения договоров поставок;
ü
- организация
приемки, обработки и хранения материальных ресурсов;
ü
- оперативное
планирование и регулирование обеспечения производства материальными ресурсами;
ü
- учет, контроль
и анализ расходования материальных ресурсов;
ü
- надзор за
рациональным использованием материалов в производстве.
Планирование МТС. План материально-технического
снабжения - это совокупность расчетных документов, в которых обоснована
потребность предприятия в материальных ресурсах и определены источники их
покрытия. Он сопоставляется в форме баланса МТС.
План МТС разрабатывается
с учетом:
ü
- производственной
программы;
ü
- нормативов
запасов материальных ресурсов;
ü
- норм расходов
сырья, материалов, полуфабрикатов, топлива, комплектующих изделий;
ü
- планов
капитального строительства, реконструкции, подготовки производства новых
изделий, работ по ремонту и эксплуатации оборудования, зданий, сооружений,
бытовых объектов и т.д.;
ü
- остатков материальных
ресурсов на начало и конец планируемого периода;
ü
- установленных и
вновь налаживаемых связей с поставщиками;
ü
- цен на все виды
материально-технических ресурсов.
Потребность в материалах
на основное производство (Gм.осн) определяется по формуле
где Qi - объем
выпуска продукции по каждому наименованию (шт.);
ni - норма
расхода материала на одно изделие с учетом технологических потерь (натур. ед.);
m - количество наименований
изделий.
Общая потребность в
конкретных материалах (Gм) определяется по формуле
где Zн.з -
норма запаса материала;
Zм.ф -
фактическое наличие материалов на предприятии;
Gм.н.п -
необходимое количество материалов для изменения незавершенного производства;
Gм.экс -
потребность в материалах для ремонтно-эксплуатационных и других нужд.
Потребность в
материальных ресурсах определяется расходами на:
ü
- основное
производство, включая производство комплектующих изделий и запасных частей;
ü
- изготовление
технологической оснастки и инструмента;
ü
- изготовление
нестандартного оборудования и модернизация оборудования;
ü
- проведение НИР
и ОКР (с учетом изготовления опытных образцов и экспериментальных работ);
ü
- реконструкцию
цехов, участков;
ü
- ремонтно-эксплуатационные
нужды;
ü
- капитальное
строительство;
ü
- работы
социально-культурной и бытовой сфер;
ü
- создание
запасов.
Необходимым условием
организации производства продукции является обеспечение его материальными
ресурсами: сырьем, материалами, топливом, энергией, полуфабрикатами и т.д.
Стоимость материальных
ресурсов входит в себестоимость продукции по элементу «Материальные затраты» и
включает в себя цену их приобретения (без учета НДС и акцизов), наценки,
комиссионные вознаграждения, уплачиваемые снабженческим и внешнеэкономическим
организациям, стоимость услуг бирж, таможенных пошлин, плату за
транспортировку, хранение и доставку, осуществленные сторонними организациями.
Удовлетворение
потребности предприятия в материальных ресурсах может обеспечиваться двумя
путями: экстенсивным и интенсивным (рис.2). Экстенсивный путь предполагает
увеличение добычи и производства материальных ресурсов и связан с
дополнительными затратами. Кроме того, рост объема производства при
существующих технологических системах привел к тому, что темпы истощения
природных ресурсов и уровень загрязнения окружающей среды вышли за допустимые
пределы. Поэтому рост потребности предприятия в материальных ресурсах должен
осуществляться за счет более экономного их использования в процессе
производства продукции или интенсивным путем.
Рис.2. Основные пути
улучшения обеспеченности материальными ресурсами
Изыскание
внутрипроизводственных резервов экономии материальных ресурсов составляет
содержание экономического анализа, который предполагает следующие этапы:
1. Оценка качества планов
материально-технического снабжения и анализ их выполнения;
2. Оценка потребности
предприятия в материальных ресурсах;
3. Оценка эффективности
использования материальных ресурсов;
4. Факторный анализ общей
материалоемкости продукции;
5. Оценка влияния
стоимости материальных ресурсов на объем производства продукции.
Источники информации для анализа материальных ресурсов:
план материально-технического снабжения, заявки, спецификации, договоры на поставку
сырья и материалов, формы статистической отчетности о наличии и использовании
материальных ресурсов и его затратах на производство и реализацию продукции,
плановые и отчетные калькуляции себестоимости выпускаемых изделий, данные о
нормативах и нормах расходов материальных ресурсов.
Оценка качества планов материально-технического снабжения
Важным условием
бесперебойной нормальной работы предприятия является полная обеспеченность
потребности в материальных ресурсах (MPi) источниками
покрытия (Ui):
MPi = Ui
.
Различают внутренние
(собственные) источники и внешние.
К внутренним источникам
относят сокращение отходов сырья, использование вторичного сырья, собственное
изготовление материалов и полуфабрикатов, экономию материалов в результате
внедрения достижений научно-технического прогресса.
К внешним источникам
относят поступление материальных ресурсов от поставщиков в соответствии с
заключенными договорами.
Потребность в завозе
материальных ресурсов со стороны определяется разностью между общей
потребностью в i-м виде материальных ресурсов и суммой внутренних источников ее
покрытия. Степень обеспеченности потребности в материальных ресурсах договорами
на их поставку оценивается с помощью следующих показателей:
- коэффициент
обеспеченности по плану
;
- коэффициент
обеспеченности фактический
.
Анализ данных
коэффициентов проводится по каждому виду материалов.
По данным
табл. план по обеспечению предприятия материальными ресурсами перевыполнен на
3,2%
, Коб.пл =
1,032. Однако с учетом договорных обязательств процент составил 98,4%
Коб.ф=0,984.
Это может быть связано с поставками ресурсов сверх плана (увеличения объема
производства) и недопоставками вследствие нарушения договорных обязательств.
Определим
степень влияния причин недопоставки:
- общий
процент недопоставки 100-98,4=1,6%, в т.ч. в связи с нарушением сроков поставки
;
- нарушение
качества
;
-
недопоставки по объему
;
- недостатки
по номенклатуре
.
Проверяется
также качество полученных от поставщиков материалов, соответствие их стандартам
ТУ, условиям договора и в случаях их нарушения предъявляются претензии поставщикам.
Уровень
обеспеченности предприятия сырьём и материалами определяется
сравнением фактического количества закупленного сырья с их плановой
потребностью. Необходимо также проверить обеспеченность потребности в завозе
материальных ресурсов договорами на их поставку и фактическое их выполнение.
Важным условием
бесперебойной работы предприятия является полная обеспеченность потребности в
материальных ресурсах источниками покрытия. Они могут быть внешними и
внутренними. K внешним источникам относятся материальные ресурсы, поступающие
от поставщиков и соответствии c заключенными договорами. Внутренние источники —
это сокращение отходов сырья, использование вторичного сырья, собственное
изготовление материалов и полуфабрикатов, экономия материалов в результате
внедрения достижений научно-технического прогресса.
Анализ материалоемкости
продукции выявил возможные резервы ее снижения. Для того чтобы использовать эти
резервы необходимо разработать мероприятия по снижению материалоемкости.
Основными резервами снижения материалоемкости является удельный расход
материалов и цены на материальные ресурсы.
Необходимо разработать
мероприятия по соблюдению строжайшего режима экономии на всех участках
производственно-хозяйственной деятельности предприятия, которые проявятся
прежде всего в уменьшении затрат материальных ресурсов на единицу продукции.
Также необходимо ликвидировать брак, либо сократить его до определенного
уровня.
Предприятие имеет
возможность влиять на величину затрат материальных ресурсов, начиная с их заготовки.
Сырье и материалы входят в себестоимость по цене их приобретения с учетом
расходов на перевозку, поэтому правильный выбор поставщиков материалов влияет
на себестоимость продукции. Важно обеспечить поступление материалов от таких
поставщиков, которые находятся на небольшом расстоянии от предприятия, а также
перевозить грузы наиболее дешевым видом транспорта. При заключении договоров на
поставку материальных ресурсов необходимо заказывать такие материалы, которые
по своим размерам и качеству точно соответствуют плановой спецификации на
материалы, стремиться использовать более дешевые материалы, не снижая в то же
время качества продукции.
Необходимо провести
маркетинговые исследования рынка поставщиков материальных ресурсов с целью
выявления новых поставщиков с более низкими ценами. Сотрудничество с
постоянными поставщиками может привести к выгодным системам скидок на
приобретаемые материалы (2-3%) с условием полной предварительной оплаты.
Важнейшим инструментом
изыскания внутрипроизводственных резервов экономии и рационального
использования материальных ресурсов является экономический анализ. Его задачами
в этой области являются:
оценка потребности
предприятия в материальных ресурсах;
изучение качества и
реальности планов материально – технического обеспечения, анализ их выполнения
и влияния на объем производства продукции, ее себестоимость и другие
показатели;
характеристика динамики и
выполнения планов по показателям использования материальных ресурсов;
оценка уровня
эффективности использования материальных ресурсов;
определение системы
факторов, обуславливающих отклонение фактических показателей использования
материалов от плановых или от соответствующих показателей за предыдущий период;
количественное измерение
влияния факторов на выявленные отклонения показателей;
выявление и оценка
внутрипроизводственных резервов экономии материальных ресурсов и разработка
конкретных мероприятий по их использованию.
В нашем случае
предлагаются следующие мероприятия:
Уменьшение отходов
благодаря введению нового оборудования по контролю (весы)
Капитальные
затраты на проведение мероприятий будут следующие:
1.закупка
весов – 500 тыс. руб. установка и монтаж - 5000 руб – итого – 505 тыс. руб.
Итого
затраты на предложенные мероприятия составили – 505 тыс.руб.
Из
аналитической части мы знаем, что прибыль за 2008 год составила 454888 руб. как
правило, 60% прибыли отчисляется на развитие производства. Это составит
0,6
* 454888 = 272932,8 руб.
Именно
из этих денег мы и будем инвестировать наши предложенные мероприятия.
Большое значение
придаётся выполнению плана по срокам поставки материалов (ритмичности).
Нарушение сроков поставки ведёт к недовыполнению плана производства и
реализации продукции. Для оценки ритмичности поставок используют коэффициент
ритмичности, коэффициент вариации.
Для оценки ритмичности
поставок используются показатели:
- коэффициент
неравномерности поставок материалов:
где x –процент выполнения
плана поставки по периодам (дням, декадам, месяцам);
f – план поставки за те же периоды;
- коэффициент вариации:
где Δ f –
отклонение объема поставки по периодам от плана;
k – количество
анализируемых периодов;
- средний объем поставки материалов
за период.
Неритмичная поставка
материальных ресурсов ведет к простоям оборудования, потерям рабочего времени,
необходимости сверхурочных работ. Оплата простоев не по вине рабочих и сверхурочных
работ ведет к увеличению себестоимости выпускаемой продукции и соответственно к
снижению прибыли предприятия.
Достижение целей
предприятия зависит в основном от трех факторов: выбранной стратегии,
организационной структуры и от того, каким образом эта структура будет
функционировать.
«Организационная
структура на предприятии может быть определена как конструкция организации, на
основе которой осуществляется управление ОМТС – это совокупность служб,
отделов, подразделений, в состав которых входят работники, занимающиеся той или
иной снабженческой деятельностью»
Организационная
структура ОМТС предприятия может иметь одну из следующих ориентаций по:
·
функциям;
·
товарам;
·
рынкам
и покупателям;
·
регионам;
·
функциям
и товарам;
·
функциям
и рынкам;
·
функциям
и регионам.
Трудоемкость каждой операции определяется независимыми
экспертами.
Определим трудоёмкость одной из операций – разработка проектов по снижению затрат.
Трудоемкость определяется путем ранжирования, с помощью коэффициента
конкордации.
Экспертами выступают 5 человек. Предлагается 4 варианта
трудоемкости:
Варианты трудоемкости
Таблица 3.1
|
№ варианта
|
Предлагаемая
трудоемкость
|
|
1
|
74
|
|
2
|
75
|
|
3
|
70
|
|
4
|
80
|
Таблица 3.2
Сводная таблица расчётов
|
№ п/п
|
Эксперты
|
Варианты
|
|
1
|
2
|
3
|
4
|
|
1
|
2
|
3
|
4
|
5
|
6
|
|
1
|
1
|
1
|
2
|
3
|
4
|
|
2
|
2
|
2
|
1
|
3
|
4
|
|
3
|
3
|
1
|
3
|
2
|
4
|
|
4
|
4
|
1
|
2
|
3
|
4
|
|
5
|
5
|
2
|
1
|
4
|
3
|
|
6
|
|
7
|
9
|
15
|
19
|
|
7
|
Результирующий
ранг
|
1
|
2
|
3
|
4
|
|
8
|
Средняя
сумма рангов
|
10
|
10
|
10
|
10
|
|
9
|
2
|
9
|
1
|
25
|
81
|
Произведем пошаговый расчет для определения наиболее
вероятной трудоемкости.
1.
Определяем какая
наиболее вероятная трудоемкость для выполнения данной операции. Мнение каждого
эксперта заносятся в таблицу.
2.
Далее считаем
сумму рангов по каждому варианту.
3.
Наименьшей сумме
рангов присваивается 1, далее по возрастающей.
4.
Средняя сумма
рангов находится как сумма рангов деленная на количество экспертов.
(7+9+15+19)/5=10
5.
Определяем квадрат
разности, для чего сумма рангов вычитается из средней суммы рангов, а
полученный результат возводится в квадрат.
6.
Считаем
коэффициент конкордации:
; где
К
- количество экспертов;
Н
- количество объектов.
C - сумма
;
Мнение экспертов достаточно согласованно так как
Наиболее вероятное значение трудоемкости 74 часа.
Таким же образом были проведены расчеты по выполнению других
операций.
Таблица
3.2.Трудоемкость операций выполняемых в отделе МТС
|
N
|
Наименование
операции.
|
Кто выполняет
(должность).
|
Трудоем-кость
данной операции, н.-час.
|
Число операций
в год.
|
Общая трудоем-
кость
выполнения операций за год.
|
|
1
|
2
|
3
|
4
|
5
|
6
|
|
1
|
Разработка годового
плана деятельности
|
начальник
отдела, зам.начальника отдела
|
35
|
165
|
5775
|
|
2
|
Анализ поставщиков
|
Начальник
|
40
|
25
|
1000
|
|
3
|
Составление
предварительного плана калькуляции по закупкам
|
Начальник
|
15
|
71
|
1065
|
|
4
|
Разработка
проектов по снижению затрат
|
Весь отдел
.
|
74
|
112
|
8288
|
|
5
|
Обработка
отчетов о выполнении плана закупок
|
Весь отдел
.
|
41
|
62
|
2542
|
|
6
|
организация
системы формирования запасов
|
Весь отдел
.
|
40
|
38
|
1520
|
|
7
|
организация контроля поставок сырья и материалов
(обратные связи, ситуационный анализ).
|
Начальник отдела
|
57
|
52
|
2964
|
|
итого
|
|
|
490
|
17000
|
На
данный момент поставщиками занимается 4 человека, за 2007 год в отделе было
выполнено 490 операция, общая трудоемкость которых составила 17000 часов.
Годовой фонд рабочего времени 1 работника составляет Фв=7,3×20×12=1752
часов. На самом деле имеем следующие показатели:
Рассчитаем
необходимую потребность работников для выполнения работы:
17000:1752
= 10 чел.
Для
выполнения работы отдела необходимо 10 чел, а в отделе работает 4 чел.
Можно
сделать вывод о том, что работники ОМТС имеют нагрузку большую, чем эффективный
фонд рабочего времени. Следовательно, они не могут выполнять свои функции в
полном объеме, а, значит, необходимо провести реорганизацию отдела с внедрением
новых компьютеров и добавлением работников.
Рассчитаем
необходимые затраты для реконструкции ОМТС
Введём
в отдел дополнительно 6 человек, которые будут заниматься анализом поставщиков
(оптимизация цен на сырьё и транспортные расходы)
Средняя
заработная плата работника отдела составляет 15 тыс.руб. в месяц. Для этого
необходимо:
15000х6х12=
1080000 руб.= 1080,0 тыс.руб.
Таблица
3.3 - Расчет затрат, связанных с реконструкцией ОМТС
|
Наименование оборудования.
|
Стоимость единицы оборудова-ния.
|
Количество единиц оборудова-ния
|
Общая стоимость.
|
|
Сетевая карта 3COM 3C905C-TX-M w. WOL BootROM,
10/100TX
|
1374
|
6
|
8244
|
|
Сетевой концентратор Compex PS2208 8 портов,
10/100mbps Switch
|
865
|
6
|
5190
|
|
Кабель UTP 5 kat. (305м)
|
988
|
1
|
988
|
|
Короб для укладки проводов 20×10 (300м)
|
3506
|
1
|
3506
|
|
Принтер Samsung ML 1210 лазернA4 600x600dpi
12стр/мин USB1.1/LPT
|
5226
|
6
|
33756
|
|
Стоимость установки и подключения данного
оборудования.
|
1350
|
-
|
1350
|
|
компьютеры
|
25000
|
6
|
150000
|
|
Приобретение офисной мебели
|
12000
|
6
|
72000
|
|
Итого
|
-
|
-
|
273684
|
Для
данного преобразования потребуются затраты в размере 273684 рубля.
Таблица
3.4.Трудоемкость операций выполняемых в ОМТС после внедрения проектных
мероприятий
|
N
|
Наименование
операции.
|
Кто
выполняет (должность).
|
Трудоем-кость
данной операции, н.-час.
|
Число операций
в год.
|
Общая трудоем-
кость
выполнения операций за год.
|
|
1
|
2
|
3
|
4
|
5
|
6
|
|
1
|
Разработка годового
плана деятельности
|
начальник
зам.начальника отдела
|
35
|
100
|
3500
|
|
2
|
Анализ
поставщиков
|
Начальник
|
40
|
21
|
840
|
|
3
|
Составление
предварительного плана калькуляции по закупкам
|
Начальник
|
15
|
67
|
1005
|
|
4
|
Разработка
проектов по снижению затрат
|
Весь отдел
.
|
74
|
45
|
3330
|
|
5
|
Обработка
отчетов о выполнении плана
|
Весь отдел
|
41
|
44
|
1894
|
|
6
|
организация
системы снабжения
|
Весь отдел
|
40
|
28
|
1120
|
|
7
|
организация
контроля (обратные связи, ситуационный анализ).
|
Начальник
отдела,
|
57
|
36
|
2052
|
|
итого
|
|
|
490
|
10752
|
На
выполнение тех же 490 операций общая трудоемкость в год сократилась на
17000
– 10752 = 6248 нормо-часов.
Это
дало возможность сотрудникам снизить дополнительную нагрузку и работать более
продуктивно и эффективно.
Инвестиции на данный
проект составят 273,684тыс.руб.
Для
качественного и эффективного исполнения исследований необходимо предусмотреть в
финансовом плане предприятия соответсвующую статью расходов. На 2009 год
затраты по этой статье могут быть в размере 5000 тыс. руб.
Направление
их следующее
- реклама
- 1000 тыс. рублей.
- исследование
рынка - 4000 тыс. рублей.
Оценку
эффективности работы МТС проведём снова путём экспертных оценок.
Увеличение объёма продаж каждого варианта определяется
независимыми экспертами.
Увеличение объёма продаж определяется путем ранжирования, с помощью
коэффициента конкордации.
Экспертами выступают 3 человек. Предлагается 3 варианта
трудоемкости:
Варианты трудоемкости
Таблица 3.1
|
№ варианта
|
Увеличение
объёма продаж
|
|
1
|
10
|
|
2
|
5
|
|
3
|
15
|
|
4
|
13
|
Таблица 3.2
Сводная таблица расчётов
Эксперты
|
Варианты
|
|
1
|
2
|
3
|
4
|
|
1
|
2
|
3
|
4
|
5
|
|
|
1
|
1
|
1
|
2
|
3
|
4
|
|
2
|
2
|
2
|
1
|
3
|
4
|
|
3
|
3
|
1
|
3
|
2
|
4
|
|
6
|
|
4
|
6
|
8
|
12
|
|
7
|
Результирующий
ранг
|
1
|
2
|
3
|
4
|
|
8
|
Средняя
сумма рангов
|
5
|
5
|
5
|
5
|
|
9
|
2
|
1
|
1
|
16
|
49
|
Произведем пошаговый расчет для определения наиболее
вероятной трудоемкости.
5.
Определяем какая
наиболее вероятная трудоемкость для выполнения данной операции. Мнение каждого
эксперта заносятся в таблицу.
6.
Далее считаем
сумму рангов по каждому варианту.
7.
Наименьшей сумме
рангов присваивается 1, далее по возрастающей.
8.
Средняя сумма
рангов находится как сумма рангов деленная на количество экспертов.
(4+6+8 + 12)/3=5
7.
Определяем квадрат
разности, для чего сумма рангов вычитается из средней суммы рангов, а
полученный результат возводится в квадрат.
8.
Считаем
коэффициент конкордации:
; где
К
- количество экспертов;
Н
- количество объектов.
C - сумма
;
Мнение экспертов согласованно так как
Наиболее вероятное значение увеличения объёма продаж 10%.
Таким
образом, проведение комплекса исследований и реализация мероприятий по его
результатам создаст предпосылки увеличения объемов реализации в расчете на год
не менее, чем на 10% и, соответственно производство в том же соотношении.
Затраты
на введение данного мероприятия составят 5000 тыс. руб., которые пойдут на
маркетинговые исследования, на оценку и анализ экономической эффективности
данного мероприятия, на переподготовку кадров и т.д.
Увеличение
налога на прибыль ( налог на прибыль - 20%) – 0,20 * 454888 = 9097,6 тыс. руб.
Таблица. 3.5-
Эффект в первый год предложенного мероприятия.
|
№ п/п
|
Статьи чистого дохода
|
Результат
|
|
1
|
Рост прибыли от реализации продукции
|
454888 тыс.руб.
|
|
2
|
Увеличение амортизации
|
-------------------------
|
|
3
|
Увеличение налога на прибыль
|
9097,6 тыс. руб
|
|
4
|
Увеличение налога на имущество
|
-------------------------
|
|
5
|
Уплата процентов за кредит
|
-------------------------
|
|
Итого
|
445790,4 тыс. руб.
|
Рассчитаем
чистые денежные поступления на протяжении всего жизненного цикла мероприятия
(берём 7 лет)
Расчёт:
1 год
К = 5000
тыс.руб.
ЧДД0 = -К = -
5000 тыс. руб.
Дальнейший
расчёт дисконтированных чистых денежных поступлений прведём в электронных
таблицах Excel.
Процент
дисконта - 25%
Задаём данные
и получаем нижеприведённые таблицы и график окупаемости инвестиций.
Таблица
3.6 Расчет экономического эффекта проектных предложений
|
Наиболее
вероятные объемы продаж в течение жизненного цикла мероприятий, шт.
|
1
|
2
|
3
|
4
|
5
|
6
|
7
|
|
|
|
20000
|
20000
|
20000
|
20000
|
20000
|
20000
|
20000
|
|
|
|
Мероприятия
предусматривают закупку нового оборудования стоимостью
|
780
|
тыс.
р.
|
|
|
|
|
|
|
|
|
Срок
службы этого оборудования
|
7
|
года
|
|
|
|
|
|
|
|
|
Ликвидационная
стоимость
|
0
|
тыс.
р.
|
|
|
|
|
|
|
|
|
Норма
дисконта
|
25%
|
|
|
|
|
|
|
|
|
|
|
|
|
|
|
|
|
|
|
|
Решение
|
|
|
|
|
|
|
|
|
|
|
|
|
|
|
|
|
|
|
|
|
Дополнительная
прибыль от реализации на единицу
|
0,282
|
тыс.
р.
|
|
|
|
|
|
|
|
|
Годовая
амортизация оборудовния
|
111,429
|
тыс.
р.
|
|
|
|
|
|
|
|
|
Остаточная
стоимость оборудования по годам, тыс.р.
|
|
|
|
|
|
|
|
|
780
|
668,571
|
557,142
|
445,713
|
334,284
|
222,855
|
111,426
|
|
|
|
Расчет
чистых денежных поступлений
|
|
|
|
|
|
|
|
|
|
|
|
|
|
|
Табл.
1
|
|
|
|
|
|
Показатель
|
Годы
|
|
|
|
|
|
|
|
|
|
|
1
|
2
|
3
|
4
|
5
|
6
|
7
|
|
|
|
Дополнительная
прибыль от реализации, тыс.р.
|
5640
|
5640
|
5640
|
5640
|
5640
|
5640
|
5640
|
|
|
|
Налог
на имущество, тыс.р.
|
17,16
|
14,7086
|
12,2571
|
9,80569
|
7,35425
|
4,90281
|
2,45137
|
|
|
|
налогооблагаемая
прибыль
|
5
623
|
5
625
|
5
628
|
5
630
|
5
633
|
5
635
|
5
638
|
|
|
|
налог
на прибыль
|
1124,568
|
1125,06
|
1125,55
|
1126,04
|
1126,53
|
1127,02
|
1127,51
|
|
|
|
Амортизация,
тыс.р.
|
111,429
|
111,429
|
111,429
|
111,429
|
111,429
|
111,429
|
111,429
|
|
|
|
Чистые
денежные поступления, тыс.р.
|
4609,701
|
4611,66
|
4613,62
|
4615,58
|
4617,55
|
4619,51
|
4621,47
|
|
|
|
|
|
|
|
|
|
|
|
|
|
|
|
|
|
Табл.
2
|
|
|
|
|
|
Расчет
экономического эффекта проектных предложений
|
|
|
|
|
|
|
|
|
|
|
|
|
|
|
|
|
|
|
|
|
Показатель
|
Годы
|
|
|
|
|
|
|
|
|
|
|
0
|
1
|
2
|
3
|
4
|
5
|
6
|
7
|
|
|
Процент
|
25%
|
25%
|
25%
|
25%
|
25%
|
25%
|
25%
|
25%
|
|
|
Чистые
денежные поступления, т.р.
|
0
|
4609,7
|
4611,66
|
4613,62
|
4615,58
|
4617,55
|
4619,51
|
4621,47
|
|
|
Дисконтированные
чистые денежные поступления, т.р.
|
0
|
3687,76
|
2951,46
|
2362,18
|
1890,54
|
1513,08
|
1210,98
|
969,192
|
|
|
Инвестиции,
т.р.
|
5830
|
0
|
0
|
0
|
0
|
0
|
0
|
0
|
|
|
Сумма
дисконтированных чистых денежных поступлений, т.р.
|
0
|
3687,76
|
6639,23
|
9001,4
|
10891,9
|
12405
|
13616
|
14585,2
|
|
|
Сумма
дисконтированных инвестиций, т.р.
|
5830
|
5830
|
5830
|
5830
|
5830
|
5830
|
5830
|
5830
|
|
|
ЧДД,
т.р.
|
-5830
|
-2142,24
|
809,225
|
3171,4
|
5061,94
|
6575,02
|
7786
|
8755,19
|
|
|
ИД
|
0
|
0,63
|
1,14
|
1,54
|
1,87
|
2,13
|
2,34
|
2,5
|
|
|
|
|
|
|
|
|
|
|
|
|
Чистый
дисконтированный доход, т.р. -
|
8755,19
|
|
|
|
|
|
|
|
|
|
Индекс
доходности -
|
1,87
|
|
|
|
|
|
|
|
|
|
Срок
окупаемости, лет -
|
1,73
|
|
|
|
|
|
|
|
|
Раздел
4 Безопасность и экологичность проектных мероприятий
Охрана
труда - это система сохранения жизни и здоровья работников в процессе трудовой
деятельности, включающая в себя правовые, социально-экономические, организационно-технические,
санитарно-гигиенические, лечебно-профилактические, реабилитационные и иные
мероприятия (ст.209 ТК РФ в редакции Федерального закона N 90-ФЗ от 30.06.2006
г.). Деятельность, направленная на улучшение условий труда работающих обуславливает
повышение эффективности производства и увеличение прибыли
Обеспечение
охраны труда в организации возложено на работодателя (ст.212 ТК РФ). Кроме
всего прочего работодателю выгодно, чтобы работники были здоровы –так как при
этом повышается и экономическая эффективность самого производственного
процесса.
Реальные
производственные условия характеризуются наличием некоторых опасностей и
вредных условий. К опасным производственным факторам относятся такие
воздействия, которые рабочего приводят к травмам. К вредным производственным
факторам относят воздействия, приводящие рабочего к заболеваниям. Опасные и
вредные производственные факторы разделяются по природе действия на следующие
группы: физические, химические, биологические, психофизиологические
При
производстве ступенчатых валов характерны следующие опасные и вредные
производственные факторы:
1.физические:
ü движущиеся
машины и механизмы;
ü передвигающиеся
изделия, заготовки и материалы;
ü повышенная
запыленность и загазованность воздуха рабочей зоны;
ü повышенная
температура поверхностей оборудования, рабочих материалов;
ü повышенный
уровень шума на рабочем месте;
2.психофизические
факторы:
ü физические
перегрузки;
ü нервно-психические
перегрузки.
Целью
данного раздела дипломного проекта является анализ уровня травматизма,
заболеваемости, экологических проблем предприятия; разработка мероприятий по
охране труда и снижению загрязнения окружающей среды; расчет экономического
эффекта от реализации предложенных мероприятий по охране труда и экологии на
базе цеха механической обработки ОАО «Русполимет».
4.1
Экономические проблемы травматизма
Травматизм
на предприятии является одним из значимых явлений, которому уделяется
наибольшее внимание производственной деятельности.
В
цехе механической обработки цеха ОАО «Русполимет» за анализируемый период не
было зарегистрировано ни одного случая травматизма, связанного с
производственной деятельностью. Это достигается строгим соблюдением правил и
инструкций по технике безопасности и контроле над их выполнением
4.2.
Экономические проблемы заболеваемости
Наиболее
характерными вредными производственными факторами в цехе механической обработки
являются:
·
запылённость
воздуха рабочей зоны;
·
повышенный
уровень шума.
Таблица
4.1.
|
Наименование цеха
|
Характер заболеваний
|
Причины
|
|
ЦМО
|
Потеря слуха, сердечно-сосудистые заболевания
|
Шум
|
|
ЦМО
|
3аболевание органов дыхания
|
Запыленность воздуха рабочей зоны
|
Для
снижения запылённости воздуха рабочей зоны используются проектируемые защитные
устройства, такие как местная вытяжная вентиляция (в настоящее время
используется установка «Циклон») и система утилизации продуктов сгорания
топлива.
4.2.1
Защита от шума
Шумом,
называют всякий неблагоприятно действующий на человека звук. Обычно шум
является сочетанием звуков различной частоты и интенсивности. Неблагоприятное
действие шума на человека зависит от уровня звукового давления, частотного
диапазона шума, а также от равномерности воздействия в течение рабочего
времени. Кроме непосредственного влияния на орган слуха шум влияет на различные
отделы головного мозга, изменяя нормальные процессы высшей нервной
деятельности. Распространенными жалобами являются: повышенная утомляемость,
общая слабость, раздражительность, апатия, ослабление памяти и т. д. Также под
влиянием шума выступают изменения в органе зрения человека и вестибулярном
аппарате, нарушаются функции желудочно-кишечного тракта, повышается
внутричерепное давление, происходят нарушения в обменных процессах организма. В
результате неблагоприятного воздействия шума на работающего человека происходит
снижение производительности труда, увеличивается брак в работе, создаются
предпосылки к возникновению несчастных случаев.
Далее
в табличной форме представим фактический уровень шума в соответствии с
нормативами /СН 2.2.4./2.1.8.562-96/:
Таблица
4.2.
|
Рабочие места
|
Уровни звукового давления, дБ
|
Уровни звука и эквивалентные уровни звука, дБ
|
|
31,5
|
63
|
250
|
500
|
1000
|
2000
|
4000
|
8000
|
|
Постоянные рабочие места
|
ПДУ
|
80
|
|
107
|
95
|
87
|
82
|
78
|
75
|
73
|
71
|
69
|
|
Рабочие места в ЦМО
|
Фактический уровень
|
90
|
|
110
|
98
|
90
|
84
|
81
|
77
|
75
|
73
|
71
|
Для того чтобы снизить воздействие
вредных производственных факторов на рабочий персонал, целесообразно произвести
отделку стен в помещении звукопоглощающим материалом и созданием «зон тишины»,а
так же использовать средства индивидуальной защиты органов слуха — «наушники» .
Правильное и постоянное применение средств защиты слуха снижает шумовую
нагрузку, для наушников на 20–30 дБ А.
Чтобы добиться эффективного снижения
шумового воздействия, необходимо постоянно применять средства защиты органов
слуха. Даже кратковременное снятие средств защиты в условиях шума значительно
снижает эффективность защиты. . Наушники должны плотно закрывать уши. В случае
несоблюдения перечисленных условий уровень снижения шума составит не более 10 дБ
А.
4.2.2 Защита от вредных веществ
Таблица
4.3.
|
Источник поступления
|
Вредные вещества
|
ПДК, мг/м3
|
Класс опасности
|
Фактич еская концентрация
|
Воздействие на человека
|
|
ГОСТ 12.1.005-88
|
|
участок ЦМО
|
Дижелезо триоксид
|
6
|
4
|
12
|
Фиброгенное действие
|
Эффективным средством обеспечения
надлежащей чистоты и допустимых параметров воздуха рабочей зоны является
промышленная вентиляция. Вентиляцией называется организованный и регулируемый
воздухообмен, обеспечивающий удаление из помещения загрязненного воздуха и подачу
на его место свежего.
Так
как вентиляционная система не в состоянии справится со своей задачей (не
обеспечивает ПДК воздуха рабочей зоны).следовательно, необходимо, использовать
индивидуальные средства защиты органов дыхания предназначены для того, чтобы
предохранить от вдыхания и попадания в организм человека вредных веществ (пыли,
пара, газа) при проведении различных технологических процессов. При подборе
средств индивидуальной защиты органов дыхания (СИЗОД) необходимо знать
следующее: с какими веществами приходится работать; какова концентрация
загрязняющих веществ; сколько времени приходится работать; в каком состоянии
находятся эти вещества: в виде газа, паров или аэрозоли; существует ли
опасность кислородного голодания; каковы физические нагрузки в процессе работы.
4.2.3
Микроклимат и тепловое излучение
Параметры микроклимата оказывают непосредственное влияние на
тепловое самочувствие человека и его работоспособность. Например, при повышении
температуры воздуха возникают нарушение теплообмена и процесса теплоотдачи при
испарении пота, что может привести к перегреванию организма. Повышение скорости
воздуха ухудшает самочувствие,. Исследователями установлено, что при
температуре воздуха более 30 °С работоспособность человека начинает падать. Для
человека определены максимальные температуры в зависимости от длительности их
воздействия и используемых средств защиты. Переносимость человеком температуры,
как и его теплоощущение, в значительной мере зависит от влажности и скорости
окружающего воздуха. Чем больше относительная влажность, тем меньше испаряется
пота в единицу времени и тем быстрее наступает перегрев тела. Особенно
неблагоприятное воздействие на тепловое самочувствие человека оказывает высокая
влажность при tос > 30 °С, так как при этом почти все выделяемая теплота
отдается в окружающую среду при испарении пота. При повышении влажности пот не
испаряется, а стекает каплями с поверхности кожного покрова. Возникает так
называемое проливное течение пота, изнуряющее организм и не обеспечивающее необходимую
теплоотдачу.
Недостаточная
влажность воздуха также может оказаться неблагоприятной для человека вследствие
интенсивного испарения влаги со слизистых оболочек, их пересыхания и
растрескивания, а затем и загрязнения болезнетворными микроорганизмами. Поэтому
при длительном пребывании людей в закрытых помещениях рекомендуется
ограничиваться относительной влажностью в пределах 30-70%.В цехах промышленных
предприятий большинство технологических процессов протекает при температурах,
значительно превышающих температуру воздуха окружающей среды. Нагретые
поверхности излучают в пространство потоки лучистой энергии, которые могут
привести к отрицательным последствиям.
Метеорологические
условия для рабочей зоны производственных помещений регламентируются ГОСТ 12.1.005-88
«Общие санитарно-гигиенические требования к воздуху рабочей зоны» и СанПиН
2.2.4.548-96 «Санитарно-гигиенические требования к микроклимату
производственных помещений». Принципиальное значение в нормах имеет раздельное
нормирование каждого компонента микроклимата: температуры, влажности, скорости
движения воздуха.
В цехе механической обработки микроклимат и тепловое
излучение соответствуют оптимальным и допустимым.
4.2.4
Расчет экономической эффективности мероприятий, направленных на снижение заболеваемости
После
внедрения рекомендованных мероприятий уровень заболеваний может быть снижен на
20-30%
Таблица
4.4.
|
Наименование показателей
|
Усл.обозначение
|
До внедрения мероприятий
|
После внедрения мероприятий
|
|
1
|
2
|
3
|
4
|
|
Отработано всеми рабочими за год, чел./дни
|
Фр
|
33000
|
36400
|
|
Потери рабочего времени по болезни, чел./дни
|
Дз
|
1700
|
1290
|
|
Коэффициент потерь рабочего времени по общей
заболеваемости на 100 рабочих, дни
|
Кпт
|
1134
|
868
|
|
Среднесписочная численность работников, чел.
|
Чср.
|
150
|
150
|
|
Среднесменная выработка одного работника, руб.
|
Хс
|
2000
|
2500
|
|
Коэффициент потерь предприятия от одного дня
болезни рабочего в зависимости от сменной выработки
|
γ
|
0,34
|
0,34
|
|
Единовременные затраты на внедрение мероприятий,
руб.
|
К
|
-
|
130000
|
|
Коэффициент потери рабочего времени по общей
заболеваемости из-за неблагоприятных условий труда
|
β
|
0,3
|
0,3
|
1.
Потери рабочего времени по общей заболеваемости определяются по формуле:
а).
Б1 =Дз1 × 100 × β1
/ Фр1 =
=
1.55%
б)
Б2 = Дз2 × 100 × β2
/ Фр2 =
=
1,06%
2.
Относительная экономия численности рабочих в год определяет по формуле:
Эч
= (Б1 – Б2 /100 – Б2) × Чср1
=
× 150 = 1 чел.
3.
Прирост производительности труда по предприятию определяем по формуле:
ПР
= Эч ×100 / Чср - Эч =
= 0,67%
4.
Годовая экономия от снижения заболеваемости определяется по формуле:
Эсз
= γ × Хс
×Дз1 × (1 – Кпт2/Кпт1) × β
= 0,34*2500*1700*(1-868/1134)*0,3 = 99705 руб.
5.
Определяем годовой экономический эффект:
Эг
= Р – 3 × К = 99705-0,25*130000 = 67205 руб.
6.
Срок окупаемости единовременных затрат определяем по формуле:
Т
= К / Эсз = 130000/99705 = 1,3 года.
4.3
Экономические проблемы загрязнения окружающей среды
При
использовании воду, как правило, загрязняют, а затем сбрасывают в водоемы.
Химические загрязнения поступают в водоемы с промышленными, поверхностными
стоками. К ним относятся: нефтепродукты, тяжелые металлы и их соединения,
минеральные удобрения, пестициды, моющие средства.Большую опасность
загрязненные сточные воды представляют в тех случаях, когда структура грунта не
исключает их попадание в зону залегания грунтовых вод. В ряде случаев до
30...40 % тяжелых металлов из почвы поступает в грунтовые воды. Для снижения
негативного воздействия загрязнения нефтепродуктами стоков на водные объекты
предлагается монтаж локальных очистных сооружений механической очистки.
Таблица
4.5.
|
Название загрязняющих веществ
|
Содержание, мг/л, до очистки
|
Эффект, %
|
Содержание, мг\л после очистки
|
ПДК, мг/л
|
|
Нефтепродукты
|
5,6
|
98
|
0,11
|
0,3
|
Далее
проведем расчет платы за сбросы.
Таблица
4.6.
|
Загрязняющее вещество
|
Размер, разрешенный к сбросу, т/г
|
Норматив платы, ПДВ/ВСВ
|
Масса сбросов, т/год
|
|
До внедрения
|
После внедрения
|
Нефтепродукты
|
2
|
5510/27550
|
15
|
0,3
|
Произведем
расчет платы за загрязнение.
Плата
за сбросы и выбросы определяется по формуле:
П
= (Мпдв × Нпдв + (Мф - Мпдв)
× Нппдв) × Кс × Кинд, где
Нпдв
- норматив платы за ПДВ, руб.;
Мпдв
- масса ПДВ, т;
Нппдв
- норматив платы за превышение ПДВ; Нппдв = Нвсв ×
Кп, где Кп =5.
Мф
- фактическая масса выбросов. т;
Кс
- коэффициент экологической ситуации (1,14);
Кинд
- коэффициент индексации (1,4).
До
внедрения мероприятий
П
= (2 × 5510 + (15 - 2) × 27550) × 1,14 × 1,4 =
589195,32 руб./год.
После
внедрения мероприятий
П
= 0,3 × 5510 × 1,14 × 1,4 = 2638,188руб./год
Предотвращенный
ущерб
П
= Пд - Пп
П
= 589195,32 руб. – 2638,188 руб. = 586557,132 руб./год.
Годовой
экономический эффект:
Эг
= П - З = 586557,132 - 0,25 × 500000 = 574057,132 руб.
Единовременные
затраты на строительство очистных сооружений составляют 500 тыс. руб.
Подсчитаем
срок окупаемости единовременных затрат:
Т
= К / (Р - С)
Т
= 500000 / 586557,132 = 0,86 года
4.4
Расчет экономической эффективности внедрения проектных предложений на снижение
экологических проблем
Расчеты
экономической эффективности внедрения очистных сооружений и оборудования
произведены с помощью электронной таблицы Ехсеl.
Полученные данные представлены в таблице 4.7. График окупаемости инвестиций
представлен на рисунке 4.1.
Таблица
4.7. - Затраты на мероприятие
|
Наименование мероприятия
|
Затраты, тыс. руб.
|
|
1.Приобретение индивидуальных средств защиты от
шума (наушники)
|
10
|
|
2.Приобретение звукопоглощающих материалов и
проведение работ по их монтажу
|
80
|
|
3.Приобретение средств индивидуальной защиты от
пыли(респираторы)
|
10
|
|
3.Приобретение нового пылеулавливающего
оборудования и его установка
|
30
|
|
4. Приобретение очистных сооружений и его монтаж
|
500
|
|
Итого:
|
630
|
Таким
образом, для реализации мероприятий, связанных с охраной труда и окружающей
среды, понадобятся инвестиции в размере 630 тыс. руб..При этом годовая экономия
от их внедрения составит:
Э=Э1+Э2,
где
Э1 -
годовая экономия от снижения заболеваемости (99705руб.);
Э2
– годовая экономия от снижения сбросов отработанной СОЖ в водный бассейн
(451004.38руб.)
Э=99705+451004,38=550709.38руб.
На
основе данных таблицы 4.8 и 4.9 рассчитаем чистые денежные поступления о
реализации предложенных мероприятий.
Таблица
4.8.
Исходные
данные для расчета чистых денежных поступлений.
|
Показатель
|
Ед.изм.
|
Сумма
|
|
Капитальные вложения
|
Тыс. руб.
|
630
|
|
Годовая экономия от реализации мероприятий
|
Тыс. руб.
|
550,70938
|
|
Срок службы оборудования
|
год
|
7
|
|
Ликвидационная стоимость
|
Тыс. руб.
|
0
|
|
Норма дисконта
|
%
|
25
|
|
Годовая амортизация оборудования.
|
Тыс. руб.
|
90
|
Таблица
4.9.
Исходные
данные для расчета чистых денежных поступлений.
|
Показатель
|
Год
|
|
1
|
2
|
3
|
4
|
5
|
6
|
7
|
|
Остаточная стоимость оборудования по годам, тыс.р.
|
630
|
540
|
450
|
360
|
270
|
180
|
90
|
Таблица
4.10
Расчет
чистых денежных поступлений.
|
Показатель
|
Годы
|
|
1
|
2
|
3
|
4
|
5
|
6
|
7
|
|
Дополнительная прибыль от реализации,т.р.
|
550,709
|
550,709
|
550,709
|
550,709
|
550,709
|
550,709
|
550,709
|
|
Налог на имущество,т.р.
|
13,86
|
11,88
|
9,9
|
7,92
|
5,94
|
3,96
|
1,98
|
|
Дополнительная налогооблагаемая прибыль,т.р.
|
536,849
|
538,829
|
540,809
|
542,789
|
544,769
|
546,749
|
548,729
|
|
Налог на прибыль т.р.
|
107,369
|
107,766
|
108,162
|
108,558
|
108,954
|
109,349
|
109,746
|
|
Дополнительная чистая прибыль, т.р.
|
429,480
|
431,063
|
432,647
|
434,231
|
435,815
|
437,400
|
438,983
|
|
Амортизация, т.р.
|
90
|
90
|
90
|
90
|
90
|
90
|
90
|
|
Чистые денежные поступления, т.р.
|
519,480
|
521,063
|
522,647
|
524,231
|
525,815
|
527,400
|
528,983
|
Таблица
4.11
Расчет
экономического эффекта проектных предложений.
|
Показатель
|
Годы
|
|
0
|
1
|
2
|
3
|
4
|
5
|
6
|
|
Процент
|
25%
|
25%
|
25%
|
25%
|
25%
|
25%
|
25%
|
|
Чистые денежные поступления, т.р.
|
0
|
519,480
|
521,063
|
522,647
|
524,231
|
525,815
|
527,400
|
|
Дисконтированные денежные поступления,т.р.
|
0
|
415,584
|
333,480
|
267,595
|
214,725
|
172,299
|
138,255
|
|
Инвестиции, т.р.
|
630
|
0
|
0
|
0
|
0
|
0
|
0
|
|
Сумма дисконтированных чистых денежных
поступлений, т.р.
|
0
|
415,584
|
749,064
|
1016,66
|
1231,380
|
1403,68
|
1541,94
|
|
Сумма дисконтированных инвестиций, т.р.
|
630
|
630
|
630
|
630
|
630
|
630
|
630
|
|
ЧДД, т.р.
|
-214,4106
|
119,064
|
386,659
|
601,384
|
773,683
|
911,938
|
|
ИД
|
0
|
0,66
|
1,19
|
1,61
|
1,95
|
2,23
|
2,45
|
Из
таблицы 4.11видно, что
Чистый
дисконтированный доход равен 1022,87 тыс.руб.
Индекс
доходности равен 1,95
Срок
окупаемости инвестиций равен 1.64 год
По
данным таблицы 4.11 построим график окупаемости инвестиций
В
данном разделе дипломного проекта была рассмотрена деятельность цеха
механической обработки ОАО «Русполимет» с точки зрения безопасности
жизнедеятельности работников предприятия и загрязнения окружающей среды
вредными сбросами.
Так
как, в цехе механической обработки не все производственные факторы
соответствуют предельно допустимым значениям , регламентируемым нормативными
документами, то для повышения продуктивности и сохранения работоспособности
работников цеха механической обработки необходимо провести комплекс мероприятий
направленный на их защиту от вредных и опасных производственных факторов (шум,
пыль ,неблагоприятный микроклимат) ,что в свою очередь приведет к снижению
расходов, связанных с потерями рабочего времени вследствие заболеваемости ,а
так же повысит количественные и качественные результаты труда.
Деятельность предприятия сопряжена ,так же со сбросами отходов,
которые поступают в окружающую среду в виде сбросов в водоемы. Самыми значимыми
из которых являются нефтепродукты. Проблему, связанную с превышением сброса
количества загрязняющих веществ цехом механической обработки, позволит решить
мероприятие по установке дополнительных очистных сооружений.
Раздел
5. Управление внедрением проектных мероприятий
5.1
Суммарная эффективность мероприятий за весь их жизненный цикл
Рыночные
отношения сделали необходимым образование отдела материально-технического
снабжения, компьютеризации системы управления АО.
Совершенно
необходимым является совершенствование нормирования труда работников управления
с целью обеспечения научно обоснованного подхода к определению численности
работников и затрат времени на выполнение отдельных видов управленческих работ
Назрела
необходимость разработки рациональной системы информационного обеспечения
В
проекте были рассмотрены и просчитаны следующие экономико-организационные
мероприятия:
1.
Рассмотрена
технология изготовления детали «Вал» на ОАО «Русполимет», рассчитан
экономический эффект от её внедрения на производстве.
2.
Предложены
мероприятия по поиску более дешёвых поставщиков и по уменьшению брака и
отходов..
3.
Предложен
проект по улучшению условий работы труда, также рассчитана его эффективность.
Рассчитаем
общий экономический эффект от всех предложенных мероприятий.
Таблица
5.1. – Сводная таблица
|
Разделы проекта
|
Снижение себестоимости, тыс. руб.
|
Капитальные затраты, млн. руб.
|
ЧДД, млн. руб.
|
Срок окупаемости
|
Индекс доходности
|
|
Технологическая часть
|
7,04
|
5
|
8,5
|
1,58
|
2,2
|
|
Организационно-экономичсекая часть
|
4,389
|
7,0
|
6,99
|
2,3
|
1,49
|
|
Безопасность и экологичность
|
0,55
|
0,630
|
1,022
|
1,64
|
1,95
|
|
Итого
|
11,979
|
12.630
|
26,512
|
|
|
5.2 Влияние проектных
мероприятий на основные показатели деятельности предприятия
Расчеты
для анализа оформлены в таблице
Таблица
1.10. Образования и распределения прибыли
|
№
п/п
|
Показатели
|
до внедрения мероприятия
|
после внедрения мероприятия
|
Абсол.
откл.,
Па=П1-П0
|
|
1
|
2
|
4
|
|
6
|
|
1.
|
Выручка
от реализации продукции
|
3642187
|
7040000
|
3397813
|
|
2.
|
НДС
(18%)
|
655594
|
1267200
|
611606
|
|
3.
|
Реализованная
продукция
|
2986593
|
5772800
|
2786207
|
|
4.
|
Себестоимость
продукции:
|
6531705
|
4312800
|
-2218905
|
|
5.
|
Прибыль
от реализации продукции
|
4548880
|
5340000
|
791120
|
|
10.
|
Налог
на прибыль(20%)
|
909776
|
1068000
|
158224
|
|
11.
|
Чистая
прибыль
|
2842770
|
4272000
|
1429230
|
|
12.
|
Резервный
фонд(5%)
|
227444
|
267000
|
39556
|
|
13.
|
Фонд
развития производства(60%)
|
2729328
|
3204000
|
474672
|
|
14.
|
Фонд
социального развития (25%)
|
1137220
|
1335000
|
197780
|
|
15.
|
Фонд
материального поощрения (10%)
|
454888
|
534000
|
79112
|
5.4
Сетевой график внедрения мероприятий с расчётом пути табличным или секторным
способом
Сетевой моделью (другие
названия: сетевой график, сеть) называется модель, отражающая комплекс работ
(операций) и событий, связанных с реализацией некоторого проекта
(научно-исследовательского, производственного и др.), в их логической и
технологической последовательности и связи.
Анализ сетевой модели позволяет:
1) более четко выявить взаимосвязи этапов реализации
проекта;
2) определить наиболее оптимальный
порядок выполнения этих этапов в целях, например, сокращения сроков выполнения
всего комплекса работ.
Основные элементы сетевой модели:
Ø
работа;
Ø
событие;
Ø
путь.
График
сетевой модели и перечень работ смотри в приложении и графической части работы.
Для
построения сетевого графика необходимо определить перечень всех работ и
событий, которые предстоит выполнить для достижения поставленных целей,
определить их рациональную технологическую последовательность и
взаимозависимость. Так же необходимо определить продолжительность работ и
исполнителей, несущих ответственность за их выполнение. Показатели сетевого
графика сведём в таблицу 5.4.
Таблица
5.4. - Показатели сетевого графика.
|
№
|
Перечень работ
|
Продолжи-тельность, дн.
|
Ход работ
|
|
1
|
2
|
3
|
4
|
|
1
|
Издание приказа директора на проведение
мероприятий и создание инициативной группы
|
15
|
1-2
|
|
2
|
Проведение маркетинговых исследований
|
30
|
2-3
|
|
3
|
Проведение анализа существующей технологии
|
25
|
2-4
|
|
4
|
Определение уровня травматизма на предприятии.
|
12
|
2-6
|
|
5
|
Выбор программного обеспечения
|
10
|
3-4
|
|
6
|
Составление производственной программы
|
15
|
3-5
|
|
7
|
Разработка технологического процесса
|
18
|
4-7
|
|
8
|
Определение экономического эффекта технических мероприятий.
|
10
|
14-17
|
|
9
|
Определение мероприятий по охране окружающей
среды.
|
18
|
15-16
|
|
10
|
Определение экономического эффекта мероприятий по безопасности
и экологии.
|
11
|
16-17
|
|
11
|
Определение организационно-экономических
мероприятий
|
14
|
17-19
|
|
12
|
Определение производственной мощности по цеху.
|
30
|
5-8
|
|
13
|
Проведение мероприятий по усилению безопасности
труда.
|
20
|
6-9
|
|
14
|
Расчёт экономического эффекта от введения новой
технологии
|
10
|
7-10
|
|
15
|
Заключение договоров на поставку
|
5
|
12-15
|
|
16
|
Транспортировка оборудования
|
14
|
15-18
|
|
17
|
Строительно-монтажные работы
|
14
|
18-19
|
|
18
|
Подготовка цеха к установке нового оборудования
|
14
|
19-20
|
|
19
|
Обучение персонала
|
14
|
20-21
|
|
20
|
Проведение монтажа и наладки оборудования.
|
30
|
18-20
|
|
21
|
Передача сведений о составе оборудования.
|
5
|
8-10
|
|
22
|
Определение себестоимости продукции.
|
14
|
8-11
|
|
23
|
Определение уровня и причин заболеваемости в цехах
предприятия.
|
13
|
21-22
|
|
24
|
Оценка эффективности экологичсеких мероприятий
|
14
|
22-23
|
|
25
|
Разработка детального технологического процесса.
|
30
|
23-24
|
|
26
|
Определение основных показателей производства.
|
10
|
24-25
|
|
27
|
Проведение мероприятий по снижению уровня
заболеваемости.
|
24
|
25-26
|
|
28
|
Определение экономического эффекта одновременно с
организационно экономическими мероприятиями.
|
20
|
26-27
|
|
29
|
Определение экономического эффекта организационно
экономических мероприятий.
|
10
|
27-28
|
|
30
|
Определение мероприятий по охране окружающей
среды.
|
18
|
28-29
|
|
31
|
Подписание приказа директором о внедрение
проектных мероприятий
|
5
|
29-30
|
Далее
на основании показателей приведённых в таблице построим сетевой график,
рассчитаем ранние и поздние сроки совершения событий и резервы времени
совершения этих событий. Также определим наибольшую продолжительность пути
(критический путь). Это число, равное наибольшей сумме продолжительности всех
работ, входящих в данный путь. Схема сетевого графика приведена в графической
части работы.
Критический
путь равен 205 дням.
Список
использованной литературы.
1.
Абрамова
И.Г. Персонал - технология менеджера.Л.:1999.
2.
Белецкий
И.П. Кадровый потенциал организаторов производства.Мн.:2000.
3.
Бодди
Д., Пэйтон Р. Основы менеджмента: пер. с англ. / Под ред. Ю.Н. Каптуревского. –
СПб: Издательство "Питер", 1999. 816 с
4.
Борисенко
И.Л. Развитие организационно – экономических наук: теория и методология. –
Воронеж. гос. техн. ун-т.,2002. 151 с.
5.
Вейл
П. Искусство менеджмента.М.:1999.
6.
Веснин
В.Р. Менеджмент для всех. М.:Юрист, 2003.
7.
Виханский
О.С. Стратегическое управление: учебник для студентов и аспирантов вузов по
специальности “Менеджмент”.М.:МГУ, 2002.
8.
.
Виханский О.С., Наумов А.И. Менеджмент: Учебник. М.:Гардарики, 2001. 528 с.
9.
Герчикова
И.Н. Менеджмент. М.: ЮНИТИ, 2000.
10. Гончаров
В.И. Менеджмент: Учеб. пособие. Мн.: Мисанта, 2003. 624 с.
11. В.В.Данилевский,
Технология машиностроения, М., Высшая школа, 1984г
12. Дафт
Р.Л. Менеджмент – СПб.: Издательство "Питер", 2000.
13. С.А.Долматовский,
Справочник технолога по обработке металлов резанием, М., Машгиз, 1960г
14. М.Е.Егоров
и др., Технология машиностроения, М., Высшая школа, 1976г
15. .
Кабушкин Н.И. Организационные формы и структура управления организацией //
Методы и принципы менеджмента. 2000. №2. с. 105 – 118
16. Климович
Л.Х. Основы менеджмента: учебное пособие для учащихся ССУЗов. Мн.: Дизайн ПРО,
2005. 144с
17. Котлер
Ф. Основы маркетинга. М.2001.
18. Ладанов
И.Д. Практический менеджмент.М.: 2002.
19. Маслов
Е.В. Управление персоналом предприятия. – М. ИНФРА – М, Новосибирск: НГАЭ и У,
2000.
20. М.Мескон,
М.Альберт Основы менеджмента.- М.:Дело,2000
21. Мескон
М. Основы менеджмента. М.2001.
22. Н.А.Нефедов,
К.А.Осипов, Сборник задач и примеров по резанию металлов и режущему
инструменту, М., Машиностроение, 1984г
23. .
Основы менеджмента: Учеб. для вузов / Д.Д. Вачугов, Т.Е. Березкина, Н.А., Н.А.
Кислякова и др.; Под ред. Д.Д. Вачугова. М.: Высш. Школа, 2001. 367 с
24. Основы
менеджмента: Учеб.-практ. пособие / И.В. Балдин, Н.П. Беляцкий, Л.В. Дорошек и
др. Мн.: БГЭУ, 2002. 112 с.
25. .
Переверзев М.П., Шайденко Н.А., Басовский Л.Е. Менеджмент: Учебник. М.:ИНФРА-М,
2002. 288 с
26. С.А.Ревин,
Методические указания по проектированию технологических процессов механической
обработки деталей машин, М., 1979г
27. Рофе
А.И., Жуков А.Л. Теоретические основы экономики и социологии труда: Учебник для
студентов вузов. – М.:Издательство "МИК", 1999.
28. Рофе
А.И., Стрейко В.Т., Б.Г. Збышко Экономика труда учебник для вузов/Под ред.
проф. А.И. Рофе. – Издательство "МИК",2000
29. Н.А.Силантьева,
В.Р.Малиновский, Техническое нормирование труда в машиностроении, М.,
Машиностроение, 1990г.
30. Справочник
директора предприятия. Под ред. М.Г. Лапусты. М.2000.
31. Шекшня
С.В. Управление персоналом современной организации. Учебно-практическое пособие.
Москва: ЗАО “Бизнес-школа “Интел-Синтез”, 2000.
32.
Шуванов В.И.
Социальная психология менеджера. Москва: ЗАО “Бизнес-школа “Интел-Синтез”,
1999.
33.
Янчевский В.Г.
Основы менеджмента: Учеб. пособие. Мн.: ТетраСистемс, 2004. 224 с.
Графическая часть
1.
Таблица
технико-экономических показателей ОАО «Русполимет»
2.
Диаграммы
структуры персонала и управленческих структур
3.
Карта
наладки вала
4.
Чертёж
заготовки вала и детали
5.
Структурная
схема ОАО «Русполимет»
6.
Модернизированная
структурная схема ОАО «Русполимет»
7.
Распределение
прибыли
8.
Сетевой
график
Приложение
1
Исходные
данные для проведения анализа, тыс. руб.
|
№ п/п
|
Показатели
|
Усл. обозн.
|
Базовый период, П0
|
Анализиру-емый период, П1
|
|
1
|
Товарная продукция
|
Тп
|
4571980
|
3325100
|
|
2
|
Валовая продукция
|
Вп
|
1164378
|
725388
|
|
3
|
Реализованная продукция
|
Рп
|
4206336
|
2986593
|
|
4
|
Численность ППП, чел.
|
Чп
|
3837
|
3705
|
|
5
|
Общий годовой ФЗП
|
Фзп
|
381770
|
|
6
|
Основные производственные фонды
|
Фоп
|
218309
|
346429
|
|
7
|
Оборотные фонды
|
Фно
|
1759328
|
3226966
|
|
8
|
Норматив оборотных средств
|
Нос
|
1636175
|
3065618
|
|
9
|
Дебиторская задолженность
|
Зд
|
497525
|
1236780
|
|
10
|
Кредиторская краткосрочная задолженность
|
Зкк
|
2068290
|
3942679
|
|
11
|
Кредиторская долгосрочная задолженность
|
Зкд
|
218106
|
379260
|
|
12
|
Материальные затраты
|
Мз
|
2540336
|
17774704
|
|
13
|
Себестоимость продукции
|
Сп
|
3192313
|
2531705
|
|
14
|
Прибыль от реализации продукции
|
Прп
|
1014023
|
454888
|
|
15
|
Прибыль от реализации имущества
|
При
|
150355
|
270500
|
|
16
|
Выручка конкурента
|
Вк
|
2067256,5
|
2967831,3
|