Рынок факторинга РФ

  • Вид работы:
    Дипломная (ВКР)
  • Предмет:
    Экономика отраслей
  • Язык:
    Русский
    ,
    Формат файла:
    MS Word
    263,73 kb
  • Опубликовано:
    2010-10-12
Вы можете узнать стоимость помощи в написании студенческой работы.
Помощь в написании работы, которую точно примут!

Рынок факторинга РФ

Министерство образования и науки РФ

Федеральное агентство по образованию

Иркутский государственный технический университет

Заочно-вечерний факультет

Кафедра «Финансы и кредит»

Специальность 08.01.05

«ДОПУСКАЮ К ЗАЩИТЕ»

Зав. кафедрой «Финансы и кредит»

___________________Г.Е. Дыкусов

«_____»__________________2009 г.

ДИПЛОМНАЯ РАБОТА

на тему: «Рынок факторинга РФ»

Выполнила:

студент группы ФКз-04-3

Сизиков Роман Сергеевич

Научный руководитель:

д.э.н, профессор

Лукьянченкова Наталия Петровна

Нормоконтролер:

к.э.н., доцент

Ткачук Людмила Тимофеевна


Иркутск, 2009

Содержание

Введение

1.Теоретические основы факторинга

1.1 Сущность факторинга и его виды

1.2 Мировой опыт применения факторинга

2. Развитие факторинга в Российской Федерации

2.1Общая характеристика рынка факторинга

2.2 Проблемы развития факторинга

3. Перспективы рынка факторинга

3.1 Пути решения проблем

3.2 Перспективы развития рынка факторинга

Заключение

Список использованных источников

Введение

Факторинг один из самых распространенных в мире механизмов пополнения оборотного капитала, который может эффективно использоваться как на стабильном рынке, так и в условиях экономического кризиса.

В настоящее время для россиского рынка характерна ориентация поставщика с посреднических компаний на розничную торговую сеть, представленную в основном малыми и средними предприятиями, особенностью которых является проведение закупок на условиях отсрочки платежа. Это в свою очередь влечет за собой увеличение объема дебиторской задолженности поставщика.

Испытывая постоянный дефицит в оборотных средствах, предприятию необходимо искать дополнительные способы финансирования. В мировой практике как правило обращаются к двум механизмам: кредитованию и факторингу. При этом кредитования сегодня является не доступным для большинства малых предприятий ввиду жестких условий к показателям финансовой деятельности, деловой репутации, предъявляемых к клиенту банками, а также из-за сравнительной дороговизны кредита. В то же время факторинг зарекомендовал себя как эффективный инструмент совершенствования финансов предприятий, улучшения состояния денежных расчётов, поскольку может обеспечить полноценное обслуживание регулярного товарного кредитования поставщиком постоянного круга покупателей, в возрастающих масштабах, что помогает решению проблемы с оборотными средствами.

Правда в Российской Федерации факторинговый рынок еще только начал формироваться и занимает сравнительно малую долю в ВВП, хотя и развивается сравнительно бурными темпами. Так по оценкам Министерства экономического развития и торговли в 2001 году доля факторинга в ВВП РФ составляла 0,1%, в 2004 году – 0,5%. В 2008 году доля факторинговых сделок в ВВП достигла 1,45%, с объемом денежных требований 602 млрд. рублей [38]. Тем не менее потенциал российского рынка факторинга, по меркам мирового рынка, еще весьма далек от желанного и не соответствует ни масштабам страны, ни потребностям нашей экономики. Для сравнения, за рубежом доля факторинга в ВВП отдельных стран достигает 13–16%. Доля факторинга в обороте сетевого ретейла ― 40–60% [66].

Низкое развитие рынка факторинга во многом объясняется проблемами законодательного регулирования его деятельности, не развитостью конъюнктуры рынка. Тем не менее, российский рынок факторинга уже к 2015 году сможет выйти на уровень развитых стран. Такое быстрое развитие объясняется тем обстоятельством, что после кризиса 2008 — 2009 года многим компаниям пришлось искать оптимальную стратегию развития факторинга, произошло перераспределение сил на рынке, а также значительное удешевление факторинговых услуг. К тому же на рынке остались только сильные игроки.

Целью данной работы является изучение состояния рынка факторинга в современных условиях.

Задачи работы:

Определить понятие, виды и содержание факторинга;

Выявить тенденции развития рынка факторинга в 2008 — 2010 годах;

Проанализировать основные проблемы развития рынка факторинга;

Выявить основные тенденции развития рынка факторинга.

Глава 1. Теоретические основы факторинга

1.1 Сущность факторинга и его виды

Принято считать, что официальное определение договора факторинга приведено в ст. 824 ГК РФ. Согласно ему по договору финансирования денежного тербования одна сторона (финансовый агент) передает или обязуется передать другой стороне (клиенту) денежные средства в счет денежного требования клиента (кредитора) к третьему лицу (должнику), вытекающего из предоставления клиентом товаров, выполнения им работ или оказания услуг третьему лицу, а клиент уступает или обязуется уступить финансовому агенту это денежное требование.

Однако данная статья регулирует несколько другие отнрошения нежели договор факторинга. Это подтверждают и исследования Л. Г. Ефимовй, писавшей, что: «.. легальное определение договора финансирования под уступку денежного требования соответствует отношениям финансирования под дебиторскую задолженность» [6, стр. 165]. К аналогичному выводу приходит и М. П. Шмулик, считающий, что: «в материалах Комиссии ООН по праву международной торговли договор, аналогичный договору финансирования под уступку денежного требования, именуется договором финансирования под уступку дебиторской задолженности» [17, с. 43].

Общепринятое определение договора факторинга содержится в ст. 1 Конвенции УНИДРУА о международном факторинге. В ней под факторингом расматривается контракт, заключенный между одной стороной (поставщиком) и другой стороной (фирма по факторным операциям, именуемая в дальнейшем цессионарий), в соответствии с которым:

а) поставщик может или должен уступить цессионарию обязательственные требования, вытекающие из контрактов по продаже товаров, заключаемых между поставщиком и его заказчиками (дебиторами), за исключением тех, которые относятся к товарам, закупленным в основном для их личного пользования, семейного или домашнего;

б) цессионарий должен взять на себя не менее двух следующих обязанностей:

- финансирование поставщика, в частности, заем или досрочный платеж;

- ведение счетов по обязательственным требованиям;

- предъявление к оплате дебиторских задолженностей;

- защита от неплатежеспособности дебиторов.

с) должники должны быть уведомлены о состоявшейся уступке права требования.

Таким образом общая схема факторинга может быть выражена следующим образом (рисунок 1):

Рисунок 1. Схема факторинга

Клиент продает должнику товары, работы или услуги. В результате у него появляется дебиторская задолженность.

Клиент заключает договор факторинга с фактором и передает ему денежное требование к должнику.

Фактор предоставляет клиенту денежные средства, сумма которых, как правило, составляет 70 — 80 % денежного требования к должнику.

По наступлению платежа по договору купли-продажи фактор предъявляет денежное требование к должнику, а должник перечисляет денежные средства в погашении задолженности. Разница между суммой полученной от должника и суммой, ранее перечисленной клиенту в виде финансирования, составляет вознаграждение фактора.

Сравнивая эти два определения, мы можем выделить следующие отличия договора финансирования под уступку денежного требования от факторинга:

Конвенция о факторинге в отличие от норм ГК РФ конкретно определяет круг контрактов, из которых может вытекать передаваемоен денежное требование — к ним относятся только договора купли-продажи товаров.

Наличие специального требования к фигуре клиента. Согласно Конвенции на стороне клиента по договору факторинга должно находиться лицо, приобретающее товары не для личного, семейного и домашнего использования, т.е. в предпринимательских целях. В отношении договора финансирования под уступку денежного требования такое требование отсутствует, и на стороне клиента по такому договору может находиться как предприниматель, так и не предприниматель;

Согласно Конвенции финансовый агент обязан оказать хотя бы одну дополнительную услугу клиенту. В то же время ст. 824 ГК РФ такого обязательства не содержит.

В соответствии с п. "с" ст. 1 Конвенции о факторинге должники должны быть уведомлены о состоявшейся уступке требования. В то же время ГК РФ допукает возможность заключения договора финансирования под устпку денежного требования в обход должника.

Таким образом, договор финансирования под уступку денежного требования шире по своему юридическому составу нежели договор факторинга.

Изучение сущности факторинга будет неполным без описания его структурных составляющих: предмета, участников, прав и обязанностей сторон.

предметом факторинговой сделки может быть как дебиторская задолженность, срок платежа по которой уже наступил, так и денежное требование, которое возникнет в будущем. Исключения делается для:

- долговых обязательств структурных подразделений (филиалов, представительств и т. д.);

- долговых обязательств физических лиц;

- требований к бюджетным организациям [9, с. 309].

Заметим, что денежное требование должно быть индивидуализировано путем указания должника, суммы требования и основания его возникновения (договора между клиентом и должником). Если клиент уступает финансовому агенту не отдельное требование, а совокупность денежных требований, то для их определения достаточным может быть указание на признаки группы, к которой они относятся, в частности: на предпринимательскую деятельность (или один из видов деятельности) клиента, из которой вытекают требования; на круг должников, к которым обращены требования; на территорию, с которой связано возникновение требований или на которой имеют место нахождения должники; на период времени, в течение которого возникают требования, подлежащие уступке; на суммарный денежный размер уступаемых требований.

Кроме того в качестве предмета можно расматривать и дополнительные услуги фактора. При этом по мнению Президента Восточно-Европейской Факторинговой Ассоциации М. Трейвиша, сам факторинг является именно комбинацией четырех услуг.

Первая услуга заключается в финансировании поставщиков товаров и услуг. Для этого финансовая компания (фактор), с которой поставщик заключает договор о факторинговом обслуживании, берет на себя обязательство всякий раз, когда поставщик предоставляет товарный кредит покупателю, выплачивать ему большую часть стоимости поставки. Факторинговый договор заключается на неопределенный срок.

Вторая услуга - это предоставление фактором информационного обеспечения деятельности поставщика, ведения учета состояния его дебиторской задолженности.

Третий вид услуг - это хеджирование (страхование) рисков поставщика. Заключая договор факторинга, компании получают возможность исключить риски, связанные с поставкой товаров в кредит: риски несвоевременной или неполной оплаты поставок покупателями, обесценения стоимости отгруженных товаров за счет инфляции и девальвации рубля.

Наконец, четвертый вид услуг - это административное управление дебиторской задолженностью, включающее контроль своевременности оплаты поставок, работу с дебиторами, организацию для поставщика кредитного менеджмента, в том числе установление лимитов на каждого из его покупателей [34].

Сторонами договора факторинга являются фактор, клиент и должник. В роли фактора может выступать любое юридическое лицо. В отношении же клиента международная практика накладывает ограничения. Не могут быть приняты на факторинговое обслуживание следующие фирмы:

- с большим количеством дебиторов, задолженность каждого из которых выражается небольшой суммой;

- занимающиеся спекулятивным бизнесом;

- производящие нестандартную или узкоспециализированную продукцию;

- работающие с субподрядчиками;

- реализующие в розницу широкий набор продукции;

- реализующие свою продукцию на условиях послепродажного обслуживания;

- практикующие бартерные сделки;

- заключающие со своими клиентами долгосрочные контракты и выставляющие счета по завершении определенных этапов работ или до осуществления поставок [5, с. 129].

В качестве основных корреспондирующих обязанностей сторон по договору ст. 1 Конвенции о факторинге называет обязанность фактора по передаче клиенту денежных средств и оказанию дополнительных услуг, а также обязанность клиента по уступке финансовому агенту денежного требования к третьему лицу (должнику). Кроме того, клиент обязан известить о заключении договора факторинга должника, правда данное условие игнорируется в случае заключения скрытого факторинга.

Договор факторинга может предусматривать систематическое проведение операций, связанных с финансированием клиента. В данном случае фактор обязуется передавать клиенту денежные средства в счет денежных требований клиента к третьим лицам, возникающих в процессе его хозяйственной деятельности, а клиент обязуется уступать финансовому агенту такие денежные требования. В договоре устанавливаются общие условия финансирования и уступки денежных требований, включая определение требований, подлежащих уступке, порядок совершения отдельных операций, размер вознаграждения финансового агента, срок действия договора и другие положения по усмотрению сторон [11, с. 512].

Определенными правами и обязанностями в случае заключения договора факторинга обладает должник. Так по договору факторинга он становится обязанным произвести платеж финансовому агенту. Однако данное обязательство возникает лишь при условии, что он получил от клиента или от самого финансового агента уведомление об уступке денежного требования в пользу фактора, что согласуется и нормами ГК РФ (ст. 830). Уведомление должно быть письменным и содержать четкое определение переданного требования, а также наименование финансового агента, в пользу которого произведена передача права. Неисполнение клиентом обязанности по уведомлению должника освобождает, по общему правилу, последнего от необходимости платить новому кредитору. Исполнение обязательства первоначальному кредитору (клиенту) признается в этом случае исполнением надлежащему кредитору (п. 3 ст. 382 ГК). Должник вправе потребовать от агента представления доказательств того, что уступка требования реально имела место. Отказ фактора от исполнения этой обязанности также восстанавливает право должника произвести платеж самому клиенту (первоначальному кредитору).

Заметим, что согласно отечественному законодательству должник должен произвести платеж даже в том случае, если между ним и клиентом заключено соглашение о недопустимости уступки требования третьим лицам. Целью введения данного положения является обеспечение прав предпринимателей, желающих получить средства от финансового посредника, а потому конфликт интересов третьего лица (должника) и агента разрешается в ст. 828 ГК в пользу последнего.

С другой стороны законодатель позаботился о том, что бы данная уступка не ущемляла и интересов должника. Так передача денежного требования клиентом (кредитор) не освобождает его от исполнения обязательства или ответственности перед своим контрагентом (должником) в связи с совершенной уступкой требования, если между ними существует соглашение о ее запрете или ограничении. В таком случае клиент (кредитор), во-первых, продолжает оставаться обязанным перед своим контрагентом (должником) в части исполнения возложенных на него обязательств передать имущество, выполнить работы или оказать услуги в натуре, а во-вторых, обязан возместить своему контрагенту все убытки, связанные с уступкой права, которая совершена в противоречии с ранее заключенным договором [16, c. 325].

В ходе осуществления платежа финансовому агенту должник вправе предъявить к зачету свои денежные требования, основанные на договоре с клиентом, которые имелись у должника ко времени, когда им было получено уведомление об уступке требования в пользу фактора. Должник, однако, не может поставить в вину финансовому агенту то, за что он вправе упрекнуть клиента (кредитора), – факт нарушения клиентом ранее достигнутой договоренности о запрете цессии. Такие требования не имеют силы в отношении финансового агента: их изъятие из потенциально возможных встречных требований должника вытекает из правила о недействительности запрета уступки денежного требования в договоре о факторинге.

Заключая договор факторинга, стороны принимают на себя определенный риск ответственности. Для клиента он возникает: в случае неполноты передаваемой документации, неясности переданной фактору информации, иных недостатков исполнения, допущенных со стороны клиента, а также в случае ненадлежащего исполнения обязательств по договору. Ответственность фактора возможна только в случае просрочки финансирования.

В мировой практике существуют несколько подходов к классификации факторинга. По территории действия различают: внутренний и внешний факторинг. Внутренний факторинг характеризуется тем, что поставщик, покупатель, а также факторинговая компания находятся в одной стране. Международный факторинг предполагает, что стороны находятся в разных государствах.

При этом международный факторинг можно разделить на три подвида:

прямой импортный факторинг;

прямой экспортный факторинг;

косвенный (двухфакторный) факторинг.

При прямом факторинге обязанности перед клиентом исполняет только один фактор. При прямом импортном факторинге клиент уступает право требования фактору в стране импортера. Основная роль фактора в данном случае сводится к страхованию кредитного риска, учету продаж и инкассированию требований. К использованию данного вида факторинга прибегают фирмы не нуждающиеся в срочном финансировании по уступленным требованиям, что объясняется сложностью проведения кредитования клиента в иностранной для фактора валюте.

При прямом экспортном факторинге клиент уступает дебиторскую задолженность фактору, находящемуся в одной с ним стране. При этом факторы испытывают определенные затруденния в оценки кредитоспособности иностранных фирм и инкассировании требований. Поэтому прямой экспортный факторинг используется в случаях, когда экспортер (экспорт-фактор) географически близок к импортеру либо при сделках с проверенными покупателями, которые показали себя как аккуратные плательщики.

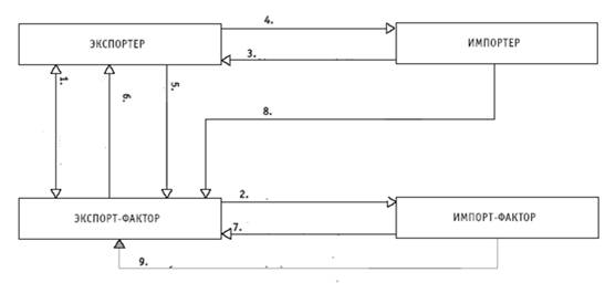
В Западной Европе наиболее часто встречается косвенный факторинг, при котором фактор-экспортер после покупки дебиторской задеолженности у клиента переуступает ее фактору, находящемуся в стране покупателя (импорт-фактору). Таким образом, функции и риски распределяются между фактором-импортом и фактором-экспортом. Основная цель этой модели состоит в обеспечении кредитов и ограничении административных расходов.

Классическая система косвеного факторинга включает в себя следующие этапы:

Экспортер заключает договор факторинга с экспорт-фактором.

Экспорт-фактор уведомляет импорт-фактора о поставке товара и заключение договора факторинга.

Экспортер заключает договор купли-продажи товара с импортером.

Поставка товара, одновременное образование дебиторской задолженности.

Предоставление отгрузочных документов экспорт-фактору для получения финансирования и дополнительных услуг.

Финансирование в объемах, предусмотренных договором.

Импорт-фактор производит оценку кредитоспособности иностранного дебитора.

Оплата за поставленный товар.

Рисунок 2. Схема косвенного факторинга

Если сроки платежа не соблюдаются, импорт фактор направляет уведомление импортеру. Если претензия остается непогашенным после двух-трех напоминаний, фактор по импорту предъявляет претензию в суд.

В этом случае риск платежеспособности импортера принимает на себя фактор по импорту, который проверяет платежеспособность импортера и гарантирует экспорт фактором, экспортируемые товары будут оплачены. Если импортер не произвести оплату, то это должно быть урегулирован только фактор по импорту.

Тем не менее, фактор по экспорту несет риски, связанные с доставкой товара экспортером и кредиты экспортера - не дожидаясь платежа от импортера или импорт фактор [64].

По форме заключения договора различают открытый (конвенционный) и закрытый (конфеденциальный) факторинг. Первый из них связан с переуступкой поставщиком товарораспорядительных документов фактор-фирме с обязательным уведомлением должников (плательщиков) об участии в расчетах факторинговой компании. Он выступает как система финансового обслуживания клиента, в которую входит бухгалтерский учет, расчеты с поставщиками и покупателями, страхование кредитование и другие услуги [7, с. 13]. Данный вид факторинга позволяет клиенту сосредоточить свои усилия только на производственном процессе, предоставив организацию и проведение расчетов с клиентами банку.

При конфеденциальном факторинге должника не информируют о привлечении к востребованию долгов фактор-фирмы. Он подразумевает проведение только отдельных факторинговых операций:

- приобретение у клиента права на получение платежа по товарным операциям от определенного покупателя или группы покупателей;

- покупка у поставщиков дебиторской задолженности по отгруженным товарам и услугам;

- приобретение векселей.

Суть данной операции заключается в гарнтировании банком оплаты выставляемых клиентом на определенных плательщиков платежных требований-поручений немедленно в день предъявления их на инкассо. При этом, учитывая досрочную оплату платежных требований-поручений клиента (до получения платежа от покупателя), мы можем говорить о фактическом предоставлении банковского кредита. Таким образом, получив денежные средства на свой счет, клиент факторинга имеет возможность в свою очередь без задержки рассчитаться со своими поставщиками, что способствует ускорению расчетов и сокращению неплатежей.

Особым видом конфеденциального факторинга можно считать тихий факторинг. Он представляет собой договор между клиентом и фактором-банком, по которому клиент передает последнему копи счетов по заключенным сделкам с партнерами, а банк выплачивает клиенту часть суммы этих счетов немедленно. После получения от партнера всей суммы по сделке клиент рассчитывается с фактором-банком, возвращая ему полученный кредит и проценты. Если партнер клиента не оплачивает счет в установленный срок, клиент уступает свои требования на оплату фактор-банку, который принимает меры к взысканию денег.

Выделяют также факторинг с регрессом, схема которого представлена на рисунке 3.

Отношения между всеми сторонами факторинга с регресом протекают в шесть этапов:

Клиент осуществляет поставку товара (выполнение работ, оказание услуг) для поставщика. В результате данной операции образуется дебиторская задолженность.

Уступка права денежного требования фактору для обеспечения своих обязательств по другому договору.

Финансовый агент перечисляет клиенту денежную сумму либо выполняет иные обязанности обусловленные договором.

При наступлении срока клиент исполняет встречные обязанности перед клиентом.

Рисунок 3. Схема факторинга с регресом

Фактор возвращает клиенту право денежного требования к должнику.

Клиент предьявляет денежное ттребование к должнику и получает обусловленную договором с ним сумму [8, с. 59 - 60].

Договор факторингового обслуживания без права регресса, как правило, заключается только в том случае, когда возможность неплатежа со стороны покупателя маловероятна. Данный договор полностью ограничивает поставщика от каких-либо рисков неплатежа или потери прибыли в отличие от факторинга с правом регресса, который лишь снижает риск поставщика в данной сделке.

Стоит выделит и такие факторинговые продукты как инвойс-дискаунтинг, предпоставочное финансирование, закупочный факторинг и реверсивный факторинг.

Инвойс дискаунтинг (invoice discounting) по своей форме является регрессным конфиденциальным факторингом, при котором финансирование выплачивается не на каждую поставку отдельно, а на текущую неоплаченную сумму всех поставок. При этом, чаще всего, комиссия за оказанные услуги начисляется не по формуле простых процентов, как при стандартном факторинге, а по формуле сложных процентов. Каждый день к сумме выплаченного финансирования прибавляется сумма начисленной сегодня комиссии, а завтра проценты начисляются уже не на финансирование, а на сумму финансирования и ранее начисленной комиссии.

Очень хорошо разницу между классическим факторингом и инвойс-дискаунтингом выделила Л. Климанова, директор маркетинга ФК «Траст»: «Факторинг включает несколько видов услуг, в том числе и управление дебиторской задолженностью. Инвойс дискаунтинг включает только финансирование. Факторинг, как правило, имеет открытый характер, то есть дебиторов уведомляют о состоявшейся уступке. Инвойс дискаунтинг, как правило, закрытый и не требует уведомления дебиторов.

Цена у факторинга выше, чем у инвойс дискаунтинга по той простой причине, что осуществляется оказание дополнительных услуг. И цена инвойс дискаунтинга, как правило, ниже, чем у факторинга. При факторинговой операции все-таки нормальным считается, когда факторинговой компании платят дебиторы, а при инвойс дискаунтинге, как правило, задолженность закрывает клиент, особенно если он закрытый. При факторинге прежде чем открыть лимиты, мы анализируем финансовую деятельность дебиторов и клиента (больше дебиторов, чем клиента). А при инвойс дискаунтинге мы, конечно, анализируем преимущественно клиента. Хотелось бы отметить, что в основном инвойс дискаунтинг все-таки предназначен, как правило, только для предприятий с устойчивым финансовым положением. То есть риски при оценке очень похожи на риски при кредитовании» [49].

Особенности предпоставочного финансирования состоят в том, что фактор предоставляет финансирование компании-поставщику не по факту отгрузки, а по факту наличия заказа на поставку товара. Использование этого продукта позволяет поставщику точнее планировать cash flow и оперативнее решать вопросы, связанные с ликвидностью. В нашей стране данная услуга впервые появилась только в 2007 году, в тоже время на Западе — она получила широкое распространение на рынке.

Реверсивный факторинг представляет собой услугу, направленную на факторинговое обслуживание поставщиков крупных покупателей по единым стандартам, что выражается:

В гарантированном принятии на обслуживание всех обратившихся поставщиков конкретного дебитора;

В отсутствии лимитов финансирования поставщиков Дебитора;

В унификации тарифов на факторинговое обслуживание;

В отсутствии требований к финансовому состоянию поставщиков.

Реверсивный факторинг бывает двух разновидностей: с правром регресса и без права регресса. Первая из них представляет собой финансовый продукт, разработанный специально для поставщиков товаров и услуг, желающих иметь в своем арсенале такой продукт, как факторинг, но не желающих платить комиссию. При пользовании данным продуктом Поставщик несет кредитные риски. Второй же используется покупателями товаров и услуг, с целью получения или увеличения отсрочки платежа.

Особой разновидностью реверсивного факторинга является «закупочный факторинг», представляющий собой продукт для крупных покупателей, обеспечивающий построение эффективной системы закупки товаров у поставщика на условиях отсрочки платежа. От классического факторинга он отличается следующими признаками:

- финансирование поставщиков в размере 100% от суммы поставки — что позволяет им получать оплату товара по факту отгрузки;

- весь факторинговый документооборот с осуществляется в электронном виде, что существенно ускоряет выплату финансирования;

- льготные условия обслуживания поставщиков в части комиссии за факторинговое обслуживание, требований к договорной документации и структуре портфеля дебиторской задолженности.

1.2 Мировой опыт применения факторинга

Рассматривая мировой опыт применения факторинга, мы должны сконцентрировать наше внимание на историю его развития, а также на правовое регулирование рынка факторинга в трех странах: Англии, США и Италии, которые, по существу и разработали эту финансовую операцию.

Факторинг впервые появился в Англии в 14 веке в результате развития текстильной промышленности. Так как основные рынки сбыты были значительно удалены от мест производства продукции возникла потребность в привлечении дополнительных посредников между производителями и конечными потребителями продукта. Перед фактором, знавшим товарный рынок, платежеспособность покупателей, законы и торговые обычаи данной страны, ставились задачи поиска надежных покупателей, хранения и сбыта товара, а также последующего инкассирования торговой выручки.

На более позднем историческом этапе некоторые комиссионные агенты отказались от коммерческих функций и сосредоточились на финансовых сторонах обслуживания клиентов. Постепенно факторы перешли к прямой покупке у поставщика его платежных требований (выставленных покупателям счетов-фактур).

Таким образом, была сформирована европейская концепция факторинга, которая характеризуется следующими признаками:

- выплата денежных средств не ограничивается одной поставкой;

- финансирование осуществляется по запросу клиенту в зависимости от общей суммы предоставленных средств;

- вознаграждение вычитается из общей суммы переданных требований д момента перечисления денежных средств;

- отсутствие излишней детализации при финансировании клиента;

- наличие гибкого подхода к клиенту [14, c. 11].

Бурными темпами в конце XIX века развивается рынок факторинга в США. Основными факторами в то время являлись представители английских и немецких текстильных фирм, взявших на себя работу по продвижению товара на рынок. Огромную роль в распространении факторинга сыграло то обстоятельство, что факторы по существу являлись агентами делькредери. Т. е. брали на себя обязательство возместить поставщику убытки, которые тот мог понести из-за невыполнения покупателем, которого нашел агент, обязанности уплатить покупную цену. Преимущества соглашения о делькредере очевидны; у поставщика нет достаточной связи с иностранным рынком, на котором действует агент, чтобы судить о финансовой кредитоспособности покупателя, заказывающего товар; не всегда удается избежать продажи в кредит, если товары сбываются на конкурентной основе, и даже если продажи в кредит не было, экспортер может быть вовлечен в сложное и дорогостоящее судебное разбирательство о банкротстве, если покупатель не платит. Этих ловушек можно избежать, если агент согласится на делькредере в отношении покупателей, которых он представил, и к тому же принципал уверен, что агент не установит сумму встречного удовлетворения в размере, превышающем кредитоспособность покупателей, на заказы, к появлению которых он причастен [58].

Факторинг этого периода довольно удачно характеризует М. Вестлейк: «Факторинг ... имел три различных функции: фактор оценивал кредитоспособность клиентов, от которых были получены заказы, и в большинстве случаев оплачивал продажу наличными, т.е. немедленно приобретал долговые требования без права регресса, он выдавал денежные авансы текстильным фабрикам, коммивояжерам и оптовым торговцам ..., под залог готовой продукции; в некоторых случаях он оказывал особые услуги, например, предоставлял помещения для выставки и хранения товара, брал на себя вопросы страхования, выставления счетов, упаковки, отгрузки и доставки ...» [38]. Таким образом к концу XIX века формируется классический образец американского факторинга.

Однако в 1890 г. в США вводится таможенный тариф Маккинли, предусматривающий защитные таможенные пошлины на текстиль в размере 49,5% для сдерживания его импорта из Европы. Агентам, специализировавшимся на импортном товарном факторинге, пришлось переориентироваться исключительно на внутренний рынок и отказаться от внешнеторговых операций. Резкое сокращение сферы деятельности агентов в начале XX в., а также возможность установления между производителями и обусловленная развитием укреплением материальной базы к сокращению до минимума количества факторинговых компаний в США. В результате чего американские факторинговые компании поменяли форму своей деятельности. Они становятся не посредниками при продаже товаров, а преобразуются в учреждения, которые финансируют производителей товаров (credit factoring) [75].

Тем не менее, в США факторинг продолжает рассматриваться как форма купли-продажи дебиторской задолженности. Так в разделе 9 Торгового кодекса США выдвигаются следующие основания заключения договора факторинга:

а) подписание договора факторинга между банком и клиентом;

б) предоставление клиенту оговоренной стоимости уступленной выручки;

в) составление финансового заявления для вступления фактора в силу.

Действительно, в случае заключения факторинга без регресса клиент полностью передает задолженность факторинговой компании, что сближает факторинг с договором цессии. Поэтому правовые последствия договора факторинга будут во многом сходны с ней.

Как известно, с переменной лиц в обязательстве к фактору переходят все права клиента в отношении должника. Это подтверждают и исследования О. Свериденко, который отмечает: «Ограничивать передачу прав по обязательству нельзя, поскольку это будет противоречить существу самого обязательства и института обеспечения исполнения обязательств. Права по дополнительному обязательству, так же как и по основному, принадлежат кредитору, который вправе уступить их другому лицу на тех же условиях и в том объеме, в каком они принадлежат ему на момент передачи. Каких-либо прямых ограничений на этот счет в законе не имеется. Однако следует иметь в виду, что не всякое дополнительное обязательство может быть предметом уступки без передачи основного» [26].

Однако на наш взгляд данное заключение не совсем точно. В ст. 384 ГК РФ, которая гласит: «право первоначального кредитора переходит к новому кредитору в том объеме и на тех условиях, которые существовали к моменту перехода права. В частности, к новому кредитору переходят права, обеспечивающие исполнение обязательства, а также другие связанные с требованием права, в том числе право на неуплаченные проценты».

Таким образом, при заключении договора факторинга между фактором и должником сохраняются правовые отношения, закрепленные в договоре купли-продажи.

Подводя итоги американской концепции факторинга, можно выделить следующие ее характеристики:

- факторинг возможен как в виде финансирования всех поставок клиента, так и в виде финансирования отдельной поставки;

- размер финансирования определяется фиксированным процентом от каждой поставки;

- вознаграждение осуществляется после поступления оплаты от дебитора, а не в момент регистрации поставки;

- не гарантируется получение фактором вознаграждения [14, c. 11].

Как сделку купли-продажи долговых обязательств, возникающих в процессе обращения товаров и услуг, рассматривают факторинг и в ФРГ. Однако здесь факторинг считают не столко кредитной, сколько торговой операцией. В случае, если организации, специализирующиеся на оказании факторинговых услуг, имеют статус банков, то помимо получения банковской лицензии они также должны руководствоваться положениями статьи 18 (о документах, являющихся основанием для предоставления кредита) и статьи 19 (о порядке выдачи кредита) кредитного законодательства ФРГ (FWG).

История итальянского факторинга началась в 1960 годах, с началом экспансии американских товаропроизводителей в Европу, что привело к активизации деятельности европейских фвакторинговых компаний. И в первую очередь итальянских факторов. Причины этого хорошо проанализировал М. Трейвиш: «Италия характеризуется, не скажу — плохой, но непредсказуемой платежной дисциплиной итальянского покупателя. Чем менее дисциплинировано платят покупатели, тем выше потребность в факторинге у поставщиков, поскольку здесь действует фактор неопределенности: неизвестно, когда поступит выручка. Вторая причина — субъективная. В Италии Центральный банк очень долго мешал развитию кредитной активности банков. Это было связано с очень высоким уровнем инфляции в 70-80-х годах прошлого века, вследствие чего банкам устанавливались очень жесткие нормы кредитования. Соответственно предприятия искали другие источники финансирования. В третьих, в Италии изначально была очень сильна факторинговая ассоциация, члены которой обменивались информацией вплоть до решений о том, кому какие лимиты установлены. А это даже больше чем бюро кредитных историй: информация идет не о конкретно выданных деньгах, а о лимитах» [76].

Неудивительно поэтому, что в Италии факторинг рассматривается как вид страховой операции, поскольку здесь фактор обычно не авансирует получение выручки поставщиком, а осуществляет платеж лишь по наступлении срока платежа должником. Т. е. фактор лишь принимает на себя риск неплатежа со стороны плательщика. Отношения, связанные с факторингом регулируются в Италии разрозненными нормативными актами. Один из них - Закон № 52 от 21 февраля 1991 г., применяемый к операциям сторон, являющихся предпринимателями, причем фактор должен отвечать требованиям достаточности капитала (не менее 10-кратного размера, необходимого для акционерных обществ). Если фактор и поставщик не отвечают названным требованиям, то их отношения регулируются ГК.

Действительно, факторинг является одним из основных инструментов снижения риска ликвидности, валютного, процентного и кредитного.

Валютный риск клиента связан с колебаниями валютных курсов. Если фирма осуществляет продажу иностранных товаров, то ее задолженность выражена в валюте, а сумма причитающаяся к получению — в рублях. В случае задержки оплаты товаров и одновременного падения курса рубля по сравнению с иностранной валютой фирма может понести существенные убытки. При использовании факторинга валютные риски снижаются, так как банк оплачивает основную часть стоимости контракта непосредственно после отгрузки товаров покупателю. Эти деньги фирма может немедленно направить на оплату своих валютных обязательств. Таким образом, снижение валютных рисков означает возможность немедленно конвертировать в валюту денежные средства, полученные от банка.

Под кредитными рисками при факторинге понимается возможность неоплаты дебиторами поставок с отсрочкой платежа. Это может происходить по следующим причинам:

- несвоевременная оплата должником задолженности;

- финансовая несостоятельность должника;

- правовая несостоятельность должника в результате действий государственных налоговых, судебных или правоохранительных органов (невозможность покрытия задолженности до решения суда);

- мошенничество со стороны должника, например подлог документов по поставке;

- форс-мажорная несостоятельность должника (возникновение обстоятельств непреодолимой силы).

После заключения факторингового договора и предоставления финансирования предприятию-клиенту банк полностью несет все убытки, связанные с непоступлением платы от дебиторов. Поставщик же может таких убытков избежать, так как уже получил от банка 60-90% от стоимости контракта. Впрочем, данное положение справедливо только для факторинга без регресса. В случае регрессного факторинга при неоплате поставки в течении определенного периода банк имеет право осуществить обратную переуступку денежного требования поставщику и востребовать с него сумму задолженности по этим дебиторам. Другими словами, кредитный риск остается у клиента.

Ликвидные риски представляют собой риски несвоевременной оплаты дебиторской задолженности, приводящие к недостатку средств у поставщика для покрытия текущих затрат. При факторинге поставщик получает финансовые ресурсы от банка практически в момент поставки, поэтому ликвидные риски поставщика становятся заботой банка.

Факторинг позволяет избежать так называемых процентных рисков. Они возникают в случае, когда компания за счет привлечения кредитов пытается восполнить недостаток оборотных средств, вызванный отсрочкой платежей. Напомним, что процентная ставка по краткосрочным кредитам в первую очередь зависит от ситуации на рынке заемных средств, поэтому предприятие не застраховано от резкого удорожания кредитных ресурсов.

При заключении же бессрочного договора факторинга банк гарантирует поставщику, что стоимость предоставляемых денежных ресурсов будет оставаться неизменной в течение довольно длительного периода времени (например, в течение полугода или года). Этот аспект факторингового обслуживания является дополнительным стабилизирующим фактором для бизнеса поставщика [34].

В нашей стране факторинг впервые появился в 1988 г., при этом значительно отличаясь от того продукта, который бал представлен на международном рынке. Факторы приобретали только просроченную дебиторскую задолженность, при этом договор заключался как с поставщиком так и с покупателем товаров. В последнем случае — в целях гарантирования платежа поставщику путем кредитования покупателя.

После перехода к рыночной экономике факторинг постепенно приводится в соответствие с международной практикой, признается государством. В 1992 г. Федеральным законом «О банках и банковской деятельности» факторинг включается в состав банковских операций и сделок. А уже в 1996 году выходит вторая часть ГК РФ, глава 43 которого была посвящена финансированию под уступку денежного требования, которое несколько отличается от классического определения факторинга.

После этого законодательная деятельность в области регулирования факторинга прекратилась. Поэтому вплоть до настоящего времени весь бизнес строится на 43-й главе Гражданского кодекса и общих требованиях ЦБ к кредитным организациям в части обслуживания корпоративных клиентов. Были попытки написать отдельный закон о факторинге, внести поправки в 43-ю главу, но они окончились ничем. При этом ровно год назад вступили в силу поправки в статью 825 ГК РФ, которые позволили предоставлять услуги факторинга без банковской лицензии, то есть любой коммерческой организации. Это был антикризисный тактический шаг государства для снижения риска неплатежей в экономике.

К сожалению, дальше этих поправок дело не пошло. Факторинг продолжает подменяться понятием финансирование под уступку денежного требования. В нашей стране за ним закрепляется только кредитная функция.

Действительно, факторинг является одной из форм финансирования клиента, во многом схожего с кредитованием под залог кредиторской задолженности. Однако как самостоятельный вид финансирования факторинг отличают следующие признаки:

Кредит в большинстве случаев выдается под обеспечение (залог). При факторинге обеспечение не требуется.

Для получения кредита необходимо предоставить бухгалтерскую отчетность предприятия, пройти процедуру анализа финансово-хозяйственной деятельности. При факторинге достаточно предоставить счет-фактуру.

Кредит оформляется на фиксированный срок. При факторинге финансирование происходит в течение срока, по которому предоставлена фактическая отсрочка платежа. Кроме того, если кредит носит разовый характер, то с клиентом фактор может заключить договор о полном факторинговом обслуживание на фиксированный срок, в течении которого будет финансировать его деятельность. Другими словами, позволяет использовать факторинговую линию.

Выдача кредита происходит в день, который прописан в кредитном договоре. При факторинге финансирование осуществляется в день отгрузки товара.

Кредит не может быть больше максимальной суммы, прописанной в кредитном договоре. При факторинге объемы финансирования зависят от объемов продаж.

Кредитование не предусматривает предоставление дополнительных услуг. При факторинге предоставляется управление дебиторской задолженностью.

«Теоретический факторинговая сделка может вообще не предполагать предоставление финансирования, - отмечает Михаил Трейвиш, председатель правления Национальной факторинговой компании «Уралсиб-НИКойл». - Главное, что должен включать факторинг - это кредитное страхование и комплекс услуг по управлению дебиторской задолженностью». Эту концепцию поддерживают и в «Пробизнесбанке»: «У нас процентная ставка по факторингу состоит из двух частей, - говорит Мария Кузнецова, начальник управления факторинга и уступки денежного требования. - Это ставка за финансирование и ставка за административное управление дебиторской задолженностью» [34]. Часто факторинговая сделка оформляется при помощи двух договоров - о предоставлении кредита и об управлении дебиторской задолженностью. Это вызвано налоговыми соображениями: проценты по кредитному договору не облагаются НДС.

Факторинг в отличие от кредита не исключает одновременное использование традиционных долговых инструментов, притом, что кредиты, облигации и векселя, например, являются конкурирующими инструментами привлечения заемного финансирования, факторинг может применяться одновременно с ними, поскольку не требует предоставления традиционных залогов или гарантий.

Кредит погашает лицо, за ним обратившееся, факторинг погашается за счет разницы между суммой средств, предоставленных клиенту и суммой средств, полученных от должника клиента.

Заметим, что в некотрых странах факторинг также имеет толкование отличное от общепринятого. Так во Франции факторинг, согласно ст. 1250 ГК Ф, расматривается как разновидность суброгации, т. е. как уступка права, возникающей в силу закона и состоящей в переходе к новому кредитору требований в размере реально произведенной за них оплаты (или иного исполнения).

В Бельгии под факторингом понимается форма кредитования, выражающаяся в инкассировании дебиторской задолженности клиента, то есть — покупка специализированной финансовой компанией или банком всех денежных требований клиента к должнику. Если же данную покупку осуществляет иная компания то клиент обязан известить должника заказным письмом, содержащим специальную оговорку. При этом ведение факторинговых операций регулируется стандартными правилами о цессии.

В Финляндии отношения между сторонами договора факторинга регулируются Законом о договорах, а также нормами о залоге прав требования. При этом договор факторинга считается заключенным в тот момент, когда должник получает уведомление о нем. Получив данное извещение, а также товаросопроводительные документы — он обязан произвести платеж фактору. В случае, если должник пренебрег данной обязанностью — ответственность за это ложится на клиента.

Кроме того, факторинг широко используется как один из ключевых институтов управления дебиторской задолженностью. Как правило фактор при заключении договора осуществляет всю работу с дебиторами: контролирует выполнение должник условий договора, ведение бухгалтерской отчетности клиента, в том числе книги продаж. Это позволяет предприятию существенно сэкономить на оплате дополнительных мест и рабочего времени сотрудников, ответственных за проведение финансовых расчетов.

Так, например Национальная факторинговая компания осуществляет следующие услуги по управлению дебиторской задолженностью.

Работа по предупреждению случаев неплатежей на стадии заключения договора на факторинговое обслуживание:

Проверка потенциальных контрагентов и заёмщиков.

Установление действительности предоставленных контрагентом или заёмщиком учредительных документов и лиц, имеющих право подписи финансовых документов, в том числе:

- сведений о регистрации предприятия;

- данные об аппарате управления;

- наличие основных средств и прочего имущества;

- размер дебиторской задолженности, по которой вынесено решение суда и возбуждена процедура исполнительного производства, и тенденции её погашения;

- деловая репутация организации;

- возбуждение процедуры банкротства в отношении организации.

Установление действительной долговой истории контрагентов и заёмщиков на предмет обслуживания ими своих долговых обязательств, финансовое состояние контрагентов.

Анализ, подготовка и рекомендации по планируемым к подписанию контрактам.

Изучение активов контрагентов и заёмщиков, с целью обеспечения гарантий по планируемым контрактам.

Выезд на место, оценка и определение ликвидности имущества, предлагаемого контрагентами или заёмщиками в обеспечение гарантий по контрактам.

Контроль процедуры официальной регистрации залога.

Оказание услуг по полной процедуре взыскания по договорам факторингового обслуживания:

Розыск должника и его имущества.

Направление письменного уведомления о возврате задолженности.

Выезд к должнику.

Организация юридического преследования должника в рамках действующего законодательства, которое включает в себя ряд действенных мероприятий, направленных на скорейшее погашение задолженности.

Подготовка необходимых документов для обращения в суд.

Обращение в судебные органы.

Представление интересов в суде.

Участие в исполнительном производстве.

Сопровождение процедуры банкротства.

Организация уголовного преследования должника в рамках действующего законодательства.

Изучая мировой рынок факторинга, стоит отметить и еще одну особенность развития факторинга в западных странах. «Для развития факторинга очень важно наличие определенного законодательства. Естественно, в тех странах, где соответствующие услуги не требуют лицензирования, факторинг развивается значительно быстрее, у огромного количества игроков есть возможность выйти на этот рынок. Если же имеются законодательные ограничения (например, установлено, что факторинговые услуги могут оказывать только банки), то, конечно же, рынок резко сужается» [84] - отмечает Ю. Волков, председатель совета директоров МФК «Траст».

Таблица 1.

Зависимость степени развития рынка факторинга от регулирования [63]

Страна

Законодательное регулирование

Оборот факторинга / ВВП, %

Австрия

Нужна банковская лицензия для всех видов факторинга

1,2

Германия

Нужна банковская лицензия для отдельных видов факторинга

3,1

Франция

Банковская лицензия не нужна, но факторинговые компании поднадзорны Банку Франции

5,3

Италия

Государственное регулирование существует, но не имеет отношение к банковскому

7,8

Великобритания

Государственное регулирование отсутствует

13,4


Этот же вывод отмечают и исследования Мирового банка. Хотя во многих странах мира соотношение объема факторингового рынка и ВВП достаточно высоко, доля факторинга в ВВП снижается тем быстрее, чем сильнее урегулирована факторинговая деятельность в стране. Так, в Италии, Великобритании, Португалии это соотношение составляет порядка 10%, а в Германии этот показатель составляет около 2 %.

Так Ассоциация факторинговых компаний (АФК) приводит следующие данные о развитии мирового рынка факторинга (таблица 1):

в Англии, где деятельность факторинговых компаний никак не регулируется, число факторов находится в районе 100, оборот за 2007 год составил 286,5 млрд. евро. Во Франции, где факторинговая деятельность подчиняется Банку Франции, число факторов состаляет 25, оборот за 2007 год — 121,66 млрд. евро; в Германии — около 40 Факторов, оборот — 89 млрд. евро. Исключением из общего правила здесь может быть разве что США, в которой действуют 108 факторинговых компаний, с общим оборотом факторинга — 97 млрд. евро., что в объеме ВВП не превышает 1-2 %.

Такое различие во многом объясняется и направлением использования факторинга. Так в Великобритании факторы обслуживают производственные компании, компании сферы услуг и оптово-розничной торговли. В Италии факторинг широко используется в сфере коммерческих, транспортных и телекоммуникационных услуг. В Дании наибольший спрос на услуги факторов предъявляет текстильная промышленность, в Греции – пищевая промышленность, в Австрии – электроэнергетическая, деревообрабатывающая и химическая отрасли [77].

Стоит отметить еще одну особеность мирового рынка факторинга. Не смотря на то, что факторинг представлен целым рядом разновидностей: инвойс-дискаунтинг, факторинг с регрессом, факторинг без регресса, коллекторские услуги, реверсивный факторинг и др. - соотношение этих продуктов в каждой стране разное, что во многом объясняется обычаями делового оборота. Так, анализируя рынок факторинга Великобритании, М. Трейвиш отмечает: «Дело в том, что еще до появления факторинга сложилась очень сильная индустрия кредитного страхования. Ко времени появления факторинга уже все английские компании, в силу традиций делового оборота, имели контракты с кредитными страховщиками. И услуга, связанная с покрытием кредитных рисков, в Англии оказалась невостребованной» [70]. Поэтому основную масу рынка Великобритании занимает факторинг с регрессом.

В то же время в континентальной Европе, наоборот, первые места занимает факторинг без регресса. Так, например, в Болгарии его доля составляет 90 %, Италии 64 %, Франции — 55 %. Хотя если брать рынок каждой страны: то можно увидеть некоторые отличия. Так, Швеции, Голландии, Кипре, Германии преобладает инвойс-дискаунтинг. В Болгария и Дании доминирует факторинг без регресса. В Португалии, Австрии, Венгрии, напротив до 90% операций приходится на долю факторинга с регрессом. Особняком стоит Испания, где 38% рынка приходится на реверсивный факторинг.

Россия в связи с неразвитостью кредитного страхования вплоть до 2008 года шла по пути континентальное Европы, однако в связи с экономическим кризисом вынуждена была перейти на факторинг с регрессом.

По разному происходит и развитие факторинговых услуг в развитых и развивающихся странах. «На Западе некоторые факторинговые компании одновременно предлагают своим клиентам и инвойс дискаунтинг, и факторинг, и другие продукты, не волнуясь по поводу того, что клиент может в чем-то запутаться» [70], - отмечает генеральный секретарь International Factors Group Эрик Тиммерманс. В то же время в развивающихся странах, где только начинают отходить от классического факториннга, постепенно внедряя инвойс-дискаунтинг, происходит некоторое путанность в восприятии отдельных видов факторинговых продуктов. Это характерно и для отечественного рынка.

Кроме того, определенное влияние на распространение тоого или иного вида факторинга могут оказать платежная дисциплина клиентов (например, в Швеции, где отсрочка платежа практически не используется — факторинговые услуги не развиты) а также вид отрасли, обслуживаемой факторингом. Если принять во внимание, что: в Великобритании факторы обслуживают производственные компании, компании сферы услуг и оптово-розничной торговли; в Италии факторинг широко используется в сфере коммерческих, транспортных и телекоммуникационных услуг; в Дании наибольший спрос на услуги факторов предъявляет текстильная промышленность, в Греции – пищевая промышленность, в Австрии – электроэнергетическая, деревообрабатывающая и химическая отрасли, а во Франции — основное внимание уделяется транспортным услугам, розничной торговли, легкой промышленности, услугам по трудоустройству - можно сделать вывод о том, что наиболее перспективными отраслями для факторинга является розничная торговля и сфера оказания услуг.

Глава 2. Рынок факторинга в российской федерации

2.1 Общая характеристика рынка факторинга

Бурный рост российского рынка факторинга в 2005 — 2007 гг. был прерван кризисными явлениями в мировой финансовой системе и резким ростом стоимости фондирования. В результате в 2008 г. впервые за последние пять лет темпы роста рынка факторинга резко замедлились. Доля факторинга в ВВП сократилась с 1,56% в 2007 г. до 1,44% в 2008 г. Если в 2007 г. объем требований, уступленных Факторам, в 1,7 раза превзошел аналогичный показатель прошлого года, то в 2008 г. этот рынок вырос лишь на 16,7% до 602 млрд. руб. [60] (рисунок 4).

Положительный прирост по итогам года - заслуга относительно успешной работы факторов в I полугодии 2008 г. Главным направлением которой стала ориентация факторов на работу в регионах. Доля Москвы и Санкт-Петербурга в объеме уступленных требований снизилась по сравнению с аналогичным периодом 2007 года с 62,1 до 58,2 % (рисунок 5). Наиболее динамично развивается рынок факторинга на Дальнем Востоке, рост факторингового рынка которого составил более 250 % [48].

Происходит в 2008 году и постепенная переориентация факторов на малый и средний бизнес. Доля уступленных требований предприятий малого и среднего бизнеса вырос с 15,9 % в первом полугодии 2007 года до 30,1 % в первом полугодии 2008 года (рисунок 6). В абсолютном выражении объемы факторинга малого бизнеса увеличился в 3,3 раза, тогда как прирост факторинга крупного бизнеса составил всего 44 % [48].

Во втором полугодии 2008 года волна финансового кризиса накрыла и факторинговую отрасль: из-за сужения ресурсной базы многих участников рынка объемы финансирования клиентов сократились. Кроме того, значительное влияние на объемы и развитие рынка оказал дефолт крупнейшего (по данным исследования «Эксперт РА» за первое полугодие 2008 года) Фактора - ФК «Еврокоммерц», доля которого на рынке составляла 22,3%).

Менее громким, но не менее значимым для рынка событием стала продажа факторингового бизнеса МФК «Траст» банку ВТБ. По данным агентства «Эксперт РА», на начало 2008 года МФК среди российских факторинговых компаний занимала 5-е место по объему предоставленного финансирования (17,6 млрд руб.) и 4-е место по числу обслуженных компаний (794) и занимал устойчивую нишу на рынке. Причиной продажи стало невозможность привлечения заемных средств с нутреннего и внешнего рынка, а также растущая просрочка по задолженности контрагентам из-за финансовой сложности самих контрагентов [81].

Эти тенденции повлияли и на остальных участников рынка факторинга, которым пришлось осуществить выбор: либо укрепления системы риск-менеджмента, совершенствование работы с просроченной задолженностью, либо осуществить уход с рынка. Что и продемонстрировали МФК «Траст», КБ «Система», банк «Северная казна» и другие.

Одновременно увеличилась и стоимость факторинговых услуг. Однако для клиентов данная проблема являлась второстепенной — большинство компаний значительно усилили требования к потребителям услуг. В ряде случаев банки ставили в качестве одного из условий наличие дополнительного обеспечения. А. Морозов, начальник управления факторинга банка «Петрокоммерц» следующим образом прокомментировал эту ситуацию: «Если мы видим, что финансовое состояние клиента не блестящее, но компания достаточно типична для факторингового бизнеса, у неё есть перспективы на рынке, то мы принимаем решение по подкреплению своих позиций - запрашиваем дополнительное обеспечение. И клиенты нормально на это реагируют» [60].

Таблица 2.

Ренкинг крупнейших факторов за 2008 год [25]

Место фактора в ренкинге в 2008 г.

Наименование фактора

Обем денежных требований уступленных фактору в 2008 г., тыс. руб.

Темпы роста в 2008 г., %

1

ОАО «Промсвязьбанк»

141.822.178,0

146,4

2

ФК «Еврокоммерц»

93.769.341,3

77,5

3

ОАО Банк НФК

67.286.830,0

108,3

4

ОАО Банк «Петрокоммерц»

60.950.381,0

112,7

5

ЗАО «БСЖВ»

33.886.914,0

276,9

6

ЗАО «ТрансКредитФакторинг»

22.485.594,3

185,3

7

ЗАО ЮниКредитБанк

20.759.017,6

154,9

8

ОАО «Номос-Банк»

14.879.273,9

106,1

9

ОАО «Газпромбанк»

14.724.920,4

207,9

10

ОАО АКБ «Металлинвестбанк»

10.310.967,0

н/д


Заметим, что ужесточение требований к клиентам и качеству торговой дебиторской задолженности, сокращение лимитов на одного клиента, а также уход с рынка некоторых крупных факторов заставили ряд клиентов заняться поиском новых партнеров. Поэтому в 2008 году происходит регистрация новых факторинговых фирм, расширением сферы деятельности старых участников.

Таким образом, в 2008 году прозошло перераспределение рынка факторинга. Впервые за время составления рэнкинга крупнейших факторинговых компаний первое место, как это показано в таблице 2, по объему уступленных требований занял «Промсвязьбанк». По оценке аналитиков «Эксперт РА», концентрация рынка, рассчитанная как доля 5 крупнейших Факторов, в 2008 году продолжила снижаться и составила 52,8% (68,6% в 2007 году). Снижение уровня концентрации связано с уходом с рынка в конце 2008 года ФК «Еврокоммерц» и динамичным ростом таких Факторов, как Газпромбанк, «Промсвязьбанк», КБ «СМП», «БСЖВ» и других. Кроме того определенное влияние на снижение уровня концентрации оказала успешная работа относительно новых участников рынка: ОАО «Газпромбанк», ЗАО «ФК Горизонт», ОАО «Банк Казанский», ОАО «Банк Северная казна». Следует отметить и начало освоения рынка факторинга крупнейшими банковскими структурами — в 2008 году о планах выхода на рынок объявили Сбербанк и Альфа-банк.

В целом перспективы рынка в 2009 году под влиянием экономического кризиса оценивались по разному. Наиболее оптимистичный прогноз находился в границах 5-10% роста рынка по отношению к 2008 году, наиболее пессимистичный - падение объемов рынка на 50%. По мнению «Эксперта РА» объемы рынка в 2009 году не превысят 630 млрд. руб. (прирост, если и будет, то составит не более 5% по отношению к 2008 году).

Главными событиями 2009 года на рынке факторинга стали банкротство ФК «Еврокоммерц», отмена лицензирования факторинговой деятельности, принятие Госдумой проекта Федерального закона «Об основах государственного регулирования торговой деятельности в Российской Федерации» и консолидация игроков в рамках Ассоциации факторинговых компаний.

Таблица 3.

Ренкинг крупнейших факторов за 1 полугодии 2009 года

Место фактора в ренкинге в 2008 г.

Наименование фактора

Объем денежных требований уступленных фактору в 1-м полугодии 2008 г., тыс. руб.

Объем денежных требований уступленных фактору в 1-м полугодии 2009 г., тыс. руб.

Темпы роста в 2009 г., %

1

ОАО «Промсвязьбанк»

68.899.474

53.230.349

-22,74

2

ОАО Банк НФК

34.047.115

17.065.354

-47,53

3

ОАО Банк «Петрокоммерц»

31.992.413

13.833.508

-50,51

ЗАО «ТрансКредитФакторинг»

9.434.470

9.245.047

-2,01

5

ОАО АКБ «Металлинвестбанк»

4.463.989

9.517.357

203,6

6

ЗАО «БСЖВ»

16.091.216

8.032.397

-50,08

7

ФК «Лайф»

н.д.

6.045.976

н.д.

8

ЗАО «Альфа-банк»

н.д

5.806.467

н.д.

9

ОАО «Газпромбанк»

6.792.374

5.203.082

-23,4

10

ЗАО «Юникредитбанк»

10.873.821

4.421.803

-59,34


Если говорить о динамике рынка факторинга, то в первом полугодии 2009 года он сократился в два раза по сравнению с аналогичным периодом прошлого года. Главными причинами этого стали банкротство ФК «Еврокоммерц» и общим сокращением деловой активности основных игроков (таблица 3). Общее снижение объема рынка факторинга, без учета результатов Еврокоммерц, составило 33 % [37]. Еще одним итогом первого полугодия 2009 года стало перераспределение рынка в пользу банков. Доля банков-факторов на рынке в зависимости от объемов уступленных требований увеличилась с 65 % в первом полугодии 2008 года до 88 % в первом полугодии 2009 года [37]. В. Носов, директор депертамента факторинговых операций Промсвязьбанка так прокоментировал данную ситуацию: «В условиях дефицита денег рынок стал преимущественно банковским, что, в свою очередь, потребовало увеличения резервов банков-факторов для обеспечения роста портфелей. Не все банки оказались к этому готовы, что и послужило причиной отрицательной динамики рынка в целом» [61]. В связи с этим некоторые банки стали организовывать дочерние факторинговые компании, имеющие доступ к ресурсам банка, но не обязанные осуществлять обязательное резервирование. В качестве примера здесь можно привести ФК «Лайф», дочернюю компанию Пробизнесбанка, занимающую в ренкинге 7 место (таблица 3). Продолжающиеся ужесточение требований к клиентам и их дебиторам привело к разделению рынка на высокорисковую и низкорисковую части. При этом в условиях кризиса первая из них характеризуется большим спросом и полным отсутствием предложения. Тогда как в низкорисковом факторинге продолжается рост конкуренции, что приводит к снижению ставок, которое в 2009 году составило в среднем с 30 — 38 % на начало года до 20 — 23 % годовых в середине года [37]. В настоящее время факторы условно разделились на три группы: крупные, средние и мелкие факторы, как это показано в таблице 3. В первой группе к концу 2009 года остался только ОАО «Промсвязьбанк», однако и он сократил свою деятельность на 23 %. Среди средних и мелких факторов среднее сокращение составило 39 % и 49,86 % соответственно [61]. Хотя и в этой группе есть фирмы продолжающие стабильно развиваться. К ним в частности относятся ТрансКредитФакторинг, практически не сократившая объемов деятельности, а также Металинвестбанк, увеличивший объем факторинговых платежей в два раза. Из небольших факторинговых компаний «в плюсе» по сравнению с первым полугодием 2008 года лишь СДМ-БАНК и Банк «Вологжанин».

Те факторинговые компании и банки, которые работают с крупным бизнесом, меньше сократили объемы уступленных требований, чем Факторы, специализирующиеся на малом бизнесе. В факторинговой отрасли более крупные поставщики получают финансирование у крупнейших Факторов. Так лидер рынка - ОАО «Промсвязьбанк» сохранил позиции, так как работает преимущественно с клиентами, относящимися к крупному бизнесу (67%). У компаний, относящихся ко второму размерному классу, доля крупных клиентов в среднем составляет 56%, а у небольших Факторов – лишь 25%. Таким образом, сокращение числа малых и средних компаний, которые наиболее существенно пострадали во время кризиса, отразилось и на рынке факторинга в России.

Таблица 4.

Группы факторов в 2009 году [31]

Класс

Факторы, отнесенные к соответствующему размерному классу

Критерии отнесения к классу, объемы уступленных требований за 2009 год

Темпы прироста объемов уступленных требований в 2009 году по сравнению с первым полугодием 2008 года

Крупные Факторы

ОАО «Промсвязь банк»

Свыше 50 млрд. руб.

-22,74%

Средние Факторы

Банк НФК (ЗАО), Петрокоммерц, ЗАО «ТрансКредитФакторинг», ОАО АКБ «Металлинвест факторинг», ЗАО «БСЖВ», ФК «Лайф», ОАО «Альфа-банк», ОАО «Газпромбанк», ЗАО ЮниКредит Банк

От 4 до 20 млрд. руб.

-39,21%

Малые Факторы

КБ «Роспромбанк», АБ «ОРГРЭСБАНК», ФК «Санкт-Петербург», ЗАО «ТКБ», ЗАО «РФК», КБ «СДМ_Банк», ОАО «СМП Банк», ООО «Эконом-факторинг», ОАО «СКБ-банк», ООО МФГ «ЮниФактор», ЗАО АКИБ «Церих», ЗАО «Банк «Волгожанин»

Менее 1,1 млрд. руб.

-49,86%


Основными участниками рынка становятся банковские компании, на долю которых приходится более 70 % финансирования. Продолжается наращивание концентрации рынка: если в первой половине 2008 года на долю пяти крупнейших факторов приходилось 66% от общего числа уступленных требования, то в конце 2009 года данный показатель достиг уже 85 % [33] (рисунок 7).

Стоит отметить и то факт, что большинство активных игроков рынка факторинга начинают объединяться в рамках Ассоциации факторинговой компании. В конце 2009 года доля участников АФК в обороте рынка факторинга составила 63 % [31]. И это не удивительно, учитывая тот факт, что в состав АФК вошли: ООО «БСЖВ Факторинг», ЗАО «Банк «НФК», ЗАО «ЮниКредитБанк», ОАО «Промсвязьбанк» и другие. Такое объединение можно объяснить стремлением факторинговых компаний стабилизировать ситуацию на рынке факторинга, чего невозможно достичь без оптимизации и объединения усилий.

Изучение региональной структуры рынка факторинга, существено изменилась. Под влиянием экономического кризиса некоторые факторы стали закрывать малопривлекательные региональные представительства, происходит значительный отток средств из регионов в центральные районы (рисунок 8). Если в середине года доля столицы в объемах уступленных требований составляла 68,7%, то по итогам года – 66,0%. Увеличить свою долю в региональной структуре сделок помимо Москвы удалось ещё только Санкт-Петербургу (доля выросла с 8,3 в середине 2009 г. до 12,1% в конце) и Дальневосточному федеральному округу (доля выросла с 0,08% в 2008 г. до 0,12% в 2009 г.). Остальные федеральные округа показали падение относительно 2008 года.

Заметим, что ряд факторов, например Промсвязьбанк наоборот продолжили укреплять региональную сеть. При этом ставки по факторинговому обслуживанию в регионах по сравнению с центральными районами были увеличены на 3 — 5 пунктов, что объясняется низкой платежной дисциплиной клиентов и дебиторов. Кроме того, основную часть сделок в регионах осуществлял банк «Еврокоммерц», после ухода с рынка которого данная ниша оказалась незаполненной.

Продолжается в 2009 года и активная работа по привлечению на рынок малого бизнеса. В 2009 года доля клиентов указанной категории выросла на 16 п.п. По сравнению с первым полугодием 2008 года и составила 55,6 % (рисунок 9). Наряду с этим значительно уменьшилась доля клиентов, относящихся к среднему бизнесу. Это во многом объясняется банкротством ФК «Еврокоммерц», обслуживавшей в первом полугодии 2008 года 2415 клиентов (28,5 % от общего числа всех компаний, получивших факторинговое обслуживание). Довольно стабильно разивается рынок крупных клиентов, что объясняется его большей устойчивостью к экономическому кризису. «Свой вклад в увеличение доли крупных клиентов в целом по рынку внес кризис. Крупные компании быстрее справились с проблемами и доказали, что они отличаются большей финансовой устойчивостью, нежели средние и малые предприятия» - комментирует Виктор Носов [72].

Стоит отметить еще одну тенденцию рынка. С началом кризиса поведение многих поставщиков продукции изменилось: компании либо перешли на предоплату, либо, наоборот, увеличили отсрочки платежа. Срочную структуру факторинговых портфелей по итогам 2009 года определят именно эти разнонаправленные тенденции поведения поставщиков. В результате средний срок факторинговой сделки увеличился с 53 дней в 2008 году до 67 дней в 2009. Увеличение среднего срока сделки произошло, главным образом, за счет значительного роста сделок срочностью от 181 дня до года (рисунок 10). Ключевую роль в этом сыграл Промсвязьбанк, в его объемах уступленных требований обязательства до года составили 7,7%.

С услинием риск-менеджмента факторами, а также ухудшением платежеспособности клиента происходит сокращение доли безрегрессного факторинга с 17,1 до 11,5 %. По-прежнему лидерами в сегменте безрегрессного факторинга выступают БСЖВ Факторинг и НФК, доля данного вида факторинга в объемах уступленных требований этих компаний составила в 2009 году 79 и 37% соответственно.

В то же время из-за ухудшения платежной дисциплины дебиторов происходит наращивание доли факторинга с регрессом, рост которого в течении года составил 6,1 % (рисунок 11). Несколько снизилась за 2009 год доля международного факторинга. Руководитель блока управления продуктовым рядом и иновациями НФК Корнелиу Рубу так поясняет это процесс: «За первые 4 месяца 2009 года объем экспорта сократился на 47,1% по сравнению с аналогичным периодом 2008 года, достигнув уровня 2005 года. Падение экспорта коснулось не только топливно-энергетических товаров, но и практически всех факторабельных отраслей. Учитывая, что факторинговое обслуживание больше характерно для товарных групп, ориентированных на конечный розничный спрос, факторабельный экспорт был традиционно ориентирован на страны СНГ, которые больше других оказались затронуты кризисом.

Одновременно с этим, экспортеры, чьи контракты были номинированы в иностранной валюте, в меньшей степени пострадали в текущих условиях, т.к. девальвация национальной валюты пошла им на пользу, и именно такие клиенты являются особенно интересными для факторов. Объем импорта сократился на 38,9% по сравнению с аналогичным периодом 2008 года. Импортеры стали первыми жертвами кризиса в связи с резким ростом себестоимости, вызванной более чем 25% девальвацией рубля к ключевым иностранным валютам, в условиях сжатия рынков, падения спроса и вытекающим отсюда падением продаж. Практика привязки цен на товары внутри страны к курсу иностранных валют не успела полностью вернуться из конца 90-х, и те компании, которые не успели или просто не смогли пересмотреть вовремя цены на импортируемую и реализуемую на внутреннем рынке продукцию, получили серьезные убытки. Самый сильный удар пришелся на импортеров машин и оборудования. Одновременно с этим, спрос на услуги импортного факторинга как инструмента управления рисками у иностранных контрагентов остается высоким в условиях ограниченности альтернативных инструментов риск-менеджмента по поставкам в Россию» [71].

Более категорично высказался Виктор Носов: «В международном факторинге подкачали зарубежные страховщики, из-за которых «просела» двухфакторная модель. Но мы отдаем себе отчет в том, что сложности носят не только объективный, но и временный характер. В этом плане России неразвитость рынка финансовых услуг оказалась на руку, и внутренний факторинг в России сократился значительно меньше, чем международный факторинг. Доли закрытого и реверсивного факторинга по итогам 2009 года не превышают и 0,5% в объемах внутреннего факторинга [72].

Во второй половине прошлого года ситуация несколько стабилизировалась. Это связано с тем, что под влиянием кризиса с рынка ушли наиболее слабые фирмы, которые проводили агрессивную политику и не уделяли достаточного внимания оценке дебиторской задолженности. По мнению ген. директора ФК «Лайф» А. Федорова рынок факторинга стал более зрелым: «Среди первых (факторов) остались только наиболее опытные и устойчивые игроки, предоставляющие клиентам комплексный факторинговый продукт. У вторых (клиентов) появилось понимание того, чем отличаются предложения различных факторов и из чего строится цена этой услуги. А главное, клиенты научились использовать комплекс факторинговых услуг и не готовы от него отказываться» [73].

Особое внимание фактры теперь обращают внимание на отраслевую принадлежность клиентов. Если раньше факторы активно финансировали предприятия, производящие продукцию промышленного назначения, металлургическую и стороительную промышленность — отрасли которые по мировым стандартам не подлежат факторингу ввиду больших сроков оборачиваемости дебиторской задолженности — то теперь приоритет делается на финансирование предприятий торговой сферы и финансового сектора. Показатели по секторам экономики и региональные показатели за 2009 год распределены следующим образом: на долю оптовой торговли приходится 61% оборота, розничную торговлю – 8%, обрабатывающие производства – 27%, строительство – 0,4%, прочие отрасли – 3,6% [31].

В результате предпринятых действий факторам удалось остановить падение рынка факторинга. Объем выплаченного финансирования за весь 2009 год составил 227,4 млрд. руб., показав рост на 44% по сравнению с итогами 3-х кварталов того же года, при этом отношение объема финансирования к объему уступленных требований осталось неизменным – 72%.

Совокупный размер факторингового портфеля на 31 декабря 2009 года оценивается в 52,6 млрд. рублей, прирост за 4-й квартал 2009 года составил 16%, темпы роста факторингового портфеля возросли. Значительно увеличилась (с 54% до 78%) за 4-й квартал доля компаний с положительной динамикой портфеля.

В течение 2009 года факторинговыми услугами воспользовались 3224 компании (прирост числа активных клиентов за 4 квартал составил 13%), число привлеченных клиентов за тот же период возросло на 35% и достигло значения 1261, число дебиторов возросло на 35% и достигло значения 16845. Услуги факторинга в 2009 году были оказаны по 2 548 122 поставкам, что на 39% больше показателей предыдущего периода [31].

2.2 Проблемы развития факторинга

Несмотря на устойчивое развитие рынка факторинговых услуг в Российской Федерации, существует ряд нерешенных проблем, которые не позволяют говорить о факторинге как о развитом экономическом рынке.

Наиболее существенной из которых являются:

Проблема неинформированности предприянимателей как потенциальных клиентов о факторинге.

Очень часто наблюдается ситуация элементарного незнания о данном понятии, о механизме его работы, о его положительных и отрицательных сторонах. Также существует тенденция подмены (в основном со стороны банков) факторинговой услуги на кредит под обеспечение дебиторской задолженности. Так Ю. Волков отмечает в своем интервью: «Банковская система потенциально более развита, игроков (банков) значительно больше, чем факторинговых компаний. В итоге банки начинают предлагать на этом рынке услуги, которые на самом деле факторингом не являются. Это некий кредит под обеспечение в виде кредиторской задолженности. Возникает нездоровая конкуренция, ведь банковская процентная ставка ниже!

Теперь представьте себе обычного среднего предпринимателя, который не слишком хорошо понимает, что такое факторинг и чем тот отличается от кредита. А предпринимателю нужны деньги — и ему все равно, как они называются! Поэтому он просто выбирает кредит под более низкую ставку, забывая, а порой и не подозревая о том, что факторинг — это комплексная услуга, которая включает в себя финансирование, страхование, управление дебиторской задолженностью. Если иметь в виду весь спектр услуг, то факторинг всегда обходится дешевле, чем попытка предпринимателя самостоятельно управлять дебиторской задолженностью» [84].

Прежде всего, это касается регионов, потому что в Центральной России данная деятельность достаточно развита и существует очень высокая конкуренция на рынке факторинга. Поэтому в регионах банкам и специализированным факторинговым компаниям приходится объяснять потенциальным клиентам, что представляет факторинг и чем отличается от кредита.

Факторинг является одним из инструментов мошенников.

Довольно часто клиенты факторинговых компаний осознают, что факторинг позволяет получить свободные от обязательств средства, путем подделки документов, подтверждающих возникновение дебиторской задолженности, либо вступив в сговор с дебитором, который за определенное вознаграждение согласиться поставить подпись под накладной.

При этом специфика применения данной схемы такова, что обман может длиться годами, а Фактор, оценивающий свой риск по формальным признакам как кредитный, будет лишь радоваться растущим оборотам, дисциплинированности дебиторов и приверженности клиентов.

К сожалению, рост такого мошеничества был отмечен и на российском рынке, хотя в нашей стране он развит не так сильно как в Западной Европе. В 2008 году просроченная задолженность, идентифицированная как мошенничество, появилась лишь у трех факторов и составила она не более четырех миллионов рублей. Однако это всего лишь подтверждает, что далеко не все хотят выносить сор из избы [28, c. 10].

Необходимо заметить, что наряду со случаями прямого мошеничества, на российском рынке были отмечены случаи мошеничества непреднамеренного. «К сожалению, в факторинге иногда видят не источник развития, а инструмент, при помощи которого можно "залатать" очередную финансовую брешь, например, срочно внести очередной платеж по кредиту. Ситуацию усугубляет и отношение покупателей к этой проблеме. Зачастую они не видят ничего зазорного в том, чтобы помочь давнему партнеру-поставщику получить финансирование, и ставят подписи под липовым документом. Порой достаточно одного дружеского звонка, чтобы подписать документы о псевдопоставках. В этой ситуации выявить псевдопоставки чрезвычайно трудно» [30], - признает председатель правления НФК Р. Огоньков.

Поэтому компании, которые не занимаются мониторингом собственных технологий и процедур, серьезно рискуют.

Необходимость двойного резервирования.

Основная проблема с резервами по факторингу состоит в том, что договорные отношения банк имеет с одним лицом (клиентом), а возникающая задолженность относится к другому (должнику). Отсюда сложности с оценкой финансового положения должника, и, как следствие, завышение резервов и уменьшение прибыли.

Наибольшей проблемой, безусловно, является потребность в формировании резервов. Приложение 1 к Положению Банка России от 26.03.2004 № 254-П «О порядке формирования кредитными организациями резервов на возможные потери по ссудам, по ссудной и приравненной к ней задолженности» определяет, что к денежным требованиям и требованиям, вытекающим из сделок с финансовыми инструментами, признаваемым ссудами, в целях формирования резервов на возможные потери по ссудам (далее — РВПС) относятся денежные требования кредитной организации по сделкам финансирования под уступку денежного требования (факторинг). Так как требования по факторингу признаются ссудной задолженностью, то и формирование резерва по ним осуществляется в соответствии с Положением № 254-П. Учитывая тот факт, что в настоящее время Положение № 254-П не учитывает специфические экономико-правовые особенности факторинга, резервирование по этому виду операций неизбежно приводит либо к созданию значительных резервов на возможные потери по ссудам, не отвечающих реальному уровню риска (и, соответственно, ухудшающих финансовые результаты деятельности банка), либо к проблемам с проверяющими органами — а зачастую и к тому, и к другому одновременно.

При осуществлении операций по договору факторинга получается, что банк, имеющий дело при заключении договора с клиентом-кредитором, погашения задолженности ждет от должника, с которым у банка нет никаких договорных отношений, а обязанность перед банком по исполнению уступленного банку денежного требования должник несет лишь в силу закона. Однако нормативная база Банка России игнорирует данную особенность и устанавлвиает правило резервирования приобретенных прав требования. Таким образом, суммы по договору факторинга резервируются дважды, что несет искажение отчетности фактора [65].

Мало что изменило Указание № 2155-У, добавившее в Положение о порядке формирования РВПС пункт 4.7., посвященный особенностям формирования резервов по факторингу.

С 1 июля 2009 года при формировании резервов по факторингу можно будет оценивать риск на клиента - но только в том случае, если финансирование клиента осуществляется им до уступки денежного требования. И только до того момента, пока указанное требование не будет уступлено. Во всех остальных случаях ответственность клиента по договору факторинга может рассматриваться лишь как обеспечение по ссудной задолженности, причем не может быть отнесено к I категории качества [53].

4. Проблемы, связанные с законодательством.

Как уже говорилось выше, в Российсккой Федерации термин факторинг вплоть до настоящего времени не легализован. В следствии этого происходит не только подмена понятия «факторинг», но и не совсем корректное применение отдельных положений источников права. В следствии чего, малые и средние предприятия не могут в должной степени воспользоваться услугами факторинга.

Кроме того, данное положение вещей не позволяет проводить полноценный анализ развития факторингового рынка. Поскольку в число изучаемых операций те или иные специалисты включают как собственно факторинг, так и куплю-продажу дебиторской задолженности, а также кредит под обеспечение дебиторской задолженности.

В настоящее время стало вполне очевидно, что глава 43 ГК РФ нуждается в тщательной доработке, поскольку ее содержание не позволяет в должной степени защитить права факторинговых компаний. Так, в частности, должники, денежные требования к которым в соответствии с договорами факторинга были уступлены финансовому агенту, нередко заключают с продавцами соглашение о расторжении договора поставки и возвращают продавцам поставленные ими товары. Также нередки случаи, когда покупатели, к которым перешло право собственности на поставленные товары, возвращают эти товары продавцам по причине невозможности их дальнейшей реализации. Как следствие этого, денежное требование, уступленное финансовому агенту, перестает существовать. Таким образом, в результате произвольных действий третьих лиц обязательства сторон по договору финансирования под уступку денежного требования прекращаются независимо от воли сторон по данному договору [52].

Существую в настоящее время и проблемы, связанные с непроработанностью Налогового кодекса РФ, среди которых стоит отметить следующие:

а) Неопределенность вопроса в обложении факторинга НДС.

Налоговая инспекция считает, что при уступке денежного требования происходит реализация имущественного права, которая согласно пп. 1 п. 1 ст. 146 НК РФ облагается НДС. Кроме того п. 2 ст. 153 НК РФ говорит о том, что выручка от передачи имущественных прав определяется исходя из всех доходов налогоплательщика, связанных с расчетами. Такая позиция была выражена в Письмах Минфина России от 13.08.07 № 03-07-04/05 и ФНС России от 15.10.07 № ШТ-6-03/ 777.

Однако данная позиция является спорной. Ст. 155 НК РФ предусмотрены особенности определения налоговой базы при передаче имущественных прав. При первичной уступке НДС начисляется не с операций по уступке права требования, а с операции по реализации товара. Если же выполнять требования налоговой инспекции, то возникает двойное налогообложение: сначала компания уплатит налог при реализации товара покупателю, а затем еще раз при уступке задолженности. А это протеворечит принципам налогового законодательства [25, с. 10].

Такая точка зрения подтверждается и арбитражной практикой. Например, постановления ФАС Поволжского округа от 10 мая 2007 г. № А55-13072/06, ФАС Центрального округа от 8 ноября 2007 г. № А48-5635/06-8. Более того, правомерность такого подхода подтвердил и ВАС РФ (Определение ВАС РФ от 14 марта 2008 г. № 10887/07).

б) Вычеты НДС по вознаграждениям, уплаченным финансовому агенту.

Согласно Письму Минфина России от 9 апреля 2008 г. № 03-07-11/134 суммы НДС подлежат вычету в пределах лимитов по всем видам расходов, нормируемых для целей налога на прибыль, согласно правилам ст. 171 НК РФ. Однако судебная практика по этому фопросу не так однозначна.

По мнению некоторых судей правила нормирования НДС распространяются только на командировочные и представительские расходы. Например, постановление ФАС Поволжского округа от 22 января 2008 г. № А55-5349/2007. Другие же считают, что если любые расходы принимаются для целей налогообложения прибыли по нормативам, то входной НДС по таким расходам принимается к вычету в размере, соответствующем указанным нормам. Например, постановления ФАС Уральского округа от 20 февраля 2006 г. № Ф09-746/06-С2, ФАС Московского округа от 27 мая 2005 г. № КА-А40/4502-05.

в) Неясность в вопросе учета денежного вознаграждения фактору.

Согласно Письму Минфина РФ от 04.08.08 № 03-03-06/1/437 вознаграждение фактора, выраженное в процентах, учитывается в расходах в пределах, установленных ст. 269 НК РФ. При этом делается ссылка на п. 3 ст. 43 НК РФ, где указано, что процентом признается любой заранее заявленный доход по долговому обязательству независимо от способа его оформления, а значит вознаграждение фактора приравнивается к долговым обязательствам.

Однако данное положение по меньшей мере спорно. Факторинг не является операцией по выдаче долгового обязательства, поэтому для применения положения ст. 269 НК РФ нет никаких оснований. Одним из обязательных условий для признания обязательства долговым является получение денег или иных вещей на возвратной основе (ст. 807, 817 ГК РФ). А договор факторинга такого условия не предусматривает (ст. 826, 831 ГК РФ). Суды также подтверждают, что налогоплательщик не должен нормировать подобные расходы в целях исчисления налога на прибыль [29].

г) Неопределенность места реализации факторинговых услуг - приводит к необоснованному удорожанию стоимость факторинговых услуг для клиентов – нерезидентов РФ, не имеющих возможности принятия российского НДС к вычету, что значительно снижает конкурентоспособность российских финансовых агентов для иностранных клиентов и затрудняет развития международного факторинга.

Валютное законодательство не содержит положений, разрешающие проведения валютных операций между резидентами РФ и уполномоченными банками в ходе осуществления международных факторинговых операций. Кроме этого, действующее валютное законодательство не позволяет при осуществлять расчеты и переводы между резидентами – финансовыми агентами и нерезидентами, денежные требования к которым были уступлены резидентам – финансовым агентам резидентами – экспортерами товаров по договорам факторинга, путем зачисления сумм платежа нерезидентов в иностранной валюте на счета резидентов – финансовых агентов. Это означает, что в отличие от международной практики резиденты – экспортеры товаров фактически не могут осуществлять уступку резидентам - финансовым агентам денежных требований, вытекающих из поставки товаров (выполнения работ, оказания услуг) нерезидентам - импортерам ввиду того, что платежи в оплату экспортных поставок должны в обязательном порядке поступать на счета резидентов – экспортеров в уполномоченных банках [52].

Существуют на рынке факторинга и проблемы, связанные с работой клиента. Наиболее существенными из которых, являются:

5. Неприятие факторинга налоговой инспекцией.

Это связано с тем, что в конце 1990-х годов факторинг активно использовался в целях оптимизации налоговых отчислений.Мешалкин В. К. В своем исследовании налоговой выгоды дает следующую схему ухода от налогов: «Фирма продает товар товар покупателю с отсрочкой платежа на небольшой срок (3 - 5 дней) и одновременно заключает с банком договор финансирования под уступку денежного требования. Банк приобретает право требования к покупателю без д исконта (например, право требования суммы в 1000 руб. приобретается за 1000 руб.) и перечисляет денежные средства продавцу. Покупатель своевременно рассчитывается с банком.

По условиям договора факторинга продавец выплачивает банку большое вознаграждение, которое учитывается в составе расходов при исчислении налога на прибыль, а НДС, уплаченный банку в составе вознаграждения по договору факторинга , ставится к вычету.

Суть этой схемы заключается в том, что вся прибыль продавца от продажи товара перечисляется банку в виде вознаграждения по договору факторинга. Банк обналичивает эту сумму через «фирмы-однодневки» и возвращает продавцу» [10, с. 37].

Однако у налоговой службы есть возможность опротестовать ее применение. «НДС, который можно предъявлять к возмещению в соответствии со схемой, образуется за счет выплаты вознаграждения банку. Но статья 824 ГК РФ, описывающая взаимоотношения финансирования под уступку денежного требования, не предусматривает выплату вознаграждения финансовому агенту, - отмечает Владислав Дубневский. - Доход банка возникает из разницы между суммой требования к должнику и суммой финансирования посредника (оптимизатора). В описываемой же схеме происходит выплата комиссии, да еще и завышенной, что при судебном споре дает много шансов на признание сделки притворной с соответствующим взысканием недоимки по налогам» [22, с. 16]. Это же подтверждают и решения федеральных судов. Например, ФАС Московского округа в своем Поставнолении от 25.10.2006 № КА-А40/9338-06 указал, что выплата вознагражадения банку несоизмеримого с выгодой, полученной от использования его средств является экономически нецелесообразной, а значит такая операция не может быть признана действительной [18, с. 17].

В результате налоговые инспекции в настоящее время крайне негативно относятся к операциям факторинга, ссылаясь на их экономическую нецелесообразность, поскольку прибыль от сделок, под которые осуществлялось финансирование, значительно-меньше суммы вознаграждения, уплачиваемого банку по договору факторинга.

Анализируая судебную практику А. А. Копина приходит к выводу о том, что налоговая инспекция будет расматривать факиторинг как средство ухода от налогов в следующих случаях:

- получение денежных средств по договору факторинга после возникновения права на получение у заказчика оплаты за исполненные работы, поскольку такое финансирование не преследует цели обеспечения денежными средствами для организации и выполнения подрядных работ;

- не представление документов, подтверждающих, что налогоплательщиком были предприняты какие-либо действия для получения дополнительных денежных средств на экономически более выгодных условиях, таких как кредит, получение которого при действующих процентных ставках увеличило бы прибыль, получение которой является целью финансово-хозяйственной деятельности коммерческих организаций;

- полученная налогоплательщиком от осуществленных сделок прибыль не могла превысить сумму, необходимую для выплаты вознаграждения;

- отсутствие у налогоплательщика необходимости привлечения денежных средств от банка и заключения договоров факторинга, поскольку сроки исполнения покупателями своих обязательств по оплате векселей наступали в пределах наступления сроков расчетов общества по договорам с продавцами этих векселей; заключение договоров факторинга повлекло для общества убыточность операций по приобретению и продаже векселей с учетом того, что размер выплаченного комиссионного вознаграждения банку превышал или был равен доходу, выражающемуся в увеличении стоимости приобретения ценных бумаг при их продаже, при условии что финансовые операции, связанные с куплей и продажей векселей, исполнением договоров факторинга были проведены в течение 1-3 дней в одном банке, в котором открыты счета участникам сделок, и ранее операций, связанных с обращением ценных бумаг, налогоплательщик не осуществлял [23, с. 15].

Поэтому клиенту необходимо тщательно подготовить аргументы о необходимости применения факторинга, среди которых можно выделить следующие:

а) Факторинг — возможность предотвратить финансовые санкции продавца. Данный аргумент можно использовать, если у предприятия в связи с задержкой оплаты покупателей возникает вероятность нарушения сроков оплаты продавца. При этом предприятию необходимо удостовериться в том, что санкции, предусмотренные в договоре значительно превышают размер комиссионного вознаграждения фактору.

Заметим, что использование данного аругмента носит разовый фактор. Если предприятия постоянно соглашается на включение в договор неоправданно высоких санкций — ФНС РФ скорее всего признает данные договоры недействительными. Суд в таком случае занимает стороны ФНС РФ. В качестве примера здесь можно привести Постановление ФАС ВСО от 24 января 2007 г. № А10-439/05-Ф02-3106/06-С1.

б) Факторинг способствует ускорению оборачиваемости. Использование данногот аргумента возможно в том случае, если предприятие испытывает значительные трудности с поступлением денежных средств. В этом случае заключение договора факторинга позволяет получить необходимые ресурсы, которые могут быть пущены в оборот для закупки необходимого сырья и материалов.

в) Факторинг способствует оптмизации работы с дебиторской задолженностью. Как правило фактор при заключении договора осуществляет всю работу с дебиторами: контролирует выполнение должник условий договора, ведение бухгалтерской отчетности клиента, в том числе книги продаж. Это позволяет предприятию существенно сэкономить на оплате дополнительных мест и рабочего времени сотрудников, ответственных за проведение финансовых расчетов [80].

г) За счет факторинга компенсируется нехватка оборотных активов, в первую очередь денежных средств. При использовании данного аргумента предприяютию необходимо тщательно проработать доводы в пользу финансирования за счет факторинга, поскольку налоговые инспекции на местах считают, что оптимальным путем в данном случае будет являться получение кредита.

Поэтому предприятию необходимо позаботиться о подтверждении следующих аргументов: невозможность обеспечения кредита посредством залога, срочная потребность в финансовых ресурсах. При этом данные аргументы необходимо подтвердить документарно, к тому же они носят вторичный характер. Поэтому их необходимо использовать в совокупности с предыдущими.

Очевидно, что данная ситуация не только затрудняет работу предприятий, но и ставит под угрозу признания недействительными практически все факторинговые сделки предприятий.

6. Необходимо отметить еще один фактор, сильно воздействующий на рынок факторинга. В Российской Федерации, так же как и в других странах, далеко не все компании могут воспользоваться факторинговыми услугами. В западноеевропейской практике выделяются следующие нефакторабельные отрасли: скоропортящиеся продукты (свежая рыба и т.д.), тяжелое машиностроение, строительство (возведение объектов), нефтегазовые корпорации, находящиеся на балансе государства.

Факторинговые операции также не производятся по долговым обязательствам физических лиц, филиалов или отделений предприятия. Это объясняется тем, что в указанных случаях факторинговой компании достаточно трудно оценить кредитный риск или невыгодно брать на себя повышенный объем работ, а также дополнительный риск, возникающий при переуступке таких требований, оплата которых может быть не произведена в срок по причине невыполнения поставщиком каких-либо своих договорных обязательств.

Таким образом, факторинг традиционно концентрирует свое внимание на следующих предприятиях:

- сельское хозяйство;

- лесное хозяйство;

- обрабатывающие производства, в том числе: производство - пищевых продуктов, алкогольной продукции, табачной продукции, текстильное и швейное, кожи и изделий из нее, целлюлозно-бумажное, полиграфическое, химическое, резиновых и пластмассовых изделий,прочих неметаллических минеральных продуктов, металлургическое и готовых металлических изделий, машин и оборудования, электрооборудования, электронного и оптического оборудования, транспортных средств и оборудования, фармацевтических препаратов, инструментов, аппаратуры;

- строительство;

- оптовая торговля и оказание услуг.

Но даже здесь существуют определенные ограничения. Так не всегда могут получить факторинговые услуги представители малого и среднего бизнеса. Это объясняется тем, что факторы зачастую отказываются предоставлять финансирование, если сумма сделки не превышает 30 тыс. долларов. При этом большая часть товарных кредитов предоставляется оптовым и розничным компаниям в пределах 5 — 30 тыс. доларов.

Наряду с этим факторы предъявляют жесткие требование к дебиторам клиента. Так МКБ предоставляет факторинг только клиентам, имеющим не менее трех дебиторов, с которыми он работал не менее полугода. При этом срок образования дебиторской задолженности не должен превышать 30 дней. Еще более жесткие требования устанавлвиает банк «Церих»: кроме указанных условий, дебиторы клиента должны быть зарегистрованы не позднее чем за один год до заключения договора факторинга, использовать безналичную форму расчету.

Помимо этого, поставщик должен производить товары или оказывать услуги высокого качества, иметь перспективы быстрого расширения производства и увеличения прибыли (только в этом случае предприятию будет выгодно оплачивать достаточно высокую стоимость услуг факторинговой компании) и сугубо временные причины нехватки денежных средств — из-за несвоевременного погашения долгов дебиторами, а также недостаточного уровня прибыли, чрезмерных товарных запасов и трудностей, связанных 'производственным процессом.

С учетом того, что в конце прошлого года началась переориентация рынка факторинга в сторону компаний малого и среднего бизнеса, стоит поднять еще одну проблему, которая может оказаться сдерживающим фактором на пути прнивлечения потенциальных потребителей факторинговых услуг, - цена факторингового договора.

В настоящее время эффективная процентная ставка по договору факторинга (в которую закладываются все дополнительные комиссии) варьируется в пределах 21 — 28% годовых. При этом кредит в национальной валюте предприятие может получить под 15 — 18 % годовых. Учитывая тот факт, что плата за факторинг складывается из разных компонентов, фактор может привлекать клиента якобы невысокой процентной ставкой, не раскрывая изначально информацию о дополнительных комиссиях.

А. Сутурин приводит следующие данные о стоимости факторинга в России: «Фиксированный сбор за обработку документов лежит в еще больших пределах и составляет от 50 до 500 рублей за документ. Если учесть, что документарное сопровождение одного дебитора по одной сделке может включать в себя десятки документов, то в итоге получается довольно внушительная сумма.

Комиссия за факторинговое обслуживание каждой поставки также варьируется в широком диапазоне: от 0,5 до 17,5 процента от суммы денежного требования в зависимости от величины отсрочки платежа - чем меньше срок, тем больше комиссия.

На стоимость факторинга также очень сильно влияют следующие параметры: размер предоставляемого финансирования (колеблется в пределах 60-95 процентов от стоимости поставки), максимальный срок отсрочки платежа (от 14 до 180 дней) и количество дебиторов, которое банк может принять на обслуживание» [27, с. 5].

В случае безрегрессного или частично регрессного финансирования расчитывается также премия за риск, составляющая от 20 до 30 % годовых.

В настоящее время правила оценки заемщиков, разработанные Банком России не учитывают особенности факторинга. Как правило, малые предприятия имеют следующие особенности: наличие отрицательных чистых активов, текущей убыточной деятельность, запрашиваемый лимит финансирования сопоставимый с валютой баланса и несопоставимо маленькая текущая выручка. По данным признакам малым предприятиям присваивается пятая категория качества, даже не смотря на тщательно разработанные бизнес-планы, заключение контрактов на поставку с ведущими фирмами региона, перспективы фирмы в освоении рынка.

Поэтому, оценивая факторинг, банк часто приходит к выводу, что риски по факторингу выше, чем по кредитам. Эта оценка определяет дальнейшую себестоимость факторингового продукта: более высокую чем по кредиту.

Потенциальный же клиент вплоть до настоящего времени, особенно на региональном рынке факторинга, анализируя те или иные способы осуществления финансирования деятельности компании, в первую очередь обращает внимание на стоимость услуг. Поскольку у факторинга она самая высокая — потенциальный клиент, как правило, уходит в сторону кредита.

Глава 3. Перспективы рынка факторинга

3.1 Пути решения проблем

Перспективы рынка факторинга во многом зависят от решения его текущих проблем. Поэтому с конца 1990-х годов российскими экономистами проводится нализ рынка с целью выявления оптимальных методов преодоления проблем.

Подводя итог данных работ АФК разработала программу деятельности на период до 2015 года, в которой планировалось: «инициировать процесс присоединения России к Конвенции УНИДРУА «О международном факторинге», что позволит четко определить понимание факторинга в РФ. АФК будет настаивать на принятии поправок в статью 825 Гражданского кодекса Российской Федерации, направленных на отмену лицензирования факторинговой деятельности, а также интенсифицирует работу по заключению договора о сотрудничестве с крупнейшей международной факторинговой ассоциацией IFG. Кроме этого, Ассоциация факторинговых компаний планирует заключение договора о сотрудничестве с Росфинмониторингом, разработку кодекса чести, правил и стандартов для участников рынка факторинга, консолидацию статистических данных по рынку факторинга и формирование рейтингов факторинговых компаний России» [32].

1. Первоочередной задачей российского факторинга является ликвидация пробелов в праве. В 2009 году АФК подготовила консолидированные предложения по развитию законодательства, регулирующего факторинг, в которой выделила следующие моменты:

а) Легализация понятия факторинг.

АФК предложило привести понятие факторинг в соответствие с международными нормами, для чего ст. 824 ГК РФ изложить в следующей редакции: «По договору факторинга одна сторона (клиент) передает или обязуется передать другой стороне (клиенту) денежные средства (финансирование клиента) в счет денежного требования клиента к третьему лицу (должнику), вытекающего из предоставления клиентом товаров, выполнения им работ или оказания услуг третьему лицу, а клиент уступает или обязуется уступить финансовому агенту это денежное требование. Помимо финансирования клиента или без осуществления его финансирования финансовый агент исполняет или обязуется исполнить, по меньшей мере, одну из следующих функций (иных финансовых услуг, связанных с денежными требованиями):

- управление задолженностью третьих лиц (должников), в том числе ведение бухгалтерского учета клиента;

- предъявление и к оплате и сбор задолженности третьих лиц (должников);

- защита от неплатежеспособности должников, в том числе путем выдачи поручительств за должников.

Денежное требование к должнику может быть уступлено клиентом финансовому агенту также в целях обеспечения исполнения обязательства клиента перед финансовым агентом» [52].

б) Определить права и обязанности факторинговых компаний, посредством введения следующих положений:

- в п. 1 с. 827: «Если договором факторинга под уступку денежного требования не предусмотрено иное, клиент несет перед финансовым агентом ответственность за действительность денежного требования, являющегося предметом уступки»;

- в ст. 831: «Если по условиям договора факторинга финансирование клиента осуществляется путем покупки у него этого требования финансовым агентом, последний приобретает право на все суммы, которые он получит от должника во исполнение требования, а клиент не несет ответственности перед финансовым агентом за то, что полученные им суммы оказались меньше цены, за которую агент приобрел требование.

Если уступка денежного требования финансовому агенту осуществлена в целях обеспечения исполнения ему обязательства клиента по возврату финансирования и договором факторинга не предусмотрено иное, финансовый агент обязан представить отчет клиенту и передать ему сумму, превышающую сумму долга клиента, обеспеченную уступкой требования. Если денежные средства, полученные финансовым агентом от должника, оказались меньше суммы долга клиента финансовому агенту, обеспеченной уступкой требования, клиент остается ответственным перед финансовым агентом за остаток долга»;

Кроме того, в главу 24 ГК РФ планируется добавить положения: 1) запрещающие без согласия фактора изменения условий денежного требования; 2) запрещающие частичную уступку денежного требования к должнику и 3) предусматривающие обязанность компании, относящиеся к категории крупнейших налогоплательщиков, расскрывать свою отчетность перед фактором.

в) Урегулировать спорные вопросы налогообложения.

Здесь необходимо решить следующие проблемы. Во-первых, приравнять факторинг к финансовым операция, не подлежащим налогообложению НДС. Во-вторых, необходимо законодательно уделить внимание вопросу возмещения НДС российскому поставщику при экспортных операциях, осуществляемых с привлечением факторингового финансирования, в случае если оплата за поставленную продукцию осуществляется покупателем на счет фактора.

г) Для полноценного развития международного факторинга АФК предлагает внести изменения в ряд норм действующего валютного законодательства, направленных, в частности, на разрешение проведения валютных операций между резидентами Российской Федерации и уполномоченными банками в ходе осуществления факторинговых операций.

Для этого предполагается внести в ФЗ «О валютном регулировании и валютном контроле» следующие положения:

«Без ограничений осуществляются операции между резидентами и уполномоченным банками, связанные с выплатой уполномоченными банками резидентам финансирования под уступку денежных требований в иностранной валюте, вытекающих из договоров с нерезидентами, а также осуществлением резидентами платежей в иностранной валюте в пользу уполномоченных банков в оплату денежных требований, номинированных в иностранной валюте, которые были уступлены нерезидентами уполномоченным банкам» - в п. 3 ст. 9;

«Резиденты вправе не зачислять на свои банковские счета в уполномоченных банках иностранную валюту или валюту РФ при зачислении валютной выручки на счета финансовых агентов - уполномоченных банков, поступившей в оплату денежных требований, номинированных в иностранной валюте, вытекающих из договоров с нерезидентами, которые были уступлены нерезидентами уполномоченным банкам в соответствии с договором факторинга».

Кроме того, АФК предлагает:

а) Сформировать бюро кредитных историй в отношении клиентов и дебиторов факторов, что будет способствовать прозрачности факторингового бизнеса. Это планируется сделать как в рамках существующего Федерального закона «О кредитных историях», так и на базе специально созданного для этих целей федерального закона.

б) Поскольку отсутствие оборотных средств у поставщиков приводит к задержкам исполнения государственных контрактов, а отсутствие механизма получения фактором у заказчика денежных средств по уступленным правам требования затрудняет развитие финансирования прав требований из госконтрактов необходимо, считает АФК: «Предусмотреть в Бюджетном кодексе, Федеральных законах «О государственном оборонном заказе», «О размещении заказов на поставки товаров, выполнение работ, оказание услуг для государственных и муниципальных нужд» «О государственном материальном резерве», Постановлениях Правительства Российской Федерации о Федеральных целевых программах, возможность уступки прав требований по государственным контрактам».

в) Создать механизм рефинансирования уступленных прав требований через специализированных субъектов - операторов вторичного рынка. В роли таких операторов должны выступать специально созданные агентства, которые должны обладать достаточно широкими полномочиями по отбору (квалификации) факторов-контрагентов, контролю за «качеством» выкупаемых прав требований. Суть разработанной системы рефинансирования уступленных прав требований специализированными вторичными операторами состоит в перераспределении рисков, возникающих у факторов при финансировании клиентов. Эти риски связаны с несоответствием структуры пассивов и активов фактора, что в конечном итоге приводит к ее несостоятельности. В данном случае именно государство берет на себя в значительной степени указанные кредитные риски, поскольку выступает в большинстве случаев единственным акционером действующих в организационно-правовой форме открытых акционерных обществ агентств по финансированию уступленных прав требований. Рыночные продукты в виде прав требований по факторинговым договорам будут выступать новой формой долгосрочного вложения средств для заинтересованных инвесторов.

г) Рассмотреть возможность распространения государственных гарантий и субсидирования процентных ставок не только по кредитованию предприятий приоритетных отраслей экономики (п.п. 15, 19, 36, 38, 41 Плана действий, направленных на оздоровление ситуации в финансовом секторе и отдельных отраслях экономики, утвержденного 6 ноября 2008 г. Правительством Российской Федерации.), но и по факторинговым операциям.

Не менее важной задачей стоящей перед факторинговым рынком является укрепление риск менеджмента.

Как уже говорилось выше, факторинг — является одним из самых перспективных направлений мошенничества. При этом мошенники никогда не пользуются одними и теми же средствами. Как подчеркивает М. Трейвиш: «На мой взгляд, представление о том, что есть типичные случаи мошенничества, очень опасно. Существуют типичные выявленные случаи мошенничества. Это одна из наиболее творческих сторон факторинговой деятельности — догадаться, каким образом вас могут обмануть в следующий раз» [82]. Поэтому любой факторинговой компании необходимо тщательно вытсраивать систему риск-менеджмента.

В связи с этим довольно интересно расмотреть систему риск-менеджмента МФК «Траст», состоящую из трех уровней. Первым уровнем данной системы является скоринговые методы оценки партнера. Если на клиент удовлетворяет необходимым для заключения договора характеристикам — с ним заключается договор факторинга. Если нет — то компанию перенаправляют к андерайтерам, в роли которых вступают лица, обладающие универсальными знаниями о рынке, его основных игроках, характере их взаимоотношений, - т. е. могут оценить деятельность предприятия с позиции долгосрочных перспектив.

Третий уровень используется в том случае, если андерайтеры не могут принять решение, либо вследствии нестандартных показателей предприятия, либо при недостаточной информации о его деятельности. В этом случае решение вопроса о заключении факторингового договора ложится на факторинговый комитет. Он состоит из некоторого числа специалистов, которые в очном режиме проводят совещание и принимают решение.

Во время обслуживания компании в работу вступает еще один механизм защиты от рисков, а именно институт кредитных контролеров, который занимается верификацией поставок. В тот момент, когда клиент приносит документы на финансирование, специалисты осуществляют комплекс определенных мероприятий по верификации поставок, т.е. они проверяют, были ли в реальности осуществлены поставки, легитимен ли договор и т.д. [15].

Заметим, что несмотря на кажущуюся универсальность данной модели, факторам необходимо постоянно адаптировать систему управления рисками в соответствии со вновь выявленными типичными случаями мошенничества. В противном случае, клиенты могут попытаться обойти данные модели.

«В этой связи нам хотелось бы обратиться к коллегам, прежде всего к начинающим Факторам, с просьбой не гнаться за сиюминутной выгодой, привлекая на обслуживание непроверенных и нечистых на руку клиентов. У отечественного рынка колоссальные перспективы, которые не стоит ставить под сомнение непродуманными действиями», — резюмирует Григорий Карповский, председатель правления ФК «Еврокоммерц».

Между тем на наш взгляд, даже самая эффективная система риск-менеджмента не способна со стопроцентной гарантией оградить фактора от мошенничества. Поэтому целесообразно было бы сформировать единый факторинговый комитет, объединяющий факторов РФ, а также собирающий данные об их клиентов. Вполне вероятно, что данное направление может быть реализовано в рамках АФК, на данный момент объединяющей более 80 % факторинговых компаний.

4. Не последнюю роль в деле формирования факторингового рынка является просвещение потенциальных клиентов о факторинге, его сущности, содержании и методах использования. И хотя факторы сформировали даную задачу еще в 2008 году — она по прежнему остается актуальной.

Решение данной задачи должны идти по двум направлениям:

а) укрепление экономического образования предпринимателей,

б) массовые меороприятия по продвижению факторинга, осуществляемые через средства массовой информации.

При этом данные направления необходимо проводить без перерывов.

К сожалению в настоящее время информационое поле вокруг факторинговых отношений формируют, главным образом сообщения о крахе или росте тех или иных компаний, при чем главный акцент делается на ошибках факторов.

Кроме того, необходима консолидация сил всех участников рынка по продвижению товара на рынке. Как отмечает Дмитрий Шевченко: «Участникам рынка нужно научиться договариваться друг с другом. В том числе в плане пиара. Собраться и решить, что вот здесь у нас прямой бизнес-интерес, позиционирование своих продуктов, бренда и так далее. А вот здесь у нас игра в долгую, то есть мы продвигаем рынок, услугу. Это конечно «отдает» pro bono, но итогом-то все равно будет улучшение бизнес-показателей. У каждого участника рынка есть свои пиар-ресурсы - у кого-то больше, у кого-то меньше. Часть этих ресурсов можно объединить и направить на продвижение факторинга как финансового инструмента, как самостоятельного сегмента финансовой системы страны, имеющего для этой страны возрастающую значимость. Без создания этой значимости любые бизнес-рекорды остаются сугубо кулуарной темой. Это вопрос включения общественности и связи с ней в комплекс маркетинговых коммуникаций всего рынка. Одной ногой мы все равно останемся на поле, где нас знают как финансовых агентов со скучной работой по перемещению денег в пространстве и времени. Но другой нужно выходить туда, где начинается общественная значимость бизнеса. Если тебе на общество плевать, то обществу плевать и подавно. Отсюда и медиа-активность низкая, и скепсис бизнес-среды, и законодательные инициативы, которые затрагивают интересы участников рынка факторинга, но вырабатываются и реализуются – без их участия» [83].

Стоит обратить внимание на факторы, влияющие на развитие того или иного факторингового продукта. В противном случае, структура факторингового рынка нашей страны вряд ли будет изменена, что в свою очередь будет сущесмтвенно тормозить процесс привлечения на рынок новых клиентов.

В настоящее время наиболее сильные проблемы испытывают безрегрессный и реверсивный факторинг. И если для развития первого необходимо: создание эффективной системы страхования рисков, что сможет существенно снизить стоимость данного продукта и привлечь основного потребителя — предприятия малого бизнеса — то развитие реверсивнрого фактора зависит от наличия целого ряда факторов.

Во-первых, успешное развитие реверсивного факторинга требует наличия передовых информационных систем, позволяющих объединить все три стороны факторинговых отношений. Без этого невозможно не только осуществить операционное обслуживание сделки, но и обеспечить оперативное оказание сервиса всем сторонам. Поэтому необходимо широкое инвестирование средств в специализированное факторинговое программное обеспечение, которое позволило бы оказывать полноценные решения одновременно для покупателей и поставщиков.

Во-вторых, реверсивный факторинг предполагает концентрацию кредитного риска на дебиторе, что ставит перед фактором задачу создания технологии оценки финансовой устойчивости дебитора.

В-третьих реверсивный факторинг как правило, является способом финансирования средних по объему бизнеса предприятий, а в данном сегменте в настоящее время готовы работать лишь ограниченное число специализированных факторинговых компаний. Поэтому необходимо создать программу, ориентированную на оказание услуг данным потребителям.

3.2 Перспективы факторинга

Конец 2009 года ознаменовался двумя событиями, имеющими возможность оказать значительное влияние на отечественный рынок факторинга: Правительство приняло поправку к ст. 825 ГК РФ, а также закон «Об основах государственного регулирования торговой деятельности в Российской Федерации».

Отмена обязательного лицензирования факторинговой деятельности преследовала цель укрепления и развития рынка факторинга. Однако по существу ни чего нового она на рынок не привнесла, поскольку из-за отсутствия лицензирующего органа факторинговые компании действовали и без лицензии, поддверждая свое право через суды. Например ФК «Лайф» и ФК «Санкт-Петербург», обьем уступленных требований которых составил соответственно 6.045.976 тыс. руб. (7 место в ренкинге) и 676.730 тыс. руб. (13 место в ренкинге).

Тем не мене отмена лицензирования не повлекла за собой появления новых игроков. Хотя дала ряд положительных эффектов:

Банки получили возможность вывести факторинговые подразделения на самостоятельный баланс, тем самым сформировав дочерние предприятия, не нуждающиеся в постоянном резервировании сумм, а значит способных применять более рисковую политику.

Возможность привлечения иностранного капитала на рынок факторинга, что по мнению Корнелиу Рубу может способствовать повышению уровня факторинговых услуг и развитию здоровой конкуренции на рынке. Так как иностранные компании имеют более отлаженные технологии финансирования, в том числе систему риск-менеджмента и качественное IT-обеспечение. С другой стороны их появление создаст определенные сложности в развитии отечественных факторинговых компаний, в виду вышеуказанных причин.

При этом все участники факторингового рынка отмечают, что появление иностранных факторов возможно не ранее чем в 2011 — 2013 годах.

Вместе с тем, ряд игроков относится к данному постановлению скептически. Так А. Федоткин из «Промсвязьбанка» отмечает: «Сегодня нас больше волнует, что будет с регулированием после кризиса, когда у «коммерческих организаций без банковской лицензии» появятся деньги и они начнут их раздавать под видом факторинга. Что это будет за «-торинг», страшно представить. Регулировать их не будет никто, кроме налоговых органов и Финмониторинга. Саморегулируемая организация на рынке, где всего два десятка игроков, пока тоже если не отсутствует, то остается на уровне идеи» [78].

Более осторожно в этом отношении высказался В. Носов: «Пока влияние (отмены лицензирования) нейтральное. С другой стороны, как мы и предполагали, уже формируется почва для использования обновленной ст. 825 ГК РФ в целях всевозможных оптимизаций. Последняя слышанная мной идея для малого бизнеса – создание холдинга с факторинговой компанией в качестве центра прибыли и перевод ее на «упрощенку». Подобные схемы могут негативно отразиться на и без того не блестящем имидже рынка факторинга и самого факторинга как финансового инструмента» [67].

Положительное влияние должно оказать и принятие закона «Об основах государственного регулирования торговой деятельности в Российской Федерации», закрепляющий максимально допустимые отсрочки, а также исключающий из договора поставки все обременения кроме скидок за объем. М. Логвинов так комментирует значение закона: «В результате договорные отношения поставщиков и ритейлеров становятся более прозрачными, что помогает факторам более точно рассчитать риски финансирования поставок. Однако как будут работать новые нормы на практике, пока никто не знает. Например, закрепление отсрочек платежей в зависимости от срока годности продуктов питания может стать поводом для снижения факторинговой комиссии. Напомним, что сейчас средняя отсрочка платежа для сетей составляет 60 дней, вне зависимости от товарной группы и сроков годности продовольствия. Более 85% поставок в сети идут с отсрочкой свыше 30 дней, около 60% - более 60 дней. Закон ограничивает отсрочку по продовольственным товарам, которые включают в том числе алкоголь и консервы, 45 днями» [29].

Если до недавнего времени основными потребителями услуг факторинга были средние и крупные предприятия, то в течении следущих пяти лет следует ожидать продолжение тенденции, начавшейся в конце 2008 года — факторы будут перестраивать свой бизнес, ориентируясь на потребности малого и среднего бизнеса.

Пионером в этом направлении стал НФК, специализирующаяся на оказании услуг предприятиям данной категории. «Сегодня основной потребитель услуг факторинга —средний бизнес, доля которого у НФК составляет более 80 процентов, — говорит Виталий Орехов. — Но надо смотреть, каков критерий измерения предприятия. У многих предприятий, имеющих несколько десятков сотрудников, оборот составляет 300–400 миллионов рублей в месяц. Разве можно назвать его малым? И наоборот —порой большой завод имеет оборот 70 миллионов рублей в месяц. Нужно учитывать и срок работы предприятия, и время существования рынка именно этих товаров, тенденции на нём — только совокупно оценивая все эти факторы, можно причислить предприятие к определённой группе».

По мнению г-на Орехова, малый бизнес медленнее других «входит» в этот рынок, и должно пройти время, чтобы менеджмент малых предприятий смог понять суть услуги и полнее использовать её в работе. Продукт ещё не стал массовым, возможно, потому, что нет достаточной информационной насыщенности. С этой целью НФК разработала специальное предложение малому бизнесу «Экспресс-факторинг» — максимально упрощённую, доступную схему [35].

В целом, большинство факторинговых компаний уже выдвинули свои аналоги данному продукту: в МДМ-банке - в составе акции для малого и среднего бизнеса, в Москоммерцбанке - в дополнение к его кредитным программам, в ВТБ - в рамках развития партнерства с Национальной факторинговой компанией, в МКБ создали особую программу для малого бизнеса, в банке «Авангар» - новую факторинговую программу как разновидность «беспроцентной рассрочки платежа» [57]. Поэтому в следующим периоде стоит ожидать их активного продвижения на рынке.

Заметим,что данную позицию разделяет и Сергей Бабичев, партнер Factoring Business Solutions: «Маловероятно, что Факторы в 2010 году выйдут на рынок с совершенно новыми продуктами и предложениями. Поскольку прошедшие 10 лет позволили сформировать факторинговые продукты, способные удовлетворить практически любые потребности Клиента: управление дебиторской задолженностью, выплата финансирования без сопутствующих услуг, комплексное факторинговое обслуживание и даже выдача поручительств и гарантий за дебитора – фактически аналог страхования финансовых рисков» [46].

Тем более, что малый бизнес в конце прошлого года заметно активизировался в потреблении факторинговых услуг. При чем большинство клиентов, ищущих для себя факторингового партнера в Интернете — это компании, у которых общий объем дебиторской задолженности не превышает 5.000.000 рублей (рисунок 11). При этом более 73 % компаний — за факторингом обращаются впервые.

Однако к данным показателям следует относиться весма осторожно. Так Александр Чекрыгин, руководитель проекта Factorings.ru, отмечает: «Рост спроса на факторинг еще не означает роста рынка в целом. Многие компании так и не смогли найти финансирования. Они были вынуждены искать другие источники. Особенно это было заметно осенью прошлого года, когда малому и среднему бизнесу о факторинге можно было только мечтать – большинство факторов или не рассматривали новых клиентов, или тотально отказывали в финансировании.

Сегодня ситуация стала лучше: появились новые игроки, желающие быстро растить клиентскую базу, да и старый костяк вздохнул с облегчением. На самом деле, есть из чего выбирать: каждый сможет найти подходящего партнера по факторингу.

Косвенно об оживлении рынка может говорить тот факт, что факторы ведут активную деятельность по привлечению новых клиентов, а за последние несколько месяцев стали появляться факторинговые брокеры, что даже весной 2009 года звучало бы довольно странно. Мне кажется, что рынок перестало лихорадить, и он постепенно встает на старые рельсы стабильного роста.

На основе проанализированных данных мы составили портрет компании, заинтересованной в факторинге: представитель малого или среднего бизнеса из регионов с требуемым объемом финансирования 5-10 млн рублей, имеющий 5-10 дебиторов торговых сетей и оптовых компаний, ранее не пользовавшийся факторингом» [47].

Заметим, что большинство факторов, имеющих достаточно продолжительную историю на рынке, не испытывают желания сотрудничать с мелкими потребителями. В частности, это относится к таким факторам, как банк «Петрокоммерц», «Альфа-банк» и «Промсвязьбанк», традиционо позиционирующие себя как банки, ориентированные на работу с крупными клиентами. В то же время остальные компании также не намерены снижать требования к своим клиентам.

Поэтому, вероятно, оказание услуг малому бизнесу выпадет на долю новых компаний либо мелких факторов.

Отмечая высокий потенциал региона, что связано с уходов в начале 2009 года ведущих игроков регионального рынка факторинга: Еврокоммерц, и МФК «Траст» - ведущие игроки рынка факторинга заявляли о намерениях увеличить свою долю присутствия в регионах. Об этом, например, в своем интервью ясно сказал В. Носов: «Промсвязьбанк в 2010 году продолжит активную работу в регионах. Мы видим точки роста в каждом федеральном округе, в большинстве регионов, где сосредоточены филиалы, представительства и офисы банка, а это более 240 точек по всей стране. В каждом регионе свои экономические условия, свои сложности, но и свои возможности. Мы планируем продолжить укрепление наших позиций в ключевых субъектах федерации, в частности за счет привлечения классных специалистов, развития кросс-продаж, формирования комплексного предложения компаниям-лидерам в своих регионах» [43].

Действительно, ожидания Промсвязьбанка подтверждают исследования Factorings.ru. В конце 2009 года заявки на факторинговое обслуживание подали преимущественно региональные компании — на долю Москвы и Мосвкоской области приходится только, соответственно, 7 и 36 процентов от общего количества заявок [47].

Однако не следует ожидать, что освоение региональных рынков будет происходить с одинаковой интенсивностью. «Перспективы в значительной степени зависят от отраслевой структуры экономики, - отмечает Роман Огоньков, - поскольку ситуация значительно различается в зависимости от конкретного региона. Наверное, наибольшие сложности будут наблюдаться там, где велика доля производства товаров промышленного назначения (отрасли связанные с автопромом, металлургией, строительством). Есть рынки, которые «живут», на которых есть платежеспособный спрос и он носит устойчивый характер, но есть рынки которые впали в кому и пока не понятно в какие сроки региональная экономика сможет это преодолеть» [67].

К наиболее перспективным региональным рынкам фаторы относят: Санкт-Петербург и Ленинградскую область, имеющих достаточно развитый рынок факторинга, Дальневосточный федеральный округ и Сибирь, особенно Новисбирская область и Краснорский край.

Однако даже на этих рынках не стоит ждать достаточного быстрого внедрения факторингового продукта. Михаил Окунев из ОАО АКБ «Металлинвестбанк» отмечает: «На многих региональных рынках по-прежнему московские финансовые услуги воспринимаются как подаренные деньги, о возвратности и платности там никто не задумывается. Если региональный клиент, который пришел к нам за факторингом, находится в одном и том же регионе со своими дебиторами, мы обычно отказываем ему в предоставлении финансирования. Есть ряд регионов, на которые мы смотрим сейчас, на Нижний Новгород, например. Но есть юг России, где мы не хотим иметь в одном регионе дебитора и поставщика, потому что очень вероятно, что они договариваются изначально, что они будут поставлять и банку никто из них платить не будет. Эта ситуация происходит в 70% случаев. Если поставщик большой, хороший находится там, где мы присутствуем, у него есть сеть по всей стране, мы готовы его рассматривать как потенциального клиента. Если мы получаем региональные риски от нашего поставщика, который находится в Москве, Питере, Екатеринбурге, Нижний Новгород, то да, у него тоже есть шансы стать нашим клиентом, мы с ними в одной лодке. Если с юга кто-то привезет мед и передает в Москве, мы готовы предоставить такому клиенту факторинг, но если поставщик хочет поставлять мед у себя в Краснодарском крае не стоит приходить к нам за факторингом» [45].

Таким образом, освоение регионов будет осуществляться тем быстрее, чем лучше будет работать система страхования рисков фактора. Кроме того, освоение регионального будет происходить за счет тех компаний, которые в течении последних лет сумели наладить сети представительств. Это, в первую очередь, Промсвязьбанк, НФК и Петрокоммерц, имеющие соответственно 48, 22 и 17 региональных представительств (таблица 5) [56].

Таблица 5.

Рейтинг факторов по кличеству городов присутствия, 2009 г.

Место в рейтинге

Наименование фактора

Количество городов России, в которых имеется представительство фактора, шт.

1

Промсвязьбанк

48

2

ЗАО НФК

22

3

Петрокоммерц

17

4

Лайф Факторинг

11

5

СДМ-банк

9

6

Номос-банк

7

7

Роспромбанк

7

8

Транскредитфакторинг

7

9

Юникредит банк

5

10

Юнифактор

1


В целом следует ожидать, что полноценное освоение регионального рынка начнется не раньше 2012 года. «Сейчас кредитование в регионах только начинает восстанавливаться, - отмечает Александ Морозов из «Петрокоммерц».- Я думаю, что восстановление рынков начнется с Москвы, а регионы могут отставать на несколько месяцев, и к середине этого года ситуация стабилизируется. Я думаю, что и у нас появятся определенные планы по развитию регионов, финансированию региональных поставщиков. Мне кажется, что Факторы, более активно работающие в регионах, столкнулись с большими проблемами. И поскольку следующий кризис будет лет через 10, следующие несколько лет мы будем активно работать в регионах» [42].

Таким образом, в 2010 году роста регионального факторинга, по сравнению с 2008 годом, не произойдет. «Ушедшие в начале 2009 года игроки оставили после себя некоторое количество клиентов – оптовых и производственных компаний, которые хотят продолжать свой бизнес и нуждаются в факторинговых услугах. Это и есть возможный потенциал роста региональных рынков в краткосрочной перспективе. По сути, рынок ожидает не рост, а перераспределение клиентской базы, которая высвободилась после ухода крупных игроков» [40] - полагает Елена Гладких.

Согласен с ней и Михаил Окунев: «представительства оживают меньшими темпами, чем Московское. Поэтому, если в этом году представительства не будут приносить убытки, я буду доволен. Изначально качество тех рисков, которые сосредоточены в филиалах, хуже, государственная помощь доходит хуже, ситуация с занятостью – хуже. Экономика региона будет восстанавливаться позднее, чем в Москве» [41].

В общей структуре факторинговых кампаний вероятно будет происходить постепенное уменьшение доли банковского факторинга.

Заметим, что такая тенденция характерна для всех экономически развитых рынков. По мнению Михаила Трейвиша из НФК «Уралсиб-НИКойл» на развитых рынках к факторингу обращаются те клиенты, которым надоело работать с коммерческими банками. Далее он подчеркивает: «Факторинговая компания отличается от банка тем, что она не является финансовым учреждением в полном смысле этого слова. Она является партнером клиента, вместе с клиентом она решает задачу продажи его товаров. Фактор становится фактически отделом сбыта своего клиента - мы зарабатываем на процентах от его выручки. Если плохо идут продажи у клиента, плохо идут дела и у нас. И именно благодаря такому гибкому подходу факторинговые компании могут успешно конкурировать с банками...

Посмотрите на данные Всемирного банка о соотношении объемов продаж факторинговых услуг в разных странах мира и ВВП этих стран. Австрия - 1,2%, Германия - 1,6%, с одной стороны. С другой стороны, Италия - 11,9%, Великобритания - 10,5%, Португалия - 9,8%. В тех странах, где этот показатель высок, факторинг дальше всего банковского бизнеса. Там, где эти показатели низкие - там факторинг это банковский бизнес или осуществляется в рамках банка» [34]. Таким образом, М. Трейвиш приходит к выводу о том, что развитие банковского факторинга в развитых странах является недопустимым.

Однако, вряд ли стоит ожидать, что даный процесс будет иметь массовый характер. Согласно опросам «Российской газеты» банки не спешат использовать новую норму закона для создания аффилированных компаний и перевода на их баланс факторинговых операций. Более 70% опрошенных ответили, что не собираются создавать такую структуру, 18% оставили вопрос без ответа, 12% сообщили, что «пока не планируют», а 6% - уже создали такую компанию [19, c. 8].

Причиной этого, по мнению Александра Морозова, вляется то факт, что: «С точки зрения операционного учета это не сильно оправданно. Специализированная компания не имеет прямых преимуществ перед банком с точки зрения налогообложения, учета и т. д. При этом до сих пор банк имеет существенное преимущество перед факторинговой компанией, потому что у него есть короткая ликвидность. Пока деньги преимущественно короткие, а факторинг как раз работает на коротких деньгах, фактически цена для банков получается существенно ниже, чем для факторинговых компаний. В этом есть преимущество. Кроме того, непонятно пока, что будет с регулированием факторинга. Например, будет ли ассоциация факторинговых компаний преобразована в саморегулируемую организацию? У нас до кризиса были планы по выделению факторинга за баланс. Причин для этого несколько: повышение капитализации, привлечение сторонних денег специально под эти операции, специализированная оценка рисков. Это хорошо, когда денег много, их можно занимать, когда работает система секъюритизации факторинговых активов и т. д. Но когда денег нет, банку «Петрокоммерц» деньги дадут гораздо быстрее, чем специализированной факторинговой компании. Актуален и вопрос резервов. Мы разработали бизнес-план компании и рассчитали, сколько необходимо резервировать. Для того чтобы быть прозрачной и привлекательной для инвестора структурой, надо резервировать адекватно. Это вопрос, который имеет много сторон. И на него нельзя однозначно ответить. Если будет соответствующая конъюнктура рынка и изменения в законодательстве будут таковы, что будет эффективнее создать специализированную компанию, мы это сделаем» [42].

Еще одну проблему для создания факторинговых компаний выделил Михаил Окунев: «Рынок финансовых институтов воспринимается со стороны инвесторов ещё не очень позитивно, кроме того стоимость пассивов для специализированных факторов выше. Не имея спонсора в лице материнской компании, который может предоставлять финансирование под низкие проценты, факторинговые компании вынуждены повышать ставки до 30%, беря под эти проценты не самые качественные риски. Что приводит к росу потерь. Я считаю, что в России Факторинг – это банковский бизнес. Да, формально он может быть выведен за баланс банка. Однако я не вижу перспектив специализированных факторинговых компаний» [67].

Небольшие изменения произойдут в структуре факторинговых продуктов. По оценкам «Эксперт РА» рост рынка факторинга в 2010 году будет основан на 20-30% приросте регрессного факторинга и 2-3х кратном росте безрегрессного факторинга. Если ЦБ РФ не примет поправки в отношении резервирования по факторингу, банки будут преимущественно заниматься низкорискованным факторингом, а специализированные факторы – предоставлять безрегрессный факторинг.

Такая разница в объемах роста факторинговых продуктов объясняется тем обстоятельством, что в низкорискованном сегменте факторы конкурируют за клиентов, уже использующих факторинг. На рынке безрегрессного факторинга, напротив, наблюдается обратная ситуация: из-за ограниченного числа факторов, предоставляющих покрытие риска неплатежа дебитора, конкуренции в этом сегменте практически нет. Снижение маржинальности низкорискованного факторинга, обострение конкуренции и избыточная ликвидность банковского сектора заставили факторов обратиться в сторону безрегрессного факторинга.

Таким образом в начале 2010 года стоит ожидать увеличение доли безрегрессного факторинга не только по рынку в целом, но и в структуре факторингового портфеля отдельных банков. Одним из первых эту тенденцию выделил Михаил Окунев: «у нас неожиданно растет доля безергрессного факторинга. Для меня оказался неожиданным тот факт, что наш банк оказался к этому готов; я, честно говоря, не ожидал, что так будет происходить. И я думаю, что если так пойдет и дальше, если останется такая же немыслимая избыточная ликвидность в банковской системе, то мы 2011 год встретим с долей безрегрессного факторинга, превышающей долю факторинга с правом регресса. Для меня это неожиданно, но такая тенденция есть, от нее никуда не деться. При этом те, кто хотят безрегрессного факторинга, никогда не заинтересуются факторингом регрессным, то есть деньги как таковые, без покрытия рисков неплатежа дебиторов, их не интересовали никогда. Они всегда хотели безрегрессного факторинга, и сейчас они его хотят по-прежнему. В безрегрессном факторинге ситуация прямо противоположная факторингу с регрессом: там поставщики зачастую крайне приличные, а дебиторы – не всегда» [44].

По-прежнему лидерами в сегменте безрегрессного факторинга выступают БСЖВ Факторинг и НФК, доля данного вида факторинга в объемах уступленных требований этих компаний составила в 2009 году 79 и 37% соответственно.

Однако вряд ли стоит ожидать, что темпы роста безрегрессного факторинга сделают его лидирующим продуктов в течении ближайших десяти-пятнадцати лет. Наиболее вероятно, учитывая низкую платежную дисциплину отечественных предприятий, а также низкий уровень развития экономики общая доля безрегрессного факторинга в течении следующих 20 — 30 лет не превысит 10 %.

В начале текущего года факторы выпустили на рынок реверсивный факторинг. Однако вряд ли стоит ожидать его широкого распространения. Поскольку в нашей стране и раньше встречались ситуации, когда инициатором сделки выступал дебитор, но широкого распространения они не получили. Правда во многом благодаря отсутсвиям активности факторов по продвижению данного продукта.

«Перспективы реверсивного факторинга в России хорошие, но не ранее чем через три-четыре года. Сегодня предложения реверсивного факторинга адресованы исключительно торговым сетям. Но нет ясности, как сети будут работать с факторами в условиях закона о торговле. Особенность реверсивного факторинга в том, что финансовый агент может стать как помощником, так и дубинкой для поставщиков сети. Стоит нескольким поставщикам «попасть под регресс» при реверсивном факторинге или конфирминге, и другие остерегутся работать по этой схеме с данной сетью и данным фактором» — высказывает свои опасения Виктор Носов [62].

Его опасения поддерживает и Сергей Бабичев, партнер Factoring Business Solutions: «Перспективы развития реверсивного факторинга в 2010-2011 годах я оцениваю сдержанно. Безусловно, определенный спрос на данные услуги будет поддерживаться. Тем не менее, я не прогнозирую резкого рывка объемов использования реверсивного факторинга. Дело в том, что при разработке первой в России схемы Реверсивного факторинга еще в 2004 году я столкнулся с проблемами юридического характера, которые до сих пор не решены. Оказалось, что российское гражданское законодательство практически не позволяет оказывать факторинговые услуги в том виде, в котором данные продукты великолепно зарекомендовали себя на Западе, в т.ч. Международный и Реверсивный факторинг. Схема Реверсивного факторинга предполагает, что инициатором сделки выступает покупатель. Соответственно он (покупатель) является плательщиком комиссии и лицом в сделке. В условиях российской действительности такая схема реализована быть не может» [46].

Таким образом, наиболее востребованным продуктом по-прежнему останется обыкновенный внутренний факторинг с регрессом. Снижение его доли произойдет только тогда, когда сам факторинг перестанет восприниматься большинством потенциальных клиентов исключительно как инструмент финансирования, и не более того, что за счет медленного развития регионального рынка произойдет еще не скоро.

Не стоит ожидать и быстрого развития международного факторинга, по крайней мере, до тех пор пока не будет решена проблема с валютным законодательством нашей страны.

В прошлом году на российском рынке наиболее распространены были экспортный факторинг с регрессом и импортный факторинг. Сделки импортного факторинга осуществлялись по схемам с регрессом и без регресса. При этом 90% всех операций приходились на сделки без регресса, то есть с покрытием риска российского импортера, подтверждает Вячеслав Иванов (НФК). Что касается экспортного факторинга, то более 70% этого рынка в России составляли операции c регрессом. По нашему мнению стоит ожидать повторения такого соотношения: даже если произойдут коренные изменения в экономике — цифры вряд ли отклонятся больше чем на 2-4 процента в ту или иную сторону.

При этом операции как по импортному, так и по экспортному факторингу будут преимущественно осуществляться со странами СНГ и Европы, что объясняется географией российской международной торговли в целом. При этом основными потребителями международного факторинга в России станут экспортеры сырья и импортеры потребительских товаров. Такие наблюдения у себя в банке сделал Виктор Носов: «В отраслевой структуре портфеля Промсвязьбанка по международному факторингу преобладают российские экспортеры сырья, такого как металл и лес, и импортеры товаров народного потребления» [55]. Похожую структуру потребителей озвучил и Вячеслав Иванов. По его словам, в основном с помощью факторинга финансируют трансграничные поставки техники, потребительских товаров и комплектующих.

Общая доля международного факторинга в течении ближайших пяти лет вряд ли превысит 5 — 7 процентов. Это объясняется тем обстоятельством, что для осуществления международного факторинга, надо быть членом как минимум одной из двух международных факторинговых ассоциаций - FCI и International Factors Group (IFG). «Становясь членом ассоциации, фактор принимает детально формализованные правила проведения международных факторинговых сделок, получает доступ к надежной системе электронных сообщений между факторами», - поясняет Константин Овчаров [59].

Россия в этих двух ассоциациях представлена девятью факторами. Членами IFG на данный момент являются четыре компании - Металлинвестбанк, Русская факторинговая компания, «Кофас Рус Сервисез Компани» и «ВТБ Факторинг». В FCI состоят: Промсвязьбанк, Газпромбанк, ЮниКредит Банк, «Банк Сосьете Женераль Восток» и НФК - единственная компания в России, которая является членом двух факторинговых ассоциаций одновременно. Однако фактически, активно воздействуют на рынок только два фактора - «Промсвязьбанк», имеющий самую большую историю на рынке факторинга и наиболее перспективных клиентов, и НФК — способную оказывать факторинговые услуги на западноевропейском уровне.

Ожидается в 2010 году и увеличение роста инвестиций в факторинговый бизнес. Согласно «Российской Бизнес-газеты»: 74% опрошенных факторов планируют инвестировать «больше, чем в 2009 году», 19% сохранят расходы на уровне 2009 года, 7% планируют сократить бюджет [20, с. 18]. Однако не стоит ожидать от рынка достаточно большого роста. «Таких темпов развития российского факторинга, какие мы наблюдали до кризиса, однозначно не будет. - отмечает Елена Гладких - В лучшем случае, факторинговый рынок повторит результаты 2008 года. По нашим прогнозам, в 2010 году рынок факторинга вырастет на 15-20% относительно уровня 2009 года. Постепенно сформируется позитивный тренд в экономике, восстановится доверие потребителей, улучшится благосостояние населения. Стабилизация потребительского спроса неизбежно вызовет рост производства товаров и вспомогательного сырья, что приведет к увеличению долговой нагрузки на предприятия. Все эти изменения самым позитивным образом скажутся на развитии факторинга в России, и к концу 2010 года мы увидим прирост рынка не менее чем на 15%» [40].

Еще более осторожно высказался Александр Морозов: «Мы полагаем, что начнется период стабилизации (2-3 года), а потом, когда все успокоится, начнется рост. До следующего кризиса» [42].

Вероятность же сокращения рынка всеми факторами рассматривается как сомнительная. Действительно во время кризиса с рынка ушли наиболее слабые факторы, остались компании, имеющие не только разаработанную систему риск-менеджмента, но и имеющие устойчивую клиентскую базу. Фактически сегодня на рынке факторинга: «не так много осталось участников. - отмечает Михаил Окунев, - Я думаю, что крупные банки, которые просто смотрят на факторинг как на вид кредитования, перестанут этим заниматься. Таких примеров много. За прошлый год очень много людей закрыли свои факторинговые направления» [45]. Поддеживает его и Виктор Носов: «громких «уходов» не будет. Если кто-то и покинет рынок, то исключительно на благо себе и рынку. Когда триста компаний дерутся за триста рублей комиссии – это неправильно» [39].

Еще одним фактором, способным оказать значительное влияние на рост факторингового рынка является наличие поддержки факторов со стороны государства. И хотя пв прошлом данные попытки оказывались малоэффективны, в текущем году мы наблюдаем постепенное осознавание государством роли факторига в развитии малого и среднего бизнеса. Об этом, в частности, говорят следующие факты:

- в рамках государственной программы поддержки МСП на факторинговое направление в 2009 г. было выделено 600 млн рублей, в текущем году даную сумму предполагается увеличить до 4 млрд рублей.;

- в 2009 г. Российским банком развития открыты кредитные линии двум факторинговым компаниям. Сейчас банк рассматривает несколько кредитных заявок других крупных игроков российского факторингового рынка;

- в 2010 г. планируется внедрение специального кредитного продукта для финансирования банков, осуществляющих факторинговые операции и активное финансирование банков также в рамках этого направления.

По данным РосБР, стоимость финансирования факторинговых компаний в рамках государственной программы поддержки МСП составляет 10,5% годовых в рублях. Условиями программы кредитования факторинговых компаний предусмотрено ограничение размера вознаграждения (комиссии) факторов за предоставление финансирования своим клиентам - субъектам малого и среднего предпринимательства на уровне ставки по кредиту РосБР, увеличенной на ставку рефинансирования ЦБ. Сегодня это 8,75%. То есть конечная стоимость факторинга для малых предприятий не должна превышать 19,25%. В программе есть и другие ограничения. Так, отсрочка платежа по договору поставки не должна превышать 90 дней, а сумма поддержки ограничивается 60 млн рублей [20, c. 30].

Таким образом, действия Правительства могут вызвать возрастание спроса на услуги факторинга со стороны малых и средних предприятий. Что в свою очередь приведет к росту данного сегмента, а значит к росту рынка в целом.

Что же касается появления новых игроков, то даже, если это произойдет — нисколько не повлияет на структуру российского рынка факторинга. Поскольку для этого необходимо не только определить целевой сегмент рынка, но и способы воздействия на него, разработать конкурентоспособные продукты. А это не так просто, учитывая что наиболее благоприятные сегменты уже заняты: в низкорисковом факторинге ведется обостренная борьба, в которой участвуют такие гиганты как «Промсвязьбанк», банк «Петрокоммерц» и «ВТБ Факторинг». Таким образом, для новых факторов остается только безрегрессный или реверсивный факторинг, реализация которых требует от факторов способности принимать на себя значительные риски. Что как нам кажется для начинающих факторов практически остается невозможно.

Таким образом, развитие рынка факторинга в дальнейшим будет происходить в два этапа, первый из которых мы будем рассматривать в качестве краткосрочной перспективе, а второй — в долгосрочной перспиктиве.

До 2010 — 2012 года российский рынок факторинга будет занят восстановлением позиций, утраченных во время кризиса. Темпы роста в данный период не будут превышать: 20 % в 2010 году и 60 — 70 % в последующие годы. По оценкам «Эксперт РА», в 2010 году объем рынка факторинга должен увеличиться на 25–30 процентов, до 450–500 миллиардов рублей.

Рост, в данный период, будет происходить главным образом, за счет привлечения новых потребителей факторинговых услуг, перераспределения клиентов, оставшихся после банкротства двух крупнейших региональных факторов: Еврокоммерц и МФК.

Начнется адаптация рынка под изменения законодательства. Определенное влияние на рынок факторинга окажет и принятие закона о торговле. С одной стороны он существенно упростит процедуру взаимодействия поставщиков и ритейлеров, и тем самым поможет расширить список поставщиков торговых сетей и, соответственно, потенциал факторингового рынка. С другой, стороны нормы об ограничение сроков оплаты в условиях договоров поставок по группам продовольственных товаров теоретически могут уменьшить сроки финансирования поставок факторами и тем самым сократить не столько стоимость услуги, сколько объемы факторингового рынка.

Однако с уверенностью говорить о сокращении сроков финансирования, а также и об увеличении платежной дисциплины ритейлеров преждевременно. Сегодня факторы, как правило, готовы идти на значительные периоды ожидания оплат от должников, учитывающие сложившуюся историю оплат. Например, при схеме обеспечительного факторинга, когда за возврат финансирования отвечает клиент, а не его должник, денежные средства выделяются клиенту на срок, включающий период ожидания. В этом случае период ожидания может быть значительным, так как не влечет за собой просрочки обязательства клиента перед банком по возврату денежных средств и увеличения резервов по факторинговой сделке. Вместе с тем, как ритейлерам обеспечить оборотный капитал, если не за счет длительных отсрочек платежа? Поэтому есть перспективы для сохранения и расширения объема факторингового рынка, несмотря на законодательное регулирование отсрочек.

Ожидается, что в данный период произойдет значительное снижение факторинговых тарифов. Этот процесс начался еще в IV квартале 2009 года в результате уменьшения стоимости фондирования для банков, чему способствовало снижение ставки рефинансирования ЦБ РФ до 8,75%. В результате в ряде банков появилоись предложения факторинга под 14 — 16 % годовых.

Продолжится и тенденция по переориентированию факторинга на розничный рынок, в частности на предприятия пищевой и перерабатывающей промышленности. Это объясняется тем, что именно для этих предприятий ключевой проблемой является нехватка оборотных средств, кассовые разрывы из-за отсрочек платежа, которые могут быть ликвидированны только факторингом.

Более насыщенным будет следующий период — 2012-2020 года. Данный период будет ознаменован экспансией факторов в регионах. Ожидается, что рост регионального рынка в среднем составит 200 — 250 процентов, что со временем приведет к озрастанию удельной доли регионального рынка факторинга до 40 — 50 %. Оставшася доля рынка будет распределена между Московой, Центральным ФО, Санкт-Петербургом и Северо-Западным ФО практически в равных долях, с преобладающим весом Москвы.

Постепенно изменится и структура факторингового продукта. Если в настоящее время основную долю рынка занимает факторинг с регрессом, то в указанный период приоритет будет отдан прочим факторинговым продуктам. Доля внутреннего факторинга без регресса сможет увеличиться до 20 — 30 %, международного факторинга до 20 %. Вероятно на рынке появятся новые продукты: инвойс-дискаунтинг, закупочнывй факторинг и др.

Если в указаный период будут решены основные проблемы факторингового рынка, указанные во второй главе, а также за счет консолидации усилий факторов по продвижению факторинга — мы можем ожидать резкого увеличения потребителей данной услуги. Рост рынка может вернуться к докризисному уровню и составлять до 250 % в год. Таким образом, к 2020 году факторинг в структуре ВВП составит более 10 %.

Если же проблемы рынка решены не будут, то к указанному периоду. Рост факторинга будет существенно ниже, его удельный вес составит только 5 — 6 %. При этом преобладающей на рынке услугой так и будет регрессный факторинг с массовой долей 75 — 90 процентов.

Заключение

Под факторингом расматривается контракт, заключенный между одной стороной (поставщиком) и другой стороной (фирма по факторным операциям, именуемая в дальнейшем цессионарий), в соответствии с которым:

а) поставщик может или должен уступить цессионарию обязательственные требования, вытекающие из контрактов по продаже товаров, заключаемых между поставщиком и его заказчиками (дебиторами), за исключением тех, которые относятся к товарам, закупленным в основном для их личного пользования, семейного или домашнего;

б) цессионарий должен взять на себя не менее двух следующих обязанностей:

- финансирование поставщика, в частности, заем или досрочный платеж;

- ведение счетов по обязательственным требованиям;

- предъявление к оплате дебиторских задолженностей;

- защита от неплатежеспособности дебиторов.

с) должники должны быть уведомлены о состоявшейся уступке права требования.

Предметом факторинговой сделки может быть как дебиторская задолженность, срок платежа по которой уже наступил, так и денежное требование, которое возникнет в будущем. Исключения делается для:

- долговых обязательств структурных подразделений (филиалов, представительств и т. д.);

- долговых обязательств физических лиц;

- требований к бюджетным организациям.

Сторонами договора факторинга являются фактор, клиент и должник. В роли фактора может выступать любое юридическое лицо. На клиента и должника законодательство РФ накладывает определенные ограничения.

Наиболее часто встречающимися видами факторинга являются: факторинг с регрессом, факторинг без регресса и международный факторинг. В Российской Федерации в связи с экономическим кризисом более 90 % от доли рынка занимает факторинг с регрессом.

Российский рынок факторинга характеризуется следующими показателями:

Факторами на рынке факторинга являются преимущественно банковские учреждения, занимающие 86 % рынка, что объясняется существованием до 2009 года запрета на ведение факторинговой деятельности без лицензирования. При этом основная доля факторов относится к мелким и средним игрокам. Группа крупных факторов представлена только «Промсвязьбанком».

Объединение факторов в рамках АФК, занимающей более 80 % рынка.

Российский рынок делится на высокорисковую и низкорисковую части. При этом в условиях кризиса первая из них характеризуется большим спросом и полным отсутствием предложения. Тогда как в низкорисковом факторинге продолжается рост конкуренции, что приводит к снижению ставок, которое в 2009 году составило в среднем с 30 — 38 % на начало года до 20 — 23 % годовых в середине года.

Ориентация факторингового рынка на Москву и Санкт-Петербург, на долю которых приходится 70 % объемов предоставлнного финансирования.

Ориентация факторов на предприятия торговой сферы и финансового сектора, на долю оптовой торговли приходится 69% оборота.

Основными проблема рынка факторинга являются:

неадаптированность законодательства под требования факторинга;

неприятие факторинга как формы финансирования налоговыми органами;

неразвитая система риск-менеджмента;

жесткие условии предоставления факторинга факторами, выражающиеся в:

- высокой стоимости договора факторинга;

- отказ от финансирования компаний, если сумма сделки не превышает 30 — 50 тыс. долларов;

- жесткие требования к дебиторам клиента;

- предоставление финансирования только после получения оригинала счет-фактуры;

факторинг как механизм финансирования остается неизвестным большинству потенциальных клиентов рынка, что объясняется его позднее развитие в нашей стране.

Для решения указанных проблем необходимо:

принять программу реформирования законодательства, разработанную АФК, совместно с ведущими отечественными экономистами;

укрепление риск-менеджмента, формирование бюро кредитных историй, создание единой базы данных о клиентах, имеющих негативную репутацию;

просвещение потенциальных клиентов, консолидация усилий факторов с целью информационной атаки на потребителя;

разаработка системы страхования рисков, поиск путей снижения факторинговых услуг.

Таким образом, развитие рынка факторинга в дальнейшим будет происходить в два этапа, первый из которых мы будем рассматривать в качестве краткосрочной перспективе, а второй — в долгосрочной перспиктиве.

До 2010 — 2012 года российский рынок факторинга будет занят восстановлением позиций, утраченных во время кризиса. Темпы роста в данный период не будут превышать: 20 % в 2010 году и 60 — 70 % в последующие годы. По оценкам «Эксперт РА», в 2010 году объем рынка факторинга должен увеличиться на 25–30 процентов, до 450–500 миллиардов рублей.

Рост, в данный период, будет происходить главным образом, за счет привлечения новых потребителей факторинговых услуг, перераспределения клиентов, оставшихся после банкротства двух крупнейших региональных факторов: Еврокоммерц и МФК.

Начнется адаптация рынка под изменения законодательства.

Ожидается, что в данный период произойдет значительное снижение факторинговых тарифов. В результате в ряде банков появятся предложения факторинга под 14 — 16 % годовых.

Продолжится и тенденция по переориентированию факторинга на розничный рынок, в частности на предприятия пищевой и перерабатывающей промышленности. Это объясняется тем, что именно для этих предприятий ключевой проблемой является нехватка оборотных средств, кассовые разрывы из-за отсрочек платежа, которые могут быть ликвидированны только факторингом.

Более насыщенным будет следующий период — 2012-2020 года. Данный период будет ознаменован экспансией факторов в регионах. Ожидается, что рост регионального рынка в среднем составит 200 — 250 процентов, что со временем приведет к озрастанию удельной доли регионального рынка факторинга до 40 — 50 %. Оставшася доля рынка будет распределена между Московой, Центральным ФО, Санкт-Петербургом и Северо-Западным ФО практически в равных долях, с преобладающим весом Москвы.

Постепенно изменится и структура факторингового продукта. Если в настоящее время основную долю рынка занимает факторинг с регрессом, то в указанный период приоритет будет отдан прочим факторинговым продуктам. Доля внутреннего факторинга без регресса сможет увеличиться до 20 — 30 %, международного факторинга до 20 %. Вероятно на рынке появятся новые продукты: инвойс-дискаунтинг, закупочнывй факторинг и др.

Если в указаный период будут решены основные проблемы факторингового рынка, указанные во второй главе, а также за счет консолидации усилий факторов по продвижению факторинга — мы можем ожидать резкого увеличения потребителей данной услуги. Рост рынка может вернуться к докризисному уровню и составлять до 250 % в год. Таким образом, к 2020 году факторинг в структуре ВВП составит более 10 %.

Если же проблемы рынка решены не будут, то к указанному периоду. Рост факторинга будет существенно ниже, его удельный вес составит только 5 — 6 %. При этом преобладающей на рынке услугой так и будет регрессный факторинг с массовой долей 75 — 90 процентов.

Список используемой литературы

1. Гражданский кодекс РФ: часть вторая от 26.01.1996 г. № 14-ФЗ (в редакции от 17.07.2009 г.) // Российская газета. 1996. № 23;

2. Налоговый кодекс РФ: часть вторая от 05.08.2000 г. № 117-ФЗ ( в редакции от 27.12.2009 г.) // Собрание законодательства РФ. 2000. № 32. Ст. 3340;

3. Письмо ФНС РФ от 15.10.07 № ШТ-6-03/777@ // Налоговая политика и практика. 22.11.2007;

4. Постановление ФАС ВСО от 24 января 2007 г. № А10-439/05-Ф02-3106/06-С1 // Налоги и налогообложение. 2007. № 6;

6. Ефимова Л. Г. Банковские сделки: комментарии законодательства и арбитражной практики. - М.: Финансы и статистика. 2006;

7. Иваш И. И. Факторинговые операции: сущность и особенности проведения. - Минск: Изд-во БГУ. 2005;

8. Кисурина Л. Г. Сложные сделки: учет, налоги, право. - М.: АКДИ. 2007;

9. Комментарий к Гражданскому кодексу Российской Федерации: учебно-практический. Части первая, вторая, третья, четвертая / Под ред. д.ю.н. С. А. Степанова. - М.: Проспект. 2009;

10.   Мешалкин В. К. Налоговая выгода: обоснованная и необоснованная. - М.: АйСи-групп. 2007;

11.   Новоселова Л. А. Сделки устпуки права требования в коммерческой практике. - Спб.: Питер. 2008;

12.   Овсейко С. В. Международные банковские операции: Учебное пособие. - М.: Финансист. 2008;

13.   Опасные схемы минимизации налогов: Необоснованная налоговая выгода. / Под ред. И. А. Феоктистова. - М.: Россбух. 2009;

14.   Покаместов И. Е. Международный опыт осуществления факторинговых операций. - М.: БСЖВ. 2008;

15.   Росийский рынок факторинга — 2006: Аналитический обзор. - М.: Финансгрупп. 2007;

16.   Сергеев А. П., Толстой Ю. К. Гражданское право. Т. 2.: Учебник. - М.: Проспект. 2005;

17.   Шулик М. П. Финансирование под уступку денежного требования в российском гражданском праве. - М.: Астрель. 2008;

18.   Егоров В. Факторинг или уход от налогообложения // Ваш пратнер-консультант. - 2006. - 10 февраля. - с. 17;

19.   Заславская О. Вернулись на рынок. Компании пополняют «оборотку» с помощью факторинга // Российская Бизнес-газета. - 2009. - 25 августа. - с. 8;

20.   Заславская О. Теперь и факторинг: Государство пополняет оборотные средства малых предприятий // Российская Бизнес-газета. - 2010. - 26 января. - с 13;

21.   Заславская О. Фактор оптимизма. В 2010 году на рынке факторинга планируется рост инвестиций // Российская Бизнес-газета. - 2009. - 12 января. - с. 17 — 18;

22.   Иванова А. Черно-белый факторинг // Финанс. - 2005. - 18 августа. - с. 16-17;

23.   Копина А. А. Разумная деловая цель договора факторинга // Коммерсант. - 2008. - 20 июля. - с. 11 — 16;

24.   Лопатина Д. А. Международный факторинг как инструмент финансирования: основы правовой регламентации // Банковское право. - 2009. - 17 января. - с. 4 - 8;

25.   Макаркина О. Факторинг: о чем молчит Налоговый кодекс, но должен знать бухгалтер // Семинар для бухгалтера. - 2008. - 29 октября. - с. 8 — 18;

26.   Свиреденко О. П. Перемена Лиц в обязательстве // Российская юстиция. - 1999. - 23 марта;

27.   Сутурин А. Сколько стоит факторинг // Российская Бизнес-газета. - 2007. - 17 июля. - с. 4 — 7;

28.   Сутурин А. Факторингом увлеклись регионы и …. мошенники. По мнению экспертов это подтверждает, что рынок действительно растет // Российская бизнес газета. - 2008. - 01 июля. - с. 10 — 11;

29.   Арсентьева О., Зубкова Н. Какими налоговыми рисками при факторинге можно пренебречь. - www.factoringpro.ru/docs/factoring_expert2009.doc;

38.   Гражданско-прпавовое регулирование договора финансирования под уступку денежного требования (факторинга). - gnozy_ekspertov_na_2009_god;

80.   Хороший О. Самостоятельно проверяем договор: факторинг можно сделать безопасным. - http://www.factoringpro.ru/index.php/factoring-people/1275-shevchenko-interview.

Похожие работы на - Рынок факторинга РФ

 

Не нашли материал для своей работы?
Поможем написать уникальную работу
Без плагиата!
Без нейросетей!