Влияние мусоросжигательных заводов на окружающую среду

  • Вид работы:
    Контрольная работа
  • Предмет:
    Экология
  • Язык:
    Русский
    ,
    Формат файла:
    MS Word
    284,43 kb
  • Опубликовано:
    2010-12-15
Вы можете узнать стоимость помощи в написании студенческой работы.
Помощь в написании работы, которую точно примут!

Влияние мусоросжигательных заводов на окружающую среду

Введение

Такое опасное производство, как мусоросжигательный завод (далее МСЗ), не может, по чисто техническим причинам, быть безотходным. Выбросы МСЗ охватывают все обычные для промпредприятий отходы: загрязненный воздух, загрязненные воды, загрязненные твердые отходы.

Мы рассмотрим все вопросы, связанные с этими загрязнениями ниже. Для снижения выбросов в воздух создаются мощные, эффективные, но крайне дорогие очистные сооружения. Для уменьшения объемов золы и шлаков, подлежащих захоронению, пытаются использовать их в строительных изделиях, что может быть крайне опасно. Однако, для снижения отходов от работы фильтров и мокрых скрубберов для нейтрализации кислых газов, ничего сделать нельзя, так как чем лучше очистка, тем больше объем загрязненной воды, илов и загрязненной массы с фильтров.

Работа любого мусоросжигательного завода опасна для окружающей среды и здоровья населения. Даже по нашим весьма старым нормам строительств, МСЗ относятся к опасным производствам, не ниже 2 категории опасности.

Глава 1. Загрязнение воздуха

1.1   Металлы


Для начала приведу таблицу 1.1 [Саст, 1990, 335 с.]. «Коэффициент концентрации» — это величина, которая показывает насколько данного вещества в выбросах МСЗ больше, чем в обычном воздухе, т.е. то, что называется «фон».

Таблица 1.1 Содержание химических элементов в продуктах сжигания твердых бытовых отходов разных городов


Выбросы в воздух

Летучая зола

Элемент

Элемент содержание, %

коэффициент концентрации, %

Элемент содержание, %

коэффициент концентрации, %

Висмут

0,0003 — 0,0013

300 — 1300

0,01

10000

Серебро

0,0006 — 0,0021

86 — 300

0,003 — 0,01

430 — 1430

Олово

0,02 — 0,18

80 — 720

0,22 — 0,3

880 —1200

Свинец

0,155 — 0,186

97 — 116

0,45 — 1

281 — 625

Кадмий

0,0005 — 0,0012

38 — 923

0,005 — 0,01

380 — 770

Сурьма

0,003 — 0,009

60 — 180

0,01 — 0,02

200 — 400

Медь

0,15 — 0,4

32 — 85

0,07 — 0,3

15 — 64

Цинк

0,18 — 0,56

22 — 68

1 — 3

120 — 360

Хром

0,06 — 0,16

7 — 20

0,08 — 0,6

10 — 200

Ртуть

0,00004 — 0,00009

5 — 10


Из данных этой таблицы видно, что в дымах МСЗ опасных металлов в некоторых случаях в тысячи раз больше, чем в «обычном» воздухе. Токсичные металлы выбрасываются в форме солей или окислов, то есть в устойчивом виде и могут лежать неопределенное число лет, накапливаясь постепенно и с пылью попадая в организм человека. Опасность токсичных металлов именно в том, что они (кроме ртути, которая любит мигрировать) могут накапливаться. Поэтому нормативы предельно допустимых концентраций (далее нормы ПДК) могут оказаться не применимыми к таким выбросам.

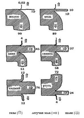
На рис. 1 показано, как распределяются выбросы металлов между выбросом в воздух, пылью iа фильтрах и шлаком, вытекающим из сжигателя. Естественно, что почти все железо (99%) уходит в шлак, но уже медь частично летит с пылью и именно она ответственна за образование диоксинов в зонах охлаждения газов.

pic3.jpg

Рис. 1.1. Распределение выбросов металлов.

Впрочем, ученые только начали изучать этот процесс и на роль катализатора рассматриваются и иные металлы. Один из самых токсичных и коварных металлов, кадмий, летит с пылью, и удержать его на фильтрах трудно, 12% улетает в трубу. Но ртуть, о ядовитости которой все знают, почти вся (72%) следует за кадмием. Тяжелые металлы оседают вокруг МСЗ по розе ветров и образуют характерное пятно загрязнения, а уж потом начинаются миграционные процессы и токсичные металлы, особенно ртуть, расходятся во все стороны к нам на стол.

1.2   Ртуть


Ртуть вылетает из труб МСЗ в форме паров (7%) и в форме хлоридов (70%). И те и другие весьма токсичны и являются потенциальными нейротоксинами. Мигрируя по пищевым цепям, ртуть накапливается в морских и речных организмах. Болезнь Минимата, которая поразила жителей на берегу залива в Японии, была вызвана сбросом ртутьсодержащих отходов промышленным концерном, производившим ПВХ-пластмассы. Металл накапливался в рыбе, постоянной пищей японцев, и вызывал заболевание, После того, как 200 человек умерло производство остановили, бухту у г. Минимата осушили, а ил (содержавший ртуть) был удален. По таким же цепочкам аккумулируется ртуть и на суше, ее конечным владельцем становятся хищники. Например, в Швеции исчезла пустельга, а поголовье соколов-сапсанов и ястребов сильно уменьшилось. МСЗ являются крупными источниками ртути. Так в США в Массачусетсе МСЗ выбрасывает 19 тонн ртути в год, в Эвергладсе (Флорида) высокие уровни ртути в рыбе были прямо связаны с выбросами МСЗ.

Сернистый газ всегда образуется при горении мусора, так как органические остатки содержат серу (отсюда и мерзкий запах разложения). Полностью убрать его не просто, и вместо известкового молока приходится брать дорогую щелочь. Окислы азота весьма токсичны (ПДК для NO2 9 мг/м3 для остальных оксидов 5 мг/м3 в пересчете на NO2) и крайне трудно связываются со щелочами в обычных скрубберах. Для нас важно знать, что чем выше температура сжигания, тем больше окислов азота образуется. Это одна из причин, по которой очень высокие температуры при сжигании, могут привести к крайне высоким выбросам в атмосферу этих токсикантов. Если вспомнить, что диоксины, от которых пытаются избавиться, все равно вновь возникнут в холодной зоне, то такое рискованное «усовершенствование» технологии оказывается ненужной тратой денег и оборудования. Для более или менее полной очистки газов от оксидов азота приходится прибегать уже не к фильтрам и скрубберам, а к каталитическим дожигателям такого типа, как используют для дожига газов в автомобильных двигателях, только подешевле и более сложного устройства. Это обходится в копеечку.

Продукты неполного сгорания включают и нейтральные газы, такие как угарный газ (СО), который может образовываться в больших количествах при неправильном режиме работы сжигателя (мало воздуха, температура ниже 800°С и другие нарушения), Этот газ нейтральный и потому очень трудно улавливается. Он опасен и в очень малых концентрациях, чему пример жители Череповца, где работают рядом с жилыми домами мощные металлургические производства, выбрасывающие очень много СО, а в городе на улицах случались обмороки с людьми.

Малые концентрации угарного газа вызывают блокаду гемоглобина и обусловленное этим кислородное голодание тканей, к которому, как известно, наиболее чувствительна центральная нервная система, это вызывает раньше всего изменение функционального состояния коры головного мозга, что в большей или меньшей степени отражается на состоянии внутренних органов. ПДК 0,03 мг/л.

1.4   Микрозагрязнения


Анализ шлаков после дробления летучей золы с фильтров и отходящих газов МСЗ показал, что около 1% углерода, введенного в сжигатель, покидает его со шлаком, 0,1% связывается с летучей золой и около 0,01% выбрасывается в виде микрозагрязнений, остальной углерод превращается в окислы углерода (главным образом в углекислый газ) [Brunner, 1987, No 5, p.355]. Концентрация общего органического углерода (ООУ) в среднем в шлаках 10 г/кг, в летучей золе 40 г/кг, а в газах 20 мг/нм3.

1.4.1 Источники микрозагрязнений

Основных источников микрозагрязнений три:

1. Неполное сгорание тех микрозагрязнений, которые присутствовали в исходном мусоре. Не следует думать, что это пренебрежимо малые количества. Вот примерный расчет выбросов: при величине эффективности разрушения и удаления (ЭРУ) равной 99,999% (это требование для ПХБ) «проскок» равен 0,0001%. Однако эта малая величина означает, что каждый сжигаемый килограмм ПХБ будет давать выброс в окружающую среду равный 1 мг, что, совсем немало, для таких токсичных веществ. Если вы сожжете 1 000 тонн, то выброс будет равен 1 кг токсикантов. Есть о чем задуматься.

2. Синтез de novo диоксинов и фуранов (ПХДД и ПХДФ) при охлаждении горячих газов и в фильтрах.

3. Органические вещества, попадающие в отходящие газы из других источников таких, как воздух для сжигания, загрязнения из скрубберов, вода в системах очистки и из дополнительного топлива, которое всегда вынуждены использовать для сжигания мусора.

В США в списке опасных веществ, которые могут встречаться в отходящих газах сжигателей, содержится свыше 400 опасных химических веществ, которые включают как органические, так и неорганические соединения.

Пристальное внимание к микрозагрязнениям связано с тем, что в их число входят вещества крайне токсичные и весьма опасные для здоровья. Эти вещества — ПХДД, ПХДФ, ПХБ и полиароматические углеводороды (ПАУ) проявляют свои токсические свойства уже при столь малых концентрациях, что микроколичества их в газах МСЗ являются очень опасными. Если «обычные» токсиканты опасны при концентрациях мг на литр, то ПАУ опасны при концентрации мкг на кубометр, а диоксины при долях нанограмм в кубометре. В таблице 1.2 показаны выбросы основных микрозагрязнений в отходящих газах МСЗ Канады и Норвегии.

Таблица 1.2 Результаты обследования двух МСЗ. Выбросы микрозагрязнений в мкг/нм3


Канадский МСЗ

Норвежский МСЗ

Хлорбензолы

3,3 — 9,9

0,034 — 3,8

Хлорфенолы

5,1 — 23,7

не обнаружены

ПАУ

3,2 — 21,9

0,84 — 6000

ПХБ

1,7 — 7,0

<0,00003 — 0,06

Диоксины

0,063 — 0,597

0,047 — 1,8

Видно, что во времена проведения этих измерений (1987 — 1990 гг.) МСЗ в Канаде работал намного хуже, чем в Норвегии. Надо сказать, что и в США сжигатели того времени (то есть именно такие, которые нам теперь пытаются продавать) работали чудовищно грязно. В 1994 году ЕРА провело обследования всех МСЗ — 166 штук. Правда, в конечном итоге было проверено всего 12 МСЗ, но все они показали крайне высокие уровни выбросов, которые и объясняют столь сильное загрязнение всей территории США диоксинами. Уровень загрязнения пищи в Америке столь высок, что по оценке ЕРА уже угрожает здоровью нации.

1.5   ПАУ


Полиароматические углеводороды (ПАУ) являются опасными канцерогенами. Выбросы этих соединений из МСЗ не достигают уровня самого грязного сжигателя — дизелей, но довольно близки к ним. Если учесть, что дизели (тяжелые грузовики) двигаются, а МСЗ стоят на месте и сжигают сотни тысяч тонн мусора, то опасность загрязнения воздуха ПАУ вблизи МСЗ становится реальной.

Таблица 1.3 Относительная канцерогенность различных ПАУ

Соединение

Канцерогенный потенциал

Биоактивность

2-метилнафталин

0

TP

Флуорантен

0

CC

2-Метилфлуорантен

+

C, TI

3-Метилфлуорантен

?

TI

Пирен

0

CC

Бенз[a]антрацен

+

TI

Хризен

+

TI

Бенз[c]фенантрен

+++

C

3-Метилхризен

+

TI

5-Метилхризен

+++

C, TI

7,12-Диметилбенз[a]антрацен

++++

C, TI

Бенз[b]флуорантен

++

C, TI

++

C, TI

Бенз[a]пирен

+++

C, TI

Дибенз[a,h]антрацен

+++

C, TI

Индено[1,2,3-cd]пирен

+

TI

Бенз[ghi]перилен

0

CC

Пицен

+

TI


Особенно много ПАУ остается в шлаке МСЗ. Выше было сказано, что ООУ в шлаках может быть до 10 г/кг. Вряд ли кто видел шлаки не черного цвета — это и есть углерод. Распространенным заблуждением является утверждение проектантов МСЗ, что их шлаки такие чистые, что не представляют никакой опасности. Конечно это не так, Несмотря на высокие температуры, органический углерод всегда содержится в шлаках, а состоит он из ПАУ, диоксинов и других токсичных веществ.

Таблица 1.4 Содержание ПАУ в твердых отходах МСЗ (мкг/г)


Нидерланды

Канада

Англия


Загрязнение

Шлак

Летучая зола

Летучая зола

Летучая зола

Флуорен

145

40

<0,5 —64

Фенантрен

245

120

Флуорантен

350

70

0,5 — 440

58

Пирен

470

155

0,5 — 120

49

Бенз[a]антрацен

105

25

171 (сумма)

Хризен

180

45

Бензофлуорантены

170

36

Бенз[a]пирен

60

10

0,14

147


1.6   Диоксины


И, наконец, самыми опасными из ПНС являются «диоксины»: смесь полихлордибензопарадиоксинов (ПХДД) и полихлордибензофуранов (ПХДФ). Это короли токсичности и бесспорные разрушители природы. Однако сразу надо сказать, что диоксины пропитывают все среды вокруг МСЗ.

1.6.1 Диоксины в трубе

Та часть диоксинов, которая попадает в трубу, почти целиком связана с частицами пыли. Это естественно, так как диоксины очень хорошо адсорбируются на любых материалах: их адсорбционная способность огромна. Японские ученые исследовали волосы рабочих МСЗ и контрольной группы людей. Данные выражены в токсических эквивалентах TEQ, которые учитывают также и токсичные соединения ПХБ, как и диоксины, содержащиеся в выбросах МСЗ. Оказалось, что токсичность волос рабочих МСЗ в 3,7 раза выше контроля: 1,18:4,36. [Miyatas, 1996, No 30, p. 154,.] Аналогичный результат был получен и при анализе крови у рабочих МСЗ в США. Если волосы отражают загрязнение, идущее в организм, то загрязнение крови, — и есть загрязнение самого организма. В крови рабочих МСЗ содержание диоксинов в токсических эквивалентах TEQ было на 30% выше, чем у контрольной группы: 16,6:21,9 пкг/г липидов [Schecter, 1991, pp. 331— 332.].

Опасно ли это? Вот самые последние исследования, проведенные в Японии [Dioxin'97, v.32, p.155]. Неподалеку от МСЗ (японские МСЗ одни из лучших в мире) была выявлена зона с высокими показателями смертности от рака. Изучение загрязнения диоксинами окрестностей завода показали, что в зоне до 1,1 км к югу от завода из 57 умерших в течение 1985 — 1995 гг., 24 умерли от рака (42%), а в зоне от 1,1 до 2,0 км из 167 умерших только 34 умерли от рака (20%). Последняя цифра близка к средней для этого региона (25-28%). Тяжелые частицы, несущие диоксин, выпадают как раз в зоне, прилегающей к трубе МСЗ, однако более мелкие частицы разносят диоксины по всей стране. Голландцы показали, что даже на расстоянии 24 км хорошо прослеживается диоксиновое загрязнение. Имеющиеся у нас МСЗ довольно грязные, так как построены еще тогда, когда о диоксинах и не слышали.


К таким отходам относятся шлаки, летучая зола и отходы с фильтров очистки воздуха.

2.1   Шлаки


Нет никаких разумных оснований, ни экономических, ни экологических, для того, чтобы превращать три тонны малотоксичного мусора в тонну высокотоксичной золы (Пол Коннет).

Из 3 — 4 тонн мусора образуется примерно тонна шлаков. В тех сжигателях, в которых в печь добавляют известняк в качестве флюса, шлаков еще больше. Предпринимаются самые разнообразные попытки использовать шлаки и золу МСЗ. Из них пытаются делать бордюрные камни, барьерные рифы и блоки для строительства, вводить их в асфальт и использовать для других дорожных покрытий.

Это удивительно для материала, который образуется при температурах не ниже 1000°С, но шлаки довольно токсичны. Их токсичность складывается из токсичности ПАУ, диоксинов и неопознанных органических токсикантов и, кроме того, токсичных металлов. Конечно, шлаки менее опасны, чем летучая зола с фильтров, так из одиннадцати образцов летучей золы разных МСЗ девять оказались высокотоксичными, а такая же проба для шестнадцати образцов шлаков выявила только два токсичных образца, которые требовали захоронения как особо токсичные отходы. Кроме того, стоимость захоронения обычного мусора в среднем 23 доллара за тонну, а опасных отходов 210 долларов за тонну.

2.2 «Летучая зола»


Диоксины образуются вновь (de novo) в зоне охлаждения, часть из них попадает в летучую золу (технический термин «зола уноса»), а часть улетает в трубу. Зола уноса это та пыль, которая осаждается на фильтрах. В ней содержатся не только диоксины, но и еще множество опасных веществ. Подробное исследование токсичных свойств летучей золы (ЛЗ) было проведено в Нидерландах [Helder, 1982, Vol. 11, No. 10, pp.952 — 972].

В аквариум с мальками радужной форели было добавлено некоторое количество ЛЗ или экстрактов ее. Спустя два месяца все рыбы погибли. При этом они вовсе не все время были в отравленной воде, а только 4 дня, после чего аквариумы промыли чистой водой. Авторы указывают, что экстракт золы оказался крайне токсичным, и по их расчету в золе было 75 — 125 нг/г токсических эквивалентов диоксинов. Из самой золы диоксины в воду почти не переходили, что естественно, так как они в воде растворяются крайне плохо. Из этого опыта, а таких исследований было не мало, был сделан вывод: Летучая зола весьма токсична и токсичность ее только частично связана с диоксинами. Иными словами, наряду с медленно действующими диоксинами, в ЛЗ содержатся сильные канцерогены. Эти опыты и предопределили отношение к ЛЗ как к токсическому продукту. Однако, отвозить ее на спецполигоны для токсичных веществ очень дорого, поэтому предпринимаются усилия по изготовлению из нее или из смесей с ЛЗ различных строительных изделий, асфальта, бетона и т. п.

Глава 3. Загрязнение воды

Связывание диоксинов на частичках происходит не только в воздухе, аналогичная картина и в воде. В Англии, к северу от Бирмингема работал сжигатель опасных отходов (фирма Coalite Chemical). В 1991 году в молоке коров на трех фермах были обнаружены опасные количества диоксинов и продажа молока с этих ферм была запрещена. Обследование района показало, что диоксины накопились не только в почве вокруг сжигателя, но и по фарватеру реки Doe Lea. Даже на расстоянии 1,5 км от места сброса сточных вод были найдены высокие концентрации диоксинов. (Waste Not, #187, March 1992).

Таблица 3.1 Концентрация диоксинов в донных отложениях реки Doe Lea после выпуска сточных вод сжигателя опасных отходов

Расстояние от выпуска сточных вод

Концентрация в токсических эквивалентах, нг/г донных отложений



Диоксины

Фураны

1 км выше выпуска

0,02

0,003

40 м выше выпуска

0,03

0,004

40 м ниже выпуска

13,0

12,0

1,2 км ниже выпуска

79,0

5,7

1,5 км ниже выпуска

97,0

9,4


Первым источником загрязнения сточных вод является вода для охлаждения шлака, который образуется при сжигании мусора. Шлак содержит много тяжелых и токсичных металлов. На рис. 1.1 видно, что если металл не летуч, то он уходит в шлак, а если летуч, то попадает и туда и туда, а если это ртуть, то искать ее надо в отходящих газах.

Другим источником являются скрубберы для улавливания кислых газов, после охлаждения газов при выходе из печи и вода для смыва осадков с фильтров. Все эти воды весьма токсичны и требуют специальной очистки. Именно эти воды загрязнили речку Doe Lea в Англии, так как этот сжигатель уничтожал только жидкие токсичные отходы и не имел шлаков.

Таблица 3.2 Типичный состав отходящих газов МСЗ до и после промывки в скруббере


Газ до скруббера

Газ после скруббера, мг на кубометр

Вода

10 — 18 % по объему


Углекислый газ

6 — 12% по объему


Кислород

7 — 14% по объему


Пыль

2 — 10 грамм/м3

20 — 30 (снижение в 1000 раз)

Хлористоводородная кислота (HCl)

250 — 2000 мг/м3

10 — 30

Фтористоводородная кислота (HF)

0,5 — 9 мг/м3

0,5 — 2

Сернистый газ (SO2)

200 — 1000 мг/м3

200 — 300

Окислы азота (NOX)

100 — 400 мг/м3

100 — 400

Угарный газ (CO)

50 — 100 мг/м3

50 — 100

Общий органический углерод (то есть все иные органические вещества в пересчете на углерод)

<20 мг/м3

<20


На тонну сжигаемых отходов в среднем образуется 2,5 м3 сточных вод. Эта вода сильно загрязнена солями и токсичными металлами. Она, либо очень щелочная, либо очень кислая, и то и другое плохо, так как требует специальной обработки. В тех сжигателях, где нет отбора тепла для получения энергии, в горячие газы впрыскивают воду, которая полностью испаряется и с газами попадает на очистные фильтры, а оттуда в сборник сточной воды (табл. 1.7).

Таблица 3.3 Содержание загрязнений в сточных водах МСЗ (мг/л)

Загрязнение

Вода из скруббера отходящих газов

Вода охлаждения шлаков

рН

0,95

8,8

Cl

12900

SO2

502

590

F

52

1,7

Cr

0,69

0,10

Cu

1,28

0,26

Ni

3,7

0,25

Zn

14,1

1,8

Cd

0,46

0,15

Pb

6,8

0,80

Hg

6,6

0,038


Заключение

1. Подсчитано, что только около 2% диоксинов остаются в почве прилегающих к МСЗ территорий. В Нидерландах, Франции и Бельгии из-за повышенного содержания диоксинов было запрещено употребление молока, полученного от коров, в рацион которых входила растительность с прилегающих к МСЗ территорий. Даже МСЗ, оборудованные современными очистными установками способны выделять в атмосферу значительное количество тяжелых металлов (свинец и кадмий).

2. Сжигание приводит не к полному уничтожению отходов, а лишь к трансформации в другие виды — выбросы отходящих газов, летучую золу и шлак, которые в тех или иных количествах оказываются на прилегающих к заводу территориях. В случаях использования на заводе воды к перечисленным выше выбросам добавляются жидкие стоки.

3. Существует всеобщее заблуждение, что вес и объем отходов в процессе сжигания значительно уменьшается. Если суммировать все выбросы МСЗ, их объем превысит первоначальный. Какая бы система очистки ни использовалась, загрязняющие вещества продолжают поступать в атмосферу.

4. В выбросах МСЗ присутствуют бромированные диоксины и диоксины, до сих пор вопросы регулирования выбросов касаются только диоксинов, содержащих хлор. Диоксины присутствуют в выбросах всех МСЗ. Они могут разлагаться в процессе сжигания и вновь образовываться по окончании этого процесса при изменении температурного режима. В процессе сжигания образуются новые диоксины.

5. Полихлорбензолы оказывают существенное влияние на здоровье человека и, способны негативно воздействовать на репродуктивную, нервную и иммунную системы. ГХБ может усиливать токсичность молока кормящих женщин. ГХБ оказывает влияние на развитие плода, функционирование печени, иммунной системы, почек и центральной нервной системы. Наиболее чувствительными к его воздействию являются печень и нервная система.

6. Выбросы ртути остаются одной из основных проблем МСЗ. Почти 100% ртути в газообразном состоянии выбрасывается в атмосферу, поскольку она не оседает на фильтрах, на частицах пыли и почти не остается в золе. Молекулярная ртуть может переноситься на большие расстояния.

7. Твердые частицы выбросов (менее 2,5 микрон) вызывают астму, являются причиной повышенной смертности от заболеваний дыхательной системы и сердца. Даже самые современные системы очистки газов препятствуют лишь выбросу 5-30% таких частиц.

Список литературы

1. Общественная организация «Эколайн» [Электронный ресурс] — режим доступа: http://kosino.kprf.org/content/view/197/88888902/, свободный — Загл. с экрана (11мая 2009).

Похожие работы на - Влияние мусоросжигательных заводов на окружающую среду

 

Не нашли материал для своей работы?
Поможем написать уникальную работу
Без плагиата!
Без нейросетей!