Аппаратура, используемая для очистки атмосферы от промышленных выбросов пыли
КУРСОВАЯ
РАБОТА
аппаратура, используемая для очистки атмосферы от промышленных
выбросов пыли
СОДЕРЖАНИЕ
Введение
1. Основные
понятия и определения процессов пылеулавливания
1.1 Общие
понятия о пыли и ее классификация
1.2
Классификация пылеуловителей
2. Гравитационные
и инерционные методы сухой очистки газов и воздуха от пыли
2.1
Гравитационные пылеуловители
2.2
Инерционные пылеуловители
2.2.1
Жалюзийные пылеуловители
2.2.2
Одиночные возвратнопоточные циклоны
2.2.3
Групповые циклоны
2.2.4 Батарейные
циклоны
2.2.5
Прямоточные циклоны
3.2.6
Ротационные аппараты
3. Мокрые
пылеуловители
3.1 Циклоны с
водяной пленкой
3.2
Ротационные мокрые пылеуловители
3.3 Скрубберы
3.4
Ударно-инерционные пылеуловители
3.5 Пенные
аппараты
4. фильтры
4.1 Пористые аэрозольные
фильтры
4.1.1 Сухие
пористые фильтры
4.1.2 Мокрые
пористые фильтры
4.2
Электрические аэрозольные фильтры
4.2.1
Коронно-разрядные фильтры
4.2.2
Электретные фильтры
4.2.3 Мокрые
электрофильтры
5. некоторые
инженерные разработки
5.1 Система
двухэтапной очистки газовых пылевых выбросов
5.2
Пылеуловитель для мелкодисперсной пыли на основе центробежной и инерционной
сепарации
Заключение
Литература
ВВЕДЕНИЕ
Актуальность. До определенного этапа развития человеческого общества, в
частности, индустрии, в природе существовало экологическое равновесие, то есть
деятельность человека не нарушала природных процессов или очень незначительно
влияла на них. Двадцатый век вошел в историю как век небывалого технического
прогресса, бурного развития науки, промышленности, энергетики, сельского
хозяйства. Одновременно как сопровождающий фактор росло и продолжает расти
вредное воздействие индустриальной деятельности человека на окружающую среду. В
результате происходит в значительной степени непредсказуемое изменение
экосистем и всего облика планеты Земля [1].
По данным моделирования в город с населением 1 млн. человек ежесуточно
поступает 732 тыс. т вещества (вода, пища, топливо). Из них 1 тыс. т. -
газообразные и пылевые загрязняющие вещества (твердых частиц в среднем около
150 т.). Плотность выброса пыли с 1 км2 площади такого города
составляет 500 т/год, причем максимум поступления в атмосферу загрязняющих
веществ отмечается в зимние месяцы, когда на полную мощность работают ТЭЦ и
котельные [2]. В связи с вышесказанным представляет определенный интерес
рассмотрение различных методов пылеочистки.
Цель работы - представить обзор основных методов пылеулавливания:
·
гравитационных и
инерционных методов пылеочистки;
·
рассмотреть
основные принципы устройства и работы мокрых пылеуловителей и фильтров, а также
представить некоторые инженерные новинки в области пылеулавливания.
1. ОСНОВНЫЕ ПОНЯТИЯ И ОПРЕДЕЛЕНИЯ
ПРОЦЕССОВ ПЫЛЕУЛАВЛИВАНИЯ
1.1 Общие понятия о пыли и ее
классификация
Пыль представляет собой дисперсную систему с газообразной дисперсионной
средой и твердой дисперсной фазой, состоящей из частиц от квазимолекулярного до
макроскопического размеров, обладающих свойством находиться во взвешенном
состоянии более или менее продолжительное время.
Аэрозоли также представляют собой дисперсные системы с газообразной
(воздушной) дисперсионной средой и твердой или жидкой дисперсной фазой.
Скорость оседания частиц аэрозоля очень мала, и они могут неопределенно долгое
время находиться во взвешенном состоянии. Наиболее тонкие частицы аэрозоля по
размерам приближаются к наиболее крупным молекулам, а наиболее крупные
достигают 1 мкм. В технической литературе термины грубый аэрозоль и пыль
являются синонимами.
Пыли и аэрозоли обычно полидисперсны, т. е. частицы их дисперсной фазы
имеют неодинаковый размер. В природе и технике монодисперсные пыли и аэрозоли
встречаются крайне редко.
Масса частиц, содержащихся в единице объема газа или воздуха,
называется концентрацией пыли, пылесодержанием или запыленностью [3].
Атмосферные частицы классифицируют по размерам следующим образом:
1) крупные частицы (средний диаметр 20
мкм) - сосредоточены в нижнем слое тропосферы (до 3000 м), осаждаются под
действием силы тяжести, но могут переноситься ветром на большие расстояния;
2) полутонкая пыль (диаметр 0,1 - 5 мкм)
- осаждается с трудом или не осаждается вовсе. Частицы размером меньше 1 мкм
служат ядрами конденсации водяного пара. Для частиц диаметром менее 0,1 мкм
из-за броуновского движения осаждение в обычных условиях невозможно (эти частицы
называют аэрозолем);
3) тонкая (микроскопическая)
неосаждающаяся пыль (диаметр менее 0,001 мкм), это так называемые частицы
Айткена.
Большинство атмосферных частиц, удерживающихся в воздухе в течение
длительного времени, имеют диаметр 0,1 - 5 мкм. Тонкая и частично полутонкая
пыль не осаждается в местах выброса при сухой атмосфере и может поэтому попасть
в потоки региональных и глобальных загрязняющих веществ [2].
1.2 Классификация пылеуловителей
По назначению устройства для очистки газа (воздуха) от пыли
подразделяются на пылеуловители и воздушные фильтры. Первые служат для
санитарной очистки газов и воздуха перед их выбросом в атмосферу и для
технологической очистки с целью улавливания и возврата ценных пылевидных
продуктов или полуфабрикатов, а вторые - для очистки приточного воздуха,
подаваемого вентиляционными установками в производственные и общественные
здания. Пылеуловители делятся на две категории: аппараты без применения
жидкости и с ее применением. Такое деление принято в ГОСТ 12.2.043-80 «Оборудование
пылеулавливающее. Классификация».
Сухие пылеуловители делятся на гравитационные, инерционные,
фильтрационные и электрические. По некоторым особенностям их действия или
основному конструктивному признаку группы пылеуловителей делятся на подгруппы,
а в зависимости от специфики конструктивного оформления на типы аппаратов.
Гравитационные пылеуловители - пылеосадочные камеры, в которых выпадение
частиц из газового потока происходит под действием силы тяжести. Существуют
полые и полочные камеры. Полки в камерах устанавливают с целью осаждения более
тонких частиц или чтобы иметь возможность увеличить скорость и, соответственно,
расход газа в сечении камеры без снижения степени очистки.
В инерционных пылеуловителях выделение частиц из газового потока происходит
под действием сил инерции, возникающих вследствие изменения направления или
скорости движения газа. Они делятся на три подгруппы: жалюзийные (пластинчатые
или конические); циклонные (возвратнопоточные, прямоточные и вихревые);
ротационные.
Фильтрационные пылеуловители - это устройства, в которых выделение частиц
пыли из газового потока происходит вследствие его прохода через слой пористого
материала. Эта группа состоит из следующих подгрупп: тканевые фильтры
(каркасные и рукавные), волокнистые (рукавные, панельные, ячейковые), зернистые
(насыпные, жесткие), сетчатые (ячейковые, барабанные).
Электрофильтры действуют на основе сообщения частицам в поле коронного
разряда электрического заряда с последующим их осаждением на осадительных
электродах. Электрофильтры делятся на две подгруппы: однозонные и двухзонные с
осадительными электродами пластинчатыми и трубчатыми, подвижными и
неподвижными.
Пылеулавливающие средства с применением жидкости можно объединить в три
группы: инерционные, фильтрационные и электрические.
В группу инерционных мокрых пылеуловителей входят циклопы с водяной
пленкой, ротационные, скрубберы и ударные аппараты.
К циклонам с водяной пленкой относятся циклоны типа ЦВП, центробежные
скрубберы ВТИ, скоростные промыватели СИОТ. К ротационным - вентиляторные
мокрые пылеуловители ВМП-ЛИОТ, ТбИОТ и НИИ углеобогащения, а также различного
типа дезинтеграторы.
К подгруппе скрубберов следует отнести различной формы камеры с
форсунками, полые, либо заполненные слоями насадки из кусков неправильной формы
или реек, дисков, колец, либо с лопастями и другими деталями и конструкциями
правильной геометрической формы. Кроме того, в эту подгруппу входят скрубберы с
трубой Вентури, известные в технической литературе также под названием
турбулентных промывателей, коагуляционных мокрых пылеуловителей и эжекторных
скрубберов.
В подгруппу ударных инерционных мокрых аппаратов входит простейший
пылеуловитель типа полой башни или ямы, в нижней части которых налита вода.
Запыленный газ, выходящий из вертикально расположенного патрубка, ударяется о
зеркало воды. В эту подгруппу входят различного типа аппараты с импеллерами
(направляющими лопастями) и самооборотом орошаемой воды: ротоклон Гипротяжмаша,
пылеуловители типа ПМВК ВЦНИИОТ и ПВМ ЦНИИПромзданий.
К группе мокрых фильтрационных аппаратов, предназначенных для очистки
пылевых выбросов, относятся различные пенные пылеуловители. В эту группу входят
пенные пылеуловители с переливной и провальной решеткой (ПГС и ПГМ ЛТИ),
струйно-пенные НИГМИ, ударно-пенные, циклоно-пенные и пенновихревые аппараты. К
этой же группе можно отнести и барботажные пылеуловители без решетки и с
подачей запыленного воздуха под утопленную в воде решетку.
Мокрые электрофильтры классифицируются так же, как и сухие, и отличаются
от последних только применением воды в виде стекающей пленки на осадительных
электродах. При отделении жидкой дисперсной фазы (например, тумана) уловленная
жидкость стекает по электродам без применения воды [4].
2. ГРАВИТАЦИОННЫЕ И ИНЕРЦИОННЫЕ
МЕТОДЫ СУХОЙ ОЧИСТКИ ГАЗОВ И ВОЗДУХА от ПЫЛИ
2.1 Гравитационные пылеуловители
В гравитационных пылеуловителях выделение взвешенных частиц из
газообразной среды происходит главным образом под действием силы тяжести.
Размеры полых пылеосадочных камер (рис. 1, а) определяют,
исходя из заданного расхода газа L и минимального седиментационного диаметра частиц пыли dх, которые вместе с более
крупными частицами должны
выпасть из потока. Соотношение длины l и высоты Н камеры
находят из соотношения скорости газа vг и седиментационной скорости частицы vs:
vs / vг = H / l (1)
Ширину камеры b определяют, исходя из принятых в расчете скорости газа vг, высоты камеры H и заданного расхода газа
L:
b = L / H vг
Из соотношения (1) видно, что чем меньше скорость газа и высота камеры и
больше ее длина, тем меньшую скорость оседания можно получить, т. е. тем
меньшего размера частицы пыли можно выделить из запыленного потока.
Резкое снижение высоты оседания дают так называемые полочные камеры (рис.
1, б). Для удобства сбора пыли полки делают наклонными; по оси камеры
расположен шнек для выгрузки осевшей пыли. Для более эффективного удаления пыли
с наклонных полок применяют вибраторы или другие встряхивающие устройства
периодического действия, а для горизонтальных можно применить механизм,
периодически наклоняющий их к центру бункера.
При конструировании пылеосадочной камеры весьма важно обеспечить
равномерный подвод запыленного газа. Для этой цели устанавливают
газораспределительные решетки или применяют диффузоры с рассечками, располагая
их под углом 10 - 12° друг к другу.
Недостатками пылеосадочных камер по сравнению с другими пылеулавливающими
устройствами являются их большой объем и малая эффективность, а преимуществами
- малое гидравлическое сопротивление, простота и надежность конструкции и
возможность удалять из газового потока фракции крупных частиц, обладающих
повышенной абразивностью.
2.2 Инерционные пылеуловители
К простейшим инерционным пылеулавливающим средствам можно отнести
небольшие по сравнению с пылеосадочными камерами емкости, в которых скорость
запыленного потока, подводимого сверху или сбоку, изменяется по величине и
направлению. Изменение направления скорости потока достигается, в частности,
благодаря установке одной или нескольких перегородок. Учитывая сравнительно
небольшое сопротивление (1 - 4 гПа) этих устройств, их целесообразно
устанавливать для улавливания наиболее крупных частиц с повышенными абразивными
свойствами [4].
2.2.1 Жалюзийные пылеуловители
Принцип действия жалюзийных пылеуловителей основан на резком
(около 150°)
изменении направления узких струек газового потока, проходящих через зазоры
между лопастями жалюзи, и отражении ударяющихся о поверхности лопастей частиц
пыли в направлении щели, через которую удаляется часть газового потока,
обогащенного пылью (рис. 2).
Конические инерционные пылеуловители (ИПы) собраны из большого числа
конических колец, закрепленных в каркасе с просветами между кольцами 4,2 мм.
Скорость выхода воздуха в первое, самое большое кольцо принимается 15 - 25 м/с.
Небольшая часть воздуха вместе с концентрированной пылью отводится из
отверстия наименьшего кольца в вершине конуса и поступает в циклончик,
рассчитанный на 5 - 7 % от общего расхода установки (рис. 3).
Основными достоинствами ИПов являются малое гидравлическое сопротивление
и значительно меньшие по сравнению с любыми другими пылеуловителями габариты. К
недостаткам этого пылеуловителя следует отнести малую надежность в условиях
недостаточно квалифицированной эксплуатации. Малейшая негерметичность бункера
под циклончиком приводит к резкому, а иногда и к полному нарушению процесса
пылеулавливания. Воздухопровод, соединяющий ИП с циклончиком, не должен иметь
поворотов, так как из-за большой концентрации пыли он подвержен быстрому
износу. Циклончик по тем же соображениям целесообразно делать литым или
обкладывать изнутри листовой резиной.
Пластинчатые жалюзийные золоуловители (рис. 4), предназначены для очистки
дымовых газов от летучей золы. Лопасти жалюзи изготавливают из обычной угловой
стали. В зависимости от ширины входной камеры (209¸1425мм) берут 11 - 75 лопастей длиной
595 - 4038 мм. Лопасти собирают в плоские пакеты, располагаемые в газоходе под
углом 18 - 20° друг к другу.
Жалюзи устанавливают так, чтобы в конце их образовалась одна или две
отсосные щели (см. рис. 4). Газ со сконцентрированной золой поступает
из отсосной щели и циклон, а оттуда после очистки возвращается в газоход
за пылеуловителем. Движение газа в такой обходной ветви может быть обеспечено
перепадом давления в жалюзи.
В связи с тем, что в обходной тракт газы поступают с высокой
концентрацией пыли, состоящей в основном из крупных частиц, необходимо, так же
как и в ИПах, принимать меры к защите этого тракта (в особенности участков на
повороте до циклона) и корпуса циклона от эрозии.
Жалюзийные пылеуловители можно рекомендовать в качестве первой ступени
очистки с целью предотвращения абразивного износа следующей ступени [4].
2.2.2 Одиночные возвратнопоточные
циклоны
Циклоны начали применять в промышленности с 80-х годов прошлого столетия.
В настоящее время благодаря простоте конструкции, малым габаритам и надежности
в работе это одно из наиболее широко распространенных устройств пылеочистной
техники.
Принцип действия циклона основан на выделении частиц пыли из газового
потока под воздействием центробежных сил, возникающих вследствие вращения
потока в корпусе аппарата.
Наибольшее распространение в технике получили циклоны с изменением
основного направления потока газа, называемые возвратнопоточным.
В этих циклонах (рис. 5) воздух входит в циклон через тангенциальный
патрубок 1, и, приобретая вращательное движение, опускается винтообразно вдоль
внутренних стенок цилиндра 2 и конуса 3.
В центральной зоне вращающийся воздушный поток, освобожденный
Рис. 5. Движение запыленного и
очищенного газа в возвратнопоточном циклоне
от пыли, двигается по направлению снизу вверх и удаляется через
коаксиально расположенную выхлопную трубу 7 и улитку 8 из циклона. Небольшая
часть этого потока, в котором сконцентрирована основная масса выделяющейся
пыли, поступает через пылеотводящее отверстие 4 в бункер 5, где происходит
окончательное осаждение частиц. Эта часть потока, освободившись от
сконцентрированных в нем частиц, выходит из бункера через центральную зону того
же пылеотводящего отверстия 4. Уловленная пыль выгружается из бункера 5 через
пылеспускной патрубок и разгрузочное устройство 6, которое в период работы
циклона должно обеспечивать полную герметичность.
Вследствие интенсивного вращения газа в корпусе циклона статическое
давление понижается от его периферии к центру. Такая же картина наблюдается и в
пылесборном бункере. Отсюда следует, что герметичность бункера должна быть
полностью обеспечена не только при установке циклона на всасывающей, но и на
нагнетающей стороне вентилятора. Несоблюдение этого условия приводит к резкому
снижению пылеотделения в циклоне и даже к полному его нарушению.
Своеобразный смерч (рис. 5), образующийся в циклоне, пятой опирается о
дно пылесборного бункера. При этом в центре смерча винтообразное движение газа
направлено вверх. Нарушение вращательного движения газа в бункере неизбежно
приводит к заметному снижению степени очистки. В частности, именно поэтому
степень очистки в группе циклонов с общим бункером несколько ниже, чем
одиночном аппарате.
В отечественной пылеочистной технике применяются различные типы циклонов
одного назначения (рис. 6). Причиной такого чрезмерного разнообразия является
то обстоятельство, что разработкой этих устройств на протяжении десятилетии
занималось множество организаций, не координировавших свою деятельность.
До последнего десятилетия во многих отраслях промышленности широко
применялся одиночный цилиндрический циклон ЛИОТ, нормаль которого была разработана
еще в 1934 г. В послевоенный период большое распространение получают конические
циклоны СИОТ и циклоны НИИОГАЗ ЦН-11, ЦН-15, ЦН-15У и ЦН -24. Цифры 11, 15, 24
соответствуют углу развертки винтового подвода газа в верхней части аппарата.
Индекс «У» (укороченный) присвоен циклону ЦН-15, применяемому в условиях, когда
высота лимитирована [4].
2.2.3 Групповые циклоны
С увеличением диаметра циклона при постоянной тангенциальной скорости
потока центробежная сила, воздействующая на пылевые частицы, уменьшается и
эффективность пылеулавливания снижается. Кроме того, установка одного
высокопроизводительного циклона вызывает затруднения при его размещении
вследствие его большой высоты. В связи с этим в технике пылеулавливания широкое
применение нашли групповые (рис. 7) и батарейные циклоны.
Рис. 7. Круговая компоновка циклонов ЦН
Степень очистки в группе циклонов принимается равной степени очистки в
одиночном циклоне, входящем в эту же группу, хотя экспериментально это и не
доказано. Есть некоторые основания предполагать, что она несколько ниже степени
очистки, достигаемой в одиночном циклоне [4].
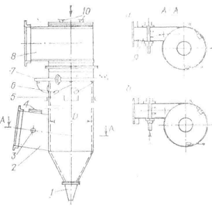
2.2.4 Батарейные циклоны
Батарейные циклоны, называемые также мультициклонами, состоят из
нескольких десятков и даже сотен параллельно включенных циклончиков. В
отечественных конструкциях в одном аппарате насчитывается до 792 циклонных
элементов.
В циклонных элементах применяются закручивающие поток устройства:
двухходовой винт с лопастями, установленными под углом 25° к горизонту; розетка из 8 лопастей,
устанавливаемых под углом 25 или 30°; розетка с загнутыми вверх лопастями для
безударного входа потока газа; патрубок для тангенциального подвода газа.
Ось циклонных элементов может располагаться вертикально и с наклоном.
Диаметр циклончиков в отечественных аппаратах принимается в пределах 150 - 250
мм.
Конфигурация камер подвода запыленного и отвода очищенного газа наиболее
часто бывает клиновидная (рис. 8).
Запыленный газ через патрубок 1 входит в клиновидную форкамеру 2 и,
проходя через пространство между выхлопными трубами 5, поступает в
закручивающие устройства, расположенные в кольцевой щели циклонных элементов 6.
Выделившаяся пыль поступает в пылесборный бункер 7. Очищенный газ через
выхлопные трубы 5 проходит в сборную камеру 4 и выходит из аппарата. В крышке
аппарата установлены патрубки с взрывными клапанами 3, причем численное
значение их общей площади (в м2) должно составлять не менее 5%
численного значения объема аппарата (в м2). Весь аппарат разделен
перегородкой 9 на две параллельно работающие секции, чтобы при понижении
расхода воздуха одну можно было отключить.
На рис. 8 изображен батарейный циклон БЦ-2, изготовляемый Кусинским
машиностроительным заводом. Корпуса циклонных элементов изготавливаются из
серого чугуна, выхлопные трубы и корпус аппарата - из углеродистой стали.
Допустимая запыленность газа для слабослипающихся пылей 75 г/м3, для
среднеслипающихся - 35 г/м3. Допустимая температура газа до 400°. Эффективность очистки газа от золы
при d50 = 10 мкм составляет около 80%.
Циклопы ВЦ-2 могут быть использованы в технологических установках на любой
неволокнистой и неслипающейся пыли.
Пылеуловители батарейные циклонные ПБЦ предназначены для очистки
технологических газов и воздуха сушильных установок. Они могут также быть
использованы в системах аспирации углеобогатительных фабрик и на предприятиях
химической промышленности. Аппараты типа ПБЦ в зависимости от типоразмера имеют
от 24 до 96 сварных циклонных элементов с диаметром корпуса 250 мм и с
полуулиточным входом газа. Циклонные элементы расположены с наклоном 45°.
Запыленный газ входит в аппарат через патрубок и, поступая в пространство, где
расположены циклонные элементы, освобождается от наиболее крупных частиц пыли,
которые осаждаются в отдельном отсеке пылесборного бункера. Пыль, отделяемая в
циклонных элементах, собирается в центральном отсеке. Очищенный газ через
выхлопны трубы поступает в боковые камеры и выводится из аппарата через
выхлопной патрубок. В камерах очищенного газа и крышках аппарата предусмотрены
предохранительные клапаны. Допустимая запыленность газа 75 г/м3,
температура 120°С, расчетное давление до 0,04 МПа.
В настоящее время наиболее эффективными батарейными циклонами являются
аппараты с частичной рециркуляцией газа БЦРН (рис. 9).
Циклонные элементы БЦРН имеют улиточный подвод газа и снабжены конусными
раскручивателями для снижения гидравлических потерь. Они, так же как и в
циклонах ПБЦ, расположены под углом 45° в отсеке, который служит одновременно
для сепарации крупных частиц. Под этими отсеками расположены дополнительные
бункеры. Для разгрузки выделившейся пыли все бункеры снабжены шлюзовыми
затворами [4].
Рис. 9. Батарейный циклон
БЦРН
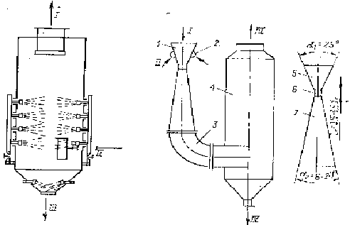
2.2.5 Прямоточные циклоны
Рис.
10. Вихревой циклон
Циклоны, в которых вращающийся поток газа не изменяет направления своего
основного движения по оси аппарата, называются прямоточными. Вследствие их
малой по сравнению с возвратно-поточными циклонами эффективности и меньшими
гидравлическими потерями они находят применение в качестве первой ступени
очистки перед более эффективными пылеуловителями - тканевыми или
электрофильтрами.
Разновидность прямоточных циклонов представляют появившиеся в последние
годы варианты вихревого циклона (рис. 10).
Запыленный воздух подводится через патрубок 6, расположенный коаксиально
с цилиндрическим корпусом аппарата 4. В конце патрубка установлены розетка или
винт 5 для закручивания воздушного потока, который, поднимаясь винтообразно,
отбрасывает частицы пыли к стенкам аппарата. В верхней части корпуса через
патрубок 2 и тангенциальные сопла 3, наклоненные вниз, подается вторичный
поток. Струи воздуха, выходящие из сопел с большими скоростями в одном
направлении с основным потоком, интенсифицируют его вращение и одновременно
создают около стенок аппарата винтовое движение, направленное вниз.
Опускающийся наружный вихрь отводит отброшенные на периферию частицы пыли в
нижнюю часть 7 корпуса аппарата, где они окончательно выделяются из вращающеюся
потока. Вверху цилиндрического корпуса установлена диафрагма с целью разделения
восходящего и нисходящего вихрей [4].
3.2.6 Ротационные аппараты
К последней подгруппе инерционных пылеуловителей относятся ротационные
аппараты, в которых сепарация пыли происходит вследствие вращения ротора. Эти
аппараты делятся на два типа. Одни из них имеет ротор в виде вентиляторного
колеса особой конструкции, который отбрасывает частицы пыли к периферии и одновременно
заставляет их двигаться в радиальном направлении к кольцевой щели пылесборной
улитки и далее через циклонный элемент или непосредственно в бункер. В качестве
примера таких аппаратов можно привести кориолисовый пылеотделитель ПВК.
Эффективность ПВК на грубой кварцевой пыли равна 77%. Поэтому рекомендовать эти
аппараты для улавливания пыли не представляется возможным.
Аппараты второго типа имеют ротор с отверстиями, через которые запыленный
газ просасывается в радиальном направлении к оси ротора. Частицы пыли
вследствие действия центробежной и кориолисовой сил не могут пройти через
отверстия ротора в центральную зону аппарата, отбрасываются на периферию и
оседают в пылесборном бункере. К таким аппаратам относятся центробежные
пылеотделители Грищенко, Розенкранца и Пречистенского. Недостатками этих
аппаратов являются их энергоемкость и высокие
окружные скорости ротора, которые необходимы для отделения частиц мельче 10
мкм.

Запыленный газ через патрубок 11 поступает и спиральный
пылеуловитель 5. В результате криволинейного движения пыль концентрируется в
периферийной зоне улитки, откуда через поперечную щель и патрубок 8 отводится вместе
с 15 - 19% газа в выносной циклон 9, где окончательно улавливается и
скапливается в бункере 10. Из циклона очищенный газ возвращается во входной
патрубок 7 крыльчатки 6, установленной для обеспечения необходимого расхода
рециркулируемого газа. Перед рабочим колесом 2 дымососа 3 находится радиальное
направляющее устройство 4. Крыльчатка 6 и рабочее колесо дымососа установлены
на одном валу 1. Регулировка производительности дымососа осуществляется
односторонним клапаном 12, смонтированным во входном патрубке 11 спирального
пылеуловителя 5 [4].
3. Мокрые пылеуловители
3.1 Циклоны с водяной пленкой
В сухих циклонах частицы пыли, отброшенные под воздействием центробежной
силы к стенкам аппаратов, могут быть вынесены наружу вследствие радиального
стока, поперечных циркуляций и подсоса воздуха из пылесборного бункера. В
случае применения жидкой пленки на внутренних стенках циклона явления так
называемого вторичного уноса пыли устраняются. Кроме того, конструкция
становится более компактной, так как появляется возможность применить схему
прямоточного циклона.
Корпус циклона типа ЦВП (рис. 12) представляет собой цилиндр 5, к нижней
и верхней части которого касательно по ходу вращения потока присоединены
патрубки 2 и 8 для подвода запыленного и отвода очищенного газов. Внутренняя
стенка орошается водой, стекающей по ней в виде пленки. Водоподающие сопла 6
установлены в верхней части касательно (с наклоном 30 ° вниз) к внутренней поверхности
циклона по направлению вращения газового потока. Такое расположение сопел
обязательно, так как предотвращает образование брызг и вынос капель воды из
аппарата. Вода подводится к соплам через кольцевой коллектор 7. К нижней части
цилиндра циклона припарен конус, к которому на фланце присоединяется
гидрозатвор в виде конического патрубка 1 или ковша-мигалки. На входном
патрубке 2 имеется подвод воды к соплам 3 для периодического смыва пылевых
наростов, образующихся на границе сухой и смоченной поверхности. На верхней
плоскости патрубка 2 имеется смотровой люк с легко снимающейся крышкой.
Типовые циклоны ЦВП имеют два исполнения - основное и скоростное.
В скоростном сечение входа при помощи вставки 9 сужено в два раза и,
соответственно, входная скорость газа в нем вдвое выше, чем в основном
Рис. 12. Устройство циклона с водяной пленкой типа ЦВП в скоростном (а) и
основном (б) исполнении и номограмма для определения гидравлического
сопротивления
У скоростных ЦВП степень выноса e = 100 - h или остаточная концентрация пыли ориентировочно вдвое меньше, чем у ЦВП
основного исполнения.
Вода для орошения внутренней поверхности цилиндра ЦВП подается под
давлением 0,02 - 0,025 МПа из уравнительного бачка с шаровым клапаном. Для
наблюдения за работой сопел в верхней крышке цилиндра имеются два застекленных
люка 10 [4].
3.2 Ротационные мокрые пылеуловители
Аппараты, в которых контакт газа с водой (каплями, струями, пленкой)
происходит вследствие вращения ротора вентилятора или специального ротора,
называют ротационными мокрыми пылеуловителями.
В научно-технической литературе описан ряд типов мокрых пылеуловителей с
роторами различной конструкции. К ним можно отнести дезинтеграторы, мокрые
ротоклоны и механические скрубберы с вращающимися перфорированными дисками.
Однако мокрые аппараты со сложными роторами не нашли широкого применения в
отечественной пылеочистной технике [4].
3.3 Скрубберы
В начале развития отечественной пылеочистной техники скрубберами (рис.
13, 14) называли пылеуловители в виде емкостей (башен, камер) полых или с
насадками (неправильной формы - кусков угля, камней, гальки или с определенными
геометрическими формами - колец, реек), а также с полками и тарелками, на
которые подается орошающая жидкость (вода). Полые и насадочные скрубберы в
зависимости от спутного или противоположного направления движения газа и
жидкости делятся па прямоточные или противоточные аппараты. К такого типа
устройствам можно отнести орошаемые газоходы и промывные камеры вентиляционных
систем.
Эффективность полых орошаемых скрубберов по сравнении с другими мокрыми пылеуловителями
невелика. Они обеспечивают высокую степень очистки только при улавливании
частиц пыли крупнее 10 мкм. Насадочные скрубберы с орошаемым насыпным слоем для
целей очистки газов от пыли в настоящее время применяют редко, потому что
трудно регенерировать слой при образовании в нем пылевых отложений.
Их применяют в основном в процессе теплообмена и очистки воздуха (газов)
от вредных газовых примесей.
Скрубберы Вентури известны уже более 70 лет. Патенты на это устройство
появились в первом десятилетии нашею века. Интенсивное изучение этого
пылеуловителя происходило во многих исследовательских организациях. Это
породило различные названия одного и того же аппарата: скруббер Вентури, труба
Вентури, турбулентный газопромыватель, труба-коагулятор, коагуляционный мокрый
пылеуловитель и др.
Принцип действия скрубберов Вентури (рис. 14) основан на столкновении
частиц пыли с диспергированной жидкой фазой вследствие разности их скоростей и
под влиянием интенсивной турбулентности газового потока.
Возможность различного подхода к выбору их формы, методов водоподачи,
улавливания отработавшей жидкой фазы, компоновки трубы и каплеуловителя, а
также соединения скрубберов в группы и батареи привела к чрезвычайному
многообразно видов этого аппарата. Остановимся более подробно только на типовых
устройствах, широко апробированных в отечественной пылеулавливающей технике.
Труба-коагулятор состоит из воздухопроводящего патрубка, конфузора 5,
горловины 6, диффузора 7 и водоподающих устройств. Основная подача воды
осуществляется через сопло с отбойником, установленное по оси трубы в зоне
конфузора. В целях предотвращения отложений шлама на границе сухой и мокрой
поверхности конфузора предусмотрена дополнительная подача воды в виде пленки,
равномерно стекающей из водяной камеры. Вода в камеру подводится через патрубок
3 и полукольцевой коллектор с двумя штуцерами, приваренными к корпусу камеры.
Каплеуловитель 4 представляет собой циклон типа ЦВП. Он состоит из
корпуса с воздухоподводящим патрубком и воздухоотводящей улитки. К фланцу в
нижней части корпуса крепится гидрозатвор для отвода шлама. На гидрозатворе
имеется штуцер подвода воды для взмучивания осевшего шлама. Для периодической
промывки внутренних стенок в верхней части корпуса установлены сопла. Вода к
ним подается через резиновые трубки, присоединенные к кольцевому коллектору [4,
5].
3.4 Ударно-инерционные пылеуловители
Простейший тип пылеуловителя ударно-инерционного действия - это камера
(яма) с водой и с установленным ортогонально зеркалу воды патрубком, через
который поступает запыленный воздух. Воздушный поток, ударяясь о зеркало поды,
резко изменяет направление, а частицы пыли по инерции отбрасываются на ее
поверхность. Такого типа пылеуловители применялись на заре пылеочистной
техники.
С начала 60-х годов в промышленности стали применять высокоэффективные
ударно-инерционные пылеуловители, которые также представляют собой камеру с
водой (рис. 15).
Камера разделена на два отсека фигурной перегородкой, не доходящей до дна
резервуара. В перегородке имеется частично затопленная щель, через которую
воздух может перетекать из первого отсека во второй. Запыленный воздух входит в
первый отсек через патрубок, ударяется о водную поверхность и при перетекании в
чистый отсек увлекает с собой некоторый слой воды. Благодаря этому запыленный
поток интенсивно контактирует со струями, каплями и пленками воды.
Отработавшая вода отбрасывается на водную поверхность чистого отсека,
уровень которой регулируется устройством. Часть капель, увлекаемая очищенным
потоком воздуха, улавливается каплеуловителем. Такая схема действия аппарата
обеспечивает самооборот воды, которая может рециркулировать до заданных величин
осадка пыли в резервуаре или концентрации шлама, удаляемого через отвод.
Очищенный воздух, пройдя каплеуловитель, удаляется центробежным вентилятором,
установленным на пылеуловителе [4,5].
Рис. 15. Аппараты ударно-инерционного типа: а -
ударно-инерционый пылеуловитель; б - пылеуловитель ПВМ; в -
скруббер Дойля; I - запыленный газ; II -
очищенный газ; III - вода; IV -
шлам.
3.5 Пенные аппараты
Пенные аппараты обычно делятся по способу отвода жидкости с решетки на
два основных типа: с переливными устройствами и с так называемыми провальными
решетками (рис. 16).
Аппараты с переливными решетками не получили широкого применения в
пылеочистной технике вследствие зарастания решетки пылевыми отложениями.
Поэтому в настоящее время их используют в основном и процессах
тепломассообмена.
Аппараты, в которых вся жидкость «проваливается» сквозь решетку, в
настоящее время принято называть противоточными. Их можно применять в качестве
пылеуловителей.
В зависимости от скорости газа vг в полном
сечении аппарата F устанавливаются
различные гидродинамические режимы. Первый режим при vг = 0,2 ¸ 0,6 м/с, называемый режимом смоченной решетки, характеризуется весьма
малым количеством жидкости на решетке. При барботажном режиме гидравлическое
сопротивление резко понижается, и на решетке образуется слой жидкости, через
которую барботируют пузырьки газа. Переход от барботажного режима к пенному
происходит при vг = 0,7 ¸ 1,3 м/с. При vг = 0,8 ¸ 2,2 м/с на решетке наблюдается пенный режим,
сопровождающийся образованием турбулизированной пены, в которой происходит
непрерывное разрушение, слияние и образование новых газовых пузырьков.
Дальнейший рост скорости газа приводит к прорыву газовых струй, колебанию слоя
пены и образованию так называемого волнового режима.
В новейших интенсифицированных пенных аппаратах с противоточной решеткой
применяется стабилизатор пенного слоя. В качестве стабилизатора рекомендуется
использовать сотовую решетку со следующими оптимальными размерами: высота hст = 60 мм и размеры ячеек от 35 ´ 35 до 45 ´ 45 мм.
Решетки промышленных аппаратов могут быть дырчатыми с живым сечением S0 от 14 до 22% с ромбической разметкой на расстоянии l, а также трубчатыми с диаметром труб
20 - 32 мм и промежутками между ними bт = 3,0 ¸ 6,5 мм при S0 = 13,0 ¸ 18.2%. Аппараты с трубчатыми решетками обозначаются ПАСС-Т,
а с дырчатыми - ПАСС-Д [4, 5].
4. фильтры
Под тонкодисперсной пылью понимают пыль или агломераты с размером частиц
не менее 5 мк. Для очистки воздуха от тонкодисперсной пыли в настоящее время
применяют в основном пористые и электрические аэрозольные фильтры [3].
Пористые аэрозольные фильтры бывают:
1) сухие - волокнистые, тканевые и
губчатые;
2) мокрые - волокнистые и масляные;
электрические аэрозольные фильтры подразделяют на:
1) коронно-разрядные;
2) электростатические с фильтрующим
материалом;
3) электретные.
4.1 Пористые аэрозольные фильтры
Пористыми фильтрами принято называть пылезадерживающие устройства,
действие которых основано на осаждении и удерживании взвешенных в газе частиц
на поверхности фильтрующих элементов при соприкосновении частиц с этими
поверхностями. Размеры отверстий для прохода воздуха в пористых фильтрах
значительно превышают размеры удерживаемых частиц.
Осаждение пылевых частиц в пористых фильтрах определяется рядом факторов,
например, эффектом зацепления, инерционного выпадения частиц из криволинейных
потоков, гравитационное и диффузионное осаждение частиц на стенках каналов
фильтра и др.
Эффективность пористых фильтров зависит от: размера омываемой воздухом
поверхности, способности этой поверхности удерживать осевшие частицы, характера
траектории и скорости движения частиц при их прохождении через фильтрующие
элементы и т. д. [3].
4.1.1 Сухие пористые фильтры
Волокнистые фильтры. Типичными пористыми волокнистыми фильтрами являются
кассетные сменные фильтры. Кассета фильтра обычно состоит из металлической
зажимной рамки (каркаса) и фильтрующего элемента. Филльтрующую набивку этих
фильтров после запыления не регенерируют. В качестве фильтрующего материала
используют различные сорта пористой бумаги, стеклянное волокно, легкую
искусственную или хлопчатобумажную ткань и пр.
Кассетные фильтры являются фильтрами тонкой очистки, они рассчитаны на
малую начальную запыленность воздуха, примерно до 2 мг/м3. В
зависимости от назначения эти фильтры могут иметь различный коэффициент очистки
и соответственно разное сопротивление.
Кассетный бумажный фильтр представляет собой металлический каркас,
выполненный из уголковой стали и присоединенный к установочной раме.
Фильтрующий материал (алигнин) накладывают на металлическую сетку и зажимают
упругими гребенчатыми вставками.
Фильтровальная бумага, которую используют для кассетных фильтров, представляет
собой сгруппированные и соединенные вместе волокна из целлюлозы, хлопка,
асбеста, стекла или силона и т. д. Асбестовые волокна добавляют для улучшения
фильтрующих свойств бумаги.
Бумажные фильтры могут состоять из одного или нескольких фильтрующих
слоев. Современные кассетные фильтры из стекловолокна представляют собой пакет,
две стенки которого выполнены из стальной решетки. Пакет заполняют тонким
эластичным стекловолокном. Коэффициент очистки таких фильтров составляет в
зависимости от плотности набивки при работе на тонкодисперсной пыли (размер
частиц до 10 мк) от 70 до 95 %. Эти фильтры используются в установках
искусственного климата и кондиционерах.
Тканевые фильтры. По форме фильтрующей поверхности тканевые фильтры
делятся на рукавные и рамочные. В промышленности наиболее распространены
рукавные или мешочные фильтры.
Рукавные фильтры имеют круглое или овальное сечение. При работе овальный
фильтр становится круглым, при выключении вентилятора он вновь приобретает
исходную форму, что облегчает удаление пыли.
Рукавный фильтр состоит из рядя тканевых рукавов, подвешенных в
металлической камере. Запыленный газ поступает в нижнюю часть аппарата и
проходит через ткань рукавов. На поверхности ткани в ее порах осаждается пыль.
По мере увеличения толщины слоя пыли возрастает сопротивление фильтра
прохождению газа, а поэтому осевшую на ткани пыль следует периодически удалять.
В качестве фильтрующего материала для тканевых фильтров применяют
шерстянку Мелстроя, шерстяную фланель, шерстяную байку, полушерстяную саржу.
Хорошими заменителями шерстяных тканей являются красный вельветон,
пестротканная фланель, замша, фильтр-прессный холст и др. в силу высокой
стоимости шерстяные фильтры применяют сравнительно редко.
Шерстяные ткани позволяют очищать газы с температурой не выше 80 °С, а хлопчатобумажные ткани пригодны
для фильтрации газов с еще более низкой температурой (60 - 65 °С).
Очистка ткани от пыли достигается в рукавных фильтрах механическим
встряхиванием рукавов автоматическим устройством или механическим встряхиванием
рукавов с одновременной обратной продувкой их очищенным газом или воздухом.
Губчатые фильтры. В качестве фильтрующего материала для губчатых фильтров
применяют пенополиуретан (полиуретановый поропласт), представляющий собой
полимерный материал губчато-сотовой структуры. Товарный пенополиуретан обладает
большим аэродинамическим сопротивлением, так как его поры разделены тонкими
упругими перегородками. Для использования в воздушных фильтрах этот материал
необходимо предварительно обрабатывать раствором щелочи, чтобы разрушить
перегородки между порами и тем самым повысить его воздухопроницаемость. От пыли
пенополиуретан очищается водой и используется неоднократно [3].
4.1.2 Мокрые пористые фильтры
Волокнистые фильтры. Очистительное устройство из мокрых волокнистых
фильтров включает обычно один или несколько фильтрующих элементов, за которыми
расположен сепаратор капель. Эти элементы изготавливают из стеклянных и в виде
исключения металлических, например, алюминиевых, волокон. Толщина волокон
составляет 50 - 250 мк; чаще всего используют волокна толщиной 150 мк. Толщина
фильтрующих элементов достигает иногда 200 мк.
Фильтрующие элементы орошаются либо со стороны поступающего загрязненного
газа, т.т. прямоточно, либо со стороны выходящего газа - противоточно. При
противоточном обрызгивании фильтрующего элемента происходит значительный унос
капелек потоком газа. Поэтому в очистительных устройствах с одним фильтрующим
элементом необходимо использовать прямоточное орошение, а при нескольких элементах,
следующих один за другим, прямоточное орошение рекомендуется применять перед
последним фильтрующим элементом.
Линейная скорость движения воздуха через мокрые волокнистые фильтрующие
элементы значительно выше, чем через сухие волокнистые фильтры.
Для орошения фильтрующих элементов применяют систему разбрызгивания воды
под небольшим давлением. При этом важно обеспечить полное и наиболее
равномерное смачивание водой фильтрующего элемента.
Рис. 17. Самоочищающийся масляный фильтр шторчатого
типа
Чтобы предотвратить унос газом капелек разбрызгиваемой воды, за последним
элементом помещают сепаратор, в большинстве случаев в форме жалюзийных решеток.
Масляные фильтры. Кассетные фильтры, имеющие в качестве фильтрующего
элемента смоченную маслом металлическую сетку, известны очень давно и находят
широкое применение. Существует множество различных модификаций фильтров этого
типа, отличающихся друг от друга формой и размерами кассеты и ее заполнением.
Для смачивания фильтрующих поверхностей применяют различные минеральные и реже
растительные масла.
Наряду с кассетными масляными фильтрами широкое распространение у нас и
за рубежом получили самоочищающиеся масляные фильтры (рис.17). Фильтрующим элементом
самоочищающихся масляных фильтров является, как и в кассетных фильтрах,
металлическая сетка, смоченная маслом. Отличительной особенностью этих фильтров
является то, что регенерация фильтрующих элементов осуществляется здесь
непрерывно в процессе работы фильтра. Эта особенность самоочищающихся фильтров
обеспечивает им существенные эксплуатационные преимущества: постоянные
сопротивление и коэффициент очистки и значительно большую пылеемкость.
Самоочищающиеся масляные фильтры состоят из непрерывно движущейся
фильтрующей панели и масляной ванны. При прохождении через ванну панель
отмывается от пыли и, которая постепенно оседает на дно ванны. Для заполнения
ванны применяют веретенное, вазелиновое или парфюмерное масло. Эффективность
очистки воздуха достигает 90 - 98 %. На рис. 17 показана движущаяся панель
фильтра шторчатого типа, который состоит из плотно перекрывающих друг друга
металлических звеньев-шторок, подвешенных к двум непрерывным цепям и покрытых
маслом. Запыленный воздух, проходя через них, оставляет на их поверхности
частицы пыли [3].
4.2 Электрические аэрозольные фильтры
4.2.1 Коронно-разрядные фильтры
Действие коронно-разрядных фильтров основано на использовании коронного
разряда. Коронно-разрядные фильтры делятся на две основные группы:
1. однозонные электрофильтры, в которых
процесс ионизации газа с помощью коронного разряда и процесс осаждения
заряженных частиц осуществляется в одной зоне;
2. двухзонные электрофильтры (рис. 18),
в которых зарядка и осаждение частиц разделены: в первой зоне расположена
коронирующая, а во второй - осадительная система.
Однозонные электрофильтры в зависимости от формы осадительных электродов
подразделяют на трубчатые и пластинчатые. В трубчатых электрофильтрах газ
движется в вертикальном направлении. По осям труб располагаются проволочные
коронирующие электроды круглого или иного сечения.
В пластинчатых электрофильтрах осадительными электродами являются
пластины, расположенные на расстоянии 250 - 300 мм друг от друга. Между
осадительными пластинами располагаются проволочные коронирующие электроды.
Двухзонные электрофильтры изготовляют в виде отдельных ячеек, которые
монтируют в секции, рассчитанные на определенную производительность. Секции
устанавливают в одном корпусе. Запыленный воздух сначала проходит через
коронирующую систему, где частицы получают ионный заряд того же знака, что и
коронирующие электроды, а затем через осадительную систему [3].
4.2.2 Электретные фильтры
Схематический вариант электретного фильтра приведен на рис. 19. В
принципе этот фильтр представляет собой систему плоских или концентрических
щелей, образованных электретными поверхностями, несущими заряды чередующейся
полярности.
Между поверхностью электрета и ограничивающими его электродами действует
сильное электрическое поле. Максимальная величина этого поля может составлять
33 кВ/см, т. е. быть равной пробивной прочности окружающего электрет воздуха
при нормальном атмосферном давлении.
После пропускания определенной порции запыленного газа поверхности
электрета и электрода очищают от прилипших к ним частичек пыли, так как под
действием слоя пыли электрическое поле в зазоре может перестать действовать
[3].
4.2.3 Мокрые электрофильтры
Мокрые электрофильтры предназначены для очистки от смолы, масляных
туманов и пыли генераторных и коксохимических газов. Они рассчитаны на работу
при температуре до 50 °С и
давлении до 40 кПа или разрежении до 5 кПа. Аппараты - вертикальные,
однопольные, односекционные со стальным корпусом цилиндрической формы.
Осадительные электроды трубчатой формы. Электрофильтры изготавливают двух
типоразмеров с активным сечением 5 и 7,2 м2.
Электрофильтр ПГ-8 предназначен для очистки от пыли и смолы газов,
образующихся при газификации углей; для очистки газов, используемых в газовых
турбинах, для синтеза аммиака, спиртов, обогрева коксовых печей и др.
Электрофильтр оборудован устройством, через которое продувают пар или газ для
удаления взрывоопасных газовых смесей при пуске и остановке [5].
Как следует из приведенного выше, для очистки от тонкодисперсной пыли находят
применение различные по устройству фильтры, имеющие особенности:
1. Из пористых воздушных фильтров
наиболее эффективными являются волокнистые фильтры. Однако вследствие
значительного аэродинамического сопротивления конструктивное их исполнение позволяет
допускать нагрузки до 4000 м3/(м2 . ч) и в некоторых
типах фильтров при различной фильтрующей поверхности - до 8000 м3/(м2
. ч). Как правило, волокнистые фильтры являются фильтрами однократного
действия, т. е. после запыления их не регенерируют.
2. Тканевые фильтры имеют высокий
коэффициент очистки и в то же время большое аэродинамическое сопротивление. Они
рассчитаны на очистку газов с большой начальной запыленностью
3. Губчатые воздушные фильтры имеют
незначительное аэродинамическое сопротивление, но по степени очистки относятся
к фильтрам III класса, то есть эффективно
улавливают пыль с размером частиц свыше 10 мк.
4. Мокрые волокнистые фильтры достаточно
эффективно улавливают тонкодисперсную пыль, однако очистка их от пыли не
представляется возможной.
5. Масляные фильтры Рекка и масляные
самоочищающиеся фильтры используют в основном как фильтры первой ступени
очистки. Эффективность их сравнительно невысокая. Кроме того, при эксплуатации
масляных фильтров происходит срыв капелек масла, которые загрязняют
оборудование.
6. Электрофильтры обладают целым рядом
преимуществ по сравнению с другими известными устройствами по обеспыливанию
воздуха. Они способны очищать до 1 млн. м3 газов в 1 ч при любой
концентрации взвешенных частиц. Электрофильтры работают как при атмосферном,
так и при другом давлении. Их можно выполнять из материалов, стойких к
кислотам, щелочам и другим агрессивным веществам. Эффективность очистки газов
таким образом очень высока. Эти устройства способны улавливать как сухие, так и
мокрые частицы размером менее 0,001 мк. При этом они обеспечивают высокий
коэффициент очистки при сравнительно небольшом аэродинамическом сопротивлении.
Установки безопасны в эксплуатации и могут быть полностью автоматизированы.
Однако используемые в настоящее время электрофильтры имеют ряд
недостатков. Они плохо улавливают тонкодисперсные частицы с небольшим удельным
электрическим сопротивлением, так как частицы, попадая на осадительный
электрод, перезаряжаются и уносятся газовым потоком из электрофильтра. При
большом же удельном электрическом сопротивлении частиц пыли может произойти
обратная корона.
Электрофильтры очень чувствительны даже к незначительному изменению
режима их эксплуатации. Они могут работать лишь при невысокой скорости
очищаемого газа. Кроме того, они ненадежны при очистке агрессивных и
высокотемпературных газов и не позволяют улавливать пыль в месте ее
образования. К тому же все еще высока их стоимость.
7. Электростатические фильтры с
фильтрующим материалом позволяют достичь более высокого коэффициента очистки,
чем при использовании обычных фильтров, или при том же коэффициенте очистки
значительно снизить аэродинамическое сопротивление последних. Однако применение
этих фильтров затруднено вследствие сложности их конструктивного выполнения.
8. Электретные фильтры пока еще не нашли
широкого применения в промышленности [3].
5. некоторые инженерные разработки
5.1 Система двухэтапной очистки
газовых пылевых выбросов
Рис. 20. Схема
пылеулавливающей установки
В настоящее время разрабатываются новые высокоэффективные и экономичные
аппараты сухой сепарации с возможностью возврата уловленной пыли в
технологический процесс. Одной из таких разработок является пылеулавливающая
установка ДЕКО-2ПУ (рис. 20), предназначенная для очистки газовых (воздушных)
потоков от промышленной пыли. Установка обладает низкой энергоемкостью и
металлоемкостью, характеризуется максимальной надежностью, а технические
характеристики остаются постоянными в течение всего периода эксплуатации. Таких
результатов достигают за счет того, что входной патрубок подключен к
пылевыпускному патрубку первого аппарата, в результате чего происходит
высвобождение чистого воздуха из запыленного потока с целью создания
оптимальной запыленности потока. Первый пылеулавливающий аппарат состоит из
цилиндрического корпуса, тангенциального входного 2, выходного 3 и
пылевыпускного 4 патрубков и конусообразной обечайки 5, расположенной концентрично
внутри нижней конической части корпуса 1, в результате чего образуется
кольцевой зазор. Входной патрубок 7 второго пылеулавливающего аппарата 6
подсоединен к пылевыпускному патрубку 4 первого пылеулавливающего аппарата, а
выходной патрубок 8 - к входному патрубку 2 первого аппарата. Пылевыпускной
патрубок 9 второго аппарата подсоединен к пыленакопительному бункеру 10 с
патрубком 11 выгрузки пыли.
Между входным патрубком 8 второго пылеулавливающего аппарата 6 и входным
патрубком 2 первого пылеулавливающего аппарата располагается основное
тягодутьевое устройство 12 (вентилятор или дымосос).
Запыленный газовый поток поступает через тангенциальный входной патрубок
2 внутрь цилиндрического корпуса 1, где приобретает винтообразное движение и
направляется в нижнюю часть корпуса. Под действием центробежных сил частицы
пыли перемещаются к стенке корпуса. Пристеночный слой газового потока, имеющий
максимальную концентрацию пыли, попадает в кольцевой зазор между конусообразной
обесчаткой 5 и конической частью корпуса 1. Отсюда частицы пыли с частью
газового потока удаляются через пылевыпускной патрубок 4. Далее запыленная
часть газового потока из первого аппарата поступает во второйпылеулавливающий
аппарат 6, где обеспыливается и направляется в газовый поток, перемещаемый
тягодутьевым устройством. Выделенная из газового потока пыль собирается в
пыленакопительном бункере.
Установка ДЕКО-2ПУ обеспечивает высокую степень сепарации пыли независимо
от фракционного состава и массы, отличается простотой конструкции, малыми
размерами, минимальными трудозатратами при обслуживании и опорожнении
накопительных бункеров и высокой степенью очистки воздуха [6].
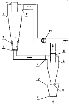
5.2 Пылеуловитель для мелкодисперсной
пыли на основе центробежной и инерционной сепарации
Сочетание центробежный и инерционных процессов, на основе которых
работает пылеуловитель (рис. 21), позволяет значительно повысить степень
улавливания мелкодисперсных частиц из газового потока за счет снижения
вторичного уноса пыли.
Рис. 21. Конструкция
пылеуловителя
Запыленный газ через входной патрубок 6 поступает в завихрительное
устройство 2, в котором расположены определенного профиля лопатки 5,
способствующие закручиванию газопылевого потока. Особое расположение входного
патрубка обеспечивает сохранение высокой скорости газа (до 20 м/с) в верхней
части аппарата в отличие от обычных циклонов.
Отделение частиц пыли в закрученном потоке происходит под действием
центробежных сил в пространстве между корпусом 1 и экраном 8, установленным под
завихрителем 2. Очищенный газ дважды изменив свое направление, поступает в
патрубок вывода 7. Установка экрана соответствующей геометрии повышает
эффективность пылеулавливания за счет лучшей аэродинамики потока в верхней
части аппарата и снижает вторичный унос, предотвращая попадание отскочивших от
корпуса частиц в поток очищенного газа. Отделившаяся пыль по стенке корпуса под
действием силы тяжести поступает в нижнюю часть корпуса и собирается в бункер
9.
Проведенные испытания показали, что при использовании описанного выше
пылеуловителя вторичный унос пыли по сравнению с существующей системой
пылеочистки (циклон ЦН-15) снизился в 1,5 раза, а общая степень очистки
составила 98,5 % [7].
Заключение
Каждый из представленных в работе методов пылеочистки рассмотрен
достаточно детально, выявлены его недостатки и достоинства, даны краткие
технические характеристики и описаны основные виды аппаратов, применяемых в
конкретном случае.
После анализа этих методов можно сделать вывод, что наиболее эффективным
из них является очистка промышленных выбросов от пыли с использованием
электрических пылеуловителей. Однако аппаратурное оформление этого метода
требует больших капитальных затрат и наличия высококвалифицированного
обслуживающего персонала.
В целом работа отвечает поставленной задаче - раскрытию и описанию
применяемых методов пылеочистки.
Литература
1. Основы химической технологии / Под
ред. проф. И.П. Мухленова. М.: Высшая школа, 1991, с. 218, с. 246 - 261.
2. Луканин В.Н., Трофименко Ю.В.
Промышленно-транспортная экология. М.: Высшая школа, 2001. с. 54 - 55.
3. Лившиц М.Н. «Электронно-ионная
очистка воздуха от пыли в промышленности строительных материалов». М.:
Стройиздат, 1968. С. 7 - 38.
4. Коузов П.А., Малыгин А.Д., Скрябин
Г.М. Очистка от пыли газов и воздуха в химической промышленности. Л.: Химия,
1982, с. 9-13, с. 34-83.
5. Кузнецов Д.А. Общая химическая
технология. М.: Высшая школа, 1965. С. 64 - 89
6. Друцкий А.В., Смольский М.В.. Система
двухэтапной очистки газовых пылевых выбросов. / Экология и промышленность
России, № 3, 2003 г., с. 12-13.
7. Н.И. Володин, А.Н. Панков, А.В.
Чудновцев, О.М. Пискунов. Очистка газовых потоков от мелкодисперсной пыли. /
Экология и промышленность России, № 9, 2001 г., с. 20-22.