Аналіз імпеллерної флотаційної установки

  • Вид работы:
    Контрольная работа
  • Предмет:
    Экология
  • Язык:
    Русский
    ,
    Формат файла:
    MS Word
    75,97 kb
  • Опубликовано:
    2010-11-05
Вы можете узнать стоимость помощи в написании студенческой работы.
Помощь в написании работы, которую точно примут!

Аналіз імпеллерної флотаційної установки













Розрахункова робота №2

Тема роботи: Аналіз імпеллерної флотаційної установки

Загальні відомості

Застосування імпеллерних установок доцільно при очищенні стічних вод з великою (до 2…3г/л) концентрацією нерозчинених забруднень і густиною приблизно 1000 кг/м3, які зустрічаються в потоках нафто-, жировмісних і ряду інших вод.

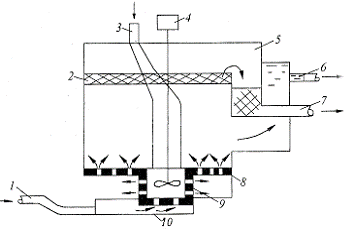
В імпеллерних установках утворення бульбашок повітря у водному середовищі здійснюється турбіною (імпеллером) діаметром di . Імпеллер розміщується в статорі, який представляє собою циліндр з верхньою і нижньою кришками. Вода підводиться по трубі до нижньої частини статора (рис.2), де всмоктується в нього через отвори із загальною площею So.

Рис.2. Схема імпеллерної однокамерної флотаційної установки: 1 - подача забрудненої води; 2 - піна; 3 - подача повітря; 4 - привід імпллера; 5 - пінозбірник; 6 - відвід очищеної води 7 - відвід піни; 8 - решітка; 9 - статор; 10 - приймальна кишеня

Повітря подається через верхню кришку. Після перемішування цих двох фаз імпеллером водоповітряна суміш виходить через отвори в стінках та верхній кришці і за допомогою направляючих решіток розподіляється по всій площі флотаційної камери. Напір, з яким вода входить в отвори статора, дорівнює висоті стовпчика водоповітряної суміші, що знаходиться у флотаційній камері.

Зона обслуговування одним імпеллером не повинна перевищувати розміри квадрата із стороною 6di . Глибина води у флотаційній камері hст , тривалість флотації τ, витрати стічної води, що надходять на очищення Q.

Вихідні дані для розрахунку установки:

Q=1,2 тис м3/год

hст=2,2 м

di=55 см

τ=14 хв

γвп=730 кг/м3

So=0,07 м2

Розв’язок

1. Розрахункова глибина флотаційної камери дорівнює

Нф=1,1 hстНф=1,1 2,2=2,42 (м)

2. Кількість води, що засмоктується турбіною, становить

де μ - коефіцієнт витрати води (0,65);

So - загальна площа отворів, крізь які вода надходить до турбінки, м2;

g - прискорення вільного падіння, м2/с; (g=9,8)

Н - напір, під яким вода надходить у турбіну, м, який в свою чергу визначається за формулою:

Н=γвп·Нф·103,м,

де γвп- густина водно-повітряної суміші, кг/м3.

H=730·2.42·10-3=1.77 (м)

=0,268

3. Об'єм флотокамери становить

Vф=q·τ , м3,

де τ - час перебування води в камері, с

Vф=0,268·14 60=225,12 (м3)

4. Площа поверхні камери дорівнює


=93,02 (м2)

5. Площу поверхні, що обслуговується однією турбіною, визначають за формулою:

S1=36d2S1=36·0,552=10,89

6. Тоді число турбін становитиме

n=S/S1n==8,54=9

7. Об'єм повітря, що засмоктується турбіною за 1 секунду становить


W=40·93,02=3720,8 (м3/год)

де Qn - витрата повітря на одиницю площі S, яка зазвичай дорівнює 40...50 м3/м2год.

8. Необхідну кількість флотаційних камер знаходять за формулою:


Отриману розрахункову кількість камер округлюють до цілого числа.

Похожие работы на - Аналіз імпеллерної флотаційної установки

 

Не нашли материал для своей работы?
Поможем написать уникальную работу
Без плагиата!
Без нейросетей!