Анализ возможностей использования сорбентов при очистке сточных вод

  • Вид работы:
    Дипломная (ВКР)
  • Предмет:
    Экология
  • Язык:
    Русский
    ,
    Формат файла:
    MS Word
    1,05 Mb
  • Опубликовано:
    2010-08-03
Вы можете узнать стоимость помощи в написании студенческой работы.
Помощь в написании работы, которую точно примут!

Анализ возможностей использования сорбентов при очистке сточных вод

Содержание

Введение

Глава 1. Литературный обзор

1.1 Полимерные нанокомпозиты на основе природных слоистых силикатов (слоистосиликатные нанокомпозиты)

1.2 Методы синтеза полимерных нанокомпозитов на основе слоистых силикатов

1.3 Структура полимерных нанокомпозитов на основе монтмориллонита

1.4 Свойства полимерных нанокомпозитов

1.5 Адсорбционные свойства глинистых минералов

Глава 2.Методика эксперимента

2.1 Методы исследования. Оборудование и реактивы

2.1.1 Рентгенографический метод

2.1.2 Рентгенофлуоресцентный метод. Теоретические основы и практика применения

Глава 3. Обсуждение результатов

3.1 Изучение сорбционных характеристик полимерно-глинистых сорбентов по отношению к ионам тяжёлых металлов в статическом режиме

3.1.1 Исследование сорбционных характеристик сорбентов по отношению к ионам W(VI) и Mo(VI)

3.1.2 Исследование сорбционных характеристик сорбентов по отношению к ионам свинца

Выводы

Список литературы

Введение

Наиболее сложным объектом очистки являются сточные воды с примесью тяжелых металлов. Большинство тяжелых металлов, поступающих в водоемы, отличаются канцерогенным, мутагенным и терратогенным действием.

Современные технологии не обеспечивают эффективной очистки сточных вод от тяжелых металлов. Их содержание в жидких отходах в 10-20 раз превышает ПДК. После реагентной обработки, чаще всего применяемой на предприятиях, остаточное содержание металлов достигает 1-5 мг/л, при ПДК для большинства металлов 0,1 - 0,001 мг/л.

Решение этой проблемы в значительной мере связано как с несовершенством существующей технологии, так и с неэффективностью применяемых способов очистки сточных вод промышленных предприятий. Требуются дополнительные меры по доочистки сточных вод как от органических, так и не органических компонентов, без которых практически невозможно создание оборотных циклов и замкнутых систем водоснабжения промышленных предприятий или сброса стоков без экологического ущерба.

Выбор оптимального экологически безопасного технологического процесса очистки промышленных сточных вод - это сложная задача.

Наиболее перспективным способом очистки сточных вод является сорбционная технология, широко применяемая в промышленно развитых странах. Для её реализации в нашей стране необходимы доступные, дешевые, легко регенерируемые или утилизируемые сорбенты, среди которых особое положение занимают сорбенты на основе глинистых минералов.

Целью настоящей работы являлось исследование сорбционных характеристик новых сорбентов на основе природных минералов и полиэлектролитов по отношению к ионам тяжелых металлов и выявление возможности их использования для решения экологических проблем.

Глава 1. Литературный обзор

1.1 Полимерные нанокомпозиты на основе природных слоистых силикатов (слоистосиликатные нанокомпозиты)

Одним из перспективных направлений в науке о полимерах и материаловедении последних лет является получение органо-неорганических полимерных нанокомпозитов, обладающих заданным комплексом свойств [1]. Нанокомпозиты объединяют в себе такие химические, физические и механические свойства, которые не могут быть достигнуты при введении неорганических наполнителей с макро- или микроскопической структурой.

Интеркаляция в неорганические слоистые материалы типа глинистых минералов - превосходный путь конструирования новых органо-неорганических наноансамблей - супрамолекулярных образований с оригинальной молекулярной структурой [2, 3]. Такой подход вызывает разносторонний интерес. Во-первых, предоставляется практическая возможность создания послоистых нанокомпозитов. Во-вторых, он важен своей необычной интеркаляционной физикохимией и ее проявлением в приобретении системами улучшенных физико-химических свойств. Кроме того, изучение таких продуктов может дать важную информацию о природе химических взаимодействий в них, специфике адсорбции полимеров на наноразмерных частицах и т. п.

Полимерные нанокомпозиты на основе силикатов слоистого типа содержат молекулы полимера, внедренные в межслоевое пространство. В соединениях внедрения молекулы-«гости» со структурой «сандвича» и одномерные канальные вещества (тубулаты) располагаются в кристаллографических пустотах матрицы - «хозяина». Внедрение полимерных молекул, приводящее к «гибридам включения», может проходить в ходе замены гидратированных молекул, находящихся в межслоевом пространстве, молекулами полимеров, содержащих функциональные группы. Нанодисперсное распределение в этом случае достигается путем предварительной модификации поверхности неорганического материала - слоистого силиката.

Природные слоистые силикаты, обычно используемые в нанокомпозитах в качестве наномерных частиц, принадлежат к структурному семейству типа 2:1. В слоистых силикатах тина 2:1 октаэдрическая сетка заключена между двумя сетками кремнекислородных тетраэдров. Главные элементы структуры - кремнекислородный ион SiO4 и алюмокислородный ион Аl (О, ОН)6 [4, 5]. Строение природных глин, особенно ММТ, и их основные физико-химические свойства, природа активной поверхности изучены давно и достаточно детально [6].

Кристаллы ММТ состоят из чередующихся слоев катионов и отрицательно заряженных слоев силикатов (рис.1). Каждый слой находится на расстоянии от другого слоя, определяемом ван-дер-ваальсовыми силами, и образует межслоевое пространство или галерею. Галереи, как правило, содержат катионы, компенсирующие отрицательный заряд, сформированный изоморфной заменой атомов, образующих кристалл (Mg2+ на месте AI3+ в монтмориллоните или Li+ вместо Mg2+ в гекторите). В основном это катионы гидратированных щелочных или щелочноземельных металлов.

Рис.1. Структура слоистого силиката

Частичный положительный заряд, сформированный на каждом катионе внутри галереи, делает его гидрофильным. Монтмориллонит, например, обладает значительной энергией гидратации. Благодаря этому в галереях может удерживаться большое количество молекул воды, что в свою очередь позволяет нейтрализовать частичный заряд за счет ион-дипольного взаимодействия [7].

Гидрофильность алюмосиликатов является причиной их несовместимости с органической полимерной матрицей - это основная проблема, которую приходится преодолевать при создании полимерных нанокомпозитов.

Модификация алюмосиликатов может быть осуществлена путем замещения неорганических катионов внутри прослоек органическими катионами. Замещение катионными поверхностно-активными веществами, такими, как объёмные аммоний- и фосфоний-ионы, увеличивает пространство между слоями, уменьшает поверхностную энергию глины и придает поверхности глины гидрофобный характер [8].

Рис.2. Схема, представляющая процесс катионообменной реакции между силикатом и алкиламмониевой солью

В результате образуется органический/неорганический материал, называемый «интеркалированным гибридом», а метод получения, основанный на этом принципе, стал известен как ион-дипольный метод [9, 10].

Впервые в истории человечества «интеркалированный гибрид» на основе глины и мочевины был получен при производстве раннего китайского фарфора [11].

Ориентация органических катионов алкиламмония (N+R1) в межслоевом пространстве различных слоистых силикатов определяется силами, действующими на них со стороны заряженных слоев и соседних катоинов [12,13]. Для уточнения характера взаимодействия адсорбированных органических катионов с поверхностью слоистых силикатов активно использовали ИК-спектроскопию [12]. Например, ИК-спектр дециламмоний вермикулита в области 400-3400 см-1 помимо полос, свойственных чистому вермикулиту и соответствующих колебаниям дециламмония показал широкую полосу поглощения валентных колебаний NH3 в области 3000-3200 см-1, свидетельствующую об образовании этой группой водородных связей с атомами кислорода силикатной группы [14]. ИК- исследования, проведенные для октиламмонийвермикулита [14] показали, что полоса деформации колебаний группы N+H3 обнаруживает зависимость интенсивности от угла падения лучей, вызванную тем, что связь N-C в цепи катиона ориентирована перпендикулярно силикатным слоям. В образце, в котором помимо катиона были адсорбированы и нейтральные молекулы аминов, эта зависимость не проявлялась, из чего следует, что ориентация молекул не являлась строго упорядоченной. В целом расположение катионов сложной формы зависит от строения самого катиона [15]. Был проведен анализ рентгенограмм образцов вермикулита с катионами, имеющими сложную форму (образцы получали заменой в группе N+H3 атомов водорода на объемные группы CnH2n+1, CH2CH=CCl-CH3); анализ показал, что величина межплоскостного расстояния не зависела ни от количества, ни от длины углеводородной цепи катионов [15]. Вследствие стерических затруднений сила электростатического взаимодействия органического катиона с анионной силикатной структурой уменьшается. Поэтому энергетически более выгодным для катионов является плоское расположение на кислородсодержащей поверхности силикатного слоя [15].

Полученные таким образом модифицированные глины широко применяют в красителях, косметике и смазочных материалах, используемых при бурении скважин.

Одно из самых ранних систематических исследований взаимодействия между алюмосиликатным слоистым минералом и макромолекулами относится к 1949 г., когда было описано поглощение ДНК монтмориллонитом (ММТ) [16]. Последний удерживался в галереях алифатическими цепями, иммобилизованными на силикатной поверхности.

В 1960 г. Усков обнаружил, ПММА выше температуры стеклования взаимодействует с монтмориллонитом, модифицированным октадециламмонием [17]. В 1961 г. Blumstein [18] при полимеризации винилового мономера in situ получил полимер, внедренный в межслоевое пространство монтмориллонита.

Двумя годами позже Greenland использовал систему поливиниловый спирт-монтмориллонит с целью доказательства того, что полимер может самостоятельно внедряться в межслоевое пространство из водного раствора [19]. В 1975 году Tanihara и Nakagawa получили аналогичный результат при интеркаляции полиакриламида и полиэтиленоксида из водного раствора [20].

Наряду с ионными органическими модификаторами глин могут быть использованы неионные модификаторы, которые связываются с поверхностью глины за счет водородных связей. В некоторых случаях органоглины, полученные с использованием неионных модификаторов оказываются более химически стабильными, чем органоглины, полученные с использованием катионных модификаторов (см. рис. 2) [21].

Как видно, наименьшая степень десорбции (рис.4.) наблюдается в случае неионного взаимодействия между поверхностью глины и органического модификатора. По всей видимости, водородные связи, образованные между этиленоксидной группой и поверхностью глины делают эти органоглины химически более стабильными, чем ОМСС полученные по ионному механизму.

Таким образом, создание нанокомпозитов сводится к взаимодействию между полимером и неорганической фазой. В результате образуются материалы с уникальными свойствами, которыми не обладают обычные полимеры.

Несмотря на обширность проведенных исследований, первая производственная программа была реализована только в 1988 г. в Японии в Центральной научно-исследовательской лаборатории промышленного концерна “Toyota” [22]. Тогда методом предварительного внедрения ε-капролактама в межслоевое пространство с последующей его полимеризацией in situ был синтезирован и изучен полимерный нанокомпозит на основе полиамида - найлон-6.

Современное состояние исследований в области нанокомпозитов на основе слоистых силикатов достаточно полно отражены в обзорах Mulhaupt [23, 24], Giannelis [25], Lagaly [26], Frisch [27] и Gilman [28].

1.2 Методы синтеза полимерных нанокомпозитов на основе слоистых силикатов.

Одно из интереснейших и перспективных направлений в науке о полимерах и материаловедении последних лет - разработка принципов получения полимерных нанокомпозитов.

Различают 3 вида полимерных гибридов с нанодисперным распределением слоистого силиката (рис.5): Первый из них - традиционный микрокомпозит, в котором частицы наполнителя сохраняют исходные размеры (несколько микрометров). Такой материал образуется, если молекулы полимера не проникают между слоями силиката. Другой материал - нанокомпозит с интеркалированной структурой, реализуемой в том случае, когда молекулы полимера внедряются в межслоевое пространство частиц силиката. При этом увеличивается межплоскостное расстояние, но сохраняется упорядоченная слоистая структура частиц. И, наконец, третий материал - эксфолиированный нанокомпозит с расслоением частиц силиката на единичные нанослои, диспергированные в полимерной матрице. В зависимости от условий синтеза, а также при неоднородности структуры компонентов возможно образование смешанных композитов, содержащих указанные выше структуры в различных пропорциях.

Рис.5. Схематическое представление структуры композита, содержащего слоистый силикат

Существуют следующие основные способы получения нанокомпозитов на основе полимеров и слоистых алюмосиликатов: интеркаляция полимера или преполимера из раствора или расплава и интеркаляционная полимеризация in situ (рис. 6).

Наиболее распространенный способ получения полимер-силикатных нанокомпозитов - это механическое смешение расплава полимера с модифицированным органическими катионами слоистым силикатом.

интеркаляция мономера полимеризация in situ

Рис. 6. Схема получения нанокомпозитов in situ методом:

- слоистый силикат; · - мономер.

При этом достигается интеркаляция частиц полимеров (интеркалированные системы), и только часть частиц слоистых силикатов расслаивается на единичные слои наноразмерной толщины. В результате улучшаются физико-механические характеристики, как, например, в случае полистирольных, полиэтиленоксидных, полипропиленовых композиций [29-31]. При получении этим методом полиолефиновых композитов наполнитель модифицируют малеиновым ангидридом [32] или проводят сополимеризацию олефина с полярным сомономером [33-36]. Модифицирование повышает совместимость полимера со слоистым силикатом.

Другой метод получения нанонаполненных полимеров - прямой синтез материала путем интеркаляционной полимеризации, т.е. синтез матричного полимера непосредственно в межслоевом пространстве частиц силиката. При этом полимеризации подвергается мономер или олигомер. Метод позволяет получить действительно эксфолиированные системы с принципиальным изменением физических и механических свойств исходного полимера. Например, модуль упругости, прочность, теплостойкость, барьерные свойства композиций найлон-6 с монтмориллонитом увеличиваются в два раза по сравнению с исходным полимером [37, 38].

Интеркаляционный метод эффективен и при полимеризации полярных мономеров, в частности, для получения нанокомпозитов эмульсионной полимеризацией. Так, например, при достижении полного диспергирования натриевой формы монтмориллонита в воде были получены нанокомпозиты на основе полиметилметакрилата, полистирола, сополимера стирола и акрилонитрила [39-45], поливинилового спирта (ПВС) [46,47], полиэтиленоксида (ПЭО) [48-52], полиакриловой кислоты (ПАК) [48], поливинилпирролидона (ПВП) [53].

Другой подход к синтезу нанокомпозитов «полистирол-монтмориллонит» предложен в [54]: инициатор «живой» радикальной полимеризации закрепляли в межслоевом пространстве решетки силиката путем катионного обмена с ионами натрия, что позволило осуществить полимеризацию стирола непосредственно в межслоевом пространстве силиката с последующей эксфолиацией частиц этого наполнителя под действием образующегося полимера.

Сообщается о применении метода интеркаляционной полимеризации для синтеза нанокомпозитов на основе полиэтилентерефталата [55-58], полиимида [165], а также термореактивных полимерных матриц. Так, в [59-62] изучали влияние типа слоистых силикатов и их модификаторов, отверждающих агентов и условий полимеризации на структуру и свойства нанокомпозитов на основе эпоксидных смол.

1.3 Структура полимерных нанокомпозитов на основе монтмориллонита

В настоящее время в качестве основного способа исследования структуры нанокомпозитов используется метод РСА. Влияние интеркалированного полимера на упорядоченность структуры силиката отражается на изменении интенсивности и формы основных спектральных линий, а степень упорядоченности - на амплитудном диапазоне. Из этого можно сделать вывод о компланарности алюмосиликатных слоев в полученном гибриде.

По значению угла 2Ө определяют размер пакета алюмосиликата. Пакет состоит из слоя глины и межслоевого пространства. Его размер увеличивается в ряду от исходного силиката до полимерного нанокомпозита, за счет увеличения межслоевого пространства. В среднем, для монтмориллонита размер пакета равен 1,2-1,5 нм, а для ОМСС - 1,8-3,5 нм.

Возможности РСА, однако, не позволяют получить информацию относительно пространственного распределения силиката в полимерной матрице и форме гибрида, так как все данные являются усредненными. Кроме того, некоторые слоистые силикаты не имеют ярко выраженных базовых пиков, что затрудняет определение интенсивности и формы пиков при сравнении исходного и интеркалированного силиката. Для более глубокого рассмотрения этой задачи используются атомно-силовая микроскопия (АСМ), сканирующая электронная микроскопия (СЭМ) и просвечивающая электронная микроскопия (ПЭМ) [64 - 66].

Дополнительную информацию об интеркалированном гибриде можно получить, используя метод ДСК [67]. Ограничение подвижности интеркалированных полимерных цепей отражается в изменении их вращательной и поступательной подвижности. Аналогичная ситуация наблюдается в сетчатых полимерах, где ограничения подвижности полимерных цепей приводят к увеличению температуры стеклования Тс.

Недавно было предложено использование метода твердофазной спектроскопии ЯМР 13С для характеристики полученных нанокомпозитов. При этом данные ЯМР, объединенные с данными РСА и ДСК, способствовали определению структурных различий между гибридами [68, 69]. Для исследования фазового состава полимера в композитах используют также метод КР [70].

1.4 Свойства полимерных нанокомпозитов

Как уже отмечалось, органически-модифицированные слоистые силикаты являются перспективными нанонаполнителями, которые улучшают механические свойства ряда полимеров, в которых они были диспергированы. Многочисленные исследования подчеркивают уникальные комбинации физико-механических и термических свойств этих материалов уже при низком содержании (обычно менее 5 % масс.) неорганического компонента. К таким свойствам относятся повышенный модуль упругости Юнга [71-73], пониженная газопроницаемость [74, 75], улучшенные тепловые и огнеупорные свойства, высокая ионная проводимость [76, 77] и более низкий коэффициент теплового расширения [78]. Повышенные барьерные свойства нанокомпозиционных материалов обусловлены тем, что силикатные слои непроницаемы для молекул жидкости и газа. Поэтому коэффициент диффузии у нанокомпозитов глина-полимер уменьшается в несколько раз по сравнению с коэффициентом диффузии исходных полимеров. Увеличение размера силикатных пластин приводит к снижению проницаемости [79]. Коэффициент термического расширения также существенно уменьшается при добавлении даже небольшого количества глины (2-3 %) к полимерной матрице, так как жесткие слои силиката плохо деформируются и препятствуют тепловому расширению связанного с ними полимера. Отмечено, что нанокомпозиты, содержащие глину, имеют более высокую температуру разложения, чем чистый полимер, и, следовательно, являются более термоустойчивыми. Показано, что при содержании глины в полимерах около 5 % масс, наблюдается заметное снижение скорости горения, снижается тепловыделение и увеличивается зольность. Природа и процессы, происходящие при горении нанокомпозитов на основе полимеров и глин, подробно описаны обзоре [80].

Возможность регулирования электропроводности полиэтиленоксида (ПЭО) исследована в работе [79]. Нанокомпозит, полученный интеркаляцией из расплава ПЭО (40 масс. %) в Li-монтмориллонит (60 масс. %), демонстрирует повышенную стабильность ионной электропроводности при более низких температурах по сравнению с обычной смесью ПЭО/ Li-монтмориллонит. Такое улучшение свойств объясняется тем, что ПЭО не способен кристаллизоваться в интеркалированном состоянии, вследствие чего исчезают кристаллиты, имеющие непроводящую природу. Более высокая ионная электропроводность при комнатной температуре по сравнению с обычными электролитами делает эти нанокомпозиты перспективными электролитными материалами.

Способность к сорбции и ионному обмену нанокомпозитов на основе полиакриламидного геля и бентонита натрия изучена в работе [82].

Проведенный анализ показывает, что, интеркаляция полимеров в межслоевые пространства неорганических материалов - активно и плодотворно развивающееся направление. Интеркаляционная химия предоставляет практически неограниченные возможности для конструирования органо-неорганических нанокомпозитов гибридного типа.

В настоящее время обнаружены основные явления, сопутствующие процессам формирования таких материалов, выявлены основы их структурной организации и очерчены потенциальные свойства, особенно для использования в современных перспективных областях.

В то же время многие проблемы, касающиеся механизмов внедрения и взаимодействий «гость-хозяин», еще до конца непонятны. Не всегда очевидны кинетические и термодинамические закономерности, определяющие полноту заполнения базального пространства, как мономером, так и звеньями цепей полимера.

По сравнению с обычными неионогенными полимерами в случае полиэлектролитов появляется целая гамма дополнительных факторов (диссоциация, специфическое и неспецифическое связывание ионов, электростатические и гидрофобные взаимодействия и т.п.), которые могут резко влиять на межфазные явления при создании полимерных нанокомпозитов на основе слоистых силикатов и ионогенных водорастворимых полимеров. Именно сложность подобных нанокомпозитов обеспечивает их подчас уникальные свойства как материалов, предназначенных для использования в различных сферах, и естественно стимулирует и, несомненно, оправдывает интерес исследователей к проблеме синтеза и механизма образования этого класса полимерных соединений.

1.5 Адсорбционные свойства глинистых минералов

Для глин, особенно монтмориллонитовых, следует разграничивать внешнее адсорбционное пространство (внешняя поверхность, ограничивающая размер частицы) и внутреннее адсорбционное пространство (внутренняя поверхность между слоями частицы). При характеристике адсорбционной способности монтмориллонитовых глин целесообразно учитывать, что вещества в зависимости от химической природы могут адсорбироваться по различным механизмам. Так, углеводороды способны адсорбироваться главным образом во внешнем адсорбционном пространстве, а вода и ряд других полярных веществ адсорбируются как во внешнем, так и во внутреннем адсорбционном пространстве.

Пористость монтмориллонитов обусловлена кристаллической структурой и ее дефектами и вторичной пористой структурой, причем микропоры в результате внутрислоевой адсорбции могут преобразовываться в переходные.

Как известно, глины являются одним из важнейших видов минерального сырья, нашедшего широкое применение в строительной, керамической, бумажной, резиновой, пластмассовой, пищевой, нефтеперерабатывающей промышленности и др. Однако свойства природных глин часто приводят к ограничению их практического применения. В связи с этим заслуживают большого внимания исследования по модифицированию свойств глин, что является частью большой области работ, касающихся модифицирования свойств твердых тел. Важные исследования по влиянию химического модифицирования на адсорбционные свойства твердых тел проведены М. М. Дубининым, А. В. Киселевым, Ф. Д. Овчаренко, И. Е. Неймарком, В. Т. Быковым, Н. Н. Грязевым, 3. Г. Зульфугаровым, М. С. Мерабишвили и др. Известно, что адсорбционные свойства глин могут быть существенно изменены в результате химического модифицирования. Причем условно можно говорить о «мягком» и «жестком» химическом модифицировании. В первом случае в основном происходит модифицирование поверхности («внешней» и «внутренней»), а во втором - кроме природы поверхности значительно изменяется и пористость.

К процессам мягкого модифицирования можно отнести модифицирование глин неорганическими и органическими катионами, силикоорганическими соединениями, азотсодержащими и другими веществами. Яркий пример жесткого модифицирования - обработка глин растворами сильных неорганических кислот. Этот процесс получил название «кислотной активации». Результаты ранних исследований по взаимодействию глин с органическими веществами приведены в известных монографиях Р. Е. Грима [83] и Ф. Д. Овчаренко [84], в обзоре Р. В. Михалюка [85], сборниках [86, 87] и других публикациях. Глины используют в качестве наполнителей для различных продуктов (резин, пластмасс и др.), загустителей смазок водных и неводных растворов для бурения и т. д. Применение глин делает необходимым гидрофобизацию частиц глины, так как очевидно, что чем выше у глинистой частицы сродство к органической среде, тем лучше она может совмещаться с органическими материалами.

Модифицирование монтмориллонитовой глины может проявляться в изменении химической природы внешней и внутренней кремнекислородной поверхности частицы, вытеснении межслоевой воды и обмене катионов щелочных (щелочноземельных) металлов на органические или на другие неорганические катионы. При взаимодействии монтмориллонитов (бентонитов) с органическими веществами получаются органомонтмориллониты (органобентониты) или так называемые глинистые органокомплексы.

Исследовательские работы в этом направлении были начаты еще в 30-х годах нашего столетия. В настоящее время в некоторых странах уже налажено промышленное получение органоглин.

Работа по химическому модифицированию авторами работы [88] проводилась на приходных и активированных глинах. Асканского и Гумбрийского месторождений. Были применены методы ионного обмена и непосредственного взаимодействия между бентонитами и силикоорганическими и азотсодержащими органическими соединениями. Природный и активированный гумбрин обрабатывали подкисленным раствором фтористого аммония. Для выяснения влияния модифицирования на адсорбционные свойства была изучена адсорбция паров воды, бензола и н-гептана методом кварцевых микровесов [89]. Ниже приведены некоторые результаты экспериментальных исследований. Модифицирование методом ионного обмена было проведено 0,1 N растворами ряда неорганических солей [90].

На основании работ [91, 92] и в соответствии с ранее полученными результатами других исследователей [93] можно сделать заключение, что адсорбционная способность по парам воды, определяющая гидрофильность природных глин, существенно зависит от рода неорганических катионов. Таким образом, некоторая доля из общего количества молекул воды в процессе адсорбции связывается с катионами. Здесь наблюдается определенный адсорбционный ряд катионов. Причем введение двухвалентных катионов приводит к росту адсорбционной способности глин по парам воды.

Для всех исследованных авторами [93] катионных форм монтмориллонитов на изотермах адсорбции наблюдается петля гистерезиса, распространяющаяся на всю область относительных давлений. На адсорбционный процесс влияет набухание адсорбента в результате межслоевого поглощения паров воды.

Катионное модифицирование в определенной мере влияет и на адсорбционную способность по парам бензола (табл. 1).

Таблица 1

Адсорбционная способность асканглин по парам бензола и воды при 20° С

Асканглина

Бензол (p/ps = 0,17)

Вода (p/ps = 0,17)


а, ммоль/г

u, см3/г

а, ммоль/г

u, см3/г

Природная

0,327

0,029

4,932

0,089

Li+-форма

-

-

1,830

0,033

Na+-форма

0,361

0,032

5,542

0,100

K+-форма

0,383

0,034

3,880

0,070

«H»+-форма

0,518

0,046

5,210

0,094

«H(NH4)»+-форма

0,541

0,048

4,932

0,089

Ba2+-форма

0,439

0,039

6,430

0,116

Mg2+-форма

-

-

0,154

Ca2+-форма

0,406

0,036

9,590

0,173


Разница между адсорбционными объемами по парам воды и парам бензола измеряет объем адсорбционного пространства, связанный с набуханием глины.

Необходимо отметить, что при модифицировании глин неорганическими катионами пористость глин практически не изменяется.

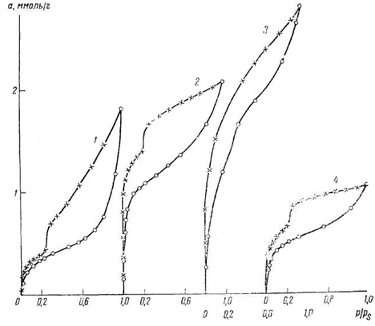
Интересные данные были получены авторами [93] при модифицировании глин растворами йодистого тетраметиламмония. В этом случае замена неорганических ионов на органический катион приводит к существенному росту адсорбционной способности по парам бензола. При этом изотермы адсорбции характеризуются адсорбционным гистерезисом, распространенным на всю область относительных давлений, чего не наблюдается для природной асканглины. Обращает на себя внимание то, что максимум адсорбционной способности по парам бензола наблюдается у образцов, которые были обработаны 0,4%-ным водным раствором тетраметиламмония. Можно допустить, что при использовании более концентрированных растворов происходит не только ионный обмен, но и «молекулярная сорбция» тетраметиламмония, т. е. эквивалентная адсорбция [(CH3)4N]+- и J-- ионов. В результате такого процесса уменьшается эффективный объем адсорбционного пространства (рис. 8).

Рис. 8. Изотермы адсорбции паров бензола на асканглинах: 1 - природная асканглина; асканглина, модифицированная различными растворами йодистого тетраметиламмония: 2 - 0,1%; 3 - 0,2%; 4 - 0,4%; 5 - 1%

Несколько увеличена адсорбционная способность модифицированной глины и по парам воды в области малых и средних давлений. Однако если относительное давление стремится к единице, адсорбция снижена. Как видно из рисунка 9, петля адсорбционного гистерезиса значительно сужена, и набухание ограничено.

Рис. 9. Изотермы адсорбции паров воды при 20° С на природной асканглине (1) и глине, модифицированной 0,4%-ным раствором йодистого тетраметиламмония (2)

Результаты авторов статьи [93] в основном хорошо согласуются со сравнительно недавно опубликованными данными Беррера и Бруммера [94], которые изучили адсорбционную способность уомингского бентонита (США), модифицированного растворами метиламмоний- и тетраметиламмонийгалогенидов. Было замечено повышение адсорбционной способности аминированных глин по парам гептана и бензола в области малых и средних давлений. В отношении паров воды адсорбционная способность повышена в области малых и средних давлений и существенно понижена при дальнейшем росте относительного давления.

В результате протекания ионообменной реакции катионы аммонийных оснований «раскрывают» межслоевое пространство (которое является внутренним адсорбционным пространством) и делают его доступным для молекул углеводородов. В результате наблюдается повышение адсорбционной способности по углеводородам от малого до среднего относительного давления. Сильное набухание адсорбента исключено, так как слои как бы скреплены, и межслоевое пространство ограничено.

Повышение адсорбционной способности по парам воды, по-видимому, является результатом увеличения адсорбционного потенциала (адсорбционного сродства) по отношению к молекулам воды.

Своеобразная картина влияния модифицирования на адсорбционные свойства наблюдается в случае непосредственного взаимодействия с глинами силикоорганических и азотсодержащих органических соединений. Для примера приведем данные по модифицированию глин некоторыми хлорсиланами. Модифицирование проводилось путем соприкосновения порошкообразной высушенной глины с парами кремнийорганических соединений при 20°С в течение 10 суток. После этого образцы глин промывали дистиллированной водой до удаления ионов хлора и сушили [95]. У природной асканглины, модифицированной силикоорганическими соединениями, повысилось адсорбционное сродство в области низких и средних давлений по парам бензола, н-гептана и азота. Полный объем адсорбционного пространства практически не изменился (табл. 2).

Несколько иная картина наблюдалась при исследовании адсорбции паров воды. Пары воды адсорбируются на модифицированной природной асканглине лучше, чем на природной глине в области малых и средних давлений. Полный объем адсорбционного пространства для модифицированных глин значительно снижен (см. табл. 2). По-видимому, ограничен процесс набухания, т. е. сильного (интенсивного) внедрения молекул воды в межслоевое пространство. Такое поведение модифицированной глины может быть обусловлено своеобразным скреплением (сшиванием) алюмосиликатных слоев, препятствующим после определенного заполнения адсорбционного пространства увеличению параметра решетки с. Изотермы адсорбции паров азота (при -196° С) на модифицированных образцах природной асканглины приведены на рис. 10.

Таблица 2

Адсорбционный объем асканглины u (см3/г) по парам н-гептана, бензола и воды при 20° С

Асканглина

н-Гептан

Бензол

Вода


p/ps


0,129

0,98

0,17

0,98

0,40

0,98

Природная

0,026

0,158

0,029

0,165

0,089

0,397

CH3Si3+ - форма

0,027

0,145

0,034

0,158

0,141

0,325

(CH3)2Si2+- форма

0,033

0,158

0,037

0,165

0,114

0,262

(CH3)2Si+ - форма

0,029

0,159

0,034

0,156

0,090

0,230

C2H5Si3+ - форма

0,032

0,131

0,033

0,156

0,104

0,258

(C2H5)2Si2+ - форма

0,027

0,157

0,164

0,092

0,217


Модифицирующее действие азотсодержащих органических соединений существенно зависит от их химической природы. Так, в случае применения для модифицирования 2%-ных растворов триэтил- и этиламина полученный триэтиламинобентонит характеризуется повышенной адсорбционной способностью по парам бензола в области малых и средних давлений и пониженной адсорбционной способностью при p/ps ~ 1. Более существенное влияние на свойства глины оказывает этиламин, который повышает адсорбционную способность глины во всем интервале относительных давлений. Еще большее модифицирующее действие наблюдается во время применения солянокислого этиламина, что видно из приведенных на рис. 11 данных.

Значительное гидрофобизирующее действие оказывают высокомолекулярные амины. Это хорошо иллюстрируется изотермами, приведенными на рис. 12. Глины могут быть гидрофобизоваными и фтористыми соединениями. При обработке природного и активированного гумбрина подкисленным раствором фтористого аммония наблюдается понижение адсорбционной способности этих адсорбентов по парам воды (табл. 1.5). [93]

Рис 10. Изотермы адсорбции паров азота при -196°С на природной асканглине (О) и глине, модифицированной этилтрихлорсиланом (•), триметилхлорсиланом (´) и диметилдихлороиланом (D)

Рис. 11. Изотермы адсорбции паров бензола при 20° С на асканглинах: 1 - природная асканглина; глины, модифицированные алкиламинами: 2 - 2% (C2H5)NH2; 3 - 2% (C2H6)NH2Cl; 4 - 2%(C2H5)N

Рис. 12. Изотермы адсорбции паров воды на природной асканглине (1) и асканглине, модифицированной 10%-ным (2) и 20%-ным (5) растворами октадециламиноацетата

Степень гидрофобизации в этом случае меньше, чем при использовании органических гидрофобизаторов. Из приведенного выше материала ясно видно, что химическим модифицированием удается значительно гидрофобизировать природные пористые и высокодисперсные тела, а также увеличить их адсорбционные свойства.

Глава 2. Методика эксперимента

2.1 Методы исследования. Оборудование и реактивы

2.1.1 Рентгенографический метод

Под рентгенографическим анализом понимается совокупность разнообразных методов исследования, в которых используется рентгеновское излучение - поперечные электромагнитные колебания с длиной волны 10-2 - 102Å.

В методе используется монохроматическое рентгеновское излучение, обычно линии Кa-серии (возникающие при переходе электронов в атомах с L-оболочки на К-оболочку) металлов от хрома (обозначается CrKa) до молибдена (MoKa), длины волн которых лежат в интервале от 2,3 до 0,7 Å.

Применение рентгеновского излучения для исследования кристаллических веществ основано на том, что его длина волны сопоставима с расстоянием между упорядоченно расположенными атомами в решетке кристаллов, которая для него является естественно дифракционной решеткой. Сущность рентгеновских методов анализа как раз и заключается в излучении дифракционной картины получаемой при отражении рентгеновских лучей атомными плоскостями в структуре кристаллов.

В основе рентгенографического анализа лежит уравнение Вульфа-Брэгга, связывающее угол q падения или отражения на атомную плоскость рентгеновского луча с его длиной волны l и величиной межплоскостных расстояний d:

nl = 2d sinq,

где n - целое число (1, 2, 3…), называется порядком спектра или порядком отражения.

При дифрактометрической съемке угол q вычисляют по реперным отметкам, проставляемым автоматически на диаграммной ленте при съемке рентгенограммы через определенное число градусов (1; 0, 5;…). По найденным значениям q и известной длине волны l применяемого рентгеновского излучения определяют величины межплоскостного расстояния d, используя уравнение Вульфа-Брегга (величина n - порядок отражения - принимается в этом случае равной 1).

Оценка относительной интенсивности дифракционных максимумов при фотографической регистрации проводится по степени почернения пленки. Дифракционный максимум при регистрации на дифрактометре оценивается по высоте данного типа от точки его максимума до линии фона. Существует несколько шкал относительной интенсивности. При использовании качественной шкалы самый сильный пик оценивается как о.с. (очень сильный) или о.о.с. (очень сильный), а остальные пики как ср. (средний), сл. (слабый), о.сл. (очень слабый) и т.д. При использовании количественной шкалы наиболее интенсивному пику присваивается максимальный балл 10 (десятибалльная шкала) или 100 (стобалльная шкала), а интенсивности остальных пиков выражаются меньшими числами в зависимости от отношения их высоты к высоте максимального пика.

В рамках рентгенографического метода существует рентгенофазовый анализ, который в зависимости от решаемых задач подразделяют на качественный и количественный.

Задача качественного рентгенофазового анализа - идентификация природы кристаллических фаз, содержащихся в исследуемом материале. Анализ основан на том, что каждое индивидуальное кристаллическое соединение дает специфическую рентгенограмму с определенным набором линий (дифракционных максимумов) и их интенсивностью. В настоящее время имеются рентгенографические данные о большом числе известных кристаллических соединений, эталонные рентгенограммы которых приводятся в справочной литературе или отдельных публикациях. Сущность качественного рентгенофазового анализа сводится к сопоставлению экспериментально определенных значений межплоскостных расстояний (d, ) и относительных интенсивностей (I) линий в эталонными рентгенограммами. Если на полученной при исследовании образца рентгенограмме присутствуют дифракционные максимумы со значениями d и I, характерными для определяемого соединения, то это значит, что оно присутствует в исследуемом материале. Анализ естественно, облегчается, если известен хотя бы приблизительно химический состав исследуемого материала или предполагаемый минеральный состав. В этом случае круг веществ, рентгенографические характеристики которых необходимо сравнить с полученной рентгенограммой сужается. Идентификация фаз после получения рентгенограммы начинается с нахождения углов q и соответствующих им величин межплоскостных расстояний, а также относительных интенсивностей каждой линии. Интенсивность оценивается качественно или количественно например, по десяти- или стобальной шкале. Полученные данные рекомендуется сводить в таблицу. Для анализа выбирают наиболее интенсивную линию на рентгенограмме исследуемого материала (при наличии нескольких таких линий с одинаковой интенсивностью берут линию с наименьшей величиной (d, ) . По справочным эталонным рентгенограммам отбирают соединения, имеющие интенсивную линию с аналогичным значением d. Затем выбирают еще 2-3 интенсивные линии и в случае их совпадения с одной из эталонных рентгенограмм и сопоставляют все остальные линии. Если все линии эталонной рентгенограммы отвечают определенным линиям рентгенограммы исследуемого материала без существенных противоречий в их относительной интенсивности первое соединение можно считать найденным. Анализ продолжается до тех пор, пока все линии рентгенограммы не будут отнесены к определенным соединениям.

Аппаратурное оформление метода. В методе в основном используются автоматические дифрактометры типа ДРОН.

2.1.2 Рентгенофлуоресцентный метод. Теоретические основы и практика применения

Метод основан на зависимости интенсивности рентгеновской флуоресценции от концентрации элемента в образце. При облучении образца мощным потоком излучения рентгеновской трубки возникает характеристическое флуоресцентное излучение атомов, которое пропорционально их концентрации в образце. Излучение разлагается в спектр при помощи кристалл-анализаторов, далее с помощью детекторов и счетной электроники измеряется его интенсивность. Математическая обработка спектра позволяет проводить количественный и качественный анализ.

Рентгеновская флуоресценция

Когда атомы образца облучаются фотонами с высокой энергией - возбуждающим первичным излучением рентгеновской трубки, это вызывает испускание электронов. Электроны покидают атом. Как следствие, в одной или более электронных орбиталях образуются "дырки" - вакансии, благодаря чему атомы переходят в возбужденное состояние, т.е. становятся нестабильны. Через миллионные доли секунды атомы возвращаются к стабильному состоянию когда вакансии во внутренних орбиталях заполняются электронами из внешних орбиталей. Такой переход сопровождается испусканием энергии в виде вторичного фотона - этот феномен и называется "флуоресценция''. Энергия вторичного фотона находится в диапазоне энергий рентгеновского излучения, которое располагается в спектре электромагнитных колебаний между ультрафиолетом и гамма-излучением.

Различные электронные орбитали обозначаются K, L, M и т.д., где К - орбиталь, ближайшая к ядру. Каждой орбитали электрона в атоме каждого элемента соответствует собственный энергетический уровень. Энергия испускаемого вторичного фотона определяется разницей между энергией начальной и конечной орбиталей, между которыми произошел переход электрона.


Длина волны испускаемого фотона связана с энергией формулой E = E1-E2 = hc/l , где E1 и E2 - энергии орбиталей, между которыми произошел переход электрона, h - постоянная Планка, с - скорость света, l - длина волны испускаемого(вторичного) фотона. Таким образом, длина волны флуоресценции является индивидуальной характеристикой каждого элемента и называется характеристической флуоресценцией. В то же время интенсивность (число фотонов, поступающих за единицу времени) пропорциональна концентрации (количеству атомов) соответствующего элемента. Это дает возможность элементного анализа вещества: определение количества атомов каждого элемента, входящего в состав образца.

Управление анализом и вычисление концентраций

Анализ и обработка результатов измерений проводится в автоматическом режиме. Для этого разработаны методики анализа многих элементов для различных типов веществ. Методики реализованы в виде компьютерных программ. Во время измерения компьютер управляет всеми узлами спектрометра в соответствии с заданной программой анализа. Современный уровень надежности оборудования и устройство автоматической подачи образцов позволяют выполнять анализ непрерывно круглосуточно без участия оператора. По окончании измерений компьютер выполняет расчет концентраций. Результаты анализа передаются электронными средствами связи автоматически по указанным адресам, либо накапливаются в базе данных измерений для дальнейшей обработки.

Для количественного определения концентрации металлов были построены калибровочные кривые на W, Mo, Pb.

Глава 3. Обсуждение результатов

3.1 Изучение сорбционных характеристик полимерно-глинистых сорбентов по отношению к ионам тяжелых металлов в статическом режиме

Изучение сорбционной способности в статических условиях проводили с использованием модельных водных растворов солей металлов свинца, молибдена, вольфрама с концентрацией 1 г/л. Загрузку сорбентов брали из расчета 100 мл модельного раствора на 0,5 г композита. В качестве объектов исследований были выбран композит состава монтмориллонит с метакрилатом гуанидина (ММТ/МАГ) 50:50. Исследования проводили при комнатной температуре.

Измерения массовой концентрации металлов в пробах воды до и после обработки композитами проводили рентгенофлюресцентным анализом на автоматизированном дифрактометре ДРОН-6 в центре коллективного пользования КБГУ «Рентгеновская диагностика материалов».

3.1.1 Исследование сорбционных характеристик сорбентов по отношению к ионам W(VI) и Mo(VI)

В связи с тем, что в Кабардино-Балкарии имеется комбинат по добыче вольфрамомолибденовой руды и завод по гидрометаллургической переработке вольфрамомолибденового сырья более подробно изучена сорбционная способность композитов по отношению к ионам шестивалентного вольфрама и молибдена.

Извлечение ионов W(VI) и Mo(VI) из водного раствора композитами оценивалось следующими параметрами:

концентрацией ионов в исходном растворе и в очищенной водной фазе, мг/л;

степенью извлечения металла, %.

Для поддержания необходимого значения рН использовали соляную, азотную и серную кислоты и гидроксид натрия. Исходную концентрацию вольфрама и молибдена в растворах создавали на уровне 50-60 мг/л.

Результаты изучения сорбции ионов вольфрама и молибдена представлены на рис. 13,14.

Как видно из рисунков, композит обладает высокими сорбционными возможностями по отношению к изученным ионам. В ходе экспериментов нами установлено, что оптимальные условия сорбции для W(VI) - рН ≈ 4,5; для Мо(VI) - рН ≈ 4,8.

Степень извлечения Мо из модельного раствора составила 65 %, вольфрама 70 %.

3.1.2 Исследование сорбционных характеристик сорбентов по отношению к ионам свинца

В настоящее время промышленность всего мира переживает очередной этап преобразований, связанных с ужесточением экологических стандартов - происходит всеобщий отказ от свинца. Германия существенно ограничила его использование с 2000 г., Голландия - с 2002 г., а такие европейские страны, как Дания, Австрия и Швейцария, вообще запретили использование свинца. Эта тенденция станет общей для всех стран ЕС в 2015 г. США и Россия также активно развивают технологии, которые помогут найти альтернативу применению свинца. Большинство ведущих корпораций ставят отказ от свинца в списки первоочередных задач.

И все же глобальный переход на беcсвинцовые технологии - это задача пусть не очень далекого, но все же будущего. Дело в том, что опасность свинца для окружающей среды и здоровья человека парадоксальным образом сочетается с его исключительной значимостью для современной промышленности.

Свинец - во многом идеальный металл, ведь он обладает массой важных для промышленности достоинств. Наиболее очевидное из них - сравнительная легкость его получения из руд, которая объясняется низкой температурой плавления (всего 327°С).

Как говорили древние, любая монета имеет две стороны. Несмотря на все свои достоинства, свинец вреден для здоровья человека, а его широкое применение в промышленности привело к тому, что свинцовое загрязнение можно обнаружить повсюду.

Доказано, что повышение содержания свинца в питьевой воде обуславливает, как правило, увеличение его концентрации в крови. Значительное повышение содержания этого металла в поверхностных водах связано с его высокой концентрацией в сточных водах рудообогатительных фабрик, некоторых металлургических заводов, шахт и т.д.

По результатам официальной статистики, среди профессиональных интоксикаций свинцовая занимает первое место. Свинец вызывает обширные патологические изменения в нервной системе, нарушает деятельность сердечно-сосудистой и репродуктивной систем.

В связи с этим, представлялось важным исследовать сорбционные возможности новых сорбентов по отношению к ионам свинца. Результаты исследований показали фильтратов и твердой фазы сорбенты после выдерживания в модельном растворе показали, что сорбенты эффективно сорбируют свинец из модельных растворов.

Таким образом, результаты исследований показали, что изученные полимерно-глинистые композиты обладают высокими сорбционными характеристиками по отношению к изученным ионам и представляют существенный практический интерес для использования в экологических технологиях связанных с регенерацией загрязненных водоисточников.

Выводы

Впервые изучены сорбционные характеристики композиционных материалов на основе монтмориллонита и метакрилата гуанидина

Показано, что композиты на основе глинистых минералов и полиэлектролитов обладают высокими сорбционными характеристиками по отношению к изученным металлам.

Установлено, что степень извлечения ионов вольфрама, молибдена и свинца композитами достигает 50-70% в слабокислой и нейтральной среде.

Выявлена возможность использования новых полимерно-глинистых композитов для концентрирования металлов из разбавленных растворов.

Литература

1.       Помогайло А.Д. // Высокомолек. соед. 2006, Т.48. №7, С. 1318

2.       Polymer-Clay-Nanocomposites/Ed. By Pinnavaia T.J., Beall G. New York: Wiley, 2000.

3.       Polymer Nanocomposites: Synthesis, Characterization, and Modelong. ACS Symp. Ser. 804/ Ed. By Krishnamoorti R., Vaia R.A. Washington. DC.: Am. Chem. Soc., 2001.

4.       Грим P. E. Минералогия глин. М., Изд-во иностранной литературы,

5.       1959.

6.       Kryszewski M. Nanointercalates - novel class of materials with promising properties// Synthetic Metals. - 2000. - V. 109. - P. 47-54.

8.       Lagaly G., Pinnavaia T.J.// Appl. Clay Sci. 1999. V.15. P.312.

9.       Blumstein R., Parikh K.K., Malhotra S.L.//J. Polym.Sci. 1971. V.9. P.1681.

10.     Beall G.W., Tsipursky S.J.// Chemistry and Technology of Polymer Additives/ Ed. By Al-Malaika S., Golovoy A., Wilkie C.A. Oxford: Blackwell Science Ltd., 1999. Ch.15.

11.     Weiss A.//Angew. Chem. Int. Ed. 1963. B.2. S.697.

12.     Шаркина Э.В. Строение и свойства органоминеральных соединений. Киев: Наукова думка, 1976.

13.     Shi H., Lan T., Pinnavaia T.J.//Chem.Mater. 1996. V.8. P.1584.

14.     Segermann E.//J.Am. Chem. Soc. 1970. V.68.P.1946.

15.     Greenland D.J., Laby R.H., Quirk I.P.//Trans. Faraday Soc. 1965. V.61. P.2031.

16.     Bower C.A.// Iowa Agricultural Experiment Station Research Bull. 1949. V.362. P.39.

17.     Усков И.А. //Высокомолек. соед. 1960. Т.2. №6. С.926.

18.     Blumstein A. // Bull. Chem. Soc. 1961. P. 889

19.     Greenland D.J. //J. Coll. Sci. 1963. V. 18. P. 647.

20.     Tanihara K., Nakagama M.//Nippon Kagaku Kaishi. 1975. V.5. P. 782.

21.     Y.H. Shen. Chemosphere, 2001. Ch. 44. P.989-995

22.     Okada A., Fukoshima Y., Inagaki S., Usuki A., Sugiama S., Kurashi T., Kamigaito O. Pat. 4739007 USA. 1988.

23.     Zilg C., Dietsche F., Hoffman B., Dietrich C., Mulhaupt R.//Proc. Eur. Conf. “Eurofiller 99”. Villeurbanne, France, 1999. P. 110.

24.     Zilg C., Reichert P., Dietsche F., Engelhardt T., Mulhaupt R.// Kunstoffe.1998. V.88. P.1812.

25.     Giannelis E.P.//Adv. Mater.1996. V.8. P.29.

26.     Lagaly G., Pinnavaia T.J.// Appl. Clay Sci. 1999. V.15. P.312.

27.     Frisch H.L., Mark J.E.//Chem. Mater.1996. V.8. P.1736.

28.     Gilman J.W., Kashiwagi T., Nyden M.R., Brown J.E.T., Jackson C.L., Lomakin S.M., Giannelis E.P., Manias E.// Chemistry and Technology of Polymer Additives/Ed. By Ak-Malaika S., Golovoy A., Wilkie C.A. Malden, MA: Blackwell Sci. Inc.1999. Ch.14. P. 249.

29.     Sikka M., Cerini L.N., е.а. J. Polym. Sci. B, 1996, v. 34, p. 1443.

30.     Manias E., Touny A., Wu L., Strawhecker K., Lu B., Chung T.C. /Chem. Mater. 2001. V. 13. P. 3516.

31.     Kawasumi M., Hasegawa N., Kato M., Usuki A., Okada A. /Macromoleculs, 1997. V. 30. P. 6333.

32.     Vaia R.A., Sauer B.B., Tse O.K., Giannelis E.P. /J. Polym. Sci. B. 1997. V. 35. P. 59.

33.     Tjong S.C., Meng Y., Hay A.S. /Chem. Mater.2002. V.14. P.44.

34.     Wang K.H., Chung I.J., е.а. Macromoleculs 2002. V. 35. P. 5529.

35.     Kojima Y.., Usuki A., Kawasumi M., Okada A., Kurauchi T., Kamigaito O./ J. Polym. Sci. A. 1993. V. 31. P. 1755.

36.     Kojima Y., Usuki A., Kawasumi M., Okada A., Kurauchi T., Kamigaito O. /J. Appl. Polym. Sci. 1993. V. 49. P. 1259.

37.     Lee D.C., Jang L.W. J. Appl. Polym. Sci., 1996, v. 61, p. 1117.

38.     Noh H., Lee D.C. Ibid., 1999, v. 74, p. 2811.

39.     Bandyopadhyay S., Giannelis E.P. Polym. Mater. Sci. Eng., 2000, v. 82, p. 208.

40.     Choi Y.S., Choi M.H., Wang K.H., Kim S.O., Kim Y.K., Chung I. J. Macromolecules, 2001. V. 34. P. 8978.

41.     Choi Y.S., Xu M.Z., Chung I. J. Polymer, 2005. V. 46. P. 531.

42.     Wang D., Zhu J., You Q., Wilkie C.A. Chem. Mater., 2002. V. 14. P. 2837.

43.     Greenland D.J., Adsoption of polyvinylalcohols by montmorillonite, J. Colloid Sci., v. 18, 1963, p. 647-664.

44.     Ogata N., Kawakage S., Ogihara Т., Poly(vinyl alcohol)-clay blend prepared using water as solvent, J. Appl. Polym. Sci., v. 66, 1997, p. 573-581.

45.     Parfitt R.L., Greenland D.J., Adsoфtion of poly(ethylene glycols) on montmorillonites, Clay Mineral, v.8. 1970. p. 305-323.

46.     Zhao X., Urano K., Ogasawara S., Adsoфtion of polyethylene glycol from aqueous solutions on montmorillonite clays. Colloid Polym. Sci., v. 67, 1989, p. 899-906.

47.     Ruiz-Hitzky E., Aranda P., Casal В., Galvan J.C., Nanocomposite materials with controlled ion mobility, Adv.Mater., v. 7, 1995, p. 601 - 620.

48.     Billingham J., Breen C, Yarwood J., Adsoption of polyamine, polyacrylic acid and polyethylene glycol on montmorillonite: an in situ study using ATRFTIR, Vibr. Spectrosc, v. 14, 1997, p. 19-34.

49.     Levy R., Francis C.W., Interlayer adsoфtion of polyvinylpyrrolidone on montmorillonite, J. Colloid Interface Sci., v. 50, 1975, p. 442-450.

50.     Weimer M., Chen H., Giannelis E., Sogah D. J. Am. Chem. Soc., 1999, v. 121, p. 1615.

51.     Ke Y., Long C., Qi Z. J. Appl. Polym. Sci., 1999, v. 71, p. 1139.

52.     Sekelik D.J., Nazarenko S.S., Schiraldi D, Hiltner A., Baer E. J. Polym. Sci. Part B: Polym. Phys., 1999, v. 37, p. 847.

53.     Davis C.H., Mathias L.J., Gilman J.W., Schiraldi D.A., Shields J.R., Trulove P., Sutto T.E., Delong H.C. Ibid., 2002, v. 40, p. 2661.

54.     Imai Y., Nishimura S., Abe E. е.а. Chem. Mater., 2002, v. 14, p. 477.

55.     Leu C.M., Wu Z.W., Wei K.H. Ibid., 2002, v. 14, p. 3016.

56.     Messersmith P.B., Giannelis E.P. Ibid., 1994, v. 6, p. 1719.

57.     Lan T., Pinnavaia T.J. Ibid., 1994, v. 6, p. 2216.

58.     Lan T., Kaviratna P.D., Pinnavaia T.J. Ibid., 1995, v. 7, p. 2144.

59.     Wang Z., Lan T., Pinnavaia T.J. Ibid., 1996, v. 8, p. 2200.

60.     Wang Z., Pinnavaia T.J. Ibid., 1998, v. 10, p. 1820.

61.     Burnside S.D., Giannelis E.P.//Chem.Mater.1995. V.7. P. 1596.

62.     Arada P., Ruiz-Hitzky E.//Adv.Mater.1990. V.2. P.545.

63.     Arada P., Ruiz-Hitzky E.//Chem.Mater.1992.V.4.P.1395.

64.     Wu J., Lerner M.M.// Chem. Mater. 1993. V.5. P.835.

65.     Tunney J.J., Detellier C.// Chem. Mater. 1996. V.8. P.927.

66.     Jeon H.G., Jung H.T., Hudson S.D.// Polym. Bull.1998. V.41. P.107.

67.     Fisher H.R. , Gielgens L.H.//Acta Polymerica. 1999. B.50. S.122.

68.     Vaia R.A., Ishii H., Giannelis E.P.//Chem.Mater.1993. V.5. P.1694.

69.     Vaia R.A., Vasudevan S., Krawiec W., Scanlon L.G., Giannelis E.P.//Adv.Mater. 1995. V.7. P.154.

70.     Vaia R.A., Jandt K.D., Kramer E.J., Giannelis E.P.//Macromolecules.1995.V.28.P.8080.

71.     Forte C., Geppi M., Giambertini S., Ruggeri G.,Veracini C.A., Mondez B.// Polymer.1998.V.39.№12. P.2651.

72.     Nikolaeva G. Yu., Prokhorov K.A., Pashinin P.P., Gordeev S.A. Analysis of the orientation of macromolecules in crystalline and noncrystalline areas of polyethylene by means of Raman scattering spectroscopy. // Laser Physics. 1999. V. 9. No. 4. P. 955-958.

73.     Kurauchi T., Okada A., Nomura T., Nishio T., Saegua S., Deguchi R.// SAE Technical Paper. Japan, 1991. Ser.910584.

74.     Giannelis E.P., Metrova V., Tse O., Vaia R.A., Sung T.// Proc. Int. Conf. Synthesis and Processing of Ceramics: Scientific Issues. Pittsburg, PA, 1992.

75.     Wang M.S., Pinnavaia T.J.//Chem.Mater. 1994. V.6.P.468.

76.     Vavia R.A. Giannelis E.P.//Macromolecules.1997.V.30. P.8000.

77.     Ruiz-Hizky E.// Adv.Mater.1993. V.3. P.334.

79.     Yano К., Usuki A., Okada A., Synthesis and properties of polyimide-clay hybrid films, J. Polym. Sci., A: Polym. Chem., v. 35, 1997, p, 2289-2294.

80.     Tortora M., Gorrasia G., Vittoriaa V., Gallib G., Ritrovatib S., Chiellinib E., Structural characterization and transport properties of organically modified montmorillonite/polyurethane nanocomposites. Polymer, v. 43,2002, p. 6147-6157.

81.     Микитаев А.К., Каладжян А.А., Леднев О.Б., Микитаев М.А., Давыдов Э.М.. Нанокомпозитные полимерные материалы на основе органоглин с повышенной огнестойкостью // Пластич.массы. - 2005. - №4. - C. 26-31.

82.     Ломакин С.М., Заиков Г.Е. Высокомолек. Соед. Б.2005.-Т47.№1- С.104-120.

83.     Евсикова О.В., Стародубцев С.Г., Хохлов А.Р. Синтез, набухание и адсорбционные свойства композитов на основе полиакриламидного геля и бентонита натрия. Высокомолек. Соед. Сер.А.2002. Т.44.№5 с.802-808.

84.     Ф. Д. Овчаренко. Гидрофильность глин и глинистых минералов. Киев, изд-во АН УССР, 1961.

85.     Г. В. Цицишвили, М. С. Шуакришвили, Д. Н. Барнабишвили. Адсорбнционные свойства химически модифицированных глин. В кн. В.Т. Быкова «Природные сорбенты». М.: Наука, 1967. с. 45-55.

86.     Р. В. Михалюк. Сб. «Бентонитовые глины Украины», ч. 2. Киев, Изд-во АН УССР, 1958, стр. 205.

87.     Сб. «Рентгеновские методы определения и кристаллическое строение минералов глин». М., ИЛ, 1955.

88.     Сб. «Рентгеновские методы изучения и структура глинистых минералов». М., изд-во «Мир», 1965, стр. 189.

89.     Г. В. Цицишвили, Д. Н. Барнабишвили. ДАН СССР, 92, 633 (1953).

90.     М. С. Шуакришвили, Г. В. Цицишвили. Труды Ин-та физической и органической химии им. П. Г. Меликишвили, 17, 25 (1963).

91.     R. М. Ваrrer, К. Вrummеr. Trans. Faraday Soc, 59, 959 (1963).

92.     Г. В. Цицишвили, М. С. Шуакришвили. Поверхностные явления на алюмосиликатах. Тбилиси, изд-во «Мецниереба», 1965.

93.     Д. Н. Барнабишвили, Г. В. Цицишвили, К. А. Бежашвили. Труды Ин-та физической и органической химии АН ГрузССР, 17, 37 (1968).

94.     Сб. «Бентонитовые глины Грузинской ССР». Под ред. проф. А. А. Твалчрелидзе. Тбилиси, 1970.

95.     Грунтоведение / Под ред. Е.М.Сергеева. М.: Изд-во МГУ, 1983.389 с.

Похожие работы на - Анализ возможностей использования сорбентов при очистке сточных вод

 

Не нашли материал для своей работы?
Поможем написать уникальную работу
Без плагиата!
Без нейросетей!