Хлорирование воды

  • Вид работы:
    Реферат
  • Предмет:
    Химия
  • Язык:
    Русский
    ,
    Формат файла:
    MS Word
    1,00 Mb
  • Опубликовано:
    2011-03-18
Вы можете узнать стоимость помощи в написании студенческой работы.
Помощь в написании работы, которую точно примут!

Хлорирование воды

Хлорирование воды

Для обеззараживания воды хлорированием на водоочистных комплексах используют хлорную известь, хлор и его производные, под действием которых бактерии, находящиеся в воде, погибают в результате окисления веществ, входящих в состав протоплазмы клеток. Хлор действует и на органические вещества, окисляя их.

Для качественного хлорирования необходимо хорошее перемешивание, а затем не менее, чем 30-минутный (при совместных хлорировании и аммонизации 60-минутный) контакт хлора с водой, прежде, чем вода поступит к потребителю. Контакт может происходить в резервуаре фильтрованной воды или в трубопроводе подачи воды потребителю, если последний имеет достаточную длину без водоразбора.

Дозу хлора устанавливают технологическим анализом из расчета, чтобы в 1 мл воды, поступающей к потребителю, осталось 0,3... 0,5 мг хлора, не вступившего в реакцию (остаточного хлора), который является показателем достаточности Принятой дозы хлора. При этом условии доза хлора при хлорировании фильтрированной воды составляет 2 ... 3 мг/л в зависимости от ее хлоропоглощаемости, а при хлорировании подземной воды — 0,7... 1 мг/л. При выключении на промывку или ремонт одного из резервуаров фильтрованной воды, когда не обеспечивается время контакта воды с хлором, доза хлора должна быть увеличена вдвое.

Хлорирование воды осуществляется жидким (газообразным) хлором. На малых водоочистных комплексах (до 3000 м3/сут) допускается применение хлорной извести. При плюсовых температурах и атмосферном давлении хлор представляет собой газ зеленовато-желтого цвета с удушливым запахом и плотностью, значительно большей, чем плотность воздуха (в 1,5... 2,5 раза в зависимости от температуры). При повышении давления (при плюсовых температурах) хлор переходит в жидкое состояние. В таком виде его перевозят и хранят в специальных стальных емкостях (при давлении 0,6...1,0 МПа).

Рис. 14.1. Баллон (а) и контейнер (б) для хлора.

1 — стальной корпус; 2 — кольцо горловины; 3 — колпак; 4 — запорный вентиль; 5 — сифонная трубка

В настоящее время заводы по производству хлора поставляют хлор в основном в баллонах двух типов: Е-24 (рис. 14.1, а) вместимостью до 25 ... 30 кг жидкого хлора и Е-54 с содержанием хлора до 100 кг и в бочках. На крупных водоочистных комплексах производительностью более 100 тыс. м3/сут хлор доставляют обычно в специальных железнодорожных цистернах вместимостью до 48 т жидкого хлора, а хранят его в бочках (рис. 14.1,6), которые в зависимости от размеров вмещают от 700 до 3000 кг жидкого хлора. Хлорное хозяйство должно обеспечивать прием, хранение, испарение жидкого хлора, дозирование газообразного хлора с получением хлорной воды.

Хлорное хозяйство располагают в отдельно размещаемых хлораторных, где сблокированы расходный склад хлора, испарительная и хлордозаторная. Расходный склад хлора можно размещать в отдельных зданиях или вплотную к хлораторной, отделяя его глухой стеной без проемов. Склад хлора в составе хлораторных можно не предусматривать, в этом случае в хлордозаторной разрешается хранение одного баллона жидкого хлора массой не более 70 кг. Хлордозаторные без испарителей, размещаемые в блоке с другими зданиями комплекса или вспомогательными помещениями хлорного хозяйства, отделяют от других помещений глухой стеной без проемов и оборудуют два выхода наружу, при этом один из них должен иметь тамбур. Трубопроводы передачи хлорной воды выполняют из поливинилхлорида, резины, полиэтилена высокой плотности и др.

Хлорирование воды является надежным средством, предотвращающим распространение эпидемий, так как большинство патогенных бактерий (бациллы брюшного тифа, туберкулеза и дизентерии, вибрионы холеры, вирусы полиомиелита и энцефалита) весьма нестойки по отношению к хлору. Спорообразующих бактерий хлор не уничтожает, что является одним из недостатков этого метода обеззараживания.

Гидролиз хлора происходит (рис. 14.2) в соответствии с Уравнением


С образованием хлорноватистой кислоты, которая диссоциирует на соляную кислоту и атомарный кислород (в нейтральной или щелочной среде), обладающий сильными окислительными свойствами. Ю. Ю. Лурье считает, что хлорноватистая кислота диссоциирует в зависимости от рН с образованием гипохлоритного иона (ОСl-), при этом окислительное воздействие на микроорганизмы оказывает как сама хлорноватистая кислота, так и главным образом гипохлоритный ион:


При применении вместо хлора хлорной извести имеет место реакция

2СаОС12 + 2Н2О → СаС12 + Сa (ОН)2 + 2НС10.

Дальнейшая диссоциация хлорноватистой кислоты происходит аналогично описанному выше.


Эффект подавления бактериальной жизни при хлорировании зависит от дозы введенного хлора и продолжительности контакта его с водой. Поэтому хлоропоглощаемость одной и той же воды, равная суммарному расходу хлора на окисление микроорганизмов, органических и неорганических примесей, — величина переменная, зависящая от дозы введенного хлора, продолжительности контакта, величины рН, температуры воды и др. (рис. 14.3). Очевидно, что доза вводимого хлора должна

Рис. 14.3. Зависимость хлоропоглощаемости от времени контакта хлора с водой: дозы хлора, мг/л: 1 — 0,5; 2 — 0,75; 3 — 2,0; 4 — 4,0; 5 — 20,0

Быть больше величины хлоропоглощаемости на величину остаточного хлора, присутствие которого является гарантией того, что окисление бактерий и органических веществ в воде практически завершено. Связь между дозой введенного в воду хлора и содержанием остаточного хлора может иметь прямолинейный характер или ярко выраженный излом (рис. 14.4). Непрямолинейный характер этой зависимости имеет место при наличии в хлорируемой воде аммиака. Первая точка перелома на кривой 2 соответствует образованию монохлорамина NH2Cl с меньшим, чем у хлора окислительно-восстановительным потенциалом. Вторая — переломная точка кривой соответствует моменту окисления образовавшегося монохлорамина избыточным хлором.

Рис. 14.4. Зависимость остаточного хлора от дозы введенного в воду при отсутствии (1) и при наличии (2) в ней аммонийных солей

На практике в соответствии с качеством исходной воды применяют одно- или двухкратное хлорирование воды. При обработке высокоцветных вод, а также вод, богатых органическими веществами и бактериями, применяют двукратное хлорирование. При этом хлор в воду дозируется сначала перед камерами хлопьеобразования или осветлителями (предварительное хлорирование), а затем в фильтрованную воду, перед резервуаром чистой воды. Предварительное хлорирование необходимо для окисления органических защитных коллоидов, препятствующих процессу коагуляции, а также окисления гуминовых веществ, обусловливающих цветность воды, с целью экономии коагулянта, расходуемого на ее обесцвечивание. Доза хлора на предварительное хлорирование значительно выше той, которая вводится в фильтрованную воду, и может доходить до 5 мг/л.

В некоторых случаях может возникнуть необходимость хлорирования воды повышенными дозами хлора, т. е. применения так называемого перехлорирования, гарантирующего высокий эффект ее обеззараживания. После перехлорирования воды остаточная концентрация хлора в ней достаточно велика (1...7 мг/л), поэтому приходится прибегать к последующему ее дехлорированию. Для этого чаще всего применяют обработку воды сульфитом натрия, сернистым газом и фильтрование дехлорируемой воды через активированный уголь. Дехлорирование воды сульфитом натрия, считая 3,5 мг (в расчете на Na2S03-7H20) на 1 мг связываемого хлора, протекает по уравнению

Na2S03 + Н20 + С12 = Na2S04 + 2НС1.

Дехлорирование воды сернистым газом (в соотношении, примерно 1:1) происходит в соответствии с уравнением

S02 + 2H2O + С12 → H2S04 + 2НС1.

При длительном пребывании питьевой воды перед поступлением к потребителям в резервуарах и водоводах (более 1,5 ч) для продления бактерицидного действия хлора, а также для предотвращения хлорфенольных запахов в воду кроме него вводят также и аммиак. Введение аммиака, кроме того, сокращает расход хлора и в ряде случаев улучшает вкус воды. При взаимодействии хлорноватистой кислоты (образовавшейся при хлорировании воды) с аммиаком получаются монохлорамины:

HOCI + NH3 → NH2CI + Н2О,

которые, гидролизуясь, образуют сильный окислитель — гипохлоритный ион:

NH2C1 + Н20 → NH4+ + ОСl-.

Гидролиз хлораминов протекает довольно медленно, поэтому в первое время окислительное действие хлораминов ниже, чем хлора, но длительность бактериального действия хлораминов значительно больше, в связи с чем и применяют аммонизацию воды перед длительным ее пребыванием в резервуарах, водоводах и сети. Соотношение доз хлора и аммиака зависит от качества исходной воды. Обычно оптимальной, обеспечивающей образование монохлораминов, является доза аммиака в пять-шесть раз меньше дозы хлора.

Аммиачное хозяйство организуют аналогично хлорному и располагают в отдельных помещениях. Аммиак хранят в расходном складе в баллонах или контейнерах. Ввод аммиака производят в фильтрат при наличии фенолов — за 2 ... 3 мин до ввода хлора.

Различают свободный хлор (молекулярный хлор, хлорноватистая кислота и гипохлорит-ионы) и связанный (хлор, в виде хлораминов). Свободный хлор в 20—25 раз более бактерициден, чем связанный. С увеличением рН воды уменьшается содержание связанного хлора.

На бактерицидный эффект хлорирования значительно влияет первоначальная доза хлора и продолжительность сохранения в обрабатываемой воде его некоторой остаточной концентрации. Минимальная продолжительность контакта 30 мин при остаточном содержании свободного хлора 0,3—0,5 мг/л. Из патогенных микроорганизмов наиболее чувствительны к хлору: холерный вибрион, бациллы брюшного тифа и дизентерии. Паратиф В и микрокок более резистентны, на споровые формы хлор почти не действует.

Количество хлора, расходуемого на окисление примесей воды, называется хлоропоглощаемостью, которая определяется как разница между количеством введенного хлора и его концентрацией в воде через 30 мин контакта.

К числу производных хлора, используемых при обеззараживании, относят: гипохлориты натрия (NaClO*5H20), кальция [Са(С10)2], хлорит натрия (NaClO2), оксид хлора СlO2.

Гипохлорит натрия получают электролизом раствора поваренной соли в электролизере без диафрагмы. При этом вначале выделяются: на аноде — хлор, а на катоде — едкий натрий, которые взаимодействуя образуют гипохлорит натрия.

Хлорит натрия — сильный окислитель, в твердом состоянии — негорюч и не самовоспламеняем. Его растворимость в0оде ПРИ 5 "С — 340, а при 60 °С — 550 г/л. При рН=2 он разлагается с образованием оксида хлора(IV) и соляной кис- доты, при рН около 4 разложение замедляется, а при рН=7 он не разлагается. Его широко используют для получения оксида хлора (IV). Оксид хлора (IV) — зеленовато-желтый газ с резким запахом, легко взрывается от электрической искры, при солнечном освещении и при нагревании свыше 60ºС. Взрывоопасен в обычных условиях при контакте со многими органическими веществами (нефть, бензин и пр.). Его окислительный потенциал в кислой среде 1,5 В. Растворимость оксида хлора (IV) в воде при 25°С — 81,06, а при 40 °С — 51,4 г/л. Его водные растворы имеют более интенсивную окраску по сравнению с хлорной водой. На водоочистных комплексах оксид хлора (IV) можно получать взаимодействием хлорита натрия и хлора или с разбавленной соляной кислотой, либо озоном. Он обладает более высоким бактерицидным и дезодорирующим действием, чем хлор. Присутствие в воде аммонийных солей не влияет на его окислительные свойства. При обработке вод, содержащих фенолы, не возникают хлорфенольные запахи, так как фенол практически полностью окисляется оксидом хлора(IV) до малеиновой кислоты и хинона, не имеющих в малых концентрациях запаха и привкуса.

Скорость процесса обеззараживания воды хлором и его производными определяется кинетикой диффузии оксиданта внутрь клетки и интенсивностью отмирания клеток вследствие нарушения метаболизма (обмена веществ). С ростом концентрации хлора в воде, повышением ее температуры и переводом его в сравнительно легко диффундирующую, недиссоциированную форму скорость процесса обеззараживания возрастает.

Бактерицидное действие хлора уменьшается с повышением рН воды. Поэтому обеззараживание воды хлором следует производить по возможности при более высоких температурах и низких значениях рН (до ввода щелочных реагентов). Содержащиеся в воде органические примеси, способные к окислению, восстановители, коллоидные и диспергированные вещества, обволакивающие бактерии, тормозят процесс обеззараживания воды.

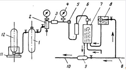
Для дозирования в воду хлора, аммиака и сернистого газа (при дехлорировании) применяют вакуумные газодозаторы системы ЛОНИИ-100 (рис. 14.5) и системы Л. А. Кульского (рис. 14.6). Из баллонов, установленных на специальные весы (для контроля за расходом хлора), жидкий хлор передается в Промежуточный баллон, где происходит его испарение и отделение загрязняющих хлор примесей. Далее уже газообразный хлор проходит через фильтр со стекловатой (для окончательной очистки хлор-газа) и через понижающий давление редуктор. Степень понижения давления фиксируется двумя манометрами, установленными до и после редукционного клапана. С помощью диафрагмы создается перепад давлений, который служит импульсом для работы измерителя расхода хлора. Затем хлор, поступая в смеситель, смешивается с водопроводной водой, образуя хлорную воду, которая засасывается эжектором и отводится по назначению.

Рис. 14.5. Вакуумный хлоратор ЛОНИИ-100.

1 — промежуточный баллон; 2 — фильтр со стекловатой;3— редукционный клапан для снижения давления хлор-газа; 4— манометр; 5 — измерительная диафрагма; 6 — ротаметр; 7 — смеситель; 8 — подача водопроводной воды; 9 — эжектор, создающий разряжение в хлораторе; 10 — отвод хлорной воды на дозирование; 11 — весы; 12 — баллон с хлором

вода хлорирование обеззараживание газодозатор

Вакуумные хлораторы системы Л. А. Кульского показаны на рис. 14.6 — хлоратор ЛК-11 средней производительности (рис. 14.6,а) для расхода хлора в пределах 0,5 ... 4,5 кг/ч и хлоратор ЛК-10 малой производительности (рис. 14.6,6), рассчитанный на расход хлора в пределах 40 ... 800 г/ч.

Количество резервных хлораторов на одну точку ввода рекомендуется принимать: при 1 ... 2 рабочих хлораторах — один резервный, при более двух — 2. Допускается предусматривать общие резервные хлораторы для предварительного и вторичного хлорирования воды.

С одного стандартного баллона при обычной комнатной температуре можно получить не более 0,5... 0,7 кг/ч хлор-газа. Поэтому на крупных водоочистных комплексах с большим расходом хлора для увеличения съема хлора прибегают к специальному обогреву баллонов (теплой водой или подогретым воздухом при температуре 10... 30°С). Испаритель оборудуют устройствами для контроля температуры воды и давления хлора и воды. На водоочистных комплексах большой производительности применяют бочки, величина съема хлора с которых на 1 м2 составляет около 3 кг/ч, при комнатной температуре.


Учитывая, что хлор является отравляющим газом, при проектировании хлораторных установок следует предусматривать необходимые меры, обеспечивающие безопасность обслуживающего персонала.

К числу этих мер относятся: наличие двух выходов из хлораторной, расположение хлораторной на первом этаже; наличие приточно-вытяжной вентиляции с устройством вытяжки в наиболее низкой части хлораторной, в месте, противоположном от входа в хлораторную; устройство электроосвещения с газозащитной герметической аппаратурой; наличие тамбура с размещением в нем спецодежды и противогазов, а также устройств для включения и выключения вентиляции и освещения.

При хлорировании воды отстоенным раствором хлорной извести крепостью 1 ... 1,5% его приготавливают таким же способом, как и раствор коагулянта. Аналогичные устройства служат и для дозирования раствора. Ввиду сильного коррозионного действия раствора хлорной извести баки для его приготовления следует применять деревянные, пластмассовые или железобетонные, а арматуру и трубы, — из полиэтилена или винипласта. Объем растворных баков, м3, определяют по формуле


где Q — расчетный расход воды, м3/ч; n= 12 ... 24 ч — количество часов, на которое заготавливается раствор хлорной извести; Дхл. :— принятая доза активного хлора, мг/л; bхл.и=1.....2 — концентрация раствора хлорной извести, %; С=25... ... 30 — содержание активного хлора в продажной хлорной извести, %; р=1 — плотность раствора хлорной извести, т/м3.

Литература

Алексеев Л. С., Гладков В. А. Улучшение качества мягких вод. М.,

Стройиздат, 1994 г.

Аюкаев Р. И., Мельцер В. 3. Производство и применение фильтрующих

материалов для очистки воды. Л., 1985.

Вейцер Ю. М., Мииц Д. М. Высокомолекулярные флокулянты в процессах очистки воды. М., 1984.

Егоров А. И. Гидравлика напорных трубчатых систем в водопроводных очистных сооружениях. М., 1984.

Журба М. Г. Очистки воды на зернистых фильтрах. Львов, 1980.

 

Похожие работы на - Хлорирование воды

 

Не нашли материал для своей работы?
Поможем написать уникальную работу
Без плагиата!
Без нейросетей!