Основы хроматографии. Устройство газового хроматографа

  • Вид работы:
    Реферат
  • Предмет:
    Химия
  • Язык:
    Русский
    ,
    Формат файла:
    MS Word
    128,47 kb
  • Опубликовано:
    2010-09-21
Вы можете узнать стоимость помощи в написании студенческой работы.
Помощь в написании работы, которую точно примут!

Основы хроматографии. Устройство газового хроматографа

Основы хроматографии; принципиальное устройство газового хроматографа

 

Хроматография (от греч.chromatos-цвет) – физико-химический метод разделения и анализа смесей, основанный на распределении их компонентов между двумя фазами – неподвижной и подвижной.

Метод разработан в 1903 г.М. Цветом, который показал, что при пропускании смеси растительных пигментов через слой бесцветного сорбента индивидуальные вещества располагаются в виде отдельных окрашенных зон. Полученный таким образом послойно окрашенный столбик сорбента Цвет назвал хроматограммой, а метод – хроматографией. Впоследствии термин «хроматограмма» стали относить к разным способам фиксации результатов видов хроматографии. Однако вплоть до 40- х гг. храмотография не получила должного развития. Лишь в 1941 г. А. Маршин и Р. Синг открыли метод распределительной хроматографии и показали его широкие возможности для исследования белков и углеводов. В 50-е гг. Мартин и американский учёный А. Джеймс разработали метод газо – жидкостной хроматографии.

В зависимости от природы взаимодействия, обусловливающего распределение компонентов между элюентом и неподвижной фазой, различают следующие основные виды: адсорбционную, распределительную, ионообменную, эксклюзионную (молекулярно – ситовую) и осадочную.

Адсорбционная хроматография основана на различии сорбируемости разделяемых веществ адсорбентом (твёрдое тело с развитой поверхностью);

распределительная хроматография – на разной растворимости компонентов смеси в неподвижной фазе (высококипящая жидкость, нанесенная на твёрдый макропористый носитель) и элюенте;

ионообменная – на различии констант ионообменного равновесия между неподвижной фазой и компонентами разделяемой смеси;

эксклюзионная (молекулярно – ситовая) – на разной проницаемости молекул компонентов в неподвижную фазу. Эксклюзионная хроматография подразделяется на гель – проникающую(ГПХ), в которой элюент – неводный растворитель. Осадочная хроматография основана на различной способности разделяемых компонентов выпадать в осадок на твёрдой неподвижной фазе.

В соответствии с агрегатным состоянием алюента различают газовую и жидкостную хроматографию. В зависимости от агрегатного состояния неподвижной фазы газовая х. бывает газо – адсорбционной (неподвижная фаза – твёрдый адсорбент) и газо-жидкостной (неподвижная фаза – жидкость), а жидкостная х. – жидкостно – адсорбционной. К твёрдо – жидкостной х. относятся тонкослойная и бумажная.

Различают колоночную и плоскостную х. В колоночной сорбентом заполняют специальные трубки – колонки, а подвижная фазадвижется внутри колонки благодаря перепаду давления, Разновидность колоночной х. – капиллярная, когда тонкий слой сорбента наносится на внутренние стенки капиллярной трубки. Плоскостная х. подразделяется на тонкослойную и бумажную. В тонкослойной х. тонкий слой гранулированного сорбента или пористая плёнка наносится на стеклянную или металлические пластинки: в случае бумажной х. используют специальную хроматографическую бумагу. В плоскостной х. перемещение подвижной фазы присходит благодаря капиллярным силам.

При хроматографировании возможно изменение по заданной программе температуры состава элюента, скорости его протекания.

В зависимости от способа перемещения разделяемой смеси вдоль слоя сорбента различают след. варианты х.: фронтальный, проявительный и вытеснительный.

При фронтальном варианте в слой сорбента непрерывно вводится разделяемая смесь, состоящая из газа – носителя и разделяемых компонентов;

при проявительном варианте через слой сорбента непрерывно прходит поток элюента и периодически в слой сорбента вводится разделяемая смесь веществ. Через определённое время происходит деление исходной смеси на чистые вещества, располагающиеся отд. Зонами на на сорбенте, между которыми находятся зоны элюента. При вытеснительном варианте в сорбент вводится разделяемая смесь, а затем поток газа – носителя, содержащего вытеснитель(элюент), при движении которого смесь через период времени разделится на зоны чистых веществ, между которыми окажутся зоны их смеси. Ряд видов х. которых осуществляются с помощью приборов, называются хроматографами, в большинстве из которых реализуется проявительный вариант х. Хроматографы используют для анализа и для препаративного разделения смесей вещестив. При анализе разделённые в колонке хроматографа вещества вместе с элюентом попадают через различные промежутки времени в установленное на выходе из хроматографической колонки детектирующее устройство, регистрирующее их конценрации во времени. Полученную в результате этого выходную кривую, наз. Хромотограммой. Для качества хроматографические анализа определяют время от момента ввода пробы до выхода каждого компонента из элюента. Для количества анализа определяют высоты при площади хроматографических пиков с учётом коэффициентов чувствительности используемого детектирующего устройства к анализируемым веществам.

Для анализа и разделения веществ, переходящих без разложения в парообразное состояние, наибольшее применение получила х., где в качестве элюента (газа-носителя) используются гелий, азот, аргон, и др. газы. Для газо-адсорбционного варианта х в качестве сорбента (частицы диаметром 0,1 – 0,5 мм) используют силикагели, алюмогели, молекулярные сита, пористые полимеры и др. сорбенты. Для газо – жидкостной х. сорбент готовят нанесением жидкости в виде плёнки. (высококипящие углеводороды, сложные эфиры, силоксаны) толщиной неск. мкм на твёрдый носитель. Рабочие температурные пределы для газо – адсорбционного варианта х. от -70 до 600 °С, для газожидкостного от – 20 до 400 °С.

В жидкостной колоночной х. в качестве элюента применят легколетучие растворители (углеводороды, эфиры, спирты), а в качестве неподвижной фазы – силикагели.

Жидкостная молекулярно-ситовая х. отличается использованием сорбентов, имеющих поры строго определенного размера.

В тонкослойной и бумажной Х. исследуемую смесь в жидком виде наносят на стартовую линию, затем разделяют на компоненты восходящим или нисходящим потоком элюента. Последующее обнаружение (проявление) разделённых веществ на хроматограмме осуществляют при помощи ультрафиолетовой спектроскопии, инфракрасной спектроскопии или обработкой реактивами, образуемые окрашенные соединения.

Качественный состав смесей с помощью этих видов х. характеризуют определенной скоростью перемещения пятен веществ относмительно скорости движения растворителя в данных условиях. Количеств. анализ осуществляют измерением интенсивности окраски вещества на хроматограмме.

Газовая х. применяется для газов разделения, определения примесей вредных веществ в воздухе, воде, почве, определения состава продуктов нефтехимического синтеза, выхлопных газов, а также в криминалистике.

Газовая х. применяется также для определения физико-химич. характеристик соединений: теплоты растворения.

Тонкослойная и бумажная хроматография используются для анализа жиров, углеводов, белков и неорганических соединений.

В некоторых случаях для идентификации веществ используется х. в сочетании с др. физико-хим. и физ. методами (масс-спектрометрией).

Цвет пришел к выводу, что нужен многократный адсорбционный процесс и проделал свой исторический опыт. В трубку с порошком мела он залил раствор пигментов. В верхней части образовалось окрашенное кольцо. Затем в трубку он стал непрерывно подавать бензол. Пигменты частично растворялись в нём, опускались, адсорбировались другими зёрнами мела, снова растворялись в новых порциях бензола, и снова опускались по трубке. Но так как разные вещества по-разному извлекались бензолом из адсорбента, они опускались по трубке с разной скоростью. Поэтому первоначальное зелёное кольцо, опускаясь, постепенно расширялось и делилось на несколько разноцветных колец. Этих колец оказывалось шесть: верхнее жёлтое, затем оливково-зелёное, далее тёмно-зелёное и три жёлтых. Цвет извлёк слой адсорбента из трубки, разрезал его на цилиндрики, в каждом из которых оказалось своё цветное кольцо. Теперь можно было извлечь вещества из адсорбента спиртом и исследовать. В результате Цвет показал, что хлорофилл – это не индивидуальное соединение, а смесь двух веществ, которые разделились на колонке и дали оливково-зелёное и тёмно-зелёные кольца.

Цвет разработал метод химического анализа, который позволяет осветить природные процессы. Цвет назвал полученную при разделении веществ разноцветную картинку хроматограммой, а а сам метод – хроматографическим адсорбционным анализом или хроматографией, которое в переводе с греческого означает «цветопись». Главное – это возможность разделения веществ по их склонности к адсорбции.

Хроматографы – приборы или установки для хроматографического разделения и анализа смесей веществ. Основными частями хроматографа являются: система для ввода исследуемой смеси веществ(пробы); хроматографическая колонка: детектирующее устройство(детектор); системы регистрации и термостатированя: для производственных х., кроме того отборные приспособления и приёмники для разделённых компонентов.

В соответствии с агрегатным состоянием используемой подвижной фазы существуют газовые и жидкостные хроматографы. В подавляющем числе х. реализуется проявительный вариант хроматографии.

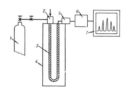
В газовом хроматографе газ-носитель из баллона через регуляторы расхода и давления непрерывно с постоянной или переменной скоростью подаётся в хроматографическую колонку-трубку (диаметром 2–5 мм), заполненную сорбентом и помещенную в термостат, позволяющий поддерживать заданную температуру (вплоть до 500 °С).

Принципиальная схема газового хроматографа:

1-баллон с инертным газом;

2-устройство для ввода пробы в хроматографическую колонку;

3-хроматографическая колонка;

4-термостат;

5-детектор;

6-преобразователь сигналов;

7-регистратор.

Ввод газообразной пробы и жидкой осуществляется либо вручную (газовым шприцем или микро-шприцем), либо автоматически – при помощи микродозаторов. В хроматографической колонке происходит разделение исходной многокомпонентной смеси на ряд бинарных смесей, состоящих из газа-носителя и одного из анализируемых компонентов. В результате происходящих в детекторе процессов (изменения теплопроводности), фиксируется изменение концентрации выходящих компонентов: преобразованные в электрический сигнал, эти процессы записываются в виде выходной кривой.

Наиболее распространённые детекторы газовых х. – термокондуктометрич. и ионизационные. Типичным примером первых является детектор по теплопроводности (катарометр), в мостовую цепь которого включены две ячейки для измерения теплопроводности; через них протекают потоки чистого газа – носителя и бинарная смесь. Теплопроводность последней отличается от теплопроводности чистого газа – носителя; поэтому при прохождении бинарной смеси через чувствительный элемент детектора – нагретую спираль с сопротивлением 10–80 ом – меняются температура и сопротивление спирали в зависимости от концентрации компонента. Такой детектор позволяет определять пределы концентрации веществ.

Ионизационные детекторы характеризуются чувствительностью, прямой зависимостью сигнала от концентрации.

В жидкостном х. в качестве детектирующего устройства используют проточный рефрактометр, включаемый по дифференциальной схеме, или детектор поглощения в ультрафиолетовой области.

Достигаемые скорость и точность анализа в х. во многом определяются правильным выбором рабочего режима детектора и условий эксперимента (тип сорбента, температура, скорость газа-ностителя, длина хроматографической колонки). Для ускорения анализа применяют программирование во времени изменение.

Газохроматографический процесс осуществляют в специальных приборах-газовые хроматографы. Каждый из них имеет систему подачи потока газа-носителя, систему подготовки и ввода исследуемой смеси, хроматографическую колонку, с системой регулирования температуры, детектор и систему обработки и регистрации результатов анализа.

Принцип работы газового хроматографа заключается в следующем. Поток газа – носителя из баллона 1 через регуляторы расхода и давления 2 непрерывно и в регулируемом количестве подаётся через испаритель 3 в хроматографическую колонку 4 и затем- в детектор 7. С помощью специальных устройств: шприц-дозаторов 5, пробоотборного крана подают анализируемую прб4у в систему ввода6, откуда она в соответствующем виде переносится потоком газа-носителя непосредственно в колонку. При прохождении полученной газовой смеси вдоль сорбента происходит разделение. Из колонки газовый поток, несущий в определенной последовательности разделённые компоненты, поступает в детектор 7. Электрический сигнал от детектора регистрируется в РЗУ 8 в виде хроматограммы.

Таким образом, основными системами любого газового хроматографа являются колонка и детектор. Хроматографическая колонка разделяет, а детектор количественно определяет компоненты проходящей через неё газовой смеси.

Детекторы подразделяются на дифференциальные и интегральные. Дифференциальные детекторы отмечают практически мгновенное изменение какой-либо характеристики, интегральные – суммируют изменение её за определенное время. Дифференциальные детекторы могут показывать как изменение концентрации на выходе, так и произведение концентрации на скорость. Принципы, положенные в основу действия детектора, могут быть разнообразными. Наибольшее применение находят дифференциальные детекторы, регистрирующие изменение теплопроводности газа или измеряющие ток, проходящий через ионизированный газ – пламенно- ионизационный (ПИД), электронно – захватный, аргоновый. В катарометре чувствительным элементом является вольфрамовая нить, нагреваемая постоянным токо. Газ – носитель, непрерывно протекая над ней, отводит тепло с постоянной скоростью. Если в газовой смеси над нагретой нитью появляются молекулы анализируемого вещества, то скорость отвода тепла и, как следствие, температура и электросопротивление нити изменяются. Изменение электросопротивления нити пропорционально концентрации компонента в газовой смеси. Разница в показаниях до и после прохождения какого-либо компонента регистрируется электрической схемой. Этот детектор практически универсален. Он позволяет определить концентрацию вещества в пределах 0,1–0,01%.

Похожие работы на - Основы хроматографии. Устройство газового хроматографа

 

Не нашли материал для своей работы?
Поможем написать уникальную работу
Без плагиата!
Без нейросетей!