Извлечение никеля из полировальных ванн для никелирования

  • Вид работы:
    Контрольная работа
  • Предмет:
    Химия
  • Язык:
    Русский
    ,
    Формат файла:
    MS Word
    74,61 kb
  • Опубликовано:
    2010-10-15
Вы можете узнать стоимость помощи в написании студенческой работы.
Помощь в написании работы, которую точно примут!

Извлечение никеля из полировальных ванн для никелирования

ВВЕДЕНИЕ

При нанесении декоративных хромовых покрытий на деталь для защиты от коррозии сначала наносят слой никеля. Для получения гладкой и блестящей поверхности, необходимой для хромирования, наносят еще один или несколько слоев никеля. Этот процесс проводят в так называемых полировальных ваннах, наполненных водным раствором никелевых солей, содержащих полирующие добавки - сераорганические соединения. После нанесения слоев никеля деталь промывают водой для удаления никелирующего раствора и проводят хромирование. В результате на полированный слой никеля наносится декоративный внешний слой хрома.

Глава 1. СУЩНОСТЬ ПРОЦЕССА НИКЕЛИРОВАНИЯ

В основу процесса химического никелирования положена реакция восстановления никеля из водных растворов его солей гипофосфитном натрия. Растворы могут быть щелочными и кислотными. В результате образуется блестящее или полублестящее никелевое покрытие. Структура его аморфная, представляющая собой сплав никеля и фосфора. Пленка никеля без термообработки слабо держится на поверхности основного металла, хотя ее твердость близка к твердости хромового покрытия. Последнее объясняется наличием фосфора. Термическая обработка детали с никелевым покрытием, полученным химическим путем, в значительной степени увеличивает сцепление пленки никеля с основным металлом. Одновременно с этим растет и твердость никеля, достигающая твердости хрома. Термическая обработка заключается в нагреве детали с никелевым покрытием до температуры 350-500° и выдерживании ее при этой температуре не менее 1 ч. При термической обработке некоторых закаленных стальных деталей с никелевым покрытием необходимо учитывать, при какой температуре эти детали отпускались, и не превышать ее при термообработке. Это особенно касается рыболовных крючков. Химическим путем можно покрывать никелем большинство металлов, кроме свинца, олова, кадмия и их сплавов. рассмотрим достоинства и недостатки щелочных и кислотных растворов химического никелирования. Щелочные растворы. Щелочные растворы характеризуются устойчивостью в работе, почти полным отсутствием явления саморазряда, которое представляет собой мгновенное выпадение губчатой массы никеля из раствора, сопровождающееся выбросом кипящей смеси из ванны, что может привести к серьезным ожогам. Явление саморазряда наступает при перегреве раствора. Регулировку температуры при отсутствии термометра ведут по интенсивности выделения газа во время процесса. Если газовыделение с детали не бурное, то можно быть уверенным, что саморазряда не будет. Твердость покрытия из щелочных растворов примерно на 15% ниже, чем из кислотных. Коррозионная стойкость покрытий никелем из щелочных растворов ниже, чем из кислотных. Кислотные растворы. Кислотные растворы также сильно подвержены явлению саморазряда. Поэтому, работая с кислотными растворами, необходимо обязательно соблюдать все меры предосторожности.

Никелирование меди и сплавов.

Отполированную и обезжиренную медную (латунную, бронзовую и т.д.) деталь перед никелированием декапируют. После декапирования деталь промывают в горячей и холодной воде (касаться руками детали нельзя) и подвешивают в раствор для никелирования. Здесь есть одна тонкость, и если ее не выполнить, процесс осаждения никеля может не пойти. Деталь должна быть подвешена в раствор для никелирования на алюминиевой или железной (стальной) проволоке; в крайнем случае, при опускании детали в раствор ее необходимо коснуться железным или алюминиевым предметом. Эти "священнодействия" необходимы для того, чтобы дать старт процессу никелирования, так как медь имеет сравнительно низкий электроотрицательный потенциал по отношению к никелю. Только присоединение или касание детали более электроотрицательным металлом (алюминий, железо) дает старт процессу осаждения никеля на меди и ее сплавах. Растворы для химического никелирования меди и ее сплавов: 1щ. Хлористый никель - 40-50 г/л, хлористый аммоний - 45-55 г/л, лимоннокислый натрий - 40-50 г/л, гипофосфит натрия-10-20 г/л. Температура раствора - 80-88°, скорость осаждения - 8-10 мкм/ч, 2. Сернокислый никель - 28-30 г/л, уксуснокислый натрий - 10-12 г/л, гипофосфит натрия-8-10 г/л. Температура раствора - 90-92°, скорость осаждения - 8-10 мкм/ч.

Приготовление растворов заключается в растворении всех компонентов (кроме гипофосфита натрия) и его нагревании. Гипофосфит натрия вводят в раствор непосредственно перед подвешиванием деталей. Такой порядок приготовления растворов касается всех рецептов для никелирования. Раствор для никелирования разводится в любой эмалированной посуде (миска, глубокая сковорода, кастрюля и т. п.), которая не имеет повреждений на поверхности эмали. От никелирования посуда не портится. Возможный осадок никеля на стенках посуды легко удаляется азотной кислотой (50% -ный раствор). Почти для всех рыболовных приманок процесс никелирования ведут более 1 ч для получения пленки толщиной около10 мкм (0,01 мм). Этого достаточно, чтобы впоследствии полировать пленку, не боясь протереть ее до основного металла. Термообработка никелированных медных (латунных, бронзовых и т. п.) деталей заключается в нагреве их до температуры 350-500° и выдерживании их при такой температуре в течение 1 ч. Необходимо отметить, что на воздухе при температуре выше 380° на поверхности никеля появляются цвета побежалости от золотисто-желтого до фиолетового.

Никелирование алюминия и его сплавов.

Никелирование алюминия и его сплавов проводят после двукратной цинкатной обработки. Цинкатную обработку алюминиевых деталей проводят (после полной их предварительной подготовки) в следующих растворах. 1. Едкий натр-250 г/л, окись цинка-55 г/л. Температура раствора - 20°C, время обработки - 3-5 с.

2. Едкий натр-120 г/л, сернокислый цинк-40 г/л. Температура раствора-20°, время обработки-1,5-2 мин.Отдельно в двух частях воды по 0,5 л растворяют едкий натр и сернокислый цинк. Затем оба раствора сливают вместе. Дюралюминиевые детали цинкуются в растворе: Едкий натр-10 г/л, окись цинка-5 г/л, сегнетова соль-10 г/л. Температура раствора-20°C, время обработки-1-2 мин.

Двукратную цинкатную обработку деталей проводят следующим образом. Детали цинкуют, затем подтравливают в течение 10-15 сек. в 15%-ном растворе азотной кислоты и после этого цинкуют вторично. После цинкования деталь сразу же промывают в горячей воде и подвешивают в ванну (миску и т. п.) с одним из растворов: 1. Хлористый никель - 21 г/л, лимоннокислый натрий - 40 г/л, хлористый аммоний-50 г/л, аммиак (25%)-50 мл/л, гипофосфит натрия - 24 г/л. Температура раствора - 87-90°, скорость осаждения-15-18 мкм/ч. 2. Хлористый никель-21 г/л, уксуснокислый натрий - 10 г/л, гипофосфит натрия-24 г/л. Температура раствора - 88 - 90°, скорость осаждения - 20-25 мкм/ч. 3. Сернокислый никель-25 г/л, уксуснокислый натрий-10 г/л, гипофосфит натрия-20 г/л. Температура раствора-90-92°, скорость осаждения - 12-15 мкм/ч. 4. Уксуснокислый никель - 20-25 г/л, глицин - 15-20 г/л, гипофосфит натрия - 25-30 г/л. Температура раствора - 95-98°C, скорость осаждения- 18-24 мкм/ч. Рабочие растворы для никелирования алюминия и его сплавов составляют так же, как и для никелирования меди и ее сплавов. Термообработка никелированных алюминиевых деталей (и из его сплавов) имеет свою специфику. Детали тщательно промывают водой, погружают в нагретое до температуры 220-250° минеральное машинное масло и выдерживают при этой температуре не менее 1 ч. После термообработки детали обезжиривают органическими растворителями.

Никелирование стали.

Полированные и химически обезжиренные стальные детали промывают в горячей и холодной воде,а затем декапируют. Декапированные детали также промывают в обеих водах и помещают в ванну для никелирования. Растворов для никелирования стали очень много, ниже приводятся наиболее проверенные и зарекомендовавшие себя: 1щ. Хлористый никель-30 г/л, аммиак (25%)-50 г/л, лимоннокислый натрий-100 г/л, гипофосфит натрия-10 г/л. Температура раствора-90°, скорость осаждения-6-7 мкм/ч, качество покрытия - полублестящее. 2щ. Хлористый никель - 45 г/л, хлористый аммоний - 45 г/л, лимоннокислый натрий - 45 г/л, гипофосфит натрия - 20 г/л. Температура раствора - 90е, скорость осаждения - 5-8 мкм/ч, качество покрытия - полублестящее. 3. Сернокислый никель - 20 г/л, уксуснокислый натрий - 8 г/л. гипофосфит натрия - 20 г/л. Температура раствора - 90-92°, скорость осаждения 15 мкм/ч, качество покрытия - блестящее.

4. Сернокислый никель - 30 г/л, уксуснокислый натрий - 10 г/л, хромовокислый свинец-10 г/л, гипофосфит натрия- 10 г/л. Температура раствора-90°, скорость осаждения 15 мкм/ч, качество покрытия-блестящее, качественное. 5. Хлористый никель - 30 г/л, оксиацетат натрия - 50 г/л. гипофосфит натрия-10 г/л. Температура раствора-95°, скорость осаждения - 20-25 мкм/ч, качество покрытия - блестящее.

При термической обработке никелевого покрытия на стали надо знать хотя бы примерно температуру отпуска той или иной детали. Ее обрабатывают при температуре не выше температуры отпуска. Крючки, пружины и т. п., часто встречающиеся в практике рыболова, обычно отпускают при температуре 300-350°. Поэтому термообработку их после никелирования проводят при температуре 300° в течение 2-3 ч (это можно делать в духовке газовой плиты). При покрытии стали никелем очень важно ликвидировать поры в пленке никеля, а они всегда есть. В противном случае за короткий срок ржавчина разрушит никелевое покрытие. Один из методов заключается в следующем. Никелевое покрытие протирают кашицей из окиси магния, замешенного на воде, и деталь сразу же декапируют в 50%-ном растворе соляной кислоты в течение 1-2 мин. При другом методе сталь рекомендуется дважды покрывать никелем. После нанесения обычным порядком первого слоя деталь подтравливают в 50%-ном растворе азотной кислоты в течение 3-5 с, тщательно промывают в горячей и холодной воде и покрывают никелем второй раз. Причем покрытие вторым слоем никеля обязательно ведут из так называемого истощенного раствора, т.е. такого, в котором уже никелировалось большое количество деталей. Более эффективен третий метод закрытия пор в никелевом покрытии. Суть его состоит в том, что никелированную деталь сразу после термообработки охлаждают до 120-150° и опускают в старый, долгостоявщий рыбий жир (не витаминизированный!), нагретый до 80-100°. В рыбьем жире деталь выдерживают 1-2 ч, после чего его излишки удаляют тряпкой. Пропитанным жиром деталям дают полежать в теплом месте 10-12 суток. Обработанные таким образом рыболовные крючки длительное время не ржавеют даже в морской воде. При химическом никелировании возможны некоторые неполадки в ходе процесса. Это касается никелирования всех металлов. Слабое газовыделение по всей поверхности детали является первым признаком малой концентрации в растворе гипофосфита натрия, и, следовательно, его необходимо добавить в раствор. Просветление раствора (нормальный раствор синего цвета) свидетельствует о понижении количества хлорного (сернокислого) никеля. Бурное газовыделение на стенках сосуда и отложение на них никеля (темно-серый налет) объясняется местным перегревом стенок сосуда. Чтобы избежать этого явления, раствор нагревают постепенно. Между сосудом и огнем желательно поместить какую-нибудь металлическую прокладку (круг). Серый или темный слой никеля на детали образуется при низкой концентрации третьих составляющих (компонент), т.е. солей, которые присутствуют в растворе, кроме хлористого (сернокислого) никеля и гипофосфита натрия. При плохой подготовке поверхности детали могут появиться вздутия и отслоения пленки никеля. И наконец, может быть и такое. Раствор составлен правильно, а процесс не идет. Это верный признак того, что в раствор попали соли других металлов. В этом случае делают новый раствор, исключая попадание каких-либо посторонних солей металлов. Никелевое покрытие можно пассивировать, после чего оно длительное время не тускнеет.

Никелирование деталей

Никелирование применяется в машиностроении, приборостроении н других отраслях промышленности. Никелем покрывают детали из стали и цветных металлов для защиты их от коррозии, декоративной отделки, повышения сопротивления механическому износу. Благодаря высокой коррозионной стойкости в растворах щелочей никелевые покрытия применяют для защиты химических аппаратов от щелочных растворов. В пищевой промышленности никель может заменять оловянные покрытия. В оптической промышленности получил распространение процесс черного никелирования. При электрохимическом осаждении никеля на катоде протекают два основных процесса: Ni2+ + 2e- → Ni и 2Н+ + 2е- → Н2. В результате разряда ионов водорода концентрация их в прикатодном слое снижается, т.е. электролит защелачивается. При этом могут образовываться основные соли никеля, которые влияют на структуру н механические свойства никелевого покрытия. Выделение водорода вызывает также питтинг - явление, при котором пузырьки водорода, задерживаясь на поверхности катода, препятствуют разряду ионов никеля в этих местах. На покрытии образуются ямки и осадок теряет декоративный вид. В борьбе с питтингом применяют вещества, которые снижают поверхностное натяжение на границе металл - раствор.

При анодном растворении никель легко пассивируется. При пассивации анодов в электролите уменьшается концентрация ионов никеля и быстро растет концентрация ионов водорода, что приводит к падению выхода по току и ухудшению качества осадков. Для предупреждения пассивирования анодов в электролиты никелирования вводят активаторы. Такими активаторами являются ионы хлора, которые вводят в электролит в виде хлористого никеля или хлористого натрия.

Сернокислые электролиты никелирования

Сернокислые электролиты никелирования получили наибольшее распространение. Эти электролиты устойчивы в работе, при правильной эксплуатации они могут использоваться в течение нескольких лет без замены. Состав некоторых электролитов и режимы никелирования:

Состав

Электролит №1

Электролит №2

Электролит №3

Никель сернокислый

140-200

280-300

400-420

Натрий сернокислый

50-70

-

-

Магний сернокислый

30-50

50-60

-

Кислота борная

25-30

25-40

25-40

Натрий хлористый

5-10

5-10

-

Натрий фтористый

-

-

2-3

Температура, °C

15-25

30-40

50-60

Плотность тока. А/дм2

0,5-0,8

2-4

5-10

pH

5,0-5,5

3-5

2-3


Сернокислый натрий и сернокислый магний вводят в электролит для повышения электропроводности раствора. Проводимость растворов натрия выше, но в присутствии сернокислого магния получаются более светлые, мягкие и легко полируемые осадки. Никелевый электролит очень чувствителен даже к небольшим изменениям кислотности. Для поддержания величины рН в требуемых пределах необходимо применять буферные соединения. В качестве такого соединения, препятствующего быстрому изменению кислотности электролита, применяют борную кислоту.

Для облегчения растворения анодов в ванну вводят хлористые соли натрия. Для приготовления сернокислых электролитов никелирования необходимо растворить в отдельных емкостях в горячей воде все компоненты. После отстаивания растворы фильтруют в рабочую ванну. Растворы перемешивают, проверяют рН электролита и при необходимости корректируют 3%-ным раствором едкого натра или 5%-иым раствором серной кислоты. Затем электролит доводят водой до требуемого объема. При наличии примесей необходимо перед началом эксплуатации электролита произвести его проработку, так как никелевые электролиты чрезвычайно чувствительны к посторонним примесям как органическим, так и неорганическим. Дефекты при эксплуатации электролита блестящего никелирования и способы их устранения приведены в Таблице 1.

Таблица 1 - Дефекты при эксплуатации сернокислых электролитов никелирования и способы их устранения

Дефект

Причина дефекта

Способ устранения

Никель не осаждается. Обильное выделение водорода

Низкое значение рН

Откорректировать рН 3%-иым раствором едкого натра

Частичное покрытие никелем

Улучшить подготовку

Неправильное расположение анодов

Равномерно распределить аноды

Детали взаимно экранируют друг друга

Изменить расположение деталей в ванне

Покрытие имеет серый цвет

Наличие в электролите солей меди

Очистить электролит от меди

Хрупкое, растрескивающееся покрытие

Загрязнение электролита органическими соединениями

Обработать электролит активированным углем и проработать током

Наличие примесей железа

Очистить электролит от железа

Низкое значение рН

Откорректировать рН

Образование питтинга

Загрязнение электролита органическими соединениями

Проработать электролит

Низкое назначение рН

Откорректировать рН

Слабое перемешивание

Усилить перемешивание

Появление черных или коричневых полос на покрытии

Наличие примесей цинка

Очистить электролит от цинка

Образование дендритов на кромках деталей

Высокая плотность тока

Снизить плотность тока

Чрезмерно продолжительный процесс никелирования

Ввести промежуточный подслой меди или уменьшить время электролиза

Аноды покрыты коричневой или черной пленкой

Высокая анодная плотность тока

Увеличить поверхность анодов

Малая концентрация хлористого натрия

Добавить 2-3 г/л хлористого натрия


При никелировании применяют горячекатаные аноды, а также непассивирующиеся аноды. Применяют также аноды в форме пластинок (карточек), которые загружают в зачехленные титановые корзины. Карточные аноды способствуют равномерному растворению никеля. Во избежание загрязнения электролита анодным шламом никелевые аноды следует заключать в чехлы из ткани, которые предварительно обрабатывают 2-10%-ным раствором соляной кислоты.

Отношение анодной поверхности к катодной при электролизе 2 : 1. Никелирование мелких деталей осуществляют в колокольных и барабанных ваннах. При никелировании в колокольных ваннах применяют повышенное содержание хлористых солей в электролите для предотвращения пассивации анодов, которая может возникать из-за несоответствия поверхности анодов и катодов, вследствие чего концентрация никеля в электролите понижается и уменьшается значение рН. Оно может достигнуть таких пределов, при которых вообще прекращается осаждение никеля. Недостатком при работе в колоколах и барабанах является также большой унос электролита с деталями из ванн. Удельные нормы потерь при этом составляют от 220 до 370 мл/м2.

Электролиты блестящего никелирования

Для защитно-декоративной отделки деталей широко применяют блестящие и зеркальные никелевые покрытия, получаемые непосредственно из электролитов с блескообразующими добавками. Состав электролита и режим никелирования:

Никель сернокислый - 280-300 г/л Никель хлористый - 50-60 г/л Кислота борная - 25-40 г/л Сахарин 1-2 г/л 1,4-бутиндиол - 0,15-0,18 мл/л Фталимид 0,02-0,04 г/л рН = 4-4,8 Температура = 50-60°С Плотность тока = 3-8 А/дм2

Для получения блестящих никелевых покрытий используют также электролиты с другими блескообразующими добавками: хлорамина Б, пропаргилового спирта, бензосульфамида и др.

При нанесении блестящего покрытия необходимо интенсивное перемешивание электролита сжатым воздухом желательно в сочетании с качанием катодных штанг, а также непрерывная фильтрация электролита, Электролит приготовляют следующим образом. В дистиллированной или деионизированной горячей (80-90°С) воде растворяют при перемешивании сернокислый и хлористый никель, борную кислоту. Доведенный водой до рабочего объема электролит подвергают химической и селективной очистке. Для удаления меди и цинка электролит подкисляют серной кислотой до рН 2-3 завешивают катоды большой площади из рифленой стали и прорабатывают электролит в течение суток при температуре 50-60°С, перемешивая сжатым воздухом. Плотность тока 0,1-0,3 А/дм2. Затем рН раствора доводят до 5,0-5,5, после чего в него вводят перманганат калия (2 г/л) или 30%-ный раствор перекиси водорода (2 мл/л).

Раствор перемешивается в течение 30 мин, добавляют 3 г/л активированного угля, обработанного серной кислотой, и перемешивают электролит 3-4 с помощью сжатого воздуха. Раствор отстаивается 7-12 ч, затем фильтруется в рабочую ванну.

В очищенный электролит вводят блескообразователи: сахарин и 1,4-бутиндиол непосредственно, фталимид - предварительно растворив в небольшом количестве электролита, подогретого до 70-80° С. Доводят рН до требуемого значения и приступают к работе. Расход блескообразователей при корректировании электролита составляет: сахарин 0,01-0,012 г/(А•ч); 1,4-бутнндиол (35%-ный раствор) 0,7-0,8 мл/(А•ч); фталимид 0,003-0,005 г/(А•ч). Дефекты при эксплуатации электролита блестящего никелирования и способы их устранения приведены в Таблице 2.

Таблица 2 - Дефекты при эксплуатации электролита блестящего никелирования и способы их устранения

Дефект

Причина дефекта

Способ устранения

Недостаточный блеск покрытия

Мала концентрация блескообразователей

Ввести блескообразователи

Не выдерживается заданная плотность тока и рН

Отрегулировать плотность тока и рН

Темный цвет покрытия и/или темные пятна

В электролите имеются примеси тяжелых металлов

Произвести селективную очистку электролита при низкой плотности тока

Питтинг

Наличие в электролите примесей железа

Очистить электролит и ввести антипиттинговую добавку

Недостаточное перемешивание

Увеличить воздушное перемешивание

Низкая температура электролита

Повысить температуру электролита

Хрупкие осадки

Загрязнение электролита органическими соединениями

Очистить электролит активированным углем

Пониженное содержание 1,4-бутиндиола

Ввести добавку 1,4-бутиндиола


Химическое никелирование

Наряду с электролитическим никелированием широко применяют процесс химического никелирования, основанный на восстановлении никеля из водных растворов с помощью химического восстановителя. В качестве восстановителя используют гипофосфит натрия.

Одновременно происходит гидролиз гппофосфита натрия. Степень полезного использования гппофосфита принимают около 40%. Восстановление никеля из его солей гипофосфитом самопроизвольно начихается только на металлах группы железа, которые катализируют этот процесс. Для покрытия других каталитически неактивных металлов (например, меди, латуни) необходим контакт этих металлов в растворе с алюминием или другими более электроотрицательными, чем никель, металлами. Для этой цели используют активирование поверхности обработкой в растворе хлористого палладия (0,1-0,5 г/л) в течение 10-60 с. На некоторых металлах, таких, как свинец, олово, цинк, кадмий, никелевое покрытие не образуется даже при использовании методой контактирования и активирования. Химическое осаждение никеля возможно как из щелочных, так и из кислых растворов. Щелочные растворы характеризуются высокой стабильностью и простотой корректировки.

Покрытия, полученные в кислых растворах, отличаются меньшей пористостью, чем из щелочных растворов (при толщине выше 12 мкм покрытия практически беспористые). Из кислых растворов химического никелирования рекомендуется следующий состав (г/л) и режим никелирования:

Никель сернокислый - 20-30 г/л Натрий уксуснокислый - 10-20 г/л Натрия гипофосфит - 20-25 г/л Тиомочевина 0,03 г/л Кислота уксусная (ледяная) - 6-10 мл/л рН = 4,3-5,0 Температура = 85-95°С Скорость осаждения = 10-15 мкм/ч

Химическое никелирование осуществляют в стеклянных, фарфоровых или железных эмалированных ваннах. В качестве материала подвесок применяют углеродистую сталь.

В последнее время химическим путем наносят покрытие сплава никель-бор с использованием в качестве восстановителя борсодержащих соединений - борогидрида натрия и диметилбората, которые обладают более высокой восстановительной способностью по сравнению с гипофосфитом. Полученные покрытия сплавом никель-бор имеют высокую износостойкость и твердость.

 Покрытие металлов никелем, цинком, хромом, серебром и золотом можно делать без гальванической ванны с помощью несложного приспособления - миниатюрной гальванической установки. Она состоит из специальной кисти, внутрь которой может заливаться электролит, понижающего трансформатора с напряжением 4 - 12 Вольт и током 0, 8 - 1, 0 Ампер и соединительного шнура.

 Щетина кисти обматывается медным проводом (см. рисунок). Диод типа Д303 - Д305 устанавливают внутри кисти или снаружи. Диаметр кисти 20 - 25 мм., «минус» источника напряжения соединяется при помощи зажима «крокодил» с обрабатываемым куском металла, а «плюс» с намотанной на щетину проволокой. Вместо щетины можно применить пористую губку.

 Покрываемые металлические предметы должны быть тщательно очищены от грязи, жира, ржавчины и т.п. Ржавчину удаляют травлением в кислоте, а остатки краски - шлифовкой наждачной шкуркой. После этого поверхность протирается чистым куском материи и обезжиривается специальным раствором. Чем ровней и чище будет поверхность, тем прочнее будет гальваническое покрытие.

 После очистки покрываемых металлических предметов делают все указанные выше соединения, включают трансформатор в сеть, заливают электролит в кисть и равномерными движениями проводят кистью по поверхности металла, не отрывая кисть от поверхности. Тотчас же будет замечаться тонкий металлический осадок, который постепенно наращивается.

 Для прочного покрытия требуется до 20 - 25 раз пройти кистью по одному и тому же месту поверхности. Электролит доливают в кисть по мере надобности.

 После окончания покрытия деталь споласкивают водой и полируют смоченной в воде тряпкой, а затем промывают ещё раз и сушат.

 Для каждого вида покрытия берётся строго определённый электролит, который составляется по приведённым ниже рецептам:

 
Глава 2. ИЗВЛЕЧЕНИЕ НИКЕЛЯ ИЗ ПОЛИРОВАЛЬНЫХ ВАНН ДЛЯ НИКЕЛИРОВАНИЯ

При нанесении декоративных хромовых покрытий на деталь для защиты от коррозии сначала наносят слой никеля. Для получения гладкой и блестящей поверхности, необходимой для хромирования, наносят еще один или несколько слоев никеля. Этот процесс проводят в так называемых полировальных ваннах, наполненных водным раствором никелевых солей, содержащих полирующие добавки - сераорганические соединения. После нанесения слоев никеля деталь промывают водой для удаления никелирующего раствора и проводят хромирование. В результате на полированный слой никеля наносится декоративный внешний слой хрома.

При проведении обычного процесса нанесения электропокрытий в ваннах с растворами никелевых солей, таких как хлорид и сульфат никеля, в реактор приходится периодически вводить дополнительные количества этих солей, особенно в полуполировальные ванны. Это связано с тем, что при переносе деталей из одной ванны в другую и на стадию промывки перед хромированием некоторое количество раствора уносится вместе с деталями и утекает. Эта часть никелевого раствора, а также раствор, остающийся в промывной воде в гальваностегии обычно не регенерируется. Эти растворы также не могут быть использованы в полуполировальных ваннах, потому что они содержат такое количество серы (из полирующих добавок), которое значительно снижает коррозионную устойчивость никелевого покрытия. Таким образом, промывные воды процессов гальваностегии удаляются в виде отходов, обычно после соответствующей предварительной обработки. Необходимость обработки сточных вод, а также возникающие потери никелевых солей приводят к увеличению стоимости процесса.

Процесс извлечения никеля был разработан Л.С. Райт мл., он позволяет извлекать никелировальный раствор из промывных воде целью повторного использования как в полуполировальных, так и в полировальных никелевых ваннах. Он позволяет упростить, а в ряде случаев и исключить обработку сточных вод, выводимых из системы. При этом также уменьшается количество полирующих добавок при никелировании и снижается количество электроэнергии, необходимое для нанесения покрытия. В результате процесс покрытия становится более экономичным и простым и обеспечивает более высокое качество наносимого хромового покрытия.

Процесс включает стадии добавления кислоты к промывным водам, пропускания получаемой смеси через угольный фильтр для удаления полирующих добавок и снижения содержания серы и возврата отфильтрованного раствора для повторного использования в полуполировальной и полировальной никелевых ваннах.

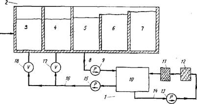
Схема процесса представлена на рис. 1. Процесс проводят в аппарате 1, связанном с отделением никелирования 2. В состав отделения никелирования входят полуполировальная ванна 3, полировальная ванна 4 и три промывных резервуара 5, 6 и 7; каждая деталь последовательно проходит через все эти резервуары. Аноды в ваннах 3 и 4 на схеме не показаны. Никелировальный раствор, уносимый из ванн 3 и 4 вместе с обрабатываемыми деталями, смывается водой в промывных резервуарах 5, 6 к 7.

При этом вода, стекающая из резервуара 7, попадает в резервуар 6, а вода из резервуара 6 стекает в резервуар 5. Аппарат 1 состоит из резервуара 10, в который насосом 9 по трубопроводу 8 подается часть водного промывного раствора из резервуара 5. В резервуар 10 добавляется кислота и полученная смесь пропускается через фильтр для улавливания твердых частиц 12 и угольный фильтр 11; циркуляция осуществляется по трубопроводу 14 с помощью насоса 13. Отфильтрованные кислые промывные воды подаются насосом 15 через трубопровод 16 с вентилями 17 и 18 обратно в никелировальные ванны 3 и 4.

Желательно, чтобы промывные воды из резервуара 5 подавались в резервуар 10 насосом 9 непрерывно или через определенные интервалы со скоростью равной скорости поступления в резервуар 5 никелевого раствора из ванн 3 и 4 и скорости подачи раствора из резервуара 6. В этом случае обеспечивается практически постоянный уровень промывной жидкости в резервуаре 5.

Желательно, чтобы отфильтрованные кислые промывные воды подавались из резервуара 10 в никелировальные ванны 3 и 4 насосом 15 через вентили 17 и 18 непрерывно или через определенные интервалы со скоростью равной скорости вывода никелировального раствора из ванн 3 и 4. В этом случае уровень жидкости в ваннах 3 и 4 будет оставаться практически постоянным, а химический состав и величина рН раствора будут практически одинаковыми в течение всего процесса.

Рис. 1 - Схема процесса выделения и повторного использования никелирующих растворов из полировальных ванн, уносимых с обрабатываемыми деталями

Для лучшего фильтрования смеси промывных вод и кислоты из резервуара 10 предпочтительно, чтобы смесь рециркулировалась насосом 13 через фильтры 11 и 12 со значительно большей скоростью, чем скорость удаления смеси из резервуара насосом. В результате этого смесь перед возвращением в ванны 3 и 4 может несколько раз пройти через фильтры 11 и 12.

В случае необходимости можно использовать устройство для автоматического поддержания постоянного значения рН в резервуаре 10 путем добавления небольших количеств кислоты. Фильтр 12 представляет собой бумажный фильтр или специальный патрон фирмы «Саммит Сайентифик оф Резерфорд, Ныо Джерси». Фильтр 17 выполнен из активированного угля; например может быть использован импрегниро-ванный фильтр из активированного угля «Карбо Клир» сечением 25 см, содержащий ~115 г угля. Этот фильтр также производится вышеупомянутой фирмой.

Ванны 3 и 4 заполняются обычными никелировальными растворами, содержащими 300-550 г/л хлорида и сульфата никеля и 30-40 г/л борной кислоты. Величина рН раствора должна составлять 2-5, предпочтительно 3-4. Процесс обычно проводят при температуре 21-82°С, предпочтительно при 55-65 °С. Для повышения коррозионной стойкости покрытия в растворе в полуполировальной ванне низкое содержание серы и обычно не содержится органических полирующих добавок.

В полировальной ванне в растворе содержатся различные полирующие добавки, являющиеся органическими веществами, по меньшей мере часть из которых содержит серу. В результате этого содержание серы здесь значительно выше, чем в полуполировальной ванне. Некоторые из полирующих добавок описаны в патенте США 3 288574 и в приведенных в нем ссылках. Кислый водный раствор в промывных резервуарах 5, 6 и 7 имеет величину рН = 1,5-5-2,5 и температуру 15-30 °С.

Промышленность выпускает готовые составы для никелировальных ванн, которые позволяют успешно проводить процесс. В процессе работы часть водной смеси выводится из промывного резервуара 5 насосом 9 с малой скоростью и подается в резервуар 10, где ее смешивают с соляной или серной кислотой в количествах, достаточных для поддержания величины рН смеси ~3,0, предпочтительно 2,0-2,5. Смесь из резервуара 10 циркулируется насосом 13 через фильтры 11 и 12, проходя через них несколько раз и возвращаясь в резервуар 10. На фильтре 12 происходит удаление твердых частиц, а на фильтре // абсорбция органических полирующих добавок. После фильтрования очищенный раствор может быть возвращен как в полуполировальную, так и в полировальную ванны 3 и 4. В случае необходимости в полуполировальную ванну 3 добавляют соли никеля, а в ванну 4 полирующие добавки.

Описанный способ позволяет наносить на металлические или пластмассовые изделия полуполированный слой никеля толщиной 0,012 мм и полированный слой никеля толщиной 0,075 мм. Процесс достаточно производителен. При площади покрытия на каждом изделии ~ 1,8 м2 за час обрабатывается ~ 100 изделий. Раствор в полуполировальной ванне содержит 240 г/л NiS04, 45 г/л NiCl2 и 53 г/л борной кислоты; рН = 3,2. Раствор в полировальной ванне содержит ~240 г/л NiS04, 75 г/л NiCla и 53 г/л борной кислоты; рН ~ 3,6. Температура никелировальных ванн составляет ~63 °С, а температура на первой стадии промывки ~27°С.

Потенциал, подаваемый на изделие в полуполировальной ванне составляет 7 В, плотность тока ~450 А/м2. В полировальной ванне также подается потенциал 7 В, а плотность тока составляет ~560 А/м2. Смесь из первого промывного резервуара непрерывно подается в резервуар 10 со скоростью ~750 л/ч, циркулирует через фильтры 12 л 11 с такой же скоростью и после фильтрования направляется в полуполировальную ванну Зсо скоростью ~280 л/ч и в полировальную ванну со скоростью ~115 л/ч. Вместимость резервуара 10 составляет ~11 500 л. В резервуар подается достаточное количество кислоты для поддержания величины рН = 1,5-^2,5, в среднем ~2,0.

Этот способ позволяет значительно снизить расходы на обработку в результате значительного снижения количества никельсодержащих отходов, используемых никелевых солей и полирующих добавок, а также затрат на обработку сточных вод. Данный способ делает экономически целесообразным увеличение концентрации никелевых солей в никелировальных растворах, что позволяет повысить качество никелирования, уменьшить количество полирующих добавок и снизить расход энергии при той же толщине никелевого покрытия.

В результате подачи смеси со станции фильтрования в никелировальные ванны маленькими порциями через небольшие промежутки времени в значительной степени устраняются колебания в химическом составе и величине рН никелировальных растворов, что делает процесс покрытия более надежным и повышает качество никелированных изделий.

ЛИТЕРАТУРА

1. Афанасьева Е.И., Скобелев В.М. "Источники света и пускорегулирующая аппаратура: Учебник для техникумов", 2-е изд., перераб., М.: Энергоатомиздат, 1986, 270 с.

2. Боленок В.Е. "Производство электроосветительных приборов: Учебник для техникумов", М.: Энергоиздат, 1981, 303 с.

3. Денисов В.П. "Производство электрических источников света", М: Энергия, 1975, 488 с.

4. Денисов В.П., Мельников Ю.Ф. "Технология и оборудование производства электрических источников света: Учебник для техникумов", М: Энергия, 1983, 384 с.

5. Пляскин П.В. и др. "Основы конструирования электрических источников света", М: Энергоатомиздат, 1983, 360 с.

6. Чуркина Н.И., Литюшкин В.В., Сивко А.П. "Основы технологии электрических источников света" / под общ. ред. Прыткова А.А., Саранск: Мордовское книжное издательство, 2003, 344 с.

Похожие работы на - Извлечение никеля из полировальных ванн для никелирования

 

Не нашли материал для своей работы?
Поможем написать уникальную работу
Без плагиата!
Без нейросетей!