Адипиновая кислота

  • Вид работы:
    Контрольная работа
  • Предмет:
    Химия
  • Язык:
    Русский
    ,
    Формат файла:
    MS Word
    7,57 Mb
  • Опубликовано:
    2010-03-10
Вы можете узнать стоимость помощи в написании студенческой работы.
Помощь в написании работы, которую точно примут!

Адипиновая кислота

СОДЕРЖАНИЕ

Введение

1. Физико-химические свойства адипиновой кислоты

2. Области применения адипиновой кислоты

3. Конъюнктура рынка некоторых регионов мира

4. Развитие производства адипиновой кислоты и современные технологические аспекты производства

5. Экологические аспекты производства адипиновой кислоты

Выводы

Информационные материалы

ВВЕДЕНИЕ

Адипиновая кислота - один из важнейших продуктов химической промышленности. Она является полупродуктом для промышленного получения синтетического волокна найлон-66.

В данном работе освещены вопросы развития и состояния производства адипиновой кислоты, экологические аспекты производства, её физико-химические свойства, области применения. В связи с тем, что в литературе ограничены сведения конъюнктурного характера, поэтому в работе освещены некоторые вопросы конъюнктуры рынка отдельных регионов, в частности в Азии, США, в странах СНГ (в том числе Украине), представлены цены на адипиновую кислоту на мировом рынке.

1. ФИЗИКО-ХИМИЧЕСКИЕ СВОЙСТВА АДИПИНОВОЙ КИСЛОТЫ

Адипиновая кислота (1,4-бутан-дикарбоновая кислота):

ноос (сн2)4 СООН

Мол.масса-146,14, бесцветные кристаллы;

 

t пл. = 153 ˚С ;

t кип.= 265˚С / 100 мм рт. ст.;

легко возгоняется, растворима в воде: (г на 1ОО г):I,44(I5˚C) 5,12 (40˚С), 34,1 (70˚С),растворима в этаноле, в эфире - ограниченно; t всп. 196,1°С.

Таким образом, адипиновая кислота обладает всеми химическими свойствами, характерными для карбонових кислот. Образует соли, большинство из которых растворимы в воде. С гликолями образует полиэфиры. При взаимодействии с NH3 и аминами адипиновая кислота дает аммонийные соли, которые при дегидратации превращается в адипамиды.(1,2)

2. ОБЛАСТИ ПРИМЕНЕНИЯ АДИПИНОВОЙ КИСЛОТЫ

Адипиновая кислота - сырье в производстве полигексаметиленадипинмида (~ 90% производимой кислоты), её эфиров, полиуретанов; пищевая добавка (придает кислый вкус, в частности, в производстве безалкогольных напитков).

Адипиновая кислота как пищевой подкислитель уступает лимонной и фумаровой кислотам и имеет ограниченное применение. Она, например, конкурирует с лимонной кислотой в производстве желатиновых десертов, джемов и желе. В этих продуктах способность адипиновой кислоты усиливать желеобразование позволяет снизить расход желатина и др. белковых ингредиентов. На десерты желатинового типа, выпускаемые в США фирмой "General Foods Corp." расходуется основная часть пищевой адипиновой кислоты в стране. Некоторое её количество используется в сыроварении и производстве сухих основ напитков. Потребление адипиновой кислоты в пищевой промышленности за последние два десятилетия не изменилось, оставаясь на уровне 1-3 тыс. т. в год. Адипиновую кислоту пищевого сорта производят в США фирмы nDu Pont" и nMonsanto"

Применение адипиновой кислоты в пищевой промышленности стран Западной Европы не разрешено законодательством (3).

Адипиновая кислота в странах СНГ применяется главным образом в производстве найлона, а также инсектицидов, смазок, пластификаторов (I).

3. КОНЪЮНКТУРА PЫHKA НЕКОТОРЫХ РЕГИОНОВ МИРА

 

В США адипиновую кислоту производят фирмы:

- «Allchem Industries Inc.»;

- «Ashland Chemical Compane, Ind,L Chems Jolvents Div.»;

- «Brown Chemikal Co, Inc.Industrial and Fine Сhem.»;

- «The Chemical Co»;

- «Со yne Chemical»( nDu Pont Company", nDu Pont Chemical");

- «International Chemical Inc.";

- «Milyas, Inc.»;

- «Monsanto Company»;

- «Penta Manufakturing Co»;

- «Spectrum Bulk Chemicals, A Division of Spectrum Owal Prod.»;

- «Total Speciality Chemicals»;

- «Us Chemicals, Inc.»;

- «Van Waters Rogers Inc.».

Объем производства адипиновой кислоты в США в 2004 году составил 815 тыс. тонн в год (5).

Фирмы nDu Pont" (США) и "Phone-Poulenc " (Франция) намеревались объединить свои установки по производству адипиновой кислоты, расположенные в Европе. Мощности их установок оцениваются в 545 тыс. тонн в год. Производство адипиновой кислоты фирмы "Phone-Poulenc " находится в г. Шаламп (Франция), фирмы nDu Pont" - в г.Уилтон (Великобритания). Намечалось инвестировать 10 млн. долл. на модернизацию французского завода адипиновой кислоты, после чего завод в Великобритании должен быть закрыт (6). Но фирме nDu Pont" не удалось создать совместное предприятие по производству адипиновой кислоты с фирмой "Phone-Poulenc " во Франции, поэтому фирма решила не закрывать свой завод по выпуску полупродукта для найлона в г. Уилтон на северо-востоке Англии. В настоящее время фирма напротив намерена расширить производственные мощности по производству адипиновой кислоты и гексаметилендиамина на этом предприятии (7).

В литературе имеется некоторая информация о расширении мощностей по производству адипиновой кислоты в Азии (8). Как сообщает «Japan Chemical Week» Тайваньская компания " Тайвань фортилайзер Ко" разрабатывает технико-экономическое обоснование строительства на О.Тайвань предприятия по производству адипиновой кислоты годовой мощностью 40 тыс. тонн в г. Хуолен, где расположен принадлежавший фирме завод по выпуску серной кислоты и другого сырья, необходимого для налаживания выработки адипиновой кислоты. Отмечают, что ввод в эксплуатацию указанного предприятия позволит фирме создать базу для производства найлона. До сих пор о.Тайвань являлся крупным импортером адипиновой кислоты, ведущим поставщиком этого товара в указанную страну была японская компания "Асахи кемикал индастриз Ко", которая владеет заводом по выпуску адипиновой кислоты в г. Нобеока годовой мощностью 85 тыс. т.

Другая Тайваньская фирма "Формоса плэстикс Корп." также рассматривает вопрос о строительстве завода по производству указанного продукта в стране мощностью 40 тыс. т/год. Сообщается также, что американская компания nDu Pont" в начале 2004 года ввела в эксплуатацию предприятие по выпуску адипиновой кислоты в Сингапуре годовой мощностью 100 тыс. т. Французская фирма "Рон-Пуленк С А " пустила недавно завод по производству этого товара в Республике Корея (г.Онсан) мощностью 50 тыс. т/год при сотрудничестве с одной из местных компаний. Как отмечает «Japan Chemical Week», расширение мощностей по производству адипиновой кислоты в ряде стран Азии приведет к обострению конкуренции на рынке этого товара в регионе (8).

Цены на адипиновую кислоту на мировом рынке в ноябре 2006 г--феврале 2007 года характеризуются следующими даннымиt (т.долл./т)(9, 10):

-навалом, в автомашинах, с доставкой- 0,695;

-в мешках, поставка автотранспортлм - 0,735.

По состоянию на февраль 2007 г. цена дана на адипиновую кислоту полимеризационного сорта.

В Украине производителями адипиновой кислоты являются Ровенское объединение "Азот", Северодонецкое "Объединение Азот" и украинско-польское ( совместное предприятие "Адинол" (г.Ровно), Гос. НИИ и проектный ин-т "Химтехнология" (11).

В России адипиновую кислоту производит предприятие "Завод им. Я .Л.Свердлова" (11).

Адипиновая кислота, производимая в "Адинол",характеризуется следующими данными:

Мac. доля, %


основного вещества

99,7

воды

0,27

золы

0,003

азотной кислоты

0,001

железа

0,0001

щавелевой кислоты

0,006

цветность, ед.платино-кобальтовой шкалы -5

пл., С

151,5


Используется в лакокрасочной, анилинокрасочной, кожевенной, текстильной промышленности, а также для очистки от накипи паровых котлов. Тара: бумажные 4-сяойные непропитанные мешки с полиэтиленовыми вкладышами (25 и 30 кг) (12).


Потребности, тыс. тонн

Наличие мощностей

Производство в Украине, тыс.т

2000 г.

2003 г.

2005 г.


2002 г.

2003 г.

2005 г.

2006 г.

55 950

33 640

61 660

58 300

33000

48 650

14 659

32 040


4. РАЗВИТИЕ ПРОИЗВОДСТВА АДИПИНОВОЙ КИСЛОТЫ И СОВРЕМЕННЫЕ ТЕХНОЛОГИЧЕСКИЕ АСПЕКТЫ

В настоящее время известно несколько способов получения адипиновой кислоты. Эти способы отличаются друг от друга как по исходному сырью, так и по технологии. Старейшим среди них является способ окисления циклогексанода азотной кислотой до адипиновой кислоты, осуществленный еще в 1903 году. Большое практическое значение процесс получения адипиновой кислоты приобрел лишь в 30-40 годы нашего столетия, главным образом в связи с интенсивным развитием производства найлона. Выдающиеся технические свойства синтетического волокна найлон-66, полученного на основе адипиновой кислоты и гексаметилендиамина, стимулировали разработку методов синтеза адипиновой кислоты (16).

С этого времени непрерывно ведутся поиски более совершенных и экономичных путей получения адипиновой кислоты и расширения сырьевой базы для её производства. Из всех известных методов получения адипиновой кислоты промышленное осуществление нашли немногие. В результате исследований разработан и реализован в промышленности весьма экономичный метод производства адипиновой кислоты двустадийным окислением циклогексана. Этим методом получают основное количество адипиновой кислоты. На первой стадии циклогексан окисляют молекулярным кислородом с максимальным выходом циклогексанона и циклогексанола, а на второй стадии - полученные продукты доокисляют до адипиновой кислоты. Доокисление циклогексанона, циклогексанола или их смесей можно проводить с использованием различных окислителей, в том числе кислородом воздуха.

Наиболее распространен в настоящее время метод окисления азотной кислотой продуктов воздушного окисления циклогексана. Наиболее широко в промышленности используется двустадийный процесс, в котором на второй стадии окисление проводят азотной кислотой. Такие процессы оказались особенно эффективными при создании комбинированных производств капролактама и адипиновой кислоты.

Учитывая большие масштабы производства адипиновой кислоты, особое внимание уделяется созданию непрерывных схем окисления циклогексанола или его смесей с циклогексаноном азотной кислотой. Для промышленного производства адипиновой кислоты широко используется окисление циклогексанола азотной кислотой. При этом применяют циклогексанол, полученный окислением циклогексана воздухом или гидрированием фенола, а также сырую смесь продуктов окисления циклогексана воздухом, полученную после отгонки непрореагировавшего циклогексана.

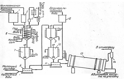
Известны периодический и непрерывный методы производства адипиновой кислоты. Приводим технологическую схему периодической установки (І7) (См. Рис.1).

Для окисления применяется б0-б5%-ная азотная кислота. После её нагревания а реакторе до 50°С туда же подают в течение 1,5 часа цикло-гексанол. Так как реакция протекает с выделением значительного количества тепла, в змеевик реактора подают для охлаждения воду, поддерживая температуру 62-67 °С. Во время окисления реакционную смесь интенсивно перемешивают, а по окончании подачи циклогексанола продувают воддухом 40-45 мин. при 80˚С для удаления нитрозных газов. Далее реакционную смесь охлаждают в кристаллизаторе до 20˚С и полученную суспензию разделяют на нутч-фильтре.

Выделенную адипиновую кислоту растворяют в деминерализованной воде и после перекристаллизации сушат в барабанной сушилке. Высушенная адипиновая кислота содержит около 0,1% влаги.

Рис.1. Схема установки периодического действия для получения адипиновой кислоты окислением циклогексанола азотной кислотой: 1-напорный мерник азотной кислоты; 2 - напорный мерник циклогексанола; 3 - каплеотбойник; 4 - холодильник; 5 - сепаратор; 6 - реактор окисления циклогексанола азотной кислотой; 7,10- кристаллизаторы, 8,11 - нутч-фильтры; 9 - растворитель; 12 - мерник деминерализованной воды; 13 - сушильный барабан; 14 - циклон.

Специалисты Северодонецкого филиала Восточноукраинского госуниверситета Т.Б. Колесникова, В.М. Каут и др. приводят данные окисления циклогексанола азотной кислотой в присутствии органических примесей-активаторов (18). Определено положительное действие этих примесей на селективность процесса, изучена возможность щавелевой кислоты активизировать процесс окисления циклогексанола азотной кислотой до адипиновой кислоты. Введение активаторов в реакционную массу способствует повышению селективности до 94-95% и снижению количество отходов. Щавелевая кислота, которая образуется в небольших количествах, полностью разлагается, повышая селективность процесса (См. табл.2 ) (18).

Широко распространен в мире промышленный метод получения адипиновой кислоты окислением смеси циклогексанона и циклогексанола, а также сырой смеси продуктов воздушного окисления циклогексана. При использовании сырой смеси отпадает необходимость выделения чистых циклогексанона и циклогексанола ректификацией. Кроме того в сырой смеси содержится некоторое количество адипиновой кислоты, а также имеются побочные продукты окисления, которые в процессе доокисления азотной кислотой дают дополнительное количество адипиновой кислоты.

Таблица 2



суміші, %


%

1

За відсутності добавки

0

4

88,4

2

Cu-V каталізатор

0,2

5

92,5

3

Щавлева кислота

0,015

6

89,6

4

Те ж саме

0,025

5

90,5

5

-«-

0,1

0

94,0

6

-«-

0,11

7

93,7

7

Гліцерин

0,015

4

89,4

8

0,025

0

90,0

9

-«-

0,16

8

95,8

10

-«-

0,17

6

95,6

11

Етиленгліколь

0,015

4

89,4

12

-«-

0,025

9

89,9

13

-«-

0,078

0

92,0

14

-«-

0,09

6

89,6


Сырую смесь продуктов воздушного окисления циклогексана используют для производства адипиновой кислоты многие зарубежные фирмы (США, Японии и др.). В качестве окислителя применяют 50-60% азотную кислоту. Поступающая на окисление сырая смесь после отгонки непревращенного циклогексана содержит 28,4% циклогексанона, 29,6 - циклогексанола, 3,2% -сложных эфиров и около 10% воды. Окисление азотной кислотой ведут в присутствии катализатора, состоящего из меди и ванадия. Температуру процесса поддерживают в пределах 55-585˚С. При этих условиях выход адипиновой кислоты достигает 90-93% от теоретического. В промышленных условиях рекомендуется применять аппараты с выносными холодильниками, так как это дает возможность путем изменения количества циркулирующей реакционной смеси более тонко регулировать концентрацию азотной кислоты в месте её смешения с органическим сырьем. В крупных промышленных установках процесс ведут в двух трубчатых реакторах, установленных последовательно. Температуру в первом реакторе поддерживают ~70°С, во втором ~ 100˚С. Практически отношение количества циркулирующей смеси к количеству подаваемого на окисление органического сырья достигает 50:1. Реакционную смесь после окончания окисления продувают горячим воздухом, для удаления окислов азота и передают в дистилляционную установку для концентрирования. Концентрирование с целью уменьшения коррозии проводят в вакууме. В процессе концентрирования удаляются некоторые побочные продукты реакции (валерьяновая и масляная кислоты и др.). Стадия извлечения, адипиновой кислоты из упаренного реакционного раствора состоит в кристаллизации (однократной, или двукратной), которую проводят при 40-50°С. После центрифугирования маточный раствор повторно упаривают и снова подвергают кристаллизации. После второй кристаллизации основное количество маточного раствора возвращают в реактор окисления. Во избежание накопления низших дикарбоновых кислот часть маточного раствора выводят из цикла (17).

Выбор периодической или непрерывной схемы зависит в основном от требуемой производительности установки. В свою очередь, производительность определяется такими факторами, как способ отвода тепла реакции, время контакта реагентов, необходимое для завершения процесса окисления, а также время, необходимое для выделения из реакционной смеси нитрозных газов.

При выборе типа реактора окисления следует учитывать также следующие обстоятельства:

- для поддержания постоянных оптимальных условий реакции (температура, концентрация и др.) необходимо интенсивное перемешивание реакционной смеси;

- для обеспечения хорошей регенерации азотной кислоты из реакционных газов и из жидких продуктов реакции необходимо возможно более полное выделение нитрозных газов;

- для увеличения выхода адипиновой кислоты и улучшения абсорбции окислов азота из реакционных газов целесообразно применение повышенного давления в реакторах окисления.

Для установок производительностью не более 0,5 т/ч рекомендуется периодическая схема производства адипиновой кислоты. В такой схеме в качестве реактора может быть использован аппарат, снабженный эффективным переценивающим устройством, а также рубашкой и змеевиками для охлаждения.

Для установок большей производительности целесообразнее непрерывная схема процесса. В этом случае легче поддерживать оптимальные температуру и концентрации реагентов путем проведения процесса в двух последовательно установленных автоклавах (См. схему Рис.2)

Рис.2 Органическое

При окислении чистых циклогексанола или циклогексанона, а также их смесей по непрерывной схеме выход адипиновой кислоты может составить более 90% от теоретического при длительности контакта реагентов 10 мин. в каждом реакторе.

Если производительность установки превышает 1 т/ч адипиновой кислоты, рекомендуется применять трубчатые реакторы, у которых поверхность теплообмена велика сравнительно с реакционным объемом, что имеет первостепенное значение при осуществлении реакций с большим выделением тепла. Первый и второй реакторы соединены последовательно (См. схему Рис.3).

Выделение адипиновой кислоты из реакционных растворов может осуществляться периодическим или непрерывным способом. Технологическая схема выделения адипиновой кислоты периодическим способом представлена на Рис.4.

Рис.3. Схема установки с двумя трубчатыми реакторами для проведения процесса под давлением 2-5 ат: 1-циркуляционный насос, 2 - реакторы, 3- нагреватель, 4- сепараторы, 5- отдувочная колонна, 6- колонна концентрирования.

Рис.4. Периодическая схема выделения адипиновой кислоты: 1-приемный сборник; 2,8- кристаллизаторы; 3,9- холодильники; 4,7,10 - буферные сборники; 5,11 -центрифуги; 6- сборник-растворитель; 12- сушильный барабан.

Для получения адипиновой кислоты высокого качества раствор адипиновой кислоты перед перекристаллизацией обрабатывают активированным углем осветляющим марки А. Данный процесс выделения адипиновой кислоты малопроизводителен и может быть использован в производствах небольшой мощности. Главная причина, которая ограничивает производительность процесса, является периодичность основных технологических стадий и техническое несовершенство аппаратуры, применяемой в процессе кристаллизации. При кристаллизации данным способом суспензия содержит кристаллы разной величины, для полного выделения которых малопригодны высокопроизводительные центрифуги, поэтому отделение кристаллов в большинстве случаев приходится производить на фильтрах. Кроме того обильное отложение кристаллов на стенках кристаллизаторов препятствует интенсивному теплообмену. И чтобы уменьшить осаждение кристаллов и улучшить условия теплообмена, приходится осуществлять интенсивную циркуляцию раствора с линейной скоростью около 3 м/сек. Однако при такой скорости циркуляции происходит дополнительное механическое измельчение кристаллов. Все эти обстоятельства усложняют механизацию и автоматизацию процесса и вызывают необходимость применения малопроизводительного ручного труда. Вследствие этого использование периодического способа выделения адипиновой кислоты для крупнотоннажных производств нецелесообразно.

Непрерывное выделение адипиновой кислоты из реакционных растворов потребовало специальных исследований по определению оптимального режима работы основных аппаратов и разработки аппаратурного оформления процесса. На основании анализа работы опытных аппаратов, промышленных испытаний и литературных данных для процесса выделения адипиновой кислоты из реакционных растворов рекомендуется следующая технологическая схема (Рис.5).

Рис. 5. Непрерывная схема выделения адипиновой кислоты: 1,5 - кристаллизаторы; 2,6 - сгустители, 3,7- центрифуги; 4- растворитель; 8- сборник маточного раствора; 9- сушилка; 10- калорифер; 11- вентилятор.

В данной схеме применены кристаллизаторы со взвешенным слоем кристаллов и с охлаждением раствора в выносных холодильниках. Вместо этих аппаратов с равным успехом можно использовать и вакуум -кристаллизаторы.

Промышленное производство адипиновой кислоты методом доокисления азотной кислотой продуктов воздушного окисления циклогексана включает следующие стадии:

• доокисление азотной кислотой органического сырья;

• выделение из реакционных растворов адипиновой кислоты и ее очистка;

• регенерация азотной кислоты из реакционных растворов и получение плава низших дикарбоновых кислот (ДНК);

• абсорбция окислов азота из реакционных газов с целью выделения азотной кислоты и санитарной очистки выхлопных газов.

На Рис. 6 приводится схема основных стадий производства.

Рис. 6. Принципиальная схема отделения доокисления: 1-сборник органического сырья; 2 - сборник парового конденсата; 3- сборник азотной кислоты; 4 - реактор первой ступени; 5- сепаратор первой ступени; 6 - реактор второй ступени; 7 - подогреватель реакционного раствора; 8- подогреватель воздуха; 9- сепаратор второй ступени; 10 - колонна отдувки реакционных газов; 11- сепаратор-ловушка.

Для проведения непрерывного процесса доокисления в крупных промышленных установках необходимо обратить внимание на некоторые особенности его осуществления. Наибольший выход адипиновой кислоты при доокислении получают в том случае, когда соотношение количеств азотной кислоты ( в расчете на 100%-ную) и органического сырья составляет 6-7 моль НN03 на 1 моль органического сырья.

Увеличение количества подаваемой азотной кислоты приводит к некоторому, снижению выхода адипиновой кислоты и, что особенно важно для крупнотоннажного промышленного производства, создает значительные трудности при выделении адипиновой кислоты из реакционных растворов и при регенерации азотной кислоты.

Уменьшение количества подаваемой азотной кислоты также приводит к снижению выхода адипиновой кислоты, но к уже более значительному, так как при этом резко увеличивается выход побочных продуктов.

Прекращение подачи азотной кислоты при продолжающейся подаче органического сырья может привести к резкому повышению температуры и давления в реакторе. Поэтому для обеспечения безопасного и стабильного проведения непрерывного процесса доокисления следует строго поддерживать необходимое соотношение азотной кислоты и органического сырья в реакторе первой ступени.

Блокировка сырьевых насосов должна гарантировать немедленное прекращение подачи органического сырья при внезапном прекращении подачи азотной кислоты. При монтаже и эксплуатации оборудования необходимо учитывать, что из реакционных растворов, полученных при доокислении азотной кислотой продуктов воздушного окисления циклогексана, могут кристаллизоваться дикарбоновые кислоты. Поэтому следует избегать прокладки длинных трубопроводов для транспортировки этих растворов. В коммуникациях должны быть исключены застойные зоны и по возможности уменьшено число колен на трубопроводах. Особое внимание следует уделять обогреву и изоляции коммуникаций и импульсных линий контрольно-измерительных приборов.


Рис. 7. Технологическая схема выделения адипиновой кислоты и регенерация азотной кислоты: 1-сборник реакционных растворов доокисления; 2- вакуум-кристаллизатор первого выделения; 3,11,16,17,21- конденсаторы; 4,24- декантаторы; 5,27 - центрифуги; 6- растворитель; 7 - вакуум-фильтр; 8- угольный фильтр, 9- катионитная колонна; 10- фильтр очистки от катионита; 12- вакуум-кристаллизатор перекристаллизации; 13-кристаллизатор дополнительного выделения адипиновой кислоты; 14,28,29, 30,31 - сборники; 15,23 - выпарные аппараты; 18 - ректификационная колонна; 19,20,22 - выпарная станция; 25- циклон; 26- мокрый скруббер; 32 - сушилка с кипящим слоем.

Рис.8. Материальный баланс процесса выделения адипиновой кислоты

Необходимость регенерации азотной кислоты вытекает из следующих соображений:

• для получения адипиновой кислоты с максимальным выходом при доокислении циклогексанола и других продуктов воздушного окисления циклогексана необходимо подавать в реактор первой ступени в 3-3,5 раза больше азотной кислоты, чем требуется по стехиометрии. Без регенерации расход азотной кислоты на единицу готовой продукции в 3-4 раза выше, чем необходимо, что отрицательно сказывается на экономических показателях процесса;

• в случае отсутствия регенерации в процессе производства адипиновой кислоты возникает большое количество кислых сточных вод, обезвреживание и уничтожение которых связано с большими техническими трудностями;

• в маточных растворах, образующихся в производстве адипиновой кислоты, содержатся остатки адипиновой кислоты, глутаровая и янтарная кислоты, а также применяющиеся в качестве катализатора соли меди и ванадия. Эти соединения желательно утилизировать, что невозможно без предварительного удаления азотной кислоты.

Для полного удаления азотной кислоты методом её отгонки с водяным паром, каждый раз после достижения концентрации, соответствующей азеотропу, необходимо разбавлять раствор водой.

Регенераций азотной кислоты проводят при остаточном давлении І00-120 мм рт. ст., температуры випарки - 75-90˚С.

Для обеспечения длительной и стабильной работы аппаратуры подвод тепла желательно осуществлять при помощи горячей воды или пара низкого давления (0,1- 0,5 ат), т.к. повышение температуры греющего пара вызывает заметное увеличение скорости коррозии. Плав кислот, содержащий адипиновую, глутаровую и янтарную кислоты, небольшое (до 5%) количество азотной кислоты, катализатор и до 20-28% воды, может быть использован для получения смеси эфиров.

Специалисты Государственного научно-исследовательского и проектного института химических технологий предлагают технологию и проект усовершенствованного агрегата производства адипиновой кислоты из бензола. Предлагается извлекать медно-ванадиевый катализатор из отходящих растворов адипиновой кислоты, содержащих азотную кислоту и линейные алифатические дикарбоновые кислоты C46. Извлеченные соли меди и ванадия возвращаются в основной процесс, что позволяют существенно улучшить его экологические характеристики. Путем низкотемпературной кристаллизации отходящих растворов адипиновой кислоты происходит отделение дополнительного товарного продукта - смеси низших дикарбоновых кислот, возврат маточного раствора, содержащего катализатор, в основной процесс.

Образующаяся закись азота обезвреживается в реакторе каталитического разложения. Затрати на обезвреживание закиси азота компенсируются выработкой дополнительной тепловой энергии.

Основные технико-экономические показатели процесса, представлены в Таблице 3.

Таблица 3

Основные технико-экономические показатели процесса



СП "Адинол"

СГПП "Азот"

Предлагаемое пр-во

Наименование показателя

Ед.изм.




Годозой объем производства:




30000

-адиииновой кислоты

т/год

25000.

23800


-смеси дикарбоновых кислот

т/год

-

-

1232

Степень регенерации ка-





тализатора:





-медь

%


-

96,0

-метаванадат аммония

%

-

-

96,0

Затраты по узлу выделения





дикарбоновых кислот:



0,0075

0,013

-энергозатраты на тонну

тквт.ч

0,0093



продукции


0,470

0,331

0,218

-пар всех параметров

т




-вода оборотная

М3

35,0

20,72

16,22



Таблица 4

Материальный баланс обезвреживания газового выброса, содержащего 12% закиси азота

Обезвреживаемый газ, % об., в т.ч.: -азот 87.92 -закись азота 12,0 Реагента, % об. -аммиак 0,08 Всего: 100,0

Обезвреженный газ, % об., в т.ч.: -кислород 9,9 -азот 90,0 -окись азота 0,0003 -амиак 0,0002 -закись азота 0,1 Всего: 100,0


Внедрение процесса позволяет достичь экономии меди и метаванадата аммония соответственно в размерах 14,62 и 3,86 т/год, 700 т/год азотной кислоты и 728 т/год бензола. Очистка газовых выбросов позволяет снизить остаточное содержание оксидов азота до 60 ррт, аммиака до 30 ррт.(19).

Специалисты Российского химико-технологического ун-та Семенов М., Комаров А.Г., Литвинцев И.Ю. предложили способ переработки отходов про изводства капролактама с целью получения адипиновой кислоты (20). В результате проведенной работы получен ряд образцов адипиновой кис-доты различной степени очистки, выделенной из водных стоков производства капролактама. На основе всех образцов осуществлен синтез ПЭФ марок П-7 и ПДА-800. Предложен вариант выделения и очистки адипиновой кислоты, пригодной для синтеза качественного ПЭФ с получением на их основе, в дальнейшем, жестких ППУ,удовлетворяющих требованиям ГОСТа.

Запатентован способ получения адипиновой кислоты из оксида циклогексена, который включает стадию гидратирования оксида циклогексена и получения 1,2-дионсициклогексана и олигомеров формулы Н0А0(А0)nН (А= циклогексан-1,2-диил, n=1-5) и стадию окисления 1,2-диоксициклогексана и/или ОН и/или олигомеров водным раствором НNО3 в присутствии растворенного V и ≥ 1 соед. металла ІБ, ІІБ, ІІІ, ІV, V, VІБ, VІІБ и VІІІ в качестве кат. окисления (21).

Ряд французских патентов отражают методы получения адипиновой кислоты гидрокарбоксилированием пентеновых кислот (Заявка 2670779, Заявка 2667312, ЗАЯВКА 2666808)(22,23,24). Технологический процесс проходит в присутствии промотированного йодом Rh-катализатора, включающего Со-Кт-соединения Ru , Os , лучше Ir при 100-240° (160-190˚) давл. > 1 атм. В качестве Rh, Os , Ir могут быть использованы окислы, галогениды, нитраты.

Аналогичные методы получения адипиновой кислоты запатентованы в США (пат. 5I6642I, 5359137).

Немецкие специалисты предлагают способ регенерации адипиновой кислоты из маточных растворов, образующихся при получении технической адипиновой кислоты (24). Водный раствор адипиновой кислоты при температуре 30-60°С смешивают с таким количеством адипиновой кислоты, чтобы содержание НNО3 снизилось от 0,5-5 ч. Выделившиеся кристаллы адипиновой кислоты отфильтровывают. Для разбавления маточного раствора используют кубовый остаток переработки глутаровой кислоты, состоящей в основном из адипиновой кислоты.(Заявка 4106937 ФРГ,1992г).

5. ЭКОЛОГИЧЕСКИЕ АСПЕКТЫ ПРОИЗВОДСТВА АДИПИНОВОЙ КИСЛОТЫ

В связи с ужесточением экологических требований в странах Европы и в США рассматривают возможность замены бензола на глюкозу в производстве ряда химических продуктов (синтез адипиновой кислоты и др.) В журнале «Chem. Brit»(1995.-№3.-С.206-210) приведена реакционная схема получения адипиновой кислоты и гидрохинона кислоты из глюкозы через сикимовую кислоту и хининовую кислоту соответственно как разновидность схемы синтеза аминокислоты. Проведены анализ затрат и технико-экономическое обоснование синтеза по сравнению с другими вариантами, показавшие избыточный расход глюкозы по сравнению с бензолом, однако его экономическая перспективность очевидна (25).

В процессе производства адипиновой кислоты при получении найлона в атмосферу выделяется закись азота, который участвует в разрушении озонового слоя и способствует возникновению парникового эффекта. В различных странах проводятся исследования по совершенствованию технологии с целью снижения или полного исключения образования закиси азота. Крупнейшие компании-производители адипиновой кислоты «Du Pont-C», «Monsanto» разработали специальные программы для существенного снижения выбросов закиси азота (26).

Французскими специалистами предложен способ переработки маточных растворов, образующихся при получении адипиновой кислоты окислением циклогексанола и/или циклогексанона или их смеси азотной кислотой в присутствии Cu - V -катализатора. После отделения адипиновой кислота отгоняют азотную кислоту в виде азеотропа с водой при пониденном давлении. Получают расплав дикарбоновых кислот (ДКК), содержащий ионы Си и V. Расплав греют 5-60 мин. при температуре 130-180˚С для разложения азотистых соединений и щавелевой кислоты. Продукт растворяют в воде, пропускают через ионит для связывания ионов Си, и V , отгоняют воду, греют 1-3 ч. при температуре 200-240°С и после перегонки получают смеси ДКК (27).

В отечественной практике в образующихся наряду с адипиновой кислотой низкомолекулярных дикарбоновых кислотах (щавелевой, янтарной, глутаровой) с целью поддержания этих примесей на определенном уровне, позволяющем получать чистую адипиновую кислоту, из цикла выводят часть рециркулирующей смеси, а после выделения из нее адипиновой кислоты, остаток подвергают переработке, которая заключается в удалении азотной кислоты. Степень извлечения адипиновой кислоты из маточного раствора составляет в среднем 47,3%. Отход производства не находит квалифицированного применения и либо сжигается, либо обезвреживается путем биохимического разложения. Эти рекомендации не удовлетворяют промышленное производство как с экономической, так и с экологической точки зрения. Специалисты Вост.-Укр. ун-та, Северодонецкого технологического ин-та Колесникова Т.Б., Дышловой В.И., Каут В Л (28) разработали метод переработки отводимого маточного раствора, позволяющий увеличить степень извлечения дикарбоновых кислот. Сущность метода в том, что кристаллизацию ведут в кристаллизаторе - флотаторе путем барботирования в него воздуха с линейной скоростью 3,3-8,0 м/час и одновременным охлаждением суспензии до 20-22˚С. В результате исследований выходит, что барботажный способ переработки отводимого маточного раствора обеспечивает повышение степени извлечения адипиновой кислоты до 94% вместо 47,3% без использования фильтровального оборудования. Кроме того, выделяется раствор, обогащенный янтарной кислотой, которая может найти применение для использования в производстве минеральных удобрений с физиологически активными свойствами или для снятия накипеотложений в теплообменной аппаратуре. Степень извлечения янтарной кислоты из отходов составляет 94-99%.

Специалисты "Объединение Азот" и Северодонецкого технологического института считают, что для уменьшения количества отходов целесообразно повысить селективность окисления, а для упрощения технологии переработки плава НДК в реализуемые продукты, желательно процесс окисления осуществлять по бессолевому методу. Известно, что для того, чтобы в бессолевом методе не повысилась норма расхода по циклогексанолу и не понизилась бы производительность установки по адипиновой кислоте, применяют органические активаторы окисления. Наиболее эффективным активатором является ацетальдегид в количестве 2% от массы циклогексанола, где селективность окисления повысилась на 7,5%, тогда, как с использованием 1% медно-ванадиевого катализатора, только на 3,8%. При исследовании других органических веществ (этиленгликоль, щавелевая кислота, глутаровая кислота), которые имеются или производятся на Северодонецком ПО " Азот", на способность активизировать процесс окисления, оказалось, что более высокая селективность достигается при использовании смеси глутаровой и янтарной кислот (13% и 3%). Однако, для изменения состава циркулирующего реакционного раствора в сторону повышения содержания глутаровой кислоты до 13,0% при сохранении постоянным содержания янтарной кислоты на уровне 3,0%, потребуются некоторые изменения в технологии на стадиях выделения НДК. Например, изменить условия переработки отводимого маточного раствора, чтобы при фильтровании суспензии в осадок практически полностью переходили янтарная и адипиновая кислоты, а фильтрат, представляющий раствор глутаровой кислоты и медно-ванадиевого катализатора в 57-59% - в азотной кислоте возвращать в цикл окисления. При таком оформлении производства твердые отходы исключаются, поскольку выделяемая янтарная кислота может быть реализована. Применение щавелевой кислоты или формалина взамен медно-ванадиевого катализатора может быть экономически обосновано, так как плав НДК в данном случае может быть использован в народном хозяйстве и, следовательно, сокращаются затраты на уничтожение отходов. Кроме того получаемая адипиновая кислота, как более чистая и не содержащая даже следов меди, может применяться в пищевой, фармацевтической и парфюмерной промышленности взамен лимонной кислоты (29).

Специалисты также считают, что в производстве адипиновой кислоты целесообразно к сгустителю и центрифуге подключить вакуум, что позволит в два раза уменьшить количество отводимого маточного раствора, т.е соответственно уменьшить количество твердых отходов: повысить содержание глутаровой и янтарной кислот в циркулирующем растворе соответственно до 13 и 6% масс., что позволит повысить селективность окисления до 96-97% и соответственно на 3-5% увеличить выход товарной адипиновой кислоты (30).

Плав НДК, который является побочным продуктом производства адипиновой кислоты, является прекрасным реагентом для удаления накипеоб-разования на теплообменных поверхностях. Ежегодно его образуется и не используется до 2000 т. Получаемый плав на предприятиях в настоящее время либо сжигается, либо обезвреживается биохимическим разложением. В лабораторных условиях специалистами Колесниковой Т.Б. Дышловым Б.П. и др. проведена проверка способности плава НДК снижать накипеобразование по известной методике, используемой на северодонецком ПО "Азот" (31).

Эффективность снятия накипи отходами НДК приблизительно 91,5%. Способ химической чистки теплообменной аппаратуры экологически чистый, дешевый и достаточно эффективный. Транспортировать плав можно в мешках любым транспортом, что является преимуществом перед известными реагентами (уксусной, соляной и др. кислотами), перевозка которых возможна только в цистернах.

ВЫВОДЫ

Таким образом, адипиновая кислота, обладающая всеми химическими свойствами, характерными для карбонових кислот, является ценным сырьем в производстве полигексаметиленадипинамида (~ 90% производимой адипиновой кислоты), её эфиров, полиуретанов; пищевая добавка (придает кислый вкус, в частности, в производстве безалкогольных напитков). Адипиновая кислота является полупродуктом в производстве синтетического волокна найлон-66.

В промышленности адипиновую кислоту получают главным образом двустадийным окислением циклогексана. Существуют и другие методы: окисление циклогексанола и его смесей с циклогексаноном азотной кислотой, получение из бензола, из оксида циклогексена, гидрокарбоксилированием пентеновых кислот. В целях защиты окружающей среды существуют методы снижения твердых отходов или уменьшения количества отводимого маточне го раствора, использования отходов для удаления накипеобразований на теплообменных поверхностях.

Крупнейшими производителями адипиновой кислота в странах дальнего зарубежья являются фирмы «Du Pont», «BASF», «Monsanto», в СНГ- Ровенское ПО "Азот", Северодонецкое "Объединение Азот", Украинско-польское совместное предприятие "Адинол" (г.Ровно) и завод "им. Я Л.Свердлова" ( г.Дзержинск).

ИНФОРМАЦИОННЫЕ МАТЕРИАЛЫ

1.Химический энциклопедический словарь.- М., Сов. энциклопедия",1983.

2.Химическая энциклопедия: В 5 томах.т.1.- М., Сов. энциклопедия,1988.

3.Химическая промышленность за рубежом:Обзорная информация/НИИТЭХИЧ, -1985.-Вып. 31.

4. «Chemical Weer» -1997.- №42

5. РЖ Экономика промышленности.-1996.- 4 с. 7.

6. РЖ Экономика промышленности.-1994.-12 К 14.

7. РЖ Экономика промышленности.-1996- 2 К 47

8. БИКИ.-І993.-В I0.-C.5.

9. Справочник цен мирового рынка/НИИКИ.-М.,1996 (дек.).

10. Справочник цен мирового рынка.-41.,2007 (февр.).

11.Химическая и нефтеперерабатывающая промышленность: Справочник предприятий и организаций отрасли.Вып.-5/АСУ Импульс.-2006/2007.

12.Продукция предприятий химической промышленности Украины: Каталог/ НИИТЭХИМ г.Черкассы .- К. ,2004.

13.Оперативная информация о выполнении плана производства продукции за 12 месяцев (вкл. дек.) 2005 года/ Минпром Украины. - К., 1996.

14. Оперативная информация о выполнении плана производства продукции за 12 месяцев (вкл. дек.) 1996 года.- К.,2007.

15. Деловая Украина.-1997.-№10.-С.4.

16. Фрейдлин Г.Н. Алифатические дикарбоновые кислоты.- М., Химия,1978.

17.Производство циклогексанона и адипиновой кислоты окислением цикло-гексана.- М., Химия ,1967.

18. Хімічна промисловість УкраІни.-І995.-№5.-С.Зб-38.

19.Коммерческое предложение на реализацию технологии и проекта усовершенствованного агрегата по производству адипиновой кислоты из бензола/ "Химтехнология", г.Северодонецк.-1996.

20.РЖ ХИМИЯ.-І995.- №16 Т 196 Деп.

21.РЖ Химия.-1995.-18 И 41 П.

22.РЖ ХИМИЯ.-І993.-

23.Изобретение стран мира: РЖ/ ВНИИПИ.-1994.-Вып. 41.-№4.

24.РЖ ХИМИЯ.-І993.-І0 Н 27 П.

25.РЖ ХИМИЯ.-І995.-20 И 404.

26.РЖ ХИМИЯ.-І992.-2 И 790.

27.РЖ ХИМИЯ.-І993.-І5 Н 39 П.

28.Межд. научно-техн. конф. "Экология химических производств":Сб. тез. докл. Украины, г.Северодонецк, 4-7 окт.2004 г.-Северодонецк,2004.--С.222-224.

29. Там же.с.2І2.

30. Там же с.224.

31. Экотехнологии и ресурсосбережение.- I995.-№5.с. 67-70.


Не нашли материал для своей работы?
Поможем написать уникальную работу
Без плагиата!
Без нейросетей!