Эксплуатация дизельных электростанций

  • Вид работы:
    Реферат
  • Предмет:
    Физика
  • Язык:
    Русский
    ,
    Формат файла:
    MS Word
    5,65 Mb
  • Опубликовано:
    2011-02-02
Вы можете узнать стоимость помощи в написании студенческой работы.
Помощь в написании работы, которую точно примут!

Эксплуатация дизельных электростанций

СОДЕРЖАНИЕ

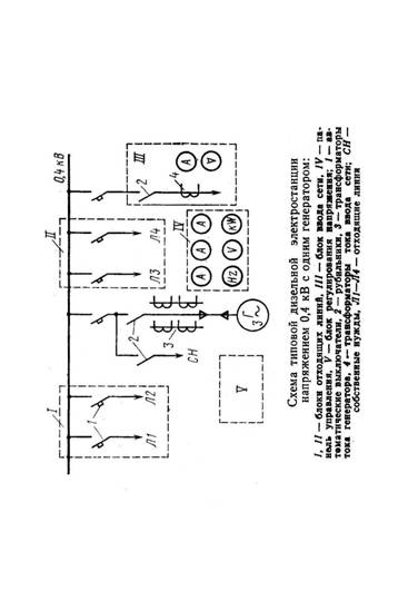
1. НАЗНАЧЕНИЕ И КЛАССИФИКАЦИЯ ДИЗЕЛЬНЫХ ЭЛЕКТРОСТАНЦИЙ

2. ЭКСПЛУАТАЦИЯ СТАНЦИЙ

2.1 Подготовка электростанций к работе

2.2 Пуск и остановка электростанций

3. НАБЛЮДЕНИЕ ЗА РАБОТОЙ ДЭС

4. УКАЗАНИЯ ПО ТЕХНИКЕ БЕЗОПАСНОСТИ ПРИ РАБОТЕ С ДЭС

ЛИТЕРАТУРА

1. НАЗНАЧЕНИЕ И КЛАССИФИКАЦИЯ ДИЗЕЛЬНЫХ ЭЛЕКТРОСТАНЦИЙ

Наряду с централизованным способом электроснабжения потребителей от сетей энергосистем в ряде случаев необходимо предусматривать местные источники электроснабжения. К ним относятся дизельные электростанции, которые широко используются также в качестве резервных установок, обеспечивающих электрической энергией потребителей при отключении питания в случае аварий на линиях энергосистемы. Для потребителей с повышенными требованиями к бесперебойности электроснабжения установка резервных источников электроснабжения обязательна.

По назначению дизельные электростанции и электроагрегаты подразделяют на стационарные и передвижные, а по исполнению— сооружаемые во временных и постоянных помещениях. В зависимости от объемов автоматизации станции и электроагрегаты могут быть 1,2 и 3-й степени автоматизации. Они могут быть выполнены с воздушной, водовоздушной или радиаторной, а также водоводяной — двухконтурной системами охлаждения.

Передвижные дизельные агрегаты обозначаются буквами АД, стационарные

АСД или ДГ, автоматизированные агрегаты обозначаются дополнительной буквой А.

Так, передвижной дизельный электроагрегат мощностью, например, 30 кВт трехфазного переменного тока напряжением 230 В с воздушной системой охлаждения, 1-й степени автоматизации будет иметь обозначение АД-30-Т/230-А1В. Тот же агрегат в стационарном исполнении 2-й степени автоматизации обозначается АСД-30-Т/230-А2В. Неавтоматизированный стационарный агрегат той же мощности с радиаторной системой охлаждения обозначается АСД-30-Т/230-Р.

На дизельных электростанциях применяют генераторы типов СГД (синхронный генератор, дизельный), ЕСС (единой серии с самовозбуждением), ЕС (единой серии), МСД открытого и МСА защищенного исполнения с самовентилированием и др.

Передвижные дизельные электростанции выполнены как комплектные электроустановки, смонтированные на каком-либо транспортном средстве и защищенные от атмосферных воздействий. Дизельные электроагрегаты также выполняют как комплектные установки в виде отдельных блоков, чаще всего смонтированными на общей раме.

Стационарные дизельные электроустановки предназначены для нормальной работы и выработки электроэнергии необходимого качества при температуре окружающего воздуха от +8 до +40°С, высоте над уровнем моря не выше 1000 м и относительной влажности воздуха до 98% при +25° С. Передвижные электроустановки вырабатывают электроэнергию при колебаниях температуры окружающего воздуха от —50 до +50°С при той же его влажности и установке над уровнем моря на высоте до 4000 м.

Основным элементом дизельной-электроустановки (станции или агрегата) является дизель-генератор, состоящий из дизельного двигателя, электрического генератора, трехфазного переменного тока, систем охлаждения, смазочной, топливоподачи и пультов управления.

Передвижные электростанции типа ЭСД комплектуются дизельными агрегатами марки АД (АСД), а электростанции ЭСДА — агрегатами АД и АСДА.

Агрегаты типа АСД, АСДА мощностью 30—100 кВт используются в качестве резервных электроустановок. Для них применяют также электростанции типа ДЭС. Для стационарных резервных электростанций большей мощности (300—500 кВт) используют дизельные электроагрегаты типов АС, АСДА, ДГА и др. Такие резервные электростанции сооружают в закрытых помещениях. Их располагают в непосредственной близости от резервируемого объекта или в центре нагрузок, для резервирования трансформаторных подстанций потребителей с учетом резервирования в первую очередь наиболее ответственных потребителей электроэнергии.

2. ЭКСПЛУАТАЦИЯ СТАНЦИЙ

Безотказная и безаварийная работа электростанции возможна лишь при условии четкого и бесперебойного функционирования всех ее узлов и систем. Обслуживающий персонал должен ясно представлять принцип работы установленного оборудования, схем управления и сигнализации, блоков автоматики и регулирования, а также конструктивные особенности, компоновку и взаимосвязь отдельных элементов оборудования. К обслуживанию ДЭС могут быть допущены только специалисты, изучившие и освоившие техническую документацию на установленное оборудование, его материальную часть, условия эксплуатации данного оборудования.

Если ДЭС обслуживают две бригады — электриков и дизелистов, то обе бригады, в совершенстве изучив непосредственно им вверенные узлы и системы, должны иметь представление о работе всего оборудование ДЭС в целом,

Лица, обслуживающие ДЭС, должны пройти в специальной комиссии проверку знания правил технической эксплуатации электроустановок, техники безопасности и пожарной безопасности, эксплуатационных инструкций, техминимума по обслуживаемому оборудованию и способов оказания первой помощи при несчастных случаях.

Для получения практических навыков в обслуживании и более детального ознакомления на месте, каждый работник, обслуживающий ДЭС, должен пройти стажирование на рабочем месте продолжительностью не менее двух недель под руководством более опытного работника. После этого он допускается к самостоятельной работе. Лица, обслуживающие ДЭС подвергаются периодической проверке знаний правил технической эксплуатации и техники безопасности. Перечисленные требования к обслуживающему персоналу позволяют обеспечить надежную, безопасную и рациональную эксплуатацию ДЭС.

2.1 Подготовка электростанций к работе

Перед пуском электроагрегат ДЭС должен быть тщательно проверен и подготовлен к работе. Необходимо осмотреть дизель, генератор, вспомогательные агрегаты, панели и щиты и устранить обнаруженные неисправности. С помощью мегаомметра проверяют сопротивление изоляции схемы агрегата при включенных выключателях; сопротивление должно быть не менее 0,5 мОм.

Если сопротивления изоляции генератора и остальной части схемы стали ниже 0,5 мОм, следует очистить от пыли, протереть или просушить открытые электроизоляционные детали; если необходимо, провести сушку генератора. При подготовке ДЭС к работе следует проверить степень разряженности аккумуляторных батарей и исправность системы зажигания. Пуск дизеля стартером при разряженности аккумуляторной батареи более 50% не разрешается.

Расходный топливный бак должен быть заправлен топливом, а кран топливного бака установлен в положение "Отрыто". Уровень топлива в расходном баке контролируется по указателю уровня топлива. Полностью заправленный расходный бак обеспечивает непрерывную работу электроагрегата в течение не менее 4 ч.

Необходимо убедиться в отсутствии воздуха в топливной системе, заправить расходные и дополнительные масляные бачки, а также заправить внутренний контур системы охлаждения водой (при ее наличии) и проверить циркуляцию воды во внешнем контуре системы охлаждения.

В системах топливопитания, смазки и охлаждения дизеля не должно быть течи. При необходимости подтянуть уплотняющие гайки, зажимы и хомуты.

Перед пуском следует проверить плотность всех соединений воздухоочистителя и механизм воздушной заслонки.

Положение выключателей и переключателей на панелях, щитах управления генератора и дизельной автоматики должно соответствовать инструкции по эксплуатации ДЭС.

Автоматический выключатель генератора в силовой сети должен быть отключен, а переключатель цепей управления следует поставить в положение «Ручное управление» или «Автоматический пуск».

После проведения этих операций электроагрегат ДЭС считается подготовленный к пуску и работе.

2.2 Пуск и остановка электростанций

Пуск и остановка ДЭС могут быть ручными — с местного щитка управления дизелем, дистанционными — с пульта дистанционного управления или автоматическим — без вмешательств обслуживающего персонала по сигналу автоматики при изменении контрольных параметров в сети или на другом агрегате

Ручной пуск и остановка производятся в соответствии с заводской инструкцией. После запуска и прогрева дизеля на холостом ходу его частоту вращения постепенно доводят до максимальной. Затем возбуждают генератор и по частотомеру устанавливают частоту тока 50 Гц с помощью изменения частот вращения дизеля. Вращением ручки сопротивления установки напряжения по вольтметру устанавливают на минимальное напряжение генератора, после этого включают генераторный автомат и нагрузку к генератору. После пуска проверяют нормальную работу систем охлаждения воды и масла.

Для остановки ДЭС следует отключить автоматический выключатель генератора (снять нагрузку), снизить напряжение на генераторе и уменьшить частоту вращения дизеля. Дизель работает на холостом ходу с последующим медленным снижением частоты вращения до его полной остановки.

Дистанционный автоматический пуск и остановка производятся с пульта дистанционного управления или шкафа управления с помощью кнопок управления. Все операции по пуску и остановке электроагрегата осуществляются в заданной технологической последовательности.

В случае удачного пуска загорается сигнальная лампочка "Нормальная работа". Если возникает аварийный режим, то срабатывает аварийная сигнализация или защита и происходит автоматическая остановка ДЭС.

Автоматический пуск и остановка осуществляются в определенной технологической последовательности без вмешательства персонала схемой автоматики.

Сигналом для автоматического пуска является изменение контрольных параметров резервируемого электроагрегата: недопустимое снижение или повышение напряжения, перегрузка электроагрегата, недопустимое снижение напряжения промышленной сети.

Сигналом для автоматической остановки является снижение общей нагрузки двух параллельно работающих злектроагрегатов (основного и резервного) до 80% номинальной мощности или восстановление напряжения вконтролируемой промышленной сети.

Автоматическая остановка элсктроагрегата происходит при возникновении аварийных режимов и срабатывании датчиков аварийной сигнализации и защиты. Включение генераторов ДЭС па параллельную работу производится в соответствии с рекомендациями.

3. НАБЛЮДЕНИЕ ЗА РАБОТОЙ ДЭС

Во время работы дизеля необходимо:

1. Следить за показаниями приборов контроля работы дизеля (температурой масла и воды, давлением масла и т. д.), наличием охлаждающей жидкости в системе, подачей масла к частям дизеля и работой различных датчиков дизеля;

2. Вовремя пополнять топливные баки горючим;

3. Обращать внимание на наличие посторонних шумов или стуков в дизеле;

4. Следить за частотой вращения дизеля и производить, если это необходимо, ее подрегулировку.

При обслуживании генератора необходимо:

1. Следить за показаниями амперметров, вольтметров ваттметров. (Превышение номинальных значений недопустимо. Допускаются несимметричная нагрузка до 25% номинального тока и перегрузка по току не более10% в течение 1 ч.);

2. Контролировать температуру и шум подшипников. (Температура подшипника контролируется на ощупь рукой (или термометром) по температуре крышек в доступных местах и не должна превышать 80 градусов. Шум подшипников следует прослушивать через специальную деревянную рейку. Один конец рейки нужно приложить к уху. А другой к ступице, или другой части подшипникового щита. При хорошем состоянии подшипников слышен равномерный гул без стуков и ударов);

3. Проверять на ощупь величину вибрации генератор. (Если вибрация больше обычной, ее измеряют виброметром в радиальном направлении вертикально и горизонтально. Двойная амплитуда вибрации генератора при работе с дизелем, измеренная на подшипниковых щитах, не должна превышать 0,2 мм или данных, приведенных в инструкции на генератор);

4. Производить подрегулировку напряжения и частоты в пределах номинальных значений;

5. Наблюдать за показаниями приборов контроля изоляции, аварийными и предупредительными сигналами: при необходимости принимать меры по устранению ненормальных режимов;

6. Периодически наблюдать за работой щеточного аппарата возбудителя и контактных колец ротора;

7. Равномерно распределять нагрузку (при отсутствии автоматики) между параллельно работающими генераторами;

8. Периодически выслушивать генератор на отсутствие стуков и посторонних шумов;

9. При внезапном исчезновении показаний одного из приборов статора или ротора проверить по другим приборам, не является ли это результатом порчи самого прибора, подводящих цепей и т. д.

10.   Если прибор или подводящая сеть повреждены, то, не изменяя режима работы генератора, надо привял меры к устранению неисправности.

4. УКАЗАНИЯ ПО ТЕХНИКЕ БЕЗОПАСНОСТИ ПРИ РАБОТЕ С ДЭС

ДЭС не создает опасности при правильной ее эксплуатации. Однако ответственность за безопасность ложится на персонал, устанавливающий, эксплуатирующий и обслуживающий станцию.

Приведенные ниже указания по технике безопасности, если им следовать, сведут к минимуму риск возникновения несчастных случаев. Перед проведением любой операции или выполнении любого действия по эксплуатации ДЭС следует убедиться в их безопасности.

Внимание! Прежде, чем приступить к эксплуатации или техобслуживанию ДЭС прочтите и усвойте все указания по технике безопасности.

Не осуществляйте пуск ДЭС, если не уверены, что это безопасно, а тем более зная, что она небезопасно в каком-либо отношении.

Если ДЭС повреждена - установите на ней плакаты с указанием об опасности и отсоедините минусовой кабель АБ.

Любой ремонт ДЭС или чистка внутри корпуса также производится при отсоединенном минусовом кабеле АБ.

Правила безопасности при установке и монтаже:

- Производите электромонтажные работы в соответствии с правилами, стандартами по электробезопасности, в том числе с соблюдением требований по заземлению и защите от коротких замыканий на землю.

- Для стационарных ДЭС с дистанционной системой подачи топлива убедитесь, что последняя выполнена в соответствии с правилами и стандартами.

- Убедитесь, что выхлопная система и глушители ДЭС свободны от горючих материалов, имеют защитную теплоизоляцию и не будут представлять опасности для персонала.

- Не поднимайте ДЭС, используя подъемные петли генератора или двигателя. Используйте только специальное приспособление для подъема на корпусе ДЭС или на опорной раме.

- Убедитесь, что подъемное оборудование исправно и имеет необходимую мощность.

- При подъеме ДЭС - на ней, под ней или между ней и краном на должно быть людей.

Пожаро - и взрывобезопасность:

· Убедитесь, что вблизи ДЭС имеются огнетушители классов ВС и АВС.

· Убедитесь, что помещение, где находится, ДЭС хорошо проветривается.

· Содержите помещение, пол и ДЭС в чистоте. Немедленно удаляйте пролитое топливо, масло, электролит или охлаждающую жидкость. * Храните промасленные тряпки в закрытых металлических ящиках.

· Не курите, не допускайте появления открытого огня вблизи топлива или АБ. Пары топлива и водород, выделяющийся из АБ, взрывоопасны.

· Избегайте заправки топлива при работающем двигателе.

· Не эксплуатируйте ДЭС при наличии любых протечек в системе подачи топлива.

Механические воздействия:

· Не эксплуатируйте ДЭС при снятых защитных ограждениях.

· Держите руки, длинные волосы, свободную одежду и ювелирные украшения подальше от шкивов, ремней и других движущихся частей. Внимание! Некоторые движущиеся части трудно различимы при работе ДЭС.

· Если предусмотрены дверцы для доступа в отсеки установки, то при работе ДЭС они должны быть закрыты.

· Избегайте контакта с горячими маслом, охлаждающей жидкостью, отработанными газами и поверхностями, а также с острыми кромками и углами.

· При работе с ДЭС носите защитную одежду, в том числе рукавицы и головной убор.

Химические воздействия:

· Не допускайте попадания топлива, смазочного масла, охлаждающей жидкости и электролита АБ в глаза и в полость рта, не допускайте их контакта с кожей.

· Не носите одежду, загрязненную топливом или смазочным маслом.

· Для работы АБ используйте защитную маску или специальные очки и фартук, устойчивый к воздействию кислоты. Электролит, пролитый на кожу или одежду, немедленно смойте большим количеством воды.

Шумовое воздействие:

· ДЭС без кожухов производит шум более 105 dB. Длительное воздействие уровней шума выше 85 dB вредно для слуха.

· При работе с ДЭС, не имеющей звукоизолирующего кожуха, необходимо использовать защитные приспособления для слуха.

Электрические воздействия:

· Подключение нагрузки к ДЭС должно производиться только квалифицированными специалистами-электриками.

· Перед началом работы убедитесь, что ДЭС, в том числе и мобильная установка, должным образом заземлены.

· Перед подсоединением и отсоединением нагрузки ДЭС должна быть остановлена, а отрицательная клемма отсоединена от АБ.

· Не прикасайтесь к деталям ДЭС, находящимся под электрическим напряжением.

· Подключайте ДЭС только к нагрузке и/или электрическим системам с соответствующими электрическими характеристиками и мощностью.

· Убедитесь, что электрооборудование, находящееся на техническом обслуживании, обесточено.

· Содержите электрооборудование сухим и в чистоте. Заменяйте провода, изоляция которых повреждена.

· При тушении пожаров, связанных с электрооборудованием, пользуйтесь только огнетушителем классов ВС и АВС.



Не нашли материал для своей работы?
Поможем написать уникальную работу
Без плагиата!
Без нейросетей!