Коэффициент гидравлического трения

  • Вид работы:
    Реферат
  • Предмет:
    Физика
  • Язык:
    Русский
    ,
    Формат файла:
    MS Word
    345,52 kb
  • Опубликовано:
    2010-05-14
Вы можете узнать стоимость помощи в написании студенческой работы.
Помощь в написании работы, которую точно примут!

Коэффициент гидравлического трения

Определение коэффициента гидравлического трения

В уравнении Бернулли, записанном для двух сечений потока вязкой жидкости (обозначения общепринятые):

   (1)

где  представляет собой суммарную величину потерянного напора:

,           (2)

где  – потери напора по длине расчетного участка трубопровода, вызванные трением жидкости о стенки, называются путевыми потерями;

 – потери напора на коротких участках трубопровода, обусловленные изменением формы или размеров (иногда и того и другого одновременно), называемые потерями в местных сопротивлениях, или местными потерями напора.

В данной работе рассматриваются путевые потери. Согласно уравнению неразрывности для потока вязкой несжимаемой жидкости (ρ = const):

                   (3)

При течении жидкости в горизонтально расположенном трубопроводе (z1=z2) постоянного сечения (S1=S2) скорость в начале и конце расчетного участка будет одинаковыми (V1=V2) и уравнение Бернулли примет вид:

           (4)

Путевые потери определяются по формуле Дарси – Вейсбаха:

,                (5)

где     λ – безразмерный коэффициент гидравлического трения (коэффициент Дарси);

L – длина расчетного участка трубопровода;

d – диаметр трубопровода;

J – средняя скорость потока.

Экспериментально установлено, что коэффициент гидравлического трения в общем случае зависит от режима течения, характеризуемого числом Рейнольдса (Re), и состояния внутренней поверхности трубопровода, характеризуемой относительной шероховатостью (ε). Влияние этих факторов на величину λ при ламинарном и турбулентном режимах течения проявляется по-разному.

При ламинарном режиме, т.е.  (ν – кинематический коэффициент вязкости) состояние поверхности стенки не влияет на сопротивление движению жидкости и λ = f (Re). Значение коэффициента λ в этом случае определяется по теоретической формуле Пуазейля:

           (6)

Подставляя это выражение в (5), получим формулу для определения путевых потерь при ламинарном течении в виде:

,  (7)

где

Из (7) следует, что в ламинарном потоке потери напора по длине трубопровода (путевые потери) прямо пропорциональны средней скорости течения жидкости.

Турбулентный режим течения характеризуется интенсивным перемешиванием жидкости как в поперечном (по сечению потока), так и в продольном (по длине потока) направлениях. Однако в диапазоне чисел Рейнольдса  непосредственно вблизи стенок трубопровода существует слой движущейся жидкости, течение в котором сохраняется ламинарным. Этот слой называется ламинарным подслоем или ламинарной пленкой. Толщина ламинарной пленки (δЛ) зависит от режима течения δЛ = f (Re) и с увеличением числа Рейнольдса δЛ уменьшается.

Стенки любого тракта имеют естественную шероховатость поверхности, первоначально обусловленную материалом и технологией изготовления трубопровода и меняющуюся при его эксплуатации вследствие взаимодействия материала трубопровода с рабочей жидкостью. Средняя высота выступов шероховатости (Δ) называется абсолютной шероховатостью. В зависимости от соотношения между δЛ и Δ (см. рис 1) трубы или стенки рассматривают как гидравлически гладкие или гидравлически шероховатые.

Рис. 1

Если δЛ > Δ, ламинарный подслой как бы сглаживает шероховатость стенки: поток не получает дополнительной турбулизации от шероховатости, поскольку образующиеся на вершинах выступов шероховатости вихри подавляются ламинарной пленкой. Труба, в которой выступы шероховатости находятся в пределах толщины ламинарного подслоя, называется гидравлически гладкой.

Если δЛ < Δ, выступы шероховатости, оказавшись в турбулентном ядре потока, вносят дополнительное возмущение в обтекающую их жидкость, что приводит к увеличению сопротивления и, следовательно, потерь напора. Такая труба является гидравлически шероховатой.

В зависимости от режима течения, одна и та же труба может быть как гидравлически гладкой, так и гидравлически шероховатой, поскольку с ростом числа Рейнольдса толщина ламинарного подслоя уменьшается, и, наоборот – с увеличением Re, δЛ возрастает.

Естественная шероховатость всегда неравномерна, так как выступы имеют различные формы, размеры и расположения. Поэтому вводится понятие эквивалентной (или равномерно-зернистой) абсолютной шероховатости ΔЭ. Эта искусственно создаваемая шероховатость, например, путем наклеивания на стенки трубы песчинок одного размера (одной фракции) и на одинаковых расстояниях друг от друга, обеспечивает создание сопротивления трубопровода, равного сопротивления при естественной шероховатости.

Значения абсолютной (Δ) и эквивалентной (ΔЭ) шероховатости для труб из некоторых материалов приведены в таблице 1.

Таблица 1.

№ п/п

Материал и состояние труб

Δ,

мм

ΔЭ,

мм

1

Трубы из стекла, латуни или медные, новые

0,0015…0,01

0,001…0,01

2

Трубы стальные, бесшовные (цельнопотянутые), новые, чистые

0,02…0,1

0,02…0,5

3

Трубы стальные, сварные, новые, чистые

0,03…0,12

0,03…0,1

4

Трубы стальные, бывшие в употреблении

0,2…1,2

0,2…1,25

5

Трубы чугунные, новые

0,25…1,0

0,2…0,5

6

Трубы чугунные, бывшие в употреблении

0,5…1,4

0,5…1,5


При определении λ учитывается не абсолютная шероховатость, а ее отношение к диаметру (или радиусу) трубы, т.е. относительная шероховатость:

;          

Это обусловлено тем, что одна и та же абсолютная шероховатость оказывает большее влияние на сопротивление движению в трубопроводе меньшего диаметра.

Предложено большое количество эмпирических и полуэмпирических формул для определения коэффициента гидравлического трения λ, учитывающих особенности течения при турбулентном режиме. Эти особенности в конечном итоге сказываются на зависимости путевых потерь от средней скорости течения.

Так, для гидравлически гладких труб потери напора по длине пропорциональны средней скорости в степени 1,75. В переходной области от гидравлически гладких к шероховатым трубам () на величину λ оказывают влияние одновременно два фактора: число Рейнольдса и относительная шероховатость, т.е. в переходной области λ = f (Re, ε). В этой области, называемой зоной доквадратного сопротивления, потери напора по длине пропорциональны средней скорости в степени 1,74…2.

Для гидравлически шероховатых труб, когда ламинарная пленка практически полностью разрушается, коэффициент λ уже не зависит от Re, а определяется лишь относительной шероховатостью, т.е. λ = f (ε). Эта область называется зоной квадратичного сопротивления, т. к. hl ~ J2, или автомодельной областью, так как независимость λ от Re означает, что потери напора по длине, определяемые по формуле (5) пропорциональны квадрату средней скорости. Начало этой области определяется условием .

Определение λ по приведенным в таблице 2 и другим формулам облегчается использованием таблиц и номограмм, содержащихся в учебных и справочных пособиях.

При проведении данной работы рассматриваются режимы течения в гидравлически гладких трубах.

Таблица 2

Зона сопротивления, режим

Границы зоны

Расчетные формулы

Зависимость потерь напора от скорости

1. Ламинарный

;

ф. Пуазейля

hl ~ J

2. Зона гладкостенного сопротивления

;

ф. Блазиуса

hl ~ J1,75

ф. Конакова


3. Зона доквадратичного сопротивления

ф. Кольбрука Уайта

hl ~ J1,75 ¸ 2

ф. Альтшуля


4. Зона квадратичного сопротивления

ф. Прандтля-Никурадзе

hl ~ J2

ф. Шифринсона



Описание установки.

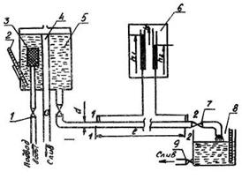
Принципиальная схема экспериментальной установки, используемой для определения коэффициента гидравлического трения λ приведена на рис. 2.

Экспериментальный участок трубопровода круглого сечения длиной L подсоединен к напорному баку 5, в который из водовода через вентиль 1 и успокоительную сетку 3 непрерывно подается вода. Излишки воды из бака сливаются через переливную трубу 4. Поэтому в баке может поддерживаться постоянный уровень. Расход воды через экспериментальный участок регулируется вентилем 7 (вентиль на входе в экспериментальный участок полностью открыт во время всего эксперимента). После прохождения экспериментального участка вода сливается в мерный бак 8, на входе из которого имеется кран 9. Для измерения температуры воды установлен термометр 2. Установка снабжена пьезометрическим щитом 6, на котором установлены пьезометры для измерения потерь по длине.

Рис. 4

Литература

1. Башта Т.М. и др. Гидравлика, гидромашины и гидроприводы. – М.: Машиностроение, 1984, 424 с.

2. Идельчик И.Е. Справочник по гидравлическим сопротивлениям. – М.: Машиностроение, 1975. – 559 с.

3. Установка для изучения потерь напора при турбулентном установившемся движении (тип ГВ5). – Одесоргнаучкомплектснаб. – 39 с.

Похожие работы на - Коэффициент гидравлического трения

 

Не нашли материал для своей работы?
Поможем написать уникальную работу
Без плагиата!
Без нейросетей!