Эффект магнитоимпеданса

  • Вид работы:
    Курсовая работа (т)
  • Предмет:
    Физика
  • Язык:
    Русский
    ,
    Формат файла:
    MS Word
    1,19 Mb
  • Опубликовано:
    2010-12-25
Вы можете узнать стоимость помощи в написании студенческой работы.
Помощь в написании работы, которую точно примут!

Эффект магнитоимпеданса







КУРСОВАЯ РАБОТА

Эффект магнитоимпеданса









ИРКУТСК-2009

Содержание

Введение

1. Теоретические основы магнитного импеданса

1.1 Эффект магнитного импеданса

1.2 Основные факторы, влияющие на МИ-эффект

1.2.1 Влияние упругих растягивающих напряжений на магнитоимпеданс аморфных фольг

1.2.2 Температурная зависимость магнитного импеданса

2. Методика исследования магнитного импеданса

3. Практическое применение магнитного импеданса

3.1 Введение

3.2 Датчики магнитного поля и механических величин на основе магнитоимпедансного эффекта

3.2.1 Датчики магнитного поля на основе магнитного импеданса

3.2.2 Датчики механических величин на основе магнитоимпедансного эффекта в аморфных ферромагнитных сплавах

Заключение

Список используемой литературы

Введение

Одной из основных задач исследований физики магнитных явлений, прикладной электродинамики и радиоэлектроники на протяжении последних более чем 10 лет является изучение эффекта магнитоимпеданса. Эффект магнитного импеданса заключается в сильном изменении полного сопротивления проводника переменному току во внешнем магнитном поле. Пристальное внимание исследователей на эффект магнитоимпеданса было обращено сравнительно недавно. Интерес к нему объясняется тем, что в некоторых материалах было обнаружено изменение импеданса во внешнем магнитном поле в два и более раз. Такое значительное изменение импеданса в литературе обычно называют эффектом гигантского магнитоимпеданса, или кратко, ГМИ-эффектом. Доступная технология и простая техника измерений стимулировали поиск новых материалов, обладающих свойствами ГМИ-эффекта, а также детальное исследование ГМИ на высоких и низких частотах. Высокая чувствительность ГМИ-эффекта к внешним воздействиям открывает возможности для создания датчиков на его основе. В частности, ГМИ-датчики могут использоваться для магнитной дефектоскопии газо- и нефтепроводов, в медицине, в градиентометрах и т.д. Кроме того, магнитоимпедансные материалы используются в электронных устройствах, таких как замедляющие устройства, фильтры, фазовращатели, модуляторы. Миниатюрные ГМИ-элементы могут быть использованы для портативных устройств радиосвязи. В сравнении с другими материалами ГМИ-структуры имеют преимущества в чувствительности, скорости обрабатывания и стоимости изготовления

Таким образом, исследование магнитного импеданса представляется весьма актуальным, так как пополняет знания об особенностях этого эффекта и может расширить область его практического применения.

Целью данной работы является знакомство с теоретическими основами магнитного импеданса и методикой его исследования. Для достижения этой цели были поставлены следующие задачи:

1. Изучить научную литературу по теме исследования.

2. Разобраться с основными факторами, влияющими на эффект магнитоимпеданса.

3. На практике познакомиться с методикой исследования магнитного импеданса.

4. Рассмотреть возможности практического применения эффекта магнитоимпеданса.

Работа состоит из введения, трех глав, заключения и списка используемой литературы.

Первая глава носит обзорный характер. Проведен анализ основных работ, посвященных МИ-эффекту. Также проведен анализ работ, посвященных влиянию упругих растягивающих напряжений на МИ-эффект в аморфных фольгах; работ, посвященных изучению температурных зависимостей свойств аморфных ферромагнетиков.Во второй главе описана экспериментальная установка и методика проведения исследований магнитоимпеданса.

В третьей главе рассмотрены возможности практического применения ГМИ-эффекта.

В заключение приводятся основные результаты исследования.

1. Теоретические основы магнитного импеданса

1.1 Эффект магнитного импеданса

Явление магнитного импеданса было открыто более 70 лет назад в работах Е.П. Харрисона с соавторами, выполненных на железо-никелевых проволоках. Термин «магнитный импеданс» не использовался ни в этих первых публикациях, ни в первых расчетах проведенных позднее.

В 1991г. В.Е. Махоткин с соавторами создали высокочувствительный датчик малых магнитных полей с чувствительным элементом в виде аморфной ленты FeCoSiB, который работал на принципе изменения импеданса под воздействием внешнего магнитного поля. Авторы этой работы, посвященной созданию конкретного прототипа датчика магнитных полей, не обсуждали причины возникновения эффекта и термин «магнитный импеданс» не использовали.

Не был термин «магнитный импеданс» введен и в ранних работах группы К. Мори, ставших предвестниками открытия заново явления магнитоимпеданса в 1994г.

Хотя уже первые эксперименты, в которых наблюдалось изменение импеданса пермаллоевых проволок при приложении внешнего поля, были объяснены на основе классического скин-эффекта и зависимости глубины скин-слоя от величины эффективной магнитной проницаемости, Е.П. Харрисон с соавторами так и не добились повторяемости результатов. Позднее появились более совершенные технологии производства материалов с высокой магнитной проницаемостью, которые обеспечили повторяемость результатов ГМИ-исследований и возможность контролируемой разработки ГМИ-материалов.[3]

ГМИ-образцы разрабатываются различными методами в виде проволок, лент, тонких пленок, многослойных пленочных структур и т.д. Имеются четыре группы магнитных материалов, в которых может наблюдаться ГМИ-эффект:

1.   Аморфные сплавы с малым значением константы анизотропии. Среди них система Co-Fe-Si-B имеет небольшую отрицательную константу магнитострикции;

2.   Нанокристаллические материалы типа Fe-Cu-Nb-Si-B, в которых размер зерен порядка 10нм;

3.   Кристаллические сплавы с чрезвычайно низкой кристаллической анизотропией и низкой магнитострикцией. Среди них – пермаллой (сплав никеля и железа) с высокой концентрацией никеля и с добавками Mo, Re, Ti;

4.   Нанокомпозиты, состоящие из смеси однофазных частиц. Такими являются системы на основе Fe-B-N и Co-Cr-O. [6]

Для определения относительной величины эффекта ГМИ исследователи использовали следующее соотношение:

,(1)

где Z(H) – импеданс образца в магнитном поле Н, Z(H=Hнас) – импеданс образца в магнитном поле насыщения, за которое принимается величина максимального внешнего поля, приложенного к образцу. В этом случае величина ∆Z/Z, которую принято называть ГМИ-отношением, всегда положительна, и может достигать значений, больших, чем 100 %.

В работах других авторов ГМИ-отношение рассчитывалось иначе:

 ,(2)

где Z(H=0) – величина импеданса образца в отсутствии внешнего магнитного поля. При таком подходе величина ГМИ-отношения может быть не только положительной, но и отрицательной.

Различают продольный и поперечный эффекты гигантского магнитоимпеданса [7]. Продольным эффектом принято называть эффект, возникающий при приложении внешнего магнитного поля параллельно направлению протекающего электрического тока. В свою очередь, поперечным эффектом принято называть эффект магнитоимпеданса, возникающий в случае, когда внешнее магнитное поле приложено перпендикулярно направлению протекания электрического тока.

Магнитоимпеданс обусловлен влиянием внешнего магнитного поля на распределение плотности переменного тока по сечению проводника, что связано с проявлением так называемого скин-эффекта. Толщина скин-слоя δ, или, иначе говоря, глубина проникновения переменного тока в объем проводника, определяется по формуле:

,(3)

где с – скорость света в вакууме, Ω – проводимость, ω – циклическая частота переменного тока, μt – эффективная магнитная проницаемость.

Как известно, величина эффективной магнитной проницаемости во многом определяется доменной структурой и процессами ее перемагничивания. Внешнее постоянное магнитное поле Н, приложенное к проводнику, вызывает в нем процессы перестройки доменной структуры, и, следовательно, изменяет величину магнитной проницаемости μθ. Изменение величины μθ приводит к изменению глубины скин-слоя, по которому протекает высокочастотный электрический ток, что в свою очередь приводит к изменению импеданса ферромагнитного образца Z. Связь между импедансом образца Z и его эффективной магнитной проницаемостью может быть, в общем случае, представлена в виде:

Z ~(μθf)-1/2.(4)

Подобные рассуждения оправданы только для средних частот переменного тока и частот порядка десятков МГц, когда толщина скин-слоя δ намного меньше некоторого характерного размера проводника (радиус проволоки, толщина фольги).

На низких частотах, когда скин-эффект мал и плотность тока практически одинакова по всему сечению проводника, изменение импеданса в магнитном поле связывают с так называемым магнитоиндуктивным эффектом. Данный эффект обусловлен внутренней индуктивностью проводника Lit), которая, как и толщина скин-слоя, зависит от эффективной магнитной проницаемости μt. Импеданс проводника, определяемый магнитоиндуктивным эффектом, может быть записан в виде:

, (5)

В общем случае импеданс проводника будет определяться как магнитоиндуктивной составляющей, так и толщиной скин-слоя. Однако на высоких частотах магнитоиндуктивная компонента мала и для упрощения расчетов ей обычно пренебрегают.

Таким образом, для наблюдения ГМИ-эффекта необходимо, чтобы поперечная магнитная проницаемость имела большую величину и значительно изменялась во внешнем магнитном поле, то есть для существования ГМИ-эффекта принципиальным является магнитная мягкость материала.

Рассмотрим основные факторы, влияющие на эффект магнитного импеданса.

1.2 Основные факторы, влияющие на МИ-эффект

1.2.1 Влияние упругих растягивающих напряжений на магнитоимпеданс аморфных фольг

Влияние упругих растягивающих напряжений на эффект магнитоимпеданса зависит от величины и знака константы магнитострикции, от взаимной ориентации направления, вдоль которого действуют растягивающие напряжения, направления внешнего магнитного поля, оси легкого намагничивания и поля переменного тока. [9]

Как показывают исследования [10], проведенные на образцах состава Co77Fe8B15, предварительно отожженных под действием механических напряжений, с ростом величины упругих деформаций растяжения вдоль образца наблюдается рост поперечной магнитной проницаемости и уменьшение поля анизотропии. Это видно по полевым зависимостям импеданса и петель гистерезиса (рис. 1). Так как в образцах при отжиге наведена поперечная ось легкого намагничивания, уменьшение поля анизотропии можно объяснить наведением магнитоупругой анизотропии вдоль длины образца, что можно описать выражением:

,(6)

где Hko – поле анизотропии в отсутствие упругих растягивающих напряжений; Ms – намагниченность насыщения; λs – константа магнитострикции насыщения.

 









Рис. 1 Петли гистерезиса и полевые зависимости импеданса фольг состава Co77Fe8B15 при различных значениях упругих растягивающих напряжений.

Различный характер влияния упругих растягивающих напряжений на магнитные свойства аморфных фольг был обнаружен при исследовании аморфных фольг двух составов: Co69Fe2Cr7Si8B14 (с отрицательной константой магнитострикции) и Сo67Fe4Cr7Si8B 14 (с положительной константой магнитострикции) [11]. Из петель гистерезиса хорошо видно, что с ростом величины упругих растягивающих напряжений для состава с отрицательной константой магнитострикции наблюдается уменьшение магнитной проницаемости и рост поля анизотропии (рис. 2а), для состава с положительной константой магнитострикции – увеличение магнитной проницаемости и уменьшение поля анизотропии (рис. 2б).

Рис. 2 Петли гистерезиса при различных нагрузках для: а) состава с отрицательной магнитострикцией; б) состава с положительной магнитострикцией.

Влияние упругих растягивающих напряжений на эффект магнитного импеданса аморфных фольг состава Fe4Co67Mo1,5Si16,5B11 (Vitrovac 6025Z) исследовались в работе [9]. Образцы были вырезаны перпендикулярно длине исходной ленты. Ось легкого намагничивания в исходной ленте направлена вдоль оси прокатки, поэтому у образцов она будет ориентирована поперек длины. Полученный характер частотных зависимостей ГМИ-эффекта от величины упругих растягивающих напряжений в основном обусловлен поведением максимального импеданса Zm. Это иллюстрируется зависимостями начального Z0 и максимального импеданса Zm от упругих напряжений на различных частотах переменного тока (рис. 3). Как видно, во всем частотном диапазоне упругие напряжения слабо влияют на Z0 и Zm. Однако, следует отметить, что на частотах менее 4 МГц с ростом упругих напряжений наблюдается слабое уменьшение Zm, начальный импеданс Z0 при этом практически не изменяется. На частотах более 4 МГц рост упругих напряжений приводит к увеличению Zm и небольшому уменьшению Z0.

 









Рис. 3. Зависимость начального Z0 и максимального импеданса Zm фольг Vitrovac 6025Z от величины упругих растягивающих напряжений в диапазоне частот переменного тока от 0,5 МГц до 10 МГц при температуре 20°C. Упругие растягивающие напряжения приложены вдоль длины образца.

При температурах от комнатных до 45ºС рост упругих растягивающих напряжений приводит к небольшому росту максимального импеданса Zm на частотах больших 4 МГц и его незначительному падению на частотах меньших 4 МГц (рис. 4). При температурах от 45ºС до 110ºС увеличение упругих растягивающих напряжений приводит к росту Zm во всем частотном диапазоне. Важно отметить, что при температурах больших 70ºС во всем частотном диапазоне наблюдается уменьшение величины ГМИ-эффекта с ростом упругих растягивающих напряжений (рис. 5). При температурах порядка 110ºС и выше увеличение упругих растягивающих напряжений приводит к исчезновению ГМИ-эффекта. При этом, чем выше температура, тем при меньшем значении упругих растягивающих напряжений это наблюдается.

В работе [9] предложено объяснение полученным результатам, согласно которому изменение характера влияния упругих растягивающих напряжений обусловлено сменой знака константы магнитострикции с ростом температуры.

Рис. 4 Зависимость максимального импеданса фольг Vitrovac 6025Z от величины упругих растягивающих напряжений при различных температурах на частоте переменного тока 10 МГц. Упругие растягивающие напряжения приложены вдоль длины образца.


Рис. 5 Зависимость величины ГМИ-эффекта в фольгах Vitrovac 6025Z от величины упругих растягивающих напряжений при различных температурах на частоте переменного тока 10 МГц. Упругие растягивающие напряжения приложены вдоль длины образца.

1.2.2 Температурная зависимость магнитного импеданса

Известно, что магнитные свойства ферромагнетиков зависят от температуры, следовательно, величина эффекта ГМИ также должна зависеть от температуры.

Были исследованы температурные зависимости магнитных свойств и фазовые переходы в аморфных лентах состава Fe4Co67Mo1,5Si16,5B11 (Vitrovac 6025) [12]. Исследовались образцы в аморфном состоянии и отожженные до нанокристаллического состояния. Измерения проводились в диапазоне температур от 30К до температур порядка 1000К. Большой интерес представляют представленные в данной работе температурные зависимости магнитной проницаемости (рис. 5) и намагниченности (рис. 6). На основе данных зависимостей можно сделать вывод о поведении магнитоимпеданса при различных температурах. Из анализа зависимостей магнитной проницаемости и намагниченности следует, что температура Кюри данного сплава для аморфного состояния составляет 502К, для нанокристаллического – 515К. Можно предположить, что при приближении к температуре Кюри будет наблюдаться падение импеданса до некоторого минимального значения. При температурах, выше температуры Кюри зависимость импеданса от внешнего магнитного поля и от механических напряжений, вероятно, наблюдаться не будет. Появление намагниченности в интервале температур от 820К до 1000К связано с выделением кристаллической ферромагнитной фазы.





Рис. 5 Температурная зависимость магнитной проницаемости для лент Vitrovac 6025Z в нанокристаллическом (nanostructured) и аморфном (as received) состояниях.

Рис.6. Температурная зависимость намагниченности лент Vitrovac 6025 в аморфном (as received) и нанокристаллическом (nanostructured) состояниях.

В работе [9] был установлен характер поведения начального импеданса Z0 и и максимального импеданса Zm при изменении температуры в отсутствие внешних упругих растягивающих напряжений для различных частот переменного тока. (рис. 7.) Во всем частотном диапазоне при увеличении температуры от 20ºС до 190ºС величина начального импеданса Z0 возрастает. С дальнейшим ростом температуры магнитный импеданс образцов уменьшается. Температурное поведение максимального значения импеданса Zm зависит от частоты переменного тока, протекающего по образцу. Для частот 6-10 МГц с увеличением температуры наблюдается сначала небольшой рост, а затем падение Zm. Для частот меньших 6 МГц после начального роста Zm происходит его уменьшение до температуры 160ºС, а затем вновь наблюдается небольшой рост Zm до температур порядка 190ºС, который сменяется падением.

Рис. 7 Зависимость начального Z0 и максимального импеданса Zm фольг Vitrovac 6025Z от температуры в диапазоне частот переменного тока от 0,5МГц до 10МГц.

Зависимости ГМИ-эффекта от температуры для различных частот переменного тока имеют отличия (рис. 8). Для частот 6-10 МГц наблюдается уменьшение ГМИ-эффекта с ростом температуры, для меньших частот наблюдается сначала небольшое увеличение ГМИ-эффекта, а потом его резкое падение.

Рис. 8. Зависимость величины ГМИ-эффекта в фольгах Vitrovac 6025Z от температуры в диапазоне частот переменного тока от 0,5МГц до 10 МГц

2. Методика исследования магнитного импеданса

Для исследования влияния внешних факторов на импеданс ферромагнитных материалов была разработана и изготовлена специализированная установка, блок схема которой изображена на рис. 9. Данная установка позволяет исследовать влияние на импеданс проволок и фольг величины и направления магнитного поля, упругих растягивающих напряжений, температуры. Основным достоинством установки является возможность исследования совместного влияния вышеперечисленных факторов.

Рис. 9 Блок-схема установки: 1 – измерительная ячейка; 2 – кольца Гельмгольца; 3 – воздуховод; 4 – электронагревательный элемент; 5 – электронагреватель; 6 – три пары компенсационных колец Гельмгольца; 7 – термопары.

Основной частью данной установки является прецизионный анализатор импеданса Agilent 4294A, краткие технические характеристики которого таковы:

1.   Частотный диапазон 40Гц – 110МГц с разрешением 1мГц;

2.   Интервал измеряемых значений импеданса 3мОм – 50МОм;

3.   Возможность измерения активной и реактивной компонент импеданса;

4.   Пробный сигнал: сила тока 200мкА с разрешением 20мкА; напряжение – 1В с разрешением 1мВ;

5.   Стабилизация по току и по напряжению;

6.   Напряжение смещения ±40В, ток смещения ±100мА;

7.   Основная погрешность не выше 0,1%.

Анализатор импеданса позволяет производить компенсацию собственного импеданса измерительной ячейки. Это операция становится необходимой при измерении импеданса на частотах порядка десятков мегагерц, потому что на этих частотах импеданс самой измерительной ячейки становится соизмерим с импедансом образца.

Исследуемые образцы изготавливаются по следующей технологии. От исследуемой проволоки (ленты) нужного состава отрезается необходимой длины заготовка, которая затем тщательно обрабатывается. Для хорошего контакта заготовки с зажимами держателя края тщательно зачищаются с помощью мелкой наждачной бумаги. Для того, чтобы не повредить исследуемый образец наждачной бумагой, его обработка проводится вращением вокруг собственной оси. С каждой стороны образца обрабатывается расстояние равное ~1мм, т.е. это то расстояние, которое закрепляется в зажимах.

Для возможности создания упругих механических напряжений были изготовлены специальная измерительная ячейка и деформирующее устройство.

Схема разработанной ячейки представлена на рис. 10. Несущей частью ячейки является пластинка, изготовленная из миканита – прессованной молотой слюды. На выбор данного материала повлияли его термостойкость и требуемая механическая прочность. Кроме того, миканит является хорошим диэлектриком. На пластинке крепятся стержни, один из которых подвижный. Стержни изготовлены из латуни, так как данный материал является парамагнетиком, и подвержен малому окислению при нагреве. В латунных стержнях находятся две группы контактов: 1) для подключения образца; 2) для подключения генератора переменного тока и вольтметра. Контакты для подключения образцов выполнены в виде механических зажимов, что обеспечивает необходимую надежность при воздействии упругих растягивающих напряжений. Зажимные болты изготовлены из посеребренной латуни, что исключает опасность нарушения контакта в результате окисления. Для предотвращения кручения образца во время зажима, он располагается между двумя шайбами. Шайбы также изготовлены из посеребренной латуни. Контакты второй группы соединены проводниками с коаксиальными разъемами для подключения генератора и вольтметра.

Рис. 10 Схема измерительной ячейки (крепление подвижного стержня дано в разрезе): а – пластина; б – подвижный стержень; в – ось подвижного стержня; г – неподвижный стержень; д – разъем для подключения вольтметра ; е – разъем для подключения генератора переменного тока; ж – образец; з – болты для зажима образца.

Следует отметить, что контакты для подключения генератора и вольтметра должны располагаться как можно ближе к точкам подключения образца. Кроме того, разъемы для вольтметра и генератора необходимо подключать отдельными проводниками. Это требуется для уменьшения влияния собственного импеданса подводящих проводов на получаемый результат. Влияние собственного импеданса измерительной ячейки на высоких частотах переменного тока может привести к значительному искажению результатов измерения.

Для подключения выносного щупа анализатора импеданса на основании закреплен разъём стандарта SMA.

Упругие растягивающие напряжения создаются с помощью деформирующего устройства, представляющего собой подвес, перекинутый через неподвижный блок (рис. 11). Один край подвеса через гальваническую развязку закреплен на подвижном контакте измерительной ячейки, к другому концу подвешиваются гири необходимой массы. В качестве подвеса используется тонкая нить из кевлара. Максимальная величина растягивающих напряжений для проволочных образцов диаметром 175мкм равна 250Па и ограничена конструктивными особенностями ячейки.

Рис. 11 Схема измерительной ячейки и деформирующего устройства: а – измерительная ячейка; б – дюралюминиевый воздуховод; в – неподвижный блок; г – нить; д – наборный груз; е – термопара.

Учитывая, что вертикальное перемещение подвижного стержня при упругой деформации образца мало, а трением в оси подвижного стержня можно пренебречь, величину упругих растягивающих напряжений, приложенных к образцу, рассчитывают по формуле:

σ=mg/S,(7)

где m – масса грузов; g=9,8м/с2 – ускорение свободного падения; S – площадь поперечного сечения образца.

Для проведения температурных исследований был выбран способ нагрева потоком воздуха. Измерительная ячейка помещается на дюралюминиевый воздуховод таким образом, что образец находится в потоке воздуха (рис. 11). Воздух нагревается до необходимой температуры с помощью электронагревателя и продувается воздушным нагнетателем по воздуховоду. Питание электронагревательного элемента осуществляется программируемым источником постоянного тока Agilent N5770. Чтобы свести к минимуму колебания температуры воздушного потока, питание электронагревателя и нагнетателя осуществляется стабилизированным током, стенки воздуховода теплоизолированы. Для контроля температуры и равномерности нагрева образца используется две термопары хромель-копель, рабочие спаи которых расположены над концами образца. Свободные концы термопар вынесены из зоны нагрева и теплоизолированы.

Для создания внешнего квазистатического магнитного поля используется пара колец Гельмгольца, в центре которых располагается воздуховод с ячейкой. Питание колец Гельмгольца осуществляется от программируемого источника тока Agilent N6700B с модулем N6774, имеющим возможность изменения полярности, что позволяет производить измерения по полному циклу 0кА/м → +12кА/м → 0кА/м → -12кА/м → 0кА/м.

Так как исследуемые материалы относятся к магнитомягким, то при проведении данных исследований требуется обеспечить компенсацию геомагнитного и техногенного магнитных полей. Для решения данной задачи используются три пары колец Гельмгольца, расположенных во взаимно перпендикулярных плоскостях. Питание каждой пары колец осуществляется от отдельного источника питания. Контроль компенсации производится с помощью датчика Холла. А также приняты следующие шаги: спираль электронагревателя выполнена из бифилярной намотки, электронагреватель вместе с двигателем воздушного нагнетателя максимально удален от измерительной ячейки.

С целью минимизации внешних электрических наводок дюралюминиевый воздуховод соединен с шиной заземления.

Управление и передача данных с анализатора импеданса, а также с источников питания колец Гельмгольца и электронагревательного элемента осуществляется персональным компьютером по интерфейсу GPIB. Сигнал с термопар преобразуется в цифровой вид и передается в персональный компьютер с помощью АЦП L-791 фирмы L-Card.

Также частью установки является программа для ПК, осуществляющая управление приборами, сбор и сохранение результатов измерений. Программа написана на Visual Basic 6.0 и использует библиотеки функций компании Agilent. Программа, управляя источниками питания, устанавливает согласно заданному алгоритму температуру образца и внешнее магнитное поле, после чего запрашивает результаты измерений с анализатора импеданса и сохраняет их на жесткий диск. В ходе проведения измерений программа отслеживает стабильность температуры образца и при необходимости производит ее корректировку. Программа позволяет устанавливать такие параметры эксперимента, как скорость нагрева, максимальная температура, шаг изменений температуры, величина и направление внешнего магнитного поля. Алгоритм проведения эксперимента заключается в последовательном изменении величины магнитного поля в заданных пределах и запросе результатов измерений импеданса с анализатора. Результаты серии измерений сохраняются в виде удобной для обработки в математических пакетах матрицы в текстовом файле.

Раньше для измерения импеданса образца использовалась другая методика. Согласна этой методике образец подключается к генератору синусоидальной ЭДС последовательно с балластным резистором Rб, сопротивление которого на три порядка больше, чем измеряемые значения импеданса образцов Z. Поэтому действующее значение тока в цепи можно считать определяемым только величиной балластного сопротивления и выходным напряжением на генераторе Uг:

I=Uг/Rб.(8)

Тогда модуль полного сопротивления образца можно рассчитать по формуле:

Z=Uобр/I,(9)

где Uобр – падение напряжения на образце (рис. 12, 13).

В качестве источника переменного тока использовался генератор IFR 2023А, который с помощью коаксиального кабеля подключен к измерительной ячейке. Частота переменного тока изменялась в диапазоне от 500кГц до 10МГц. Выходное напряжение генератора контролировалось вольтметром В7-35. Действующее значение силы тока, протекающего по образцу, в большинстве экспериментов составляло 30мА. Падение напряжения на образце измерялось с помощью высокочастотного вольтметра ВЗ-52. Щуп вольтметра с помощью переходника был подключен к соответствующему разъему измерительной ячейки.

Кольца Гельмгольца были подсоединены к генератору линейно изменяющихся напряжений (ГЛИН), что позволяло создавать изменяющееся во времени магнитное поле. Напряженность магнитного поля, создаваемого кольцами Гельмгольца, определялась по падению напряжения на образцовом резисторе Rкг. Резистор был включен последовательно с кольцами Гельмгольца. Его сопротивление было выбрано таким, чтобы падение напряжения на нем численно соответствовало напряженности магнитного поля в Эрстедах. Резистор был выполнен из манганинового сплава и приведен в тепловой контакт с массивными радиатором для минимизации температурного дрейфа.

измерительная схема.bmp

Рис. 12 Принципиальная схема измерения импеданса: Г – генератор ВЧ тока; Vr – вольтметр, измеряющий выходное напряжение генератора; Rб – балластное сопротивление; Z – образец; Vобр – вольтметр, измеряющий напряжение на образце.

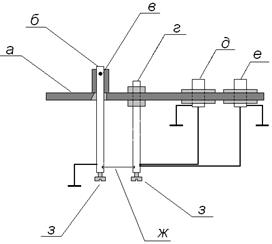
Рис. 13 Блок-схема экспериментальной установки: а – измерительная ячейка; б – кольца Гельмгольца; в – воздуховод; г – электронагревательный элемент; д – электронагнетатель; е – компенсационный куб; ж – термопара.

Для питания электронагревателя использовался источник тока Agilent 5770A. Воздушный нагнетатель питался от источника SHENZEN MASTECH HY3020E. Оба источника работали в режиме стабилизации по току. Сбор экспериментальных данных осуществлялся с помощью платы аналого-цифрового преобразователя (АЦП) LCard L 791. К плате были подключены:

1.   Аналоговый выход вольтметра ВЗ-52, измеряющего падение напряжения на образце;

2.   Выводы резистора Rкг для определения напряженности магнитного поля;

Если провести сравнение данных методик измерения МИ, то предпочтительней первая, более современная, которая намного упрощает задачу исследователя. Экспериментатору требуется лишь подготовить образец, поместить его в измерительную ячейку, закрепить саму ячейку, а также установить параметры измерений. Получив результаты в виде матриц, построить необходимые зависимости.

3. Практическое применение магнитного импеданса

3.1 Введение

Аморфные ферромагнитные сплавы являются удобным объектом для исследования физических свойств магнитомягких ферромагнетиков ввиду их способности приобретать заданные магнитные свойства под влиянием термической и термомагнитной обработки. Различные физические эффекты в ферромагнитных материалах известны уже давно и нашли самое широкое применение в науке и технике, в том числе при разработке и создании разнообразных датчиков и преобразователей физических величин.

По некоторым магнитным параметрам к аморфным сплавам приближаются нанокристаллические ферромагнитные сплавы, которые могут иметь значительно большую, чем аморфные сплавы, рабочую температуру.

Применение аморфных и нанокристаллических ферромагнетиков позволяет не только улучшить существующие датчики магнитных величин, но и создавать принципиально новые измерительные датчики и преобразователи.

Разработка и создание более совершенных датчиков и преобразователей магнитного поля остается важной задачей современной науки. Автоматизация процессов производства, развитие технической базы научных исследований, создание современных технологий требуют более совершенных методов контроля и измерения различных параметров, в том числе магнитных и механических. В геофизике, для обнаружения и измерения слабых магнитных полей естественного и искусственного происхождения, требуются высокочувствительные датчики магнитного поля, способные измерять одновременно три компоненты магнитного поля и работать в широком интервале температур. В низкочастотной радиосвязи существует проблема создания малогабаритных параметрических антенн с узкой диаграммой направленности. В биологии и медицине требуются миниатюрные датчики сверхслабых магнитных полей, длительное время работающие при нормальных условиях.

Уникальные магнитные и механические характеристики ферромагнетиков позволяют создавать на их основе высокочувствительные датчики и преобразователи слабого магнитного поля, а также разнообразные датчики механических величин.

Высокая магнитная проницаемость и малые потери на перемагничивание позволяют с помощью различных методов преобразования получить экстремально низкий порог чувствительности датчиков магнитного поля, выполненных на основе аморфных ферромагнитных сплавов, расширить диапазон частот измеряемого магнитного поля. На основе применения аморфных ферромагнетиков возможно улучшение параметров аппаратуры считывания информации с магнитных носителей, позволяющее в несколько раз увеличить разрешающую способность и количество записываемой информации.

Механические датчики на основе магнитоимпедансного эффекта в аморфных и нанокристаллических сплавах отличаются более высокой чувствительностью и долговечностью.

Миниатюрные магнитные датчики магнитного поля на основе магнитоимпедансного эффекта в аморфных ферромагнитных сплавах могут служить базовым элементом для создания приборов магнитной дефектоскопии и различных устройств автоматики и робототехники. Как и датчики Холла, они могут иметь размеры около 1мм и не содержат катушек индуктивности. При соответствующем выборе аморфного сплава и при его термомагнитной или термомеханической обработке перекрываемый с помощью магнитоимпедансного датчика диапазон постоянного или низкочастотного магнитного поля может достигать 100Э.

В то же время магнитоимпедансный датчик магнитного поля выгодно отличается от датчика Холла высокой температурной стабильностью, поэтому приборы на его основе не требуют никаких схем температурной компенсации или стабилизации. Более того, магнитоимпедансный датчик имеет всего два контакта и его подключение к электрической схеме прибора осуществляется всего двумя проводами, а не четырьмя, как в датчике Холла, что значительно проще и надежнее в случае исполнения выносного варианта датчика.

Более подробно остановимся на принципе действия датчиков на основе магнитного импеданса.

3.2 Датчики магнитного поля и механических величин на основе магнитоимпедансного эффекта [4]

3.2.1 Датчики магнитного поля на основе магнитного импеданса

Значительное падение напряжения на аморфных и нанокристаллических проводниках под действием магнитного поля при прохождении по проводнику переменного или импульсного электрического тока позволяет применить магнитоимпедансный эффект в разнообразных датчиках магнитного поля.

При работе в качестве датчиков магнитного поля целесообразно выводить начальную рабочую точку на середину линейного участка характеристики, для чего требуется продольное магнитное поле смещения. Оно может быть создано как катушкой или постоянным магнитом, так и созданием магнитного поля анизотропии при изготовлении или термомеханической обработке аморфного сердечника датчика, или при приложении к нему механического напряжения. Когда аморфный ферромагнетик выводится на участок максимального импеданса при помощи механического растягивающего напряжения, внешнее магнитное поле уменьшает импеданс на участке с отрицательной крутизной. При этом вернуться на участок с положительной крутизной с помощью внешнего постоянного магнитного поля не удается.

Дифференциальный коэффициент преобразования лучших магнитоимпедансных датчиков составляет 0,5-2,0 мкВ/нТл на узком участке возрастающей ветви характеристики при подходе к максимуму изменения импеданса. На спадающей ветви характеристики чувствительности значительно, на один-два порядка, ниже. Чувствительность на участке возрастания импеданса зависит от размеров датчика.

К недостаткам датчика магнитного поля на основе магнитоимпедансного эффекта относятся: чувствительность к механическим воздействиям, большая величина гистерезиса, необходимость в магнитном поле смещения или соответствующем механическом напряжении.

К положительным моментам можно отнести возможность создания датчика без использования катушек индуктивности, относительную простоту датчика. Магнитоимпедансные датчики магнитного поля могут найти достойное применение в различных технических устройства при работе в диапазоне средних магнитных полей от 0,2Э до 200Э.

3.2.2 Датчики механических величин на основе магнитоимпедансного эффекта в аморфных ферромагнитных сплавах

Сильная зависимость импеданса проводника из аморфного ферромагнитного сплава от приложенного к этому проводнику механического напряжения позволяет создать малогабаритные датчики механических величин, которые не содержат катушек индуктивности (рис. 14). Отсутствие кристаллической решетки в аморфных ферромагнетиках делает их более чувствительными к внешним факторам, в том числе механическим, так как величина энергии анизотропии, которую необходимо преодолеть с помощью внешнего воздействия, значительно ниже, чем в кристаллических ферромагнетиках.

Рис. 14 Простейшие конструкции механических датчиков на основе магнитоимпедансного эффекта в аморфных ферромагнитных сплавах: А.Ф.П. – аморфный ферромагнитный проводник; К1 и К2 – контакты.

Магнитоимпедансные датчики имеют выходной сигнал в виде амплитуды переменного напряжения высокой частоты и поэтому могут иметь плоскую амплитудно-частотную характеристику в диапазоне частот от 0 до единиц МГц. Серьезным преимуществом механических датчиков на основе магнитоимпедансного эффекта является их высокая термостабильность. Такие датчики имеют высокую чувствительность, так как в них максимум изменения сигнала ΔU/U, соответствующий Δl/l или Δσ/σ, имеет место на начальном участке характеристики магнитоимпедансного эффекта, когда Δl/l в результате продольной магнитострикции составляет всего лишь сотые доли от величины магнитострикции насыщения.

На основе магнитоимпедансного эффекта возможно создание приемо-передающих высокочастотных акустических устройств.

В магнитоимпедансных датчиках прием и возбуждение осуществляется по току, а не по напряжению. Поэтому магнитоимпедансные датчики являются низкоомными широкополостными элементами, что во многих случаях может оказаться удобным при согласовании с акустической нагрузкой и с применением электронной схемой. На базе магнитоимпедансного акустического приемо-передающего устройства, выполненного на основе аморфных ферромагнитных лент или пленок, могут быть созданы адаптивные высокочастотные приемо-излучатели упругих волн с управляемой диаграммой направленности и хорошим согласованием с акустической средой.

Возбуждение высокочастотных упругих колебаний в аморфных ферромагнитных лентах и пленках при магнитоимпедансном эффекте позволяет создать акусто-оптические модуляторы и дефлекторы для систем оптической обработки информации. При работе на отражение в поляризованном свете такие акусто-оптические элементы могут одновременно выполнять функцию поворота плоскости поляризации отраженного света.

Заключение

В данной работе был проведен анализ и синтез работ, посвященных теме исследования, в ходе которых были выявлены следующие теоретические положения:

- импеданс проводника определяется магнитоиндуктивной составляющей и толщиной скин-слоя;

- для существования ГМИ-эффекта принципиальным является магнитная мягкость материала;

- величина упругих растягивающих напряжений приводит к изменению максимального и начального значения импеданса проводника;

- характер изменения максимального и начального значения импеданса при изменении упругих напряжений и температуры зависит от частоты переменного тока, протекающего по образцу;

- существует три температурных диапазона, в которых влияние упругих растягивающих напряжений на ГМИ-эффект в аморфных фольгах имеет различный характер.

В данной работе описаны две методики исследования магнитного импеданса. Автор работы на практике ознакомился с одной из установок, находящейся в Лаборатории магнитных явлений на базе ИГПУ, и принципом её работы.

Были рассмотрены возможности практического применения магнитного импеданса, а именно возможности создания датчиков на его основе. Основными достоинствами применения ГМИ-материалов является их чувствительность к внешним факторам, относительно низкая стоимость изготовления и скорость обрабатывания.

Список используемой литературы

1.   Бозорт Р. Ферромагнетизм./Пер. с англ./Под ред. Е.И. Кондорского, Б.Г. Лившица. – М.: Изд-во иностранной литературы, 1956.

2.   Боровик Е.С., Еременко В.В., Мильнер А.С. Лекции по магнетизму. – 3-е изд., перераб. и доп. – М.: Физматлит, 2005.

3.   Курляндская Г.В. Гигантский магнитный импеданс и его связь с магнитной анизотропией и процессами намагничивания ферромагнитных структур: докт. дис. – Екатеринбург, 2007.

4.   Сокол-Кутыловский О.Л. Исследование магнитоупругих свойств аморфных ферромагнетиков с целью их применения в магнитных и механических датчиках: докт. дис. – Екатеринбург, 1997.

5.   Ч. Киттель Введение в физику твердого тела.

6.   Антонов А.С. Магнитоимпеданс ферромагнитных микропроводов, тонких пленок и мультислоев при высоких частотах: докт. дис. – М.:2003.

7.   Моисеев А.А. Эффект магнитоимпеданса в магнитомягких проволоках на основе Fe и Co: дипломная работа.

8.   Анашко А.А., Семиров А.В., Гаврилюк А.А. Магнитоимпедансный эффект в аморфных FeCoMoSiB лентах// Журнал технической физики. – 2003. – том 73, вып. 4.

9.   Букреев Д.А. Воздействие внешних факторов на ГМИ-эффект в низкострикционных фольгах VITROVAC 6025Z: маг. дис.

10. Priota K.R., Kraus L., Fendrych F., Svec P. GMI in Stress-Annealed Co77Fe8B15 Amorphous Ribbonsfor Stress-Sensor Applications// The 14th European Conference on Solid-State Transducers, Copenhagen, Denmark. – 2000. - P. 753-754

11. Bydzovsky J., Kollar M., Svec P., Kraus L., Jancaric V. Magnetoelastic prooerties of CoFeCrSiB amorphous ribbons – a possibility of their application// J. Electrical Engineering. – 2001. – V. 52. – No. 7-8. – P. 1-5.

12. Bordin G., Buttino G., Cecchetti A., Poppi M. Temperature dependence of magnetic properties and phase transitions in a soft magnetic Co-based nanostructured alloy// J. Phys. D: Appl. Phys. – 1999. – V. 32. – P. 1795-1800.

13. А.В. Семиров, А.А. Моисеев, В.О.Кудрявцев, Д.А. Букреев, Г.В. Захаров Установка для исследования влияния температуры и механических напряжений на магнитоимпеданс магнитомягких материалов.

Похожие работы на - Эффект магнитоимпеданса

 

Не нашли материал для своей работы?
Поможем написать уникальную работу
Без плагиата!
Без нейросетей!