Автоматичні апарати захисту мереж
ТЕМА:
АВТОМАТИЧНІ АПАРАТИ ЗАХИСТУ МЕРЕЖ
ЗМІСТ
1. Будова і принцип
дії автоматичних апаратів
1.1 Автоматичні вимикачі
1.2 Пробка-автомат
1.3 Пристрої захисного
відключення УКРЕМ ПЗВ-2001,
ПЗВ-2002
1.4 Диференціальний
вимикач ДВ-2002
1.5 Реле
2. Експлуатація і
ремонт автоматичних апаратів
3.
Безпека
праці
Список використаної літератури
1. Будова і принцип
дії автоматичних апаратів
1.1
Автоматичні
вимикачі
Автоматичні вимикачі
призначені
для нечастих комутаційних перемикань (до 6 за годину) електричних ланцюгів
в нормальному режимі роботи
і відключення електроустановок від джерела живлення при збільшенні струму понад
допустимі межі. На відміну від плавких запобіжників, що захищають електродвигуни
тільки від коротких замикань, вимикачі є більш довершеним засобом захисту. Вони
захищають електродвигуни від струмів короткого замикання і струмових перевантажень,
запобігають роботі на двох фазах і дозволяють швидко відновити електричний ланцюг.
Залежно від призначення
вимикачі можуть розрізнятися по роду струму (постійного або змінног); номінальному
значенню струму; числу полюсів (одно-, двух- і трьохполюсні); по роду вбудовуваних
розчеплювачів (з максимальним, тепловим, комбінованим або без розчеплювачів); номінальному
струму розчеплювачів; виду зовнішніх приєднань (переднім, заднім, комбінованим).
Вимикачі випускаються
в пластмасових корпусах, що складаються з основи і кришки, гвинтами, що скріпляють.
На основі кожного корпусу вмонтовується комутуючий пристрій, що складається з нерухомих
і рухомих контактів, увязнених в дугогасильні камери, розчеплювачі максимального
струму і механізм управління.
Дугогасильні
камери забезпечують гасіння дуги шляхом її дроблення і деіонізациї
поперечними стальними пластинами.
Рухомі контакти укріплені
на ізольованому валу (траверсі) і через механізм вільного расчеплення пов'язані
з рукояткою (або кнопкою) вимикача. У включеному положенні рухома система утримується
клямкою, пов'язаною з розчеплювачами.
Механізм вільного
розчіплення забезпечує миттєве замикання і розмикання контактів з постійною швидкістю,
незалежною від руху рукоятки або кнопки.
Розчеплювач максимального
струму вбудовується в кожний полюс вимикача послідовно.
Тепловий розчеплювач
при перевантаженнях спрацьовує із зворотньою залежною від струму витримкою часу,
тобто ніж більший струм перевантаження, тим швидше відбудеться вимкнення.
Електромагнітний
розчеплювач
при струмі, що перевищує струм уставки,
спрацьовує миттєво.
Комбінований розчеплювач
складається з теплового і електромагнітного, тому відключення може
відбуватися при дії будь-якого з них.
Промисловість випускає
різні типи вимикачів - А3700;
АЕ2000;
АЕ1000;
А63;
АП50;
А3100
і ін.
Вимикачі серії АЕ1000
випускаються з ручним управлінням і призначені для захисту мережі
від перевантажень і коротких замикань. Вони встановлюються у виробничих, адміністративних,
суспільних і побутових приміщеннях, а також в приміщеннях з хімічно активним середовищем
і вбудовуються в герметизовані оболонки розподільних пристроїв типу РУС.
Ці вимикачі виготовляються
з переднім і заднім
приєднанням проводів і кріпляться до панелей двома
гвинтами М4. Вони мають електромагнітний,
тепловий або комбінований розчеплювачі
максимального струму. Номінальний струм розчеплювача 6, 10, 16, 25А.
При струмі 1,5 Ін часу відключення мережі тепловим розчеплювачем не перевищує 20
хв. Струм миттєвого спрацьовування електромагнітних розчеплювачів 12 1Н...18 Ін.
Механічна зносостійкість допускає 50 000 циклів включень і відключень, комутаційна
- 25 000 циклів. Номінальна комутаційна здатність - 2000А
змінного
струму. Розміри вимикача 21X90X68 мм, маса
- 0,15 кг.
Вимикачі серії А3100
випускаються п'яти типів . Чотири з них (А3110; А3120; А3130; А3140)
виготовляються тільки двух- і трьохполюсними на номінальний струм 100, 200 і 600
А з електромагнітним і комбінованим розчеплювачами. П'ятий (А3160) виготовляється
одно-, двух- і трьохполюсним, на номінальний струм 50 А, тільки з тепловим розчеплювачем
і номінальним струмом уставок 15, 20, 25, 30, 40 і 50 А. Розчеплювачі вимикачів
A3160
і A3
ПО вмонтовуються усередині їх корпусів, а решти типів - знімні і мають самостійний
кожух. Уставки струму калібруються і в процесі експлуатації не регулюються. Вимикачі
цієї серії можуть виготовлятися без розчеплювачів максимального струму як неавтоматичні
вимикачі. Рукоятка управління
розташовується
в центрі лицьової панелі і може знаходитися
в трьох положеннях: верхньому - «Включено», нижньому
- «Вимкнено» уручну і проміжним
- «Відключене» автоматично.
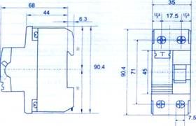
Вимикачі серії АП50
випускаються двух- і трех-полюсними на номінальний струм 50 А з електромагнітним
(виконання М), тепловим (виконання Т) і електромагнітним і тепловим (виконання МТ)
розчеплювачами (рис.. 1.1.). Теплові розчеплювачі виготовляються
на номінальні струми 1,6; 2,5; 4; 6,4; 10; 16; 25; 40 і 50 А. Електромагнітні розчеплювачі
вмонтовуються на передній стороні корпусу, а теплові - на задній і закриваються
пластмасовою пластинкою. Вимикач, окрім основних, може мати 1 або 2 замикаючих і
розмикаючих допоміжних контактів.
Рис. 1.1 Автомат
серії АП50:
1 - основа; 2 - -
нерухомий контакт; 3 - рухомий контакт; 4 - гнучке з'єднання;
5 - тепловий розчеплювач;
5 - електромагнітний розчеплювач;
7 - відключаюча рейка;
8 – дугогасильна камера; 9 - кришка
Вимикачі виготовляються
в пластмасовому корпусі, але можуть поставлятися і в додатковому пилонепроникному
кожусі, що складається з корпусу і кришки, відлитих з алюмінієвого сплаву. З умов
монтажу кожухи виготовляють двох виконань. Кожух виконання А має внизу штуцери для
введення і виведення приєднуємих проводів.
Виконання Б - універсальне; введення і виведення приєднуваних проводів можна через
сальники знизу або зверху.
Однополюсні вимикачі
типу А63
призначені для роботи в ланцюгах постійного струму напругою 110 В
і ланцюгах змінного струму напругою 220 В частотою
50 Гц при температурі
навколишнього середовища від - 40 до +40°С, відносній вологості середовища 90%.
Вони виготовляються з електромагнітним розчеплювачем (виконання М) і електромагнітним
розчеплювачем і гідравлічним сповільнювачем (виконання МІЛІГРАМА). Номінальний струм
розчеплювачів 0,63; 0,8; 1; 1,25; 1,6; 2; 2,5; 3,2; 4; 5; 6,3; 8; 10; 12,5; 16;
20; 25 А.
Вимикач встановлюється
вертикально виводами нерухомих
контактів вгору (нахил не більш 10°)
і кріпиться двома гвинтами на панелі або за панеллю так, щоб рукоятка виходила на
її лицьову сторону. Дроти в другому випадку приєднуються до вивідних затисків також
за панеллю.
Розчеплювач являє
собою електромагнітний механізм клапанного типу з двома рухомими
частинами - якорем і плунжером, що є частиною магнітної системи. Усередині котушки
розміщена трубка, в яку вставляється плунжер
з пружиною. У трубку заливають рідину, що уповільнює рух плунжера.
Автоматичні вимикачі
серії А3700 випускаються струмообмежуючими (позначення Б) і неструмообмежуючими
(Ф), загальнопромислового, експортного (Е після букви Б) і тропічного (ТЗ після
літери Б) виконань. Розрізняють двух- і трьохполюсні вимикачі з напівпровідниковим,
електромагнітним, тепловим і електромагнітним розчеплювачами. Двухполюсні вимикачі
виготовляються в габаритах трехполюсних без струмопровідних частин в лівому (третьому)
полюсі.
Струмообмежуючі
вимикачі виготовляються чотирьох типів: А3710Б,
А3720Б,
А3730Б,
А3740Б
на номінальні
струми 160; 250; 400 і 630 А відповідно. Вимикачі
А3710Б
можуть забезпечуватися розчеплювачами
максимального струму наступних номінальних величин: 16; 20; 25; 32;
40; 50; 63; 80; 100; 125; 160 А. Уставки теплових
і електромагнітних розчеплювачів в умовах експлуатації
не регулюються.
Напівпровідниковий
розчеплювач максимального струму складається із знімного блоку управління і вимірювальних
елементів (трансформаторів або магнітних посилювачів), призначених для його живлення.
Вони вбудовуються в кожен полюс вимикача.
Вимикачі з напівпровідниковими
розчеплювачами допускають в умовах експлуатації регулювання: номінального струму
розчеплювача, уставку струму короткого замикання, часу спрацьовування при перевантаженнях.
У ланцюгах змінного струму частотою 50...60 Гц напругою до 660 В встановлюють вимикачі
з тепловими і електромагнітними розчеплювачами. Вони можуть використовуватись в
ланцюгах частотою струму 400 Гц і напругою до 380 В. Вимикачі з напівпровідниковими
розчеплювачами залежно від їх виконання використовуються в ланцюгах частотою струму
50 або 60 Гц і напругою до 660 В. Вимикачі можуть мати додаткові складальні вузли:
допоміжні контакти, незалежний розчеплювач, нульовий розчеплювач напруга, електромагнітний
привід для управління вимикачем на відстані.
За способом установки
розрізняють стаціонарні і вдвижні вимикачі,що дозволяють використовувати їх як раз'єднувач.
Вони забезпечують також швидку заміну одного вимикача іншим тієї ж величини і того
ж виконання по числу полюсів і наявності додаткових складальних вузлів без підгонки
або яких-небудь операцій, що порушують монтаж розподільних пристроїв.
Вимикачі з висувними
пристроями мають механічне блокування, яке надійно фіксує їх в положенні вимикача
або роз’єднувача, не дозволяє при включеному вимикачі замикати і розмикати втичні
контакти.
Вимикачі мають переднє,
заднє або комбіноване приєднання проводів (переднє до затисків нерухомих контактів,
заднє - до рухомих і навпаки).
Вимикач А3710 складається
з наступних основних вузлів: кожуха, контактної системи, механізму управленн, дугогасильних
камер, полум’ягасника, напівпровідникового або теплового і електромагнітного розчеплювачів
максимального струму, затисків для приєднання зовнішніх провідників головного ланцюга
і додаткових вузлів.
Кожух виготовляється
з пластмаси. Він складається з основи і кришки, що скріпляються чотирма гвинтами.
Всі вузли і деталі вимикача кріпляться до його основи. Конструкція кожуха дозволяє
приєднувати до затисків зовнішні проводи без зняття кришки.
Головні контакти
вимикача виконуються із спеціальних металокерамічних композицій на основі срібла.
Рухомі контакти сполучені між собою за допомогою ізоляційної траверси, деталлю механізму
управління, який виконаний на основі важелів, що ламаються, і влаштований так, що
забезпечує, що є, миттєве замикання і розмикання контактів, не залежне від швидкості
руху рукоятки при включенні або виключенні. При автоматичному спрацьовуванні миттєве
розмикання контактів не залежить від того, чи утримує оператора рукоятку чи ні.
Дугогасильні
камери встановлюються над контактами
кожного полюса у верхній частині кожуха і утримуються
його кришкою. Гасіння дуги здійснюється за принципом її дроблення і деіонізациї
омідненими сталевими пластинками, укріпленими в ізоляційних камерах.
Полум’ягасник виконується
знімним в окремому пластмасовому корпусі, усередині якого можуть розташовуватись
сталеві пластинки для гасіння дуги і охолодження іонізованих газів, що виходять
через отвір в кришці вимикача. Зміцнюється полум’ягасник двома
гвинтами на кришці вимикача і своїм корпусом закриває затиски нерухомих контактів,
що знаходяться
під напругою, запобігаючи тим самим випадкового дотику до них. Для
приєднання
проводів зовнішнього ланцюга до нерухомих контактів полум’ягасник
знімається.
Блок управління встановлюється
над нижніми
затискачами
вимикача і кріпиться до нього двома гвинтами. З вимірювальними елементами і незалежним
розчеплювачем він з'єднується штепсельним роз'ємом. Розетка встановлюється на вимикачі,
а вилка - на блоці управління. При перевантаженнях або коротких замиканнях напівпровідниковий
розчеплювач
подає імпульс на незалежний
розчеплювач
і відключає вимикач.
Вимикачі серії АЕ2000
випускаються на номінальні струми 10, 25, 63 і 100 А (першої, третьої, четвертої
і п'ятої величини) з ручним приводом, з тепловим, електромагнітним, комбінованим
і незалежним розчеплювачами, з розчеплювачами мінімальної напруги, з контактами
допоміжного ланцюга, з регулятором струму неспрацьовування в умовах експлуатації,
з температурною компенсацією. Вони призначені для захисту ланцюгів постійного струму
напругою до 220 В і ланцюгів змінного струму частотою 50...60 Гц напругою до 500
В при струмах короткого замикання і струмових перевантаженнях неприпустимої тривалості,
а також для ручного управління трифазним асинхронним двигуном
з короткозамкнутим ротором з частотою оперативних включень не більше 30 в годину.
Ці вимикачі можуть експлуатуватися при температурі навколишнього середовища від
-40 до +60 °С і відносній вологості повітря до 90%.
Українська торгова
марка АсКо™ представляє серію електротехнічної продукції, виготовленої з використанням
найсучасніших матеріалів і новітніх технологій. Це забезпечило високу надійність,
термічну і електродинамічну стійкість приладів при їх порівняно невисокій вартості.
Через особливе призначення даної продукції - захист життя людини від поразки електричним
струмом і майна від пожеж, слід особливо відзначити, що вся продукція витримала
необхідні випробування і сертифікована в системі УКРСЕПРО.
Якщо Ви проявляєте
турботу про свою безпеку і використовуєте тільки якісні електротехнічні
прилади - торгова марка АсКо™ створена
для Вас!
Автоматичні вимикачі
УКРЕМ
ВА-2000;
ВА-2001;
ВА-2003
Призначення:
Вимикачі автоматичні
(Рис. 1.2.) низьковольтні серій УКРЕМ ВА-2000, ВА-2001, ВА-2003 призначені для захисту
низьковольтних електричних ланцюгів від перевантажень і струмів короткого замикання,
а також для оперативних відключень і включень електричних ланцюгів. Вимикачі автоматичні
відповідають стандарту ГОСТ 30325-95 (МЕК 898-87).
Рис. 1.2
Серія автоматичних
вимикачів УКРЕМ ВА-2000 випускається з час-струмовою характеристикою відключення
тип В (номінальні струми від 1А до 63А), серія УКРЕМ ВА-2001 - з час-струмовою характеристикою
відключення тип З (номінальні струми від 1А до 63А), серія УКРЕМ ВА-2003 - з час-струмової
характеристикою відключення тип D (номінальні струми від 63А до 100А).
Маркіровка:
Безпосередньо на
вимикачах розміщені умовні позначення, що розкривають
технічні характеристики даного виробу.
Рис. 1.3
Будова:
Вимикачі УКРЕМ ВА-200*
(де * - модифікація виробу) Рис. 1.4. зібрані корпусах, що не підтримують горіння
«1» з термоустійкої і міцної пластмаси і мають замки «2» для монтажу на DIN-рейку.
Виробляються з кількістю полюсів від одного до чотирьох.
Вимикачі забезпечені
двома типами захисту: тепловим - для захисту від тривалих струмових перевантажень,
виконані на біметалічній пластині «3» і електромагнітним - для захисту від струмів
короткого замикання, виконаним на електромагнітній котушці «4».
Струмовий розчеплювач
«5» виконаний з міді і має посріблені контакти. Дугогасильна камера «6», що складається
з дев'яти пластин, підвищує комутаційну зносостійкість і дає високі характеристики
граничної коммутаційної здатності.
Надійний контакт
з провідниками перетином від 1 до 25мм2 (для вимикачів з характеристиками
за типом В і З) і від 2,5 до 50 мм2
(для вимикачів з характеристикою за типом D) забезпечують комбіновані
затиски «7» з посрібленої
міді і анодованої сталі.
Вимикачі з лицьового
боку забезпечені індикаторами «8» положення
Вкл/викл.
Рис. 1.4
Принцип роботи:
При роботі в нормальному
режимі низьковольтні автоматичні вимикачі УКРЕМ ВА-200* (де * - модифікація виробу)
пропускають через себе електричний струм від наймінімальніших до відповідних маркіровці
силових величин (In, А). У разі виникнення
в ланцюзі перевантаження або короткого
замикання, спрацьовує механізм захисту і автомат вимикається.
Тепловий захист працює
таким чином: струм, що протікає при тривалому струмовому перевантаженні в ланцюзі,
що захищається, нагріває біметалічну пластину «3», яка за різних коефіцієнтів теплового
розширення згинається і штовхає важіль механізму вільного розчіплення. Рухомий контакт
відходить від нерухомого, автомат спрацьовує, ланцюг розривається.
Електромагнітний
захист забезпечується завдяки тому, що у момент появи в захищеному ланцюзі короткого
замикання, що протікає по витках електромагнітної котушки «4» струму, значно зростає
по відношенню до номінального, що приводить в рух осердя, що діє на важіль механізму
вільного розчіплення, рухомий контакт відходить від нерухомого, автомат спрацьовує,
ланцюг розривається.
Технічні характеристики:
Автоматичні вимикачі
УКРЕМ
з характеристиками відключення за типом В і З (від 1 до 63А)
мають ширину корпусу 18мм.
Вони забезпечують
граничну комутаційну здатність (Imax)
до 6000А.
Технічні характеристики
УКРЕМ
ВА-2000
(тип В) і УКРЕМ ВА-2001
(тип З)
Кількість полюсів
1,2,3,4
Номінальний струм,
In
(A) 1,2,3,4,5,6,10,16,20,25,32,40,50,63
Номінальна напруга,
Un
(В) 220/380
Номінальна частота
мережі, fn
(Hz) 50
Характеристика відключення
(тип) У, З
Комутаційна зносостійкість
(циклів) Не меншого 6 000
Гранична комутаційна
здатність Imax (A) 6 000 Рис.
1.4. Габаритні розміри
Перетин проводу,
що підключається (мм2)
1,25
Автоматичні вимикачі
УКРЕМ
ВА-2003
(Рис. 1.5.)

Рис. 1.5
Вимикачі з характеристикою
відключення за типом D (від 63 до 100А)
мають ширину корпусу 27мм (Рис. 1.6).
Вони проводяться
в конструктивного виконання, що забезпечує граничну комутаційну здатність 6000А
і витримують кидки струму в електричних ланцюгах до 10 In,
тому можуть застосовуватися в пускових ланцюгах асинхронних двигунів.
Технічні характеристики
УКРЕМ
ВА-2003
за типом D
Кількість полюсів 1,2,3,4
Номінальний струм,
In
(A) 63,80, 100
Номінальна напруга,
Un
(В) 230/415
Номінальна частота
мережі, fn
(Hz) 50
Характеристика відключення
(тип) D
Комутаційна зносостійкість
(циклів)
Не меншого 10 000
Гранична комутаційна
здатність Imax (A) 6 000 Рис.
1.6. Габаритні розміри
Перетин проводу,
що підключається (мм2) 2,5-50
1.2 Пробка-автомат
Пробка - автомат
(Рис. 1.7.) застосовується для
захисту низьковольтних електричних ланцюгів від перевантажень і струмів короткого
замикання. Можуть використовуватися в ланцюгах як змінного, так і постійного струму
до 32 А. Пробки встановлюються в патрон Е27
відповідний DIN
40440.
Рис. 1.7
Технічні характеристики
Номінальне напряжение,Un
(В) DC250V,
AC380V
Номінальна
частота мережі 50
Номінальний струм,
In 2,4,6,10,20,25,32
Гранична комутаційна
здатність, Imax 3000 Рис.
1.7. Габаритні розміри
1.3 Пристрої захисного
відключення УКРЕМ ПЗВ-2001,
ПЗВ-2002
Призначення:
Пристрої захисного
відключення (УЗО) УКРЕМ ПЗВ-2001, ПЗВ-2002 (Рис.
1.8.) застосовуються в низьковольтних електричних ланцюгах
промислового і побутового призначення для захисту ланцюгів від можливого витоку
електричної енергії у разі пошкодження ізоляції і для захисту від поразки електричним
струмом у разі попадання людини під напругу. УЗО
служить також для запобігання спалахам і пожежам, викликаних протіканням
струмів витоку і замикань
на землю.
Відповідають стандарту
МЕК
755-83
Маркіровка:
Безпосередньо на
виробах, а так-же на пакувальних коробках пристроїв захисного відключення розміщені
ус-ловниє
позначення, що розкривають їх технічні характеристики. Рис.
1.8.
Підключення:
УЗО УКРЕМ ПЗВ-2001,
ПЗВ-2002 підключаються в ланцюг послідовно з автоматичним вимикачем, що захищає
ланцюг від струмів короткого замикання і надструмів.
УЗО
призначене для роботи в трьохпроводяних мережах.
Для перевірки працездатності
УЗО
необхідно натиснути кнопку
«Тест». Спрацьовування (відключення) УЗО
свідчить про його справність.
Рис. 1.9
Технічні характеристики
УКРЕМ
ПЗВ-2001,
ПЗВ-2002
Кількість полюсів 2,4
Номінальна напруга,
Un
(В) 240/415 В
Номінальна частота
мережі, fn
(Hz) 50*
Номінальний струм,
In
(A) 16,25,32,40,63,80, 100
Відключаючий діференциальний
струм, 1∆(mА) 10,30,100,300
Комутаційна зносостійкість
(циклів) 2 500
Гранична комутаційна
здатність Imax (A) 3 500
Час відключення при
номінальному струмі витоку (мс) від
0,4 до 2
Перетин проводу,
що підключається (мм2) 1-К35
Механічна зносостійкість
(циклів) 10 000
Принцип роботи:
Пристрої захисного
відключення УКРЕМ ПЗВ-2001 (Рис. 1.10.)
виконані в корпусах «1» з термостійкої міцної пластмаси і мають замки «2» для монтажу
на DIN-рейку.
Рис. 1.10
Сума струмів, що
протікають через диференціальний трансформатор «3»
в урівноваженому стані рівна нулю. При виникненні
несправності, виниклий струм небаланса
індукує у вторинній обмотці трансформатора струм, що підсилюється
електронною платою «4»,
і передаваний далі на котушку реле «5»
відключення струмового розчеплювача.
Реле спрацьовує,
приводячи
в рух сам розчеплювач «6»,
який розмикає фазовий і нульовий контакти.
Дугогасиьна камера
«7», що складається з п'яти пластин, підвищує комутаційну зносостійкість, що додає
приладу високі характеристики граничної комутаційної здатності. Надійний контакт
з провідниками перетином від 1 до 35 мм2
забезпечують комбіновані затиски «8»,
виготовлені з анодованої сталі.
Принцип роботи електромеханічного
УЗО:
Пристрої захисного
відключення УКРЕМ ПЗВ-2002 виконані в корпусах «1» з термостійкої міцної пластмаси
і мають замки «2» для монтажу на DIN-рейку
(Рис. 1.11.)
Робота приладу заснована
на тому, що він оцінює струм дісбаланса в робочих проводах ланцюга і при перевищенні
відповідного значення струму небаланса, на який УЗО настроєно, приведенням в дію
комутаційного механізму, розмикає ланцюг.
Сума струмів, що
протікають через диференціальний трансформатор «3»
в урівноваженому стані рівна нулю.
Рис. 1.11
При виникненні несправності,
виниклий струм небаланса індукує
у вторинній обмотці струм, який подається на котушку «4»
пристрою відключення струмового розчеплювача,
конструктивно виконану на постійному магніті. Котушка розмагнічується, розчеплювач
«5» спрацьовує (без сторонньої ЕРС).
Пристрій захисного
відключення УКРЕМ ПЗВ-2002 - це електромеханічний прилад, що не має власного споживання
електроенергії. УЗО зберігає
працездатність при будь-яких коливаннях і навіть за відсутності напруги в мережі
(при обриві «нуля» або «фази»).

Рис. 1.12
Габаритні розміри
Рис. 1.13
Приклади захисту
людини за допомогою УЗО УКРЕМ
ПЗВ-2001,
ПЗВ
2002 із струмом витоку 1∆≤30mА
(Рис. 1.13):
a) прямий дотик
людини до
струмоведучої частини;
b) обрив захисного
проводу відмова захисту у разі несправності;
c) неправильно
підключена штепсельна розетка або
електроприймач
класу 1;
d) падіння електроприймача
у ванну.
1.4 Диференціальний
вимикач ДВ-2002
Призначення:
Диференціальні вимикачі
ДВ-2002 (Рис. 1.14.) є
комбінацією двох приладів: УЗО і автоматичного вимикача і застосовується в низьковольтних
електричних ланцюгах промислового і побутового призначення для захисту електричних
ланцюгів від перевантажень і струмів короткого замикання (автоматичний вимикач),
а також від можливого Рис. 1.14.
витоку струму на
землю і враження електричним струмом
у разі попадання
людини під напругу (УЗО).
Відповідають стандарту
МЕК
8Э8&755.
Маркіровка:
Безпосередньо на
виробах, а також на пакувальних коробках диференціальних вимикачів розміщені умовні
позначення, що розкривають їх технічні характеристики.
Технічні дані ДВ
є комбінацією параметрів УЗО (номінальний відключаючий диференціальний струм та
інші) і автоматичного вимикача (номінальний струм, вимикаюча здатність і т.д.).
Рис. 1.15 Габаритні
розміри
Технічні характеристики
ДВ-2002
Кількість полюсів 1P+N
Номінальна напруга,
В 240/380
Номінальна частота
мережі, Гц 50
Струм навантаження,
А 6,10,16,20,25,32
Відключаючий диференціальний
струм, мА 10,30
Характеристика відключення
(автоматичного вимикача) у, з
Комутаційна зносостійкість,
циклів 10000
Гранична комутаційна
здатність, А 4500
Час відключення при
номінальному струмі витоку, з не більше 0,1
1.5 Реле
Широко поширений
спосіб захисту електродвигунів від перегріву за допомогою теплових реле (ТРН,
ТРП
і ін.) простий, але недостатньо надійний. Головною
причиною невисокої надійності є те, що нагрів обмоток
контролюється не по значенню температури,
а побічно, по параметру електричного струму в них. При цьому передбачається, що
електричний струм вище номінального викличе однаковий перегрів як електродвигуна,
так і теплового реле. Практично так не завжди виходить. При зміні частоти обертання
(а значить, і вентиляція) при установці електродвигуна і теплового реле в приміщеннях
з різною температурою повітря умови захисту
порушуються.
Теплові реле призначені головним чином для
захисту трифазних асинхронних двигунів з короткозамкнутим ротором від невеликих,
але тривалих перевантажень. Основними елементами реле є біметалічна
пластинка, нагрівальний елемент і розмикаючий контакт мостика, розрахований на комутацію
струму до 6 А. Нагрівальні елементи включаютсья
в ланцюг головного струму послідовно обмоткам
статора, а контакти - в ланцюг управління, послідовно
з котушкою магнітного пускача.
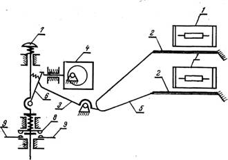
Рис. 1.16 Кінематична схема теплового реле
типу ТРН
1 - нагревач;
2 - біметалічна пластинка; 3 - температурний компенсатор;
4 - ексцентриковий регулятор; 5 - важіль;
6 - клямка механізму; 7 - кнопка ручного повернення; 8 - рухомий мостиковий
контакт;
9 - нерухомий контакт
Якщо струм в головному ланцюзі (струм статора)
превищує
номінальний, біметалічна пластинка, нагріваючись,
згинається і натискає на важіль, який виводить клямку із зачеплення. Шток під дією
пружини переміщується і розмикає контакт (рис. 2.5.).
У початкове положення реле повертається шляхом
натиснення на кнопку повернення, яка є на його корпусі. Замикання контактів можливе
тільки при біметалічної пластинці, що остигнула, тобто через 1...2 мін після спрацювання.
Теплові реле випускаються в двох виконань:
однополюсному
і двополюсному. Двополюсні реле типу ТРН
мають симетричну компоновку. Нагрівальні елементи розташовані в крайніх
осередках пластмасового корпусу. У середньому осередку розміщені температурний компенсатор,
ексцентриковий регулятор струму уставки, защелочний механізм спрацьовування, мостіковий
контакт і кнопка ручного повернення.
У реле ТРН-10А
встановлюється незмінний нагрівач, закріплений на біметалічній пластинці.
Решта типів реле забезпечується змінними нагрівачами, розташованими під біметалічними
пластинками. До силових затисків реле нагрівач кріпиться двома гвинтами по кінцях.
Нагревателі закриваються пластмасовою кришкою, яка утримується пружиною.
Реле напруги РН-101,
РН-111
(Рис. 1.17.)
Використовуються
для захисту однофазних споживачів від неприпустимих коливань напруги в мережі, а
також від наслідків обриву нуля (по напрузі). Можуть застосовуватися як самостійні
комутаційні апарати, так і керівники іншим комутаційним апаратом, наприклад магнітним
пускачем. Мають широкий діапазон регулювань, зокрема регулювання затримки включення
для захисту устаткування з тривалими перехідними процесами, наприклад, холодильної
і компресорної техніки.
Рис. 1.17
Реле
напруги РН-111
Має всі функції РН-101,
але виконано в корпусі з кріпленням на стандартну DIN-рейку. Захищає навантаження
будь-якої потужності: до 3,5 квт -
безпосередньо вихідними контактами реле, понад 3,5 квт-через
магнітний пускач, в розрив живлення котушки якого включаються вихідні
контакти реле.
Універсальне електронне
реле максимальної/мінімальної напруги призначене для контролю допустимої величини
і наявності напруги в ланцюгах захисту і автоматичих установок понад 1000 В. Обеспечивает
три режими роботи: по min порогу, max
порогу, режим симетричних уставок.
Рис. 1.18
Реле
напруги РН-112
2. Експлуатація і
ремонт автоматичних апаратів
Електрообладнання
підстанцій, електричних мереж, електроустановок споживача, повітряні та кабельні
лінії електропередавання повинні бути захищені від коротких замикань і порушень
нормальних режимів пристроями релейного захисту, автоматичними вимикачами або запобіжниками
й оснащені засобами електроавтоматики та телемеханіки відповідно до ПУЗ та
інших чинних НД.
Технічне
обслуговування пристроїв РЗАіТ та їх вторинних кіл повинен здійснювати, як правило,
персонал служб релейного захисту, автоматики і вимірів або електролабораторії споживача.
У тих випадках, коли в обслуговуванні окремих видів пристроїв РЗАіТ беруть участь
інші служби, то між ними відповідно до місцевих інструкцій повинні бути розмежовані
зон обслуговування та обов'язки.
Під час проведення
налагоджувальних робіт спеціалізованою налагоджувальною у пристроях РЗАіТ їх приймання
здійснює персонал споживача, який обслуговує ці пристрої.
Дозвіл на введення пристрою
в роботу оформлюють записом у журналі РЗАіТ за підписами відповідальних представників
споживача (або організації вищого рівня) і налагоджувальної організації, якщо остання
здійснювала налагодження цього пристрою.
Під час здавання в експлуатацію
пристроїв РЗАіТ і вторинних кіл повинна бути надана така технічна документація:
проектна
документація, що скоригована під час монтажу (креслення, пояснювальні записки, кабельний
журнал тощо), - монтажною організацією;
протоколи
налагодження і випробувань, виконавчі принципово-монтажні (або принципові та монтажні)
схеми - налагоджувальною організацією чи лабораторією споживача;
програмне
забезпечення для керування та обслуговування мікропроцесорних пристроїв РЗАіТ у
вигляді програм на відповідних носіях інформації - налагоджувальною організацією.
У споживача на кожне приєднання
або пристрій РЗАіТ, що є в експлуатації, повинна бути, крім указаної така технічна
документація:
паспорт-протокол
пристрою;
методичні
вказівки, інструкції або програми з технічного обслуговування, налагодження і
перевірки
(для складних пристроїв - для кожного типу пристрою чи його елементів);
технічні
дані про пристрої у вигляді карт або таблиць уставок і характеристик.
Результати періодичних перевірок
повинні бути занесені до паспорта-протоколу пристрою (докладні записи про складні
пристрої РЗАіТ здійснюють за потреби в журналі релейного захисту).
Виконавчі схеми РЗАіТ
необхідно приводити у відповідність після зміни реальної схеми. Зміни у схемах повинні
бути підтверджені записами, які вказують причину й дату внесення змін та хто вніс
зміни. Виконавчі схеми пристроїв РЗАіТ (у тому числі пристроїв АЧР та спеціальної
автоматики вимкнення навантаження) погоджують з тією організацією, у керуванні (віданні)
оперативного персоналу якого перебувають ці пристрої.
Автоматичні вимикачі, колодки
запобіжників повинні мати маркування із зазначенням найменування приєднання і номінального
струму. Персонал повинен мати запас каліброваних плавких вставок для заміни перегорілих.
В
експлуатації повинні бути забезпечені умови для нормальної роботи
електровимірювальних приладів, вторинних кіл і апаратури пристроїв РЗАіТ (допустима
температура, вологість, вібрація, відхилення робочих параметрів від номінальних
тощо).
Пристрої
РЗАіТ, що перебувають в експлуатації, повинні бути завжди в роботі, за винятком
тих пристроїв, що повинні виводитись з роботи відповідно до призначення і принципу
дії, режимів роботи або за умовами селективності.
Уведення в роботу і виведення
з роботи пристроїв РЗАіТ, що перебувають у віданні оперативного персоналу вищого
рівня, здійснюють тільки з його дозволу (за диспетчерською заявкою).
У разі загрози неправильного
спрацювання пристрою РЗАіТ він повинен бути виведений з роботи без дозволу оперативного
персоналу вищого рівня, але з наступним його повідомленням (відповідно до інструкції
з експлуатації). Пристрої, що залишилися в роботі, повинні забезпечувати повноцінний
захист електрообладнання і ліній електропередавання від усіх видів пошкоджень та
порушень нормального режиму. Якщо така умова не може бути виконана, то
повинен
бути введений тимчасовий захист або приєднання повинно бути вимкнене з повідомленням
оперативного персоналу вищого рівня.
Особливу увагу необхідно
звертати на контроль наявності оперативного струму, справність запобіжників і автоматичних
вимикачів у вторинних колах, а також на контроль справності кіл керування вимикачами.
Уперше
змонтовані пристрої РЗАіТ і вторинні кола перед уведенням у роботу підлягають налагодженню
і приймальним випробуванням із записом до паспорта обладнання чи спеціальної відомості.
Реле
і допоміжні пристрої РЗАіТ повинні бути опломбовані персоналом, який обслуговує
ці пристрої, за винятком тих, уставки яких змінює оперативний персонал залежно від
режиму роботи і схеми первинних з'єднань, або тих, у яких немає спеціальних пристосувань
для зміни параметрів їх настроювання.
Реле, апарати і допоміжні
пристрої РЗАіТ (за винятком тих, уставки яких змінює оперативний персонал) дозволено
відкривати лише персоналу, який обслуговує пристрої РЗАіТ, чи за його вказівкою
оперативному персоналу з подальшим записом в оперативному журналі.
На проводах, приєднаних
до збірок (рядів) затискачів, повинне бути маркування, що відповідає схемам.
Опір ізоляції електрично
з'єднаних вторинних кіл пристроїв РЗАіТ відносно землі, а також між колами різного
призначення, електрично не з'єднаних (вимірні кола, кола оперативного струму, сигналізації),
необхідно підтримувати у межах кожного приєднання відповідно до норм.
Усі випадки спрацювання
і відмови пристроїв РЗАіТ, а також виявлені в процесі їх оперативного і технічного
обслуговування дефекти (несправності) персонал, що обслуговує ці пристрої, повинен
ретельно аналізувати. Виявлені дефекти повинні бути усунені.
Про кожен випадок неправильного
спрацювання або відмови спрацювання пристроїв РЗАіТ необхідно повідомляти диспетчера
електропередавальної організації, в оперативному керуванні або віданні якої перебувають
ці пристрої.
Пристрої РЗАіТ і вторинні
кола періодично перевіряють і випробовують відповідно до чинних положень та інструкцій.
Після неправильного спрацювання
чи відмови спрацювання цих пристроїв повинні бути проведені додаткові (післяаварійні)
перевірки за спеціальними програмами.
За
наявності швидкодійних релейних захистів і пристроїв резервування відмови вимикачів
усі операції з увімкнення ліній, шин і електрообладнання, а також операції з перемикання
роз'єднувачами і вимикачами здійснюють з уведеними в дію цими захистами. Якщо їх
неможливо ввести в дію, то необхідно ввести прискорення на резервних захистах або
виконати тимчасовий захист, хоча б неселективний, але з необхідною швидкодією, або
ввести прискорення на резервних
захистах.
Апарати відкритого виконання,
а також зворотний бік цих панелей (шаф) і пультів повинен очищати персонал, який
обслуговує пристрої РЗАіТ, або оперативний персонал, що пройшов інструктаж.
Оперативні працівники повинні
здійснювати:
контроль
за правильністю положення перемикальних пристроїв на панелях (шафах) РЗАіТ і керування,
кришок випробувальних блоків, а також за станом автоматичних вимикачів і запобіжників
у колах РЗАіТ і керування;
уведення
та виведення з роботи пристроїв РЗАіТ (їх ступенів), а також зміну їх дії та уставок
за розпорядженням оперативного персоналу, у керуванні (віданні) якого перебувають
ці пристрої, використовуючи спеціально передбачені перемикальні пристрої;
контроль
за станом пристроїв РЗАіТ за показами наявних на панелях (шафах) і апаратах пристроїв
зовнішньої сигналізації та індикації, а також за повідомленнями, що надходять від
мікропроцесорних пристроїв РЗАіТ;
опробування
високовольтних вимикачів та інших апаратів, а також пристроїв АПВ, АВР та фіксувальних
приладів (індикаторів);
обмін
сигналами високочастотних захистів і контроль параметрів високочастотних апаратів
протиаварійної автоматики;
вимірювання
струму небалансу в захисті шин і напруги небалансу в розімкнутому трикутнику трансформатора
напруги;
заведення
годинників автоматичних осцилографів аварійного запису тощо.
Перевірка
заданих уставок РЗАіТ та ПА здійснюється з періодичністю, установленою для технічного
обслуговування.
Періодичність випробування
АВР проводиться не рідше одного разу на 6 місяців. Результати випробування фіксуються
в оперативному журналі.
Споживачі повинні забезпечувати
безперешкодний доступ персоналу Держенергонагляду (електропередавальної організації)
для нагляду за технічним станом та уставками пристроїв РЗАіТ та ПА, контролю за
обсягами підключеного навантаження й уставками АЧР, а також для пломбування накладок
РЗАіТ і ПА.
Ремонт повітряних
автоматичних вимикачів
Технічний догляд
і поточні ремонти для апаратури управління, проводять одночасно з тими ж заходами
для силового електроустаткування.
Об'єм робіт в процесі
технічного відходу наступний. Знімають кришку або кожух апарату, видаляють пил і
бруд (продування, протирання). Кіптяву, сажу і масляні плями видаляють обтиральним
матеріалом, змоченим в бензині.
Потім перевіряють
надійність кріплення апаратів до основи, цілісність ущільнень кожухів, а також надійність
заземлення і приєднання силових проводів і проводів ланцюга управління ;
підтягають гвинти,
що ослабіли, і гайки, зачищають ті, що підгоріли контакти. Перевіряють стан проводів
і їх ізоляцію, при необхідності їх замінюють або накладають ізоляційну стрічку.
На ножах рубильників не повинно бути раковин, що підгоріли або місць, що окислювалися.
Напливи і бризки металу при цьому зачищають оксамитовим напилком, а шар окислу знімають,
включаючи і виключаючи апарат в знеструмленому стані. Плавкі вставки повинні відповідати
розрахунковим струмам. Тріщини і пошкодження патронів і фібрових стінок недопустимі!
У автоматичних вимикачах
не допускаються тріщини в корпусі
і кришці, заїдання важелів і кнопок управління. З дугогасильних
камер і контактів бризки металу знімають надфілем. При вигоранні або зносі до 0,5
мм металокерамічних накладок контактів автоматичний вимикач замінюють. Поточний
ремонт, автоматичних вимикачів не проводять.
Теплові реле перевіряють
і настроюють на стенді. Важіль повернення реле винен легко і вільно переміщуватись
в пазах і повертатися в початкове положення під дією пружини. Кнопки управління
повинні легко і надійно замикати та розмикати електричні ланцюги.
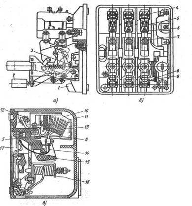
Автоматичний вимикач
АП-50
(Рис.2.1., а-в).
Повне розбирання вимикача необхідне, коли пошкоджені контакти і потрібна їх заміна.
У більшості випадків, коли треба усунути дефекти різьблення контактів, дугогасильної
гратки, очистити кіптяву на внутрішній поверхні і деталях вимикача або замінити
зворотну пружину, досить обмежитися частковим розбиранням. Для цього вивертають
гвинти кріплення кришки до основи 1 і кришку знімають. Знімають дугогасильну камеру,
розчіпляють важіль 3 (якщо вимикач зведений), натиснувши для цього на кнопку «стоп»
2 або рейку траверси вивідних проводів. Для подальшого розбирання
вивертають гвинти 7 і знімають нерухомі 5 і рухомі 6 контакти. При обриві або ослабленні
за допомогою плоскогубців
знімають поворотну пружину 9 содержателя.
Після ремонту деталей
автомат збирають в такій послідовності:
встановлюють дугогасильну камеру
10 в гніздо шарнірні з'єднання механізму змащують приладовим маслом,
обертання траверси на осі повинно бути без заїдань. Встановлюють нерухомі і рухомі
контакти і закріплюють їх гвинтами. Установлюють поворотну пружину, вкручують гвинти
9, для приєднання вивідних проводів, надягають кришку з дугогасильними камерами
на основу і щільно закріплюють гвинтами, не допускаючи перекосів.
Рис.2.1 Автоматичний
вимикач АП-50:
1 – основа, 2 - кнопка «стоп»,
3 - важіль, 4, Т, 8 - гвинти, 5 - нерухомий контакт,
6 - рухомий контакт, 9 -
поворотна пружина, 10 – дусогасильна камера,
11 - кришка, 12 - виводи,
13 - сталеві пластини гнучке з'єднання,15 - траверса,
16 і 17 - електромагнітний
і тепловий розчеплювач
Список використаної літератури
1. Атабеков
В. Б.
Ремонт
електрообладнання
2. Бурда
А.Г. Обучение в електромонтажных
мастерских
3. Вернер
В.В. Електромонтер ремонтник
4.
Прищеп Л.Г. Учебник сельского електрика.
– 3-е издание., доп. и перераб.