Вибір апаратури й устаткування розподільних пристроїв і трансформаторних підстанцій
КУРСОВИЙ ПРОЕКТ
Тема:
"Вибір апаратури й устаткування розподільних пристроїв і трансформаторних
підстанцій".
Зміст
Введення
1.
Пояснювальна записка
1.1 Вибір
роду струму й напруги
1.2 Вибір
схеми зовнішнього й внутрішнього електропостачання
2. Розрахункова частина
2.1
Визначення розрахункових електричних навантажень
2.2
Вибір числа й потужності цехових трансформаторів і підстанції
2.3
Розрахунок втрат потужності в трансформаторах
2.4
Вибір марки й перетину кабелів
2.5
Розрахунок струмів короткого замикання
2.6
Перевірка обраних кабелів на термічну стійкість
2.7 Вибір апаратури й устаткування
розподільних пристроїв і трансформаторних підстанцій
2.8 Компенсація реактивної потужності
Література
Введення
Розвиток промисловості забезпечується впровадженням
новітніх технологій.
Перше місце по кількості споживаної електроенергії
належить промисловості, на частку якої доводиться більше шістдесятьом відсоткам
всієї вироблюваної в країні електроенергії. За допомогою електричної енергії
приводяться в рух мільйони верстатів і механізмів, висвітлюються приміщення,
здійснюється автоматичне керування виробничими процесами. Зараз існують
технології, де електроенергія є єдиним енергоносієм.
Промислові підприємства з потужністю вище 1000 кВ
становлять дев'яносто сім відсотків. Установлена потужність електроустаткування
сучасних металопрокатних цехів досягає 150-200 мВт біля п'ятнадцяти відсотків
від потужності електростанції. Енергоємні підприємства мають високий ступінь
енергооснащеності й автоматизації. Основою розвитку електроенергетики є спорудження
електростанцій великої потужності. У Російській федерації працюють
електростанції з потужністю вище 1000 Мвт кожна.
В умовах прискорення науково-технологічного прогресу
споживання електроенергії в промисловості значно збільшується завдяки створенню
гнучких автоматизованих виробництв, так званих безлюдних технологій.
Робототехніка використовується найчастіше на тих ділянках промислового
виробництва, які становлять небезпеку для здоров'я людей, а також на допоміжних
і підйомно-транспортних роботах.
В 1920 році за завданням В. И. Леніна Державною
комісією з електрифікації Росії був розроблений перший єдиний державний
перспективний план відновлення й розвитку народного господарства. Планом ГОЕЛРО
на п'ятнадцять років було намічене будівництво великих підприємств і більше
тридцяти районних електростанцій. В 1935 році план був перевиконаний за всіма
показниками.
Війна 1941-1945 років принесла величезний збиток
народному господарству, але завдяки самовідданій праці уже к 1946 року
потужність електростанцій СРСР досягла рівня 1940 року.
СРСР є батьківщиною ядерної енергетики. В 1954 році
дала струм перша у світі атомна електростанція біля міста Обнинська потужністю
п'ять мега ват. Через двадцять років потужність одного блоку Ленінградської АЕС
перевищила потужність електростанції в Обнинську у двісті разів. Такі блоки
потужністю в 1000 Мвт сталі серійними для багатьох АЕС країни. Одночасно з
атомними електростанціями будуються приливні геотермальні, вітрові, сонячні
електростанції.
Виробництво електроенергії в нашій країні базується,
головним чином, на роботі атомних і теплових електростанцій.
1. Пояснювальна записка
1.1
Вибір
роду струму й напруги
Економічно доцільно для харчування заводу
використовувати лінії зі змінним струмом, а не з постійним, тому що для
харчування заводу постійним струмом потрібне додаткове встаткування, що
збільшує витрати на виробництво електроенергії. Двигуни постійного струму на
заводі не застосовується тому-те немає необхідності регулювати частоту
обертання в більших межах.
Завод можна живити напругою 6 і 10 кВ, але тому що
відстань від ГПП К заводу два кілометри чотириста метрів, економічно доцільно
використовувати напругу лінії 10 кВ при цьому втрати електроенергії будуть
менше ніж при напруга 6 кВ.
На заводі присутні високовольтні двигуни напругою 10
кВ мінімальної потужності. 800 кВт, а в завдання сказано, що мінімальна
потужність двигунів менше 800 кВт.
Низьковольтні двигуни добре запитувати від мережі
напругою 380 і 660 У. У двигунів напругою 660 У мінімальна потужність 200кВт. У
завдання максимальна потужність не перевищує 100 кВт звідси треба, що для
харчування низьковольтних двигунів приймемо напругу 380 У від цієї ж мережі
будемо живити освітлювальне навантаження.
1.2 Вибір схеми зовнішнього й
внутрішнього електропостачання
У завдання говориться, що завод є споживачем першої
категорії. Із цього треба, що харчування буде виробляється по двох лініях
електропередач, від ГПП, де встановлені два трансформатори, економічно доцільно
використовувати кабельні лінії прокладені в землі, тому що відстань від ГПП К
розподільної підстанції менше 10 кілометрів. Кожний трансформатор підключений К
окремої лінії, це пов'язане з тим, що при аварії на першій лінії робота буде
продовжаться, тому що друга візьме на себе все навантаження.
Для внутрішнього електропостачання цехів. Харчування
високовольтні двигуни від трансформаторів з напругою первинної обмотки 10 кВ
вторинної 6 кВ, а для низьковольтних двигунів і освітлювального навантаження
встановлюємо трансформатор з напругою первинної обмотки 10 кВ вторинної 0,4 кВ.
2. Розрахункова частина
2.1 Визначення розрахункових
електричних навантажень
а) Визначимо розрахункові електричні навантаження для
першої підгрупи.
U ном = 6 кВ
Р ном = 380 кВт
Кu = 0.63
Cos( = 0.82
( = 0.87
n = 26
Тут і далі по тексту формул використані скорочення:
U ном - номінальна напруга мережі.
Р ном - номінальний потужність двигуна.
Кu - коефіцієнт використання активної потужності.
Cos( - коефіцієнт потужності.
(- коефіцієнт корисної дії.
n - кількість двигунів.
S - повна потужність.
Q - реактивна потужність.
I - струм.
(P ном. - алгебраїчна сума активних потужностей.
Знайдемо номінальний струм.
Знайдемо число приймачів електроенергії.
Знаючи число приймачів електроенергії знайдемо
коефіцієнт максимуму по таблиці.
Знайдемо середню потужність із формули
.
Знаючи середню потужність, визначимо максимальну.
Знайдемо повну потужність.
Знаючи повну потужність визначимо реактивну.
Знайдемо максимальний струм.
б) Визначимо розрахункові електричні навантаження для
другої підгрупи.
U ном = 0,4 кВ
Р ном = 20 Квт
Кu = 0,46
Cos( = 0,86
( = 0,87
n = 84
Знайдемо номінальний струм.
Знайдемо число приймачів електроенергії.
Знаючи число приймачів електроенергії, знайдемо
коефіцієнт максимуму по таблиці.
Знайдемо середню потужність із формули
.
Знаючи середню потужність, визначимо максимальну.
Знайдемо повну потужність.
Знаючи повну потужність, визначимо реактивну.
Знайдемо максимальний струм.
в) Визначимо розрахункові електричні навантаження для
третин підгрупи.
U ном = 0,4 кВ
Р ном = 16 Квт
Кu = 0,54
Cos( = 0,82
( = 0,86
n = 82
Знайдемо номінальний струм.

Знайдемо число приймачів електроенергії.
Знаючи число приймачів електроенергії, знайдемо
коефіцієнт максимуму по таблиці.
Знайдемо середню потужність із формули
.
Знаючи середню потужність, визначимо максимальну.
Знайдемо повну потужність.
Знаючи повну потужність, визначимо реактивну.
Знайдемо максимальний струм.
г) Визначимо розрахункові електричні навантаження для
четвертої підгрупи.
U ном = 0,4 кВ
Р ном = 70 Квт
Кu = 0,52
Cos( = 0,87
( = 0,83
n = 35
Знайдемо номінальний струм.
Знайдемо число приймачів електроенергії.
Знаючи число приймачів електроенергії, знайдемо
коефіцієнт максимуму по таблиці.
Знайдемо середню потужність із формули
.
Знаючи середню потужність, визначимо максимальну.
Знайдемо повну потужність.
Знаючи повну потужність, визначимо реактивну.
Знайдемо максимальний струм.
д) Визначимо розрахункові електричні навантаження для
п'ятої підгрупи.
Р ном = 120 Квт
Cos( = 0,89
U ном = 0,4 кВ
Приймаємо Кu = 1, Кmax = 1.
Знайдемо середню потужність із формули
.
Знаючи середню потужність, визначимо максимальну.
Знайдемо повну потужність.
Знаючи повну потужність, визначимо реактивну.
Знайдемо максимальний струм.
Всі вихідні й отримані дані
заносимо в таблицю
Таблиця №1.
|
№
п.п
|
Р ном
|
N
|
åР ном
|
К u
|
Cos j
|
Tg j
|
N эф
|
К max
|
P порівн
|
P max
|
Q max
|
S max
|
U ном
|
I max
|
|
кВт
|
шт.
|
кВт
|
|
|
|
шт.
|
|
кВт
|
кВт
|
кВА
|
кВА
|
кВ
|
А
|
|
1
|
320
|
26
|
9880
|
0,63
|
0,82
|
0,69
|
26
|
1,128
|
6224
|
7020
|
4843
|
8560
|
6
|
824
|
|
2
|
20
|
84
|
1680
|
0,46
|
0,86
|
0,59
|
84
|
1,114
|
772
|
844
|
507
|
1000
|
0,4
|
835
|
|
3
|
16
|
82
|
1312
|
0,54
|
0,82
|
0,69
|
82
|
1,104
|
708
|
776
|
539
|
952
|
0,4
|
1375
|
|
4
|
70
|
35
|
2450
|
0,52
|
0,87
|
0,57
|
35
|
1,154
|
1274
|
1466
|
838
|
1689
|
0,4
|
2440
|
|
5
|
120
|
-
|
-
|
1
|
0,89
|
0,51
|
-
|
1
|
120
|
120
|
61
|
135
|
0,4
|
195
|
2.2 Вибір числа й потужності
цехових трансформаторів і підстанцій
Вибираємо число підстанцій і потужність
трансформаторів для харчування споживачів U=0.4 кВ, якщо встановлена потужність
на підприємстві S=3776,у складі підприємства є споживачі першої категорії, тому
що в складі підприємства є споживачі першої категорії, то для забезпечення
надійності й безперебійності електропостачання на кожній трансформаторній
підстанції необхідно передбачити установку двох однакових по потужності
трансформаторів, завантаження трансформаторів потрібно робити так: у
нормальному режимі кожний трансформатор повинен працювати в економічно доцільному
режимі, тобто із завантаженням 60-70% від його номінальної потужності. В
аварійному режимі, коли один трансформатор відключився, а трансформатор, що залишився
в роботі, взяв би на себе навантаження трансформатора, що відключився, і його
перевантаження становило 20-40%. для харчування низьковольтного навантаження
будемо використовувати трансформаторні підстанції, на яких установлюються
спеціальні силові трансформатори ТМЗ.
Ці трансформатори випускають напругою на первинної
обмотки 6-10 кВ, а вторинної 0,4 кВ. Номінальної потужності 630, 1000, 1600
кВа.
Допустимо, що в нормальному режимі кожний
трансформатор на підстанції працює з коефіцієнтом завантаження 0,65. Коли в
аварійному режимі один трансформатор бере на себе подвійне завантаження
коефіцієнт завантаження 1,3. Тому що жоден із трансформаторів, що випускаються,
ТМЗ із урахуванням припустимих перевантажень не може взяти на себе все
навантаження підприємства те необхідно вибрати кілька трансформаторних
підстанцій.
Тут і далі по тексту формул використані скорочення:
S max - максимальна повна потужність.
S п/ст. - потужність підстанції.
n - кількість підстанцій.
S тр. - потужність трансформатора.
К з.а - коефіцієнт завантаження в аварійному режимі.
К з.н - коефіцієнт завантаження в нормальному режимі.
Знайдемо необхідне число підстанцій.
1)
Визначаємо
потужність для двох підстанцій.
Визначаємо орієнтовну потужність трансформатора,
уважаючи, що в аварійному режимі його коефіцієнт завантаження повинен бути 1,3.
Визначимо коефіцієнт завантаження в нормальному режимі
для кожного під варіанта.
1а) Трансформатор потужністю 1000 кВа.
1б) Трансформатор потужністю 1600 кВа.
2) Визначаємо потужність для трьох підстанцій.
Визначаємо орієнтовну потужність трансформатора,
уважаючи, що в аварійному режимі його коефіцієнт завантаження повинен бути 1,3.
Визначимо коефіцієнт завантаження в нормальному режимі
для кожного під варіанта.
2а) Трансформатор потужністю 630 кВа.
2б) Трансформатор потужністю 1000 кВа.
Висновок: Із всіх варіантів вибираємо 2б. Орієнтовна
потужність трансформатора 630 кВа, уважаємо, що в аварійному режимі його
коефіцієнт завантаження повинен бути від 0,6 К 0,7.
Марка трансформатора ТМЗ-1000/10-65 первинна обмотка
напругою 10 кВ вторинна 1 кВ.
(Р х.х = 3,3 кВа
(Р к.з =12,3 кВа
U к.з = 5,5 %
I х.х = 2,8 %
Для високовольтної лінії беремо одну трансформаторну
підстанцію, в аварійному режимі трансформатор візьме на себе все навантаження й
буде перевантажений на 30%, тобто буде працювати з коефіцієнтом завантаження
1,3.
Визначаємо орієнтовну потужність трансформатора.
Визначимо коефіцієнт завантаження.
а) Трансформатор потужністю 6300 кВа.
б) Трансформатор потужністю 10000 кВа.
Висновок: Із всіх варіантів вибираємо 2а. Орієнтовна
потужність трансформатора 630 кВа вважаючи, що в аварійному режимі його
коефіцієнт завантаження повинен бути від 0,6 К 0,7.
Марка трансформатора ТМ-6300/10 первинна обмотка
напругою 10 кВ вторинна 6,3 кВ.
( Р х.х = 12,3 кВа
( Р к.з = 46,5 кВа
U к.з = 6,5 %
I х.х = 3 %
2.3 Розрахунок втрат
потужностей у трансформаторах
Тут і далі по тексту формул використані скорочення:
Q - реактивна потужність.
X - індуктивний опір.
P - активна потужність.
U - напруга.
Розраховуємо втрати потужності в силовому
трансформаторі марки
ТМ-6300/10 напруга живильного ланцюга 10 кВ.
S max = 417 кВа,
Знайдемо втрати потужності холостого ходу.
Знайдемо втрати
потужності при короткому замиканні.
Визначимо індуктивний опір.
Знаючи індуктивний опір визначимо реактивні втрати
трансформатора.
Знайдемо втрати потужності в трансформаторі.
Знайдемо втрати повної потужності в трансформаторі.
Визначаємо повну потужність.
Знаючи повну потужність, знайдемо струм.
Розраховуємо втрати потужності в силовому
трансформаторі марки
ТМ-1000/10 напруга живильного ланцюга 10 кВ.
Знайдемо втрати потужності холостого ходу.
Знайдемо втрати потужності при короткому замиканні.
Визначимо індуктивний опір.
Знаючи індуктивний опір, визначимо реактивні втрати
трансформатора.
Знайдемо втрати потужності в трансформаторі.
Знайдемо втрати повної потужності в трансформаторі.
Визначаємо повну потужність.
Знаючи повну потужність, знайдемо струм.
Всі вихідні й отримані дані заносимо в таблицю №2.
Таблиця №2.
|
№
п.п
|
S тр
|
U н1
|
U н2
|
I х.х
|
U к.з
|
DP х.х
|
DP к.з
|
DQ х.х
|
К н
|
К з.а
|
X тр
|
|
кВ
|
кВ
|
кВ
|
%
|
%
|
кВт
|
кВ
|
кВар
|
квар
квар
|
|
Ом
|
|
1
|
6300
|
10
|
6
|
3
|
6,5
|
12,3
|
46,5
|
189
|
0,05
|
1,36
|
0,00103
|
|
2
|
1000
|
10
|
0,4
|
2,8
|
5,5
|
3,3
|
12,2
|
28
|
0,05
|
1,26
|
0,0055
|
|
К з.н
|
DP тр
|
DQ тр
|
DS тр
|
P max
|
Q max
|
S max
|
S n
|
I n
|
|
кВар
|
кВар
|
кВА
|
кВт
|
кВар
|
кВА
|
кВа
|
А
|
|
0,68
|
140
|
755
|
769
|
7020
|
4843
|
8560
|
9329
|
534
|
|
0,63
|
28
|
115
|
118
|
1069
|
648
|
1258
|
1376
|
79
|
2.4 Вибір марки й перетину
кабелів
Приймаємо наступні довжини кабелів.
L1 = 2.4 км.
L2 = 50 м.
L3 = 200 м.
L4 = 200 м.
L5-7 = 100 м.
Поправочні коефіцієнти на число кабелів лежачих поруч
у землі або в трубах.
|
N
|
1
|
2
|
3
|
4
|
5
|
6
|
|
k
|
1
|
0,9
|
0,85
|
0,8
|
0,78
|
0,75
|
Для кабелів прокладених по повітрю поправочні
коефіцієнти не враховуються.
Як високовольтні кабелі будемо вибирати марку ААШВ. У
якості низьковольтних АВВГ (5-7 кабель).
Приймемо економічну щільність струму по ПУЕ jек =1,8
А/мм2. Ця величина буде використовуватися при виборі високовольтних кабелів.
Для вибору низьковольтних кабелів табличне значення
економічної щільності струму збільшуємо на сорок відсотків
.
Приймаємо Xо =0,08 Ом/км.
Тут і далі по тексту формул використані скорочення:
I - струм.
S ек. - перетин кабелю.
j ек. - економічну щільність струму.
n каб. - число кабелів.
(U - втрати напруги.
r - активний опір.
(- коефіцієнт корисної дії двигуна.
К ПК – поправочний коефіцієнт.
1.
Вибираємо
марку й перетини першого кабелю.
Знайдемо повний струм навантаження.
Визначаємо економічний перетин кабелю.
Знаючи повний струм навантаження, знаходимо струм
кабелю.
Визначимо пропускний струм кабелю.
Вибираємо найбільший перетин кабелю, а по ньому
найближче стандартне й довгостроково припустимий струм по таблиці.
S = 185 мм2, I = 310 А.
Знайдемо пропускний струм лінії.
Розрахуємо активний опір.
Знаходимо коефіцієнт потужності.
Знаючи cos(, знаходимо за допомогою калькулятора sin.
Розрахуємо втрати напруга.
Тому що втрати напруги менше п'яти відсотків значить
кабель марки ААШВ-10-3 (3(185) обраний правильно й підходить по довгостроково
припустимому струму.
2.
Вибираємо
марку й перетини другого кабелю.
Знайдемо повний струм навантаження.
Визначаємо економічний перетин кабелю.
Знаючи повний струм навантаження, знаходимо струм
кабелю.
Визначимо пропускний струм кабелю.
Вибираємо найбільший перетин кабелю, а по ньому
найближче стандартне й довгостроково припустимий струм по таблиці.
S = 240 мм2, I = 270 А.
Знайдемо пропускний струм лінії.
Розрахуємо активний опір.
Знаходимо коефіцієнт потужності.
Знаючи cos(, знаходимо за допомогою калькулятора sin.
Розрахуємо втрати напруга.
Тому що втрати напруги менше п'яти відсотків значить
кабель марки ААШВ-10-2 (3(240) обраний правильно й підходить по довгостроково
припустимому струму.
3.
Вибираємо
марку й перетини третього кабелю.
Знайдемо повний струм навантаження.
Визначаємо економічний перетин кабелю.
Знаючи повний струм навантаження, знаходимо струм
кабелю.
Вибираємо найбільший перетин кабелю, а по ньому
найближче стандартне й довгостроково припустимий струм по таблиці.
S = 50 мм2, I = 105 А.
Знайдемо пропускний струм лінії.
Розрахуємо активний опір.
Знаходимо коефіцієнт потужності.
Знаючи cos(, знаходимо за допомогою калькулятора sin(.
Розрахуємо втрати напруга.
Тому що втрати напруги менше п'яти відсотків значить
кабель марки ААШВ-10-(3(50) обраний правильно й підходить по довгостроково
припустимому струму.
Вибираємо марку й перетини четвертого кабелю.
Знайдемо повний струм навантаження.
Визначаємо економічний перетин кабелю.
Знаючи повний струм навантаження, знаходимо струм
кабелю.
Вибираємо найбільший перетин кабелю, а по ньому
найближче стандартне й довгостроково припустимий струм по таблиці.
S = 35 мм2, I = 85 А.
Знайдемо пропускний струм лінії.
Розрахуємо активний опір.
Знаходимо коефіцієнт потужності.
Знаючи cos(, знаходимо за допомогою калькулятора sin(.
Розрахуємо втрати напруга.
Тому що втрати напруги менше п'яти відсотків значить
кабель марки ААШВ-6-(3(35) обраний правильно й підходить по довгостроково
припустимому струму.
Вибираємо марку й перетини п'ятого кабелю.
Знайдемо повний струм навантаження.
Визначаємо економічний перетин кабелю.
Знаючи повний струм навантаження, знаходимо струм
кабелю.
Вибираємо найбільший перетин кабелю, а по ньому
найближче стандартне й довгостроково припустимий струм по таблиці.
S = 16 мм2, I = 55 А.
Знайдемо пропускний струм лінії.
Розрахуємо активний опір.
Знаходимо коефіцієнт потужності.
Знаючи cos (знаходимо за допомогою калькулятора sin).
Розрахуємо втрати напруга.
Тому що втрати напруги менше п'яти відсотків значить
кабель марки АВВГ-1-(3(16+1(10) обраний правильно й підходить по довгостроково
припустимому струму.
4.
Вибираємо
марку й перетини шостого кабелю.
Знаючи повний струм навантаження, знаходимо струм
кабелю.
Визначаємо економічний перетин кабелю.
Знаючи повний струм навантаження, знаходимо струм
кабелю.
Вибираємо найбільший перетин кабелю, а по ньому
найближче стандартне й довгостроково припустимий струм по таблиці.
S = 16 мм2, I = 55 А.
Знайдемо пропускний струм лінії.
Розрахуємо активний опір.
Знаходимо коефіцієнт потужності.
Знаючи cos знаходимо за допомогою калькулятора sin
Розрахуємо втрати напруга.
Тому що втрати напруги менше п'яти відсотків значить
кабель марки АВВГ-1-(3(16+1(10) обраний правильно й підходить по довгостроково
припустимому струму.
5.
Вибираємо
марку й перетини сьомого кабелю.
Знайдемо повний струм навантаження.
Визначаємо економічний перетин кабелю.
Знаючи повний струм навантаження, знаходимо струм
кабелю.
Вибираємо найбільший перетин кабелю, а по ньому
найближче стандартне й довгостроково припустимий струм по таблиці.
S = 95 мм2, I = 155 А.
Знайдемо пропускний струм лінії.
Розрахуємо активний опір.
Знаходимо коефіцієнт потужності.
Знаючи cos знаходимо за допомогою калькулятора sin
Розрахуємо втрати напруга.
Тому що втрати напруги менше п'яти відсотків значить
кабель марки АВВГ-1-(3(95+1(35) обраний правильно й підходить по довгостроково
припустимому струму.
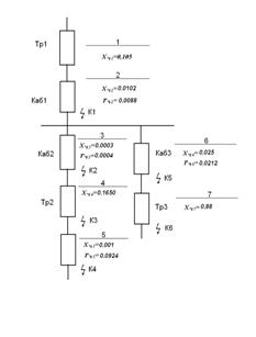
2.5 Розрахунок струмів
короткого замикання
Побудуємо схему заміщення для розрахунку струмів
короткого замикання.
За базисну потужність приймаємо потужність
трансформатора встановленого на ГПП Sб = 16 МВА.
Тут і далі по тексту формул використані скорочення:
Sб - повна базисна потужність.
Iб - базисний струм.
U ном. - номінальна напруга.
Xб - базисний індуктивний опір.
rб - базисний реактивний опір.
Визначимо базисні струми для всіх крапок короткого
замикання.
Для крапок К1; К2; K5 базисні струми рівні.
Для крапок К3 і К4 базисні струми рівні.
Для крапки К6 базисні струми рівні.
Визначаємо відносні базисні опори для елементів
розрахункової схеми:
1)
Для
першого трансформатора враховуються тільки індуктивні опори.
2)
Для
першої кабельної лінії необхідно розраховувати активні й індуктивні опори.
3)
Для
другої кабельної лінії необхідно розраховувати активні й індуктивні опори.
4)
5)
Для
третин кабельної лінії необхідно розраховувати активні й індуктивні опори.
6)
7)
Для
другого трансформатора враховуються тільки індуктивні опори.
8)
9)
Для
четвертого кабельної лінії необхідно розраховувати активні й індуктивні опори.
10)
Для
третього трансформатора враховуються тільки індуктивні опори.
Визначаємо сумарні відносні базисні опори для крапок К1,
К2, К3, К4, К5, К6 і розраховуємо струми й потужності коротких замикань у цих
крапках.
1)
Крапка К1.
Визначаємо індуктивний опір.
Знаходимо струм у крапки К1.
Визначаємо потужність короткого замикання.
Знаходимо ударний струм.
2)
Крапка К2.
Визначаємо індуктивний опір.
Розрахуємо активний опір.
- виходить, активний опір необхідно враховувати.
Повний опір буде перебуває так:
Знаходимо струм у крапці К2.
Визначаємо потужність короткого замикання.

Знаходимо ударний струм.
3)
Крапка К3.
Визначаємо індуктивний опір.
Розрахуємо активний опір.
- виходить, активний опір необхідно враховувати.
Повний опір буде перебуває так.

Визначаємо потужність короткого замикання.

Знаходимо ударний струм.
4)
Крапка К4.
Визначаємо індуктивний опір.
Розрахуємо активний опір.
- виходить, активний опір не враховується.
Знаходимо струм у крапці К2.
Визначаємо потужність короткого замикання.

Знаходимо ударний струм.
5)
Крапка К5.
Визначаємо індуктивний опір.
Розрахуємо активний опір.
- виходить, активний опір необхідно враховувати.
Повний опір буде перебувати так.
Знаходимо струм у крапці К2.
Визначаємо потужність короткого замикання.

Знаходимо ударний струм.
6)
Крапка К6.
Визначаємо індуктивний опір.
Знаходимо струм у крапки К1.
Визначаємо потужність короткого замикання.

Знаходимо ударний струм.
2.6 Перевірка обраних кабелів
на термічну стійкість К струмів короткого замикання
Мінімальний перетин кабелю по термічній стійкості й
струмам короткого замикання визначається по формулі.
(- коефіцієнт термічної стійкості, для алюмінію він дорівнює
дванадцяти.
Iк - струм короткого замикання наприкінці кабелю.
tn - наведений час яке визначається по кривих.
tn = (( t, (" ).
Тому що крапки короткого замикання перебувають на
великому відстань від джерела харчування те можна вважати Iк = I( = I" =
In
(" = 1
t - дійсний час протікання струму короткого замикання
від моменту виникнення К моменту відключення короткого замикання, цей час
складається із часу спрацьовування захисту й часу спрацьовування вимикача.
t = t захисту + t вим.
Захист повинний бути виконаний по східчастій ознаці,
тобто кожний наступний захист, уважаючи від споживача до джерела харчування
повинне бути більше за часом на щабель часу ((t).
Приймемо (t = 0,5 с.
Приймемо час спрацьовування захисту першого щабля t зах.1=0,5
с.
Орієнтуючись на використання вакуумних високовольтних
вимикачів приймемо власний час спрацьовування вимикача при відключення t вим. =
0,1 з, тоді дійсний час першого щабля захисту буде t1 = t зах. + t вим. = 0,5 +
0,1 = 0,6 с.
Час другого щабля захисту t2 = t1 + (t + t вим.
0,6+0,5+0,1=1,2с.
Дійсний час третин захисту t3 = t2 + (t + t вим. =
1.2+0.5+0.1=1.8 c.
Користуючись кривими для визначення наведеного часу,
знаходимо його.
Для першого щабля tn1 = 0,68 з,
другого щабля tn2 = 0.92 з,
третин щабля tn3 = 1,22 с.
Визначимо мінімальний перетин першого кабелю по
термічній стійкості.
По термічній стійкості перший кабель марки
ААШВ-10-3 (3(185) підходить, тому що 107<3(185.
Визначимо мінімальний перетин другого кабелю по
термічній стійкості.
По термічній стійкості перший кабель марки
ААШВ-10-2 (3(240) підходить, тому що 79<3(240.
Визначимо мінімальний перетин третього кабелю по
термічній стійкості.
По термічній стійкості перший кабель марки
ААШВ-10- (3(50) не підходить, тому що 53>50 значить
вибираємо кабель марки ААШВ-10-(3(70).
Визначимо мінімальний перетин четвертого кабелю по
термічній стійкості.
По термічній стійкості перший кабель марки
ААШВ-6- (3(35) не підходить, тому що 60>35 значить
вибираємо кабель марки ААШВ-6- (3(70).
2.7 Вибір апаратури й устаткування
розподільних підстанцій
1)
Вибір
апаратури й устаткування на РУ-10 кВ.

На РУ-10 кВ вибираємо високовольтні вимикачі й
трансформатори струму. Вимикачі вбирають по номінальному струмі й номінальній
напрузі, місцю установки й перевіряються на здатність, що відключає, на
термічну й динамічну стійкість до струмів короткого замикання.
Орієнтуємося на використання комплектних розподільних
пристроїв типу КРУ й вакуумні вимикачі струму ВВТЕ-М.
Вакуумні вимикачі випускаються на напругу 6 кВ і 10
кВ.
Номінальні струм 630, 1000, 1600.
Вибираємо вступної вимикач.
,
де I рас. - розрахунковий струм.
I n - струм кабелю.
S - потужність трансформатора.
Попередньо вибираємо вимикач на 1000 ампер.
Становимо порівняльну таблицю.
Таблиця № 3.
|
Розрахункові величини
|
Припустимі величини
|
|
Uном = 10 кВ
Iрас. = 771 А
Iк.з = 8,07 кА
iуд. = 20,48 ка
Sк.з = 139 мва
|
Uном. = 10 кВ
Iном. = 1000 А
Iотк. = 20 ка
iуд. = 51 ка
Sотк. = 350 мва
|
Тому що жоден з розрахункових величин не перевищує
відповідного значення припустимої величини, то остаточно приймаємо К установки
вимикач 10-20-1000.
Вибираємо на уведення трансформатора струму.
Трансформатори струму вибираємося по номінальній
напрузі й номінальному струмі першої обмотки й перевіряються на термічну й
динамічну стійкість К струмів короткого замикання. Трансформатори струму
виготовляються на наступні номінальні струми первинної обмотки: 10, 20, 30, 40,
50, 75, 100, 150, 200, 300, 400, 600, 800, 1000, 1500, 2000 і при струмі на
вторинній обмотці п'ять амперів.
Попередньо вибираємо трансформатор струму на 800
ампер.
Становимо порівняльну таблицю.
Таблиця № 4.
|
Розрахункові величини
|
Припустимі величини
|
|
Uном = 10 кВ
Iрас. = 771 А
|
Uном. = 10 кВ
Iном. = 800 А
Кt = 120
Кд = 250
|
По термічній і динамічній стійкості попередньо
прийнятий трансформатор струму підходить, і остаточно приймаємо
трансформатор марки Твлм-10-Р/р-800/5.
2)
Вибираємо
секційний вимикач на РУ-10 кВ.
Визначаємо розрахунковий струм.
Попередньо вибираємо вимикач на 630 ампер.
Становимо порівняльну таблицю.
Таблиця № 5.
|
Розрахункові величини
|
Припустимі величини
|
|
Uном = 10 кВ
Iрас. = 385 А
Iк.з = 8,07 кА
iуд. = 20,48 ка
Sк.з = 139 мва
|
Uном. = 10 кВ
Iном. = 630 А
Iотк. = 20 ка
iуд. = 51 ка
Sотк. = 350 мва
|
Тому що жоден з розрахункових величин не перевищує
відповідного значення припустимої величини, то остаточно приймаємо К установки
вимикач 10-20-630.
Для цього вимикача попередньо вибираємо трансформатор
струму на 400 ампер.
Становимо порівняльну таблицю.
Таблиця № 6.
|
Розрахункові величини
|
Припустимі величини
|
|
Uном = 10 кВ
Iрас. = 385 А
|
Uном. = 10 кВ
Iном. = 400 А
Кt = 120
Кд = 250
|
По термічній і динамічній стійкості попередньо
прийнятий трансформатор струму підходить, і остаточно приймаємо
трансформатор марки Твлм-10-Р/р-400/5.
3)
Вибираємо
вимикач на трансформатор.
S = 6300 кВа
I рас. = 534 А
Попередньо вибираємо вимикач на 630 ампер.
Становимо порівняльну таблицю.
Таблиця № 7.
|
Розрахункові величини
|
Припустимі величини
|
|
Uном = 10 кВ
Iрас. = 534 А
Iк.з = 8,02 кА
iуд. = 20,35 ка
Sк.з = 138 мва
|
Uном. = 10 кВ
Iном. = 630 А
Iотк. = 20 ка
iуд. = 51 ка
Sотк. = 350 мва
|
Тому що жоден з розрахункових величин не перевищує
відповідного значення припустимої величини, то остаточно приймаємо до установки
вимикач 10-20-630.
Для цього вимикача попередньо вибираємо трансформатор
струму на 600 ампер.
Становимо порівняльну таблицю.
Таблиця № 8.
|
Розрахункові величини
|
Припустимі величини
|
|
Uном = 10 кВ
Iрас. = 534 А
|
Uном. = 10 кВ
Iном. = 600 А
Кt = 120
Кд = 250
|
По термічній і динамічній стійкості попередньо
прийнятий трансформатор струму підходить, і остаточно приймаємо
трансформатор марки Твлм-10-Р/р-600/5.
4)
Вибираємо
вимикач на трансформатор.
S = 1000 кВа
I рас. = 79 А
Попередньо вибираємо вимикач на 630 ампер.
Становимо порівняльну таблицю.
Таблиця № 9.
|
Розрахункові величини
|
Припустимі величини
|
|
Uном = 10 кВ
Iрас. = 79 А
Iк.з = 8,02 кА
iуд. = 20,35 ка
Sк.з = 138 мва
|
Uном. = 10 кВ
Iном. = 630 А
Iотк. = 20 ка
iуд. = 51 ка
Sотк. = 350 мва
|
Тому що жоден з розрахункових величин не перевищує
відповідного значення припустимої величини, то остаточно приймаємо до установки
вимикач 10-20-630.
Для цього вимикача попередньо вибираємо трансформатор
струму на 100 ампер.
Становимо порівняльну таблицю.
Таблиця № 10.
|
Розрахункові величини
|
Припустимі величини
|
|
Uном = 10 кВ
Iрас. = 79 А
|
Uном. = 10 кВ
Iном. = 100 А
Кt = 120
Кд = 250
|
По термічній і динамічній стійкості попередньо
прийнятий трансформатор струму підходить, і остаточно приймаємо трансформатор
марки Твлм-10-Р/р-600/5.
Для контролю ізоляції й вимірів на кожній секції РУ-10
кВ установлюємо по одному трансформаторі напруги типу НТМ-10-66.
Для захисту цього трансформатора те коротких замикань
підключаємо його через плавкий запобіжник ПКТ-10.
Для захисту апаратури й устаткування від перенапруг на
кожною секцію встановлюємо по комплекті вентильних розрядників РВП-10.
Для захисту кабельних ліній від однофазних замикань на
землю на кожний кабель установлюємо трансформатор струму нульової послідовності
типу ТЗЛ. На кожної секцій передбачаємо по одного резервного осередку з таким
же вимикачем як на вступного осередку.
1)
Вибір
апаратури й устаткування на РУ-6 кВ.
Розрахунковий струм для вибору вступного вимикача
буде.
,
де I рас.- струм розрахунковий.
n- кількість двигунів.
I ном. дв. - номінальний струм двигуна.
Для контролю ізоляції й вимірів на кожній секції РУ-10
кВ установлюємо по одному трансформаторі напруги типу НТМ-10-66.
Для захисту цього трансформатора те коротких замикань
підключаємо його через плавкий запобіжник ПКТ-10.
Для захисту апаратури й устаткування від перенапруг на
секції встановлюємо по комплекті вентильних розрядників РВП-10.
Для захисту кабельних ліній від однофазних замикань на
землю на кожний кабель установлюємо трансформатор струму нульової послідовності
типу ТЗЛ. На кожної секцій передбачаємо по одного резервного осередку з таким
же вимикачем як на вступного осередку.
Розраховуємо струм для вибору вступного вимикача на
РУ-6 кВ.
Попередньо вибираємо вимикач на 1600 ампер.
Становимо порівняльну таблицю.
Таблиця № 11.
|
Розрахункові величини
|
Припустимі величини
|
|
Uном = 6 кВ
Iрас. = 1326 А
Iк.з = 5,34 кА
iуд. = 13,55 ка
Sк.з = 57 мва
|
Uном. = 10 кВ
Iном. = 1600 А
Iотк. = 20 ка
iуд. = 51 ка
Sотк. = 350 мва
|
Тому що жоден з розрахункових величин не перевищує
відповідного значення припустимої величини, то остаточно приймаємо до установки
вимикач 10-20-1600.
Для цього вимикача попередньо вибираємо трансформатор
струму на 1500 ампер.
Становимо порівняльну таблицю.
Таблиця № 12.
|
Розрахункові величини
|
Припустимі величини
|
|
Uном = 6 кВ
Iрас. = 1326 А
|
Uном. = 10 кВ
Iном. = 1500 А
Кt = 120
Кд = 250
|
По термічній і динамічній стійкості попередньо
прийнятий трансформатор струму підходить, і остаточно приймаємо
трансформатор марки Твлм-10-Р/р-1500/5.
2)
Вибираємо
секційний вимикач.
Попередньо вибираємо вимикач на 1000 ампер.
Становимо порівняльну таблицю.
Таблиця № 13.
|
Розрахункові величини
|
Припустимі величини
|
|
Uном = 6 кВ
Iрас. = 663 А
Iк.з = 5,34 кА
iуд. = 13,55 ка
Sк.з = 57 мва
|
Uном. = 10 кВ
Iном. = 1000 А
Iотк. = 20 ка
iуд. = 51 ка
Sотк. = 350 мва
|
Тому що жоден з розрахункових величин не перевищує
відповідного значення припустимої величини, то остаточно приймаємо до установки
вимикач 10-20-1000.
Для цього вимикача попередньо вибираємо трансформатор
струму на 800 ампер.
Становимо порівняльну таблицю.
Таблиця № 14.
|
Розрахункові величини
|
Припустимі величини
|
|
Uном = 6 кВ
Iрас. = 663 А
|
Uном. = 10 кВ
Iном. = 800 А
Кt = 120
Кд = 250
|
По термічній і динамічній стійкості попередньо
прийнятий трансформатор струму підходить, і остаточно приймаємо
трансформатор марки Твлм-10-Р/р-800/5.
3)
Видираємо
вимикач для харчування двигуна.
Iрас.= Iдв.=51 А
Попередньо вибираємо вимикач на 630 ампер.
Становимо порівняльну таблицю.
Таблиця № 15.
|
Розрахункові величини
|
Припустимі величини
|
|
Uном = 6 кВ
Iрас. = 51 А
Iк.з = 5,34 кА
iуд. = 13,55 ка
Sк.з = 57 мва
|
Uном. = 10 кВ
Iном. = 630 А
Iотк. = 20 ка
iуд. = 51 ка
Sотк. = 350 мва
|
Тому що жоден з розрахункових величин не перевищує
відповідного значення припустимої величини, то остаточно приймаємо до установки
вимикач 10-20-630.
Для цього вимикача попередньо вибираємо трансформатор
струму на 100 ампер.
Становимо порівняльну таблицю.
Таблиця № 16.
|
Розрахункові величини
|
Припустимі величини
|
|
Uном = 6 кВ
Iрас. = 57 А

|
Uном. = 10 кВ
Iном. = 100 А
Кt = 120
Кд = 250
|
По термічній і динамічній стійкості попередньо
прийнятий трансформатор струму підходить, і остаточно приймаємо трансформатор
марки Твлм-10-Р/р-100/5.
Вибір апаратури й устаткування на РУ-0,4 кВ
Для харчування низьковольтних споживачів вибираємо
комплектні трансформаторні підстанції й відповідно К комплектних розподільних
пристроїв КРУ-0,4 кВ.
Як комутаційна апаратура використовуємо автоматичні
вимикачі на вступних і секційних осередках використовуємо вимикачі типу Е-25
(електрон на 2500 А).
Для харчування зосереджених навантажень двигунів
великої потужності використовуємо автоматичні вимикачі марки АВМ (автомат
повітряний модернізований).
Для харчування малопотужних споживачів використовуємо
автоматичні вимикачі серії А-3000.
Для цілей виміру й обліку електроенергії будемо
використовувати трансформатори струму котушкового типу марки ТК.
2.8 Компенсація реактивної
потужності
Згідно провідних вказівок по підвищенню cos( в
установках промислових підприємств рекомендується:
1.
При
необхідній потужності пристроїв, що компенсують, менш 5000 квар і напруга 6 кВ
необхідно використовувати батареї статичних конденсаторів, а при напруга К 1000
У всіх випадках використовуються статичні конденсатори. При розрахунку
необхідної потужності конденсаторних батарей припускаємо, що cos( після
компенсації повинен бути cos(=0,94
2.
Високовольтні
навантаження компенсують установкою високовольтних конденсаторів, а
низьковольтні низьковольтними конденсаторами.
Вибираємо пристрої, що компенсують, на РУ-6 кВ,
необхідна потужність, що компенсує, визначається по формулі.
, кВар
(=0,9 - коефіцієнт враховуюче можливе підвищення cos(
способами не пов'язаними з установкою конденсаторних батарей.
P- розрахункова активна потужність установки.
tg(1 - тангенс кута зрушення фаз відповідному
коефіцієнту до комутації.
Беремо два комплекти конденсаторних установок марки КК-6-1125ЛУЗ;
КК-6-1125ПУЗ.
Визначаємо дійсний розрахунковий cos(.
cosj = 0,99
Вибираємо пристрої, що компенсують, на РУ-0,4 кВ,
необхідна потужність, що компенсує, визначається по формулі.
Беремо один комплект конденсаторних установок марки
КК-0,38-320Н.
Визначаємо дійсний розрахунковий cos(.
cosj = 0,96
Література
1.
Б.Ю.
Липкин: Електропостачання промислових підприємств і установок. –К., 2000
2.
Довідник
по проектуванню електропостачання лінії електропередачі й мереж // за редакцією
Я. М. Большама, В. И. Круповича, М. Самоверова. – К., 2003
3.
Довідник
по електропостачанню промислових підприємств // за редакцією А. А. Федорова, Г.
В. Сербиновского. К., 1991 рік.
4.
Правила
устройства электроустановок (ПУЭ). - М., 2000
5.
Федоров. А. А.,
Старнов. Л. Е. Учебное пособие для курсового и дипломного проектирования. - М., 1987