Определение эффективности действия ударника по преграде и его рациональных конструктивных параметров

  • Вид работы:
    Контрольная работа
  • Предмет:
    Физика
  • Язык:
    Русский
    ,
    Формат файла:
    MS Word
    537,85 kb
  • Опубликовано:
    2010-09-04
Вы можете узнать стоимость помощи в написании студенческой работы.
Помощь в написании работы, которую точно примут!

Определение эффективности действия ударника по преграде и его рациональных конструктивных параметров

ОГЛАВЛЕНИЕ

ЦЕЛЬ РАБОТЫ.. 3

Варианты подходов к математическому моделированию функционирования кумулятивных зарядов. 4

Взаимодействие высокоскоростного ударника с различными типами преград. 9

ВЫПОЛНЕНИЕ ОСНОВНЫХ ПОДСЧЁТОВ И АНАЛИЗ РЕШЕНИЯ.. 11

АНАПЛИЗ ГРАФИКОВ.. 12

1. График скорости схлопывания. 12

2. График изменения угла схлопывания. 12

3.График скорости кумулятивной струи. 13

4.График изменения глубины пробития преграды.. 14

5.График изменения диаметра отверстия в преграде. 14

ЗАКЛЮЧЕНИЕ. 15

СПИСОК ЛИТЕРАТУРЫ.. 16

ЦЕЛЬ РАБОТЫ


Цель данной работы заключается в определении эффективности действия ударника по преграде и его рациональных конструктивных параметров.

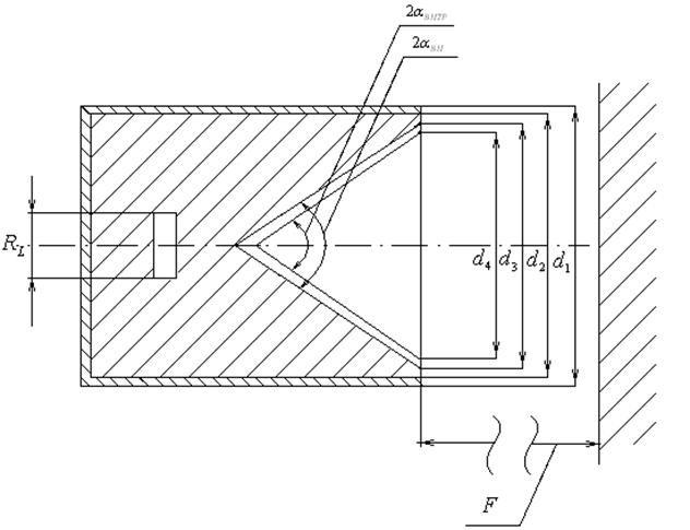
Исходные данные сведены в таблицу:

d4 мм

d3 мм

d2 мм

d1

мм

F

м

D

м/с

мм

мм

23

30

30

72

75

78

80

0,5

8950

1850

10

10


ROST=7810. ROM =8960. ROVV=1850. DVV = 7802.3 ROPR=7810.

Анализ и математическое описание физических процессов, сопровождающих функционирование кумулятивных зарядов

 

Варианты подходов к математическому моделированию функционирования кумулятивных зарядов.

Современные теоретические и экспериментальные исследования позволяют получить достаточно полное представление о процессах, протекающих при функционировании КЗ. При срабатывании головного взрывателя его импульс передается детонатору КЗ и происходит инициирование заряда ВВ. Фронт детонационной волны начинает распространяться по заряду со скоростью детонации D. Затем продукты детонации, давление которых зависит от свойств ВВ, угла подхода фронта волны к поверхности облицовки, определяемого расположением и конфигурацией "линзы" воздействует на металлическую облицовку выемки КЗ. Под действием продуктов детонации металлическая облицовка КЗ движется по направлению к оси КЗ, что сопровождается уменьшением ее диаметра в различных сечениях и утолщением самой облицовки, что приводит к появлению градиента скорости по толщине облицовки. Схлопываясь, облицовка деформируется с образованием КС и «песта». Наличие градиента скорости по длине КС, определяемого конструктивными особенностями КЗ, оказывает существенное влияние на кинематику и геометрию КС, следовательно, и на величину бронепробиваемости. Перемещаясь в некотором телесном угле, составляющем для современных КЗ 0,5 ... 1,5°, элементы КС после потери струей сплошности получают боковой импульс, связанный с несимметричностью КС, что совместно с аэродинамическими силами приводит к увеличению углового рассеивания и "намазыванию" КС на стенки сформированного отверстия с потерей бронепробивного действия, которое тем меньше, чем больше допуски на изготовление и сборку кумулятивного узла.

Это обстоятельство приводит к уменьшению так называемого "фокусного" расстояния, определяемого в кумулятивных боеприпасах высотой головного обтекателя, скоростью движения снаряда и временем срабатывания взрывателя с 8 ... 12 калибров для прецизионных КЗ до 1 ... 4 калибров для обычных КЗ с коническими медными облицовками. Кроме того, на величину бронепробиваемости оказывают влияние конструктивные параметры кумулятивного узла: форма и материал КО и корпуса КЗ, тип ВВ, расположение и конфигурация линзы. Область существования кумулятивного эффекта имеет ограничения, связанные, с одной стороны, с критериями струеобразования, а с другой — необходимостью преодоления прочностных сил материала КО. На нижней границе струеобразования находится область формирования неразрушающихся компактных поражающих элементов, а на верхней – КЗ с цилиндрической КО. Из основной части КО (кроме участков, прилегающих к ее торцам) заряда формируется безградиентная КС. Для обеспечения формирования монолитной КС должно выполнятся условие D¢c0, т.е. скорость детонации ВВ не должна превышать скорость звука в материале облицовки. КЗ конической формы с цилиндрической КО формируют КС, аналогичные струям, формируемым КЗ с конической КО. Такие же КС образуются из заряда цилиндрической формы с профилированной КО. В этих случаях формирование КС обеспечивается убыванием скорости обжатия к основанию КО.          Многообразие других форм КО и КЗ может быть описано основными закономерностями гидродинамической теории кумуляции. Более высокий градиент скорости по длине КС, повышение скорости ее хвостовых элементов, управление "компактностью" КС реализуется путем применения зарядов с рупорообразной, колоколообразной, полусферической или сегментной облицовкой. В зависимости от поставленной задачи в КЗ могут использоваться и комбинированные формы КО, сохраняющие особенности формирования КС своих частей на соответствующих этапах формирования струи. Рассмотренные типы КО далеко не исчерпывают все известные формы, а формирование КС с требуемыми параметрами может осуществляться и изменением геометрии КЗ. Классические КО, обеспечивая высокую стабильность действия, практически сводят на нет преимущества в бронепробиваемости КО сложных форм, поэтому оптимизацию параметров КЗ, на современном этапе проводят путем совершенствования простых форм варьированием угла раствора, профиля, применением буртиков, "юбок" и т.д. Поиск новых материалов для КО, способных заменить традиционно используемые медь и алюминий и в зависимости от решаемой задачи, в большей степени отвечающих тому или иному параметру, определяющему эффективность действия КЗ, глубине проникания в преграду или специфическим свойствам, влияющим на запреградное действие КС, показал перспективность использования материалов, обладающих высоким удельным весом и высокой пластичностью.

Влияние корпуса КЗ на кинематические параметры струи аналогично влиянию формы заряда: практически непроявляющееся в головной части струи из-за большого слоя ВВ в зоне вершины КО, оно увеличивается по мере приближения к основанию КО, вызывая уменьшение скорости последующих элементов КС и, как следствие, толщины облицовки в основании на 20 ... 30 %. Повышение мощности используемого в КЗ ВВ вместе с изменением скоростных характеристик и режима формообразования КС оказывает влияние на глубину пробития, позволяя при том же градиенте скорости вдоль КС увеличить толщину КО, что в свою очередь обеспечивает увеличение выхода металла из обжимающейся КО в струю, а следовательно, увеличение предельного растяжения КС до разрыва. Координата разрыва КС смещается в сторону увеличения расстояния, на котором КС сохраняет свою сплошность, а значит, эффективность действия.

Введение в КЗ инертных вкладышей (линз), изменяющих характер нагружения КО продуктами детонации и приближающих распределение скорости вдоль КС к оптимальному, является особенно актуальным для кассетных боевых частей и боеукладок танковых управляемых ракет, размещаемых в ограниченных объемах.

Таким образом, все вышеизложенное позволяет сделать вывод о значимости влияния на эффективность функционирования КО каждого из перечисленных параметров и неучет влияния какого-либо из них на этапе проектирования может повлечь за собой искажение общей картины взаимодействия кумулятивного боеприпаса с преградой.

С появлением новых сложных систем бронезащиты, включая динамическую защиту (ДЗ), их преодоление моноблочными КЗ путем оптимизации размеров элементов КЗ, совершенствования технологии изготовления и сборки, использования более мощных ВВ стало затруднительным без значительного увеличения калибра боеприпаса. Это привело к необходимости отработки тандемных схем построения боеприпасов и условий функционирования их у цели. Боеприпас тандемного типа представляет собой два последовательно расположенных заряда, один из которых является основным, отрабатываемым на максимальное бронепробитие, а другой дополнительным, с разновременностью в подрыве взрывателей зарядов, превышающей длительность действия элемента ДЗ, что приводит к срабатыванию последнего до прихода основной КС и обеспечивает ее сохранность. При всей своей эффективности тандемные боеприпасы имеют сложное устройство и требуют учета и детальной проработки следующих факторов: увеличения протяженности эквивалентного пути КС в современной и перспективной бронезащите, угла атаки (и рыскания) боеприпаса, скорости перемещения поражаемой бронецели, накладывающих ограничения на выбор дистанции срабатывания взрывного устройства у цели и диапазона разновременности в инициировании его ступеней. Схема построения тандемного заряда с головным КЗ, срабатывающим вторым, не представляется перспективной для решения задач преодоления разнохарактерной бронезащиты как из-за сложностей в осуществлении значительной разновременности в срабатывании зарядов, так и из-за трудностей реализации суммируемости бронепробивного действия ступеней при активном воздействии преграды и недостаточно большом диаметре кратера от действия первой КС. Аналогично с тандемными кумулятивными боеприпасами могут быть построены трехблочные кумулятивные боеприпасы с двумя предзарядами для преодоления «насыщенных» систем ДЗ. Для конструкций такого типа резко возрастают требования точности сборки, а также возникают трудности при суммируемости бронепробивного действия ступеней при функционировании по быстро движущимся целям. Многофакторность, неоднородность, нестационарность и быстротечность процессов функционирования КЗ и взаимодействия КС с бронепреградой вызывают определенные трудности при их моделировании, отразилось в многообразии подходов к решению данной проблемы. В настоящее время наиболее распространенным продолжает оставаться вероятностный подход, базирующийся как на "чистом" эксперименте, так и построении регрессионных зависимостей, получаемых в результате статистической обработки имеющихся экспериментальных данных, который, в свою очередь, либо полностью охватывает все процессы, протекающих при функционировании КЗ, либо отражает определенную стадию этих процессов.

Экспериментальные методы, основным достоинством которых является воспроизведение натурных условий функционирования боеприпасов, их узлов и элементов, обладают рядом недостатков, связанных со значительными затратами материальных средств на отработку изделий. Построение регрессионных зависимостей, описывающих процессы, протекающие при функционировании КЗ, является весьма полезным при отработке на эффективность конкретного образца изделия, так как позволяет не только выявить факторы, оказывающие влияние на процессы функционирования КЗ, но и оценить чувствительность результата к изменению параметров системы, не учитывать все второстепенные и малозначительные. Но все подобные модели обладают одним существенным недостатком, ограничивающим область их применения. Так, отсутствие физичности в регрессионных зависимостях не позволяет на этапе оптимизации прогнозировать получаемый результат, а невозможность учета в таких моделях типа изделия не позволяет экстраполировать получаемый результат на другие конструкции и формулировать выводы, выходящие за рамки проведенного эксперимента.

Перечисленные недостатки накладывают значительные ограничения на использование этих подходов при разработке конструкций кумулятивных боеприпасов с другими параметрами КЗ. Однако наряду с экспериментальными методами решение данной задачи возможно путем математического моделирования процессов формирования КС и ее взаимодействия с различными типами защиты, что позволяет установить качественные и количественные связи между эффективностью функционирования данной конструкции боеприпаса и факторами, от которых она зависит. Анализ известных литературных источников дает возможность оценить достижения в области моделирования. Несмотря на обилие публикаций по рассматриваемому вопросу представляется возможным проклассифицировать известные в настоящее время способы. В практике конструирования и параметрического исследования КЗ распространены инженерные методы расчета, в основе которых лежит приближенное аналитическое описание двухмерного газодинамического метания КО с определением характеристик КС с помощью гидродинамической теории М.А.Лаврентьева. Все существующие приближенные методики расчета параметров КС основаны на разбиении КЗ на элементы плоскостями, перпендикулярными оси заряда, или коническими поверхностями, перпендикулярными поверхности КО кумулятивной выемки.

Методики по определению параметров КС отличаются друг от друга различными способами определения скорости и угла схлопывания КО. Определение скорости схлопывания КО первым способом осуществляется с помощью интегральных законов сохранения массы и энергии.

По второму способу скорость обжатия КО вычисляется из решения дифференциальных уравнений движения в полных производных элемента КО под действием давления, изменяющегося по определенному закону. Решение этим способом может быть получено как аналитически, так и численно.

Третьим способом скорость обжатия КО определяется с помощью численного решения дифференциальных уравнений газовой динамики в частных производных, описывающих одномерный процесс схлопывания кольца конечной толщины под действием продуктов детонации.

Четвертый способ определения параметров КС основан на численном решении двухмерной задачи обжатия осесимметричной облицовки кумулятивной выемки.

Анализ перечисленных способов определения скорости схлопывания КО с точки зрения применимости в инженерном аппарате проектирования КЗ позволяет сделать следующие выводы. Первый способ неприемлем, так как приводит к значительным погрешностям при определении скорости схлопывания. Наиболее привлекательными представляются второй и третий способы, при реализации которых необходимо осуществлять учет интенсивно изменяющихся характеристик материала. Четвертый способ в перспективе может быть использован для решения задачи проектирования КЗ, однако на сегодняшний день его применение ограничивается громоздкостью, приводящей к серьезным трудностям при сквозном моделировании функционирования КЗ, а следовательно, к большим затратам машинного времени, что создает неудобства при использовании математического аппарата в режиме поиска оптимальных решений.

Угол схлопывания, так же как и скорость схлопывания, определяются в различных методиках по-разному, в зависимости от способа деления КЗ на элементы и методики определения скорости обжатия элемента КО. Местный угол схлопывания для каждого элемента КО имеет свое значение и для конических КО увеличивается от головных элементов к хвостовым элементам.

В методиках, использующих численное решение для определения скорости обжатия КО, угол схлопывания вычисляется с использованием координат элементов КО.

Границы применимости вышеперечисленных методов определяются из анализа конкретной решаемой задачи. Преимущество инженерных методов расчета, получивших широкое распространение, — простота применения и относительно малое время расчета одного варианта при удовлетворительной точности. Это позволяет обрабатывать большое количество вариантов в целях поиска оптимальной конструкции КЗ. В связи с этим методы инженерных расчетов КЗ еще долго будут применяться в практике конструирования КЗ. Развитие вычислительной техники обеспечило значительный прогресс в использовании вычислительных методов, сделав их одним из эффективных средств исследования задач механики сплошной среды и задач кумуляции, в частности. В настоящее время, как у нас в стране, так и за рубежом, разработано достаточное количество численных методов решения этих задач.

При рассмотрении так называемых схем сквозного счета, более адекватно описывающих решение задач кумуляции, можно выделить три больших класса: метод Лагранжа, метод Эйлера и комбинированный метод Эйлера и Лагранжа; сюда же относится расчет в криволинейных координатах, соединивший в себе достоинства лагранжева и эйлерова способов описания движения сплошной среды. Система координат Лагранжа имеет определенные преимущества. Она не допускает искусственного перемешивания вещества, обеспечивает более точное численное дифференцирование, чем в пространственных координатах Эйлера, в ней легче следить за отдельными наиболее интересными зонами разбиения. Однако методу Лагранжа присущи некоторые серьезные недостатки, одним из которых является невозможность применения данного метода для решении задач с большими сдвиговыми искажениями.

Вопрос о целесообразности применения полного решения уравнения гидродинамики численными методами для исследования процессов функционирования КЗ, включая формирование КС и определение ее параметров, подробно рассмотрен в работе [96], в которой для пяти схем КЗ приведено сравнение экспериментальных и расчетных данных параметров КС. Расчеты осуществлялись тремя методами: инженерным, полным гидродинамическим и комбинированным. На основе анализа большого объема данных авторы работы приходят к выводу, что применение полного гидродинамического метода для расчета струеобразования в КЗ сопряжено с трудностями вычислительного характера. По точности получаемых результатов полный гидродинамический расчет незначительно превосходит другие методы. Его преимущество — возможность получения в процессе счета подробной информации о механических и термодинамических явлениях при струеобразовании. В связи с этим можно сделать вывод, что применение этого метода целесообразно в исследовательских целях, а для массовых расчетов параметров КС в зависимости от конфигурации КЗ предпочтительно использовать комбинированный метод расчета параметров КС, сочетающий в себе расчеты в гидродинамическом приближении с использованием аналитических формул.

Для нахождения геометрических размеров КС при движении ее по траектории важнейшей характеристикой является коэффициент ее предельного растяжения (удлинения), определяющий бронепробивное действие, а также интервал времени, в течение которого струя сохранит сплошность.

Взаимодействие высокоскоростного ударника с различными типами преград.

Взаимодействие КС с преградой, оснащенной динамической защитой, представляет собой совокупность сложных взаимосвязанных нестационарных процессов, результатом которых в общем случае, является проникание части КС в основную преграду на определенную глубину. Для решения прикладных задач, связанных с проектированием КЗ, наибольший интерес представляет получение достоверного ответа на вопрос о глуби» проникания КС в основную преграду. Для этого необходимо представит; процесс взаимодействия КЗ с преградой, оснащенной динамической защитой в виде этапов. Остановимся на их рассмотрении:

1-й этап — формирование КС при срабатывании КЗ;

2-й этап — взаимодействие головной част» КС с верхней пластиной ЭДЗ;

4-й этап — инициирование КС заряда ВВ в определенной точке (данный этап во времени накладывается на предыдущий);

5-й этап — распространение детонационной волны от точки инициирования до границы раздела заряд ВВ — пластина ЭДЗ; 

6-й этап — разгона пластины ЭДЗ продуктами детонации, сопровождаемый ее разворотом. Данный этап можно считать завершенным в момент касания боковых поверхностей внедряющейся КС и отверстия к верхней пластине ЭДЗ (рис. 1, а);

7-й этап — взаимодействие пластины ЭДЗ и КС, в результате которого осуществляется взаимное влияние движущихся тел, сказывающееся на изменении направления и скорости движения струи и пластины. Этап заканчивается в момент прекращения контакта КС с пластиной ЭДЗ (рис. 1, б);

8-й этап — независимое движение КС и пластины ЭДЗ. Этап завершается в момент следующего касания боковой поверхности струи с противоположной стороной отверстия пластины ЭДЗ (рис. 1, в);

9-й этап — повторное взаимодействие КС с боковой поверхностью отверстия пластины ЭДЗ (физическая картина и математическое описание данного этапа аналогичны 6-му, принципиальная разница заключается лишь в направлении отклонения траектории КС от базовой). В дальнейшем возможно многократное повторение 6 - 9-го этапов. Завершение описанной процедуры происходит в результате полного срабатывания КС;


10-й этап — эффективное воздействие сохранившихся частей КС на основную преграду.

Рис.1. Этапы взаимодействия кумулятивной струи с летящей пластиной элемента динамической защиты

Выполнение основных подсчётов и анализ решения


Расчеты для выбора размеров кумулятивного снаряда проходили с помощью компьютерной программы. Основной принцип подсчета состоял в подборе значений размеров кумулятивного снаряда, до тех пор пока критерий Хельда будет меньше 180, и при этом не произошел разрыв струи. После подсчета можно свести новые значения размеров кумулятивного снаряда в таблицу.

d4 мм

d3 мм

d2 мм

d1

мм

F

м

D

м/с

мм

мм

23

35

34

71

74

77

80

0,5

8950

1850

10

10

* ROST=7810. ROM =8960. ROVV=1850. DVV = 7802.3 *

* ROPR=7810. FOKUS=.5000 *

*************************************************************

* N сеч * X,см *W0, м/с *ALF,гр* W1, м/с * D от,см *B,см *

*************************************************************

* 1 * .290 * 3293.7 * 33.43 * 10969.7 * .020 * 8.127 *

*************************************************************

* 2 * .871 * 3121.8 * 37.37 * 9230.1 * .028 * 6.710 *

*************************************************************

* 3 * 1.451 * 3032.5 * 38.36 * 8719.2 * .063 * 2.026 *

*************************************************************

* 4 * 2.032 * 2979.2 * 38.50 * 8531.3 * .082 * 1.248 *

*************************************************************

* 5 * 2.613 * 2941.8 * 38.43 * 8440.8 * .135 * .995 *

*************************************************************

* 6 * 3.193 * 2911.8 * 38.32 * 8379.8 * .177 * .925 *

*************************************************************

* 7 * 3.774 * 2885.1 * 38.23 * 8324.9 * .207 * .926 *

*************************************************************

* 8 * 4.354 * 2859.5 * 38.16 * 8267.4 * .229 * .958 *

************************************************************

* 9 * 4.935 * 2833.9 * 38.12 * 8201.8 * .245 * 1.003 *

*************************************************************

* 10 * 5.515 * 2807.7 * 38.12 * 8127.7 * .258 * 1.056 *

*************************************************************

* 11 * 6.096 * 2780.4 * 38.13 * 8044.3 * .269 * 1.109 *

************************************************************

* 12 * 6.677 * 2751.7 * 38.18 * 7951.3 * .272 * 1.190 *

*************************************************************

* 13 * 7.257 * 2721.4 * 38.27 * 7843.9 * .279 * 1.249 *

*************************************************************

*************************************************************

* 15 * 8.418 * 2655.2 * 38.53 * 7595.8 * .274 * 1.436 *

*************************************************************

* 16 * 8.999 * 2619.0 * 38.71 * 7456.1 * .272 * 1.528 *

*************************************************************

* 17 * 9.580 * 2580.7 * 38.94 * 7300.1 * .273 * 1.609 *

*************************************************************

* 18 * 10.160 * 2540.0 * 39.21 * 7130.4 * .263 * 1.736 *

*************************************************************

* 19 * 10.741 * 2496.9 * 39.53 * 6947.9 * .256 * 1.855 *

*************************************************************

* 20 * 11.321 * 2451.2 * 39.88 * 6756.2 * .240 * 2.042 *

*************************************************************

* B сум = 39.062 *

**********************

 

АНАЛИЗ ГРАФИКОВ

 

1. График скорости схлопывания

В сечении 1 скорость схлопывания максимальна, т.к. взрывная волна с наибольшим давлением воздействует на кумулятивную воронку, поэтому кумулятивная облицовка будет схлопываться быстрее. В каждом из последующих сечений скорость схлопывания уменьшается, т.к. уменьшается количество взрывчатого вещества (масса ВВ) и соответственно сила действующая на кумулятивную воронку, график скорости схлопывания кумулятивной облицовки убывает.

2. График изменения угла схлопывания



В рассмотренном случае угол схлопывания кумулятивной воронки в двадцати сечениях, колеблется в пределах от 33,43 до 39,88 градусов, что близко к 35 градусам – углу раствора воронки. В интервале от 1-ого до 4-ого сечения идёт резкое возрастание угла схлопывания из-за большого давления взрывной волны на кумулятивную воронку (в 1-ом сечении скорость схлопывания кумулятивной воронки максимальная). Затем с 4-ого по 10-ое сечение величина угла схлопывания уменьшается (график убывает), т.к. скорость схлопывания уменьшается из-за уменьшения давление взрывной волны действующего на кумулятивную воронку. С 10-ого по 20-ое сечение угол схлопывания возрастает вследствие того, что давление на кумулятивную воронку возрастает за счёт влияния помимо основной волны (движущуюся по радиальному направлению) ещё и волны отражённой от стенок корпуса, т.к., расстояние от кумулятивной воронки до корпуса уменьшается и к 20-ому сечению минимальна. Таким образом, можно сказать, что зависит от геометрических характеристик кумулятивных облицовок, и соответственно для конических КО угол схлопывания должен возрастать.

3.График изменения скорости кумулятивной струи



В сечении 1 скорость кумулятивной струи максимальна, т.к. фронт взрывной волны с большим давлением воздействует на кумулятивную воронку да и к тому же масса облицовки меньше, поэтому в этом сечении скорость будет высокая. В каждом из последующих сечений скорость кумулятивной струи будет уменьшается, т.к. уменьшается количество взрывчатого вещества, (соответственно уменьшается и давление на кумулятивную воронку) и увеличивается масса кумулятивной облицовки, график скорости элементов КС убывает.

4.График изменения глубины пробития преграды


В интервале с 1-ого сечения до 5-ого сечение глубина пробития преграды уменьшается из-за того, что кумулятивная струя имеет большой импульс (скорость элементов кумулятивной струи максимальная). Но при увеличении диметра, увеличивается и площадь преграды соответственно график убывает. С 5-ого по 20-ое сечение глубина пробития возрастает из-за массы элементов этого сечения.

5.График изменения диаметра отверстия в преграде


График фактически показывает диаметр кумулятивной струи, так как диаметр отверстия в преграде зависит полностью от формы кумулятивной струи, а именно от диаметров её элементов. С 1-ого по 17-ое сечение радиус отверстия увеличивается, т.к. увеличивается радиус элементов КС на этом интервале. А с 17-ого по 20-ое сечение уменьшаются, так как там находится сужение хвостовой части.

ЗАКЛЮЧЕНИЕ


В данной работе были определены рациональные конструктивные параметры кумулятивного снаряда. Расчеты выполнялись с помощью компьютерной программы. На основании результата программы были построены графики, которые показали:

1.Изменения скорости схлопывания кумулятивной облицовки;

2.Изменения угла схлопывания;

3.Изменения скорости элементов кумулятивной струи;

4.Изменения диаметра отверстия в преграде;

5.Изменения глубины пробития в преграде.

СПИСОК ЛИТЕРАТУРЫ

1. «Вопросы моделирования и конструирования кумулятивных зарядов»

учебное пособие; Воротилин М.С., Князева Л.Н., Чуков А.Н.; 1999

2. Баум Ф.А., Арленко Н.П., Станюкович Л.П.; «Физика взрыва» Москва; Наука; 1975

3. Воротилин М.С., Сазонов Д.Ю.; «Методика проектирования кумулятивных зарядов с учётом влияния технической несовместимости конструкции»; Сборник научных трудов: «Прикладные задачи механики и газовой динамики»; Тула; ТулГУ; 1997

Похожие работы на - Определение эффективности действия ударника по преграде и его рациональных конструктивных параметров

 

Не нашли материал для своей работы?
Поможем написать уникальную работу
Без плагиата!
Без нейросетей!