Электротехническая аппаратура на горных предприятиях
Федеральное агентство по
образованию ФГОУ СПО «Шахтинский региональный колледж топлива и энергетики
имени Степанова П.И.»
ЛАБОРОТОРНО-ПРАКТИЧЕСКИЕ
РАБОТЫ ПО ДИСЦИПЛИНЕ: ЭиЭГП
Технические отчеты
ЛПР.140613000000ТО
Руководитель ЛПР
ХаустовП.С.
Выполнил студентЗ-451
Ткаченко Л.В
г. Шахты 2008
Содержание
1. Лабороторно-практическая
работа №1.
Тема: «Изучение
высоковольтных изоляторов, предохранителей, шин».
2. Лабороторно-практическая
работа №2.
Тема: «Высоковольтные
разъединители, выключатели нагрузки, отделители и короткозамыкатели».
3. Лабороторно-практическая
работа №3
Тема: «Высоковольтные
разрядники».
4. Лабороторно-практическая
работа №4.
Тема: «Измерительные
трансформаторы тока и напряжения».
5. Лабороторно-практическая
работа №5.
Тема: «Масляные
выключатели и приводы к ним».
6. Лабороторно-практическая
работа №6.
Тема: «Изучение
конструкции, типов аппаратов защиты».
7. Лабороторно-практическая
работа №7.
Тема: «Изучение
конструкции аппаратуры ручного управления».
8. Лабороторно-практическая
работа №8.
Тема: «Изучение
аппаратуры дистанционного управления».
9. Лабороторно-практическая
работа №9.
Тема: «Изучение
пускателей серии ПВИ – 2545».
10.
Лабороторно-практическая
работа №10.
Тема: «Изучение
пускателей серии ПВИ – 63».
11. Лабороторно-практическая
работа №11.
Тема: «Изучение
пускателей серии ПВИ – 125».
12. Лабороторно-практическая
работа №12.
Тема: «Изучение
пускателей серии ПВИ – 250».
13. Лабороторно-практическая
работа №13.
Тема: «Изучение
пускателей серии ПВИ – 320».
14. Лабороторно-практическая
работа №14.
Тема: «Изучение
пускателей серии ПВИ – 32».
Лабороторно-практическая
работа №1
Тема:
«Изучение высоковольтных изоляторов, предохранителей, шин».
Цель работы:
Изучить конструктивные особенности. В/В изоляторов, предохранителей, шин.
Ход работы:
1.
Назначение,
типы.
2.
Устройство.
3.
Вычертить
В/В предохранитель.
Выполнение
работы.
Шинами
называют неизолированные проводники круглого, прямоугольного и трубчатого
сечения и гибкие многожильные провода, укрепляемые на изоляторах. Шинами соединяют
между собой отдельные элементы внутри аппаратов. изготавливают их из меди,
алюминия или стали и обозначают при постоянном токе положительной шиной (+) –
красным цветом, отрицательная шина (-) – синим, и нулевая М – голубым; при
переменном трехфазном токе – наиболее удаленная шина фазы А – желтым цветом,
средняя шина В – зеленым, ближняя к коридору обслуживания С – красным, а
нулевая рабочая N – голубым. Если же эту шину использовать в качестве нулевой
защитной, то ее обозначают продольными полосами желто – зеленого цветов. В
зависимости от материалов шины допускают различную нагрузку. Например шины
прямоугольного сечения при ширине 25мм и толщине 3мм допускают ток: медные –
340А, алюминиевые 265А, стальные – 80А. При токе 1000А и выше шины выполняют в форме
пакетов из нескольких полос или профильного сечения.
Изоляторы
предназначены для крепления токоведущих частей и изоляции их между собой и по
отношению к земле. Они делятся на линейные, штыревые и подвесные для установки
на ВЛ; опорные и проходные для РУ подстанций, опорные и проходные различной
формы, устанавливают в различных электрических аппаратах. Изоляторы обозначают
следующим образом: О – опорный, П – проходной, Н – наружной установки, Р – с
ребристой наружной поверхностью, К – для установки в КРУ, У – усиленный по
внешней изоляции, И – изолятор.
Предохранители
предназначены для защиты силовых трансформаторов мощностью до 1Мв,
трансформаторов напряжения, конденсаторов и других электроустановок от
перегрузки и токов К.З.
Отличительная
особенность предохранителей в том, что их срабатывание происходит раньше, чем
ток К.З. достигнет максимального значения.
Основные
серии предохранителей для внутренних установок: - ПК1, ПК2, ПК3, ПК4,
предназначенные для защиты силовых электрических цепей переменного тока, на
номинальное напряжение 3,6,10,35кВ: для защиты силовых трансформаторов с
первичным значением напряжения 10 и 353 кВ выпускают предохранители серии ПКТН,
которые можно применять в сетях напряжения 3 и 6 кВ: для наружных установок
применяют предохранители выхлопного типа ПВ.
Предохранители
ПК1–4 имеют плавкую вставку в патроне или намотанную на керамический сердечник.
Вставка выполнена из константа серебра или меди с напаянными на нее шариками из
олова или свинца, для ускоренного плавления и помещена в фарфоровый или
стеклянный корпус, засыпаемый кварцевым песком для гашения дуги. Корпус закрыт
крышками, а по краям надеты контактные обоймы, которые вставляют в контакты
электрической цепи. У предохранителей ПК в нижней части расположен указатель
срабатывания, который при перегорании вставки выталкивается пружиной наружу.
Лабороторно-практическая
работа №2
Тема:
«Высоковольтные разъединители, выключатели нагрузки, отделители и
короткозамыкатели».
Цель работы:
Изучение конструкций высоковольтных разъединителей, выключателей нагрузки,
отделитей и короткозамыкателей.
Ход работы:
1.
Назначение
и типы.
2.
Устройство.
3.
Чертеж.
Выполнение
работы.
Разъединители
предназначены для снятия напряжения и для видимого разрыва в обесточенной
силовым выключателем электрической цепи. Дугогасительных устройств
разъединители не имеют и поэтому с их помощью нельзя выключить и включить
электрические цепи под нагрузкой – это может привести к опасному К.З. между
фазами разъединителя и выхода последнего из строя. На подстанциях их используют
для переключения цепей на сборных шинах и для коммутационных переключений в
установках с малыми токами. Разъединителями разрешается отключать емкостные
токи ВЛ и КЛ, измерительные трансформаторы напряжения, ток холостого хода
силовых трансформаторов мощностью до 630кВ. Разъединители выпускают одно – и
трехполюсные, для внутренних и наружных установок с вертикальным или
горизонтальным расположением ножей, рубящего, поворотного или штепсельного
типа, с заземляющими ножами или без них. для ручного управления используют
рычажные или червячные приводы, для дистанционного – моторные приводы.
Выключатели
нагрузки предназначены для коммутации электрических цепей при токах до 630А и
напряжением до 10кВ.
Отделители и
короткозамыкатели.
Короткозамыкатели
предназначены для создания искусственного К.З на землю с целью вызвать
отключение выключателя, который установлен на питающем конце линии в сетях
переменного тока соответствующего класса напряжения. Они могут представлять
собой трех – или однополюсный аппарат с замедляющим ножом вертикально рубящего
типа.
Разъединители
наружной установки с комбинированным движением ножа. На раме укреплены два
неподвижных изолятора и поворотный изолятор, установленный на подшипнике. В
верхней части изолятора укреплен рычаг, шарнирно соединенный с механизмом
перемещения, служащий для замыкания и размыкания цепи между подвижными
контактами. для гашения малых токов контакты разъединителя снабжены рогами.
Разъединитель имеет заземляющий нож, который при повороте оси соединяет
разъединитель через заземляющий контакт с землей.
Вакуумный
выключатель состоит из литого корпуса, внутри которого проходят токоведущие
шины. В корпусе установлено вакуумное дугогасительное устройство с массивными
торцевыми контактами. Отключение выключателя осуществляется пружиной, которая
взводится при включении электромагнитом.
Короткозамыкатель
КЗ – 110У состоит из контакта неподвижного, изоляционной колонки, ножа, вала,
буфера, основания.
Отделители ОД
– 110У/1000 выполняют в виде однополюсных аппаратов с двумя опорно –
поворотными изоляционными колонками, на верхних фланцах которых закреплены
контактные ножи и контактные выводы. Поворот ножей происходит в горизонтальной
плоскости на угол 90∙. Соединенные при монтаже в один аппарат три полюса
управляются одним приводом. Каждый полюс на напряжение 150 и 220 кВ управляется
самостоятельным приводом. Отключение выполняют пружины, которые взводятся
одновременно с выключением. Гидравлические буферы с перемененным сечением щели
служат для плавного торможения подвижных частей.
Лабороторно-практическая
работа №3
Тема:
«Высоковольтные разрядники».
Цель: Изучить
конструкцию и принцип работы В/В разрядников.
Ход работы:
1.
Назначение,
типы.
2.
Устройство.
3.
Вычертить
вентильный разрядник.
Выполнение
работы.
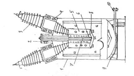
Разрядники
выпускают вентильного – РВ и трубчатого – РТ типа. На электростанциях применяют
разрядники РВС (С – станционные), на подстанциях РВП (П – подстанционные), для
защиты вращающихся машин РВРД (РД – с растягивающейся дугой). Применяют так же
магнитные разрядники серии РВМ и РВМГ(М – магнитным дутьем, Г - грозовой).
Трубчатые в фибробакелитовой трубке обозначают РТФ, а в венипластовой трубке –
РТВ.
|
|
 |
Вентильный
разрядник РВП состоит из рабочего сопротивления набранного из вилитовых
(тиритовых) дисков, основной частью которых является карбид кремния, и искровых
промежутков, выполненных из латунных электродов, разделенных слюдяными,
миканитовыми или фарфоровыми прокладками. Сжатие прокладок осуществляет
пружина. Все устройство помещено в фарфоровый корпус, герметизированный
озоностойкой резиной. Для крепления разрядника служит хомут с двумя отверстиями
под болты. Разрядник присоединяют к токоведущему проводу пластиной, а к земле с
помощью шпильки. При номинальном напряжении в линии сопротивление вилита очень
велико, и ток через разрядник не проходит. При грозовом разряде напряжение
достигает огромных значений, сопротивление вилита падает и волна грозового
перенапряжения проходит в землю. После спада перенапряжения сопротивление
велита снова восстанавливается.
Трубчатые
разрядники подсоединяют к проводам ВЛ через внешний искровой промежуток,
минимально допустимое значения которого должно быть не менее 10мм при 6кВ; 15мм
при 10кВ; 100мм при 35кВ.
Вентильные
разрядники выбирают по напряжению линии, уровню электрической прочности его
изоляции и наибольшему возможному напряжению между проводом и землей в месте
присоединения разрядника к сети. Трубчатые разрядники выбирают по напряжению
установки и предельным значениям тока КЗ в данной точке сети.
Лабороторно-практическая
работа №4
Тема:
«Измерительные трансформаторы тока и напряжения».
Цель работы:
Изучить конструкцию измерительных трансформаторов.
Ход работы:
1.
Назначение,
типы.
2.
Устройство.
3.
Привести
чертеж.
Выполнение
работы.
Измерительные
трансформаторы (трансформаторы тока – ТА и трансформаторы напряжения ТV)
предназначены для питания катушек релейной защиты и измерительных приборов,
средств сигнализации и автоматики, а так же для изоляции вторичных цепей от
сети высшего напряжения.
К номинальным
параметрам ТА относятся: напряжение от6 до 750кВ; первичный ток до 40000А;
вторичный ток – 0,3; 0,5; 1; 2; 2,5; 5; 10А. Номинальная нагрузка от 2,5 до
100ВА. Номинальный класс точности – 0,2; 0,5; 1; 3; 5; 10. Выводы первичной
обмотки маркируют Л1 и Л2, вторичной И1 и И2.
По
конструктивному исполнению ТА могут быть: опорные и проходные, одно и
многовитковые, шинные и катушечные, с медной и алюминиевой (первичной)
обмоткой, с литой изоляцией на основе эпоксидных смол и масляным наполнителем,
для внутренней и наружной установки.
Трансформаторы
предназначены для преобразования высшего напряжения в низшее стандартного
значения, удобного для применения. К номинальным параметрам ТV относят: первичное
напряжение 6 – 750кВ, вторичное напряжение -100, 100/
, 100/3В, класс точности – 0,2; 0,5; 1; 3,
номинальную мощность – 10- 1200ВА. ТV выпускают сухие и масляные, одно и
трехфазные, каскадные, для сетей с изолированной и заземленной нейтралью, для
внутренних и наружних установок. Принципы работы при напряжениях до 35кВ
аналогичны работе силовых трансформаторов.
Устройство
многовитковых ТА типа ТПЛ – 10 – проходной с литой изоляцией, на
напряжение10кВ. На прямоугольном шихтованном магнитопроводе расположена
катушечного типа втричная обмотка. Первичная обмотка выполнена из медной шины.
Все элементы связанны между собоу литым корпусом. На концах первичной обмотки
припаяны зажимы, а выводы двух вторичных обмоток на различные классы точности
присоединены к зажимам. ТА с масляным наполнителем применяют в открытых
установках при напряжении 35кВ и выше. В линиях постоянного тока сверхвысокого
напряжения применяют трансформаторы постоянного тока (ТАП), которые
представляют собой дроссельный магнитный усилитель, работающий в режиме
вынужденного намагничивания.
Лабороторно-практическая
работа №5
Тема:
«Масляные выключатели и приводы к ним».
Цель работы:
Изучить конструкцию и тип масляных выключателей и приводов к ним.
Ход работы:
1.
Назначение
и типы.
2.
Устройство.
3.
Чертеж.
Выполнение
работы.
Выключатели
предназначены для коммутации электрических цепей переменного тока, а так же
автоматического отключения этих цепей при КЗ и перегрузках.
Рассмотрим
конструкцию бакового выключателя У – 220 – 2000 – 40У1 (серия «Урал» на 220кВ,
номинальный ток 2000А, ток отключения 40кВ, умеренный климат, первая категория
размещения).
Несущим
элементом каждого полюса выключателя служит стальной бак, в верхней части
которого через крышку проходят токонесущие маслонаполненные вводы и выводы,
перемещенные внутрь фарфоровых изоляторов. На нижней части вводов и выводов
находятся неподвижные контакты, закрытые дугогасительными устройствами ДУ, к
каждой из которых установлен шунтирующий резистр для облегчения отключения
емкостных и малых индуктивных токов. Приводной механизм соединен с изоляционной
направляющей штангой, которая движется вертикально и перемещает траверсу с
подвижными контактами. Приводные механизмы всех трех полюсов соединены общей
тягой, связанной с электромагнитным или пневматическим приводом, который
укреплен на крайнем баке. На выключателе установлены предохранительные клапаны,
магнитопроводы с вторичными обмотками встроенных трансформаторов тока и
патрубки для заливки масла. В нижней части полюча имеется овальный лаз для
производства работ по монтажу и регулировке выключателя и устройство
льдоулавливающее, устройство для электроподогрева бака. Внутренняя стенка бака
изолирована листами из электрокартона. Вводы и выводы, так же как и весь бак,
залиты трансформаторным маслом.
|
|
 |
Лабораторная работа №6
ТЕМА: Изучение
конструкции, типов аппаратов защиты.
ЦЕЛЬ
РАБОТЫ: Изучение конструкции типа электрических схем аппаратуры защиты.
ХОД
РАБОТЫ:
1. Назначение
аппаратуры защиты.
2. Типы
аппаратов защиты.
3. Конструктивные
особенности.
3.1. Максимально
токовое реле.
3.2. Плавких
предохранителей.
4. УМЗ. Электрическая
схема, принцип её работы.
Аппаратами
защиты называют устройства, которые автоматически отключают участки
электрической сети в случаях нарушения нормального режима работы, что позволяет
обеспечить безопасность обслуживающего персонала и сохранность
электроустановок.
Основные
виды защит - максимально-токовая, минимальная, нулевая, тепловая, от потери
управляемости, от опасных утечек тока на землю, от частых включений контакторов
и т.д.
Максимально-токовая
защита предназначена для защиты от тока к. з. и недопустимых токовых
перегрузок. Для этой цели применяют плавкие предохранители и реле максимального
тока.
Плавкие
предохранители выпускают пробочного и трубчатого типов. Первые в основном
применяют для защиты осветительных сетей с токами до БОА, вторые - для защиты
электродвигателей и силовых цепей. Трубчатые предохранители выпускают током до
1000А. Основными элементами предохранителя являются плавкая вставка, включаемая
в рассечку защищаемой цепи, и дугогасительное устройство, которое гасит дугу,
возникающую после плавления вставки. Трубчатые предохранители изготовляют для
применения на поверхности с кварцевым заполнителем неразборного типа НПИ" и
разборного типа ПК. В шахматной аппаратуре применяют предохранители ПР с
закрытыми разборными патронами без заполнителя. Предохранитель состоит из Фибровой
трубки
1 повышенной механической прочности с концевыми латунными
обоймами 3:, на которые навёрнуты колпачки 4. Внутри трубки
вставлена плавкая штампованная цинковая вставка 2, связанная с выданными зажимами в
болтовом соединением и удерживаемая внутри трубки в Фиксированном
положении
двумя пластинами 5. Выводные зажимы соединены гайками
с
токоведущим болтом, к которому подводится питание гибкого проводника.
Электрическая дуга при сгорании плавкой вставки не выходит за пределы трубки.
Время плавления зависит от протекания тока. Так, при токе плавления, в 4 раза
большим номинального тока плавкой вставки, время плавления - 2.5 с., а если ток
плавления больше номинального в 1.6 раза, время плавления 1 час.
Достоинство: простота,
дешевизна, надёжность защиты при к.з.
Недостатки:
отсутствие реакции на незначительные, но вредные для электродвигателей
перегрузки, невозможность отключения всех трёх Фаз; трудность регулировки
при изменении режимов работы двигателей.
Максимальное токовое
реле служит для мгновенного отключения цепей. Такое реле имеет
катушку 1,насаженную на неподвижный сердечник £, соединённый с подвижным
якорем 8,который механически связан с бойком? и регулировочной пружиной 6. К
нижней части сердечника прикреплена градуированная шкала токовых установок 4 с
указателем 5. При токе в катушке 1, превышающем значение тока на шкале, якорь
мгновенно притягивается к сердечнику, преодолевая натяжение пружины, и боёк
воздействует на отключающий механизм аппарата. Для проверки их работоспособности
на сердечнике укреплена контрольная катушка 3, включаемая в сеть параллельно
через выключатель. Перед проверкой отключают аппарат, ставят указатель шкалы в
соответствии с напряжением силовой цепи, включают аппарат, а
затем выключатель катушки. При этом должно произойти отключение аппарата.
Лабораторная работа №7
ТЕМА: Изучение аппаратуры
ручного управления.
ЦЕЛЬ РАБОТЫ: Изучение
конструкции, технических данных, схем электрических соединений.
ХОД РАБОТЫ:
1. Назначение,
устройство, технические данные аппаратуры ручного управления.
2. Электрическая схема
и принцип её работы АФВ.
Автоматические
выключатели предназначены для включений и отключений под нагрузкой
магистральных сетей переменного и постоянного тока и защиты этих сетей от
значительных перегрузок по току и токов к.з. Включение у выключателей всех
серий осуществляется вручную, отключение вручную или автоматически при
срабатывании одного из видов встроенной защиты. У отдельных выключателей
имеется дистанционное отключение. При установке на поверхности выключателя
общего назначения называют воздушными, а при встройке во взрывонепроницаемые
оболочки — автоматическими (ЙВ) или автоматическими Фидерными выключателями.
Автоматические
выключатели серии ЙВ выпускают на номинальные токи 200, 250, 315, 320 и 400 й
при номинальном напряжении 380/660 или 1140 В. Технические данные приведены в
таблице 1.
В конструктивном отношении
выключатели ЙВ состоят из автоматического выключателя с механическим или электромагнитным
приводом; блокировочного разъединителя или переключателя; трансформатора
питания, блоков ПМЗ, ДО, БРУ, БУ, ЙПВ и других элементов.
Принципиальная
электрическая схема соединений ЙФВ показана на рисунке (1). Силовая цепь
состоит из проходных зажимов Л1-ЛЗ, автоматического выключателя QF (ЙВМУ), двух
реле максимального тока QF2.1 и QF2.2, проходных зажимов вывода CI - СЗ.
Контрольные катушки исправности максимальной защиты 0П1 и 0П2 включены в цепь
параллельно через кнопки проверки SB1 и SB2 и работают как реле напряжения. К Фазе ЛЗ через вспомогательный
контакт коммутатора К подключена отключающая катушка O.F1 (независимого
расщепителя), соединённая через зажим 2 с реле утечки. К вспомогательным
зажимам 5, 6 и 11, 12 можно подключать цепи сигнализации. При включении
выключателя QF напряжением поступает к защищаемым злектроприёмникам.
Типоразмер Фидерного выключателя выбираем
поссумариому номинальному току защищаемых потребителей с учётом
одновременности их работы. Выбранный выключатель проверяем на способность
отключения возможного тока к.з. (трёхфазного) на его выводных зажимах АФВ
устанавливают в распределительных пунктах подземных участков» для защиты группы
присоединений или одиночных злектроприёмников.
Лабораторная работа №8
ТЕМА: Изучение
аппаратуры дистанционного управления (контактора). ЦЕЛЬ РАБОТЫ: Изучение конструкции
аппаратуры дистанционного управления (контактора).
ХОД РАБОТЫ:
1.Назначение контакторов.
2. Устройство
контактов
3.
Типы контакторов.
4.
Технические данные.
5.
Электрическая схема и принцип её работы.
Контакторы
предназначены для частых включений и отключений электрических силовых цепей при
помощи электромагнитной системы. Основными узлами контактора являются:
электромагнитная система, контактная система и система блокконтактов. Основные
требования, предъявляемые к контакторам: высокая включающая и отключающая
способность; длительность работы при значительной частоте комутационных
операций; электрическая износоустойчивость, простота изготовления, малые массы
и габариты, надёжность в эксплуатации.
Электромагнитная
система контакторов переменного тока состоит из контакторной катушки,
сердечника, якоря, коротко замкнутого витка и крепёжных деталей. Магнитные
системы применяют поворотного (Е- и П—образные) и прямоходового (Ш- и
Т-образные) типа. При поворотных системах применяют контакторные системы
рычажного типа, а при прямоходных — мостикового типа.
В аппаратуре для
горной промышленности применяют контакторы серий КТУ, КТВ, КТ. На ток до 63А
выпускают КТУ-2А, на 125А - КТУ-ЗА и КТУ-ЗБ, на Е50А - КТУ-4А и КТУ-4Б»
Контакторные катушки контакторов с буквой А работают на переменном токе, а с буквой
Б - на постоянном.
Подача напряжения на
пускатель осуществляется при помощи постороннего выключателя В. Силовая цепь
защищена плавкими предохранителями Пр1. Для включения двигателя М
"вперёд" нажимают на кнопку КнВ. Для контакторной катушки КБ
создаётся замкнутая цепь: Фаза, Пр2, кнопки КнС, КнН,
КнВ, катушка КБ, контакты тепловой защиты рт1,рт2, Пр2, фаза. Включение катушки
приводит к замыканию главных контактов KB и подаче напряжения на двигателю.
После прекращения нажатия на кнопку КнВ цепь её контактов остаётся зашунтированной
блокконтактом В, и катушка продолжает получать питание. Отключение происходит
при нажатии на кнопку КнС ("стоп"), срабатывании тепловой защиты или перегорании
предохранителей. Включение "назад" осуществляется аналогично.
Лабораторная работа №9
ТЕМА: Изучение пускателей
серии ПВ 2545.
ЦЕЛЬ РАБОТЫ: Изучение
конструктивных особенностей, технических данных, схем электрических соединений магнитного
пускатели серии
ПВМ--2545.
ХОД РАБОТЫ:
1. Назначение
пускателя.
£. Конструктивные
особенности пускатели.
3. Технические данные.
4. Схема электрических
соединений, принцип работы.
Магнитные пускатели
предназначены для работы в подземных горных выработках с относительной
влажностью 98-100% при температуре окружающей среды от --5 до +35С. Выполнены
во взрывобезопасном исполнении с искробезопасной цепью управления и применяются
для дистанционного управления в сетях переменного тока с изолированней
нейтралью электродвигателями шахтных машин и механизмов, а также и для защиты.
Магнитные пускатели
состоят из корпуса, крышки (задней, передней), кабельных коробок (моторная,
сетевая), разъединителя, рукоятки разъединителя, блокировочного устройства,
контактора, блока управления, блока защиты, на передней крышке смотровое окно
для визуального наблюдения за сигнальными лампами, кнопка стоп, устройство для
открывания крышки, кабельные муфты, кнопка проверки
БРУ, салазки.
Рассмотрим схему
соединения ПВИ-25. При нажатии кнопки "Пуск" вынесенного кнопочного
поста управления, в первый полупериод ток течёт по цепи: верхний зажим
вторичной обмотки стабилизатора Т4, размыкающий контакт БРУ К5. 2, штапельный
разъём ХЗ.10, кнопка "Стоп", диод У, нулевой провод, перемычка 0,3,
штепсельный разъём ХЗ.2, нижний зажим вторичной обмотки стабилизатора. Во
второй полупериод ток протекает через обмотку промежуточного реле К4.1. Реле
срабатывает и замыкает свой контакт К4.2 в цепи контакторной катушки К1.1. Срабатывание
катушки Kl.1 приводит к замыканию силовых контактов К1.2 и включению двигателя
М. Одновременно с замыканием силовых контактов все вспомогательные контакты
катушки K1.l меняют своё положение. В дельнейшем цепь управления поддерживается
через замкнувшийся контакт К1.6. Для ограничения частоты включения контактора в
блоке Й2 установлено реле времени, состоящие из катушки КЗ.1, конденсатора С2,
резистора R1 и диода V5. При включённом контакторе и замкнувшемся контакторе
К1.4 происходят питание катушки К31 и заряд конденсатора С2. Для предотвращения
ложных срабатываний БРУ от э.д. с. отключённого, но вращающегося двигателя размыкается
контакт КЗ.2, но контакт К1.5 разомкнут и шунтирование катушки К4.i не
происходит. При отключении контактора реле времени продолжает работать за счёт
разряда конденсатора С2 и не меняет положения своих контакторов. Отключение
контактора связано_ с возвращением контактора К1.5 в замкнутое положение. Цепь
К3.2-К1.5 шунтирует катушку К4. 1, которая не может сработать и включить
контактор. Время шунтирования составляет 2-Зс. Пускатель отключается при
нажатии на любую из кнопок "Стоп" или при срабатывании одного из
видов защиты.
Лабораторная работа №10
ТЕМА: Изучение пускателей
серии ПВИ-63.
ЦЕЛЬ РАБОТЫ: Изучение
конструктивных особенностей, технических данных, схем соединений
ПВИ-63,вычертить электрическую схему ПМЗ
ХОД РАБОТЫ:
1. Назначение
пускателя.
2. Конструктивные
особенности.
3.
Технические данные.
4.
Схема электрических соединений, принцип работы.
Магнитные пускатели
серии ПВИ-63 предназначены для работы в подземных горных выработках с
относительной влажностью 98-100% при температуре окружающей среды -5; +35С.
Выполнены во взрывобезопасном исполнении с искробезопасной цепью управления в
сетях переменного тока с изолированной нетралью электродвигателями, шахтных
машин и механизмов, Технические данные Блок ПМЗ состоит их двух печатным плит с набором
электрорадиоэлементов, расположенных между передней и задней панелями и закрытых кожухом. К
задней панели прикреплена контактная вилка штепсельного разъёма, а на переднюю
панель выведена ручка уставок, закрытая прозрачным колпачком: шкала уставок,
рукоятка тумблера, переключения блока в положение "Работа-Проверка", блок ПМЗ
получает питание от трансформаторов тока, установленных во всех 3-х Фазах.
|
номинальный ток А
|
номинальное
напряжение В
|
пределы
установок,
А
|
коммутационная
способность
|
допустимая мощность
двигателя, кВт
|
|
|
|
на отключение
|
на включение
|
АС-3
|
50% АС-3 +50% АС-4
|
|
63
|
380/360
|
125-375
|
1500
|
2700
|
32:50
|
22:32
|
В схеме
ПМЗ
применены два 3-х фазных однополупериодных выпрямителя на
диодах,
которые разделяют схему на измерительную и исполнительную части. Измерительная
часть схемы состоит из трёхфазного выпрямительного моста(диоды V7-V9) делителя
напряжения (R4-R7),полупроводникового реле (стабилитрон VII, диод VII, тиристор
V13,резисторы RS и R9, конденсаторы С1 и С2), вход которого
присоединён к делителю напряжения, а выход - к управляющему электроду тиристора
V14. Для проверки действия защиты параллельно измерительной части
схемы через переключатель SA включен трёхфазный (диоды V2,V4 и V6, включенные
последовательно резисторами R1,R£,КЗ). Исполнительная часть состоит из последовательно
включенных: трёхфазного выпрямительного моста (диоды VI, V3, V5); диодов V10 и V18; тиристора V14; обмотки
независимого расцепителя QF1 автоматического выключателя. Измерительная часть
схемы питается напряжением, снимаемым с параллельно
соединенных резисторов и одного из резисторов Rl (R2,
R3) трёхфазного выпрямительного моста. Питание исполнительной части схемы
осуществляется напряжением, снимаемым с резисторов R, подключенных параллельно
вторичным обмоткам трансформаторов ТА1 - TА-3. При достижении в главной цепи
тока, равного уставку срабатывания блока, открывается тиристор V13, импульс
тока с которого поступает на управляющий электрод тиристора V14. При открывании
тиристора V14 ток протекает от вторичной обмотки трансформатора тока через
контакты 4-6 штепсельного разъёма, диоды VI, V3, У5, V18, контакт 14
штепсельного разъёма, обмотку независимого расцепителя QF1, контакт 13
штепсельного разъёма, тиристор VI4, диод У10, контакт 3 штепсельного разъёма на
нулевую точку трансформаторов тока. Контакты катушки К включен: КЗ. в цель
нулевого расцепителя, блокируя аппарат в выключенном положении; KS в цепь сигнализации о
срабатывании защиты ПМЗ. При проверке отключаются резисторы R1-R3 и на R4-R7
подаётся усиленный сигнал, вызывающий срабатывание блока при меньших токах в
силовой цепи.
Лабораторная работа №11
ТЕМА: Изучение пускателей
серии ПВИ-125.
ЦЕЛЬ РАБОТЫ: Изучение
конструктивных особенностей, технических данных, схем соединений ПВИ-125,вычертить электрическую
схему БРУ.
ХОД РАБОТЫ:
1.
Назначение пускателя.
2.
Конструктивные особенности.
3.
Технические данные.
4.
Схема электрических соединений, принцип работы.
Магнитный пускатель
серии ПВИ-125 предназначен для работы в подземных горных выработках с относительной влажностью
98—100% при температуре окружающей среды -5 +35С. Выполнены во взрывобезопасном исполнении с
искробезопасной цепью управления в сетях переменного тока С изолированной
нейтралью электродвигателями шахтных машин и механизмов, для управления.
Магнитный пускатель
состоит из корпуса, крышки (передней и задней), кабельных коробок, разъединителя,
рукоятки разъединителя, блокировочного устройства, контактора, блока
управления, на передней крышке смотровое окно для визуального наблюдения за
сигнальными лампами, кнопка "стоп", устройство для открывания крышки,
кабельные муфты, кнопка проверки БРУ, салазки.
Устройство БРУ
состоит из источника питания (вторичная обмотка TV) и блока БРУ, в котором
размещены элементы схемы. Блок БРУ состоит из выпрямительного моста (диоды
V5-VS), усилителя постоянного тока (транзисторы V£ и V4), измерительного
(резисторы Rl R2, R3--R5) и сопротивления изоляции сети относительно земли, в
одну из диагоналей которого включен переход змиттер-база транзистора V£.
Эта измерительная часть БРУ присоединена к Фазам
сети
через кнопку Si и блок присоединения А1.
Исполнительная часть
схемы состоит из электромагнитного
реле К. 1, сглаживающих конденсаторов С1 и С2, перехода эмиттер-коллектор
транзистора V4. Цепь контроля сопротивления изоляции сети следующая: обмотка
Т4, плюс выпрямительного моста, резистор R1, диод VI, кнопка проверки, контакт
QF5, блок присоединения, фаза сети, сопротивление изоляции сети относительно
земли, земля, резистор R5 минус выпрямительного моста. Ток обмотки TV проходит
также через резисторы R3 и R4. При утечки тока
на землю или снижении сопротивления изоляции срабатывают транзисторы V£ и
V4 и включают реле К. К. 2 - размыкается; К.3 -включает сигнальную лампу.
Лабораторная работа №12
ТЕМА: Магнитный пускатель
серии ПВИР-250.
ЦЕЛЬ РАБОТЫ: Изучить
конструкцию, принцип действия, технические данные, схем электрических соединений
пускателя.
ХОД РАБОТЫ:
1.
Назначение пускателя.
3.
Технические данные.
4.
Электрическая схема, принцип её работы.
Магнитный пускатель
серии ПВИР—250 предназначен для работы в горных выработках с относительной
влажностью 98-100% и температурой -5 +35С. Выполнен во взрывобезопасном
исполнении с искробезопасной цепью управления. Предназначен для пуска электрооборудования
и для защиты.
Магнитный пускатель
состоит из корпуса, двух крышек (задней и Передней), кабельных коробок,
смотрового окна для визуального наблюдения за сигнальными лампами, блокирующего
устройства, кнопки "стоп", кнопки проверки, рычага, салазки.
Технические данные пускателя
приведены в таблице 7.1
При нажатии на кнопку
КнБ включается промежуточное реле РП—В по цепи: в первый полупериод через
вторичную обмотку стабилизирующего трансформатора ТС, переключающий контакт
БРУ, кнопка КнС2, проходной зажим 3, перемычка 3, заземляющая жила, кнопка КнС,
диод Д, кнопка КнВ,
жила 1 силового
кабеля, проходной зажим 1 в камере контрольных выводов, переключатель рода
управления ПУ, размыкающий блок-контакт КЛ—44, обмотку ТС. Срабатывание реле
приводит к замыканию его контакта РП- В в цепи контакторной катушки КЛ-В,
которая включена в цепь выпрямительного моста 1BM, питающегося от
вторичной обмотки (36В) трансформатора ТН. Форсированное реле получает питание
по цепи: мост 1BM, размыкающие блок-контакты КЛ-В5 и КП-Н5, резистор R3, реле,
размыкающий контакт КнСЗ, мост 1ВМ.Срабатывание реле РФ приводит к размыканию
контакта КнСЗ, мост 1BM. Катушка КЛ-В получает питание по цепи: мост 1BM,
контакт РМ2, кнопка КнСЗ, мост IBM. Срабатывание контакторов КЛ-В приводит к
замыканию главных контакторов КЛ-В и включению двигателя "вперёд". Все
блок-контакты катушки КЛ-В меняют своё положение.
Лабораторная работа № 13
ТЕМА: Изучение пускателей
серии ПВИ-320.
ЦЕЛЬ РАБОТЫ: Изучение
конструктивных особенностей, технических данных, схем соединений ПВИ-320.
ХОД РАБОТЫ:
1. Назначение
пускателя.
2. Конструктивные
особенности.
3.
Технические данные.
4.
Схема электрических соединений, принцип работы.
Магнитный пускатель
серии ПВИ-320 предназначен для работы в подземных горных выработках с
относительной влажностью 98-100% при температуре окружающей среды -5 +35С.
Выполнены во взрывобезопасном исполнении с искробезопасной цепью управления в
сетях переменного тока с изолированной нейтралью и применяются для
дистанционного управления и для защиты.
Магнитный пускатель
состоит из корпуса, крышки (передней и задней), кабельных
коробок, разъединителя, рукоятки разъединителя, блокировочного устройства,
контактора, блока управления, на передней крышке смотровое окно для визуального
наблюдения за сигнальными лампами, кнопка "стоп", устройство для
открывания крышки, кабельные муфты, кнопка проверки БРУ,
салазки.
Технические данные пускателя
приведкы в таблице 8.1
Рассмотрим схему
пускателя ПВИ—320. Силовая цепь состоит из проходных зажимов Л1, Л2 и ЛЗ
сетевого отделения, реверсивного разъединителя Р, главных контактов контактора
КЛ, первичных обмоток трансформаторов тока ТТ1 и ТТ2, проходных зажимов CI, С2,
СЗ моторного отделения. В пускателе установлен контактор КТ-6043АР с такими
параметрами включения, чтобы в момент касания главных контактов при снижении до
65% напряжении магнитная система не отпадала. Достигнуто это за счёт подачи
выпрямленного напряжения на катушку КЛ, которая подключена к питающей сети
следующим образом: Фаза ЛЗ, диоды ЗД2-ЗД4, размыкающий контакт РП,
кнопка КнСт2, Фаза Л1. Параллельно
катушке КЛ включены размыкающий блок-контакт КЛ5, катушка реле Форсировки РФ с
диодным шунтом ЗД1, резисторы 3R8, 3R9. Параллельно катушке и размыкающему
контакту РМ2 включены диоды ЗД5-ЗД7; резисторы 3R1, 3R10, которые могут
шунтироваться замыкающим контактом реле РФ; резисторы 3R11, 3R12 и лампа ЛЗ,
зашунтирование кнопкой КнЗ. При нажатии на кнопку КнП в один полупериод ток приходит
по цепи: верхняя точка обмотки управления ТрСб, размыкающий контакт БРУ, кнопки
КнСт1 и Кн1, зажим 1 в камере контрольных выводов, жила управления
силового кабеля зажим 1 поста управления, кнопки КнП и КнС, диод Д заземляющая
жила, проходной зажим "земля", нижняя точка обмотки управлния ТрСб. В
следующий полупериод ток проходит через катушку РП, реле срабатывает и замыкает
свой контакт РП в цепи контакторной катушки КЛ. При этом срабатывает РФ,
которое своим контактом РФ зашунтирует резисторы 3R1, 3R10 и катушка будет
обтекаться пусковым током. Срабатывание катушки КЛ приводит к замыканию главных
контактов и включает двигатель.
После прекращения нажатия
на кнопку КнП реле РП продолжает получать питание через замкнувшийся
блок-контакт КЛ4, проходной зажим 2, резистор Rш. Отключение происходит при
нажатии на кнопку КнС или КнСт1 или при срабатывании защиты. Если сопротивление
изоляции ниже нормы, то для катушки БРУ создаётся цепь питания: верхняя точка
вторичной обмотки ТрБб, переключатель П2, " + " моста ВЗ, катушка
БРУ, размыкающий контакт реле времени РВ1,размыкающий блок-контакт КЛ2,кнопка Кн2,
Фаза
СЗ,
участок с пониженным сопротивлением изоляции относительно "земли", "земля",
"-" моста ВЗ, нижняя точка вторичной обмотки ТрСб.
Срабатывание реле
приводит к размыканию контакта БРУ и замыкает сигнальную лампу.
Лабораторная №14
ТЕМА; Изучение пускателей
серии ПВИ-32.
ЦЕЛЬ РАБОТЫ: Изучение
конструктивных особенностей, технических данных, схем соединений ПВИ--32.
ХОД РАБОТЫ:
1. Назначение пускателя.
£,
Конструктивные особенности.
3.
Технические данные.
4.
Схема электрических соединений, принцип работы.
Магнитный пускатель
серии ПВИ-32 предназначен для работы в подземных горных выработках с
относительной влажностью 98-100% при температуре окружающей
среды -5 +35С. Выполнены во взрывобезопасном исполнении с искробезопасной цепью
управления в сетях переменного тока с изолированной нейтралью и применяются для
дистанционного управления и для защиты.
Магнитный пускатель
состоит из корпуса, крышки (передней и задней), кабельных коробок, разъединителя,
рукоятки разъединителя, блокировочного устройства, контактора, блока
управления, на передней крышке смотровое окно для визуального наблюдения за
сигнальными лампами, кнопка "стоп", устройства для открывания крышки,
кабельные муфты, кнопка проверки БРУ, салазки.
Технические данные пускателя
приведены в таблице 9.1
Электрическая схема ПВИ-32,
работает следующим образом. При нажатии кнопки "Пуск" ток течёт по
цепи: верхняя точка вторичной обмотки трансформатора T1, предохранитель F2, контакт
Ki.3 блока БКИ, контакты 1-10 блока А1, кнопки S3.2, S4. 2, "Пуск",
"Стоп", диод VP2, выводы 2-2-2, выпрямитель V, резистор R1, катушка
промежуточного реле КЗ. 1, кнопка S4. 1, нижняя точка трансформатора Т1.
Срабатывание реле РПУ (реле промежуточного управления - катушка КЗ.1) приводит
к замыканию контактов КЗ. 2 и КЗ. 3, подаче питания на контакторные катушки K1.1
и К2. 1 пускателей ПМА, замыканию контактов К1.2 и К2.2 и включению двигателя
М. После отпускания кнопки "Пуск" цепь управления остается замкнутой
через резистор Рш, включенный параллельно кнопке "Пуск". Отключение
производится кнопками "Стоп" или встроенными видами защит.
Список литературы
1. Г.Д. Медведев
«Электрооборудование и электроснабжение горных предприятий» М.: «Недра», 1980.
2. Г.Д. Медведев
«Электрооборудование и электроснабжение горных предприятий» М.: «Недра», 1988.