Электронный генератор тока
БИЛЕТ №7
7–1
Электронные генераторы: назначение, классификация, применение, разновидности
Генератор, или
автогенератор – это самовозбуждающаяся система, в которой энергия источника
питания постоянного тока преобразуется в энергию переменного сигнала нужной
формы и частоты. Без сомнения, генераторы являются весьма важным элементом
электроники.
Генераторы бывают:
§
низкочастотные
(НЧ) – до 100 кГц
§
высокочастотные
(ВЧ) – от 0,1 до 100 МГц
§
сверхвысокочастотные
(СВЧ) – выше 100 МГц
По форме колебаний
генераторы делятся на гармонические (синусоидальные) и негармонические
(импульсные). По способу возбуждения – с внешним возбуждением и с самовозбуждением
(автогенераторы).
В чём же суть генерации
колебаний? Ненадолго обратимся к физике. Из этой самой физики известно, что
если к цепи, состоящей из параллельно соединенных кондера и катушки
индуктивности, кратковременно подключить источник постоянного тока (рис. 1),
то будет происходить следующий процесс. Кондер зарядится до некоторого значения
и после этого начнет разряжаться через катушку. Катушка в этот момент по сути
будет накапливать энергию.
Рис. 1 –
Создание колебаний в контуре
После того, как кондер
разрядится (а катушка, соответственно, накопит энергию), процесс пойдет в
обратном порядке, т.е. накопленная в катушке энергия будет заряжать кондер и
т.д. Другими словами, в этой цепи, которая называется параллельный
колебательный контур, будут происходить колебания. В идеальном контуре эти
колебания будут незатухающими, т.е. во времени будут продолжаться бесконечно.
Но поскольку катушка имеет некое конечное сопротивление, да и кондер не
подарок, в контуре будут потери энергии, и колебания, соответственно, будут
постепенно затухать. На рис. 2 показана картина в реальном контуре.
Рис. 2 –
Затухающие колебания в контуре
Вообще, вроде затухание
должно проходить по экспоненте. Короче, ни формул, ни всяких доказательств и
прочей ерунды писать не буду, важно понять суть процесса. Если вкратце, то
кратковременно замкнув ключ К в контуре возникают затухающие колебания. Процесс
понятен?
Едем дальше. Так,
затухающие колебания получили. Что же сделать, чтобы они были незатухающими?
Очевидно, что в контур надо добавлять потерянную энергию. Ключом клацать
бессмысленно, значится надо воткнуть какой-то электронный прибор, который будет
пополнять потери энергии в контуре.
Теперь отвлечёмся от
контуров и посмотрим на упрощенную структуру автогенератора.
Рис. 3 – Структура
автогенератора
Здесь мы видим какой-то
треугольник и прямоугольник. УЭ – это усилительный элемент с коэффициентом
передачи К, а ПОС – это положительная обратная связь с коэффициентом передачи
β. Колебания в этой системе возникнут только при соблюдении двух условий.
Их надо запомнить:
1.
Условие
баланса амплитуд:
βK≥1
2.
Условие
баланса фаз:
φ1 + φ2 = 2πn,
где n – 0,
±1, ±2,…
И ещё раз, генерация
колебаний происходит при выполнении двух условий: условия баланса фаз и условия
баланса амплитуд.
LC-генератор так
называется, потому что в нём используется LC-контур. Это, в принципе, понятно.
Итак, обобщенная схема LC-автогенратора показана на рисунке 1.
Рис. 1 – LC-автогенератор
Вот такая несложная
схемка. Элементы R1, R2, R3C3 обеспечивают необходимый режим по постоянному
току усилительного элемента и его термостабилизации. Элементы L2C2 образуют
параллельный колебательный контур.
В момент включения
питания в коллекторной цепи транзистора VT появляется коллекторный ток, заряжающий
емкость С2 контура L2С2. В следующий момент времени заряженный кондер
разряжается на катушку индуктивности. В контуре возникают свободные затухающие
колебания частотой f0 = 1 / 2π√L2C2.
Переменный ток контура,
проходя через катушку L2, создает вокруг неё переменное магнитное поле, а это
поле в свою очередь наводит в катушке L1 переменное напряжение, которое
вызывает пульсации тока коллектора транзистора VT. Переменная составляющая
коллекторного тока восполняет потери энергии в контуре, создавая на нём
усиленное переменное напряжение.
Трёхточечные схемы
автогенераторов. Индуктивная трехточечная схема
Индуктивная трехточечная
схема показана на рис. 2.
Рис. 2 – Индуктивная
трехточечная схема
Элементы R1, R2, R3C3,
как и в предыдущей схеме, обеспечивают режим работы по постоянному току
транзистора VT, в коллекторную цепь которого включен колебательный контур L'L
«C2. Выходной сигнал снимается с коллектора транзистора VT (или с L»), сигнал
ПОС – с катушки L'. Поскольку напряжения этих сигналов противофазны, то
автоматически выполняется условие баланса фаз. Сигнал ПОС подается на базу
транзистора через разделительный кондер, сопротивление которого на частоте
генерации мало. Этот кондер предотвращает попадание постоянной составляющей в
базовую цепь (через катушку). Общая точка L' и L'' подключена к источнику
питания, сопротивление которого переменному току незначительно. Условие баланса
амплитуд выполняют подбором числа витков L'L''.
Частота генерации
определяется по формуле:
Трехточечные схемы
называются трехточечными, поскольку, если внимательно посмотреть на схему,
контур подключается к трех выводам транзистора (или другого усилительного
прибора). Первая точка – это коллектор транзистора – нижний (по схеме) вывод
контура, вторая – база – верхний вывод контура через кондер С1 и третья точка
подключена к эмиттеру через источник питания, а точнее средний вывод контура
через кондер С5, общий провод, цепь R3C3 подключен к эмиттеру.
Емкостная
трехточечная схема
Емкостная трехточка
показана на рисунке 3.
Рис. 3 –
Емкостная трехточечная схема
В этой схеме, аналогично
предыдущей, режим по постоянному току определяют элементы R1, R2, R3, R4C2. В
коллекторную цепь транзистора включен контур L1C3C4. Сигнал ПОС снимается с
кондера С4 и через кондер С1 поступает в базовую цепь. С1 не пропускает высокое
коллекторное напряжение на базу транзистора. Общую точку кондеров С3, С4 можно
считать подключенной к источнику питания, поскольку его сопротивление
переменному току незначительно.
Частота генерации
определяется по формуле:
Стабизизация частоты
Очень важным требованием,
предъявляемым к генераторам, является стабильность частоты генерируемых колебаний.
Нестабильность частоты зависит от многих факторов, а именно:
1.
Изменение
окружающей температуры
2.
Изменение
напряжения источника питания
3.
Механическая
вибрация и деформация деталей
4.
Шумы
активных элементов
Нестабильность частоты
оценивается коэффициентом относительной нестабильности:
Существует два способа
стабилизации частоты:
1.
Параметрический
способ стабилизации
2.
Кварцевый
способ стабилизации
При первом способе используется
изготовление деталей из материалов, мало изменяющих свои свойства при изменении
температуры и других факторов. Используется экранирование и герметизация контуров,
высокая стабильность источника питания, рациональность монтажа и прочее. Однако
этим методом нельзя обеспечить высокую стабильность частоты. Относительный
коэффициент нестабильности частоты колеблется в пределах 10-4 – 10-5.
Значительно большей
стабильности можно достичь, если применить способ кварцевой стабилизации,
основанный на применении кварцевого резонатора. Кварцевые пластины резонатора
обладают пьезоэлектрическим эффектом, который, если кто забыл, бывает двух
видов:
1.
Прямой
пьезоэффект – при растяжении или сжатии кварцевой пластины на её
противоположных гранях возникают равные по величине, но противоположные по
знаку электрические заряды, величина которых пропорциональна давлению, а знаки
зависят от направления силы давления
2.
Обратный
пьезоэффект – если к граням кварцевой пластины приложить электрическое
напряжение, то пластина будет сжиматься или расжиматься в зависимости от
полярности приложенного напряжения.
Эквивалентная схема
кварцевого резонатора показана на рис. 4, а зависимость реактивного
сопротивления от частоты – на рис. 5.
Рис. 4 –
Эквивалентная схема кварцевого резонатора
Рис. 5 –
Зависимость характера сопротивления от частоты
Особо не вдаваясь в
подробности теории цепей, из рисунка 4 видно, что кварц может быть эквивалентом
как последовательного колебательного контура, так и параллельного. Это также
видно из рисунка 5. На частоте f01 происходит резонанс напряжений.
Эта частота определяется по формуле:
На частоте f02
происходит резонанс токов, и эта частота определяется по формуле:
Таким образом, кварцевый
резонатор можно включать вместо кондера, либо вместо катушки в контуре. При
использовании кварцевого способа стабилизации коэффициент относительной
нестабильности достигает 10-7 – 10-10.
RC-автогенераторы
В предыдущей главе
рассматривались LС-автогенераторы. Они применяются на высоких частотах. Если же
необходимо генерировать низкие частоты, применение LС-генераторов становится
затруднительным. Почему? Всё очень просто. Поскольку формула для определения
частоты генерирования колебаний выглядит вот так:

Поэтому придумали RC-автогенераторы,
которые здесь мы и рассмотрим.
Наиболее простым RC-генератором
является так называемая схема с трехфазной фазирующей цепочкой, которая ещё
называется схемой с реактивными элементами одного знака. Она показана на рис. 1.
Рис. 1 – RC-автогенератор с
фазовращающей цепочкой
Из схемы видно, что это
всего-навсего усилитель, между выходом и входом которого включена цепь, которая
переворачивает фазу сигнала на 180º. Эта цепь называется фазовращающей.
Фазовращающая цепочка состоит из элементов С1R1, C2R2, C3R3. С помощью одной
цепочки из резика и кондера можно получить сдвиг фаз не более чем на 90º.
Реально же сдвиг получается близким к 60º. Поэтому для получения сдвига
фазы на 180º приходится ставить три цепочки. С выхода последней RC-цепи
сигнал подается на базу транзистора.
Работа начинается в
момент включения источника питания. Возникающий при этом импульс коллекторного
тока содержит широкий и непрерывный спектр частот, в котором обязательно будет
и необходимая частота генерации. При этом колебания частоты, на которую
настроена фазовращающая цепь, станут незатухающими. Для колебаний остальных частот
условия самовозбуждения выполнятся не будут и они, соответственно, быстро
затухают. Частота колебаний определяется по формуле:
При этом должно
соблюдаться условие:
R1=R2=R3=R
C1=C2=C3=C
Такие генераторы способны
работать только на фиксированной частоте.
Помимо рассмотренного
генератора с использованием фазовращающей цепи имеется ещё интересный, кстати
наиболее употребительный, вариант. Посмотрим на рис. 2.
Рис. 2 –
Пассивный полосовой RC-фильтр с частотно-независимым делителем
Так вот, эта самая
конструкция представляет собой так называемый мост Вина-Робинсона, хотя
наиболее часто встречается название просто мост Вина. Ещё некоторые грамотеи пишут
мост Вина с двумя «н».
Левая часть этой
конструкции представляет собой пассивный полосовой RC-фильтр, в точке А
снимается выходное напряжение. Правая часть есть ни что иное, как
частотно-независимый делитель. Принято считать, что R1=R2=R, C1=C2=C. Тогда
резонансная частота будет определяться следующим выражением:
При этом модуль
коэффициента усиления максимален и равен 1/3, а фазовый сдвиг нулевой. Если
коэффициент передачи делителя равен коэффициенту передачи полосового фильтра,
то на резонансной частоте напряжение между точками А и В будет равно нулю, а
ФЧХ на резонансной частоте делает скачок от -90º до +90º. Вообще же
должно выполнятся условие:
R3=2R4
Конечно, все как обычно
рассматривается в идеальном или приближенном к идеальному случаях. Ну а реально
дело, как всегда, обстоит немного хуже. Поскольку каждый реальный элемент моста
Вина имеет некоторый разброс параметров, даже незначительное несоблюдение
условия R3=2R4 приведет либо к нарастанию амплитуды колебаний вплоть до
насыщения усилителя, либо к затуханию колебаний или полной их невозможности.
Для того, чтобы было
совсем понятно, втулим в мост Вина усилительный каскад. Для простоты воткнем
операционный усилитетель (ОУ).
Рис. 3 –
Простейший генератор с мостом Вина
Вообще же именно так
использовать эту схему не получится, поскольку в любом случае будет разброс
параметров моста. Поэтому вместо резика R4 вводят какое-либо нелинейное или
управляемое сопротивление. К примеру, нелинейный резик, управляемое
сопротивление с помощью транзисторов, как полевых, так и биполярных. Очень
часто резик R4 в мосте заменяют микромощной лампой накаливания, динамическое
сопротивление которой с ростом амплитуды тока увеличивается. Нить накаливания
обладает достаточно большой тепловой инерцией, и на частотах несколько сотен
герц уже практически не влияет на работу схемы в пределах одного периода.
Генераторы с мостом Вина
обладают одним хорошим свойством: если резики R1 и R2 заменить переменным, но
только сдвоенным, то можно будет регулировать в некоторых пределах частоту
генерации. Можно и кондеры С1 и С2 разбить на секции, тогда можно будет
переключать диапазоны, а сдвоенным переменным резиком плавно регулировать
частоту в диапазонах. Для тех, кто в танке, почти практическая схема генератора
с мостом Вина показана на рисунке 4.
Рис. 4 –
RC-генератор с мостом Вина
Итак, мост Вина образуют
кондеры С1-С8, сдвоенный резик R1 и резики R2R3. Переключателем SA1
осуществляется выбор диапазона, резиком R1 – плавная регулировка в выбранном
диапазоне. ОУ DA2 представляет собой повторитель напряжения для согласования с
нагрузкой. В принципе, повторитель можно заменить усилителем, ксати на том же
самом ОУ, ну а как это сделать, можно почитать
7–2
Генераторы постоянного тока: Режимы работы, характеристика
Электрическая машина постоянного
тока состоит из двух основных частей: неподвижной части (индуктора)
и вращающейся части (якоря с барабанной обмоткой).
На рис. 11.1
изображена конструктивная схема машины постоянного тока
Рис. 11.1
Индуктор состоит из
станины 1 цилиндрической формы, изготовленной из ферромагнитного материала, и
полюсов с обмоткой возбуждения 2, закрепленных на станине. Обмотка возбуждения
создает основной магнитный поток.
Магнитный поток может
создаваться постоянными магнитами, укрепленными на станине.
Якорь состоит из
следующих элементов: сердечника 3, обмотки 4, уложенной в пазы сердечника,
коллектора 5.
Сердечник якоря для
уменьшения потерь на вихревые точки набирается из изолированных друг от друга
листов электротехнической стали.
Принцип действия машины постоянного тока
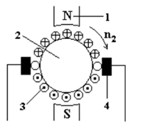
Рис. 11.2
Рассмотрим работу машины постоянного
тока на модели рис. 11.2,
где 1 – полюсы индуктора,
2 – якорь, 3 – проводники, 4 – контактные щетки.
Проводники якорной
обмотки расположены на поверхности якоря. Очистим внешние поверхности
проводников от изоляции и наложим на проводники неподвижные контактные щетки.
Контактные щетки
размещены на линии геометрической нейтрали, проведенной посредине между
полюсами.
Приведем якорь машины во
вращение в направлении, указанном стрелкой.
Определим направление
ЭДС, индуктированных в проводниках якорной обмотки по правилу правой руки.
На рис. 11.2
крестиком обозначены ЭДС, направленные от нас, точками – ЭДС, направленные к
нам. Соединим проводники между собой так, чтобы ЭДС в них складывались. Для
этого соединяют последовательно конец проводника, расположенного в зоне одного
полюса с концом проводника, расположенного в зоне полюса противоположной
полярности (рис. 11.3)
Два проводника,
соединенные последовательно, образуют один виток или одну катушку. ЭДС
проводников, расположенных в зоне одного полюса, различны по величине.
Наибольшая ЭДС индуктируется в проводнике, расположенном под срединой полюса,
ЭДС, равная нулю, – в проводнике, расположенном на линии геометрической
нейтрали.
Если соединить все
проводники обмотки по определенному правилу последовательно, то результирующая
ЭДС якорной обмотки равна нулю, ток в обмотке отсутствует. Контактные щетки
делят якорную обмотку на две параллельные ветви. В верхней параллельной ветви
индуктируется ЭДС одного направления, в нижней параллельной ветви –
противоположного направления. ЭДС, снимаемая контактными щетками, равна сумме
электродвижущих сил проводников, расположенных между щетками.
На рис. 11.4
представлена схема замещения якорной обмотки.
Рис. 11.4
В параллельных ветвях действуют
одинаковые ЭДС, направленные встречно друг другу. При подключении к якорной
обмотке сопротивления в параллельных ветвях возникают одинаковые токи
, через сопротивление RH
протекает ток IЯ.
ЭДС якорной обмотки
пропорциональна частоте вращения якоря n2 и магнитному потоку
индуктора Ф
(11.1)
где Се
– константа.
В реальных электрических
машинах постоянного тока используется специальное контактное устройство – коллектор.
Коллектор устанавливается на одном валу с сердечником якоря и состоит из
отдельных изолированных друг от друга и от вала якоря медных пластин. Каждая из
пластин соединена с одним или несколькими проводниками якорной обмотки. На
коллектор накладываются неподвижные контактные щетки. С помощью контактных
щеток вращающаяся якорная обмотка соединяется с сетью постоянного тока или с
нагрузкой.
Работа электрической машины постоянного тока в режиме генератора
Любая электрическая
машина обладает свойством обратимости, т.е. может работать в режиме генератора
или двигателя. Если к зажимам приведенного во вращение якоря генератора
присоединить сопротивление нагрузки, то под действием ЭДС якорной обмотки в
цепи возникает ток
где U – напряжение
на зажимах генератора;
Rя
– сопротивление обмотки якоря.
(11.2)
Уравнение
(11.2) называется основным уравнением генератора. С появлением тока в
проводниках обмотки возникнут электромагнитные силы.
На рис. 11.5
схематично изображен генератор постоянного тока, показаны направления токов в
проводниках якорной обмотки.
Рис. 11.5
Воспользовавшись правилом
левой руки, видим, что электромагнитные силы создают электромагнитный момент Мэм,
препятствующий вращению якоря генератора.
Чтобы машина работала в
качестве генератора, необходимо первичным двигателем вращать ее якорь,
преодолевая тормозной электромагнитный момент.
Генераторы с независимым возбуждением. Характеристики генераторов
Магнитное поле генератора
с независимым возбуждением создается током, подаваемым от постороннего
источника энергии в обмотку возбуждения полюсов.
Схема генератора с
независимым возбуждением показана на рис. 11.6.
Магнитное поле
генераторов с независимым возбуждением может создаваться от постоянных магнитов
(рис. 11.7).
Рис. 11.6
Рис. 11.7
Зависимость
ЭДС генератора от тока возбуждения называется характеристикой холостого хода E
= Uхх = f (Iв).
Характеристику
холостого хода получают при разомкнутой внешней цепи (Iя) и при
постоянной частоте вращения (n2 = const)
Характеристика
холостого хода генератора показана на рис. 11.8.
Из-за
остаточного магнитного потока ЭДС генератора не равна нулю при токе
возбуждения, равном нулю.
При
увеличении тока возбуждения ЭДС генератора сначала возрастает пропорционально.
Соответствующая
часть характеристики холостого хода будет прямолинейна. Но при дальнейшем
увеличении тока возбуждения происходит магнитное насыщение машины, отчего
кривая будет иметь изгиб. При последующем возрастании тока возбуждения ЭДС
генератора почти не меняется. Если уменьшать ток возбуждения, кривая
размагничивания не совпадает с кривой намагничивания из-за явления гистерезиса.
Зависимость
напряжения на внешних зажимах машины от величины тока нагрузки.
U = f (I) при
токе возбуждения Iв = const называют внешней характеристикой
генератора.
Внешняя
характеристика генератора изображена на рис. 11.9.
Рис. 11.8 Рис. 11.9
С ростом тока
нагрузки напряжение на зажимах генератора уменьшается из-за увеличения падения
напряжения в якорной обмотке.
Генераторы с самовозбуждением. Принцип самовозбуждения генератора с
параллельным возбуждением
Недостатком генератора с
независимым возбуждением является необходимость иметь отдельный источник
питания. Но при определенных условиях обмотку возбуждения можно питать током
якоря генератора.
Самовозбуждающиеся
генераторы имеют одну из трех схем: с параллельным, последовательным и
смешанным возбуждением. На рис. 11.10 изображен генератор с параллельным
возбуждением.
Обмотка возбуждения
подключена параллельно якорной обмотке. В цепь возбуждения включен реостат Rв.
Генератор работает в режиме холостого хода.
Чтобы генератор
самовозбудился, необходимо выполнение определенных условий.
Первым из этих условий
является наличие остаточного магнитного потока между полюсами. При вращении
якоря остаточный магнитный поток индуцирует в якорной обмотке небольшую
остаточную ЭДС.
Вторым условием является
согласное включение обмотки возбуждения. Обмотки возбуждения и якоря должны
быть соединены таким образом, чтобы ЭДС якоря создавала ток, усиливающий
остаточный магнитный поток. Усиление магнитного потока приведет к увеличению
ЭДС. Машина самовозбуждается и начинает устойчиво работать с каким-то током
возбуждения Iв = const и ЭДС Е = const, зависящими от сопротивления
Rв в цепи возбуждения.
Третьим условием является
то, что сопротивление цепи возбуждения при данной частоте вращения должно быть
меньше критического. Изобразим на рис. 11.11 характеристику холостого хода
генератора E = f (Iв) (кривая 1) и вольт – амперную характеристику
сопротивления цепи возбуждения Uв = Rв·Iв, где
Uв – падение напряжения в цепи возбуждения. Эта характеристика
представляет собой прямую линию 2, наклоненную к оси абсцисс под углом γ (tg
γ ~ Rв).
Ток обмотки возбуждения
увеличивает магнитный поток полюсов при согласном включении обмотки возбуждения.
ЭДС, индуцированная в якоре, возрастает, что приводит к дальнейшему увеличению
тока обмотки возбуждения, магнитного потока и ЭДС. Рост ЭДС от тока возбуждения
замедляется при насыщении магнитной цепи машины.
Падение напряжения в цепи
возбуждения пропорционально росту тока. В точке пересечения характеристики
холостого хода машины 1 с прямой 2 процесс самовозбуждения заканчивается.
Машина работает в устойчивом режиме.
Если увеличим
сопротивление цепи обмотки возбуждения, угол наклона прямой 2 к оси тока
возрастает. Точка пересечения прямой с характеристикой холостого хода смещается
к началу координат. При некотором значении сопротивления цепи возбуждения Rкр,
когда
γ = γкр, самовозбуждение становится невозможным. При
критическом сопротивлении вольт – амперная характеристика цепи возбуждения
становится касательной к прямолинейной части характеристики холостого хода, а в
якоре появляется небольшая ЭДС.
7–3 Автоматическое
включение резерва (АВР): назначение, условие включения
Выписка из ПУЭ:
3.3.30. Устройства АВР должны
предусматриваться для восстановления питания потребителей путем автоматического
присоединения резервного источника питания при отключении рабочего источника
питания, приводящем к обесточению электроустановок потребителя. Устройства АВР
должны предусматриваться также для автоматического включения резервного
оборудования при отключении рабочего оборудования, приводящем к нарушению
нормального технологического процесса.
Устройства
АВР также рекомендуется предусматривать, если при их применении возможно
упрощение релейной защиты, снижение токов КЗ и удешевление аппаратуры за счет
замены кольцевых сетей радиально-секционированными и т.п.
Устройства
АВР могут устанавливаться на трансформаторах, линиях, секционных и
шиносоединительных выключателях, электродвигателях и т.п.
3.3.31. Устройство АВР, как
правило, должно обеспечивать возможность его действия при исчезновении
напряжения на шинах питаемого элемента, вызванном любой причиной, в том числе
КЗ на этих шинах (последнее – при отсутствии АПВ шин, см. также 3.3.42).
3.3.32. Устройство АВР при
отключении выключателя рабочего источника питания должно включать, как правило,
без дополнительной выдержки времени, выключатель резервного источника питания
(см. также 3.3.41). При этом должна
быть обеспечена однократность действия устройства.
3.3.33. Для обеспечения
действия АВР при обесточении питаемого элемента в связи с исчезновением
напряжения со стороны питания рабочего источника, а также при отключении
выключателя с приемной стороны (например, для случаев, когда релейная защита
рабочего элемента действует только на отключение выключателей со стороны
питания) в схеме АВР в дополнение к указанному в 3.3.32 должен
предусматриваться пусковой орган напряжения. Указанный пусковой орган при
исчезновении напряжения на питаемом элементе и при наличии напряжения со
стороны питания резервного источника должен действовать с выдержкой времени на
отключение выключателя рабочего источника питания с приемной стороны. Пусковой
орган напряжения АВР не должен предусматриваться, если рабочий и резервный
элементы имеют один источник питания.
3.3.34. Для трансформаторов и
линий малой протяженности с целью ускорения действия АВР целесообразно
выполнять релейную защиту с действием на отключение не только выключателя со
стороны питания, но и выключателя с приемной стороны. С этой же целью в
наиболее ответственных случаях (например, на собственных нуждах электростанций)
при отключении по каким-либо причинам выключателя только со стороны питания
должно быть обеспечено немедленное отключение выключателя с приемной стороны по
цепи блокировки.
3.3.35. Минимальный элемент
напряжения пускового органа АВР, реагирующий на исчезновение напряжения
рабочего источника, должен быть отстроен от режима самозапуска
электродвигателей и от снижения напряжения при удаленных КЗ. Напряжение
срабатывания элемента контроля напряжения на шинах резервного источника
пускового органа АВР должно выбираться по возможности, исходя из условия
самозапуска электродвигателей. Время действия пускового органа АВР должно быть
больше времени отключения внешних КЗ, при которых снижение напряжения вызывает
срабатывание элемента минимального напряжения пускового органа, и, как правило,
больше времени действия АПВ со стороны питания.
Минимальный
элемент напряжения пускового органа АВР, как правило, должен быть выполнен так,
чтобы исключалась его ложная работа при перегорании одного из предохранителей
трансформатора напряжения со стороны обмотки высшего или низшего напряжения;
при защите обмотки низшего напряжения автоматическим выключателем при его
отключении действие пускового органа должно блокироваться. Допускается не
учитывать данное требование при выполнении устройств АВР в распределительных
сетях 6–10 кВ, если для этого требуется специальная установка трансформатора
напряжения.
3.3.36. Если при использовании
пуска АВР по напряжению время его действия может оказаться недопустимо большим
(например, при наличии в составе нагрузки значительной доли синхронных
электродвигателей), рекомендуется применять в дополнение к пусковому органу
напряжения пусковые органы других типов (например, реагирующие на исчезновение
тока, снижение частоты, изменение направления мощности и т.п.).
В случае
применения пускового органа частоты последний при снижении частоты со стороны
рабочего источника питания до заданного значения и при нормальной частоте со
стороны резервного питания должен действовать с выдержкой времени на отключение
выключателя рабочего источника питания.
При
технологической необходимости может выполняться пуск устройства автоматического
включения резервного оборудования от различных специальных датчиков (давления,
уровня и т.п.).
3.3.37. Схема устройства АВР
источников питания собственных нужд электростанций после включения резервного
источника питания взамен одного из отключающихся рабочих источников должна
сохранять возможность действия при отключении других рабочих источников
питания.
3.3.38. При выполнении
устройств АВР следует проверять условия перегрузки резервного источника питания
и самозапуска электродвигателей и, если имеет место чрезмерная перегрузка или
не обеспечивается самозапуск, выполнять разгрузку при действии АВР (например,
отключение неответственных, а в некоторых случаях и части ответственных
электродвигателей; для последних рекомендуется применение АПВ).
3.3.39. При выполнении АВР
должна учитываться недопустимость его действия на включение потребителей,
отключенных устройствами АЧР. С этой целью должны применяться специальные
мероприятия (например, блокировка по частоте); в отдельных случаях при
специальном обосновании невозможности выполнения указанных мероприятий
допускается не предусматривать АВР.
3.3.40. При действии устройства
АВР, когда возможно включение выключателя на КЗ, как правило, должно
предусматриваться ускорение действия защиты этого выключателя (см. также 3.3.4). При этом должны
быть приняты меры для предотвращения отключений резервного питания по цепи
ускорения защиты за счет бросков тока включения.
С этой целью
на выключателях источников резервного питания собственных нужд электростанций
ускорение защиты должно предусматриваться только в случае, если ее выдержка
времени превышает 1–1,2 с; при этом в цепь ускорения должна быть введена
выдержка времени около 0,5 с. Для прочих электроустановок значения выдержек
времени принимаются, исходя из конкретных условий.
3.3.41. В случаях, если в
результате действия АВР возможно несинхронное включение синхронных
компенсаторов или синхронных электродвигателей и если оно для них недопустимо,
а также для исключения подпитки от этих машин места повреждения следует при
исчезновении питания автоматически отключать синхронные машины или переводить
их в асинхронный режим отключением АГП с последующим автоматическим включением
или ресинхронизацией после восстановления напряжения в результате успешного
АВР.
Для
предотвращения включения резервного источника от АВР до отключения синхронных
машин допускается применять замедление АВР. Если последнее недопустимо для
остальной нагрузки, допускается при специальном обосновании отключать от
пускового органа АВР линию, связывающую шины рабочего питания с нагрузкой,
содержащей синхронные электродвигатели.
Для
подстанций с синхронными компенсаторами или синхронными электродвигателями
должны применяться меры, предотвращающие неправильную работу АЧР при действии
АВР (см. 3.3.79).
3.3.42. С целью предотвращения
включения резервного источника питания на КЗ при неявном резерве,
предотвращения его перегрузки, облегчения самозапуска, а также восстановления
наиболее простыми средствами нормальной схемы электроустановки после аварийного
отключения и действия устройства автоматики рекомендуется применять сочетание
устройств АВР и АПВ. Устройства АВР должны действовать при внутренних
повреждениях рабочего источника, АПВ – при прочих повреждениях.
После
успешного действия устройств АПВ или АВР должно, как правило, обеспечиваться
возможно более полное автоматическое восстановление схемы доаварийного режима
(например, для подстанций с упрощенными схемами электрических соединений со
стороны высшего напряжения – отключение включенного при действии АВР секционного
выключателя на стороне низшего напряжения после успешного АПВ питающей линии).
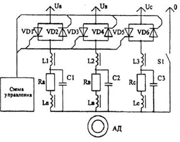
7.4 Схема управления АД с
тиристорным преобразователем
Тиристорный
преобразователь с пассивными фильтрами (рис. 1) содержит три пары
встречно-параллельно соединенных тиристоров, подключенных между питающей сетью
и нагрузкой. Схема обладает структурной симметрией и осуществляет ступен-чатый
переход от работы на пониженной частоте к частоте питающей сети, то есть к работе
АД на естественной механической характеристике. Высокая надежность данного
тиристорного преобразователя обусловлена схемотехнической простотой и
естественной коммутацией вентилей.
В
преобразователе используется квазичастотное управление (КЧУ), совмещающее
особенности параметрического и частотного регулирования. Выходная частота
преобразователя изменяется в соответствии с сигналами модуляции
(прямоугольными, трапецеидальными, треугольными, синусоидальными и др.).
Регулирование действующего значения выходного напряжения и тока производится за
счет изменения угла включения тиристоров. Таким образом, осуществляется
однополупериодное формирование напряжения статора пониженной частоты. В
результате в выходном напряжении преобразователя наряду с основной (низкочастотной)
гармонической составляющей присутствуют гармоники с частотой питающей сети. При
работе тиристорного преобразователя на АД электромагнитный момент в режиме
прерывистого тока имеет импульсный и, на отдельных интервалах, знакопеременный
характер.
Для
обеспечения непрерывности тока в обмотках статора АД в интервалах времени его
отключения от питающей сети в тиристорном преобразователе используют энергию,
накапливаемую в реактивных элементах фильтров, включенных на выходе
тиристорного преобразователя. Продолжительность интервалов отключенного состояния
при одноимпульсном формировании выходного напряжения и тока l0 і 0,5Тс,
где Тс – период напряжения питающей сети, непрерывность протекания тока
обеспечивается при периодическом переходном процессе с частотой свободных
колебаний, равной или меньшей частоты сети w. Емкость конденсаторов фильтра:
С і 4LН/(
)
где Lн – индуктивность
нагрузки;
Rн – сопротивление
нагрузки.
При
увеличении угла включения тиристоров a в целях ограничения
действующего значения фазного тока продолжительность интервалов отключенного
состояния возрастает, и для обеспечения непрерывности тока в паузе (а также
соответствия направления его протекания полярности сигнала модуляции) емкость С
следует увеличить.
Индуктивности
L1, L2, L3 не участвуют в формировании тока в интервалах отключенного
состояния, однако включение дросcелей в продольную ветвь фильтра необходимо для
ограничения бросков зарядного тока конденсаторов. Значение индуктивности
выбирается из условия ограничения тока до допустимого для тиристоров значения
или из условия обеспечения электромагнитной совместимости преобразователя с
сетью.
В результате
определены следующие параметры элементов фильтра в
преобра-зователе: С1…С3 = 100 мкФ, L1…L3= 45 мГн. Емкость С рассчитывается по
формуле С і 4LН/(
), выбранное значение соответствует минимально
возможному при соблюдении условия непрерывности протекания тока в обмотках
статора АД в интервалах откпюченного состояния.
Экспериментально
полученные механические характеристики АД 4А71А4УЗ (Рном = 0,55 кВт) при его
работе с данным преобразователем показаны на рис. 2 (выходная частота МНПЧ
fвых = fс/7, где fс – частота питающей сети; действующее значение фазного тока
равно номинальному при угле включения тиристоров a = 900 эл.). Максимальное значение
электромагнитного момента, развиваемого АД, в схеме без фильтра составило около
0,45 Мнои, с фильтром – до 0,8Мном. Пусковой момент увеличился более чем вдвое.
Рис. 1.
Схема тиристорного преобразователя с LC-фильтрами
Рис. 2.
Экспериментальные механические характеристики АД типа 4А71А4УЗ в двигательном
режиме при квазичастотном регулировании (m = М / Мном):
1 – без
фильтра, 2 – с фильтром
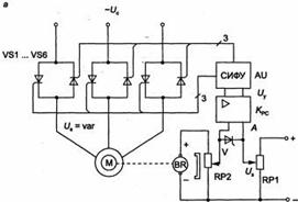
Функциональные схемы
управления АД.
Т-образная
схема замещения АД
Функциональная
схема электропривода с АД и регулятором напряжения

Функциональная
схема замкнутой системы электропривода с АД и ТРН (а) и включение тиристоров
для реверсивного управления (б)
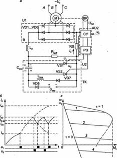
Схема
импульсного регулятора скорости АД на симмисторах в цепи ротора
Импульсное
регулирование в цепи ротора АД:
а – электрическая
схема; б – временные диаграммы работы регулятора; в-механические
характеристики в замкнутой системе
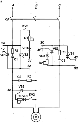
Для
управления асинхронным двигателем могут использоваться тиристоры в сочетании с
релейно-контакторными аппаратами. Тиристоры применяются в качестве силовых
элементов и включаются в статорную цепь, релейно-контакторные аппараты
включаются в цепь управления.
Используя
тиристоры в качестве силовых коммутаторов, можно на статор при пуске подавать
напряжение от нуля до номинального значения, ограничивать токи и моменты
двигателя, осуществлять эффективное торможение либо шаговый режим работы. Такая
схема приведена на рис. 1.33.
Силовая часть
схемы состоит из группы тиристоров VS1…VS4, включенных встречно-параллельно в фазы Аи С.
Между фазами Аи В включен короткозамыкающий тиристор VS5. Схема состоит из
силовой цепи (рис. 1.33, а), цепи управления (рис. 1.33, б)
и блока управления тиристорами – БУ (рис. 1.33, в).
Для пуска
двигателя включается автоматический выключатель QF, нажимается кнопка SB1 «Пуск», в результате
чего включаются контакторы КМ1 и КМ2. На управляющие электроды тиристоров VS1…VS4 подаются импульсы,
сдвинутые на 60е относительно питающего напряжения. К статору
двигателя прикладывается пониженное напряжение, что приводит к снижению
пускового тока и пускового момента.
Рис. 1.33.
Тиристорное
управление асинхронным двигателем с короткозамкнутым ротором
Размыкающий
контакт КМ1 отключает реле KV1 с выдержкой времени, которая определяется
резистором R7
и конденсатором С4. Размыкающими контактами реле KV1 шунтируются
соответствующие резисторы в блоке управления, и на статор подается полное
напряжение сети.
Для
торможения нажимается кнопка SB2 «Стоп». Схема управления теряет питание,
отключаются тиристоры VS1…VS4. Это приводит к тому, что на период торможения
включается реле KV2 за счет энергии, запасенной конденсатором С5, и своими
контактами включает тиристоры VS2. и VS5. Через фазы А и В статора
проходит постоянный ток, который регулируется резисторами R1 и R3. Обеспечивается
эффективное динамическое торможение.