Экспериментальное исследование явления электромагнитной индукции и практическое его применение
МИНИСТЕРСТВО ОБЩЕГО И ПРОФЕССИОНАЛЬНОГО ОБРАЗОВАНИЯ РОСТОВСКОЙ
ОБЛАСТИ
ГОСУДАРСТВЕННОЕ ОБРАЗОВАТЕЛЬНОЕ УЧРЕЖДЕНИЕ
СРЕДНЕГО ПРОФЕССИОНАЛЬНОГО ОБРАЗОВАНИЯ
"НОВОЧЕРКАСКИЙ МЕХАНИКО-ТЕХНОЛОГИЧЕСКИЙ КОЛЛЕДЖ ИМ. А.Д. ЦЮРУПЫ"
ЭКСПЕРИМЕНТАЛЬНОЕ ИССЛЕДОВАНИЕ ЯВЛЕНИЯ ЭЛЕКТРОМАГНИТНОЙ ИНДУКЦИИ И
ПРАКТИЧЕСКОЕ ЕГО ПРИМЕНЕНИЕ
АВТОР:
ст. .1курса гр. ЭМ-1-1 А.В. Коноваленко
РУКОВОДИТЕЛИ:
Преподаватели: физики И.Ф. Мороз
информатики А.В. Глазков
г. Новочеркасск
2008г.
Содержание
Введение
1.
Теоретическая часть
1.1 История
открытия явления электромагнитной индукции
1.2
Современная теория электромагнитной индукции
2.
Экспериментальное исследование явления электромагнитной индукции
2.1
Исследование зависимости магнитного потока от магнитной индукции
2.2
Исследование зависимости ЭДС электромагнитной индукции от скорости движения
постоянного магнита проводилось таким образом
2.3
Исследовать причину возникновения ЭДС при включении и отключении рубильника по
схеме № 2
2.4
Исследовать причину возникновения ЭДС по схеме № 2
3.
Практическое применение явления электромагнитной индукции
3.1
Радиовещание
3.2
Магнитотерапия
3.3
Синхрофазотроны
3.4
Расходомеры - счётчики
3.4.1
Принцип измерения
3.5
Электрические генераторы
3.5.1
Генератор постоянного тока
3.5.2
Синхронный генератор
Заключение
Список
использованных источников
Приложение.
Алгоритм построения графиков в электронной таблице МS Excel
Нам студентам предстоит решать проблемы ХХI века. Поэтому, если считать основной целью любого учебного
заведения - создание условий для реализации способностей жить в окружающем мире
и полноценно себя в нем реализовать, то необходимо задуматься над тем, какие
основные проблемы будут решаться людьми через 10-20 лет.
Использование новых информационных технологий в учебном
процессе стало не только возможным, но и необходимым условием для полноценного
получения знаний. Современные средства новых информационных технологий
позволяют провести исследования физических процессов в виртуальном режиме,
строить графики, проводить сравнение, анализировать полученные данные. Компьютер
со специальной программой помогает студенту провести опыты в виртуальном
режиме, обработать результаты, реально увидеть происходящие физические процессы
с их графическим отображением в тех опытах, когда невозможно увидеть при реальной
монтажной схеме во время проведения эксперимента.
Этот метод обладает следующими преимуществами перед обычными
измерительными методами:
Возможность мгновенной регистрации происходящих явлений;
Наличие компьютерной программы, обрабатывающей результаты
опыта, избавляет студентов от рутинных математических операций и представляет
результаты эксперимента в удобном виде;
Наблюдая, за экспериментами в виртуальном режиме студент
видит, как протекают физические явления в отдельных участках цепи;
Доступность многократного повторения эксперимента с
минимальными затратами времени на рутинные операции по его проведению.
Выполнение лабораторных работ, решение экспериментальных
задач, наблюдение за физическими явлениями вне лаборатории - все эти модели
исследовательской поисковой деятельности будут актуальными в дальнейшей жизни студента
вне зависимости от выбранной профессии.
Исследование опытов Фарадея в виртуальном режиме при
отсутствии соответствующего оборудования помогают студентам увидеть:
физические процессы, возникающие в катушке при движении
постоянного магнита;
определить зависимость ЭДС от параметров катушки, скорости
движения постоянного магнита;
причины возникновения ЭДС;
изменение направление ЭДС при движении постоянного магнита;
возникновение ЭДС при включении рубильника.
Все эти опыты помогают студенту понять физическую сущность
явления электромагнитной индукции и увидеть на производстве и в быту применение
этого явления.
Высказывания синьоров Нобили и Антинори из журнала "Antologia".
Господин Фарадей недавно открыл новый класс
электродинамических явлений. Он представил об этом мемуар Лондонскому
королевскому Обществу, но этот мемуар до сих пор еще не опубликован. Мы знаем о
нем только заметку, сообщенную г. Гашеттом Академии наук в Париже 26 декабря, на
основании письма, которое он получил от самого г. Фарадея.
Это сообщение побудило кавалера Антинори и меня самого
тотчас же повторить основной опыт и изучить его с разнообразных точек зрения. Мы
льстим себя надеждой, что результаты, к которым мы пришли, имеют известное
значение, а потому мы спешим опубликовать их, не имея никаких предшествоваших материалов,
кроме той заметки, которая послужила исходной точкой в наших исследованиях.
"Мемуар г. Фарадея, - как говорит заметка, - делится на
четыре части.
В первой, озаглавленной "Возбуждение гальванического
электричества", мы находим следующий главный факт: гальванический ток,
проходящий через металлический провод, производит другой ток в приближаемом
проводе; второй ток по направлению противоположен первому и продолжается только
одно мгновение. Если возбуждающий ток удалить, в проводе, находящемся под его
влиянием, возникает ток, противоположный тому, который возникал в нем в первом
случае, т.е. в том же направлении, как возбуждающий ток.
Вторая часть мемуара повествует об электрических токах, вызываемых
магнитом. Приближая к магнитам катушки, г. Фарадей производил электрические
токи; при удалении катушек возникали токи противоположного направления. Эти
токи сильно действуют на гальванометр, проходят, хотя и слабо, через рассол и
другие растворы. Отсюда следует, что этот ученый, пользуясь магнитом, возбуждал
электрические токи, открытые г. Ампером.
Третья часть мемуара относится к основному электрическому
состоянию, которое г. Фарадей называет электромоническое состояние.
В четвертой части говорится о столь же любопытном, как и
необычном опыте, принадлежащим г. Араго; как известно, этот опыт состоит в том,
что магнитная стрелка вращается под влиянием вращающегося металлического диска.
Он установил, что при вращении металлического диска под влиянием магнита могут
появляться электрические токи в количестве, достаточном для того, чтобы сделать
из диска новую электрическую машину.
Нам не пришлось делать предварительных опытов, чтобы добиться
удачи с опытом г. Фарадея. Первые же катушки, которые мы приблизили к полюсу
магнита, сразу оказали свое влияние на гальванометр.
Произведя опыты с кольцеобразной катушкой между полюсами
подковообразного магнита, мы заметили, что действие было гораздо слабее, чем то,
которое производилось с той же катушкой, когда к магниту прикладывался его
якорь. Этот факт наводит на мысль о том, что можно,
Намотав на такой магнит медную проволоку, покрытую шелком,
иметь прибор, всегда готовый для таких опытов.
Взаимная связь электрических и магнитных полей была
установлена английским физиком М. Фарадеем. Электрические токи создают вокруг
себя магнитное поле. А не может ли магнитное поле вызвать появление
электрического поля? Фарадеем экспериментально было
обнаружено, что при изменении магнитного потока, пронизывающего замкнутый
контур, в нем возникает электрический ток. Это явление было названо электромагнитной
индукцией. Ток возникающий при явлении электромагнитной индукции называют
индукционным. Строго говоря, придвижении контура в магнитном поле генерируется
не определенный ток, а определенная ЭДС. Более подробное изучение
электромагнитной индукции показало, что ЭДС индукции, возникающая в каком-либо
замкнутом контуре, равна скорости изменения магнитного потока через
поверхность, ограниченную этим контуром, взятую с обратным знаком.
Электродвижущая сила в цепи - это результат действия
сторонних сил, т.е. сил неэлектрического происхождения. При движении проводника
в магнитном поле роль сторонних сил выполняет сила Лоренца, под действием
которой происходит разделение зарядов, в результате чего на концах проводника появляется
разность потенциалов. ЭДС индукции в проводнике характеризует работу по
перемещению единичного положительного заряда вдоль проводника.
Явление электромагнитной индукции лежит в основе действия
электрических генераторов. Если равномерно вращать проволочную рамку в
однородном магнитном поле, то возникает индуцированный ток, периодически
изменяющий свое направление. Даже одиночная рамка, вращающаяся в однородном
магнитном поле, представляет собой генератор переменного тока.
Схема №1
1. Для точного проведения опыта по схемы №1 проводим
измерения параметров катушки: высоту и ширину катушки, толщину витка.
Вычисляем параметры катушки: площадь, внутренний диаметр
Данные измерения:
Количество витков 7шт.
Ширина катушки (внешний диаметр) - D=2,5см.
Данные вычисления:
Высота витка h1=2.5/7=0,3 см.
Площадь катушки S= (
*d
²) /4=2,504см. .
Внутренний диаметр d=D-2* (h1) =1,785см
Магнитный поток Ф=В*S*h
Определим зависимость магнитного потока от магнитной
индукции.
Задаваясь различным значением магнитной индукции вычислим
значения магнитного потока. Данные занесем в таблицу№1. и посторонним график
зависимости магнитного потока от магнитной индукции.
Таблица № 1
|
В (Тл)
|
0,0004
|
0,0008
|
0,0015
|
0,0031
|
0,0063
|
0,0125
|
0,025
|
0,1
|
|
Ф=ВSh (Вб)
|
0,014
|
0,027
|
0.054
|
0,11
|
0,22
|
0,44
|
0,88
|
1,75
|
График зависимости магнитного потока от магнитной индукции.
Исследование зависимости ЭДС электромагнитной индукции от
магнитного потока. Во время эксперимента перемещаем постоянный магнит с
постоянной скоростью. Данные опыта занести в таблицу №2.
Таблица № 2. V-const.
|
Ф=ВSh (Вб)
|
0,014
|
0,027
|
0.054
|
0,11
|
0,22
|
0,44
|
0,88
|
1,75
|
|
D Ф/dt
|
0,0068
|
0,014
|
0,027
|
0,055
|
0,11
|
0,22
|
0,44
|
0.88
|
|
ЭДС (В)
|
0,0023
|
0,0046
|
0,009
|
0,018
|
0,036
|
0,073
|
0,15
|
0,29
|
График зависимости ЭДС индукции от магнитного потока.
Вывод:
Исследований дает полную картину зависимости ЭДС
электромагнитной индукции от магнитного потока. С помощью программы
МS Excel и точных расчетов и измерений
построены графики:
зависимости магнитного потока от магнитной индукции
постоянного магнита;
Метод исследования способствует:
углублению и расширению знаний студента;
формированию интереса к познавательной деятельности;
овладению приема процесса познания;
развитию познавательных способностей.
По данным таблицы построили график зависимости ЭДС от
скорости движения постоянного магнита.
Таблица № 1. Во=0.2 Тл.
|
Магнитная индукция В (Тл)
|
0,2
|
0,2
|
0,2
|
0,2
|
0,2
|
|
Скорость движения магнита (м/С)
|
0
|
1,5
|
2.5
|
3.5
|
4.5
|
|
ЭД.С. индукции (В)
|
0.02
|
0.05
|
0.1
|
0.15
|
0.2
|
График зависимости ЭДС от скорости движения магнита.
Вывод: При перемещении постоянного магнита, его силовые
линии пересекают витки катушки, при этом возникает индукционный ток, поэтому
стрелка гальванометра отклоняется. Показания прибора зависят от скорости
перемещения магнита и от числа витков катушки.
Схема№2
При проведении опыта по схеме №2 было зафиксировано, в
момент включения рубильника стрелка прибора отклонялась и показывала значение
ЭДС затем стрелка возвращалась в первоначальное положение. При отключении
рубильника стрелка опять отклонялась, но в другую сторону и показывала значение
ЭДС, затем возвращалась в первоначальное положение. В момент включения
рубильника величина тока увеличивается, но возникает какая то сила, которая
мешает увеличению тока. Эта сила сама себя индуцирует, поэтому её назвали ЭДС
самоиндукции. В момент отключения происходит то же самое, только направление
ЭДС изменилось, поэтому стрелка прибора отклонилась в противоположную сторону.
Этот опыт показывает, что ЭДС электромагнитной индукции
возникает при изменении величины и направлении тока. Это доказывает, что ЭДС
индукции, которая сама себя создает - есть скорость изменения тока.
В этом эксперименте перемещаем катушки относительно друг
друга замкнув при этом рубильник, наблюдая за показаниями прибора.
Вывод. В этом опыте мы пропускаем через первую катушку ток,
который создает магнитный поток и при движении второй катушки внутри первой,
происходит пересечение магнитных линий, поэтому возникает индукционный ток При
проведении эксперимента исследования явления электромагнитной индукции
выявлено, что этот эксперимент помогает студентам понять:
причины возникновения ЭДС.
зависимость величины ЭДС от скорости перемещения магнита
зависимость направления ЭДС от направления движения магнита
Недостатком данного эксперимента является не точность
измерений
В процессе исследования закона электромагнитной индукции на
основе опытов Фарадея в виртуальном режиме были сделаны следующие выводы:
виртуальный режим помог понять:
причины возникновения индукционного тока;
от чего зависит направление и величина индукционного тока;
независимо, что перемещаем магнит или катушку возникает
индукционный ток;
перемещение катушки, подключенной к источнику питания,
внутри другой катушки, то же возникает индукционный ток;
Проведя исследования опытов Фарадея можно подвести итоги этой
работы. Эти исследования дают возможность всем студентам, не зависимо от
степени подготовки, понять причину возникновения индукционного тока и провести
необходимые расчеты; более точно провести замеры и расчеты, используя знания по
дисциплине "Информатика" построены графики.
После того как было открыто электричество, его использовали
в качестве "почтальона", предающего информацию с молниеносной
быстротой.
Но ведь телефонные и телеграфные провода не протянешь за
кораблём или за самолётом, за поездом или автомобилем. Перекинуть мост через
пространство людям помогло радио. В переводе с латинского "радио" означает
"излучать".
Первый кирпич в фундамент радиотехники, как мы уже знаем,
заложил датский профессор Ганс Христиан Эрстед, который показал, что вокруг
проводника с током возникает магнитное поле. Его соотечественник и
последователь Джеймс Максвелл пришёл к выводу, что переменное магнитное поле,
возбуждаемое изменяющимся током, создаёт в окружающем пространстве
электрическое поле, которое в свою очередь возбуждает магнитное поле, и т.д. Взаимно
порождая друг друга, эти поля образуют единое переменное электромагнитное поле -
электромагнитную волну. Возникнув в том месте, где есть провод с током,
электромагнитное поле распространяется в пространстве со скоростью света -300000
км/с. Максвелл утверждал, что волны света имеют ту же природу. Они отличаются
только длиной. Видимый свет - это короткие волны, а электромагнитные волны- это
волны большей длины. В 1888 г. их впервые смог получить и исследовать немецкий
физик Рудольф Герц. Однако путей практического применения своего Генрих открытия
он не нашел. Эти пути увидел Александр Степанович Попов. Опираясь на результаты
опытов Герца, он создал прибор для обнаружения и регистрирования электрических
"колебаний" - радиоприёмник.7 мая 1895 г. А.С. Попов сделал доклад на
заседании Русского физико-химического общества в Петербурге и продемонстрировал
в действии свои приборы связи. Это был день рождения радио. Первый
радиоприёмник Попова имел очень простое устройство: батарея, электрический
звонок, электромагнитное реле и стеклянная трубка с металлическими опилками
внутри - когерер (от латинского слова "когеренция" - "сцепление".
Передатчиком служил искровой разрядник, возбуждавший
электромагнитные колебания в антенне, которую Попов впервые в мире использовал
для беспроводной связи. Под действием радиоволн, принятых антенной,
металлические опилки в когерере сцеплялись, и он начинал пропускать
электрический ток от батареи. Срабатывало реле, включался звонок, а когерер
получал "лёгкую встряску", сцепление между металлическими опилками
ослабевало, и они были готовы принять следующий сигнал.
Продолжая опыты и совершенствуя приборы, А.С. Попов
медленно, но уверенно увеличивал дальность действия радиосвязи.
Через 5 лет после создания первого приёмника начала
действовать регулярная линия беспроволочной связи на расстояние 40км.
Благодаря радиограмме, переданной по этой линии зимой 1900
года, ледокол "Ермак" снял со льдины рыбаков, которых шторм унёс в море.
Радио, начавшее свою практическую историю спасением людей,
стало новым прогрессивным видом связи 20 века.
В спектре частот разные места занимают радиоволны, свет,
рентгеновское излучение и другие электромагнитные излучения. Их обычно
характеризуют непрерывно связанными между собой электрическими и магнитными
полями.
Однако при определенных условиях электрическая и магнитная
составляющие становятся практически независимыми, и их можно рассматривать
отдельно.
"Магнитотерапия" (лечение магнитным полем) и
"магнитобиология" (биологическое воздействие магнитным полем) - термины,
относящиеся к низкочастотному диапозону. Для лечения с помощью
электромедицинских аппаратов используют постоянное магнитное поле (франклинизация),
магнитное поле 10-40 мГц (индуктотерапия), электрическое поле 25-50 мГц (УВЧ - терапия).
Отмечено, что при воздействии магнитным полем происходит изменение
окислительно-восстановительных процессов и перекисного окисления липидов,
перестройка в звеньях эндокринной системы. Противовоспалительный эффект
действия магнитного поля связывают с изменением в свертывающей и
противосвертывающей системах крови, улучшением микроциркуляции, а также
выбросом гормонов. Магнитотерапия применяется в имплантологии и травматологии, т.к.
ускоряет процессы регенерации тканей.
В настоящее время под магнитным полем понимают особую форму
материи состоящую из заряженных частиц. В современной физике пучки заряженных
частиц используют для проникновения в глубь атомов с целью их изучения.
Сила, с которой действует магнитное поле на движущуюся
заряженную частицу, называется силой Лоренца.
Fл=qBvsin@
где B - индукция магнитного поля, то есть его силовая
характеристика.
@ - это угол между направлением скорости и направлением
индукции.
Но энергия частиц, испускаемых при естественном распаде
радиоактивных веществ, относительно невелика. Поэтому возникла необходимость
создания искусственных источников заряженных частиц высоких энергий –
ускорителей.
Основан на применении закона Фарадея для проводника в
магнитном поле: в потоке электропроводящей жидкости, движущейся в магнитном
поле наводится ЭДС, пропорциональная скорости потока, преобразуемая электронной
частью в электрический аналоговый/цифровой сигнал.

Особенности расходомеров SLON 1000, SLON 2000 и SLON 3000 и их класс
точности
1. Расходомеры SLON 1000 - SLON 3000 предназначены для измерения объемного расхода и
объема электропроводящих жидкостей с удельной электропроводностью не менее 10
мс/см. .
2. Гладкость внутренней облицовки расходометра позволяет избежать
возникновения препятствия при измерении;
3. Измеряет не зависимости от давления, температуры,
плотности и других особых характеристик измеряемых жидкостей;
4. Измеритель адаптирован к высокой изменчивости потока;
5. Во избежание высокого давления, внутренняя оболочка
измерителя укреплена металлической сеткой, выполненная из материала FEP.
6. Преобразователь серии S надежен и
легко в эксплуатации в своем классе; устранить его неисправности может даже н
7. Класс точности: 0,5%FS (по
индивидуальным заказам возможен вариант 0,25% FS)
8. Выходные сигналы:
SLON 1000: 0 - 10мА или 4 - 20 мА;
SLON 2000 - 2-строчные
жидкокристаллический индикатор состояния, 4-20мА, Rackbus RS 485
Сертификат взрывозащиты: Eexia iiBT5
Диапазон измерения (м/s): 0.1 - 10m/s
Максимальный предел (м/s): 0.5 - 10m/s
Рекомендованный диапазон использования (м/s):
1-5 m/s
В режиме генератора якорь машины вращается под действием
внешнего момента. Между полюсами статора имеется постоянный магнитный поток,
пронизывающий якорь. Проводники обмотки якоря движутся в магнитном поле и,
следовательно, в них индуктируется ЭДС, направление которой можно определить по
правилу "правой руки". При этом на одной щетке возникает
положительный потенциал относительно второй. Если к зажимам генератора
подключить нагрузку, то в ней пойдет ток. После поворота якоря на некоторый
угол щетки окажутся соединенными с другой парой пластин, т.е. подключаются к
другому витку якорной обмотки, ЭДС в котором будет иметь то же направление. Таким
образом, генератор вырабатывает электрический ток, и направление этого тока, протекающего
через нагрузку, не изменяется. При подключении нагрузки к генератору и с
появлением тока якоря, на валу возникает электромагнитный момент, направленный
против направления вращения якоря. В режиме двигателя на зажимы машины подается
постоянное напряжение, и по якорной обмотке идет ток. Проводники якорной обмотки
находятся в магнитном поле машины, созданном током возбуждения и, следовательно,
на них, согласно закону Ампера, будут действовать силы. Совокупность этих сил
создает вращающий момент, под действием которого якорь будет вращаться. При
вращении якоря в его обмотке наводится ЭДС, которая направлена навстречу току,
и поэтому для двигателей она называется противо-ЭДС.
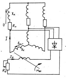
На рис.13.2 показана конструктивная схема явнополюсной
трехфазной синхронной машины, состоящей из статора 1, трехфазной обмотки
статора 2, явнополюсного ротора 3, обмотки ротора 4, вала ротора 5, контактных
колец б, щеток 7. Следует отметить, что обмотки статора и ротора имеют
одинаковое число полюсов.
Постоянный ток обмотки возбуждения ротора создает основное магнитное
поле машины. Магнитные линии потоков каждого полюса образуют замкнутые контуры.
Распределение магнитной индукции в зазоре между полюсом ротора и статора
синусоидально. Регулирование током возбуждения Iв можно
осуществлять с помощью реостата Rр. При вращении ротора поток
Фо вращается вместе с ним и пересекает обмотки статора. При
этом в обмотках статора индуцируется трехфазная система ЭДС.
Действующее значение каждой фазной ЭДС - число витков фазной
обмотки статора, kоб - обмоточный коэффициент.
Фазные ЭДС равны по значению и отстают друг от друга по фазе
на угол.
В процессе исследования закона электромагнитной индукции на
основе опытов Фарадея в виртуальном режиме были сделаны следующие выводы:
Виртуальный режим помог понять:
причины возникновения индукционного тока;
от чего зависит направление и величина индукционного тока;
независимо, что перемещаем магнит или катушку возникает
индукционный ток;
перемещение катушки, подключенной к источнику питания,
внутри другой катушки, то же возникает индукционный ток;
используя знания по дисциплине "Информатика" построены
графики
зависимости ЭДС:
от скорости движения магнита;
от величины магнитной индукции;
Технология программированного обучения предполагает
получение студентами порций информации (текстовой, графической, видео-все
зависит от технических возможностей) в определенной последовательности и
обеспечивает контроль за усвоением данного материала
Основная:
1.
Физика -учебное пособие для техникумов, автор В.Ф. Дмитриева, издание
Москва "Высшая школа" 2004г;
2.
Информатика-практикум по компьютерной технологии, авторы
3.
О. Ефимова, М. Моисеева, Ю. Шафрин, издание 1997г;
4.
Дополнительная:
5.
Конспект-лекции по дисциплинам "Физика" и "Информатика";
6.
Физика-учебник для 11 класса, авторы: Г.Я. Мякишев и Б.Б. Буханцев М. Просвещение,
издание 2004 г.
выделить ячейку А1;
ввести текстовое значение "h";
выделить ячейку А2;
ввести число "2,5";
выделить ячейку В1;
ввести текстовое значение "n";
выделить ячейку В2;
ввести число "7";
выделить ячейку С1;
ввести текстовое значение "h/n";
выделить ячейку С2;
ввести формулу "= А2/В2";
выделить ячейку D1;
ввести текстовое данные "D";
выделить ячейку D2;
ввести число "2,5";
выделить ячейку Е1;
ввести текстовое значение "d=D- (2* h/n);
выделить ячейку Е2;
ввести формулу "=D2- (2*C2)";
выделить ячейку F1;
ввести текстовое значение " S=
(pi*d^2) 4";
выделить ячейку G1;
ввести текстовое значение "х";
выделить ячейку G2;
ввести число " 0,001953125" (1/512);
выделить ячейку G2: G11;
выбрать: Правка \ Заполнить \ Прогрессия…;
шаг (2) \ геометрическая \ ОК;
выделить ячейку Н1;
ввести текстовое значение "В";
выделить ячейку Н2;
ввести формулу "=0,2*$G2";
выделить ячейки Н2; Н11;
выбрать: Правка \Заполнить \Вниз;
выделить ячейку I1;
ввести текстовое значение "Ф=В*S*n";
выделить ячейку I2;
ввести формулу " =$F$2*$b$2*$H2";
выделить ячейку I2: I11;
выделить ячейку H2: I11;
выбрать: Вставка \Диаграмма….;
выбрать: график \обычный \далее >\далее>;
выбрать: закладку " Заголовки" \набрать "Изменение
Ф (В)"\ готово;
выделить ячейку J1;
ввести текстовое значение"dt";
выделить ячейку J2;
ввести число "3";
выделить ячейку K1;
ввести текстовое значение "dФ";
выделить ячейку К3;
ввести формулу " I3-I2";
выделить ячейку K3: K11;
выбрать: Правка \ Заполнить \ Вниз;
выделить ячейку L1;
ввести текстовое значение"e";
выделить ячейку L3;
ввести формулу " K3/$J$2";
выделить ячейки L3: L1;
выбрать: Правка \ Заполнить\ Вниз;
выделить ячейку К3: L11;
выбрать: Вставка\ Диаграмма…;
выбрать: график \обычный \далее >\далее>;
выбрать: закладку " Заголовки" \набрать "Изменение
Ф (В)"\ готово.