Совершенствование электротехнической службы Бердюжского РЭС ОАО "Тюменьэнерго"
Реферат
Дипломный проект
содержит 88 стр. машинописного текста, 19 таблиц, 11рисунков
В первом разделе
раскрыта суть предмета теории эксплуатации электрооборудования. Во втором
разделе приведены таблицы, характеризующие технико-экономические показатели
РЭС. В третьем, четвертом и пятом разделах приведены организационные
мероприятия по рациональной эксплуатации электрооборудования. Шестой раздел
посвящен разработке базы технического обслуживания и ремонта, расчету ее
осветительных и силовых сетей, выбору технологического оборудования. В седьмом
разделе на основе анализа существующих способов сушки трансформаторов в условиях
эксплуатации выбран оптимальный. В восьмом разделе раскрыты мероприятия по
безопасности труда. В девятом разделе приведены технико-экономические
показатели проекта.
Введение
Сельский
энергетический комплекс представляет собой важнейшую часть энергетики страны и
служит для удовлетворения энергетических нужд производственной и социальной
сфер. Эффективность сельской энергетики во многом зависит от работоспособности
сельских распределительных сетей к которым относятся трансформаторы 10/0,4 кВ,
6/0,4 кВ, а также воздушные и кабельные линии 10,6 и 0,4 кВ.
Развитие
электрификации показало, что надежное, высококачественное и дешевое
электроснабжение можно получить только от крупных районных электростанций,
объединенных между собой в мощные энергетические системы.
Основными задачами
сельского электроснабжения является обеспечение требуемого качества
электроэнергии, надежности и экономичности. К показателям качества
электроэнергии относятся: отклонение напряжения, отклонение частоты и
несимметрия напряжения.
К организационно техническим мероприятиям
по повышению надежности относятся:
1. Повышение
требований к эксплутационному персоналу;
2. Рациональная
организация текущего ремонта и капитального ремонта;
3. Рациональная
организация отыскивания и ликвидация повреждений;
4. Обеспечения
аварийных запасов материалов;
К техническим
средствам и мероприятиям по повышению надежности относят:
1.Повешение
надежности отдельных элементов сетей :опор, проводов;
2. Сокращение радиуса
сети.
3. Применение
подземных кабелей.
4. Сетевое и местное
резервирование.
Максимальный эффект
от повышения надежности электроснабжения может быть получен при комплексном
использование различных мероприятий и средств.
1. Место электроснабжения в обобщенном
предмете теории эксплуатации электрооборудования
Электрооборудование
всегда служит частью какой-либо машины, установки или другого
сельскохозяйственного объекта. Другими словами, оно является частью
производственной системы, предназначенной для выпуска определенной продукции.
На рис. 1.1 показана упрощенная схема такой системы. Она содержит подсистемы
ресурсов (трудовые - Тр, материальные – Мр и энергетические - Эр) и подсистему
технологического объекта - Т, осуществляющего преобразование исходных
материалов в конечную продукцию. Оборудование как подсистема энергоресурсов
обеспечивает энергией производственный процесс. Цель производственной системы -
удовлетворять растущие потребности общества за счет увеличения выпуска
продукции, повышения ее качества и снижения себестоимости. Для этого необходимо,
чтобы работа всех в совокупности элементов, в том числе и энергооборудования,
была подчинена производственной системе. Поэтому цель, эксплуатации состоит в
обеспечении эффективной работы электрифицированных технологических объектов за
счет поддержания требуемой надежности и рационального использования
электрооборудования.
Объект изучения. На достижение требуемого качества эксплуатации
электрооборудования основное влияние оказывают: источник электроснабжения
определяющий качество электроэнергии; эксплуатационные свойства используемого
электрооборудования, характеризующие его пригодность к эксплуатации;
технологический объект, определяющий режимы использования и условия окружающей
среды; служба эксплуатации, от которой зависит качество обслуживания, ремонта и
других работ по обеспечению надежности энергооборудования. Система названных
элементов (рис. 1.2) составляет обобщенный объект изучения теории эксплуатации
энергооборудования и обозначается для краткости: источник - электроприемник –
технологический объект - служба эксплуатации (система И-Э-Т-С) [55]. Каждый
выделенный элемент системы дает обобщенное представление о реальных объектах.
Источник - это
электрооборудование системы сельского электроснабжения.


Продукция
Рисунок 1.1
Упрощенная схема производственной системы
Электроприемник - это
совокупность электрооборудования от ввода в помещение до рабочего органа или
рабочей зоны технологического объекта, включающая три функциональных звена: Эи -
устройство присоединения к источнику (внутренняя проводка, пускозащитная
аппаратура, средства автоматики и т. п.); Эп - непосредственно
электроприемник-преобразователь энергии (электрическая машина, электронагреватель
и т. п.); Эm – устройство передачи энергии от электроприемника к
технологическому объекту (в электроприводе - муфта или клиноременная передача,
в облучающей установке светильник и т.п.).
Технологический объект - это любая
электрифицированная машина, установка, поточно-технологическая линия и другая
сельскохозяйственная техника.
Служба эксплуатации - это специалисты
электротехнической службы (ЭТС) хозяйства или района, которые контролируют
использование и осуществляют обслуживание (ремонт), а также их
ремонтно-обслуживающая база.
Системы
И-Э-Т-С
|
Среды Труд
Источника
Мате- Продукт
Объекта
риал
Службы
Энергия
Обслуживание, ремонт
|
|


Воздействия Ресурсы
Надежное


и полное



исполь-
зование ЭО
Связь с
другими системами
Рисунок 1.2 Обобщенная схема системы
И-Э-Т-С
Система И-Э-Т-С относится
к типу «человек-машина», через технологический объект она связана с животными,
растениями и с биотехническими системами сельскохозяйственного производства.
Неодинаковая природа связей, возникающих между биологическими и техническими
звеньями, многообразие элементов и связей между ними и ряд других признаков,
присущих данной системе, относят ее к числу сложных. Чтобы упростить
исследование, общую систему И-Э-Т-С разделяют на несколько уровней, на каждом
из которых конкретизируют взаимосвязь специалиста (группы специалистов) ЭТС с
элементами технической системы: от эксплуатации отдельного вида
электрооборудования до эксплуатации целого парка электрооборудования.
Наряду с
перечисленными пространственными границами объект эксплуатации характеризуется
временными границами, которые охватывают процессы использования, обслуживания и
комплектования. Необходимость учета процесса комплектования на стадии
эксплуатации обусловлена тем, что для изделий массового применения
(электропривод, электроосветительная установка и т. п.) требования потребителей
настолько разнообразны, что на стадии создания электрооборудования их нельзя
учесть достаточно подробно и заводу-изготовителю приходится ориентироваться на
некоторые усредненные условия эксплуатации, которые иногда не совпадают с
конкретной системой И-Э-Т-С. Чтобы в этом случае добиться качественного
использования энергооборудования, эксплуатационный персонал должен проверить
правильность его комплектования и при необходимости подобрать другие
типоразмеры или режимы работы, наиболее подходящие для конкретных условий
эксплуатации. Объектом изучения настоящей работы является подсистема И-Э (источник
напряжения - электрооборудование) системы ИЭТС. Одним из элементов под системы
И-Э является РЭС (районные электрические сети).
2.
Технико-экономическое показатели Бердюжского РЭС
Бердюжский район
электрических сетей является одним из структурных подразделений Ишимских
электрических сетей ОАО «Тюменьэнерго». Бердюжский РЭС находится на территории
Бердюжского района Тюменской области в 85 км. от г. Ишима, в 370 км от г.
Тюмени ив 1120 км от г. Сургута.
Климат -
резко-континентальный.
Минимальная
температура - -32°С
Максимальная
температура - +42°С
Среднегодовая
температура - +2.0°С
Число грозовых часов
в году - 60+80
Глубина промерзания
грунта - 1,8м
Грунт в основном -
суглинок и глина.
Преобладающие ветры -
северо-западные
Район по ветру -
II (скоростной напор по ветру 34 кгс/м)
Район по гололеду -
II (толщина стенки гололеда-12 мм).
На территории
производственной базы РЭС располагаются: администрация РЭС, мастерский участок
и ОВБ, гр. ЛЭП и п/ст 35-220 кВ , гостиница, башня Рожновского, насосная башня,
эстокада.
Количество
сотрудников РЭС на 01.01.2005 г. составляло 104 человека, в том числе рабочих
84 человека, руководителей 11, специалистов 7. Объем обслуживания
электрооборудования 9096 у.е. Оперативное обслуживание сетей ведут
оперативно-выездные бригады.
В районе находится
четырнадцать главных понизительных подстанций 110/35/6-10 кВ.
Отпуск электроэнергии,
начиная с 2002 года уменьшился и составил в 2004 году-215.446 млн. кВт. час. на
сумму 116.4 млн.руб.
РЭС обслуживает
примерно 17500 абонентов, в районе 56 населенных пунктов.
Долг потребителей за
отпущенную электроэнергию в 2004 году составил 63,7 млн.руб., в том числе 46,7
млн.руб. сельскохозяйственных потребителей. Средняя заработная плата возросла с
4875 рублей в 2002, до 5738 рублей в 2004 году.
Таблица 2.1
Экономические показатели реализации электроэнергии потребителями РЭС.
|
2002 г
|
2003 г
|
2004 г
|
|
денежная выручка, тыс.
р.
|
себестоимость, тыс. р
|
Прибыль (убытки), тыс.
р
|
Рентабельность %
|
денежная выручка, тыс.
р
|
себестоимость, тыс. р
|
Прибыль (убытки), тыс.
р
|
Рентабельность %
|
денежная выручка, тыс.
р
|
себестоимость, тыс. р
|
Прибыль (убытки), тыс.
р
|
рентабельность, %
|
|
Всего
по
РЭС
|
145600
|
43280
|
585,5
|
8
|
118700
|
46154
|
3784,6
|
8,2
|
116400
|
48094
|
4039,8
|
8,4
|
За анализируемый
период снизилась денежная выручка с 145600 до 116400, увеличилась себестоимость
на 4814 тысяч рублей, рентабельность возросли на 0,4%, увеличилась прибыль.
Таблица 2.2 Объем электрооборудования РЭС
|
Наименование
|
Количество
|
|
2002 г
|
2003 г
|
2004 г
|
|
Объем обслуживания у.е.
|
9096
|
9096
|
9096
|
|
Линии электропередачи
6-10 кВ на ж/б опорах, км
|
884
|
884
|
884
|
|
Линии электропередачи
6-10 кВ на опорах с ж/б приставками, км
|
116
|
116
|
116
|
|
Линии электропередачи
0,4 кВ на деревянных опорах, км
|
394
|
394
|
394
|
|
Линии электропередачи
0,4 кВ на ж/б опорах, км
|
55
|
55
|
55
|
|
Линии электропередачи
0,4 кВ на опорах с ж/б приставками, км
|
357
|
357
|
357
|
|
Общее количество ТП с
одним трансформатором мощностью до 100 кВА, шт.
|
32
|
32
|
32
|
|
То же, мощностью 100
кВА и выше, шт.
|
387
|
387
|
387
|
|
То же, с двумя
трансформаторами мощностью 100 кВА и выше, шт.
|
27
|
27
|
27
|
Объем
электрооборудования РЭС за анализируемый период не изменился.
Таблица 2.3
Обеспеченность основными фондами и оборотными средствами
|
2002 г
|
2003 г
|
2004 г
|
|
Величина основных
производственных фондов, тыс. руб.
|
693604
|
694103
|
695321
|
|
в том числе: линии
0,4-10 кВ, км
|
416162
|
416461
|
417192
|
|
ТП, КТП 6-10/0,4 кВ, шт
|
277441,6
|
277641
|
278128
|
|
Материальные оборотные
средства, тыс.руб.
|
3272
|
2699,3
|
2546,9
|
С 2002.по 2004 год
увеличилась величина основных производственных фондов на 0,3%, возросла
протяженность линий на 0,3%, увеличилось количество КТП и ТП на 0,3%, снизились
материальные оборотные средства на 22%.
Таблица 2.4 Обеспеченность
предприятия транспортными средствами, спецоборудованием, связью, шт.
|
Наименование
|
2002 г
|
2003 г
|
2004 г
|
|
Автомобиль Нива
ВАЗ-2121
|
1
|
1
|
1
|
|
Автомобиль УАЗ- 31512
|
1
|
1
|
-
|
|
Автомобиль УАЗ-39091
|
-
|
1
|
1
|
|
Автомобиль ГАЗ-66
|
1
|
1
|
1
|
|
Вышка на базе ГАЗ-5204
|
-
|
-
|
1
|
|
Буровая установка на
базе ГАЗ-66-15
|
1
|
1
|
-
|
|
Автомобиль Урал 4320
|
1
|
2
|
2
|
|
Вышка на базе ЗИЛ-131
|
1
|
1
|
1
|
|
Кран на базе МАЗ-5337
|
1
|
1
|
1
|
|
Автомобиль ГАЗ-66-15
|
1
|
2
|
2
|
|
Автомобиль ГАЗ-5312
|
3
|
2
|
2
|
|
Трактор Т-150
|
-
|
1
|
1
|
|
Экскаватор на базе
трактора ЮМЗ-6
|
1
|
1
|
1
|
|
Буровая установка на
базе трактора МТЗ-80 бм205
|
-
|
1
|
1
|
|
Трактор Т-40
|
-
|
2
|
2
|
|
Тягач АТС59Г
|
2
|
2
|
2
|
Из таблицы видно, что анализируемый
период парк транспортных средств не изменился. Выездные бригады для работы на
участках оснащены диспетчерской связью.
Таблица 2.5 - Обеспеченность предприятия трудовыми
ресурсами
|
Показатели
|
2002 г
|
2003 г
|
2004 г
|
|
план
|
факт
|
план
|
факт
|
план
|
факт
|
|
Постоянные работники,
чел.
|
136
|
136
|
131
|
131
|
102
|
102
|
|
Коэффициент наличия
труда
|
-
|
1.0
|
-
|
1.0
|
-
|
1.0
|
|
Отработано постоянными
рабочими, чел/дни
|
34136
|
32576
|
32881
|
31401
|
25500
|
24348
|
|
Неявка на работу,
чел.дни.
|
-
|
1560
|
-
|
1480
|
-
|
1152
|
|
Коэффициент
использования трудовых ресурсов
|
-
|
0,96
|
-
|
0,96
|
-
|
0,98
|
В 2004 году резко
сократилась численность персонала за счет сокращения, подготовке к
реструктуризации ОАО «Тюменьэнерго» и отделения энергосбыта в отдельную
самостоятельную организацию.
Таблица 2.6
Аварийность обслуживаемого оборудования
|
Причины аварии
|
2002 г
|
2003 г
|
2004 г
|
|
Число аварий
|
%
|
Число аварий
|
%
|
Число аварий
|
%
|
|
Повреждение силовых трансформаторов
|
2
|
6,3
|
2
|
5,6
|
3
|
8,9
|
|
Обрыв провода
|
1
|
3,1
|
3
|
8,3
|
2
|
5,8
|
|
Перехлестывание проводов
|
8
|
25
|
5
|
14
|
7
|
21
|
|
Падение опор
|
4
|
13
|
3
|
8,3
|
2
|
5,8
|
|
Попадание молнии в линии
|
4
|
13
|
3
|
8,3
|
3
|
8,9
|
|
Перекрытие проводов посторонними
предметами
|
2
|
6,3
|
5
|
14
|
4
|
12
|
|
Разрушение изоляторов
|
1
|
3,1
|
3
|
8,3
|
5
|
15
|
|
Прочие
|
10
|
31
|
33
|
8
|
24
|
|
ВСЕГО
|
32
|
100
|
36
|
100
|
34
|
100
|
С 2002 по 2004 год, в районе растет
аварийность оборудования силовых трансформаторов, обрыва проводов, разрушения
изоляторов, перекрытии проводов посторонними предметами. Произошло снижение
перехлестывание проводов и попадания молнии в линии.
Анализируя деятельность РЭС можно сделать
вывод, что надежность электроснабжения потребителей во многом зависит от
организационно технических и технических мероприятий: повышение требований к
эксплутационному персоналу; рациональная организация текущего ремонта и
капитального ремонта; отыскивания и ликвидация повреждений; обеспечения
аварийных запасов материалов; применение подземных кабельных сетей.
В рассматриваемом РЭС
слабо развиты методики и средства для сушки трансформаторов в процессе
эксплуатации.
Максимальный эффект
от повышения надежности электроснабжения может быть получен при комплексном
использование различных мероприятий и средств.
В следствие этого
темой дипломного проекта являлось «Совершенствование электротехнической службы
Бердюжского РЭС ОАО «Тюменьэнерго».
Темой вопроса
специальных исследований являлась сушка трансформаторов в реальных условиях
сельскохозяйственного производства.
3. Организация эксплуатации воздушных
линий электропередач и трансформаторных подстанций в РЭС
3.1 Общие положения
Проектом
предусматривается эксплуатация воздушных линий электропередач ВЛ 0,4-10 кВ и
трансформаторных подстанций 6-10/0,4 кВ заключается в проведении технического и
оперативного обслуживания, восстановительного и капитального ремонтов,
направленных на обеспечение их надежной работы.
При техническом
обслуживании (ТО) должны проводиться работы по предохранению элементов ВЛ от
преждевременного износа путем устранения повреждений и неисправностей,
выявленных при осмотрах, проверках и измерениях.
При капитальном
ремонте (КР) выполняются ремонт деталей и элементов, замена их новыми и пр.
Дефекты ВЛ и ТП,
которые вызывают непосредственную угрозу безопасности населения и
обслуживаемого персонала, возникновению пожара и пр. устраняются
незамедлительно.
Техническое
обслуживание и ремонт должны быть организованы с максимально возможным
сокращений продолжительности отключения ВЛ и ТП, с использованием спец машин, такелажа,
инструмента и приспособлений, средств связи.
При техническом
обслуживании и капитальном ремонте в РЭС применяются комплексный метод
планирования, организации, выполнения и учета работ, что позволяет улучшить
организацию труда, повысить качество работ и эффективность использования машин
и механизмов.
В целях повышения производительности
труда, используется совмещения профессий водителей крановщиков, водителей с
профессией электромонтера.
3.2 Планирование
работ по техническому обслуживанию и капитальному ремонту
Для поддержания
работоспособности ВЛ и ТП на каждом предприятии должно быть организовано
техническое обслуживание, планово предупредительные ремонты, объем,
периодичность и сроки которые устанавливаются при составлении годовых и
долгосрочных планов.
Для обеспечения
планирования работ по ТО и КР в РЭС составлены:
1. Месячным
план-график ТО и КР на ВЛ 0,4-10 кв и ТП 6-10/0,4 кВ.
2. Годовой
план-график ТО и КР на ВЛ 0,4-10 кВ и ТП 6-10/0,4 кВ.
3. Долгосрочный
план-график ТО и КР на ВЛ 0,4-10 кВ и ТП 6-10/0,4 кВ.
Долгосрочный и
годовой план-график технического обслуживания и капитального ремонта ВЛ и КР
составлены в соответствии с Правилами технической эксплуатации.
Техническое
обслуживание ВЛ и КР должны про водиться два раза в год.
Капитальный ремонт
производится в сроки, устанавливаемые в зависимости от конструкции и
технического состояния ВЛ, категорийности потребителей, с периодичностью более
одного года, не реже одного раза в пять лет для ВЛ на деревянных опорах и не
реже одного раза в десять лет для ВЛ на железобетонных и металлических опорах,
(п.2.3.8. Правил эксплуатации электроустановок потребителей).
Месячный план-график
отключений составляется на основании годовых планов ТО и КР и должен
обеспечивать минимальный недоотпуск электроэнергии. при плановых отключениях,
сохранность сельскохозяйственных угодий, учитывать сезонный характер отдельных
видов работ.
Для нормального обеспечения эксплуатации
ВЛ 0,4-10 кв и ТП 6-10/0,4 кв в РЭС ведется следующая техническая документация
таблица.3.1
Все изменения на
эксплуатируемых воздушных линиях 0,4 - 10 кВ и ТП 6-10/0,4 кВ, а так же
технические данные новых объектов после их приемки в эксплуатацию в РЭС
заносятся в техническую документацию.
Таблица 3.1. Перечень
технической документации по эксплуатации ВЛ 0,4-10 кВ и ТП 6-10/0,4 кВ в РЭС
|
Техническая
документация
|
Место хранения
|
Срок хранения
|
|
1. Поопорная схема
паспорт ВЛ 6-10 кВ
|
РЭС
|
в течении всего срока эксплуатации
|
|
2. Поопорная схема
паспорт ВЛ 0,4 кВиТП
|
РЭС
|
в течении всего срока эксплуатации
|
|
3. Журнал дефектов ВЛ
6-10 кВ
|
РЭС
|
-«-
|
|
4. Лист осмотра ВЛ 6-10
кВ
|
РЭС
|
-«-
|
|
5. Журнал дефектов ВЛ
0,4 кВ
|
РЭС
|
-«-
|
|
6. Ведомость отказов ВО
6-10 кВ
|
РЭС
|
10 лет
|
|
7. Ведомость нарушения
в сетях 0,4 кВ и ТП
|
РЭС
|
10 лет
|
|
8. Лист осмотра ТП и ВЛ
0,4 кВ
|
РЭС
|
до очередного КР
|
|
9. Однолинейная схема
ВЛ 6-10 кВ
|
РЭС
|
-«-
|
3.3 Техническое
обслуживание воздушных линий электропередач и трансформаторных подстанций
При обслуживании
необходимо следить за техническим состоянием ВЛ и ТП в целом, их элементов
путем проведения осмотров, профилактических проверок и устранять повреждения и
неисправности.
Перечень работ,
относящихся к техническому ремонту и обслуживанию В.Л, устанавливается «Типовой
инструкцией по техническому обслуживанию и капитальному ремонту воздушных линий
электропередач и напряжений».
На ВЛ должны быть
организованы периодические и внеочередные осмотры.
Периодические осмотры ВЛ проводя по
графику. Периодичность осмотров каждой ВЛ по всей длине должна быть не реже
одного раза в год. Внеочередные осмотры ВЛ должны проводится при образовании на
проводах и тросах гололеда, при пляске проводов, во время ледохода и разлива
рек, при пожаре в зоне трассы ВЛ, рослее сильных бурь, ураганов и других
стихийных бедствий.
При осмотре ВЛ
необходимо проверять: противопожарное состояние трассы, состояние фундаментов и
приставок, состояние опор, состояние проводов и тросов, состояние изоляторов и
арматуры, состояние разрядников коммутационной аппаратуры на ВЛ.
Техническое
обслуживание ВЛ и ТП проводится за счет эксплутационных расходов предприятия.
Работы по техническому обслуживанию, выполняемые одновременно с капитальным
ремонтом, осуществляются за счет амортизационных отчислений на капитальный
ремонт.
Работы по ТО
выполняются электромонтерами РЭС, за исключением осмотров отдельных участков ВЛ
и участков ВЛ, включенных в план КР на будущий год, который выполняется
инженернотехническими работниками РЭС.
3.4 Капитальный
ремонт воздушных линий электропередач и трансформаторных подстанций
При капитальном
ремонте могут осуществляться работы по замене отдельных опор, деталей опор,
проводов, изоляторов и др.
Замена всех опор на
ВЛ в течении одного капитального ремонта не допускается. Количество заменяемых
опор при одном капитальном ремонте не должно превышать 30% от общего количества
опор на ВЛ.
В качестве одного
объекта КР принимаются:
- одна ВЛ 6-10 кВ;
- все ВЛ 0,4 кВ
одного ТП или населенного пункта.
Если объект включен в
план проведения реконструкции на ближайшие пять лет, то на объекте в течение
предыдущих лет выполняются только работы по ТО.
При КР выполняются
следующие виды работ:
- все виды работ по
ТО, выполнение которых предусматривается в год производства ТР;
- все работы,
отнесенные к КР в соответствии с «типовой инструкцией по техническому
обслуживанию и капитальному ремонту воздушных линий электропередач и напряжений
0,38-20 кВ.» (М. СПО Союзтехэнерго, 1987 год.):
- работы по повышению
надежности ВЛ и ТП.
Ремонтные работы на
ВЛ и ТП должны производится по типовым картам организации труда на основании
перечня ремонтных работ на данный объект или по проектам производства работ.
4. Расчет состава обслуживающего
персонала РЭС
4.1 Общая часть
Район электрических
сетей (РЭС) осуществляет оперативное, техническое обслуживание и ремонт
распределительных сетей 04-110 кВ и п/ст 35-110 кВ на обслуживаемой территории.
Границы РЭС
устанавливаются с учетом протяженности воздушных и кабельных линий. Числа
подстанций и условий их эксплуатации. Численность персонала предприятия
электрических сетей рассчитывается с учетом нормативного документа министерства
топлива и энергетики Российской федерации «Рекомендуемые организационные
структуры управления и нормативы численности промышленно-производственного
персонала электрических сетей», утвержденного бывшим Заместителем Министра
В.В.Кудрявым от 21.08.96 г.
Нормативы
предусматривают необходимую численность рабочих, инженерно-технических
работников и служащих для выполнения всего комплекса работ по оперативному,
техническому обслуживанию и ремонту распределительных сетей 0,4-10 кВ в
соответствии с действующими нормативно-техническими документами:
1. Правила устройства
электроустановок.
2. Правила
пользованием электрической энергии.
3. Правила
эксплуатации электроустановок потребителей.
4. Правила
технической эксплуатации электрических станций и сетей РФ РД 34.20.501-95 (15
издание), положением о РЭС, производственными инструкциями и другими нормативно
- техническими документами. Нормативы, учитывают численность водителей,
обслуживающих автотранспортную технику и спец- механизмы, трудозатраты на
проезд бригад до места и обратно, определяют фонд заработной платы и др.
Комплексный ремонт распределительных
сетей и техническое обслуживание выполняют бригады мастерских участков.
Оперативное и техническое обслуживание распределительных сетей в РЭС
осуществляют в основном оперативно-выездные бригады и оперативно-ремонтный
персонал мастерских участков.
4.2 Определение
численности рабочих и ИТР РЭС
Численность рабочих,
осуществляющих оперативное и техническое обслуживание распределительных сетей
0,4-20 кВ должна определяться по количеству оборудования, закрепленным за РЭС,
с учетом плотности распределительных сетей 0,4-10 кВ. Плотность
распределительных сетей определяется путем деления протяженности воздушных
линий 0,4-10 кВ района электрических сетей на площадь территории РЭС в тысячах
квадратных километров. Из площади исключаются территории, не имеющие устройств
РЭС (леса, болота и т.п.).
Для определения
численности рабочих, осуществляющих техническое обслуживание и ремонт
распределительных сетей 0,4-10 кВ расчет производится по количеству
оборудования, закрепленных за районом электросетей (таб. 4.1 и 4.2).
Нормативная
численность ИТР и служащих РЭС определяется от нормативной численности
персонала района в зависимости от длинны ВЛ 0,4 - 20 кВ и увеличивается из расчета
один ИТР на 150 ТП, один ИТР на 250 соединений с выключателем в РП, один ИТР на
250 км кабельных линий. Результат расчета сводим в таблицу 4.3
Таблица 4.1. Расчетная
численность рабочих по оперативному и техническому обслуживанию ВЛ 0,4 кВ по
данным РЭС
|
Наименование
|
ВЛ 2-20 кВ
на железобетонных опорах
|
ВЛ 2-20 кВ
на деревянных опорах с железобетонными приставками
|
ВЛ до 1 кВ
на деревянных опорах с железобетонными приставками
|
ТП, КТП,
КТПП 6-20/0,4 кВ с одним трансформатором
|
То же, с
двумя трансформаторами
|
|
|
Единица
измерения
|
км
|
км
|
км
|
ед.
|
ед.
|
|
|
Протяженность,
км, кол-во оборудования, ед.
|
884
|
116
|
357
|
430
|
35
|
|
|
Норматив
|
0,84
|
0,91
|
1,05
|
1,75
|
1,79
|
|
|
Расчетная
численность
|
8,04
|
1,05
|
3,74
|
7,5
|
0,62
|
20,95
|
|
ИТОГО по
РЭС
|
|
|
|
|
|
|
Таблица 4.1. Расчетная
численность рабочих по ремонту ВЛ 0,4-10 кВ, ТП 6-10/0,4 кВ по данным РЭС
|
Наименование
|
ВЛ 2-20 кВ
на железобетонных опорах
|
ВЛ 2-20 кВ
на деревянных опорах с железобетонными приставками
|
ВЛ до 1 кВ
на деревянных опорах с железобетонными приставками
|
ТП, КТП,
КТПП 6-20/0,4 кВ с одним трансформатором
|
То же, с
двумя трансформаторами
|
Присоединения
с выключателем в РП 6-20 кВ
|
Присоединения
с ВН в РП 6-20 кВ
|
|
|
Единица
измерения
|
км
|
км
|
км
|
ед.
|
ед.
|
ед.
|
ед.
|
|
|
Протяженность,
км, кол-во оборудования, ед.
|
884
|
116
|
357
|
430
|
35
|
116
|
283
|
|
|
Норматив
|
0,84
|
0,91
|
1,05
|
1,75
|
1,79
|
0,96
|
0,55
|
|
|
Расчетная
численность
|
8,04
|
1,05
|
3,74
|
7,5
|
0,62
|
1,11
|
1,55
|
15,5
|
|
ИТОГО по
РЭС
|
|
|
|
|
|
|
|
|
ИТОГО по РЭС
Таблица 4.3 Расчетная численность ИТР и служащих по функции
оперативное, техническое обслуживание и ремонта распредсетей 0,;-20 кВ по
данным РЭС
|
Протяженность
ВЛ 0,4-20 кВ
|
1357
|
|
Нормативная
численность рабочих РЭС по функциям
|
104
|
|
Число ИТР и
служащих
|
11
|
|
Специалистов
|
7
|
|
Количество
ТП, КТП, КТПП 6-20/0,4 кВ
|
3
|
|
Количество
присоединения РП 6-20 кВ
|
1
|
|
Нормативная
численность ИТР по РЭС составит
|
|
5. Структура управления РЭС
Организационная
структура управления РЭС устанавливается в зависимости от нормативной
численности персонала района электросетей и выполняемых им функций.
Район электрических
сетей возглавляет начальник РЭС, который осуществляет руководство
производственно-хозяйственной деятельностью района электросетей.
Главный инженер РЭС
осуществляет организационно-техническое руководство эксплуатацией
распределительных сетей, ремонтом оборудования, сооружений, реконструкции и
расширением распределительных сетей района. Разрабатывает и составляет
долгосрочные, годовые и месячные план графики технического обслуживания ВЛ
0,4-ЮкВ и ТП 6-10/0,4кВ. Контролирует ведение технической, оперативной
документации персоналом РЭС, соблюдение нормативно-технической документации,
должностных и производственных инструкций.
На территории
Бердюжского района находится 14 главных понижающих подстанций 110/35/10 кВ.
Оперативное и
техническое обслуживание, эксплуатацию распределительных сетей в Бердюжском РЭС
выполняют 10 участков: Бердюжский участок - 1, Бердюжский участок - 2,
Кузнецовский участок, Песчянский участок, участок по ремонту высоковольтных
линий, участок по ремонту распредустройств, участок релейной защиты, участок
связи и телемеханики и др.
Во главе каждого
мастерского участка находятся мастер на правах инженера-электрика. На каждого
мастера возлагается руководство по оперативному и техническому обслуживанию распределительных
сетей.
Работа
оперативно-выездных бригад и оперативно-диспетчерской группы организована
круглосуточно по сменам. Оперативно-выездные бригады выполняют подготовку
рабочих мест к производству работ, ликвидируют повреждения в распределительных
сетях 0,4-10 кВ, выполняют оперативные и аварийные переключения. В смену
оперативно-выездной бригады входит электромонтер с IV группой по технике
безопасности, являющийся старшим в смене, и водитель электромонтер с III группой
по технике безопасности.
В административном
отношении электромонтеры оперативно-выездной бригады подчиняются начальнику
РЭС, а в оперативном - диспетчеру РЭС.
Техническое
обслуживание и ремонт электрооборудования на базе Бердюжского РЭС выполняет
бригада по ремонту электрооборудования, включая слесарей из группы по ремонту и
обслуживанию подстанций.
Оперативно-диспетчерская
группа осуществляет оперативно-диспетчерское управление распределительными
сетями 0,4-10 кВ, ТП 6-10/0,4 кВ. На оперативно диспетчерскую группу
возлагается ведение технической документации, руководство оперативной работой.
Возглавляет оперативно-диспетчерскую группу инженер-диспетчер, который является
старшим оперативным руководителем для всего-персонала района электросетей.
В административном
отношении оперативно-диспетчерская группа подчиняется начальнику РЭС, а в
оперативном - диспетчеру Ишимских электрических сетей ОАО «Тюменьэнерго».
Ишимский РЭС, база
которого находится в г. Ишим обслуживает 5 районов, включая Бердюжский.
В процессе
осуществления своих функций Бердюжский РЭС взаимодействует со следующими
подразделениями ЗЭС «Тюменьэнерго»:
1. Со службой
распределительных сетей 0,4-10 кВ. служба осуществляет планирование работ по
комплексному техническому обслуживанию и капитальному ремонту сетей 0,4-10 кВ и
ТП 6-10/0,4кВ.
2. Со службой подстанций, которая
производит ремонт оборудования и обслуживание подстанций 110/35/10 кВ.
3. С
оперативно-диспетчерской службой, которая осуществляет оперативно-диспетчерское
обслуживание сетей 110/35/10кВ и подстанций 110/35/10.
4. Со службой
механизации и ремонта, которая решает вопросы капитального ремонта
автотранспортных средств, спецтехники и механизмов, закрепленных за РЭС.
Обеспечивает их запасными частями, авторезиной, такелажными приспособлениями.
5. Со службой
изоляции и защиты от перенапряжений, которая решает вопросы защиты БЛ и ТП и
другого оборудования от гроз. Проводит испытания изоляции на ТП, оборудования и
защитных средств.
6. Со службой
релейной защиты и автоматики, которая производит обслуживание приборов учета на
подстанциях, согласовывает установки защиты.
7. Со службой средств
диспетчерского и технического управления, решает вопросы обеспечения
подразделений РЭС всеми видами связи при оперативно - техническом обслуживании
распредсетей.
8. С отделом сбыта,
решает вопросы отпуска и учета электроэнергии.
Укомплектование
подразделений РЭС производится в пределах нормативной численности инженерно -
технических работников и служащих. Исходя из этого выбрана структура управления
РЭС.
Из структуры
электротехнической службы видно, что бригада по ремонту электрооборудования
состоит из 7 человек.
Состав бригады в
дежурной (бригады по ремонту электрооборудования) группе рассчитывается по
формуле:
(5.1
)
где
- суммарные
затраты труда на текущий ремонт и техническое обслуживание по данным РЭСа
составляют 68407,5 человек/час;
Кдеж =
0,15...0,25 - коэффициент долевого участия в затратах труда на дежурное (оперативное)
обслуживание в плановых затратах труда на техническое обслуживание и текущий
ремонты;
Фд -
действительный фонд рабочего времени одного работающего, ч., вычисляют по
формуле:
Фд = (Дкаленд
– Двых – Дпразд – Дот)*tсм*
-b*d, (5.2)
где Дкаленд
- количество календарных дней в году;
Двых -
количество выходных дней в году;
Дпразд -
количество праздников в году;
Дот -
количество дополнительных дней к отпуску в году;
tсм -
продолжительность смены;
= 0,95 - коэффициент, учитывающий
потери рабочего времени по уважительной причине;
b - число часов, на которые укорочен день;
d - количество
предпраздничных дней.
Фд =
(365-52-6- 5)*6,83*0,95 - 1 *5=1954,5 ч.
Nдеж=39090*0,2/1954,5=4
чел.
6. Разработка базы
технического обслуживания и ремонта электрооборудования РЭС (БТОР)
6.1 Общая часть
База .рассчитывается
для количества условных единиц оборудования 9096. Число рабочих ремонтной
группы - Np=7 чел.
В распоряжении РЭС
имеется кирпичное здание с размерами в плане 12х 12 м, в котором
предусматривается выполнение работ, связанных с техническим обслуживанием и
ремонтом электрооборудования, пускозащитной аппаратуры и пр.
Площадь помещений
БТОР включает в себя:
участок очистки и
разборки - 14,4 м
участок ремонта
электрооборудования - 45 м
участок ремонта
пускозащитной аппаратуры - 20 м
участок покраски и
сушки
Помещения для
ремонтного персонала
Коридор
Каждый участок
оснащен согласно действующих нормативов технолоическим оборудованием,
средствами механизации, приспособлениями и инструментом в зависимости от
технологии ремонта и вида ремонтируемого оборудования.
Перечень оборудования
средств механизации, приборов приспособлений и инструмента приведен в таблице
6.1.
Таблица 6.1. Перечень оборудования средств механизации, приборов,
приспособлений и инструмента
|
№
п/п
|
Наименование
|
Тип,
марка, ГОСТ или № раб. Чертежей
|
Краткая
техническая характеристика
|
Кол-во
|
|
1
|
2
|
3
|
4
|
5
|
|
Участок очистки и разборки.
|
|
1
|
Стелаж
для складирования эл. оборудования
|
ОРГ-1468-05-320
ГОСТИНИ
|
1800х800х800
|
1
|
|
2
|
Верстак
слесарный
|
ОРГ-1468-01-060А
|
1200х800х805
|
1
|
|
З
|
Компрессор
диафрагменный
|
ГП-0,15/10
|
1,5
ат, Р=4,0 кВт
|
1
|
|
4
|
Сварочный
трансформатор
|
ТС-300
|
Р
= 13,6 кВт
|
1
|
|
5
|
Вентилятор
вытяжной
|
Ц4-70
‚ №5
|
Р
= 1,5 кВт
|
1
|
|
6
|
Щит
для сварочных работ
|
5157.000
ГОСТИНИ
|
1600х500х1800
|
1
|
|
Участок ремонта электрооборудования
|
|
1
|
Точильный
аппарат
|
ТА-255
|
Р
= 1,5 кВт
|
1
|
|
2
|
Стенд
для испытаний эл. оборудования
|
КИ-б3б0
|
Р
= 7,1 кВт
|
1
|
|
З
|
Верстак
слесарный
|
ОРГ-1468-01-060А
|
1200х800х805
|
2
|
|
4
|
Электротелфер
|
2
тонны
|
Р
= 2,2 кВт
|
1
|
|
5
|
Стелаж
для деталей
|
ОСНИ-76
|
|
1
|
|
6
|
Тележка
ручная для перевозки оборудования
|
ОПР-2322
|
|
1
|
|
Участок ремонта ПЗА
|
|
1
|
Стенд
для ремонта и настройки
|
70-7920-2206
|
Р
= 6,65 кВт
|
1
|
|
2.
|
Точильный
аппарат
|
ТА-255
|
Р
= 1,5 кВт
|
1
|
|
З
|
Станок
сверлильный
|
НС12А
|
Р
= 0,6 кВт
|
1
|
|
4
|
Верстак
слесарный
|
ОРГ-14868-01-060А
|
1200х800х805
|
2
|
|
5
|
Ванна
для промывки деталей
|
ОКС
1513
|
400х300х200
|
1
|
|
6
|
Шкаф
для инструмента
|
5126.000
ГОСТИНИ
|
1600х4ЗОх1900
|
2
|
|
Участок покраски и сушки
|
|
1
|
СИОЛ-3,5
|
Р
= 5 кВт
|
1
|
|
2
|
Вентилятор
вытяжной
|
Ц4-70
№5
|
Р
= 0,25 кВт
|
1
|
|
З
|
Кран
консольный
|
ЭТ-0,5
|
Р
= 3 кВт
|
1
|
|
4
|
Окрасочная
камера
|
О
З1л
|
|
1
|
|
5
|
Секция
стеллажа
|
5152.000
ГОСТИНИ
|
1500хб00хб00
|
1
|
|
Приборы
|
|
1
|
Комплект
измерительных приборов
|
К
– 51
|
|
1
|
|
2
|
Амперметр
|
Э-365-1
|
|
2
|
|
З
|
Вольтметр
|
Э-365-1
|
|
2
|
|
4
|
Трансформаторы
тока
|
Т
0,66 УЗ
|
|
2
|
|
5
|
Токоизмерительные
клещи
|
Ц-4505м
|
|
2
|
|
б
|
Мегометр
500-2500 В
|
ЭС-0202/2Г
|
|
2
|
|
7
|
Комбинированный
прибор
|
Ц-4326
|
|
1
|
6.2 Компоновка помещении БТОР
План и размеры помещения БТОР зависят от
применяемой технологии, схемы ремонта и вида электрооборудования рисунок 6.1.
Рисунок 6.1 – План БТОР на ОТМ.0,000 с компоновкой силового
оборудования.
I - Участок ремонта ПЗА:
1. Точильный аппарат
3. Стенд для ремонта
и настройки ПЗА
II - Участок ремонта
электрооборудования:
4. Электротельфер
5. Точильный аппарат
6. Стенд для
испытания электрооборудования
III - Участок очистки и разборки:
7. Компрессор
воздушный диафрагменный
8. Центробежный
вентилятор вытяжной
9. Сварочный
трансформатор
IV - Участок покраски
и сушки:
10. Сушильный шкаф
11. Центробежный
вентилятор вытяжной
12. Кран консольный
V. Помещение для ремонтного персонала.
VI. Коридор.
6.3 Расчет
осветительной сети БТОР
6.3.1 Светотехнический
расчет
Искусственное
освещение позволяет компенсировать нехватку естественного дневного света при
минимальных затратах электроэнергии, электротехнического оборудования и
материалов. Освещение влияет на повышение производительности труда, качество
выполняемых работ. Светотехнический расчет сводится к выбору вида и системы
освещения, нормированной освещенности, коэффициента запаса световых приборов и
расчету размещения световых приборов, мощности источников света.
Расчет освещения
помещения участка по ремонту пускозащитной аппаратуры ведется методом
коэффициента использования светового потока. Этот метод принимается при расчете
равномерного освещения горизонтальных поверхностей с учетом отражения от стен,
потолка и пола световых потоков.
Вид освещения -
рабочее.
Плоскость
нормирования освещения - горизонтальная.
Высота рабочей
плоскости от пола hp=0,8 м.
Нормированная освещенность
Е= 100 лк [7]
Коэффициент запаса
Кз= 1,3
Коэффициент
неравномерности распределения светового потока Z=1,15
Размер помещения
5,8х3,4х4 (h) м
Коэффициенты
отражения Рпола= 10%; Рстен= 30%; Рпот = 50%.
Тип светильника; ЛСП23
Определяем расчетную
высоту подвеса:
H0=H0-hр-hсв, м (6.1
)
где Н0 - высота помещения;
hсв - высота свеса светильника
Нр = 4-0,8-0,2=3м.,
Оптимальное
расстояние между светильниками:
-Нр<L<
э Нр (6.2)
где
и
э - относительные светотехнические и энергетические
расстояния между светильниками.
0,9-3<L<1-3
2,7 < L < 3
принимаем L = 2,9 м
Число светильников в
ряду:
светильников (6.3)
Число рядов
светильников:
ряд
(6.4)
где а и b -
длина и ширина помещения, м
Общее число
светильников
N= па · пb = 2
· 1 = 2 шт
Индекс помещения:
(6.5)
По справочнику [7] определяем коэффициент
использования светового потока по известным значениям: I, Рпола, Рстен,
= 0,38
Определяем расчетный
световой поток:
(6.6)
Выбираем лампу
ЛБР-40. Световой поток одной лампы Фл=2500лм. Световой поток не должен
превышать расчетный более чем на 20% и быть меньше 10%.
(6.7)
Условие соблюдается.
Принимаем к установке
в помещении ремонта электрооборудования 15 светильников типа ЛСП23 -2х40
Расчетная
установленная мощность светильников
РУСТ=РСВ·n
= (40·2}·2 = 160 Вт (6.8)
Удельная мощность:
Вт/м2 (6.9)
Расчет остальных
помещений БТОР выполняются аналогично, и результаты расчета сведены в таблицу
6.2
Рисунок 6.3 План БТОР с нанесением
осветительных сетей
6.3.2 Электротехнический расчет
Осветительные нагрузки базы технического обслуживания и
ремонта электрооборудования разделены на группы. Для питания осветительных
установок применяется напряжение 380/220 В.
При составлении расчетной схемы следует руководствоваться
следующими рекомендациями
предельный ток группы не должен превышать 25 А.
число светильников на однофазную двухпроводную группу не
должно превышать 20 штук.
длина четырехпроводной группы должна быть около 80 м, а трех и двухпроводной - 60 и 35 м.
На расчетной схеме указываются все осветительные щиты и
отходящие, число проводов и длина групп, мощность источников света и их
удаленность от щита.
Рисунок 6.4 - Расчетная схема осветительной сети
Сечения проводов выбираются исходя, из допустимой потери
напряжения и проверяются по нагреву и механической прочности.
Допустимая потеря напряжения
принимается равной 2,5 % (0,2% потери на вводе
в ОЩ и 2,3% в группе).
Рассчитываем внутреннюю проводку для осветительных сетей.
Сечение провода для группы I:
(6.10)
где Мi =I·Рi - электрический момент
С - коэффициент, учитывающий число проводов, материал и
напряжение питающей сети.
Mi=2,8 ·
0,24 +5,5 · 0,24 = 4,36 кВт
–м.
Принимаем сечение провода S = 2,5 мм2, АПВ. [9] Проверим на длительно
допустимый ток:
(6.11)
где
- суммарная мощность светильников
UФ - фазное напряжение сети, В
для провода АПВ S =
2,5 мм2, Iдоп=24 А.
Уточним потери
напряжения в сети:
(6.12)
Сечение проводов для
группы 2:
Мгр2 =3,2 · 0,08 + 8,2 · 0,16 = 1,56 кВт·м
мм2
Принимаем сечение
провода S = 2,5 мм2, провод АПВ, Iдоп=24 А.
Уточним потерю
напряжения:
Сечение проводов для
группы 3:
Мгр3=10,8·0,16+10,4·0,08+13,2·0,08
= 3,62 кВт·м
Принимаем сечение провода
S = 2,5 мм2, провод АПВ, Iдоп=24 А.
Уточним потерю
напряжения:
Сечение провода на
вводе ЩО:
(6.13)
Принимаем сечение
провода S = 2,5 мм2 , провод АПВ, Iдоп=24 А.
Длительно-допустимый
ток:
(6.14)
Уточним потерю напряжения:
0,72%<2,5%
Все осветительные
сети подлежат защите от коротких замыканий. Кроме того, требуется защита от
перегрузок сетей, выполненных открыто проводами с горючей изоляцией. Для защиты
групп осветительных сетей выбираем автоматические выключатели типа ВА 5125,
установленные в осветительном щите типа ПР 8501.
Выбор автоматического
выключателя проведем на примере первой группы.Условия выбора следующие:
Uн.aвт.≥ Uн.сети
380 В> 220 В
Iн.aвт.≥ Iраб.
Iн.aвт = 25А> 1.35
А
Iт.p.≥ Ip
5А>1.35А
Iэ.м.р. ≥10 Iн.т.p.
= 10 · 5 = 50 А
Расчеты для второй и третьей групп про
изводится аналогично. На вводе в осветительный щит выбираем автомат типа ВА
5125.
Iн.aвт. = 25 А
расцепитель комбинированный
Uн.aвт.≥
Uн.сети
380 В = 380 В
Iн.aвт.≥ Iраб.
Iн.aвт = 25А> 1.7
А
Iт.p.≥ Ip
5А>1.7А
Iэ.м.р. ≥10 Iн
= 10 · 5 = 50 А
Проверка на
срабатывание защиты при однофазном коротком замыкании:
3 · 50А<211А 150А<211А
где Zтp - полное
сопротивление трансформатора;
Zп - сопротивление
петли фаза-ноль;
Uф - фазное
напряжение сети.
Светотехническая ведомость
|
Удель-ная мощ-ность, Вт/м2
|
8
|
10,6
|
5,5
|
5,5
|
6,6
|
4,7
|
6,7
|
|
|
Уста-новленная мощ-ность, Вт
|
160
|
480
|
80
|
80
|
160
|
80
|
40
|
1080
|
|
Лампа
|
Мощность, Вт
|
40
|
40
|
40
|
40
|
40
|
40
|
40
|
|
|
тип
|
ЛБР 40
|
ЛБР 40
|
ЛБР 40
|
ЛБР 40
|
ЛБР 40
|
НБК-40
|
НБК-40
|
|
|
Светильник
|
Коли-чество
|
2
|
6
|
1
|
1
|
2
|
2
|
1
|
|
|
тип
|
ЛСП23 2х40
|
ЛСП23 2х40
|
ЛСП23 2х40
|
ЛСП23 2х41
|
ЛСП23 2х42
|
НСП 02
|
НСП 03
|
|
|
Коэф-фици-ент
запаса
|
1,3
|
1,3
|
1,3
|
1,3
|
1,3
|
1,15
|
1,15
|
|
|
Нормированная осве-щен-ность
|
100
|
200
|
100
|
100
|
100
|
10
|
2
|
|
|
Сис-тема освеще-ния
|
общ.
|
общ.
|
общ.
|
общ.
|
общ.
|
общ.
|
деж.
|
|
|
Вид осве-щения
|
раб.
|
раб.
|
раб.
|
раб.
|
раб.
|
деж.
|
деж.
|
|
|
Коэфф-ты
|
Пола, %
|
10
|
10
|
10
|
10
|
10
|
10
|
-
|
|
|
Потолка, %
|
50
|
50
|
50
|
50
|
50
|
10
|
-
|
|
|
Стен, %
|
30
|
30
|
30
|
30
|
30
|
30
|
30
|
|
|
Характеристика помещений
|
Класс помещен. по
|
сух.
|
сух.
|
сух.
|
сух.
|
сух.
|
сух.
|
влаж.
|
|
|
Высота расчета, м
|
4
|
4
|
4
|
4
|
4
|
4
|
4
|
|
|
Пло-щадь, м2
|
20
|
45
|
14,4
|
14,4
|
24
|
16,8
|
6
|
|
|
Наименование
|
1. Участок ремонта ПЗА
|
2. Участок ремонта
электрооборудования
|
3. Участок очистки и разборки
|
4. Участок покраски и сушки
|
5. Помещения ремонтного персонала
|
6. Коридор
|
7. Освещение входа
|
|
6.4 Расчет силовых
электрических сетей БТОР
Таблица 6.3.
Технические данные электрооборудования БТОР
|
Наименование
оборудования
|
Кол-во
|
Номинальная мощность,
кВТ.
|
Коэффициент загрузки
|
Ррасч, кВт
|
|
Участок очистки и
разборки
|
|
Компрессор
диафрагменный
|
1
|
4
|
0,8
|
3,2
|
|
Сварочный трансформатор
|
1
|
1,5
|
1,35
|
|
Вентиляционная
установка
|
1
|
13,6
|
0,95
|
12,92
|
|
Участок ремонта
электрооборудования
|
|
Электротелфер
|
1
|
2,2
|
0,85
|
1,87
|
|
Точильный аппарат
|
1
|
1,5
|
0,95
|
1,425
|
|
Стенд для испытаний эл.
оборудования
|
1
|
7,1
|
0,95
|
6,745
|
|
Участок ремонта ПЗА
|
|
Точильный аппарат
|
1
|
1,5
|
0,95
|
1,425
|
|
Станок сверлильный
|
1
|
0,6
|
0,95
|
0,57
|
|
Стенд для ремонта и
настройки ПЗА
|
1
|
6,65
|
0,95
|
6,3175
|
|
IV. Участок покраски и сушки
|
|
Сушильный шкаф
|
1
|
5
|
1
|
5
|
|
8ентиляционнаяустановка
|
1
|
0,25
|
0,9
|
0,225
|
|
Кран консольный
|
1
|
3
|
0,8
|
2,4
|
|
ИТОГО
|
|
|
|
47,23
|
Для распределения
нагрузки в помещения БТОР и защиты электрических сетей от токов короткого
замыкания выбираем силовой распределительный щит серии МР-8501-1000 c
автоматическими выключателями на входящих линиях ВА 5131 и ВА 5139 на вводе.
(10)
Выбор защитных
аппаратов и проводов проведем на примере в помещении участка покраски и сушки,
где имеются сушильный шкаф, вентиляционная установка и консольный кран.
Номинальный ток
сушильного шкафа:
(
6.15)
где
- коэффициент полезного действия
вентилятора
cos
: коэффициент мощности двигателя
Номинальный ток
электродвигателя консольного крана:
где
- коэффициент полезного действия
крана
Тогда расчетный ток
четвертой группы составит:
IрасчIV. =8,45+0,74+7,3=16,5 А
Выбор автоматического
выключателя сушильного шкафа:
Выбираем
автоматический выключатель типа ВА 5125
Uн.aвт.≥
Uн.сети
380 В = 380 В
Iн.aвт.≥ Iраб.
Iн.aвт.=25 А> 8,45 A
Iт.p. = 1,25 · Ip = 1,25 · 8,45 =10,6 А
Выбираем стандартный
тепловой расцепитель
Iт.p.= 12,5 А>
10,6 А
4. Iэ.м.р = 10 · Iтp
= 10 · 12.5=125 А
Iэ.м.р:= 1,25 · 12,5
= 15,6 А 125 А> 15,6 А.
Допустимый ток
провода:
где Кl = 1
поправочный коэффициент на температуру окружающей среды (15°С).
К2 = 1 -
коэффициент на число прокладываемых проводов (К2 = 1 при четырех проводах)
Выбираем провод АПВ
4х2,5
Iдоп=19А> 15А [9]
Проверка провода по
потере напряжения
U%:
где i -
удельная проводимость алюминия.
S - сечение про вода, мм2
l - длина проводника, м.
Допустимая потеря
напряжения на отходящих линиях от группового щита до потребителя
U%=3% > 0,25%.
Провод по потере
напряжения проходит.
Выбор магнитного
пускателя для управления сушильным шкафом:
Uн.aвт.≥
Uн.сети
380 В = 380 В
Uн.кaт. ≥ Uн.сф.
220 В =220 В
Iн.a. ≥ Ip 10
А> 8,45 А
Выбираем пускатель
ПМЛ 1101043. [10]
Выбор автоматического
выключателя для защиты вентиляционной установки:
Выбираем ВА 5125:
Uн.a. > Uн.с.
Iн.a. ≥ Ip
25А>0,74А
Iт.p. = 1,25 · Ip =
1,25 · 0,74 = 0,96 А
Выбираем стандартный
расцепитель 1,0 А
Iэ.м.р. >10 Iн =
10 А
Iэ.м.р рас. = К · Iп
Iп = 5 · Iр= 5 · 0,74
= 3,7 А
Для легкого пуска К =
1,6
Iэ.м.р рас = 1,6 ·
3,7 = 5,92 А
10 А> 5,92 А
Допустимый ток
провода:
Выбираем провод АПВ 4х2,5, проложенный в
трубе Iдоп.пр. = 19 А [9]
19А> 1,25А [9]
Проверка провода по
потере напряжения
U%:
U%доп >
U%пр. расч.
3% > 0,018%
Провод по потере
напряжения проходит.
Выбор защитной
аппаратуры на отходящей четвертой группе потребителей. Для защиты выбираем
автомат ВА 5131
Uн.a.≥ Uн.с.
380 В = 380 В
Iн.a. = 100 А ≥
Iп.пр. = 15,5 А
3. Iнp.= 1,25 · Iпр
4. Iэ.м.р рас. = К ·
Iпр
К - коэффициент,
учитывающий условия пуска.
При защите линии, к
которой подключены несколько электроприемников:
где k0 -
коэффициент одновременности.
- сумма рабочих
потоков всех приемников, за исключением одного наибольшего.
In -
пусковой ток наибольшего двигателя.
I пр = 1 (8,45+0,74)+30 = 41,19 А
Iном.p =1,25 · 41,19
= 51,5 А < 63 А.
I э.м.р. > 1,6 · Iпр.= 59,9 А
Допустимый ток
провода:
где К2; = 0,6 - при числе
проводов 12
Выбираем провод АПВ
4х6
Iдоп. = 30 А
Проверка:
(
6.16)
30 А> 27,5 А;
Провод по нагреву
проходит.
Проверка по потере
напряжения:
Р - общая мощность
группы
Р = (5+0,24+2,4) 1 =
7,64 кВт
3% > 0,22%
Провод по потере
напряжения проходит. Для защиты на вводе в силовой щит выбираем автоматический
выключатель.
Номинальный ток на
вводе:
Выбираем
автоматический выключатель типа ВА 5135, комбинированный:
Uн.a.≥ Uн.с.
Iн.a > Iр.mах
250А > 108А
Iт.p. > 1,25 Ip.
=1,25 · 108 = 135А
Выбираем стандартный
тепловой расцепитель.
Iт.p. = 160 А
Iэ.м.р. = К · Iп.р.
Наибольший пусковой
ток у компрессора.
Iп = 34,22А
In.p = 76,7+34,22 =
110,9 А
Iэ.м.р. = 1,6 · 10,9 =177,5 А
Iэ.м.р. = 10 · Iт.p. = 10 · 160 = 1600 А
1600 А > 177,5 А
При пуске защита не
сработает.
Допустимый ток
провода:
Выбираем кабель АВВГ
4 х 50, прокладываемый в земле с током
Iдоп = 175А.
Проверка на нагрев:
175 А> 110,5 А
По нагреву кабель
проходит. Проверка по потере напряжения
U%:
3%>0;11%.
Кабель проходит.
Рисунок 6.5 Расчетная схема силовой сети
БТОР
Питание базы в настоящее время
осуществляется от КТП–100–10–81У1 мощностью 100 кВа. Необходимость замены трансформатора
отсутствует.
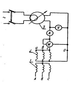
7. Сушка трансформаторов
Вследствие своей
гигроскопичности изоляция трансформаторов поглощает влагу из окружающей среды.
В масле, залитом в бак трансформатора, помимо влаги, поглощенной из окружающей
среды, происходит образование влаги в результате окислительных процессов.
Появление влаги в изоляции приводит к резкому снижению ее электрической
прочности, поэтому необходимо сушить трансформатор.
В настоящее время
наиболее широко применяются способы сушки трансформаторов потерями в
собственном баке, токами нулевой последовательности и токами короткого
замыкания.
7.1 Сушка
трансформаторов потерями в собственном баке
Этот способ сушки
является наиболее распространенным несмотря на явные недостатки. Выемная часть
трансформатора сушится в своем баке без масла. Нагрев производится потерями в
баке, для чего на бак трансформатора (при необходимости теплоизолированный
асбестом) наматывается однофазная или трехфазная намагничивающая обмотка (Рис.
7.1, 7.2).
Если трансформатор
сушат в помещении, то теплоизоляцию бака не делают.
Сушка трансформатора
потерями в собственном баке удобна тем, что она может быть произведена на месте
установки трансформатора без его транспортировки при любом источнике питания
низкого напряжения.
К недостаткам этого
способа относятся: специальная намагничивающая обмотка и относительно большой
расход электроэнергии. Этот способ сушки имеет внешний источник тепла (потери в
баке), поэтому тепловой градиент отрицателен и время сушки относительно велико.
Рисунок 7.1 — Однофазная намагничивающая обмотка при сушке
трансформатора
Рисунок 7.2 — Трехфазная намагничивающая обмотка при сушке
трансформатора
Воздушная подушка между баком и выемной частью оказывает неблагоприятные
воздействия при сушке: являясь теплоизоляцией, она увеличивает потери мощности
(тепла), идущие в окружающую среду, и значительно замедляет разогрев выемной
части. Поэтому общее время сушки трансформатора увеличивается. Расчет
однофазной намагничивающей обмотки производится следующим образом. Необходимое
число витков намагничивающей обмотки:
(7.1)
где U — напряжение источника тока, В;
f - частота тока, Гц;
В - магнитная индукция, Тл;
а — глубина проникновения потока, м;
l1 — периметр бака, м.
Величина А1 определяется из таблицы 7.1
для данного значения удельных потерь
Р, которые находятся следующим образом. Мощность Р, потребная для нагрева трансформатора, может
быть найдена из выражения:
, (7.2)
где
P - удельные потери, кВт/м2;
F0 -
поверхность бака, на которой размещена намагничивающая обмотка, м2;
F0 = hl1, (7.3)
где h - высота стенки
бака, на которую наматывается обмотка, м.
Потери мощности в
окружающую среду Р1 определяются из выражения:
P1=kt
F(tk-t0) кВт, (7.4)
где – коэффициент
теплоотдачи, кВт/м2·град. Для утепленного асбестом трансформатора kt
= 5,3·10-3, для неутепленного кт = 12·10"3
кВт/м2 град;
F - полная
поверхность бака трансформатора, м2;
tK -
конечная температура нагрева бака, обычно tK = 383-3880К (110-115°С);
to -
температура окружающей среды.
При установившемся
процессе сушки:
Р=Р1 и
(7.5)
Нормально
Величина тока в намагничивающей обмотке:
(7.6)
где cos
= 0,5-0,7 для трансформаторов, имеющих гладкие или
трубчатые баки; для трансформаторов с ребристыми баками cos
≈0,3. Чем толще стенки бака, массивнее детали
наружного крепежа, тем выше значение cos
.
Чтобы получить более
равномерное распределение температуры внутри бака, намагничивающую обмотку
наматывают на 40-60% высоты бака (снизу), причем витки в нижней части бака
располагают гуще, плотнее, чем в верхней части.
Сушка
трансформаторов потерями в собственном баке при помощи однофазной
намагничивающей обмотки приводит к несимметрии токов и искажению фазовых
напряжений питающей сети. Для сушки крупных трансформаторов требуется
значительная мощность, поэтому при малой мощности источника тока рекомендуют
сушить трансформаторы при помощи трехфазной намагничивающей обмотки.
Выполнение этой
обмотки имеет свои особенности.
- Для создания равномерного
распределения магнитной индукции по высоте стенки бака, среднюю фазу включают
встречно относительно крайних (рис. 6.2).
- Наиболее
равномерное распределение токов по фазам получают при числе витков в средней
обмотке, равном 0,4-0,6 от числа витков в крайней обмотке (фазе).
- При выполнении
намагничивающей обмотки нулевая точка фазных напряжений сдвигается так, что на
крайних обмотках напряжение увеличивается примерно до 1,3 фазного, а на средней
- уменьшается приблизительно до 0,5 фазного.
В этом случае
необходимое число витков в крайних обмотках равно:
W1.3 =
(7.7)
и в средней обмотке W2
=
(7.8)
где UФ - фазное
значение напряжения сети.
Величина At
определяется из таблицы 6.1.
Ток фазы
(7.9)
где m - число фаз.
7.2 Сушка
трансформаторов токами нулевой последовательности
Этот. способ сушки
отличается от сушки потерями тем, что вместо специальной намагничивающей
обмотки используется одна из обмоток трансформатора, соединенная по схеме
нулевой последовательности.
Поскольку нет
специальной намагничивающей обмотки, уменьшается время подготовки
трансформатора к сушке, сокращается общее время сушки трансформатора,
экономятся дефицитный проводниковый и теплоизоляционный материалы.
Если обмотка
трансформатора, которую решено использовать в качестве намагничивающей,
соединена в звезду, то напряжение питания подводится к закороченным выводам фаз
и нулевой точке обмотки (рис. 7.2). Если же обмотка трансформатора соединена в
треугольник, то напряжение питания подводится в разрыв треугольника. Замкнутые контуры
(треугольники) других обмоток должны быть при этом разомкнуты.
Рисунок 7.3 - Сушка трансформатора токами
нулевой последовательности.
Трансформаторы,
применяемые в сельском хозяйстве, имеют 12-ю группу соединения обмоток. В этом
случае очень удобно использовать в качестве намагничивающей обмотку НН
трансформатора, которая имеет выведенную нулевую точку.
При сушке
трансформатора током нулевой последовательности (ТНП) нагрев происходит за счет
потерь: в меди намагничивающей обмотки, в стали магнитопровода и его
конструктивных деталей, в баке от действия потоков нулевой последовательности.
Примерно 1/3-1/2 мощности
приходится на потери в намагничивающей обмотке и в стали выемной части, а
остальная часть - на потери в баке трансформатора. Таким образом, при сушке
трансформаторов ТНП имеются внутренние и внешние источники тепла. Тепловой
поток за счет хотя и незначительных по величине потерь в намагничивающей
обмотке направлен из обмотки в окружающую среду. Такое же направление имеет и
поток влаги. То же самое можно сказать относительно потерь в стали выемной
части и выхода влаги из ее изоляции. Относительно оставшейся свободной обмотки перечисленные
выше источники тепла являются внешними. Однако и здесь следует учитывать
специфику расположения обмоток трансформатора. Внутренней на сердечнике
трансформатора является обмотка НН, т. е. намагничивающая обмотка.
Применительно к окружающей среде потоки
тепла от потерь в стали и намагничивающей обмотке направлены от центра к баку:
точно так же направлен и поток влаги из изоляции выемной части трансформатора –
налицо положительный градиент тепла. Потери в баке служат внешним источником тепла.
Таким образом, сушка
трансформаторов ТНП является как бы сочетанием двух способов сушки: током
короткого замыкания и потерями в собственном баке. При этом удачно сочетаются
положительные качества того и другого способа сушки, а именно: существующий
внутренний источник тепла и возможность сушки трансформатора в условиях
эксплуатации непосредственно на месте установки.
Если при сушке
трансформатора потерями в баке воздушная подушка между выемной частью и баком
играла отрицательную роль, препятствуя разогреву выемной части, то в данном случае
роль воздушной подушки положительна. Воздушная - подушка, являясь
теплоизоляцией, препятствует увеличению потерь тепла выемной части в окружающую
среду и ускоряет разогрев выемной части, а следовательно, сокращает общее время
сушки трансформатора.
Такую же положительную
роль играют и потери в баке трансформатора. Кожух бака является тепловым барьером
между выемной частью трансформатора и окружающей средой и выполняет роль,
подобную воздушной подушке. Поэтому если при сушке трансформаторов потерями в
собственном баке необходимо наложить на бак теплоизоляцию, то при сушке
трансформаторов ТНП теплоизоляции не требуется. Отпадает довольно трудоемкая
операция и сокращается время подготовки трансформаторов к сушке, а значит,
уменьшается и общее время сушки.
Мощность и
напряжение, необходимые при сушке ТНП, определяются следующим образом.
Мощность сушки
Ро=
РF, (7.10)
где F - полная
поверхность бака трансформатора, м2;
P - удельный
расход мощности, кВт/м2.
Для трансформаторов
без тепловой изоляции бака, сушка которых протекает при температуре выемной
части 373-383о К (100-110о С) и окружающей среды 283-293о
К (10-20о С), значение удельного расхода мощности можно принять
равным 0,65-0,9 кВт/м2. Меньшее значение удельной мощности принимают
для трансформаторов меньшей мощности.
Для трансформаторов с
медными обмотками мощностью до 1000 кВт существует следующая зависимость мощности
сушки от номинальной мощности трансформатора:
кВт
(7.11)
где Рн -
номинальная мощность подвергающегося сушке трансформатора, кВт.
Напряжение сушки
определяется из выражения:
при соединении
намагничивающей обмотки в звезду и при соединении намагничивающей обмотки в
треугольник:
где Z0 - полное сопротивление нулевой последовательности
фазы обмотки;
cos
=0,2-0,7.
Чем больше мощность
трансформатора, массивнее детали его внутреннего крепежа, толще стенки бака,
меньше расстояние между магнитопроводом и баком, тем больше значение cos
. Для трансформаторов от 50
до 1000 кВт с гладкими и трубчатыми баками cos
= 0,5 - 07.
Фазовый ток сушки,
необходимый для выбора измерительных приборов и сечения подводящих проводов,
может быть определен из выражения:
для трансформаторов с
трубчатыми баками.
Сушка трансформаторов
ТНП характеризуется почти одинаковым нагревом отдельных элементов выемной
части, т. е. обмоток ВН и НН и сердечника. Наиболее нагретой является обмотка
НН, если она используется в качестве намагничивающей. Близкий, а иногда и
равный ей нагрев наблюдается у сердечников некоторых трансформаторов. Несколько
меньший нагрев имеет обмотка ВН. Поэтому температуру выемной части
трансформатора при его сушке следует контролировать по температуре обмотки НН.
Перепад температуры по высоте элементов (обмоток и сердечника) зависит от
конструкции выемной части: высоты и толщины обмоток и вертикальных вентиляционных
каналов в них.
В трансформаторах с
высокими обмотками малой толщины, не имеющих вентиляционных каналов в самой обмотке,
перепад температур составляет 10-15, в трансформаторах, имеющих малую высоту
обмоток вентиляционные каналы, этот перепад равен 5 - 10.
Сушка трансформаторов
ТНП имеет свои особенности. За счет потоков нулевой последовательности
нагреваются бак и стальные детали крепления выемной части трансформатора.
Температура нагрева бака по его высоте не одинакова. Максимальный нагрев стенок
бака наблюдают в области, лежащей против середины обмоток. Учитывая достаточно
большое расстояние между обмоткой ВН и баком, а также теплоизоляцию в виде
воздушной подушки, при сушке можно допускать максимальную температуру нагрева
бака трансформатора несколько выше допускаемой температуры нагрева обмоток. Но
такие случаи наблюдаются очень редко и только в трансформаторах большой мощности.
Вертикальные шпильки
между верхними и нижними консолями выемной части выполняют при сушке роль магнитных
шунтов для потоков нулевой последовательности. При относительной близости
шпилек к сердечнику трансформатора температура их нагрева при сушке может
превысить 383 - 393 К (110 – 120о С) и достичь 423- 433 К (150 – 160о
С). Но учитывая небольшие размеры шпилек и малый поток тепла, возникающий от
потерь в шпильках, такой нагрев абсолютно безопасен.
Сушку трансформаторов
целесообразно проводить при естественной циркуляции воздуха. Для этого нужно вывернуть
спускную пробку и оставить открытыми все отверстия на крышке бака. В одно из
отверстий на крышке бака можно установить газовую трубу длиной 1-1,5 м для дополнительной
тяги воздуха из бака и ускорения сушки изоляции. Чтобы облегчить сток
конденсата, верхний конец вытяжной трубы загибают на 180о.
При подготовке к
сушке трансформаторов выполняют следующие операции.
1. Удаляют масло из
бака.
2. Поднимают выемную
часть трансформатора и очищают сердечник и обмотки от остатков масла, шлама и грязи.
3. Насухо протирают
внутреннюю поверхность бака.
4. Устанавливают на
обмотках и сердечнике дистанционные термометры с пределом измерения до 423 К
(150оС), имеющие надежный тепловой контакт с измеряемым объектом.
5. Опускают выемную
часть трансформатора в бак.
6. Собирают схему
сушки.
7. Ограждают
трансформатор и вывешивают предупреждающие плакаты.
Производят первые
измерения сопротивления изоляции и заносят в журнал сушки.
8. Подают напряжение
на намагничивающую обмотку и начинают наблюдать за процессом сушки.
Сопротивление
изоляции трансформатора в процессе сушки претерпевает такие же изменения, как и
сопротивление изоляции электрических машин во время сушки. Окончив сушку, трансформатор
отключают от источника питания. После охлаждения трансформатора до температуры
323-333 К (50-60оС) в него заливают сухое масло. После остывания
трансформатора до температуры окружающей среды, но не ранее 3-4 часов после
заливки в него масла измеряют и заносят в паспорт трансформатора сопротивление
изоляции обмоток.
Недостатком этого
способа сушки является то, что необходимо иметь источник питания не стандартных
напряжений. Для сушки распределительных трансформаторов сельскохозяйственного
назначения источником питания может служить сварочный трансформатор.
При любой сушке
трансформаторов необходимо соблюдать правила техники безопасности, так как
выводы обмотки ВН могут находиться под большим напряжением относительно земли.
7.3 Сушка трансформаторов
током короткого замыкания
Обмотку низшего
напряжения обычно закорачивают, а к обмотке высшего напряжения подводят
пониженное напряжение, то есть напряжение нагрева, значение которого равно
напряжению короткого замыкания UK (рис. 7.4). Тепло, необходимое для
нагрева трансформатора, получается за счет потерь в обмотках. Потерями в стали
сердечника можно пренебречь, так как поток в стержнях трансформатора при
нагреве его токами короткого замыкания (т.к.з.) составляет всего 5-10% от
потока при нормальной работе трансформатора.
Рис. 7.4
Схема нагрева трансформатора токами короткого замыкания
Полная мощность нагрева трансформатора (кВА), выраженная в
процентах, равна напряжению короткого замыкания. С увеличением мощности и напряжения
трансформатора возрастает напряжение короткого замыкания, а следовательно, и
полная мощность нагрева. Однако активная мощность нагрева трансформатора (кВт),
выраженная в процентах, равна активной составляющей напряжения короткого замыкания
и относительно уменьшается с увеличением мощности трансформатора.
При нагреве трансформаторов т.к.з. необходим тщательный
контроль температуры обмоток. Внутренние части обмоток, нагрев которых обычно
не контролируется, могут оказаться перегретыми, изоляция их может повредиться.
Наружные же части обмоток могут оказаться недостаточно нагретыми. При нагреве
трансформатора температура, измеренная на поверхности обмотки в наиболее нагретом
месте, не должна превышать 85оС.
Для уменьшения перегрева обмоток нагрев трансформаторов
т.к.з. обычно проводят в масле. Но длительный нагрев, как правило, приводит к
интенсивному старению и даже порче масла. С учетом высокой стоимости масла,
которое требует замены после сушки, сушка трансформатора т.к.з. оказывается крайне
невыгодной, и поэтому ее не рекомендуется применять.
Трансформаторы малой
и средней мощности можно сушить т. к. з. без масла при интенсивном охлаждении
(вентиляции) обмоток и тщательном контроле температуры нагрева обмоток.
Контроль при сушке
трансформатора. При сушке трансформатора необходимо периодически, через каждый
час, измерять напряжение, мощность и ток сушки, сопротивление изоляции между обмотками
и между обмотками и корпусом (баком), температуру обмоток и сердечника
трансформатора.
Температуру обмоток и
сердечника в нашем случае измеряют при помощи термодетекторов, установленных в
наиболее нагреваемых местах.
Температура нагрева,
измеренная термодетектором
где R2 и R1
соответственно сопротивления термодетектора в нагретом и холодном состоянии;
tо- температура
окружающей среды.
Максимальная
температура обмоток трансформатора в процессе сушки не должна превышать 105-1150С.
Снижать температуру нагрева можно изменением напряжения сушки или
кратковременным отключением трансформатора от источника питания.
Сопротивление
изоляции нужно измерять мегомметром на 1000 или 2500 В. При этом, температуру и
сопротивление изоляции измерять на отключенном от сети трансформаторе.
При
высококачественной изоляции трансформатора установившееся в конце сушки ее
сопротивление не должно быть ниже данных заводских измерений (при той же
температуре нагрева) более чем на 30%.
8. Безопасность жизнедеятельности
Задачей раздела
«Безопасность труда » в дипломном проекте является разработка организационных и
технических решений, которые создают безопасные условия труда для работающих.
Выполнение норм и правил по безопасности труда обеспечивает необходимую
электробезопасность, пожаробезопасность и взрывобезопасность электроустановок,
комфортную среду на рабочих местах операторов, ведущих производственный процесс
и работников, обслуживающих производственные установки. [12].
8.1 Общая
характеристика РЭС
Бердюжский район
электрических сетей является одним из структурных подразделений Ишимских сетей
ОАО ЭиЭ «Тюменьэнерго».
Бердюжский РЭС
находится на территории Бердюжского района Тюменской области около 400 км. от
г. Тюмени.
Климат -
резко- континентальный.
Минимальная
температура - -32°С
Максимальная
температура - +42оС
Среднегодовая
температура - +25оС
Число грозовых часов
в году - 60+80
Глубина промерзания
грунта - 2,9 м.
Грунт в основном -
суглинок и глина.
Преобладающие ветры -
северо-западные
Район по ветру -
II (скоростной напор по ветру 35 кгс/м2)
Район по гололеду -
II (толщина стенки гололеда-10 мм).
На территории производственной базы РЭС
располагаются: администрация РЭС, мастерский участок и ОВБ, гр. ЛЭП и п/ст
35-220 кВ., гостиница, башня Рожновского, насосная башня, эстокада.
Количество
сотрудников Бердюжского РЭС на 01.01.2004 г. составляло 104 человека, в том
числе рабочих 84 человека, руководителей 11, специалистов 7. Объем обслуживания
электрооборудования 9096 у.е. Оперативное обслуживание сетей ведут
оперативно-выездные бригады.
Потребляемая мощность
производственной базы РЭС составляет 75 кВт.
Энергоснабжение
осуществляется от трансформаторной под станции типа КТП -100-10-81У1- мощностью
100 кВА. База технического обслуживания подключена к трансформаторной
подстанции при помощи четырех проводной трехфазной кабельной линии марки - ААБл
4х50.
Категория
электроснабжения - III.
За рассматриваемый
период в РЭС был зарегистрирована одна производственная травма.
8.2 Мероприятия по
производственной санитарии
Территория базы в
местах передвижения транспортных средств и людей имеет асфальтовое покрытие.
Для сбора
поверхностных замазученных стоков предусмотрены специальные нефтеловушки. На
производственной базе созданы условия для отдыха и личной гигиены: комнаты
отдыха, душевые, умывальники, сан узлы. Уборку бытовых, производственных и
административных помещений производит обслуживающий персонал, а территории -
персонал РЭС на закрепленных участках. Нормы бесплатной выдачи спецодежды,
обуви, средств индивидуальной защиты приведены в таблице 8.1
Таблица 8.1. Нормы
бесплатной выдачи спецодежды, обуви и других средств индивидуальной защиты (для
одного работника)
|
Профессия, должность
|
Наименование спецодежды, спецобуви
и других средств индивидуальной защиты
|
Срок носки, мес.
|
Годовая потребность
|
|
Электромонтер по обслуживанию
электрооборудования
|
Комбинезон х/б
|
12
|
1
|
|
Куртка х/б на утепленном подкладе
|
12
|
1
|
|
Брюки на утепленном подкладе
|
1
|
1
|
|
Сапоги кирзовые
|
18
|
1 пара
|
|
Валенки
|
36
|
1 пара
|
|
Рукавицы х/б
|
1
|
12 пар
|
|
2 пары
|
|
Галоши диэлектрические
|
|
1 пара
|
|
Инструменты с диэлектрической
ручкой
|
|
комп
|
|
Каска защитная
|
24
|
1
|
|
Электросварщик
|
Костюм брезентовый
|
12
|
1
|
|
Ботинки кожаные
|
12
|
1 пара
|
|
Рукавицы брезентовые
|
2
|
6 пар
|
|
Щиток эл. сварщика
|
до износа
|
При необходимости
норма может быть дополнена другими видами спецодежды необходимых для работ.
8.3 Защитные меры в
электроустановках
Помещения базы
технического обслуживания и ремонта электрооборудования по степени опасности
поражения людей, исходя из микроклимата и конструктивных особенностей
помещений, согласно п.п. 1.1.7. и 1.1.13.[ 13 ] относятся к влажным с
повышенной опасностью.
Характеристика
помещений приведена в таблице 8.2.
Таблица 8.2
Характеристика помещений
|
Наименование помещений
|
Параметры определяющие опасность
|
категория помещения
|
|
температура воздуха
|
относительная влажность, %
|
состояние полов
|
возможность одновременного
прикосновения
|
агрессивность окружающей среды
|
|
Участок очистки и разборки
|
20
|
70
|
токопроводящие (бетонные)
|
нет
|
нет
|
Без повышенной опасности
|
|
Участок ремонта электрооборудования
|
20
|
70
|
токопроводящие (бетонные)
|
да
|
нет
|
с повышенной опасностью
|
|
Участок настройки и ремонта ПЗА
|
20
|
70
|
|
да
|
да
|
с повышенной опасностью
|
|
Участок покраски и сушки
|
20
|
70
|
токопроводящие (бетонные)
|
да
|
да
|
Без повышенной опасности
|
|
Помещения для персонала
|
20
|
70
|
токопроводящие (бетонные)
|
нет
|
нет
|
Без повышенной опасности
|
Обеспечение
элекгробезопасности в помещениях БТОР достигается занулением с повторным заземлением
на вводе в базу:
1. Корпусов
электромашин, трансформаторов, аппаратов;
2. Приводов
электроаппаратов;
3. Каркасов
распределительных щитов, щитов управления шкафов;
4. Металлических
труб, в которых проложены электрические провода, металлические оболочки силовых
кабелей;
5. Металлических
корпусов передвижных и переносных электрических приёмников;
6.
Электрооборудования, размещённого на движущихся частях станков, механизмов.
Присоединение должно
о для осмотра и выполнено сварным или болтовым соединением. К выполнению
сварочных работ допускаются лица, прошедшие обучение, инструктаж и проверку
знаний требований безопасности, имеющих группу по электробезопасности не ниже II.
Кроме того, соблюдение мер безопасности
при проведении работ на базе - это блокировка электродвигателя точильного
станка, в случае поднятия защитного кожуха; применение защитного щита при
выполнении сварочных работ; устройство ограждения на приводе сверлильного
станка; применение деревянных щитов на рабочем месте у сверлильного и
точильного станков.
Согласно п. 2.1.50.
«Правил устройства электроустановок» для питания переносных и передвижных
электроприёмников следует применять шнуры и гибкие кабели с медными жилами,
имеющих общую изоляцию.
Для защиты проводов и
кабелей от механических повреждений они должны быть введены в аппараты, машины,
проложены в трубах. Трубы должны прокладываться так, чтобы в них не могла
скапливаться вода п. 2.1.63. «Правил устройства электроустановок».
При обслуживании
электроустановок напряжением до и выше 1000 В рабочие места комплектуются:
- изолирующие штанги,
изолирующие и электроизмерительные клещи, указатели напряжения и т.д.;
- изолирующие
устройства и приспособления для ремонтных работ, слесарно-монтажный инструмент
с изолирующими рукоятками для работы в электроустановках напряжением до 1000 В;
- диэлектрические
перчатки, боты, галоши, коврики;
- переносные
заземления;
- плакаты и знаки
безопасности;
- предохранительные
монтерские пояса, страховочные канаты, очки, каски и др.
Нормы комплектования
средствами защиты оперативно выездных бригад, обслуживающих подстанций и
распределительные электросети приведены в таблице 8.3.
Таблица 8.3 Средства
защиты
|
Средства защиты
|
Количество
|
|
Полукомбинезон х/б
|
1 штука на каждого эл.монтера
|
|
Перчатки диэлектрические
|
не менее 2 пар
|
|
Галоши диэлектрические
|
1 пара
|
|
Шланговый противогаз
|
2 штуки
|
|
Защитные очки
|
2 пары
|
|
Изолирующая штанга
|
1 штука на каждое напряжение
|
|
Указатель напряжения
|
1 штука на каждое напряжение
|
|
Временные ограждения (щиты)
|
не менее 2 штук
|
Остальные средства
защиты по местным условиям.
Эксплуатация электроустановок
осуществляет подготовленный электротехнический персонал, который подразделяется
на:
административно-технический,
организующий оперативные переключения, ремонтные, наладочные работы в
электроустановках;
оперативный,
осуществляющий осмотр, техническое обслуживание, оперативные переключения,
подготовку рабочего места, допуск к работам и надзор за работающими;
ремонтный,
выполняющий все виды работ по ремонту, реконструкции и монтажу
электрооборудования;
оперативно-ремонтный,
выполняющий оперативные работы на закрепленных за ним электроустановках.
К работам в
электроустановках допускаются лица, достигшие 18-летнего возраста, прошедшие
медицинское освидетельствование при приёме на работу и затем проходящие
периодически - один раз в год.
Электротехнический
персонал до назначения на самостоятельную работу, связанную с эксплуатацией
электроустановок проходит:
вводный инструктаж;
обучение на рабочем месте в объёме действующих Правил должностных и
производственных инструкций, инструкций по охране труда и т.д. На время
обучения и стажировки обучаемый прикрепляется к опытному работнику от 2 до 14
дней; проверку знаний по ППБ, ПУЭ и т.д.
Проверка знаний
производится:
первичная - перед
допуском к самостоятельной работе;
очередная - один раз
в год для электротехнического персонала, обслуживающего действующие
электроустановки и один раз в три года для руководителей и специалистов не
входящих в административно – технический персонал;
внеочередная - при
нарушении правил и инструкций, по требованию ответственного за электрохозяйство
или органов государственного энергонадзора.
После проверки знаний
присваивается группа по электробезопасности и работник проходит стажировку на
рабочем месте, продолжительностью не менее двух недель.
Допуск к
самостоятельной работе оформляется распоряжением по цеху для рабочих, а для ИТР
- по предприятию.
Ответственными за
безопасность работ являются:
1. Лицо, выдающее
наряд, отдающее распоряжения. Устанавливает объемы работ, отвечает за
безопасное её выполнение, квалификацию руковдителя, производителя работ и
членов бригады. Указанное лицо должно иметь группу по электробезопасности не
ниже V в электроустановках напряжением выше 1000 В и не ниже IV - в установках
до 1000 В,
2. Допускающий -
ответственное лицо из оперативного персонала. Отвечает за правильность
выполнения мер безопасности, их достаточность и соответствие характеру и месту
работы; а также отвечает за правильность допуска к работе, приёмку рабочего
места. Допускающий должен иметь группу по электробезопасности не ниже IV при
работах в электроустановках напряжением выше 1000 В и не ниже III -в установках
до 1000 В.
3. Ответственный
руководитель работ. Отвечает за правильную подготовку рабочего места,
достаточность выполненных мер безопасности, необходимых для выполнения работ.
Руководитель работ должен иметь группу по электробезопасности IV.
При работах по наряду в электроустановках до 1000 В назначение руководителя
работ не требуется.
4. Производитель
работ - принимает рабочее место от допускающего и отвечает за его подготовку и
выполнение необходимых для производства работ, мер безопасности.
Должен иметь группу
по электробезопасности IV в электроустановках напряжением выше 1000 В, не ниже III
- в электроустановках до 1000 В.
5. Наблюдающий -
назначается для надзора за бригадами, не имеющими права самостоятельно работать
в электроустановках.
Наблюдающий отвечает:
за соответствие
подготовленного рабочего места указаниям, предусмотренным в наряде;
за наличие и
сохранность установленных на рабочем месте заземлений, ограждений, плакатов и
знаков безопасности, запирающих устройств приводов;
за безопасность
членов бригады в отношении поражения электрическим током электроустановки.
Наблюдающим может
назначаться работник, имеющий группу III.
6. Ответственным за
безопасность, связанную с технологией работы, является работник, возглавляющий
бригаду, который входит в ее состав и должен постоянно находиться на рабочем
месте. Его фамилия указывается в строке «Отдельные указания» наряда.
7. Каждый член
бригады должен выполнять требования настоящих Правил и инструктивные указания,
полученные при допуске к работе и во время работы, а также требования инструкций
по охране труда соответствующих организаций.
Письменным указанием
руководителя организации должно быть оформлено предоставление его работникам
прав: выдающего наряд, распоряжение; допускающего, ответственного руководителя
работ; производителя работ (наблюдающего), а также права единоличного осмотра.
На ВЛ всех уровней
напряжений допускается совмещение ответственным руководителем или
производителем работ из числа ремонтного персонала обязанностей допускающего в
тех случаях, когда для подготовки рабочего места требуется только проверить
отсутствие напряжения и установить переносные заземления на месте работ без
оперирования коммутационными аппаратами.
Расчет эффективности
срабатывания защиты.
В качестве
проверочного рабочего примера берем сварочный трансформатор, которым является
более мощным потребителем.
Защита выполнена с
помощью автоматического выключателя типа ВА 5131.
Ток номинальный
Для защиты от
короткого замыкания выбираем автоматический выключатель типа ВА 5131.
Iн.aвт = 40 А
Uн.aвт= Uн.c.=380 В
Iт.p. = 1,25 · Iн =
1,25 · 21,4=26,75 А
Iэ.м.р = 10 · Iн.p =
10 · 21,4 = 214 А
Iотс. = 267,5 А
где
- сопротивление
трансформатора при S = 100 кВА при однофазном КЗ.
Zn – сопротивление петли фазы – нуль.
Zn =
0,481
Ом/км,
где Хn - индуктивным сопротивлением проводов в трубе пренебрегаем.
Iк.з.расч > Iк.з.факт
379,3 > 334,4 А
Рисунок 8.1
Токовременая характеристика t<0,4 c
8.4 Организация
пожарной охраны
В РЭС, на территории
предприятия проложен кольцевой противопожарный водовод диаметром 100 мм с
гидрантами, а в зданиях выполнены линии пожаротушения, включая устройство
пожарных кранов с рукавами.
Первичные средства
пожаротушения БТОР включают: огнетушители в количестве 6 штук, в том числе 4
штуки и углекислотных 2 штуки, а также ящики с песком, ведра, лопаты.
Устройство и
эксплуатация оборудования и сооружения должны соответствовать требованиям
«Правил пожарной безопасности» (ППБ).
Каждый работник
обязан четко знать и выполнять требования ППБ, проходить противопожарный
инструктаж и периодически проверку знаний ППБ, регулярно участвовать в противопожарных
тренировках.
8.5 Мероприятия по
молниезащите
Атмосферные
перенапряжения - одна из самых основных причин повреждений и аварийных
отключений в сельских электрических установках.
Правильное выполнение
молниезащиты обеспечивает сохранность защищаемых объектов и безопасность
находящихся в них людей.
По устройству
молниезащиты БТОР относиться к III категории зоне защиты типа Б - это защита от
прямого попадания молнии и от подачи высоких потенциалов в здание по
электрическому вводу и металлическим потенциалам, выступающим наружу.
Для целесообразности
выполнения мероприятий по молниезащите необходимо определить ожидаемое
количество поражений объекта молнией в год:
N = (В+6 · hM)
· (h+6 · hM) · n · 10-6 шт/год,
где В - ширина
защищаемого здания, м,
h - длина защищаемого
здания, м;
hM -
наибольшая высота защищаемого здания, м;
n - среднее число
поражений молний на 1 км2 земной поверхности в год.
При 40...60 часов
грозы в год n = 6
N = (12+6 · 6) ·
(20+6 · 6) · 6 · 10-6=0,002 попаданий/год
2) Определяем высоту
молниеотвода одиночного:
где hx -
высота стержня молниеотвода, м;
Rx -
расстояние от торца здания до молниеотвода, м.
Активная высота
молниезащиты.
hх =
0,92h=0,92 · 14 = 13
Радиус защиты на
уровне земли:
o = 1,5h = 1,5 · 14 =
21 м.
Стержневой
молниеотвод устанавливается на крыше здания БТОР. Стальную мачту вертикально.
На верху мачты устанавливают молниеприемник - стальной стержень сечения на
менее 100 мм2. Молниеприемник должен быть выше мачты не более чем 2
метра и не менее чем на 15 см. Молниеприемник соединен с токопроводом, в
качестве которого применяют стальную оцинкованную проволоку диаметром не менее
6 мм. Токопровод проходит вниз и соединяется с искусственным заземлителем (
контуром заземления сопротивлением не более 10 Ом.).


Рисунок 8.2 Зона защиты молниеотвода
9. Расчет
экономической эффективности способов сушки трансформаторов
9.1 Суть проблемы
Суть проблемы
заключается в том, что используемый в настоящее время способ сушки
трансформатора токами короткого замыкания требует контроль температуры изоляции
в процессе сушки. Данный контроль осуществлять трудно, поскольку обмотка
трансформатора находится внутри бака, который не позволяет установить датчики
температуры на изоляции обмотки трансформатора. В связи с этим такая сушка
может сама являться причиной выхода из строя трансформатора.
9.2 Предлагаемые
решения
Предлагается производить
сушку трансформатора с использованием схемы нагрева его обмоток токами нулевой
последовательности. Эта сушка проводится без масла, является технологически
удобной, не требует контроля температуры обмоток и следовательно сокращает
выход трансформаторов из строя, сокращает время простоя электрооборудования и
снижает убытки от недоотпуска электроэнергии.
9.3 База для
сравнения
Существует несколько
способов сушки трансформаторов в условиях эксплуатации:
1. Сушка
трансформаторов потерями в собственном баке;
2. Сушка
трансформаторов токами нулевой последовательности;
3. Сушка
трансформаторов токами короткого замыкания;
При эксплуатации
получили распространение наиболее эффективные способы сушки: потерями в
собственном баке и токами нулевой последовательности.
Достоинствами обоих
методов является то что сушка проводится при слитом трансформаторном масле что
не требует его дальнейшей регенерации.
Недостатком метода
сушки потерями в собственном баке является сложность и трудоемкость намотки
обмотки на бак трансформатора.
9.4 Смета затрат на реконструкцию
Таблица 9.1 Смета
затрат на реконструкцию
|
Перечень
|
Кол-во
|
Цена одной единицы
|
Общая стоимость
|
|
Амперметр Э 378, шт
|
1
|
280
|
210
|
|
Вольтметр Э 365, шт
|
1
|
230
|
230
|
|
Ваттметр Д 301, шт
|
1
|
500
|
50
|
|
Лампочка 500 Вт, шт
|
3
|
15
|
45
|
|
Резистор, шт
|
1
|
20
|
20
|
|
Трансформатор тока ТК
40, шт
|
1
|
90
|
90
|
|
Провод ПРГ-6, м
|
10
|
5,8
|
58
|
|
Провод ПРГ-25, м
|
10
|
3,3
|
83
|
|
ИТОГО
|
|
|
1236
|
БС =
где
- стоимость монтажа
оборудования.
БС = 1236 + 0,25 ·
1236 = 1545
9.5 Расчет эксплуатационных
затрат
Uпр = Uа+Uл+Uтр,
где Uл- затраты на
потребление электроэнергии;
Ua - затраты на
амортизацию оборудования;
Uтp - затраты на
текущий ремонт
Uпр =
154,5+61,8+30+2,52=244,6 руб
Uэл = Р·t·ц= 2,52·0,5·2,0
= 2,52 руб,
где Р - мощность
установки Р = 2,52 кВт;
t - время работы за
год t=0,5 часа;
Ц - цена
электроэнергии Ц=2,0 руб/кВт ч
Ua = БС·а/100 = 1515·10/100=151,5
руб,
где а.- норма
амортизации а=10%
Uтp = 0,4·Ua =0,4·154,5=61,8
руб
Uот = 0,5·60=30 руб.
Эффективность
применения схема для определения эксплутационных параметров нулевой
последовательности трансформатора
Эг = Дд·Uпр,
где Дд - дополнительный
доход;
Эг = 4130-244,6 =
3880,4 руб/год.
9.6 Срок окупаемости
где
К = БС, руб.
Коэффициент
экономической эффективности
года
Е ≥ Ен =0,15
Заключение
В разработанном
дипломном проекте предложены пути совершенствования электротехнической службы
РЭС. При этом были определена численность производственного персонала и инженерно-технических
работников; обосновывается структура предприятия Бердюжского РЭС; про изведены
расчет силовых и осветительных сетей базы технического обслуживания и ремонта
оборудования; разработаны мероприятия по безопасности труда, включающие мероприятия
по пожарной охране, производственной санитарии; оценены технике - экономические
показатели.
В специальной части
проекта были рассмотрены существующие способы сушки трансформатора и выбран
оптимальный способ нагрева обмоток применительно к условиям эксплуатации.
Разработанная в
дипломном проекте организация электротехнической службы позволит наиболее
эффективно использовать трудовые и материальные ресурсы Бердюжского РЭС
Тюменьэнерго.
Список литературы
1. Будзко И.А., 3уль Н,М. «Электроснабжение сельского
хозяйства» М,: Агропромиздат, 1990-264с.
2. Водянников В.Т Экономическая оценка средств
электрификации и автоматизации сельскохозяйственного производства и систем
сельской энергетики. - М.: МГАУ, 1997. - 180с.
3. Выключатели автоматические, низкого напряжения на токи
до 100 А. Сводный отраслевой каталог// Информаэлектро, - М.: Информэлектро,
1993-91 с.
4. Выключатели автоматические низкого напряжения на токи
до 100 А. Сводный отраслевой каталог/ Информэлектро.- М.: Информэлектро, 1993.
- 91 с.
5. Ерошенко Г.П., Медведько Ю.А., Таранов М.А.
Эксплуатация электрооборудования сельскохозяйственных предприятий:
Ростов-на-Дону, ООО «Терра», 2001. - 592 с.
6. Инструкция по устройству молниезащиты зданий и
сооружений. М,; Энергоиздат, 1989-94с.
7. Инструкция по устройству молниезации зданий и
сооружений. Р Д 34.21, 122-87/Минэнерго СССР. - М.: Энергоатомиздат, 1989.
-32с.
8. Католожно-справочный материал по электрооборудованию.
№6-4, РИО ЧГАУ, 1994 - 28с.
9. Межотраслевые правила по охране труда при эксплуатации
электроустановок. - Ч.; 000 «Полифарм- мастер», 2001. - 177с.
10. Николаев Н.Я., 3айнишев А.В. Методические указания по
разделу «Безопасность труда» в дипломных работах, проектах, - Ч. РИО ЧГАУ, 1994
- 28с.
11. Обслуживание силовых трансформаторов / В.Ф. Мсгузов. -
М., Энергоиздат, 1991.-192с.
12. Объем и нормы испытаний электрооборудования / Под
общей редакцией Б.А.Алексеева, ФЛ. Когана, Л.Г Мимиконянца. - 6-ое изд. - М,:
НЦ ЭНАС, 1998.- 256с.;
13. Петров Г. Н. Трансформаторы, М.: Энергоиздат, 1994. -
85с.
14. Пускатели электромагнитные низковольтные. Сводный
отраслевой каталог / Информэлектро. - М.: Информэлектро, 1993. - 152 с.
15. Правила устройства электроустановок издание 7/ группы
предприятий «Дизайн- Бюро», 2001.-669 с.
16. «Правила технической эксплуатации электроустановок» -
М: Энергоиздат, 990-248с.
17. Пункты распределительные Отраслевой каталог ЛК
06.23,22; - 93 Информэлектро, - М-: Информэлектро, 1993. - 32 с.
18. Пускатели электромагнитные низковольтные. Сводный
каталог/ Информэлектро. - М.: Информэлектро, 1993. -152 с.
19. Рахманин В.Г. Методические указания по сбору
статистических материалов для анализа хозяйственной деятельности
сельскохозяйственного предприятия.-Ч.; РИО ЧГАУ, 1989. -32с.
20. Ремонт трансформаторов / 3-й. Худяков. - М., «Высшая
школа», 1977.
21. Система планово - предупредительного ремонта и
технического обслуживания электрооборудования с/к предприятий / Госжропром М:
ВО Афопромиздат 1987 - 132с.
22. Справочная книга для проектирования электрического
освещения. Под редакцией Г.М. Кноринга / Л-" Энергия", 1976. - 368с.
23. Справочная книга по светотехнике под редакцией Б.
Айзенберга / М;- "Энергопромиздат" 1983г. - 187с.
24.
Технологические карты сушки силовых
распределительных трансформаторов по схеме тока нулевой последовательности /
А.А. Пястолов, Е.П. Попов. - М.: - СЦНТИ ОРГРЭС, -1982, - 32с.
25. Электрические кабели, провода и - шнуры: Справочник /
Н.И. Белоруссов, А.Е. Саакян, А.И. Яковлева. Под ред. Н.И. Бепоруссов - 5 изд.,
перераб. и доп. - М.: Энергоатомиздат, 1988. - 536 с.; ил.
Приложение А
МСХ РФ Предприятие Бердюжского РЭС
Санитарно –
технический паспорт
участка ремонта
электрооборудования
План помещения и
расположения рабочих мест приведен на листе графической документации 3.
1. Общая
характеристика
1. Профессия
электромонтер
2. Количество
работающих человек, 7 в т.ч. женщин
3. Сменность 1 смена
по 8 часов
4. Категория тяжести
работы IБ
5. Площадь помещения,
м2 120
6. Объем помещения, м3
480
7. Категория
помещения по степени опасности поражения электрическим током с повышенной
опасностью
8. Категория
производства по пожарной безопасности В
9. Вентиляция
естественно-принудительная
10. Отопление
центральное
11. Наличие
санитарно-бытовых помещений
12. Опасные
производственные факторы возможность поражения электрическим током
13. Вредные
производственные факторы запыленность, шум, запах нефтепродуктов
14. Обеспеченность
инструкциями по охране труда, наглядной агитацией по нормам
15. Наличие аптечек
по нормам
16. Состояние
защитных средств (ограждение, сигнализация, предохранительное устройство и
другое) удовлетворительное
17. Прочее
П. Характеристика условий труда
|
Наименование, единицы
измерения
|
Нормативные показатели
|
|
Температура, оС
|
|
|
теплый период
|
18-25
|
|
холодный период
|
18-20
|
|
Подвижность воздуха м/с
|
|
|
теплый период
|
0,2
|
|
холодный период
|
0,1
|
|
Влажность воздуха. %
|
60-70
|
|
Загрязненность
воздушной среды пыль, мг/м3
|
1
|
|
Освещенность, лк
|
200
|
|
Уровень шума, дБ
|
90
|
|
Обеспеченность
спецодеждой
|
по нормам
|
|
Наличие ИСЗ
|
по нормам
|
|
Обеспеченность
первичными средствами тушения пожара
|
по нормам
|
Дата составления
паспорта
29 апреля 2004 г.
Кафедра ЭМЭЭСХ 2006 г.
1. Исходные данные
|
Сопротивление верхнего
слоя грунта, Ом,м
|
230,00
|
|
сопротивление нижнего
слоя грунта, Ом,м
|
150,00
|
|
Сезонный коэффициент
|
1,60
|
|
Длина вертикального
электрода, м
|
3,00
|
|
Толщина верхнего слоя
грунта, м
|
1,60
|
|
Заглубление середины
электрода, м
|
2,00
|
|
Наружный диаметр
электрода, м
|
0,03
|
|
Расстояние между
электродами, м
|
2,00
|
|
Ширина соединительной
полосы, м
|
0,05
|
|
Заглубление полосы, м
|
1,00
|
|
Коэффициент
использования
|
0,70
|
|
Нормируемое
сопротивление, Ом
|
4,00
|
2. Вычисление
расчетного удельного сопротивления грунта с учетом коэффициента сезонности
Ro расч = (Ro1·Kc·Ro2·LBepт)
/ ((Lвepт - Нверх. сл. + Тверт) · Ro1·Kc + (Нверх. сл. -Тверт)·Ro2 = 139,02
где Ro1 - удельное
сопротивление верхнего слоя грунта, Ом·м;
Ro2 - удельное
сопротивление нижнего слоя грунта, Ом·м;
Lвepт - длина
вертикального заземлителя, м;
Нверх. сл. - толщина
верхнего слоя грунта, м;
Тверт - заглубление
вертикального заземлителя, м;
Кс - сезонный климатический
коэффициент.
3. Уточнение
масимального допустимого расчетного сопротивления группового заземлителя
Уточнение
производиться по алгоритму:
IF Ro3 <= 100 TНEN Rдоп. ут. = Rдоп
IF
(Ro3>100) AND (Ro3<1000) TНEN Rдоп. ут. = Rдоп.(Rо3/100)
IF Ro3 >1000 TНEN Rдоп. ут. = 10.Rдоп
где Rдоп -
нормируемое ПУЭ сопротивление;
Rдоп. ут. -
уточненное сопротивление.
Rдоп. ут. = 5,56
4. Сопротивление
одного вертикального заземлителя
(Ro3/(2·PI·Lвepт))·(LN(2·Lвepт/Dвepт
)+0.5·LN((4·Tвepт+Lвepт )/(4·Тверт-LвBepт))) = 45,01
где DNWZ - наружный
диаметр вертикального заземлителя, м; (см. таблицу 10.3 на стр. 146 в [2])
RWZO=(87,6/(2·PI·3))·(LN(2·3/0,012)+0.5·LN((4·TZWZ+LWZA)/
(4·TZWZ-LWZA)))=30,5
5. Приблизительное
количество вертикальных заземлителей без учета соединительной полосы и
коэффициента использования
N = Rверт/Rдоп. ут. N
= 8,09
6. Вычисление
сопротивления соединительной полосы
Rпол = (Rо1·Кс/(2·РI·Lпол))·(LN((2·Lпол)/(Впол·Тпол)))
= 128,33
где Lпол - длина
полосы, м;
Впол - ширина полосы,
м;
Тпол -. заглубление
полосы, м;
7. Сопротивление
вертикальных заземлителей вместе с соединительной полосой
Rполн = (Rпол.Rдоп. ут.)/(Rпол-Rдоп.
ут.)
где Rполн.-
сопротивление вертикальных заземлителей и соединительной полосы, Ом;
8. Уточненное
количество вертикальных заземлителей с учетом соединительной полосы и
коэффициента использования
Nуточн =
Rверт/(Rполн.·Кисп) = 12,00
где Кисп -коэффициент
использования электродов