Рідкі кристали

  • Вид работы:
    Курсовая работа (т)
  • Предмет:
    Физика
  • Язык:
    Русский
    ,
    Формат файла:
    MS Word
    1,57 Mb
  • Опубликовано:
    2010-06-18
Вы можете узнать стоимость помощи в написании студенческой работы.
Помощь в написании работы, которую точно примут!

Рідкі кристали

МІНІСТЕРСТВО ОСВІТИ І НАУКИ УКРАЇНИ

ДОНЕЦЬКИЙ НАЦІОНАЛЬНИЙ ТЕХНІЧНИЙ УНІВЕРСИТЕТ

Кафедра Прикладна екологія та охорона навколишнього середовища










КУРСОВА РОБОТА

з дисципліни “ФІЗИКА ТВЕРДОГО ТІЛА”

на тему:

“Рідкі кристали”








Донецьк, 2009

РЕФЕРАТ

Курсова робота: 27с., 15 рис.

Метою роботи є вивчення фізичних та хімічних властивостей рідких кристалів та їх застосування.

У роботі розглянуті основні властивості рідких кристалів, їх види. Описані їх фізичні властивості, методи вивчення структури рідких кристалів, розглянута структура ліотропних рідких кристалів та види термотропних, дефекти.

ХОЛЕСТЕРІЛБЕНЗОАТ, СМЕКТИКИ, НЕМАТИКИ, ХОЛЕСТЕРИКИ, ЛІОТРОПНІ РІДКІ КРИСТАЛИ, ЛІПІДИ, ДЕФЕКТИ

ABSTRACT

Course work: 27 p., 15 pic.

The purpose of work: studying of physical and chemical properties of liquid crystals and their application.

In work the basic properties of liquid crystals, their types are considered. Their physical properties, methods of studying of structure of liquid crystals are described; the structure of lyotropic liquid crystals and types of termotropic, defects in liquid crystals is considered.

KHOLESTERILBENZOAT, SMECTICS, NEMATICS, CHOLESTERICS, LYOTROPIC LIQUID CRYSTALS, LIPIDS, DEFECTS

ЗМІСТ

Вступ

1. Відкриття рідких кристалів

2. Методи вивчення структури рідких кристалів

2.1 Метод ІЧ спектроскопії

2.2 Метод рентгеноструктурного аналізу

3. Властивості рідких кристалів

3.1 Термічні властивості

3.2 Електричні та магнітні властивості рідких кристалів

3.3 Оптичні та електрооптичні властивості рідких кристалів

4. Термотропні рідкі кристали

5. Ліотропні рідкі кристали

5.1 Структура молекул речовин, що утворюють ліотропні рідкі кристали

5.2 Структура ліотропних рідких кристалів

5.2.1 Ліотропні рідкі кристали лінійної структури

5.2.2 Ліотропні рідкі кристали комірчастої структури

5.2.3 Ліотропні рідкі кристали кубічної структури

6. Дефекти в рідких кристалах

7. Застосування рідких кристалів

7.1 Дисплеї на рідких кристалах

7.2 Виготовлення інтегральних схем

7.3 Рідкокристалічні телевізори

Висновки

Перелік посилань

ВСТУП

В наш час, час науково-технічної революції, дослідження науки так стрімко упроваджуються в матеріальне виробництво та життя, що іноді складаються парадоксальні ситуації. А саме яке-небудь фізичне явище, що послужило основою нового виду виробництва, інтенсивно впроваджуються в техніку та побут, однак знання про це явище та його відомість в широких колах явно недостатньо.

Подібна ситуація складається з рідкими кристалами та знаннями про них. Зараз пристрої, що засновані на основі рідких кристалів, стрімко впроваджуються в техніку відображення інформації. Почалось масове впровадження пристроїв, що містять рідкі кристали, в побут. Перспективи масового впровадження рідких кристалів в наше життя ще більш багатообразні та масштабні: від термометрів до телевізорів. Процес впровадження наукових досліджень в практику та масове виробництво йде тут настільки швидко, що відповідні досягнення та відомості не знайшли поки що належного відображення навіть в програмах вузів. Тим часом рідкі кристали, або рідкокристалічний стан речовини, з фізичної точки зору є самостійний фазовий стан, не менш важливий і цікавий, ніж усім добре відомий стан речовини: твердий, рідкий та газоподібний. В деяких відносинах, в пізнавальному аспекті, воно є навіть цікавішим.

Наука та її досягнення активно впливають на наше життя, тому, як правило, підвищений науковий інтерес до того чи іншого об'єкту чи явища означає, що цей об'єкт чи явище представляє великий практичний інтерес. В цьому відношенні не є виключенням й рідкі кристали. Цікавість до них перш за все обумовлена можливостями їх ефективного застосування в ряді галузей виробничої діяльності. Впровадження рідких кристалів означає економічну ефективність, простоту, зручність. В даній роботі розглянемо структуру рідких кристалів, їх властивості та застосування їх в нашому житті.

1. ВІДКРИТТЯ РІДКИХ КРИСТАЛІВ

У 1888 році ботанік Рейнитцер опублікував свої спостереження про поведінку при зміні температури синтезованого ним холестерілбензоата. Кристали цієї речовини плавились при температурі 145,5оС, переходячи в мутну рідину. Ця рідина при подальшому нагріванні становилась прозорою при 178,5оС та с подальшим підвищенням температури залишалась незмінною. В процесі охолодження в рідині з’являлось блакитне офарблення при 178,5оС, яке швидко зникало, й рідина мутніла. Коли температура досягала 145,5оС, знову з’являлось таке фарбування, після чого наступала кристалізація.

Зразки Рейнитцера досліджував фізик Леманн у поляризованому мікроскопі та встановив, що рідина яку досліджували в мутному стані проявляє оптичну анізотропію. Дослідженні ним п-азоксифенетол, п-азоксианизол, олсат амонію, етиловий ефір п-азоксибензойної кислоти в певних температурних інтервалах мали, з одного боку, властивості рідини, а з другого, в зв’язку з оптичною анізотропією, що переконало його в тому, що цей новий, до цього часу невідомий стан речовини, який він назвав рідкокристалічним. Спочатку Леманн помилково вважав, що речовини в такому стані мають дуже рухому об’ємну кристалічну решітку. Одні експериментатори, які вивчали ці речовини, вважали, що мають справу з емульсіями, які сильно розсіювали світло, інші – що в речовинах утворюються мікрокристали, що оточенні плівкою рідини, або, навпаки, краплі рідини, оточенні мікрокристалічною оболонкою.

Сутність знов відкритого стану речовини могли пояснити тільки додаткові експериментальні факти. Результати подальших робіт Леманна та Шенка дозволили встановити, що мова йде про новий, до цього часу невідомий термодинамічний стан речовини, який відрізняється від звичайних рідин не тільки оптичними, але й іншими фізичними властивостями, наприклад електричними та магнітними. Форлендер незабаром синтезував багато з рідкокристалічних речовин і встановив, що це, в основному, органічні молекули витягнутої форми. [1]

2. МЕТОДИ ВИВЧЕННЯ СТРУКТУРИ РІДКИХ КРИСТАЛІВ

2.1 Метод ІЧ спектроскопії

Для вивчення рідких кристалів застосовуються стандартні спектроскопічні методи.

В період інтенсивного дослідження мезоморфного стану різних речовин виконаний ряд робіт методами ІЧ спектроскопії. Найважливіші з них – роботи Раулінса й Тейлора, Ташека й Вільямса, Майєра й Заупе, Майєра й Енглерта. Дослідження проводились в широкому спектральному діапазоні – від 650 до 10000 см-1. При виконані більшості вказаних робіт речовини, що вивчаються підверглись дії електричного й магнітного полів. Було використано також поляризоване ІЧ випромінювання.

Встановлено, що інфрачервоні спектри нематичних і холестеричних рідин мало відрізняються від спектрів ізотропних рідин, отже, суттєвих змін в міжмолекулярній взаємодії ближнього порядку при переході речовини з ізотропного стану в мезоморфне не спостерігається. Для смектичних рідин, навпаки, відмічені зрушення піків, що вказує на зміни в цьому випадку міжмолекулярних сил ближнього порядку.

Майєр і Енглерт, проводячи дослідження в поляризованому інфрачервоному світі, підтвердили наявність суттєвих змін в спектрах поглинання. Ці зміни залежать від орієнтації плоскості поляризації світла, що падає на рідкий кристал по відношенню к орієнтації молекул в нематиках, що вивчають.

Форлендер намагався знайти відмінність між спектрами ізотропної рідини й рідких кристалів, застосовуючи для цього кварцовий спектроскоп, однак для досліджених зразків цієї відмінності не було виявлено.

2.2 Метод рентгеноструктурного аналізу

Аналіз рідких кристалів, проведений Линденом і Хюккелем одразу ж після відкриття явлення дифракції рентгенівських променів, не дав задовільних результатів. Не спостерігалась різниця між дифракційною картиною рідкого кристала й відповідної рентгенограмою ізотропної рідини. Замість чітких і вузьких дифракційних кілець, що звичайно отримують на рентгенограмах кристалічних порошків, були отримані широкі розмиті кільця. Декілька пізніше Кац і Каст також не виявили суттєвої відміни в дифракційних картинах ізотропної рідини і рідких кристалів. Каст повідомив тоді, що розподіл інтенсивності на знімку в залежності від кута дифракції для нематичної фази декілька зрушено по зрівнянню з аналогічним розподілом для тієї ж речовини в кристалічному стані.

Суттєва відміна в рентгенограмах рідких кристалів і звичайних рідин отримана Кастом і Стюартом при дослідженні зразків в електричному й магнітному полях. Дифракційні кільця на знімках рідких кристалів були розділені на серпи, а на знімках звичайних рідин залишались незмінними. Цей факт автори пояснювали результатом орієнтації довгих осей молекул рідкокристалічних речовин в напрямку до зовнішнього поля. Незначна різниця в знімках рідких кристалів і ізотропній рідини спостерігали також Гламанн і інші, а Стюарт спостерігав невелике збільшення інтенсивності затемнення в головному максимумі на дифракційній картині нематичної рідини по зрівнянню з ізотропною рідиною.

Герман, досліджуючи рідкі кристали на приборах, що дозволяють виконувати оптичні спостереження й одночасно отримувати рентгенівські знімки при певних стабілізованих температурах, отримав на рентгенограмах нематичних рідких кристалів розмиті кільця, що нічим не відрізняються від кілець на знімках ізотропної рідини. Навпаки, на знімках смектичних рідких кристалів він отримав два типи дифракційних картин: одну – з розмитими зовнішніми й вузькими внутрішніми кільцями, а другу – з чіткими зовнішніми кільцями й менш чіткими внутрішніми. Перший тип дифракційної картини був їм отриманий при більш високій температурі. Така температурна залежність дифракційної картини вказує на залежність ступені порядку молекул от температури речовини.

Фрідель і де Бройль досліджували смектичні рідкі кристали. Вони підтвердили припущення, зроблене з оптичних спостерігань, що речовини в смектичному стані мають шарувату структуру. По Фріделю, товщина цих шарів порядку 199нм. Для кристалічного стану товщина шарів в цих речовинах складає величину порядку 162нм. Причину цієї відмінності Фрідель пояснив тим, що в твердому стані осі молекул нахилені до плоскості шарів, а в мезоморфному – осі орієнтовані перпендикулярно до плоскості шарів.

Берна і Кроуфорд вивчали цим методом кристалічні речовини, що дають при нагріванні мезофазу. Були дослідженні наступні нематогени: п-азоксианізол, п-азоксіфенетол, 1,5-ді- (п-метоксібензилиден) аміно-нафталін. Установлено, що молекули в кристалах орієнтовані не в шарі, а збудовані паралельно своїм осям і їх центри зміщені відносно один одного так, що утворюють лускату структуру. Вочевидь, що ступінь порядку молекул в мезоморфному стані нижче, ніж в твердому кристалі.

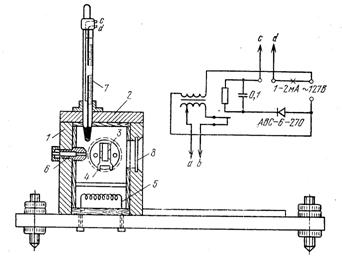
Для вивчення атомної структури речовини методом рентгеноструктурного аналізу отримують дифракційну картину рентгенівського випромінювання, розсіяного речовиною, що вивчається. Ця картина представляє собою дифузні кільця. Положення й інтенсивність кілець дозволяють визначити будову речовини, що розсіює рентгенівське випромінювання. Для виконання рентгенівських знімків рідкі кристали застосовують спеціальні термокамери.

Рисунок 2.2.1 – Температурна рентгенівська камера для дослідження рідких кристалів

Камера 1 має подвійний шар теплоізоляції: із текстоліту та азбесту. В кришку 2 камери вмонтовані два термометра: ртутний 7 та контрольний, на рисунку не показаний. Всередині камери в спеціальному невеликому сосуді 3 знаходиться зразок, який досліджують, на який падає пучок рентгенівського випромінювання через коліматор 6. Сосуд зі зразком зроблений з латуні та бакеліту. Разом із зразком він обертається на 30о відносно вертикальної плоскості. В нижній частині сосуду розташовано пристосування 4 для нагрівання зразку. Вся камера, що представляє свого роду термостат, нагрівається блоком 5. Точність нагрівання зразку складає 0,2оС. Фазові переходи зразку можна спостерігати в скляному віконці 8, через яке проходить також дифрагіруване на зразку рентгенівське випромінювання. Товщина зразку складає, як правило, 0,5мм. [2]

3. ВЛАСТИВОСТІ РІДКИХ КРИСТАЛІВ

Загальна для всіх типів рідких кристалів властивість – подвійне заломлення світла, характерне для більшості твердих кристалів, за допомогою якої можна ідентифікувати мезоморфний стан.

Другою властивістю, характерною для холестеричних рідких кристалів, є обертання плоскості поляризації. Якщо пропускати лінійно-поляризоване світло через шар холестеричної мезофази перпендикулярно молекулярним шарам, то напрямок колихань електричного вектора світової хвилі буде повернуто вліво або вправо. Плоскість колихань світла також повертається вліво або вправо. Кут оберту пропорційний товщині шару речовини. Кут обертання плоскості поляризації для цих речовин порядку кількох десятків градусів на 1мм шляху світлового сигналу, в той час як холестерині рідкі кристали, які мають сильну оптичну активність, обертають плоскість поляризації світла навіть до 18000о на 1мм шляху.

Наявність в рідких кристалах дальнього порядку в орієнтації молекул викликає анізотропію електричних і магнітних властивостей, притаманну твердим кристалам. Однак, у відмінності від твердих тіл, сили міжмолекулярної взаємодії тут значно слабкіші. Енергія деформації рідких кристалів мала, тому їх молекулярну структуру легко змінити під дією електричного та магнітного полів невеликої потужності. Для зміни структури достатні також незначні температурні колихання або механічний вплив на рідкі кристали. Структурним змінам рідких кристалів супроводжує зміна їх оптичних властивостей, так як вторинними ефектами зміни орієнтації молекул є зміни ступеня пропускання та відображення світла, кругового дихроїзму, оптичної активності та офарблення. Звідси випливає, що ці властивості легко управляються, особливо в випадку холестеричних рідких кристалів. Зміна офарблення холестеричних рідких кристалів проходить під дією мінімальних температурних колихань.

3.1 Термічні властивості

Рідкокристалічну фазу можна отримати двома шляхами: плавленням відповідної кристалічної речовини – тоді річ іде про термотропні рідкі кристали, або розчиненням речовини, здатної давати ліотропні рідкі кристали.

Нагрівання речовини, що знаходиться при нормальних умовах в кристалічному стані, до мезоморфного приводять до ряду фазових переходів при температурах Т0, Т1, Т2, ..., Тпр, де Т0 – температура плавлення кристалів з утворенням мезоморфної фази, а Тпр – температура просвітління або зникнення рідкокристалічної фази та переходу її в ізотропну рідину. Температури Т1, Т2 ... – точки можливих полімезоморфних перетворень всередині рідкокристалічної фази.

Температури фазових переходів для однієї й той же речовини розрізняються в залежності від напрямку температурних змін, тобто для нагрівання та охолодження (рис. 3.1.2). В зв’язку з легкістю переохолодження мезоморфної фази особливо помітна різниця в температурі Т0 при нагріванні та охолодженні. Послідовність перетворень, яку перетерплює речовина при нагріванні та охолодженні, також не завжди співпадає. Фазові перетворення в речовинах, що утворюють мезоморфний стан тільки при охолодженні, називаються монотропними, в відмінності від енантіотропних перетворень, що спостерігаються як при нагріванні, так і при охолодженні речовини. Ряд поліморфних перетворень всередині мезофази може мати також монотропний характер.

Рисунок 3.1.2 – Схема розподілу температур фазових переходів при охолодженні та нагріванні зразка

Дуже часто на практиці необхідно розширити температурний діапазон мезофази або збільшити різницю Тпр – Т0 між температурою просвітління або плавлення рідкого кристала. З цією цілю різні рідкі кристали перемішують в таких пропорціях, щоб утворилась евтектична суміш. Температура плавлення Т0 такої суміші має різко виражений мінімум, який нижче температури плавлення кожного з компонентів. Величина температури просвітління буде проміжною між температурами просвітління кожного з компонентів суміші (рис. 3.1.3).

Рисунок 3.1.3 – Фазова діаграма для двох речовин, що дають подібні мезоморфні фази

Якщо суміш утворена речовинами, молекули яких мають однакову будову та якщо ці речовини утворюють ідеальні розчини, то склад евтектичної суміші можна дуже точно обчислити за допомогою рівняння Шредера-Ван Лаара. Для суміші, що складається з ι компонентів, температури плавлення яких Т01, ..., Т, а температури просвітління відповідно Тпр1, ..., Тпрι, якщо зміни мольної ентальпії при плавленні цих речовин складають ΔН1, ΔН2, ..., ΔНι, то рівняння Шредера-Ван Лаара для цих компонентів будуть мати вид

lnxι = ΔH1/R(1/T0 – 1/T01),

lnxι = ΔHι/R(1/T0 – 1/T) (3.1.1)

Тут Т0 – температура плавлення суміші; R – газова постійна; х1, …, хι – мольна доля окремих компонентів суміші.

Температури просвітління такої рідкокристалічної суміші Тпр можна обчислити з простої лінійної залежності

Тпр = ΣхιТпрι, (3.1.2)

де Тпр1 ...Тпрι – температури просвітління окремих компонентів суміші.

Рівняння Шредера-Ван Лаара не можна застосовувати в тому випадку, коли один з компонентів суміші має будову, що значно відрізняється від будови інших компонентів, або ж якщо він не утворює мезофазу. Але навіть якщо компоненти суміші схожі, температури Т0 та Тпр, що обчисленні теоретично, треба перевірити експериментально.

3.2 Електричні та магнітні властивості рідких кристалів

Явлення, що викликанні дією на рідкі кристали електричного поля, різноманітні й до сих пір немає однозначної їх орієнтації.

Електричні властивості рідких кристалів вивчаються найчастіше в тонких шарах, і, мабуть, експериментальні результати слід віднести до всієї системи, що складається з рідкокристалічного шару та електродів, які одночасно є й поверхнями, що несуть. Перш за все слід враховувати вплив цих поверхонь, що орієнтується, інжекцію електродами носіїв зарядів, а також адсорбцію іонів на електродах, що є причиною гістерезису для багатьох електричних явищ і утрудняє розподіл поля в зразку внаслідок утворення електричного подвійного шару.

Електричні явища в рідких кристалах мають найчастіше нелінійний характер, пов’язаний з термічною та електричною передісторією зразку.

Простішим типом прибору для електричних досліджень рідких кристалів є вічка типа «сендвіч». Дві плоскі скляні пластини (рис. 3.2.4) з нанесеним на них прозорим провідним шаром SnO2 або InO2 розділяються прокладками з слюди, тефлону або іншого діелектричного матеріалу. Зазор між пластинами вагається від 5 до 200мкм.

Рисунок 3.2.4 – Вічка типу «сендвіч». 1 – рідкий кристал, 2 – скляна пластина, 3 – провідний шар, 4 – прокладка, 5 – висновки

3.3 Оптичні та електрооптичні властивості рідких кристалів

Спонтанна орієнтація молекул в рідких кристалах наводить до того, що ці речовини проявляють оптичні двопроменезаломлювання, властиве деяким твердим кристалам. Світло, що проходить через однорідно-упорядковані шари рідких кристалів, розпадається на два проміння: незвичайний, напрямок поляризації якого співпадає з напрямком оптичної осі рідкого кристала, й, звичайний, з напрямком поляризації, перпендикулярним цій осі. Кристал вважається оптично позитивним, якщо ne-n0>0, й оптично негативним, якщо ne-n0<0; ne та n0 – коефіцієнти переломлення незвичайного й звичайного промінів.

Нематичні та смектичні рідкі кристали оптично позитивні й напрямок довгих осей молекул співпадає з напрямком оптичної осі. Холестерині рідкі кристали, в яких довгі осі молекул перпендикулярні осі холестеричної спіралі, яка, в свою чергу, паралельна оптичній осі зразка, - оптично негативні. Ця особливість часто служить критерієм відмінності холестеричних рідких кристалів від смектичних.

Знак двопроменезаломлювання та напрямок оптичної осі в рідкокристалічному зразку, як і в твердому кристалі, можна визначити при спостеріганні в мікроскопі в світлі, що сходиться.

Орієнтовані шари рідкокристалічних холестериків, нематиків і смектиків А оптично одноосні, тобто для рідких кристалів характерний тільки один напрямок, в якому світло проходить з однаковою швидкістю незалежно від стану поляризації. В смектиках С є два таких напрямки, вони двохосні. Двохосний стан можна отримати деформацією холестеричних і нематичних рідких кристалів.

Двопроменезаломлювання нематиків монотонно убуває з ростом температури й різко падає до нуля в точці фазового переходу в ізотропну рідину. Коефіцієнт заломлення для незвичайного проміння ne різко зменшується з ростом температури, а коефіцієнт заломлення звичайного проміння n0 повільно росте. Показано, що термічна залежність двопроменезаломлювання нема тиків визначається дисперсійними силами й силами відштовхування.

Надзвичайними оптичними властивостями володіють системи типу «закручений нематик». Таку систему можна отримати наступним чином: рідкий кристал поміщають між двома скляними пластинками, поверхні яких оброблені таким чином, щоб шар нематика орієнтувався пленарно, й пластини закручують відносно один одного на 90о. В результаті повороту пластин оптична ось нематика деформується (рис. 3.3.5). Шар закрученого нематика в паралельних поляроїдах дає темне поле зору, оскільки напрямок поляризації світла, що проходить через шар кристала, повертається на π/2. Більш ретельний експеримент Гука й Таррі показав, що світло, яке проходить через шар закрученого нематика, поляризований по еліпсу – поле зору затемнене не повністю.

Рисунок 3.3.5 – Спосіб отримання закрученого нематика

Смектичні рідкі кристали типу А, молекули в яких збудовані перпендикулярно смектичним плоскостям, оптично одноосні. Кристали смектичні типу С, для яких характерна орієнтація молекул нахилена до плоскості шарів, оптично двохосні.

Найбільш цікаві оптичні властивості мають холестерині рідкі кристали. Холестерини, в відмінності від нематиків й смектиків, оптично негативні. Вони одноосні. Їх надзвичайними оптичними властивостями, що характерні для твердих кристалів в діапазоні рентгенівського випромінювання, є дуже сильна здібність обертати плоскість поляризації, круговий дихроїзм і селективне відображення світла. Ці виключні оптичні властивості рідких кристалів холестеричного типа – слідство їх спіральної структури й того, що довжина шага холестеричної спіралі порівняна з довжиною хвилі видимого світла. [3]

4. ТЕРМОТРОПНІ РІДКІ КРИСТАЛИ

Класифікація рідких кристалів запропонована Леманном потім розширена Фріделем. За цією класифікацією виділяють три типи або групи рідких кристалів: смектичні, нематичні й холестеричні. Рідкі кристали, що входять в кожну з цих груп, розрізняються фізичними, й, перш за все, оптичними властивостями. Ці відміни слідують з їх структурної різниці.

Смектичний мезоморфний стан вперше спостерігали в милах (“смегма” – з греч. мило). В таких кристалах витягнуті молекули в формі сигар або веретен розташовані паралельно своїми довгими осями й утворюють шари однакової товщини, близької довжині молекул. Ці, так названі смектичні шари лежать один над іншим на однаковій відстані (рис. 4.6). Молекулярні шари в типових смектичних рідких кристалах рухомі, легко переміщується паралельно друг другу. Температура фазового переходу в мезоморфний стан досить висока. Вона повинна бути такою, щоб розрушити зв’язок між рядами, але не порушить зв’язок між молекулами, які розташовані на близькій відстані. Якщо зв’язок між молекулами в окремому шарі частково порушен, то речовина в межі шару поводить себе як двомірна рідина. По мірі зниження температури упорядкування в шарах збільшується, а при достатньо низьких температурах спостерігається упорядкування не тільки молекул в шарах, але й самих шарів і відповідно їх взаємне прилягання. При подальшому зниженні температури з’являється кристалічна структура, тобто може утворюватись твердий кристал з найпростішою молекулярною структурою.

Рисунок 4.6 – Орієнтування молекул в смектичних рідких кристалах

Добре відомим прикладом ліотропного смектичного подвійного шару є плівки мильних бульок. Внутрішні та зовнішні поверхні плівок й є, власне, смектичні шари, поділенні в бульках водним прошарком. Смектичні рідкі кристали часто називають смектиками.

В деяких рідких кристалах можна спостерігати під мікроскопом наявність мікроструктур у вигляді ниток, кінці яких або вільні, або зв’язані зі стінкою ємності, в якій знаходиться речовина що досліджується. Такі речовини відносяться до групи нематичних рідких кристалів (“нема” – з греч. нить). Орієнтація осей молекул в цих кристалах паралельна, однак вони не створюють окремі шари. Довгі осі молекул лежать вздовж ліній, паралельних певному напрямку, а їх центри розміщенні хаотично (рис. 4.7). Нематичні рідкі кристали називаються також нематиками.

Рисунок 4.7 – Орієнтування молекул в нематичних рідких кристалах

Третю групу рідких кристалів, які розрізняються своїми фізичними і, перш за все, оптичними властивостями, складають холестеричні рідкі кристалі – холестерики. До них відносяться, головним чином, похідні холестерину. Сам холестерин не дає мезофази. В холестеричних рідких кристалах молекули розташовані в шарах, як і в смектиках, однак довгі осі молекул паралельні плоскості шарів, а їх розташування в межах шару нагадують скоріш нематик. Шари в холестеричних рідких кристалах тонкі, мономолекулярні. Кожна молекула має плоску конфігурацію й бокову метильну CH3-групу, розташовану над або під плоскістю. При такій конфігурації атомів в молекулах слідує, що напрямок орієнтації довгих осей молекул в кожному послідуючому шарі відхилено на ~15 кутових хвилин в порівнянні з попереднім шаром. Ці відхилення підсумуються по всій товщині речовини, що приводить до виникнення спіральної молекулярної структури холестеричного рідкого кристала (рис.4.8).

Деякі з згаданих речовин можуть по черзі знаходитися в двох мезоморфних фазах: холестеричній і смектичній або нематичній і смектичній. Індивідуальних з’єднань, що дають нематичну й холестерину фази, не виявлено. [1]

Рисунок 4.8 – Орієнтування молекул в холестеричних рідких кристалах

5. ЛІОТРОПНІ РІДКІ КРИСТАЛИ

Ліотропні рідкі кристали отримуються розчиненням твердокристалічних речовин. В залежності від концентрації розчин може переходити з ізотропного стану через рідкокристалічний стан нематичного типу в смектичних рідких кристалах. Розчинення декількох речовин в конкретному розчиннику приводить до рідкокристалічного стану холестеричного типу. Можна отримати рідкокристалічний стан також розчиненням багатьох різноманітних компонентів.

Прикладом ліотропного рідкого кристала можуть бути розчини олеату калію в спирті та воді. Ці розчини, відомі під назвою калійного рідкого мила. Якщо каплю такого розчину розмістити між скляними пластинками, то через декілька годин по краях препарату починають з’являтися рідкі кристали смектичного типу. В центральній зоні препарату буде спостерігатись текстура іншого типу, що нагадує сімейство сферолітов.

Іншим прикладом широкодоступних ліотропних рідких кристалів можуть бути розчини деяких барвників. У звичайних чорнилах, що є ненасиченим розчином барвника, після упарювання води з’являються рідкі кристали.

5.1 Структура молекул речовин, що утворюють ліотропні рідкі кристали

Ліотропні рідкі кристали за своєю природою бувають органічними та неорганічними. Дуже часто зустрічаються системи – ліпід-вода. В живих організмах сполучення таких систем певної будови – звичне явище. Молекули ліпідів, одного з самих великих класів органічних речовин, що уміщують жири, віск, фосфіди и т.д. нарівні з вуглеводнями групами, не взаємодіють з водою, мають одну або кілька полярних гідрофільних груп, що легко контактують з водою. Такі молекули називаються амфіфільними, щоб підкреслити їх двояку природу. Подібні ліпіди знаходяться в крові, вони також є основою більшості речовин мозкової тканини. Висновком двоякої структури природи цих молекул є утворювання мезоморфної фази ліотропного типу.

Схематично структуру молекул ліотропних рідких кристалів звичайно зображають в вигляді хвилястої лінії або відрізку прямої, що закінчуються кільцем або сферою (рис. 5.1.9), які позначають відповідно ланцюг і полярну групу.

Рисунок 5.1.9 – Схеми молекул ліпідів

Поняття розчинності в випадку водних розчинів ліпідів відрізняється від класичного. В класичному розумінні ліпіди в воді нерозчинні. Їх розчинність основана на оточенні полярних груп молекулами води. Це скоріш гідратація, а не розчинення. Упорядкування молекул ліпідів в мезоморфній фазі є результат селективної взаємодії двох або більше видів молекул. В амфіфільних розчинах головну роль в межмолекулярній взаємодії грають два типи сил: електростатичні та дисперсіонні. Електростатичні сили виникають завдяки наявності іонів та диполей. Взаємодія між іонами, між диполями та між іонами та диполями приводять до певного упорядкування молекул.

5.2 Структура ліотропних рідких кристалів

Амфіфільні ліпіди, притягаючись своїми полярними групами, утворюють бімолекулярні шари (рис. 5.2.10). Така шарувата структура – результат наявності полярних груп із гідрофобними ланцюжками.

Рисунок 5.2.10 – Схема бімолекулярних шарів амфіфільних ліпідів

Процес проникання води в таку шарувату систему показан схематично на рис.5.2.11. Він заснований на впроваджуванні молекул води між шарами та набуханні амфіфільної речовини. В результаті цього утворюється бімолекулярне нашарування. Впроваджування води в твердий кристал амфіфільного ліпіду проходить тільки за певною, характерною для даної речовини температурою. Ця температура називається мінімальною температурою проникання або температурою пенетрації.

Рисунок 5.2.11 – Проникання води в бімолекулярні амфіфільні шари

В ідеальному розчинні двох або більше неполярних рідин всі молекули взаємодіють між собою однаково та симетрично. Під впливом їх теплового руху установлюється рівноважне розподілення молекул. В розчинах речовин, що утримують амфіфільні молекули, спостерігається тенденція з’єднання однорідних груп молекул. В результаті такої взаємодії утворюються системи, в яких гідрофобні групи згруповані разом і оточенні гідрофільними групами, що виступають на поверхню системи. Форма, розмір і положення таких локальних систем внаслідок теплового руху підлягають постійній зміни, але при цьому вони завжди знаходяться в рівновазі з системами сусідніх молекул. Системи амфіфільних молекул, що потерпають змін, називаються міцелами. Міцели носять характер статистичних утворювань, тому їх не бажано розглядати як стабільні об’єкти з певною геометрією. В ліотропному рідкому кристалі групи міцел знаходять чітку стабільність й дальній порядок. Зміна умов (температури, тиснення або концентрації компонентів) зараз же викликає зміни упорядкування міцел. Основою класифікації ліотропних рідких кристалів є оптичні та рентгенівські дослідження структури ліотропних рідких кристалів, проведенні Лузатті та ін. Питання класифікації ліотропних рідких кристалів ще не вирішене остаточно. Ліотропні рідкі кристали поділяються на чотири основні групи: рідкі кристали лінійної структури (мильні ядра) – символ групи L; рідкі кристали комірчастої структури (символ групи Р); рідкі кристали комірчастої структури з чашечками гексагонального двомірного пакування (символ групи РН); рідкі кристали кубічної симетрії (символ групи С).

Кожна з згаданих груп підрозділяється на відповідні класи. Перейдемо до конкретного описання цих груп та класів, що в них утримуються. На рис. 5.2.12 зображені структурні схеми цих груп.

Рисунок 5.2.12 – Структурні схеми різних груп ліотропних рідких кристалів. а – лінійна структура (L); б – комірчаста структура; в – комірчаста гексагональна структура РН; г – структура кубічної симетрії (С); д – сімейство міцел. Вектори 1,2 і 3 показують ступінь орієнтації (1-,2- і 3-мірна), в точці (·) орієнтація відсутня

Група ліотропних рідких кристалів лінійної структури поділяється на три класи, які позначаються символами L1, L2, L3. Клас L1 – пластинчата структура – охоплює рідкі кристали, в яких молекули та іони розташовані в подвійних шарах, розділених водою. Цей клас кристалів називається мильними ядрами. Клас L2 – пластинчата структура – вміщує рідкі кристали з одиночними шарами молекул і іонів, розділених водою. Структурні схеми цих класів показані на рис. 5.2.1.13. Клас L3 – шарувата структура з подвійними шарами молекул і іонів, розділених водою. Осі молекул в шарах перпендикулярні до плоскості шарів ябо нахиленні під деяким кутом.

Рисунок 5.2.1.13 – Структурні схеми групи ліотропних рідких кристалів лінійної структури

5.2.2 Ліотропні рідкі кристали комірчастої структури

Сукупність ліотропних рідких кристалів комірчастої структури включає дві групи: Р та РН. Ці групи в свою чергу поділяються на шість класів: Р1, Р2, Р3, РН1, РН2 та РН3.

До групи Р відносяться три класи (рис. 5.2.2.14). Клас Р1 містить агрегати молекули – комірці – в формі стрижнів з органічною серцевиною, оточені водою. Перетин стрижнів в основному чотирьохкутне. Це нормальна двомірна тетрагональна структура Р1. Клас Р2 включає комірці в вигляді стрижнів з водною серцевиною. Перетин стрижнів квадратний. Цей клас називається зворотною двомірною тетрагональною структурою. Клас Р3 охоплює комірці ромбоедричного пакування в формі стрижнів з органічною серцевиною, оточенні водою. Перетин стрижнів прямокутний – нормальна двомірна прямокутна структура.

Рисунок 5.2.2.14 – Структурні схеми групи ліотропних рідких кристалів комірчастої структури

До групи РН відносяться також три класи. Клав РН1 містить комірці з гексагональним пакуванням в формі стрижнів з органічною серцевиною. Перетин стрижнів має форму кільця або шестигранника. Ця середня фаза або нормальна двомірна гексагональна структура в залежності від форми перетину стрижня. Клас РН2 містить комірці з гексагональним пакуванням в формі стрижнів з водною серцевиною. Перетин стрижня має форму кільця або шестигранника, це зворотна двомірна гексагональна структура (рис.5.2.2.15). Клас РН3 включає частки більш складної структури, оточенні водою та які мають гексагональне пакування – комплексна двомірна гексагональна структура.

Рисунок 5.2.2.15 – Структурні схеми групи ліотропних рідких кристалів комірчастої гексагональної структури

5.2.3 Ліотропні рідкі кристали кубічної структури

Ці кристали складають групу С, яка складається з двох підгруп: IV – 1 та IV – 2. До першої відносяться класи Сf з кубічним гранецентрованим пакуванням, до другої – класи з об’ємноцентрованим кубічним пакуванням Сb.

Клас Сf поділяється на три підкласи: Сf1, Cf2 та Cf3. До цих підкласів відносяться комірці гранецентрованої кубічною структурою, які розташовані в об’ємній решітці. Перетин комірців може змінюватись від кільцеподібних до дванадцятигранних. Підклас Сf1 містить комірці з органічною серцевиною, оточені водою – нормальна гранецентрована кубічна структура. Підклас Сf2 – з водною серцевиною – зворотна гранецентрована кубічна структура. Підклас Сf3 включає комірці більш складної структури – комплексна гранецентрована кубічна структура.

Клас Сb розділяється на два підкласи: Cb1 та Cb2. До цих підкласів відносяться комірці кубічної об’ємноцентрованої структури з кільцеподібним перетином. Підклас Сb1 – нормальна об’ємноцентрована кубічна структура – містить комірці з органічною серцевиною, оточену водою. Підклас Сb2 – комплексна об’ємноцентрована кубічна структура – комірці більш складної форми з кубічним об’ємноцентрованим пакуванням. [4]

6. ДЕФЕКТИ В РІДКИХ КРИСТАЛАХ

Якщо не приймати спеціальних засобів обережності для отримання однородного препарату, то при плавленні твердої мезогенної речовини отримуються ті чи інші складні текстури. Проявлення різних типів дефектів, тобто порушень оптичної безперервної рідкокристалічної фази.

Ці дефекти надзвичайно різноманітні. Нитки, ядра, інверсійні стінки, петлі, конфокальні домени – добре видні за допомогою звичайного поляризаційного мікроскопа, так як вони мають достатньо великі розміри. Вже цим дефекти в рідких кристалах відрізняються від дефектів в твердих тілах, де вони мають субмікроскопічні розміри й за допомогою звичайної мікроскопічної техніки вирішуються погано. Причина такої різниці в розмірах полягає в тому, що енергія, необхідна для стабілізації дефектів в рідких кристалах, трохи менше відповідній енергії для твердого кристала. Дефекти в рідких кристалах часто стабілізуються опорними стінками або сторонніми включеннями. Вони виникають в процесі плавлення твердого кристала, при приложені електричних і магнітних полів, при виниканні градієнтів температури, в результаті механічних деформацій.

Дефекти в рідких кристалах можна поділити на три групи. Точкові дефекти, що належать до першої групи, добре відомі по твердим кристалам. Це, перш за все, дефекти молекулярних розмірів – дефекти по Френзелю та Шоттки. Можна думати, що ці дефекти в рідких кристалах проявляються в більш високих концентраціях, ніж в твердих кристалах внаслідок високої рухомості молекул. Інші точкові дефекти молекулярних розмірів пов’язані з обертанням молекул рідких кристалів вздовж довгих і коротких осей, з процесіоним рухом і з відхиленням довгих осей молекул від напрямку директора на величини порядку градуса. Ці дефекти не проявляються візуально в текстурах, й їх вивчення можливо тільки резонансними методами. Другий тип дефектів – це лінійні дефекти. В рідких кристалах спостерігається як лінійні дефекти, типові для твердих кристалів, - дислокації, так і дефекти, що рідко зустрічаються в твердих кристалах,- дисклинації. Вони визначають головним чином вид текстур рідких кристалів.

Третій тип дефектів – це двомірні дефекти або стінки. Вони також дуже часто бувають присутні в рідких кристалах і багато в чому визначають вид спостережуємій текстури. До цього останього типу можна віднести й різноманітні домени – конфокальні й більш складні полігональні утворення.

Розглянемо докладно лінійні дефекти. Візьмемо полий циліндр із речовини, що вивчаємо і розріжемо його уздовж твірної, як показано на рис. 6.16. Зміщуючи берега розрізу вздовж трьох осій координат, ми отримуємо краєві та гвинтові дислокації. В першому випадку вектор Бюргерса b перпендикулярний лінії дислокації L, в другому – паралельний (рис. 6.16, а – в).

Рисунок 6.16 – Процес Вольтерра утворення дислокацій та дисклінацій

Лінії дислокацій і дисклінацій L розташовані вздовж осі Х3. Напрямок зміщення та обертання показані векторами b та ν відповідно. а) і б) – краєві дислокації, в) – гвинтова дислокація, г) і д) – гвинтові дисклинації, е) – клинова дисклинація

Дисклинації виникають при обертанні берегів розрізу кругом осі ν, що розташована теж уздовж трьох осей координат. В перших двох випадках (рис.6.16,г,д) ось ν перпендикулярна лінії дисклинації L. Такі дисклинації називаються гвинтовими. В останньому випадку (рис. 6.16, е) ν паралельна L. Ця дисклинація називається клиновою.

В загальному випадку в результаті розглянутого процесу Вольтерра зсув кожної точки середи можна представити як

d=b+Ω(ν*r) (6.3)

де b – вектор Бюргерса

r – відстань до осі обертання ν, кругом якої середа оберталась на кут Ω

Дислокації в рідких кристалах можливі тільки в шаруватих структурах. При цьому вектор Бюргерса b повинний бути кратним числу шарів.

Дисклинації – більш часті дефекти в рідких кристалах.

Кут Ω в формулі (6.3), на який обертаються береги розрізу кругом осі ν, не може мати будь-які значення. Це обумовлено тим фактом, що оптичні осі по одну та іншу сторону дисклинації зберігають свій напрямок незмінним. Тому кут Ω повинен бути цілим, кратним π:

Ω=2πs (6.4)

де s – ціле або напівціле число, що називається силою дисклинації

Прийнято вважати силу дисклинації s позитивною, якщо в процесі Вольтерра приходиться видаляти залишок речовини. Якщо при утворенні дисклинації треба додати речовину, то її сила буде негативною.

Часто замість сили дисклинації користуються іншою величиною, що називається індексом Франка.

Дисклинації, також як і дислокації, взаємодіють один з одним, а також с дисклинаціями, крапковими дефектами поверхні, причому роль заряду в цих взаємодіях грає сила дисклинації або індекс Франка. [3]

7. ЗАСТОСУВАННЯ РІДКИХ КРИСТАЛІВ

7.1 Дисплеї на рідких кристалах

Відомо, якою популярністю користувалися різні електронні ігри, що зазвичай встановлюються в кімнаті атракціонів в місцях суспільного відпочинку або фойє кінотеатрів. Успіхи в розробці матричних рідкокристалічних дисплеїв зробили можливим створення і масове виробництво подібних ігор в мініатюрному, так би мовити, кишеньковому виконанні.

Першою такою грою в Росії стала гра «Ну, почекай!», освоєна вітчизняною промисловістю. Габарити цієї гри, як в записника, а основним його елементом є рідкокристалічний матричний дисплей, на якому висвічуються зображення вовка, зайця, курей і яєчок, що котяться по жолобах. Завдання людини що грає, натискуючи кнопки управління, змусити вовка, переміщаючись від жолоба до жолоба, ловити яєчка, що скачуються з жолобів в корзину, аби не дати їм впасти на землю і розбитися. Тут же відзначимо, що, окрім розважального призначення, ця іграшка виконує роль годинника і будильника, тобто в іншому режимі роботи на дисплеї «висвічується» час і може подаватися звуковий сигнал в необхідний момент часу.

Ще один вражаючий приклад ефективності союзу матричних дисплеїв на рідких кристалах і мікроелектронної техніки дають сучасні електронні словники і перекладачі, які почали випускати в Японії. Вони є мініатюрними обчислювальними машинками розміром із звичайний кишеньковий мікрокалькулятор, в пам'ять яких введені слова на двох (або більше) мовах і які забезпечені матричним дисплеєм і клавіатурою з алфавітом. Набираючи на клавіатурі слово на одній мові, ви вмить отримуєте на дисплеї його переклад іншою мовою. Уявіть собі, як покращає і полегшиться процес навчання іноземним мовам в школі і у вузі, якщо кожен учень буде забезпечений подібним словником. А, спостерігаючи, як швидко вироби мікроелектроніки упроваджуються в наше життя, можна з упевненістю сказати, що такий час не за горами. Легко представити і дороги подальшого вдосконалення таких словарів-переводчиків: переводиться не одне слово, а ціле речення. Крім того, переклад може бути і озвучений. Словом, впровадження таких словарів-переводчиків обіцяє революцію у вивченні мов і техніці перекладу.

Поява в нашому сучасному житті органайзерів, здатних нагромаджувати, обробляти і аналізувати інформацію дозволяє користувачеві вести індивідуальне планерування свого часу, враховуючи можливість виконання ряду дій, пов'язаних з контактами, зустрічами і так далі Органайзер завчасно нагадає про настання часу і дати особливо важливих заходів.

Мініатюризація відбувається в даному випадку в основному із-за зменшення дисплея. Як видно, рідкокристалічний дисплей вирішує цю задачу дуже просто.

7.2 Виготовлення інтегральних схем

Союз мікроелектроніки і рідких кристалів виявляється надзвичайно ефективним не лише в готовому виробі, але і на стадії виготовлення інтегральних схем. Як відомо, одним з етапів виробництва мікросхем є фотолітографія, яка полягає в нанесенні на поверхню напівпровідникового матеріалу спеціальних масок, а потім у витравленні за допомогою фотографічної техніки так званих літографічних вікон. Ці вікна в результаті подальшого процесу виробництва перетворяться в елементи і з'єднання мікроелектронної схеми. Від того, наскільки малі розміри відповідних вікон, залежить число елементів схеми, які можуть бути розміщені на одиниці площі напівпровідника, а від точності і якості витравлення вікон залежить якість мікросхеми.

Не менш корисним виявилося вживання рідких кристалів (тепер уже нематичних) на стадії контролю якості літографічних робіт. Для цього на напівпровідникову пластину з протравленими літографічними вікнами наноситься орієнтований шар нематика, а потім до неї прикладається електрична напруга. В результаті в поляризованому світлі картина витравлених вікон виразно візуалізується. Більш того, цей метод дозволяє виявити дуже малі по розмірах неточності і дефекти літографічних робіт, протяжність яких всього 0,01 мкм.

7.3 Рідкокристалічні телевізори

Створення телевізорів з рідкокристалічними екранами стало новою історичною віхою вживання рідких кристалів (LCD). Телевізори цього типа стають доступніше для покупців, тому що відбувається регулярно зниження цін, із-за вдосконалення технологій виробництва.

Екран LCD - це екран просвітного типу, тобто екран, який підсвічує із зворотного боку лампою білого кольору, а вічка основних кольорів (RGB - червоний, зелений, синій), розташовані на трьох панелях відповідних кольорів, пропускають або не пропускають через себе світло залежно від прикладеної напруги. Саме тому відбувається певне запізнювання картинки (час відгуку), особливо помітне при перегляді об'єктів, що швидко рухаються. Час відгуку в сучасних моделях різниться від 15мс (мілісекунди, 1мс - одна тисячна секунди) до 40мс і залежить від типу і розміру матриці. Чим менше цей час, тим швидше міняється зображення, немає явищ шлейфу і накладення картинок.

Час роботи лампи для більшості LCD-панелей майже на початковій яскравості - 60 000 годин (це вистачить приблизно на 16 років при перегляді телевізора по 10 годин в день). Для порівняння: в плазмових телевізорах яскравість за той же час зменшується набагато сильніше, а для кінескопних телевізорів (вигоряє люмінофор) поріг - 15000-20 000 годин (приблизно 5 років), потім якість помітно погіршується.

Прикладом досконалості може служити екран LCD телевізора LG RZ-23LZ20 який передає близько 17 мільйонів кольорів, з високим дозволом 1280 х 768 пікселів, з контрастністю 400:1 і яскравістю в 450кд/м. Це - прекрасний зразок рідкокристалічної технології.

Кут огляду в рідкокристалічних телевізорах останніх моделей досягає 160-170 градусів по вертикалі і горизонталі, а це робить проблему набагато менш гострою, чим вона була кілька років тому.

Недоліком рідкокристалічних екранів є наявність непрацюючих пікселів. Непрацюючі пікселі - пікселі, які постійно включені в якомусь одному стані і не міняють свій колір залежно від сигналу. Різні виробники допускають різну кількість непрацюючих пікселів на екрані, про що пишуть в інструкціях по використанню товару. Наприклад, в інструкції може бути написано "якщо на панелі ви виявили не більше чотирьох непрацюючих пікселів, то панель вважається повністю працездатною". У рідкокристалічних моніторах взагалі не допускається наявність непрацюючих пікселів, оскільки на монітор ми дивимося з набагато ближчої відстані, ніж на телевізор, і відразу можемо розгледіти це "сміття". [2]

ВИСНОВКИ

Рідкі кристали — речовини, що володіють одночасно властивостями як рідин (текучість), так і кристалів (анізотропія). По структурі рідкі кристали є рідинами, схожими на желе, що складаються з молекул витягнутої форми, певним чином впорядкованих у всьому об'ємі цієї рідини. Найбільш характерною властивістю рідких кристалів є їх здатність змінювати орієнтацію молекул під впливом електричних полів, що відкриває широкі можливості для вживання їх в промисловості.

По своїх загальних властивостях рідкі кристали можна розділити на дві великі групи:

1. термотропні рідкі кристали, що утворюються в результаті нагрівання твердої речовини, і що існують в певному інтервалі температур і тисків;

2. ліотропні рідкі кристали, що представляють собою двох або більш компонентні системи, що утворюються в сумішах стержневидних молекул даної речовини і води (або інших полярних розчинників). Ці стержневидні молекули мають на одному кінці полярну групу, а більша частина стержня є гнучким гідрофобним вуглеводневим ланцюгом. Такі речовини називаються амфіфілами.

Термотропні рідки кристали підрозділяються на три великі класи:

1. Нематичні рідкі кристали. У цих кристалах відсутній далекий порядок в розташуванні центрів тяжіння молекул, у них немає шаруватої структури, їх молекули ковзають безперервно у напрямі своїх довгих осей, обертаючись довкола них, але при цьому зберігають орієнтаційний порядок: довгі осі направлені уздовж одного переважного напряму. Вони поводяться подібно до звичайних рідин. Нематичні фази зустрічаються лише в таких речовинах, в молекул яких немає відмінності між правою і лівою формами, їх молекули тотожні своєму дзеркальному зображенню (ахиральні).

2. Смектичні рідкі кристали мають шарувату структуру, шари можуть переміщатися один відносно одного. Товщина смектичного шару визначається довжиною молекул (переважно, довжиною парафінового «хвоста»), проте в'язкість смектиків значно вище чим в нематиків і щільність по нормалі до поверхні шару може сильно мінятися.

3. Холестеричні рідкі кристали — утворюються, в основному, з'єднаннями холестерину і інших стероїдів. Це нематичні рідкі кристали, але їх довгі осі повернені один відносно одного так, що вони утворюють спіралі, дуже чутливі до зміни температури унаслідок надзвичайно малої енергії утворення цієї структури (порядка 0,01 Дж/міль). Холестерики яскраво забарвлені і щонайменша зміна температури (до тисячних доль градуса) наводить до зміни кроку спіралі і, відповідно, зміни забарвлення рідкого кристала.

У рідких кристалів незвичайні оптичні властивості. Нематики і смектики — оптично одноосні кристали. Холестерики внаслідок періодичної будови сильно відображають світло у видимої області спектру. Оскільки в нематиках і холестериках носіями властивостей є рідка фаза, то вона легко деформується під впливом зовнішньої дії, а оскільки крок спіралі в холестериках дуже чутливий до температури, то, отже, і віддзеркалення світла різко міняється з температурою, наводячи до зміни кольору речовини.

Ці явища широко використовуються в різних застосуваннях, наприклад, для знаходження гарячих крапок в мікроланцюгах, локалізації переломів і пухлин у людини, візуалізації зображення в інфрачервоних променях і інше. Всі форми життя так чи інакше пов'язані з діяльністю живої клітини, багато структурних ланок якої схожі на структуру рідких кристалів. Володіючи чудовими діелектричними властивостями, рідкі кристали утворюють внутріклітинні гетерогенні поверхні, вони регулюють взаємини між кліткою і зовнішнім середовищем, а також між окремими клітками і тканинами, повідомляють необхідну інертність складовим частинам клітки, захищаючи її від ферментативного впливу.

Таким чином, встановлення закономірностей поведінки рідких кристалів відкриває нові перспективи в розвитку молекулярної біології.

ПЕРЕЛІК ПОСИЛАНЬ

Книги

1. Чистяков И.Г., Жидкие кристаллы, М., 1966

2. Беляков В.А., Жидкие кристаллы, М.: Знание, 1986

4. Пикин С.А., Структурные превращения в жидких кристаллов, М., 1981


Не нашли материал для своей работы?
Поможем написать уникальную работу
Без плагиата!
Без нейросетей!