Исследование релейно-контакторной схемы управления электроприводом с АД и динамическим торможением

  • Вид работы:
    Практическое задание
  • Предмет:
    Физика
  • Язык:
    Русский
    ,
    Формат файла:
    MS Word
    401,12 kb
  • Опубликовано:
    2010-01-12
Вы можете узнать стоимость помощи в написании студенческой работы.
Помощь в написании работы, которую точно примут!

Исследование релейно-контакторной схемы управления электроприводом с АД и динамическим торможением

Лабораторная работа №5

Исследование релейно-контакторной схемы управления электроприводом с АД и динамическим торможением

Цель работы: Практически изучить схему динамического торможения АД с к.з. ротором в функции времени.

Ход работы:

5.1 Паспортные данные АД с к.з. ротором: Рн=1,1 кВт; nн=2790 об/мин; Iн=2,4 А; f=50 Гц; D/Y-220/380.

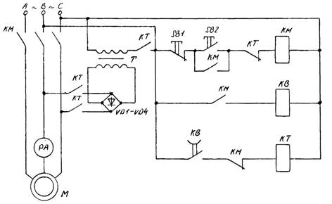
Зарисовали схему:

Рисунок 5.1 – Схема управления АД

5.2 Выполнили пуск и торможение АД. Опытные данные занесли в таблицу 5.1.

Пуск

Торможение


Время пуска, с.

Пусковой ток, А.

Ток торможения, А

Время выбега с торможением, с

Время выбега без торможения, с

1

0,8

15

2,5

0,8

6

2

0,9

14

2,4

0,9

6,5

3

0,95

14,5

2,45

0,85

7

Сред

0,88

14,5

2,45

0,85

6,5


5.3 Произвели необходимые вычисления:

5.3.1 Скольжение:

S=(w0-wн)/w0=(n0-nн)/n0,

S=(3000–2790)/3000=0,07

5.3.2 Эквивалентный ток торможения:


Iэкв=2 А

где Iп=2,5 А.

5.3.3 Критическое скольжение:


где =290 Ом; =30 Ом; =32 Ом.

Sм=0,1

5.3.4 Критический момент:

Н×м

5.3.5 Механическая характеристика:

Н×м

аналогично для всех значений S таблицы 5.2.

5.4.6 Электромеханическая характеристика:

А

Таблица 5.2. – Результаты вычислений

N, об/мин

150

300

450

600

1200

1800

3000

, рад/с

15,7

31,4

47

68,8

125,6

188,4

251,2

314

S

0,05

0,1

0,15

0,2

0,4

0,6

0,8

1,0

, A

0,8

1,3

1,5

1,6

1,8

1,8

1,8

1,8

М, Н×м

4

5,2

4,8

4,16

2,4

1,7

1,28

1,0


5.5. По данным расчетов построили характеристики АД с к.з. ротором.

Работа схемы:

Пуск. Подали напряжение. Нажали SB2, катушка КМ получила питание и встала на самопитание с помощью блокировочного контакта КМ. Одновременно замыкается контакт КМ в цепи катушки КВ, и размыкается КМ в цепи катушки КТ. КВ получает питание и замыкает контакт КВ. В силовой цепи замыкается контактор КМ, и двигатель получает питание, разгоняясь.

Торможение. Нажали SB1, КМ теряет питание, в цепи АД размыкается контактор КМ, АД отключается от сети, но продолжает вращаться. Одновременно размыкается контакт КМ в цепи КВ, и замыкается КМ в цепи КТ. КВ потеряло питание, но контакт КВ не размыкается, выдерживая время. КТ получила питание, замыкаются три контакта КТ и две фазы статора через Т и диодный мост VD1-VD4 подается постоянный ток. АД переходит в режим динамического торможения. Реле КВ начинает отсчет выдержки времени и через интервал времени происходит остановка АД, и одновременно отключается контактор КТ контактом реле времени КВ. КТ прекращает подачу постоянного тока в цепь статора, и схема возвращается в исходное положение.

Вывод: Практически изучили работу схемы динамического торможения АД с к.з. ротором.

Похожие работы на - Исследование релейно-контакторной схемы управления электроприводом с АД и динамическим торможением

 

Не нашли материал для своей работы?
Поможем написать уникальную работу
Без плагиата!
Без нейросетей!