Влаштування, монтаж і ремонт освітлювальних електроустановок

  • Вид работы:
    Реферат
  • Предмет:
    Физика
  • Язык:
    Русский
    ,
    Формат файла:
    MS Word
    3,11 Mb
  • Опубликовано:
    2010-08-24
Вы можете узнать стоимость помощи в написании студенческой работы.
Помощь в написании работы, которую точно примут!

Влаштування, монтаж і ремонт освітлювальних електроустановок














Тема: Влаштування, монтаж і ремонт освітлювальних електроустановок

Зміст

1. Основні відомості про освітлювальні електроустановки

2. Електричні джерела світла, прилади і світильники освітлювальних установок

2.1 Електричні джерела світла

2.2 Прилади освітлювальних електроустановок

2.3 Світильники освітлювальних електроустановок

3. Схема вмикання ламп розжарювання

4. Схеми вмикання люмінесцентних ламп

5. Розмітка місць установки світильників

6. Монтаж світильників

7. Експлуатація і ремонт освітлювальних установок

Список використаних джерел

1. Основні відомості про освітлювальні електроустановки

Освітлювальною електроустановкою називається спеціальний електротехнічний пристрій, призначений для освітлення територій, приміщень, будинків і споруд.

Освітлювальна електроустановка великого житлового будинку або промислового підприємства являє собою складний комплекс, що складається з розподільних пристроїв, магістральних і групових електричних мереж, різних електроустановочних приладів, освітлювальної арматури (світильників) і джерел світла, а також підтримуючих конструкцій та кріпильних деталей. Характерною особливістю освітлювальних електроустановок є різноманітність схем, які застосовуються, і способів виконання електропроводок, конструкцій світильників та джерел світла. В сучасних потужних електроустановках застосовують складні пристрої автоматики і телеуправління.

Залежно від призначення світильників освітлювальної електроустановки розрізняють загальне, місцеве, комбіноване робоче і аварійне освітлення.

Загальним називають освітлення всього або частини приміщення. Місцеве - це освітлення робочих місць, предметів або поверхонь, наприклад спеціальне освітлення оброблюваної деталі чи інструмента на токарному верстаті.

Комбіноване сполучає загальне і місцеве освітлення.

Робочим називають освітлення, призначене для забезпечення нормальної діяльності виробничих і допоміжних підрозділів підприємств.

Аварійним називається освітлення, яке при порушенні робочого освітлення тимчасово забезпечує можливість продовження роботи або евакуації людей. Аварійне освітлення обладнують у промислових приміщеннях, коридорах, проходах, проїздах і на сходових клітках. Світильники аварійного освітлення повинні відрізнятися від інших світильників пофарбуванням і конструкцією; їх приєднують до електричної мережі, не зв'язаної з мережею робочого освітлення.

Електроживлення світильників загального, місцевого, робочого та аварійного освітлення в нормальних приміщеннях здійснюється на напругу 127 або 220 В, а в приміщеннях з підвищеною небезпекою і в особливо небезпечних приміщеннях - на напругу 12, 24 або 36 В.

Розрізнюють також освітлення переносне, охоронне і світло-огороджувальне.

Переносне (ремонтне) освітлення здійснюють переносними ручними лампами, які приєднують до мережі напругою 127 або 220 В у нормальних приміщеннях і 12 В у приміщеннях підвищеної небезпеки і на (відкритих ділянках території підприємства.

Охоронне освітлення встановлюють вздовж огорожі території, що охороняється, з таким розрахунком, щоб одночасно освітлювалися зовнішня і внутрішня зони, які прилягають безпосередньо до огорожі.

Світлоогороджувальне освітлення встановлюють на високих будинках, димових трубах та інших спорудах для забезпечення безпеки польотів літаків у темну пору доби.

Основною вимогою, що ставиться до освітлення, є забезпечення нормованих значень освітленості. Нормовані значення освітленості визначаються умовами зорової роботи, в тому числі: розмірами предметів розрізнення, їх контрастом з фоном і коефіцієнтом відбиття фону; наявністю доступних небезпечних для дотикання предметів (відкритих струмопровідних частин, не огороджених частин машин, що обертаються, тощо); наявністю в полі зору світних поверхонь значної яскравості (електро- або газозварювання,

розплав металу, розжарені оброблювані деталі, що випромінюють світло, виробничі вогні тощо).

Рівень освітленості на окремих ділянках приміщень або робочих місцях збільшують локалізованим розташуванням світильників загального освітлення, обладнанням місцевого освітлення, застосуванням конструктивно більш удосконалених світильників або підвищенням потужності ламп.

Дотримування під час монтажу освітлювальних електроустановок нормованих параметрів освітленості сприяє поліпшенню умов і підвищенню продуктивності праці, зниженню втомлюваності зору робітників, підвищенню якості продукції, що виготовляється, економії електричної енергії, яка витрачається на освітлення.

Монтаж освітлювальних електроустановок здійснюють згідно з проектом, у якому наводять світлотехнічні розрахунки і дають розрахунок освітлювальної мережі. При цьому враховують характер технологічного процесу, умови експлуатації і стан навколишнього середовища. Розрахунок за втратою напруги ведуть на основі найменших витрат провідникових матеріалів (проводів, кабелів, шин тощо). Напруга найвіддаленіших ламп повинна становити не менше: 95 % номінальної - для мережі аварійного і зовнішнього освітлення, яке виконується світильниками; 97,5 % номінальної - для мережі робочого освітлення всередині приміщень промислових підприємств і прожекторних установок зовнішнього освітлення. Напруга ламп повинна становити при нормальному режимі не більше 102,5 % номінальної.

Розрахункове навантаження живильної освітлювальної мережі визначається множенням встановленої потужності ламп, виявленої в результаті світлотехнічного розрахунку, на коефіцієнт попиту, який дорівнює: 0,6 - для розподільних пристроїв, підстанцій, складських і допоміжних приміщень підприємств; 0,8 - для лабораторій і лікувальних закладів; 1 - для виробничих приміщень. Живлення освітлювальних електроустановок здійснюється від окремих освітлювальних трансформаторів або від трансформаторів, до яких одночасно приєднані й силові споживачі (електродвигуни, електрозварювальні апарати тощо).

2. Електричні джерела світла, прилади і світильники освітлювальних установок

2.1 Електричні джерела світла

Електричними джерелами світла є лампи розжарювання, люмінесцентні лампи низького тиску та ртутні лампи високого тиску.

Електричні лампи розжарювання (рис.2.1, а) найпоширеніші. Принцип дії ламп розжарювання ґрунтується на перетворенні електричної енергії, що підводиться до її волоска, на енергію видимих випромінювань, які впливають на органи зору людини і створюють у неї відчуття світла, близького до білого. Процес перетворення відбувається в лампі при нагріванні її волоска з вольфраму до 2600-2700 °С. Волосок лампи не перегоряє, оскільки температура плавлення вольфраму (3200-3400 °С) значно вища за температуру розжарювання волоска, а також внаслідок того, що з колби лампи видалене повітря або колба заповнена інертними газами (сумішшю азоту, аргону, ксенону), в середовищі яких метал не окислюється.

Рис. 2.1. Електричні лампи: а - розжарювання; б - люмінесцентна низького тиску; в - дугова ртутна високого тиску; 1 - цоколь; 2 - ніжка; 3 - електрод; 4 - гачок; 5 - колба; 6 - волосок; 7 - трубка; 8 - резистор; 9 - основний електрод; 10- кварцовий пальник; 11 - додатковий електрод; 12 - люмінофор: 13 - скляна трубка

Строк служби ламп розжарювання коливається в широких межах, оскільки залежить від умов роботи, в тому числі від стабільності номінальної напруги, наявності чи відсутності механічних впливів на лампу (поштовхи, струси, вібрації), температури навколишнього середовища тощо. Середній строк служби ламп розжарювання загального призначення становить 1000-1200 год.

При тривалій роботі лампи розжарювання її волосок розжарення під дією високої температури нагрівання поступово випаровується, зменшуючись у діаметрі, і, нарешті, перегоряє. Чим вища температура нагрівання волоска розжарення, тим більше світла випромінює лампа, але при цьому інтенсивніше відбувається процес випаровування волоска і скорочується строк служби лампи. Тому для ламп розжарювання встановлюється така температура розжарення волоска, за якої забезпечуються необхідна світловидатність лампи і певна тривалість її служби.

Лампи розжарювання, з внутрішнього об'єму (колби) яких видалено повітря, називаються вакуумними а з колбами, заповненими інертними газами, - газоповними.

Газоповні лампи за інших однакових умов мають більшу світловидатність, ніж вакуумні, оскільки газ, який знаходиться в колбі під тиском, перешкоджає випаровуванню волоска розжарення, що дає змогу підвищити її робочу температуру. Недоліком газоповних ламп є деяка додаткова втрата в них теплоти волоска розжарення через конвекцію газу, що заповнює внутрішню порожнину колби.

З метою зниження теплових втрат газоповні лампи заповнюють малотешюпровідними газами. Одним із способів зниження теплових втрат є також зменшення розмірів і зміна конструкції волоска розжарення. Волоски розжарення ламп виконують у вигляді щільцої гвинтоподібної (моноспіралі) або подвійної спіралі (біспіралі).

Основний недолік ламп розжарювання - низька світловидатність: лише 2-4 % споживаної ними електричної енергії перетворюється на енергію видимих випромінювань, що сприймаються людським оком, решта енергії переходить, головним чином, у теплоту, яка випромінюється лампою.

Досконаліші порівняно з лампами розжарювання люмінесцентні лампи, які дістали широке застосування в освітлювальних електроустановках підприємств, установ, навчальних і лікувальних закладів.

Люмінесцентна лампа (рис. 2.1, б) являє собою скляну герметично закриту трубку 7, внутрішня поверхня якої вкрита тонким шаром люмінофору. З трубки видалено повітря і до неї введено незначну кількість газу (аргону) і дозовану краплю ртуті. Всередині трубки (на її кінцях) у скляних ніжках 2 закріплені біспіральні електроди 3 з вольфраму, з'єднані з двоштирьовими цоколями 1, призначеними для приєднання лампи до електричної мережі через спеціальні патрони.

Під час подавання напруги до лампи між її електродами і виникає електричний розряд у парі ртуті, в результаті чого лампа починає випромінювати потоки світла. Для забезпечення більш інтенсивного випромінювання електронів електроди люмінесцентних ламп вкривають активуючими речовинами, наприклад оксидами стронцію, барію або кальцію.

Залежно від кольоровості випромінюваного лампою світлового потоку розрізняють лампи денного світла (ЛД), білого світла (ЛБ), холодно-білого світла (ЛХБ), тепло-білого світла (ЛТБ) тощо. У приміщеннях або під час робіт, де необхідне точне визначення кольорових відтінків, наприклад у друкарні при виготовленні кольорових репродукцій, у художній майстерні, на текстильному підприємстві тощо, застосовують лампи ЛДІ, призначені для правильного кольоропередавання.

Люмінесцентні лампи низького тиску є газорозрядними електричними джерелами світла. Люмінесцентні лампи низького тиску виготовляють: на напругу 12? В потужністю 15 і 20 Вт; на напругу 220 В потужністю 30, 40, 80 і 125 Вт. Строк служби і нормальної роботи люмінесцентних ламп становить близько 5000 год. за умови нечастих вмикань, стабільності номінальної напруги та забезпечення оптимальної навколишньої температури (яка не виходить за межі 15-25 °С).

У сучасних освітлювальних електроустановках промислових підприємств широке застосування дістають дугові ртутні лампи (ДРЛ) високого тиску. Лампи ДРЛ випускають з двома і чотирма електродами.

Чотириелектродна дугова ртутна лампа ДРЛ (рис. 2.1, в) складається з нарізного цоколя 1, колби (балона) 5 і кварцового пальника 10. Всередині пальника є дозована крапля ртуті і газ - аргон; в кінці пальника впаяні активовані основні 9 і додаткові // електроди з вольфраму. Внутрішня поверхня колби вкрита тонким шаром люмінофору.

Під час подавання напруги до електродів лампи відбувається електричний розряд у парі ртуті високого тиску, який супроводжується інтенсивним випромінюванням світла, в спектрі якого немає оранжево-червоних променів. Відсутність оранжево-червоних променів робить лампу непридатною для освітлення, тому склад люмінофору, яким вкривають внутрішню поверхню колби, підібраний так, що під впливом ультрафіолетового опромінення він випромінює світло оранжево-червоного кольору, яке, змішуючись з основним потоком лампи, створює світло, що сприймається людським оком як біле із слабким зеленуватим відтінком.

Чотириелектродні лампи ДРЛ відрізняються від двохелектродних наявністю в них двох додаткових електродів, підключених до основних електродів через додаткові опори. Наявність додаткових електродів полегшує запалювання лампи, оскільки при подаванні напруги до лампи між основним і найближчим додатковим електродами виникає жевріючий розряд, під дією якого пара ртуті іонізується, сприяючи розряду між основними електродами лампи Лампи ДРЛ з цоколем 0 40 мм випускають потужністю 250-1000 Вт.

Газорозрядні джерела світла (люмінесцентні лампи і лампи ДРЛ) значно економічніші від ламп розжарювання - світловидатність їх і строк служби у кілька разів перевищують світловидатність і строк служби ламп розжарювання.

2.2 Прилади освітлювальних електроустановок

Прилади освітлювальних електроустановок призначені для приєднування джерел світла до електричної мережі, керування джерелами світла і забезпечення необхідних режимів роботи освітлення, які визначаються місцевими умовами, наприклад характером виробництва, тривалістю світлового дня.

До найпоширеніших приладів освітлювальних електроустановок належать патрони (рис.22), вимикачі (рис.23, а, б), перемикачі (рис 23, в), штепсельні розетки з вилками стартерні пристрої для пуску люмінесцентних ламп тощо.

За конструкцією, призначенням і способом встановлення розрізняють патрони підвісні, арматурні з ніпелем або ніпельною шийкою (рис. 2.2, а, б, в), підвісні напівгерметичні з металевим вушком (рис 2.2, г), стельові (рис. 2.2, д) і стінні (рис. 22, в). Патрони відповідно до розмірів цоколів ламп бувають з нарізкою 14, 21 і 40 мм.

Рис. 2.2. Патрони а - арматурний з корпусом із пластмаси, б - арматурний з корпусом із латуні, в - арматурний з корпусом із фарфору, г - підвісний напівгерметичний; д - стельовий пластмасовий, є - стінний фарфоровий похилий, 1 - корпус; 2 - фарфоровий вкладень, 3 - контактні гвинти для приєднування проводів до центрального контакту і гільзи 4 - контакт, 5 - нарізна гільза, 6 - сталеве вушко для підвішування патрона

Вимикачі (рис 2.3, а, б) і перемикачі (рис. 2.3, в) однополюсні на напругу до 250 В і на струми до 10 А призначені для комутації електричних кіл освітлювальних електроустановок змінного струму частотою 50 Гц. Вимикачі й перемикачі однополюсні захищеного і герметичного виконання для відкритого та схованого встановлення повинні витримувати не менше 20 тис. вимикань.

Для підвищення комутуючої здатності та стійкості проти спрацювання контактні частини сучасних вимикачів і перемикачів виконують з металокераміки, що дає їм можливість витримувати понад 200 тис. вимикань.

Приєднання до електричної мережі однофазних і трифазних електроприймачів (переносних ламп, побутових електроприладів, електрифікованого інструменту тощо) з номінальними струмами до 10 і 25 А на напругу до 250 і 380 В відповідно здійснюють за допомогою штепсельних з'єднань.




Рис 2.3. Вимикачі і перемикачі а - клавішний вимикач для схованого встановлення, б - поворотний герметичний вимикач в - перемикач для схованого встановлення

Рис. 2.4. Елементи штепсельних з'єднань: а - штепсельна розетка на 6 А для відкритого встановлення, б - штепсельна розетка на 6 А для схованого встановлення, в - надплінтусна розетка; г - двополюсна штепсельна розетка на 10 А з плоскими струмовими і заземлюючими контактами для схованого встановлення; д - двополюсна штепсельна розетка на 10 А з заземлюючим контактом захищеного виконання для відкритого встановлення, є - триполюсна штепсельна розетка на 25 А і 380 В із заземлюючим контактом у захищеному виконанні для відкритого встановлення, є - вилка на 6 А; ж - вилка на 10 А з заземлюючим контактом; з - вилка двополюсна на 25 А і 380 В із заземлюючим контактом; и - вилка триполюсна на 25 А і 380 В із заземлюючим контактом.

Штепсельні з'єднання складаються з двох основних елементів: розетки (рис.2.4, а - є) і вилки (рис.2.4, є - и).

Штепсельні розетки випускають з круглими (рис.24, а, б, в) і плоскими (рис.24, г, д, є) контактами. Застосування плоских контактів дає змогу створити більш надійне контактне з'єднання, зменшити витрати міді і майже вдвічі порівняно з круглими контактами збільшити строк їх служби.

Для підключення переносних електроприймачів до електричної мережі напругою понад 36 В у приміщеннях з підвищеною небезпекою і особливо небезпечних застосовують двополюсні (рис 24, г, д) і триполюсні (рис. 24, є) штепсельні розетки з заземлюючим контактом, до якого приєднують провідник місцевої мережі заземлення.

2.3 Світильники освітлювальних електроустановок

Світильники освітлювальних електроустановок призначені для освітлення об'єктів (предметів, робочих поверхонь, виробничих площ тощо), які знаходяться на відстані, що не перевищує, як правило, 25 м.

Світильник складається з арматури і джерела світла. Джерело світла знаходиться всередині арматури, яка забезпечує необхідний розподіл світлового потоку джерела світла і захист його від механічних пошкоджень та впливу зовнішнього середовища.

Залежно від джерела світла освітлювальну арматуру умовно поділяють: для ламп розжарювання і ртутних ламп (рис.2.5, а - д), для люмінесцентних ламп (рис. 2.6, а-г).

Арматура світильників для лампи розжарювання і ртутної лампи складається з корпусу і закріпленого в ньому патрона. До корпусу закритих підвісних світильників прикріплюють внизу захисне скло для запобігання забрудненню і механічним пошкодженням лампи, а вгорі - вушко для підвішування до опорної конструкції. Горловину корпусу важких світильників, які жорстко встановлюють на трубі, виконують у вигляді патрубка з внутрішньою нарізкою 3/4". Деякі типи світильників оснащують спеціальним пристроєм, який вкручують у патрубок корпусу,- бюгелем, що має два сальники для роздільного ущільненого вводу про водів живильної мережі, а також гачок для підвішування.

Характерною особливістю світильників є велика різноманітність їх конструкцій та світлотехнічних характеристик.







Рис 2.5. Арматура світильників з лампами розжарювання і ДРЛ: а - «Універсалі»; б - рудничний; в - пилонепроникний; г - глибокого випромінювання; д - зовнішнього освітлення; 1 - відбивач; 2 - корпус; 8 - болт заземлення; 4 - скоба (вушко) для підвішування, 5 - проводи; 6 - патрон; 7 - кришка; 10 - захисна сітка; 11 - бугель.

Рис. 2.6. Світильники з люмінесцентними лампами: а - ОДР; б - ШЛП; в - ВОД; г - ПВЛ; 1 - підвіс, 2 - ковпачок підвісу; 3 - корпус; 4 - відбивач; 5 - екранізуючі грати; 6 - розсіювач; 7 - опорна рама; 8 - відкидна рама; 9 - вузол кріплення

Арматура світильника для люмінесцентних ламп найчастіше являє собою металевий корпус, у якому змонтовані пускорегулювальні пристрої (ПРП), лампотримачі, стартеротримачі та з'єднувальні проводи. Світильник приєднують до живильної електричної мережі за допомогою затискачів, розташованих під одним з ковпачків вузла підвіски. До корпусу арматури прикріплений відбивач, а на відбивачі залежно від конструкції світильника є екрануючі грати, захисне скло або розсіювач.

Світильники за своєю конструкцією, світлотехнічними показниками та характеристиками повинні відповідати умовам роботи і навколишнього середовища, а також вимогам безпеки і зручності експлуатаційного обслуговування. Рекомендації щодо вибору світильників наведені в табл.8.

Недоліком люмінесцентних ламп і ламп ДРЛ, які вмикаються в мережу змінного струму, є періодичні зміни їх світлового потоку в часі з частотою, що дорівнює подвоєній частоті струму живильної мережі. Ці зміни (пульсації) світлового потоку, які не сприймаються оком людини внаслідок відомої інерції її зору, все ж досить небезпечні, коли лампи застосовують для освітлення рухомих предметів.

При пульсації світлового потоку спотворюється сприйняття зором людини дійсної швидкості і напрямку руху предметів внаслідок стробоскопічного ефекту. Так, освітлювані люмінесцентними лампами і лампами ДРЛ деталі машини або оброблювані предмети, які обертаються з певною частотою, можуть видатися нерухомими і навіть такими, що повільно обертаються в протилежний бік. Тому при освітленні приміщень, де є верстати і механізми з доступними для працюючих частинами, що обертаються, застосовують схеми вмикання люмінесцентних ламп і ламп ДРЛ, які усувають небажані й небезпечні пульсації світлового потоку.

Схеми вмикання ламп розжарювання, люмінесцентних ламп і ламп ДРЛ, які застосовують найчастіше, наводяться нижче.

3. Схема вмикання ламп розжарювання

В освітлювальних електроустановках для керування лампами розжарювання застосовують кілька схем. Так, дві і більше ламп розжарювання можуть приєднуватися до мережі однополюсним вимикачем (рис.3.1, а).

Рис. 3.1. Схеми приєднання ламп розжарювання. а - з одним вимикачем; б - з двома вимикачами; в - з одним перемикачем; г - з двома перемикачами; д - на лінійну напругу; є - на фазну напругу

Керування п'ятьма лампами здійснюється двома розташованими поруч однополюсними вимикачами (рис.3.1, б). При повороті першого вимикача вмикаються дві лампи, а при повороті другого - ще три лампи. Таку схему вмикання ламп застосовують у великих приміщеннях з режимом роботи, що потребує різного ступеня освітлення.

Якщо необхідна поперемінна зміна кількості ламп, що вмикаються (наприклад, у люстрі), їх приєднують до мережі за допомогою люстрового перемикача (рис.3.1, в). З першим поворотом перемикача вмикається одна лампа з трьох, з другими поворотом - дві інші, але вимикається перша лампа, з третім поворотом вмикаються всі лампи, а з четвертим - усі лампи, люстри вимикаються.

При необхідності незалежного керування однією або кількома лампами з двох місць застосовують схему з двома перемикачами, з'єднаними двома перемичками і проводом (рис.3.1, г). Наявність перемичок і проводу, який іде від перемикача до лампи, створює необхідні кола. Цю схему використовують при освітленні коридорів та сходових кліток Житлових будинків і підприємств» а також тунелів з двома або кількома виходами.

Лампи освітлювальних електроустановок, які живляться від трипровідної системи трифазного струму, вмикають між двома фазами мережі (рис.3.1, д) а ті, що живляться від чотирипровідної мережі,- між фазним і нульовим проводами (рис. 3.1, є).

4. Схеми вмикання люмінесцентних ламп

Люмінесцентні лампи можуть вмикатися в електричну мережу за стартерною і безстартерною схемами запалювання.

Рис. 4.1. Принципова схема вимикання люмінесцентної лампи стартерним запалюванням

При вмиканні ламп за стартерною схемою запалювання (рис. 4.) стартером є газорозрядна неонова лампа з двома (рухомим і нерухомим) електродами.

Люмінесцентну лампу вмикають у електричну мережу лише послідовно з баластним опором, який обмежує зростання струму в лампі і таким чином запобігає її руйнуванню. В мережах змінного струму як баластний опір застосовують котушку з великим індуктивним опором - дросель.

Запалювання люмінесцентної лампи відбувається таким чином.

Під час вмикання лампи між електродами стартера виникає тліючий розряд; його теплота нагріває рухомий біметалевий електрод. При досягненні певної температури нагрівання рухомий електрод стартера, згинаючись, замикається з нерухомим, утворюючи електричне коло, по якому протікає струм, необхідний для попереднього підігрівання електродів лампи. Підігріваючись, електроди починають випускати електрони. Під час проходження струму в колі електродів лампи розряд у стартері зникає, внаслідок чого рухомий електрод стартера остигає і, розгинаючись, повертається у вихідне положення, розриваючи при цьому електричне коло лампи. Під час розривання електричного кола до напруги мережі додається електрорушійна сила самоіндукції дроселя, і імпульс підвищеної напруги, що виник у дроселі, викликає дуговий розряд у лампі та її запалювання. З виникненням дугового розряду напруга на електродах лампи і паралельно з'єднаних з ними електродах стартера знижується настільки, що виявляється недостатньою для виникнення тліючого розряду між електродами стартера. Якщо запалювання лампи не відбудеться, то на електродах стартера з'явиться повна напруга мережі і весь процес повториться.

Для вмикання люмінесцентних ламп застосовують спеціальні стартерні і безстартерні пускорегулювальні апарати (ПРА), що являють собою комплектні пристрої, які забезпечують надійне запалювання і нормальну роботу ламп, а також підвищення коефіцієнта потужності та зниження пульсації світлового потоку ламп. У ПРА встановлюють також пристрої, що заглушують перешкоди радіоприймання.

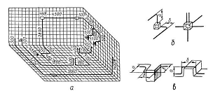
5. Розмітка місць установки світильників


Виконання розмітки місць установки світильників безпосередньо на стелі (а) і методом перенесення точок з підлоги на стелю (б)

Розмітка місця установки одного світильника






Розмітити дві діагональні лінії. Відзначити точку перетину діагоналей і перенести її з підлоги на стелю жердиною з відвісом, для чого вістря жердини встановити на стелі так щоб схил знаходився точно над точкою перетину діагональних лінії на підлозі

Розмітка місць установки двох світильників






Розмітити осьову лінію по центру уздовж приміщення і відзначити на ній точки, розташовані на відстані В/4 від поперечних стін. Перенести дві розмічені точки на стелю жердиною з схилом. Виконати розмітку лінійкою-рамкою або двома жердинами з шнуром у вказаній послідовності безпосередньо на стелі.

Розмітка місць установки чотирьох світильників






Розмітити на підлозі дві лінії, паралельні подовжнім стінам, на відстані А/4 Відзначити на лініях чотири точки на відстані В/4 від поперечних стін і перенести на стелю жердиною з схилом. Виконати розмітку аналогічно розмітці двох світильників.

Розмітка місць установки декількох світильників в шахматному порядку







Розмітити на підлозі дві лінії, паралельні подовжнім стінам, на відстані А/4 Відзначити на одній лінії точки першу на відстані В/9, інші через кожні 2В/9. Повторити на іншій лінії розмітку в такому ж порядку, тільки відлік почати від протилежної поперечної стіни. Виконати цю розмітку аналогічно розмітці чотирьох світильників.

Розмічальні інструменти і пристрої







а - шаблон; б - розмічальна жердина; в - дерев'яний циркуль, г - розмічальна рама з жердиною: д - висок із шнуром; є - набір розмічальних інструментів: 1 - телескопічна лінійка; 2 - кутомір; 3 - рулетка; 4 - розмічальний трафарет

На ескізах, у заготівельних відомостях і супроводжувальній технічній документації зазначають технічні дані, які вичерпно характеризують ці електричні мережі. Для зображення елементів електричної мережі на ескізах застосовують умовні позначення. Ескізи заготовок нескладних трас виконують у площинних зображеннях, а складних трас - у просторовому зображенні. Для зручності складання ескізів монтажними організаціями застосовують спеціальні віддруковані друкарським способом бланки з нанесеною на них площинною або об'ємною масштабною сіткою.

На ескізах замірювань електропроводок освітлювальних електроустановок зазначають:

- марку, перерізи і кількість жил проводів і кабелів;

- способи виконання з'єднань окремих ділянок заготовок і відгалужень від них (паянням, зварюванням, опресовуванням тощо);

- способи окінцювання жил проводів і кабелів для приєднання їх до світильників, приладів та апаратів (товкачиком, кільцем або наконечником із зазначенням його типу);

- умовне розпізнавальне забарвлення фаз і маркування кінців жил проводів і кабелів;

- загальну довжину і розміри окремих ділянок електропроводок із зазначенням місць їх відгалуження та розташування відгалужувальних коробок;

довжину ділянок відгалужень до світильників і приладів, а також висоту підвішування і тип світильника.

Приклади складання замірювальних ескізів освітлювальних електропроводок: а - проводами АППВ; б - кабелем АНРГ; в - проводом АТРГ; г - відрізком кабельної лінії

Приклади складання замірювальних ескізів на складні трубні заготовки: а трубні розведення в просторовому (об'ємному) зображенні: б - виходи труб з коробок; в - обходи трубами виступних будівельних конструкцій

Під час замірювання і складання ескізів тросових електропроводок додатково зазначають проектні марку і діаметр несучого троса або дроту, марки та перерізи проводів і кабелів, способи прикріплення проводок до несучого троса (на клицях, хомутах, опорних конструкціях тощо), типи кінцевих анкерних кріплень та проміжних тросових підвісів і відтяжок, і відстані між підвісами й відтяжками, способи влаштування захисного заземлення та його приєднання до контуру заземлення.

До замовлення на заготовлення електропроводок, відрізків кабелів і трубних комунікацій додають відомість заготовок, у якій крім даних, необхідних для виготовлення потрібних вузлів і деталей, зазначають способи їх комплектації, пакування і транспортування.

6. Монтаж світильників

Монтаж світильників і приладів

Монтаж світильників, вимикачів, перемикачів, штепсельних розеток та інших приладів здійснюють після виконання в приміщенні всіх оздоблювальних і малярних робіт.

Заряджені світильники, що надійшли на об'єкт монтажу, перевіряють, відзначаючи при цьому фазні, нульові і холості жили проводів, після чого підвішують світильники до арматурного гака або кронштейна.

Незаряджені світильники заряджають за допомогою спеціальних арматурних, переважно гнучких, мідних проводів відповідних марок і перерізів (ПРКС, ПРБС тощо). Під час заряджання світильників кінці фазних або холостих жил проводів повинні бути приєднані до головок (центральних контактів) патронів, а кінці нульових проводів - до їх гвинтових гільз. Проводи не повинні зазнавати натягів, які могли б призвести до обривання або висмикування їх з контакту.

Пристрій для введення проводів у світильники залежить від типу світильника і способу проводки. Багато ввідних пристроїв оснащені ніпелями з нарізкою, щоб було можливо приєднувати до них сталеві труби електропроводки. В арматурі, призначеній для приміщень сирих, з їдкими парою й газами, а також для встановлення на відкритому повітрі в разі відкритого прокладання проводів (на роликах або ізоляторах) передбачаються два отвори для окремого вводу проводів. У світильників, які застосовуються для вводу кабелю (СРГ, ВРГ тощо), ввідні пристрої мають сальники; якщо сальника немає, ввідний пристрій повинен бути герметизований заливанням ізоляційною мастикою.


Рис 6.1. Приклади підвішування світильників при різних способах прокладання проводів і кабелів а - при схованому прокладанні проводів, б - при відкритому прокладанні проводів у трубах, в - при тросовому прокладанні проводів, г - при проводці кабелем АВРГ

Світильники у вигляді плафонів, бра, настінних і стельових патронів встановлюють на дерев'яних розетках завтовшки 10- 12 мм, міцно закріплених на стіні або стелі.

У разі монтажу освітлювальної мережі трубчастим проводом АТПРФ кріплення світильника повинно робитися жорстким (наприклад, на штанзі із сталевої труби). Приклади підвішування світильників у різних приміщеннях і за різних способів прокладання проводів і кабелів зображені на рис. 6.1.

Вимикачі, перемикачі та штепсельні розетки встановлюють залежно від їх конструкції і прийнятого способу виконання проводки (рис. 6.2). Однополюсні вимикачі й перемикачі приєднують до проводок у розсічку фазних жил проводів і кабелів. Металеві корпуси вимикачів, перемикачів і штепсельних розеток, які підлягають заземленню, приєднують окремим проводом до нульового проводу електропроводки, при цьому один його кінець - паянням або зварюванням до нульового проводу, другий кінець - до корпусу апарата за допомогою заземлюючого гвинта, що є на корпусі.

Рис. 6.2. Приклади монтажу установочних приладів: а - вимикача при відкритому прокладанні проводів АППВ; б - штепсельної розетки при закритому прокладанні проводів у гумових напівтвердих трубках, в, г - вимикача і штепсельно розетки у разі проводки кабелем ВРГ у сирому приміщенні

Вироби для кріплення світильників з лампами розжарювання і ДРЛ

Стельова розетка РПУХЛУ


Розетку виготовляють з пластмаси і використовують для закривання отворів виходу проводів і крюків У623УХЛУ, 4625УХЛУ з перекриттів. У ній розміщують затиски, що сполучають дроти світильника з дротом лінії

Утримувач У25МУЗ світильника


Утримувач кріплять до кронштейнів, підвісів, стійкам через різьбові патрубки з трубним різьбленням 3/4". Світильник, що прикріплюється до утримувача, повинен мати у верхній частині крюк, кільце і бугель.

Крюки для підвіски світильників масою до 5 кг до перекриттів з порожнистих і суцільних плит

 

Крюки кріплять до перекриття через заготовлені отвори, ізолюють при підвісці світильників і використовують разом із стельовою розеткою. Для підвіски світильників до перекриттів з порожнистих плит крюки мають уздовж осі ряд отворів, що дозволяють міняти їх розмір залежно від відстані усередині перекриття, а для підвіски світильників до перекриття з суцільних плит - один кріпильний отвір, розрахований на кріплення до плити певної товщини.

Для порожнистих плит випускають крюки У623УХЛ4 і У628УХЛ4 (I) завдовжки (L) відповідно 60 і 120 мм, для суцільних плит - крюки У625УХЛ4, У629ХЛ4 (II) заввишки (Н) 155 мм і завдовжки 80 і 120 мм, а також У629УХЛ4 заввишки 215 мм і завдовжки 80 мм.

Шпильки У624УХЛ4 - У626УХЛ4 для кріплення світильників


Шпильки У624УХЛ4-У626УХЛ4 кріплять до перекриття з порожнистих і суцільних плит через заготовлені отвори двома пластинами з отворами уздовж осі. Такий пристрій дозволяє міняти розміри кріплення залежно від відстані усередині перекриття. Світильники кріплять до шпильок гайкою

Шпильки У632УХЛ4, У626УХЛ4 для кріплення світильників


Шпильки кріплять до перекриття з суцільних плит через заготовлені отвори, а світильники до шпильки - гайкою. Довжина шпильки залежить від товщини перекриття.

Крюк для кріплення угвинчуванням


Крюки кріплять до дерев'яних перекриттів і до них підвішують світильники. Якщо крюк угвинчують в дерев'яну підставу, ізоляція світильника від крюка, що встановлюється в житлових будинках, не обов'язкова.

Крюк для кріплення вмазуванням


Крюки кріплять вмазуванням, а світильники - тільки після закінчення встановлених термінів схоплювання розчину. При установці в житлових будинках і напрузі мережі 127/220 В крюк від світильника ізолюють.

Трубчасті підвіси К980УЗ- К983УЗ


Трубчасті підвіси застосовують для кріплення світильників масою до 10 кг на фермах і перекриттях.

Кронштейн К986УЗ з трубним держателем К939УЗ







Кронштейн (I) застосовують для кріплення світильників масою до 6 кг на стінах, колонах або фермах і встановлюють за допомогою трубного утримувача К939УЗ(ІІ). Світильники кріплять до кронштейна різьбовим з'єднанням (якщо воно передбачене)

7. Експлуатація і ремонт освітлювальних установок

Правильна експлуатація освітлювальних установок заключається в забезпеченні їх безперебійної роботи і підтримці необхідної освітленості кожного виробничого приміщення. Це досягається уважним обслуговуванням установок, регулярним чищенням освітлювальних приладів, своєчасною заміною ламп, що вийшли з ладу, виконанням поточного і капітального ремонтів.

Огляд і ремонт освітлювальних установок (чищення світильників, зміну ламп і плавких вставок, ремонт мережі) оглядають при відключеній напрузі.

Для нормальної експлуатації освітлювальних установок необхідно мати виконавчі креслення і схеми освітлювальної мережі об'єкту.

При прийманні в експлуатацію освітлювальних установок перевіряють:

відповідність проекту всіх елементів освітлювальної установки;

надійність контактів і правильність роботи комутуючих апаратів (вибірково);

надійність закріплення освітлювальних приладів, щитків, вимикачів, штепсельних розеток і інших елементів електроосвітлювального обладнання (вибірково);

якість виконання захисного заземлення;

опір ізоляції освітлювальної мережі;

відповідність дійсній освітленості прийнятою в проекті або потрібною по нормах.

В процесі експлуатації систематично контролюють постійну напругу на світильниках на окремих ділянках мережі і усувають причини, викликаючи втрати або коливання напруги.

Вся освітлювальна мережа і апарати установок піддаються періодичним перевіркам і профілактичним ремонтам. Терміни проведення оглядів і ремонтів залежать від умов навколишнього середовища, в якому працює освітлювальне устаткування.

Пристрій автоматичного перемикання аварійного освітлення перевіряють один раз в три місяці (вдень). Один раз в три місяці перевіряють також справність аварійного освітлення при одночасному відключенні робочого освітлення.

Величина опору ізоляції установки повинна бути не меншого 0,5 Мом. Якщо опір ізоляції не відповідає нормам, ізоляцію випробовують напругою 1000 в протягом 1 мин. Опір ізоляції мереж робочого і аварійного освітлення, кабелів і заземлюючих пристроїв перевіряють не рідше за один раз на три роки, при цьому виміри проводять на ділянках між двома суміжними запобіжниками або іншими захисними апаратами.

Під час перевірки опору ізоляції плавкі вставки знімають, лампи розжарювання вивертають, а світильники з люмінесцентними лампами і лампами ДРЛ від'єднують від мережі.

Ремонт переносних знижувальних трансформаторів, ламп і при сполучених до них проводів проводиться один раз в три місяці, а стаціонарних знижувальних трансформаторів - один раз на рік.

Величину освітленості виробничих цехів підприємства і основних робочих місць перевіряють не рідше за один раз на рік.

Ремонт окремих ділянок освітлювальної мережі здійснюється при відключеному на щиті рубильнику або вимикачі освітлювальної групи і знятих плавких вставках.

Догляд за світильниками. Лампи, що перегоріли, в світильниках замінюють новими. Не можна встановлювати в світильниках лампи більшої потужності, чим передбачено проектом, щоб уникнути недопустимого нагріву світильника, патрона і проводів. Знімати скляні ковпаки забороняється, оскільки вони пом'якшують шкідливе для очей яскраве свічення лампи і захищають освітлювальну арматуру від дії навколишнього середовища. Розбиті ковпаки потрібно замінювати новими.

Лампи, патрони, ковпаки і зовнішні частини корпусів освітлювальних приладів протирають м'якою ганчіркою. Іноді, якщо це необхідно, ковпаки і відзеркалювальні поверхні світильників промивають. Одночасно з чищенням освітлювального приладу перевіряють справність кріпильних деталей і контактів. Відмічені несправності устраняють.

Догляд за люмінесцентними лампами. Експлуатація люмінесцентних ламп дещо відрізняється від експлуатації ламп розжарювання. Люмінесцентні лампи не запалюються при низьких температурах на малій величині напруги якщо в установці з люмінесцентною лампою спостерігається несправність, її необхідно терміново усунути, оскільки наявність одного несправного елементу схеми може привести до виходу з ладу решти елементів. Несправність лампи приводить до псування стартера і баластного опору, а несправність стартера викликає псування лампи і баластного опору.

Найбільш характерні випадки несправностей люмінесцентних ламп і способи їх усунення.

1.Лампа не запалюється. Причиною може бути порушення контакту або обрив дротів, обрив електродів в лампі, несправність стартера і недостатня напруга в мережі. Для визначення і усунення несправності перш за все слід змінити лампу, якщо вона знов не горітиме, замінити стартер і перевірити напругу на контактах утримувача. При відсутності напруги на контактах утримувача лампи необхідно знайти і усунути обрив мережі і перевірити контакти у місцях приєднання проводів до баластного опору і утримувачів.

2.Лампа мигає, але не зажигается, свічення спостерігається тільки з одного кінця лампи. Причиною несправності може бути замикання в проводах, утримувача або у виводах самої лампи Для усунення несправності необхідно переставити лампу так, щоб кінець, що світиться і несправний, помінялися місцями. Якщо при цьому несправність не буде усунена, слід замінити лампу або шукати дефект в утримувачі або проводці.

3. На кінцях лампи видно тьмяне оранжеве свічення, яке то зникає, то знов з'являється, але лампа не запалюється. Причина несправності - наявність повітря в лампі. Така лампа підлягає заміні.

4. Лампа спочатку запалюється нормально, але потім спостерігається сильне потемніння її кінців і вона гасне. Звичайне таке явище пов'язано з несправністю баластного опору, не забезпечуючого необхідний режим роботи лампи. В цьому випадку слід замінити баластний опір.

5.Лампа періодично запалюється і гасне. Це може відбутися в результаті несправності лампи або стартера. Необхідно замінити лампу або стартер.

6.При включенні лампи перегорають спіралі і чорніють кінці лампи. В цьому випадку слід перевірити напругу живлячої мережі і відповідність його напрузі лампи, що підключається, а також баластний опір. Якщо напруга мережі відповідає напрузі

лампи, то несправний баластний опір, який повинен бути замінено. Освітлювальні пристрої з люмінесцентними лампами необхідно щодня оглядати і усувати відмічені дефекти. Не рідше за один раз на місяць люмінесцентні лампи і всю освітлювальну апаратуру потрібно очищати від пилу і перевіряти в роботі.

Черговий монтер, обслуговуючий освітлювальні установки, повинен мати в запасі справні лампи і стартери в кількості 5-10% загального числа ламп, що знаходяться в експлуатації. Зберігати лампи слід у заводській упаковці на спеціальному стелажі або в ящику окремо від несправних ламп.

Переносні світильники і знижувальні трансформатори.

При оглядах установок і ремонтних роботах застосовують переносні світильники, до яких пред'являються підвищені вимоги з погляду безпеки персоналу.

Рукоятка переносного світильника повинна бути виконана з ізоляційного волого- і теплостійкого матеріалу. Всі струмоведучі частини світильника і лампи захищають, щоб виключити випадковий дотик до них.

Переносні світильники можуть представляти значну небезпеку для персоналу при пошкодженні ізоляції дроту, особливо якщо вони підключені до мережі напругою 110-220 в. У приміщеннях з підвищеною небезпекою і особливо небезпечних переносні світильники застосовують на напругу не вище 36 В. За особливо несприятливих умов, коли той, що працює може стикатися з металевими (добре заземленими) поверхнями або знаходитися в особливо сирих приміщеннях (у казанах, баках, колодязях), для живлення переносних світильників слід застосовувати напругу не вище 12 В.

Переносні світильники приєднують до стаціонарної мережі напругою 12-36 В або до мережі напругою 110-220 В через знижувальні трансформатори. Довжина проводів від штепсельної розетки на напругу 127-220 В до переносного трансформатора повинна бути не, більше 2 м. Ізоляцію переносних проводів, а також знижувальних трансформаторів не рідше за один раз на місяць перевіряють мегомметром. Результати перевірки заносять в спеціальний контрольний журнал. При роботах усередині металевих баків, казанів і т.п. знижувальний трансформатор розташовують зовні.

У знижувальних трансформаторів корпус і обмотки нижчої напруги заземляють, відкриті токоведучі незахищені частини огороджують. Всі контактні з'єднання повинні мати хороші плотні контакти.

Освітлювальні щитки.

На освітлювальних щитках біля запобіжників, рубильників, вимикачів повинні бути написи з вказівкою призначення лінії або групи і номінальної величини струму плавкої вставки.

У освітлювальних мережах необхідно застосовувати тільки калібровані плавкі вставки, які повинні відповідати струму навантаження освітлювальних ліній. Контактні з'єднання на щитках, затиски, апаратуру і їх окремі частини слід добре затягнути і міцно укріпити. Всі контактні поверхні на щитках у міру обгорання очищають або замінюють новими.

Вимикачі, перемикачі, штепсельні розетки. Вимикачі, перемикачі і штепсельні розетки повинні мати хороші контакти з проводами і працювати при струмах не вище номінальних.

Всі контакти у міру обгорання очищають. Штепсельні розетки для мережі напругою 12-36 В повинні відрізнятися від розеток напругою 127-220 В; вилки 12-36 В не повинні підходити до розеток 127 і 220 в.

Список використаних джерел

1. Ктиторов А. Ф. Злектрослесарь строительный: Учеб. для проф.-тех. училищ. -М.:Стройиздат, 1990.- 383 с: ил.

2. Атабеков В.Б. Монтаж электрических сетей и силового электрооборудования:Учеб. для сред. проф.-тех. училищ. - 4-е изд., испр. - М.: Высш. шк., 1985. -176 с,ил. - (Профтехобразование).

3. Корнилов Ю.В., Бредихин А.Н. Слесарь-электрик: Учеб. пособ. для СПТУ. 2-е изд.,перераб. и доп. - М.: Высш. шк., 1988. - 256 с: ил.

4. Родштейн Л.А. Электрические аппараты: Учебник для техникумов. - 4-е изд.,перераб. и доп. - Л.: энергоатомиздат. Ленингр. отд-ние, 1989. -304 с: ил.

Похожие работы на - Влаштування, монтаж і ремонт освітлювальних електроустановок

 

Не нашли материал для своей работы?
Поможем написать уникальную работу
Без плагиата!
Без нейросетей!