Борьба с водой, поступающей в отсеки корпуса судна

  • Вид работы:
    Контрольная работа
  • Предмет:
    Транспорт, грузоперевозки
  • Язык:
    Русский
    ,
    Формат файла:
    MS Word
    2,06 Mb
  • Опубликовано:
    2011-03-08
Вы можете узнать стоимость помощи в написании студенческой работы.
Помощь в написании работы, которую точно примут!

Борьба с водой, поступающей в отсеки корпуса судна

Борьба с водой, поступающей в отсеки корпуса судна

Наличие водотечности корпуса судна можно определить с помощью системы автоматических указателей уровня воды в отсеке, пробной откачки или обследования района повреждений по следующим признакам: шуму поступающей воды; просачиванию воды через неплотности в швах переборки, сальниках кабельных трасс и трубопроводов, водонепроницаемых закрытий; шуму воздуха, выходящего через воздушные и измерительные трубы; просачиванию воды или прорыву воздуха при осторожной отдаче одной-двух задраек водонепроницаемого закрытия; отпотеванию палуб, переборок, второго дна и глухому звуку при ударе о них металлическим предметом. Осушение отсека (отсеков) можно обеспечить, используя кроме стационарных переносные водоотливные средства (мотонасосы, погружные электронасосы, водоструйные эжекторы) и насосы охлаждения забортной водой главных двигателей и холодильной установки. Засоренная вода может быть удалена рыбонасосом. Способы, средства и последовательность ликвидации водотечности корпуса судна зависят от размеров, характера и местоположения повреждений. Если осушительные средства справляются с поступающей водой, рекомендуется завести пластырь, осушить отсек, заделать пробоину и вести наблюдение за возможным поступлением воды. В противном случае первоочередные действия должны быть направлены на борьбу с возможным распространением воды в неаварийные отсеки.

На промысловом флоте применяют мягкие, полужесткие и жесткие пластыри. К мягким относятся кольчужный, облегченный, шпигованный и учебный пластыри, которые могут принимать форму обводов корпуса судна. Полужесткие пластыри, способные принимать форму цилиндрической поверхности, — это рейковый пластырь-тюфяк, шторный и гибкий пластыри с мягкими бортами. К жестким относятся деревянные пластыри с мягкими бортами, пластыри металлические клапанные и с прижимным болтом. Правила устанавливают минимальный объем аварийного снабжения судна.

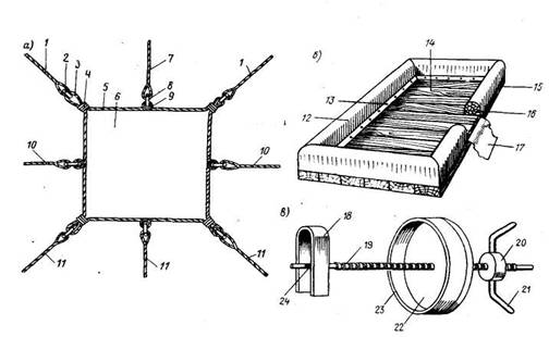
а — кольчужный; б — жесткий с мягкими бортами; в — металлический с прижимным болтом; 1 - шкоты (стальной трос) ; 2 - такелажная скоба; 3 — коуш; 4 — бензель (пеньковый трос) ; 5 - ликтрос (стальной) ; б - четыре слоя парусинового полотнища с прослойкой из проволочной сетки; 7 — контрольный штерт (растительный линь или канат); 8 — храпцы (складной гак); 9 — кренгельс; 10 - оттяжки (стальной трос); 11 - подкильные концы (стальной трос) ; 42 — подушка; 13 — гвозди; 14, 15 — тонкий и толстый слои досок; 16 — смоляная пакля; 17 - парусина; 18 - поворотная скоба; 19 — прижимной болт; 20 — гайка; 21 - рукоятка; 22 — металлический диск; 23 - резиновое кольцо; 24 – откидная пружина

Рис. 1 Пластыри:

При установке кольчужного пластыря (рис. 1) на пробоину заводят подкильные концы с таким расчетом, чтобы пробоина оказалась между крайними подкильными концами. Одновременно разворачивают на палубе пластырь и к верхним коушам скобами крепят шкоты, а в кренгельс верхней шкаторины закладывают храпцы контрольного штерта. Скобами соединяют оттяжки с кренгельсами боковых шкато-рин. Подкильные концы со стороны пробоины соединяют скобами с нижними коушами и кренгельсом нижней шкаторины, пластырь опускают в воду, стравливают шкоты и выбирают подкильные концы, пока контрольный штерт не покажет, что пластырь опущен на заданную глубину. Оттяжками растягивают пластырь, подкильные концы закрепляют, талями вручную оттягивают шкоты. При большой пробоине под пластырь ставят фальшшпангоуты из угольников или стального троса, обтягиваемых на палубе талрепами или лебедками. Облегченный пластырь состоит из двух парусиновых полотнищ и войлочной прослойки, окантован ликтросом из смоленого каната. С наружной стороны пластыря параллельно верхней кромке с интервалом 0,5 м нашиты из парусины карманы, в которые вставлены отрезки труб или стального троса. Вооружение и последовательность установки на пробоину аналогичны кольчужному пластырю. Шпигованный пластырь состоит из Двух парусиновых полотнищ, к одному из которых ворсом наружу пришит шпигованный мат. Ликтрос изготовлен из смоленого пенькового каната. По углам заделаны коуши, а в середине верхней шкаторины — кренгельс. Установка на пробоину аналогична установке кольчужного пластыря без оттяжек. Учебный пластырь аналогичен шпигованному, но не имеет шпигованного мата. Рейковый пластырь-тюфяк состоит из набитого смоленой паклей парусинового матраца с пришитым с одной стороны парусиновым полотнищем. Матрац со стороны полотнища прибит гвоздями к деревянным рейкам, просвет между которыми 50—100 мм. Поперек реек строительными скобами прикреплены два стальных троса для подведения пластыря к пробоине. Шторный пластырь с мягкими бортами состоит из парусинового полотнища, прибитого гвоздями к скошенным с торцов в сторону парусины и плотно прилегающим друг к другу доскам. В края полотнища по периметру пластыря завернута смоленая пакля, образующая подушку. Со стороны, противоположной подушке, поперек досок строительными скобами прикреплены два стальных троса для подведения пластыря к пробоине. Гибкий пластырь с мягкими бортами состоит из фанеры и прибитого полотнища, в края которого по периметру завернута смоленая пакля, образующая подушку. При изготовлении жесткого пластыря с мягкими бортами (рис. 5.2, б) края проложенной между слоями досок просэфиченной или просмоленной парусины должны выходить за кромки щита на 0,5—0,7 м. Выступающие края парусины загибают в сторону тонкого' слоя досок, набивают смоленой паклей и прибивают гвоздями. Высота подушки должна быть равна толщине щита, ширина — 0,3—0,5 высоты. В случае постановки пластыря снаружи корпуса судна к нему строительными скобами крепят два стальных троса для подведения к пробоине. Размеры пластыря должны на 0,8-1,2 м превышать длину и ширину пробоины, толстые доски следует располагать вдоль судна.

Если выступающие части корпуса судна (кили, привальный брус и др.) не позволяют обеспечить прижатие жесткого и полумягкого пластырей к пробоине, с наружной стороны пластыря прибивают выступающие брусья и после наведения пластыря заводят дополнительные подкильные концы, которыми и прижимают его к корпусу.

Небольшие пробоины заделывают изнутри аварийного отсека жесткими пластырями с мягкими бортами, щитами, металлическими клапанами пластырями и металлическими пластырями с прижимным болтом (рис. 1, в). Если установке жестких пластырей мешают большие выступающие кромки пробоины, бухтины обшивки корпуса и имеющиеся выступающие части, можно изготовить коробчатый пластырь с мягкими бортами (пластырь-ящик). В этом случае к днищу жесткого пластыря крепят жесткие стенки из досок, а на кромках этих стенок — подушку. Перед постановкой пластыря изнутри отсека изоляция в районе пробоины должна быть удалена.

Рис. 2. Средства крепления пластыря:

а — болт с откидной скобой; б — крючковый болт; в — аварийная струбцина; г — раздвижной металлический упор; 1 — скоба; 2 — болт; 3 — гайка; 4 — рукоятка; 5 — захват; 6 — подпятник; 7 — стопорный винт; 8 — швеллер; 9 — прижимной винт; 10 — шарнир; 11 — внутренняя труба; 12 — отверстия для чеки; 13 — нарезная втулка; 14 — продольный вырез; 75 — шайба; 16 — проволока; 17 — чека; 18 — наружная труба

Крепление жестких пластырей к пробоине можно производить болтом с откидной скобой (рис. 5.3, а), крючковыми болтами (рис. 5.3, б), аварийной струбциной (рис. 5.3, в), раздвижным металлическим упором (рис. 5.3, г), брусьями. При креплении пластыря крючковыми болтами в пластыре сверлят отверстия из расчета один болт диаметром 20 мм на каждые 0,5 м2 площади пластыря. Если невозможно зацепить крючковые болты за кромки пробоины, можно закрепить их за обрезки труб, угольников и т. п., выведенных сквозь пробоину за борт судна. При креплении пластыря аварийной струбциной нужно: отдать стопорные винты захватов, захваты раздвинуть и захватить ими шпангоуты; под подпятник прижимного винта подвести пластырь и в вертикальном направлении навести пластырь вместе со струбциной на пробоину; прижимным винтом с помощью рукоятки прижать пластырь к пробоине. Для крепления пластыря раздвижным упором необходимо: подпятник наружной трубы упереть в прочную конструкцию корпуса; вынуть из упора чеку; выдвинуть внутреннюю трубу из наружной до касания пластыря; вставить чеку сквозь продольный вырез втулки в крайний овальный вырез внутренней трубы; сдвинуть шайбу до упора в чеку и вращением переместить гайку до упора в шайбу. При дальнейшем вращении гайки выдвигается внутренняя труба до упора в пластырь. Шарнирное крепление подпятников на концах упора обеспечивает возможность его установки под острым углом к пластырю.

Передача усилия при креплении пластыря деревянным брусом такая же, как и при подкреплении переборок и закрытий, и зависит от особенностей конструкции и расположения оборудования аварийного отсека.

Малые пробоины можно заделать круглым металлическим пластырем с прижимным болтом (см. рис. 5.2, в), для чего следует повернуть скобу и, придерживая ее рукой, вывести сквозь пробоину за борт суднах. Откидная пружина повернет скобу перпендикулярно оси прижимного болта, после чего вращением гайки следует прижать пластырь к пробоине.

Неплотности между корпусом судна и пластырями, небольшие трещины в цементе и т. п. можно заделать смоленой паклей, а мелкие пробоины, иллюминаторы, разошедшиеся швы и трещины — деревянными пробками и клиньями, обернув их пропитанной суриком, техническим салом или просмоленной паклей. Оставшиеся узкие щели и неплотности заделывают мелкими клиньями. Окончательно водотечносгь устраняют паклей или листовым свинцом. На пробки (клинья) накладывают фанеру или доски и раскрепляют деревянными брусьями. Несколько близко расположенных небольших трещин (пробоин) можно заделать густо смазанной техническим салом подушкой с наложением на нее деревянного щита и раскреплением брусьями. Дальнейшее распространение трещины предотвращают сверлением на ее концах отверстий диаметром до 15 мм.

Рис. 3 Бетонирование пробоины:

1 — обшивка борта; 2 — шпангоут; 3 — бетон; 4 — опалубка; 5 — упоры; 6 - фильтрационные трубки

Один из наиболее надежных способов полного устранения водотеч-ности - бетонирование (рис. 3) Осушенный район заделанной пробоины очищают от жира, масел, устанавливают деревянную опалубку с вставленными в нижней части отрезками отводящих просачивающуюся воду труб и, тщательно уплотняя каким-либо металлическим предметом, укладывают бетон. После затвердевания бетона трубки забивают чопом.

Рис. 4 Схемы подкрепления корпусных конструкций: а- треугольник; б — с подкрепляющим вертикальным упором; в — с горизонтальным упором; 1 — переборка; 2 — подкладные брусья; 3 — упор; 4 — подкладная планка; 5 — палуба; 6 — карлингс; 7 — настил второго дна; 8 — фундамент; 9 — деревянные клинья; 10 — водонепроницаемая дверь

Подкрепление водонепроницаемых конструкций следует производить при опасном затоплении отсека, значительном выпучивании металла, при обнаружении признаков расхождения сварных швов и ослаблен-ния заклепок, при предполагаемом переходе с неосушенным отсеком и во всех случаях, когда появляется сомнение в прочности конструкции. При этом запрещается выправлять деформированные конструкции, а покрепление переборок необходимо производить в первую .очередь снизу, передавая усилие на набор через накладной брус. Наиболее надежно и удобно подкреплять конструкцию перпендикулярным к ней упором. Если такое подкрепление выполнить невозможно, рекомендуется применить схему „треугольник", наклонный упор с покрепляющим вертикальным упором или любой другой вариант с учетом местных условий и имеющегося аварийного снабжения (рис. 4). Во всех случаях подкрепления концы упоров должны быть срезаны так, чтобы упор соприкасался не углом, а поверхностью. Клинья необходимо постоянно подбивать. При подкреплении водонепроницаемых закрытий (дверей, люков, горловин) особое внимание необходимо уделять равномерности распределения усилия по периметру закрытия и предотвращению повреждения задраивающих устройств.

Аварийный инвентарь включает пластыри (мягкие, облегченные, шпигованные, парусиновые, деревянные, металлические и др.), шпигованные маты, металлические раздвижные упоры, струбцины, легководолазное снаряжение, водоотливные средства и различные плотницкие и механические инструменты.

К аварийным материалам относятся: деревянные изделия — брусья, доски, клинья, пробки (чопы); скобяные изделия для крепления деревянных предметов — строительные скобы, гвозди, болты, проволока; уплотнительные материалы — листовая резина, войлок, парусина, смоленая пакля, а также другие материалы, которые могут найти применение при выполнении аварийных работ,— цемент, жидкое стекло, сурик железный, жир, песок, опилки и т. д.

Конкретный перечень аварийного снабжения каждого судна установлен Регистром РФ. Наличие и исправность этого снабжения систематически контролируют судовые специалисты, служба мореплавания и не реже одного раза в год инспекция Регистра РФ. Аварийный инвентарь и материалы категорически запрещается использовать не по прямому назначению.

Применяемые в качестве аварийного инвентаря пластыри бывают мягкие, деревянные, металлические и пневматические.

Мягкие пластыри заводят для временной заделки пробоины, с тем чтобы осушить затопленный отсек и затем надежно восстановить водонепроницаемость корпуса. Наиболее прочным мягким пластырем является кольчужный пластырь (рис. 102). Он эластичен, хорошо прилегает к фигурной поверхности корпуса судна и вместе с тем обладает определенной жесткостью, которую создает кольчуга в виде переплетенных колец диаметром 300 мм из гибкого стального оцинкованного троса диаметром 9 мм. Размеры кольчужного пластыря 4,5X4,5 м. В снаряжение пластыря входят три штока из растительного 90—100-миллиметрового троса, три подкидных конца из гибкого стального троса или цепи диаметром 17—19 мм, две оттяжки из растительного 75—90-миллиметрового или стального троса контрольный штерт из растительного линя для определения положения пластыря с маркировкой через каждые 0,5 м (считая от середины пластыря), соединительные скобы, тали, канифас-блоки. Снаряжение размещено в рундуке рядом с местом хранения пластыря.

Облегченный пластырь размером 3X3 м состоит из двух слоев парусины с войлочной прокладкой между ними. Для придания пластырю жесткости с его наружной стороны параллельно верхней кромке через полуметровые промежутки прикреплены стальные 25-миллиметровые трубы или стальной трос диаметром 20 мм.

Шпигованный пластырь (2X2 м) изготовлен из двухслойной парусины и прошитого с внутренней стороны шпигованного мата с плотным густым ворсом наружу.

Парусиновый учебный пластырь размером 1X1 м, 1,5X1.5 м или 2X2 м состоит из двухслойной парусины.

Пластырь-тюфяк может быть изготовлен силами экипажа в судовых условиях. Для этого парусиновый мешок нужных размеров набивают смоленой паклей до толщины около 200 мм. С наружной стороны к полученному таким образом тюфяку крепят узкие доски толщиной 50—75 мм (с просветами между ними), а к ним строительными скобами прибивают стальной трос для заводки.

Деревянный жесткий пластырь обычно изготовляют на судне "по месту" после получения пробоины в корпусе. Наиболее целесообразно использовать его для закрытия пробоин, находящихся вблизи или выше ватерлинии, а также в случаях, когда пробоину можно обнажить путем кренования или дифферентования судна.

Металлические пластыри, применяемые для заделки небольших пробоин, изображены на рис. 6

Пневматические пластыри (трубчатые, шарообразные, мягкие коробчатые, полужесткие и жесткие) предназначены для заделки небольших пробоин снаружи на глубине до 10 м.

Рис. 5 Кольчужный пластырь:

1—кренгельс; 2 — бензель; 3.— ликтрос сетки (стальной трос диаметром 7—9 мм); 4 — люверс; 5 — трехслойная парусиновая шайба; 6 — кольчуга; 7 — коуш; 8,9 — покрышки из морской парусины водоупорной пропитки; 10 — наружный ликтрос (75—90-ындлнметровый смоленый пеньковый трос)

Аварийные деревянные пробки и клинья (рис. 5) предназначены для заделки небольших круглых отверстий, заглушки трубопроводов, заделки мелких трещин и разошедшихся швов, а также для заклинивания деревянных упоров.

Рис. 6 Металлические пластыри: а — клапанный; 6 — с прижимным болтом; / — коробчатый корпус; 2 — ребра жесткости; 3 — гнездо для раздвижного упора с перемычкой; 4— патрубки с заглушками для стержней крючковых болтов; 5— клапан; 6 —*рымы для крепления под-кильных концов; 7,8 — прижимной болт с откидной скобой; 9 — гайка с ручками; 10 —: ярижимной диск

Рис. 7 Деревянные.клинья (а, б, в) и пробки (г,д)

Рис. 8 Прижимные болты:

а — с откидной скобой; 6,в, — крючковые

Рис. 10 аварийная струбцина.

о — с захватами за шпангоуты швеллерного типа; б — захват для шпангоутов бульбового типа; 1— струбцина; 2 — прижимной винт; 3 — рукоятки прижимного винта; 4 — гайка-ползун; S — стопорные винты; j6 — болты, скрепляющие две планки швеллера; 7 — захват

Деревянные (сосновые) брусья размером 150X150X4000 мм и 80X100X2000 мм предназначены для подкрепления переборок водонепроницаемых закрытий, пластырей и т. д.

Сосновые доски размером 50X200X2000 мм и 50Х200Х Х4000 мм служат для изготовления жестких пластырей, щитов, опалубки для бетонирования пробоин и т. п.

Для закрепления и удерживания аварийных закрытий применяются прижимные болты (рис. 8) металлический раздвижной упор (рис. 9) аварийная струбцина (рис. 10)

Приостановление водотечности и заделка пробоины могут быть выполнены различными способами.

Для заделки больших и очень больших пробоин применяется подводная сварка. Работу выполняют легководолазы со стороны затопленного отсека или наружного борта. Предварительно на палубе готовят листы стали, придавая им необходимые размеры и форму.

Заводку мягкого пластыря выполняют только при условии, что судно не имеет хода относительно воды. На палубе мелом размечают границы участка, подлежащего закрытию, к этому месту подносят пластырь и укладывают его так, чтобы нижняя шка-торина была сверху.

Затем, как показано на рис. 11 заводят с носа два подкильных| конца 1 Если пробоина имеет- площадь более 0,5 м2, рекомендуется- завести больше подкильных концов, которые обтянуть под пластырем; они будут играть роль фальшивых шпангоутов, препятствующих вдавливанию пластыря в пробоину водой. С помощью скоб - к коушам нижней шкаторины пластыря присоединяют крайние (первый и последний) подкильные концы, а к коушам боковых шкаторин оттяжки 2 и заводят их за канифас-блоки 3.

водотечность судно отсек пластырь

Рис. 11. Заводка мягкого пластыря

Нижнюю шкаторину постепенно выпускают за борт, выбирая J подкильные концы с противоположного борта. Когда пластырь полностью распрямится, к крайним коушам его верхней шкаторины крепят шкоты 4, к среднему коушу контрольный штерт 5 и про- 1 должают заводку пластыря, потравливая шкоты. После того как в соответствии с показаниями контрольного штерта пластырь будет опущен на заданную глубину, крепят шкоты, а подкильные концы и оттяжки обтягивают изнутри хват-талями или с помощью лебедок.

Деревянный пластырь перед заводкой балластируют, с тем чтобы при погружении в воду его масса составляла не менее 2—5 кг.

Небольшие пробоины могут быть заделаны изнутри отсека жестким пластырем или шпигованным матом со щитом, которые крепят аварийной струбциной (рис. 109, а), крючковыми болтами (рис. 109,6) или болтами с откидной скобой (рис. 109, в).

Заделка пробоин мягкими и жесткими пластырями, клиньями и пробками — временная мера при остановлении водотечности, дающая возможность откачать воду из затопленного отсека и при ступить к более надежному восстановлению герметичности.

 

Похожие работы на - Борьба с водой, поступающей в отсеки корпуса судна

 

Не нашли материал для своей работы?
Поможем написать уникальную работу
Без плагиата!
Без нейросетей!