Грузовые вагоны нового поколения

  • Вид работы:
    Реферат
  • Предмет:
    Транспорт, грузоперевозки
  • Язык:
    Русский
    ,
    Формат файла:
    MS Word
    1006,35 kb
  • Опубликовано:
    2011-01-15
Вы можете узнать стоимость помощи в написании студенческой работы.
Помощь в написании работы, которую точно примут!

Грузовые вагоны нового поколения

Введение

Эффективность, функционирование и конкурентоспособность российских железных дорог в решающей мере зависит от безопасности движения подвижного состава, скорости доставки грузов и уровня эксплуатационных расходов на тягу поездов. В современных условиях, когда от подвижного состава требуется низкая начальная стоимость, значительное повышение межремонтного пробега и высокая ремонтопригодность, создание системы рессорного подвешивания, обеспечивающей высокие динамические качества железнодорожного экипажа, является главной проблемой для разработчиков транспортных железнодорожных средств.

Разработка и принятие типажа грузовых вагонов - ответственный и важный этап в решении задач перспективного развития не только железнодорожного транспорта, но и всего народного хозяйства. Программа обновления парка грузовых вагонов должна быть тесно связана с общими задачами железнодорожного транспорта. При рыночных отношениях повышается заинтересованность в увеличении объема перевозок, высокое качество транспортного обслуживания становится условием экономического благополучия и нормального технического развития железных дорог.

Разработке технических требований и конструкции каждого конкретного типа вагона нового поколения предшествует проведение технико-экономического обоснования в соответствии с действующей в МПС Росси методикой.

Концепции проведения научно-технической политики в области создания грузовых вагонов нового поколения предполагает разработку на основе альтернативных подходов с проведением анализа различных вариантов решений, т. е. создание конкурентной среды не только при производстве вагонов, но и на стадии проектных и даже предпроектных работ.

Применение в вагонах нового поколения более надежных узлов и деталей позволит прежде всего повысить безопасность движения, а также полностью пересмотреть регламентные работы при техническом обслуживании и плановых ремонтах.

1. Актуальность проблемы

В данный момент тема грузовые вагоны очень актуальна, так как при рыночных отношениях повышается заинтересованность в увеличении объема перевозок, высокое качество транспортного обслуживания становиться условием экономического благополучия и нормального технического развития железных дорог.

Разработка вагонов нового поколения предусматривает их потребительские свойства и технико-экономические параметры. Используются следующие критерии оценки качества конструкции вагона:

•   уровень безопасности и экологической нагрузки на окружающую среду от единицы подвижного состава;

•   потребительские показатели;

•   стоимость жизненного цикла;

•   коэффициент эксплуатационной готовности.

К кузовам вагонов нового поколения предъявляется прежде всего требование повысить прочность и коррозионную стойкость листового проката и профилей за счет применения новых марок сталей. Это позволит снизить массу тары вагона и соответственно увеличить массу перевозимого груза, а также уменьшить расходы на ремонт кузова в эксплуатации и при плановых видах ремонт.

В последние годы произошли радикальные изменения в конструкции грузовых вагонов. Прежде всего это переход на буксы с подшипниками качения, цельнометаллические кузова, более энергоемкие поглощающие аппараты автосцепного устройства, усовершенствованные автотормозные устройства - воздухораспределители, авторежимы, автоматические регуляторы тормозной рычажной передачи. Внедрены и продолжают внедряться средства автоматического контроля и диагностирования технического состояния вагонов на ходу поезда - ПОНАБ, ДИСК, ДИСК2, САКМА, УКС ПС и другие. Началось внедрение аппаратуры диагностирования упряжного устройства (АДУ), разработаны приборы для комплексной оценки технического состояния ходовых частей вагонов по углу набегания колеса на рельс и непараллельности осей колесных пар тележки (УНКР).

При ремонте вагонов применяются средства дефектоскопии деталей колесных пар, тележек, автосцепки, элементов тормозной рычажной передачи. Для контроля технического состояния буксовых подшипников используются диагностические стенды УДП. Проводятся работы по упрочнению литых деталей тележки и созданию современных средств диагностирования литых деталей методом акустической эмиссии. Развиваются информационно-управляющие системы АСУ ПТО, АСУ ТОВ. Действует система ДИСПАРК, которая позволяет получить в реальном масштабе времени необходимые данные о конкретном вагоне. Создаются реальные предпосылки для перехода от плановой системы ремонта по сроку службы к ремонту по выполненной работе и фактическому состоянию вагона.

Все это является прочной основой для коренного преобразования системы технического обслуживания вагонов.

2. Типаж и технические требования к грузовым вагонам нового поколения

Программа обновления парка грузовых вагонов должна быть тесно увязана с общими задачами железнодорожного транспорта в условиях перехода России к рыночной системе экономики. При рыночных отношениях повышается заинтересованность в увеличении объема перевозок, высокое качество транспортного обслуживания становится условием экономического благополучия и нормального технического развития железных дорог, изменяются источники капиталовложений, новый подвижной состав приобретается также за счет средств собственников и операторских компаний.

Типаж вагонов нового поколения развивается и уточняется на основе проводимых ВНИИЖТом и Гипротранстэи технико-экономических исследований с учетом анализа структуры и динамики перевозок грузов со специфическими свойствами существующих и перспективных методов выполнения погрузочно-разгрузочных, поездных и маневровых работ.

Типаж парка вагонов должен соответствовать структуре грузопотока. Под погрузку следует подавать универсальные или специализированные вагоны, в наибольшей степени соответствующие свойствам грузов, обеспечивающие их сохранность, механизированную погрузку и выгрузку с минимальным расходом материалов на крепление, не угрожающие окружающей среде. Парк специализированных вагонов по численности и типажу нужно расширить до технико-экономически обоснованных размеров. На конечной стадии реформирования железнодорожного транспорта примерно половина вагонного парка должна принадлежать владельцам грузов или транспортно-экспедиционным предприятиям.

В условиях перехода экономики России к рынку необходимость дальнейшего расширения типажа и увеличения выпуска специализированного грузового подвижного состава становится очевидной. За последние 20-30 лет отечественная вагоностроительная промышленность накопила значительный опыт разработки и внедрения таких специализированных вагонов, как хопперы для перевозки сыпучих грузов, цистерны для различных кислот, газов и химических продуктов, платформы для большегрузных контейнеров международного габарита, вагоны для перевозки легковых автомобилей, муки, полимеров в гранулах, металлопроката, бумаги в рулонах, скота, полувагоны с «глухим» кузовом. Практически все эти вагоны могут строиться на российских заводах.

Разработка типажа вагонов нового поколения предусматривает улучшение их потребительских свойств и технико-экономических параметров. При этом учитываются следующие критерии, обеспечивающие повышение эффективности вагонов:

• соответствие всем действующим нормативным документам заказчика и прогнозам развития экономики в течение назначенного срока службы; удобство пользования, обеспечение сохранности грузов, возможности механизации погрузки и выгрузки;

• статистически значимое (не менее 5%) улучшение показателей производительности (грузоподъемности) в сравнении с лучшими из имеющихся в эксплуатации прототипов;

• применение тележек улучшенной конструкции с усовершенствованными системами рессорного подвешивания и автоматических тормозов, безремонтных конструкций естественных пар трения в течение пробега до капитального ремонта, статистически значимое снижение динамических нагрузок в несущих узлах вагонов и в элементах верхнего строения пути;

• снижение удельной материалоемкости на единицу грузоподъемности, объема кузова и площади пола;

• экологическая безопасность, возможность утилизации после окончания назначенного срока службы, предотвращение потерь груза через неплотности кузовов и из-за выветривания с открытой поверхности;

• повышение производительности труда на 25%.

Концепция проведения научно-технической политики в области создания грузовых вагонов нового поколения предполагает разработку на основе альтернативных подходов с проведением анализа различных вариантов решений, т.е. создание конкурентной среды не только при производстве вагонов, но и на стадии проектных и даже предпроектных работ. Качество новых конструкций оценивается на этапах разработки заводом технического задания на вагон и на этапах выполнения эскизных проектов. При этом используются следующие критерии оценки качества конструкции вагона: уровень безопасности и экологической нагрузки на окружающую среду от единицы подвижного состава, потребительские показатели, стоимость жизненного цикла и коэффициент эксплуатационной готовности.

Конструкция вагонов совершенствуется в процессе промышленного производства, и периодически, обычно через 5-10 лет, изменяются номера моделей в рамках существующего типажа. Поставляемые в настоящее время в ограниченном количестве вагоны морально устарели, с точки зрения производительности и надежности.

Сформулированы основные направления повышения технического уровня грузовых вагонов. Предстоит решить следующие технические задачи:

• увеличение срока службы основных деталей и узлов вагонов в 1,5-2 раза;

• обеспечение межремонтных сроков службы трущихся деталей и узлов подшипников с 400-500 тыс. км до 1 млн. км;

• сокращение частоты поступления вагонов в текущий внеплановый ремонт с 3,5 до 0,3 раза в год.

К кузовам вагонов нового поколения предъявляется прежде всего требование повысить прочность и коррозионную стойкость листового проката и профилей за счет применения новых марок сталей. Это позволит снизить массу тары вагона и соответственно увеличить массу перевозимого груза, а также уменьшить расходы на ремонт кузова в эксплуатации и при плановых видах ремонта.

Важное значение, с точки зрения устойчивости вагонов к сходу, имеет требование понизить их центр тяжести. Из четырех представленных опытных образцов в наибольшей мере это требование реализовано в конструкциях вагонов для перевозки минеральных удобрений и угля с боковой выгрузкой, изготовленных Брянским машиностроительным заводом.

При создании тележек для вагонов с повышенными нагрузками необходимо обеспечить следующее важнейшее условие. По уровню динамического горизонтального и вертикального воздействия на путевую структуру вагоны нового поколения не должны превосходить значений, установленных для существующего парка. Это требование реализуется в пружинном комплекте тележки за счет статического и динамического прогиба, а главное в правильном выборе фрикционного узла гашения вертикальных и горизонтальных колебаний.

В России литые детали грузовых вагонов выпускают два предприятия - Уралвагонзавод и Бежицкий сталелитейный завод. Оба они построены в 30-х годах по одному проекту, и за истекшие десятилетия оборудование для литья и его технология не претерпели никаких изменений. Устаревшая технология на этих заводах не могла не сказаться на качестве выпускаемой продукции. Ежегодно десятки тысяч надрессорных балок, боковых рам бракуются по трещинам и изломам. По этой причине имеют место случаи аварий и крушений. Линейные размеры литых деталей, допуски на эти размеры во много раз ослаблены, прежде всего в сравнении с американскими стандартами. Отсутствие точного литья отрицательно сказывается на кинематике движения тележки в целом.

Технические требования к литым деталям тележек нового поколения содержат более жесткие показатели химического состава и прочности благодаря переходу на новую марку стали. Введено требование о заварке дефектов литья только до термообработки. Но даже эти требования разработаны применительно к технологическому процессу, принятому на упомянутых заводах, в связи с чем ожидать существенного улучшения качества отливок нельзя. Другими словами, при существующем способе получения отливок невозможно добиться служебных характеристик литых деталей, которые должны быть предъявлены к тележкам вагонов нового поколения. Для обеспечения уровня перспективных требований к качеству надрессорных балок и боковых рам (срок службы 45 лет, гарантийный срок 8 лет и др.) необходимо техническое перевооружение заводов-изготовителей с переводом сталелитейных цехов на современную технологию получения отливок.

При разработке требований к конструкции перспективной колесной пары были использованы результаты научно-исследовательских работ, выполненные различными отечественными организациями, а также зарубежный опыт применения цельнокатаных колес, кассетных конических подшипников на прессовой посадке с общим наружным кольцом и встроенными уплотнителями. Зоны переходов от ступицы колеса к диску и от диска к ободу выполняются без перегибов для максимального снижения концентраторов напряжений. При этом диск упрочняется наклепом дробью, толщина обода обеспечивает возможность многократного восстановления профиля поверхности катания.

Материал колес обеспечивает твердость после термообработки, повышенную до 350-380 НВ, что позволяет увеличить в 1,5-2 раза износостойкость гребня колеса и в 1,5-2 раза снизить выщербинообразование. При обточке колесной пары во всех видах ремонта не требуется демонтировать элементы торцового крепления и буксового узла, центр колесотокарного станка проходит через специальное отверстие в передней крышке узла в торец оси.

Для грузовых вагонов нового поколения (в соответствии с исходными требованиями) разработано автосцепное устройство полужесткого типа с новым механизмом сцепления, исключающим саморасцепы поездов. Контроль исправного состояния автосцепок в эксплуатации предусмотрено производить теми же методами и инструментами, которые применяются для контроля автосцепки СА-3. В целях предотвращения падения автосцепки на путь применен расцепной рычаг с двумя цепочками. В качестве базового варианта автосоединителя тормозных магистралей принята конструкция с боковым воздухопроводом по совместному проекту УВЗ-ВНИИЖТ.

Разрабатываемая автосцепка позволит обеспечить сцепление вагонов с разностью между продольными осями автосцепок до 140 мм перед сцеплением, исключить падение автосцепки на путь при обрыве, автоматически соединять тормозные рукава при сцеплении вагонов. Безремонтный срок службы будет увеличен благодаря применению износостойких покрытий в контуре зацепления и на хвостовике автосцепки.

Анализ условий эксплуатации грузовых вагонов показал значительные различия требований к поглощающим аппаратам автосцепного устройства, предъявляемых в зависимости от рода перевозимых грузов.

Возможность широкого применения недорогих аппаратов для поездных условий эксплуатации обусловлена маршрутизацией перевозок с применением поездов постоянного формирования. Для грузов особо высокой стоимости и чувствительных к динамическим нагрузкам целесообразно обеспечить более надежную защиту вагона от действия продольных сил и ускорений. Однако это возможно только при условии узкой специализации такого подвижного состава, введения специального тарифа и организации транспортных структур, которые будут арендаторами или собственниками вагонов. Выбор поглощающего аппарата для вагонов, предназначенных для перевозки опасных грузов, должен производиться с учетом их воздействия на окружающую среду.

По техническим требованиям ВНИИЖТа фирма КАМАКС (Польша), ОАО «Авиагрегат» (г.Самара), ГУП «ПО Уралвагонзавод», ОАО «БМЗ» (г. Брянск) на альтернативной основе разработали и после комплекса испытаний приступили к производству эластомерных поглощающих аппаратов повышенной энергоемкости. Взамен клепаных упоров автосцепного устройства разработана и испытана приварная конструкция.

На вагонах с нагрузкой на ось 25 тс предполагается установить тормозное оборудование в традиционном исполнении - с односторонним нажатием композиционных колодок на колесо или с двумя тормозными цилиндрами, воздействующими на каждую тележку. При нагрузке на ось 30 тс предусматривается колодочный тормоз с двусторонним нажатием колодок на колесо. Для обеспечения отвода колодок при отпущенном тормозе тележки оборудуются новыми устройствами торсионного типа. Крепление тормозных башмаков на триангеле будет осуществляться без применения резьбовых соединений, что существенно снизит затраты на их техническое обслуживание и ремонт. В шарнирных соединениях намечено применить износостойкие втулки, что повысит надежность работы этих узлов и упростит их ремонт.

Основа для разработок новых грузовых вагонов нового поколения - принцип модульной компоновки с рациональной унификацией базовых узлов и систем.

Использование унифицированных базовых модулей позволит удешевить стоимость производства вагонов, а также снизить эксплуатационные затраты на их ремонт и техническое обслуживание. Наличие унифицированных деталей позволит создать в различных регионах России сервисные центры, в которых будет выполняться восстановительный ремонт деталей и узлов вагона, таких как кассетные роликовые подшипники, автосцепка, поглощающие аппараты и др.

Проблема полного и своевременного обеспечения перевозок грузовыми вагонами нового поколения выдвигается сегодня в число наиболее злободневных и первоочередных.

Концепция трехэлементных тележек с дополнительными межосевыми связями была разработана Г.Шеффелем. Идея таких тележек заключается в том, что амортизацию колебаний кузова осуществляет стандартное центральное подвешивание с плоскими фрикционными клиньями. Необходимое повышение жесткости между колесными парами в плане обеспечивается отдельными устройствами - межосевыми связями, которые могут иметь различную конструкцию. Чтобы разделить функции направления колесных пар между межосевыми связями и рамой тележки, боковины устанавливаются на адаптеры колесных пар через горизонтально-упругие очень мягкие в плане неметаллические амортизаторы.

Примером тележки с дополнительными (прямыми) межосевыми связями является модернизация модели 18-100, разработанная Г. Шеффелем совместно с НВЦ «Вагоны». Результаты моделирования движения грузовых вагонов на тележках, оборудованных дополнительными межосевыми связями, показывают, что выбором соответствующих параметров критическая скорость может быть поднята до 140 км/ч и выше. При этом будет обеспечиваться близкая к радиальной установка колесных пар в кривых.

Эксплуатация подвижного состава с осевой нагрузкой 30 т требует от тележки значительного уменьшения коэффициента вертикальной динамики в подвешивании. Для этого базовый вариант тележки может дополнительно оборудоваться скользунами типа подпружиненный ролик, гидравлическими гасителями колебаний, установленными внутри пружин подвешивания.

С учетом накопленного опыта для создания современных трехэлементных тележек грузовых вагонов можно рекомендовать:

• использовать в конструкции горизонтально-упругое буксовое подвешивание с тщательно подобранными величинами жесткости;

• жесткость тележки в плане обеспечивать за счет пространственной клиновой системы и дополнительных межосевых связей;

• разработать типоразмерный ряд боковых скользунов типа подпружиненный ролик для постановки под различные типы вагонов;

• под вагонами с увеличенным моментом инерции вокруг продольной оси использовать устройства, повышающие демпфирование в порожнем режиме;

• для снижения износов поверхности катания внедрять износостойкие профили.

3. Российским вагонам тележку нового типа

Проблемы безопасности движения и эффективности работы подвижного состава, железных дорог во многом зависят не только от величины общей статической нагрузки на тележки, но и от рационального способа ее распределения относительно линий катания колес на несущие ходовые части. Этот малоизученный фактор открывает новые возможности для решения перечисленных проблем.

С точки зрения механики деформируемого твердого тела именно способ передачи статической нагрузки на особо ответственные элементы относительно линий катания колес диктует принципиальную конструктивную схему будущей тележки железнодорожного экипажа, определяет уровень амплитудно-частотных параметров и безопасности движения, динамическое качество и характер взаимодействия пути и подвижного состава. Возможен симметричный способ - совмещение в одной плоскости центров приложения равнодействующих сил опирания надрессорной балки на боковые рамы и средних линий катания колес и несимметричный - несовмещение в одной плоскости центров и средних линий катания колес.

До определенного уровня общей статической нагрузки на тележки и скорости движения оба способа конкурентоспособны с позиции надежности и безопасности движения. Поскольку несимметричный способ проще в реализации, чем симметричный, он и был выбран как рациональный для требований сравнительно малых скоростей и нагрузок. Доминирует он и сейчас как наиболее изученный.

При превышении определенного уровня скорости и нагрузок влияние каждого способа на надежность и безопасность тележки различно. Традиционный несимметричный способ создает условия к повышению вредной дополнительной динамики, снижению надежности и безопасности движения, становится менее перспективным. Симметричный способ (используя такие индивидуальные особенности, как сохранение круга катания колеса в вертикальной плоскости, более жесткую плоско-пространственную систему боковые рамы - колесные пары с дополнительными связями) создает условия для устранения вредной дополнительной динамики, износов и повышения динамического качества и безопасности движения. Он становится более перспективным для современных условий повышения нагрузок и скорости.

С указанными способами связаны две концепции создания тележек. Первая концепция базируется на продолжении многолетних модернизаций серийной тележки при сохранении несимметричного способа распределения статической нагрузки на ходовые части. Наиболее распространенный вариант такой тележки имеет наружное по отношению к колесам размещение двух буксовых узлов на одной оси. В России это серийная тележка 18-100, в США тележка Barber. Менее распространен второй вариант тележки, имеющей внутренние по отношению к колесам два буксовых узла на одной оси. Например, тележка TF25 компании Power Duffryn, используемая в настоящее время в некоторых европейских странах для большегрузных вагонов.

Несимметричное относительно колеса распределение статической нагрузки приводит к заметному изгибу оси с поворотом колес в плоскости изгиба, что с увеличением скорости и нагрузок порождает значительный динамический фон (повышенные амплитуды циклических напряжений, уровень раскачивания подвижного состава при резонансных скоростях движения, износов, поперечных микросдвигов в пятне контакта колесо-рельс, расстройства рельсового пути) всей системы «колесо-рельс». Устранить данное свойство какими-либо модернизациями отдельных узлов ходовых частей практически невозможно.

Динамический фон негативно сказывается на взаимодействии тележки и кузова вагона, тележки и рельсового пути, боковой рамы и колесной пары, надрессорной балки и пружин, клиньев. Возникающая при этом высокая чувствительность к незначительным отклонениям в содержании пути и подвижного состава свидетельствует о неустойчивости системы. Кроме того, конструктивная схема указанных вариантов тележек не удовлетворяет главному принципу работы железнодорожных экипажей - эксплуатационной живучести и безопасности. Единичный отказ особо ответственного элемента тележки, например излом шейки оси колесной пары, неотвратимо приводит к тяжелым последствиям.

В соответствии с данной концепцией за 40 лет было предпринято более 15 модернизаций двухосной традиционной тележки.

Иллюзия малозатратности данной концепции модернизаций тележки 18-100 продолжает привлекать специалистов.

Вторая концепция основывается на создании тележки принципиально новой схемы. Конструктивно - силовой особенностью ее является симметричный способ распределения статической нагрузки. На ось колесной пары нагрузка передается через четыре буксовых узла (каждый из которых может содержать по подшипнику), размещенных в четырех сечениях одной оси. Один из вариантов двухосной тележки с передачей нагрузки на четыре буксовых узла одной оси симметрично относительно колеса, пригодный для скоростного экипажа, предложен в Германии. Предварительные результаты исследований показывают определенные преимущества такой схемы в сравнении с традиционной.

Другое конструктивное решение тележки с симметричной передачей нагрузки от боковых рам на четыре буксовых узла одной оси, пригодное как для большегрузного, так и для скоростного экипажа, предложено Петербургским государственным университетом путей сообщения (патенты ПГУПСа). С учетом конструктивной схемы такой тележки (см. рисунок) изгиб оси резко уменьшается (наибольший прогиб уменьшается более чем на порядок, поворот колеса в плоскости изгиба исключается полностью), что обеспечивает устранение вредного динамического фона и причины целого спектра дополнительных динамических эффектов. Это, в свою очередь, создает условия для малой чувствительности системы «колесо-рельс» к незначительным отклонениям в содержании пути и подвижного состава, для значительного увеличения ресурса ходовых частей и уменьшения эксплуатационных расходов.

Рисунок 2 – Схематическое изображение варианта новотипной тележки

Учитывая тенденцию увеличения скорости, нагрузок и то, что высокие требования к квалификации и опыту работников службы дефектоскопии могут оказаться не выполненными, вопрос повышения эксплуатационной живучести и безопасности железнодорожного экипажа становится весьма актуальным, а запатентованное конструктивное решение новой российской тележки перспективным. Подтвердить или опровергнуть ее преимущества можно только на основании результатов экспериментально-теоретических исследований, но из-за отсутствия финансирования такие исследования пока не проводились.

Предварительные оценки новой конструктивной схемы тележки позволяют ожидать повышения в 4-5 раз ресурса оси колесной пары при одновременно возможном уменьшении веса каждой оси до 100 кгс, устранения причин ослаблений посадки колеса и буксовых подшипников по фреттинг-коррозии и повреждений торцовых креплений буксовых узлов, повышения в 2-3 раза ресурса элементов колеса, в 3-4 раза элементов буксового узла, боковых рам, надрессорной балки, увеличения устойчивости против схода колеса с рельсов, повышения эксплуатационной живучести и безопасности экипажа, значительного уменьшения воздействия на путь, приобретения свойства повышенной связанности тележки в плане, создания на базе тележки нового типа российской альтернативы тележке с раздвижными колесными парами и конкурентоспособного по мировым стандартам тяжелогрузного и скоростного подвижного состава.

Можно с достаточным основанием утверждать, что те преимущества простой и удобной конструктивной схемы, которые соответствуют применяемому стандартному несимметричному способу статического нагружения ходовых частей серийной тележки, полностью утрачиваются с повышением скорости и нагрузки на ось. Такая тележка приобретает устойчивое свойство повышенного динамического воздействия на путь и подвижной состав. Концепция продолжения модернизации тележки старого типа в условиях повышения нагрузок и скорости становится неэффективной для протяженных российских железных дорог, поскольку чревата в дальнейшем огромными эксплуатационными расходами на содержание пути и снижением безопасности движения поездов. Назрела необходимость параллельно с поддержанием работоспособности традиционной тележки приступить к исследованиям тележки с симметричным распределением статической нагрузки.

4. Организация серийного производства тележек 18-78 для новых вагонов

Учитывая тенденции мирового вагоностоения в направлении повышения надежности и межремонтных пробегов, Департаментом вагонного хозяйства ОАО «РЖД», ВНИИЖТом и ФГУП ПО «Уралва-гонзавод» были проведены работы по созданию тележки новой конструкции. При этом поставлена задача максимально сохранить положительные качества тележки 18-100. С 2004 г. Уралвагонзавод начал производство тележки 18-578 с осевой нагрузкой 23,5 тс. Ее конструкция рассчитана на повышение межремонтных пробегов грузовых вагонов до 500 тыс. км и увеличение гарантийного срока эксплуатации до 4 лет.

Несущие элементы тележки (боковые рамы и надрессорная балка), изготовленные литьем из низколегированной стали марки 20 ГЛ, имеют повышенный до 1,8 коэффициент запаса усталостной прочности, что достигнуто не только повышением качества литья. Например, в боковой раме изменена конфигурация в зонах, наиболее подверженных развитию дефектов: в концевой части, зоне проема центрального подвешивании и крепления кронштейнов тормозного оборудования.

Для повышения износостойкости трущихся рабочих поверхностей между клином и боковой рамой установлена составная фрикционная планка из стали 30ХГСА, а в буксовом узле - съемные накладки с креплением в технологическое отверстие. В подпятнике устанавливается съемная износостойкая чаша из стали ЗОХГСА с использованием смазки из композиционного твердосмазочного материала (КТСМ).

Центральное рессорное подвешивание тележки состоит из комплекта пружин и фрикционных клиновых гасителей колебаний, однако оба эти элемента имеют качественные отличия от тележки 18-100. Комплект пружин имеет линейную вертикальную силовую характеристику, обеспечивающую увеличенный до 68 мм прогиб под массой груженого вагона. Минимальный прогиб под массой порожнего вагона составляет 13 мм, что улучшает показатели вертикальной динамики и безопасности движения. Фрикционные клинья выполнены из высокопрочного термоупрочненного чугуна ВЧ-120.

Для защиты от износа наклонной поверхности надрессорной балки на клине установлена сменная износостойкая полимерная накладка. Упругая связь клиньев с надрессорной балкой обеспечивает исключение контакта «металл по металлу» и в сочетании с оптимально выбранной жесткостью пружинного комплекта стабилизирует работу гасителей колебаний, на 15-20% улучшаются показатели вертикальной и горизонтальной динамики вагона, существенно снижается воздействие на путь.

На надрессорной балке предусмотрена установка упруго-катковых скользунов постоянного контакта. Наличие постоянной силы прижатия фрикционных поверхностей скользунов увеличивает момент трения на поворот тележки под вагоном, демпфирует виляние, а работа упругих элементов в вертикальном направлении амортизирует перевалку кузова на подпятнике. Таким образом, упруго-катковые скользуны снижают не только боковые силы, действующие на рельсы, но и нагрузки на подпятник.

Боковая рама тележки опирается на колесные пары через корпус буксы, внутри которого установлены цилиндрические подшипники шестого класса точности. На части тележек установлены двухрядные конические подшипники кассетного типа, обладающие существенным преимуществом перед роликовыми цилиндрическими подшипниками по возможности противостояния значительным нагрузкам, прежде всего осевым, плавности хода, долговечности и возможностям организации централизованной системы технического обслуживания.

Колесные пары сформированы из колес повышенной твердости с твердостью на глубине 30 мм от поверхности катания 320 - 360 НВ и дробенаклепанными дисками, что гарантирует от изломов дисков колес и увеличивает срок их службы не менее чем в 2 раза.

Тормозная рычажная передача обеспечивает одностороннее нажатие на каждую колесную пару и оборудована триангелями с безрезьбовыми креплениями тормозных башмаков и торсионным устройством отвода колодок от колес при отпущенном тормозе.

В настоящее время поставлено и передано в эксплуатацию 14 тыс. новых полувагонов. В основном они эксплуатируются на дорогах Сибири и Дальнего Востока в составе маршрутов.

Анализ эксплуатации этих полувагонов, проведенный по отчетам служб вагонного хозяйства за 4 месяца 2006 г., показывает, что отцепки в текущий отцепочный ремонт в расчете на 1 тыс. вагонов по неисправности тележки 18-578 в 3,2 раза меньше, чем для серийной тележки 18-100, неисправности буксового узла меньше в 3,2 раза, колесных пар - в 1,6 раза. Можно с уверенностью констатировать, что тележка 18-578 по надежности в эксплуатации основных узлов значительно превосходит серийную.

В настоящее время тележка 18-578 адаптирована только к полувагону 12 - 132 - 03. Для ее постановки под вагонами других типов необходимо провести расчеты их динамических качеств с подтверждением ходовыми динамическими испытаниями и испытаниями по воздействию на путь.

Для реализации поставленной задачи требуется доработать документацию на боковую раму, надрессорную балку, пружинный комплект и материал «бочонков» упруго-катковых скользунов и фрикционных накладок. По окончании доработки провести работу приемочной комиссии по присвоению тележке 18-578 литеры «А». Следует также привести установленным порядком конструкторскую документацию, технологические инструкции завода на изготовление полувагонов 12-132-03 с тележками 18-578 в соответствие требованиям нормативной документации ОАО «РЖД» на вновь изготавливаемые вагоны и подготовить полный комплект технической документации на эту тележку для передачи на договорных началах вагоностроительным заводам.

ФГУП «ПО Уралвагонзавод» разработал и запустил в серийное производство тележку 18-578 с нагрузкой от оси на рельсы 23,5 тс. Ряд новых технических решений позволяют рассматривать ее как перспективную модель для грузовых вагонов. Общий вид тележки18-578 показан на рис. 1, а ее техническая характеристика приведена в таблице 2.

Таблица 2 – Техническая характеристика тележки 18 – 578

Параметры

Значения

База тележки, мм

1850

Ширина рельсовой колеи, мм

1520/1435

Конструкционная скорость, км/ч

120

Диаметр подпятника, мм

300

Тип скользуна

упруго-

катковый

Расстояние между осями рессорных комплектов, мм

2036

Высота от уровня головок рельсов до опорной поверхности подпятника в свободном состоянии, мм

811

Гибкость (вертикальная) рессорного подвешивания, мм/т

1,57

Расчетный коэффициент относительного трения рессорного подвешивания:

- под массой брутто вагона


0,084

- под тарой

0,099

Передаточное отношение тормозной рычажной передачи

7

Масса тележки, кг

4738

Гарантийный межремонтный пробег, тыс. км

500


5. Недостатки предыдущих конструкций

Эффективность функционирования и конкурентоспособность российских железных дорог в решающей мере зависят от безопасности движения подвижного состава, скорости доставки грузов и уровня эксплуатационных расходов на тягу поездов. Именно низкая скорость доставки грузов - 650 км в сутки (требуется 1000 км/сутки) и является одним из доминирующих факторов, препятствующих массовым перевозкам транзитных грузов по транспортным коридорам «Восток — Запад» и «Север - Юг», что в результате негативно влияет на конкурентоспособность и эффективность не только транспортной отрасли, но и экономики государства в целом.

В современных условиях, когда от подвижного состава требуется низкая начальная стоимость, значительное повышение межремонтного пробега и высокая ремонтопригодность, создание системы рессорного подвешивания, обеспечивающей высокие динамические качества железнодорожного экипажа, является главной проблемой для разработчиков транспортных железнодорожных средств. Особенно остра она для тележки грузового вагона, которая в дополнение к отмеченным требованиям, должна обеспечивать достижение высоких показателей динамических качеств в вертикальной и горизонтальной плоскостях, оптимизацию способности вписывания в кривые и снижение износа узлов вагона и рельсов, а также уменьшение сопротивления движению в прямых участках пути.

Как показывает практика, в настоящее время весьма значительная часть браков в эксплуатации приходится на вагонное хозяйство. Это, на наш взгляд, в решающей мере обусловлено эксплуатацией морально и физически устаревшей трехэлементной тележки 18-100, спроектированной полвека назад.

Известно, что для повышения плавности хода железнодорожного экипажа необходимо снижать виброактивность источника возмущений и совершенствовать динамические свойства системы обрессоривания подвижного состава. Первое из этих направлений реализуется в виде бесстыкового пути, выполненного в виде рельсов тяжелых типов, уложенных на железобетонных шпалах и стабилизированном щебеночном основании, а также в мерах по устранению несовершенства колесных пар (эксцентриситетов, выщербин, ползунов и пр.). Вместе с тем увеличение в несколько раз модуля упругости рельсового основания и наличие несовершенств очертания поверхностей катания рельсов и колес влекут за собой повышение уровня сил динамического взаимодействия вагона и пути, что приводит к росту напряжений в колесах и рельсах. Это способствует увеличению изломов дисков особенно в зимний период эксплуатации. Отметим, что производство усиленного капитального ремонта пути связано с большими материальными затратами.

Второе направление связано с повышением эффективности виброзащитных свойств рессорного подвешивания как в вертикальной, так и в горизонтальной плоскости методом поиска рациональных значений параметров жесткости и демпфирования системы упругого подвеса.

Ограничениями, которые препятствуют созданию эффективной типовой системы рессорного подвешивания с оптимальными характеристиками, являются:

• предел по минимальной вертикальной жесткости рессорного подвешивания в связи с жестким ограничением высот автосцепок, вследствие чего возможность повышения гибкости рессорного подвешивания входит в противоречие с лимитированной предельной разностью высот автосцепок соседних вагонов в груженом и порожнем состояниях;

• стесненное габаритное пространство, отведенное для системы подвешивания;

• допускаемые напряжения в элементах системы подвешивания и в узлах конструкции.

Как отмечал профессор М.Ф.Вериго, по своему конструктивному оформлению тележка 18-100 (ЦНИИХЗ-О) представляет собой явно ухудшенный аналог широко распространенных на железных дорогах США тележек Барбера. Во-первых, в тележке 18-100 углы наклона клиньев во фрикционных гасителях колебаний центрального рессорного подвешивания уменьшены с 55 до 45, что привело к снижению сил сопротивления взаимным продольным перемещениям («забегам») боковых рам, т. е. уменьшению связанности тележки.

Во-вторых, существенно изменена конструкция соединения корпусов букс с боковинами, увеличившая их подвижность по отношению к боковинам и возможность поворота колесных пар на достаточно большие углы относительно боковых рам тележки, что негативно влияет на устойчивость экипажа в рельсовой

колее. Этому способствуют большие продольные (величина их может ус достигать 20 мм и более) и поперечные зазоры в буксовых проемах, а также значительный разброс базовых размеров боковых рам. Необходимо заметить, что на американских тележках величина продольного зазора составляет всего 2 мм. Так и как взаимодействие надрессорной балки и боковой рамы тележки осуществляется через фрикционные клинья и пружинный комплект, надрессорная балка имеет большую свободу как продольных и поперечных, так и угловых смещений при залегании боковых рам, обусловленную наличием зазоров в буксовых проемах. Это при ее движении в кривых участках пути приводит к параллелограммированию тележки и, как следствие, к увеличению сопротивления движению, подрезу гребней колес и боковому износу головок рельсов.

Таким образом, основными недостатками конструкции тележки 18-100 являются:

• недостаточная связанность узлов рамы тележки в плане из-за угловых поворотов надрессорной балки на наклонных поверхностях фрикционных клиньев, которая приводит к неравномерному распределению горизонтальных динамических сил и перекосу рамы, что интенсифицирует взаимодействие тележки с кузовом вагона и путевой структурой;

• недостаточная связанность колесных пар с боковыми рамами тележки, которая допускает смещение боковых рам относительно буксовых узлов, обусловливает быстрый и неравномерный износ опорных поверхностей рам, корпусов букс и перераспределение нагрузок, что вызывает перегрузку осей колесных пар и снижение долговечности буксовых подшипников;

• использование в старых моделях вагонов простейших скользунов жесткого и опорного соединения пятник — подпятник с быстро и неравномерно изнашивающимися поверхностями, что способствует нестабильности ходовых характеристик вагона и ускоряет износ колесных пар и других элементов тележки;

• связь боковых рам и надрессорной балки обеспечивается за счет работы фрикционных клиньев рессорного подвешивания, и характеристики этой связи, как показывают исследования ВНИИЖТа, не обеспечивают гарантированного ограничения забегания боковых рам и перекоса колесных пар; • значения упругих идиссипативных параметров системы горизонтального обрессоривания кузова вагона, прежде всего в порожнем его состоянии, не являются эффективными. Из-за недостаточного конструктивного запаса величины свободного хода надрессорной банки относительно боковых рам амплитуда ее относительного поперечного перемещения от положения, соответствующего статическому равновесию, как правило, не превышает 18 мм. Вследствие недостаточного демпфирования горизонтальных колебаний при замыкании зазора между фрикционным клином и боковой рамой происходит удар клина об упорную колонку боковой рамы и дальнейшая передача ударной нагрузки от боковой рамы на торцы роликов подшипников и на торцовое крепление.

Последний из отмеченных недостатков приводит к появлению дефектов типа «елочка», накоплению продуктов износа и возможному заклиниванию роликов, что в совокупности со значительными вертикальными динамическими нагрузками, обусловленными высокой жесткостью рессорного подвешивания и большой необрессоренной массой, приводит к грению буксовых узлов. Только по причине подтвержденного зрения на сети дорог ежегодно производится отцепка нескольких тысяч вагонов, что наносит значительный экономический ущерб.

Рост боковых сил, в свою очередь, способствует усилению колебаний виляния, боковой качки вагона и приводит к появлению значительных деформаций кузова относительно его продольной оси. В подобных случаях низкий уровень диссипации энергии не только в зоне контакта клиновых гасителей колебаний с фрикционными планками, но и между скользунами приводит к разгрузке рельса. Именно такой режим колебаний является одной из главных причин схода вагонов с рельсов, а также повышения напряженно-деформированного состояния узлов вагона. Только в терминале по подготовке под погрузку полувагонов на станции Входная Западно-Сибирской железной дороги при производстве сварочных работ, вызванных наличием трещин в стойках и верхней обвязке кузова, ежесуточно расходуется около 120 кг электродов.

Необходимо отметить, что фрикционные элементы склонны к проявлению залипания (схватывания) трущихся поверхностей, что является причиной появления скачкообразного трения и возникновения вследствие этого значительных ударных нагрузок, которые не только повреждают конструктивные элементы вагона, но и ведут к ускоренному нарушению параметров верхнего строения пути. Такие фрикционные элементы пропускают высокочастотные вибрации, а контактирующие рабочие поверхности этих элементов и узлов тележки подвержены значительному изнашиванию. Превентивной мерой является использование полиуретановых накладок на фрикционные клинья, что позволяет исключить явления ударного роста динамических нагрузок и уменьшить износ контактирующих поверхностей.

Для увеличения жесткости тележки в горизонтальной плоскости, т. е. повышения связанности элементов тележки в настоящее время применяют перекрестные анкерные связи, а также продольные тяги, дополнительно связывающие боковые рамы с надрессорной балкой. Хотя введение таких связей усложняет конструкцию и повышает стоимость тележки, но они значительно улучшают динамические свойства экипажа и существенно снижают боковой износ рельсов, что способствует сокращению эксплуатационных расходов на тягу поездов.

Одним из способов улучшения динамических свойств грузовых вагонов является совершенствование конструкций боковых опор кузова (опорных скользунов). В последнее время все большее применение получают упруго-роликовые скользуны, улучшающие вписывание вагона в кривую и в то же время ограничивающие виляние тележки, а следовательно боковую качку вагона в прямых участках пути.

Конструктивные решения реализованы в конструкции новой трехэлементной тележки 18-1711, разработанной в результате совместной работы ученых Украины (Институт технической механики) и России (ФГУП «Научно-внедренческий центр «Вагоны»). В ней наряду с диагональными связями применены фрикционные клинья пространственного действия, а также адаптеры и полиуретано-металлические упругие элементы связи колесных пар с боковыми рамами, способствующие увеличению суммарного статического прогиба системы рессорного подвешивания в целом. При этом передача нагрузки от упругого элемента на буксу осуществляется, как и в тележке Барбера, через адаптер.

Как отмечают разработчики проекта, основные преимущества тележки 18-1711 перед тележкой 18-100, подтвержденные результатами ходовых испытаний, заключаются в значительном улучшении показателей безопасности движения груженого и порожнего вагонов, повышении коэффициента запаса усталостной прочности боковой рамы, снижении бокового воздействия на путь при аналогичном вертикальном уменьшении износа колесных пар.

Острая необходимость снижения воздействия грузового вагона на путь требует снижения его необрессоренной массы. Этому направлению соответствуют французская тележка У25 и тележки английских железных дорог СТР и ТР 25 с гидравлическим демпфером, тележка железных дорог КНР модели 75р, а также отечественная тележка, подкатываемая под фитинговые платформы. Необходимо отметить существенное влияние суровых климатических условий на эффективность работы гидравлических гасителей при почти экстремальных продолжительных низких температурах.

Другим примером совершенствования конструкции тележки грузового вагона может служить разработанная в Германии тележка LEILA-DG. Использованные в ней резиновые клиновые рессоры имеют прогрессивную характеристику, зависящую от нагрузки и обеспечивающую устойчивость хода вагона как с грузом, так и в порожнем состоянии. Расположение упругих элементов в буксовых узлах между колесами, а не снаружи позволяет увеличить так называемую «приведенную длину маятника», уменьшив за счет этого собственную частоту боковых колебаний, и, следовательно, улучшить плавность хода вагона. Особенностью этой тележки является применение диагональных связей для поперечного соединения колесных пар, что заметно улучшило ходовые качества как на прямолинейных участках, так и в кривых, и способствует снижению износа гребней колес и рельсов.

Одним их существенных недостатков тележек с Н-образной рамой по сравнению с трехэлементными, имеющими литые боковины, является высокая жесткость на кручение, что при недостаточной гибкости рессор, установленных между буксой и рамой, снижает ее устойчивость против схода с рельсов. Этот факт давно установлен в результате натурных испытаний тележки, разработанной Уралвагонзаводом около тридцати лет назад.

Недостатки традиционного рессорного подвешивания железнодорожных экипажей, основанного на применении линейных упругих элементов в комбинации с фрикционными или гидравлическими гасителями колебаний, стали особенно очевидны в последнее время, когда из-за значительного износа подвижного состава и рельсов железные дороги несут значительные издержки, обусловленные многочисленными ограничениями скорости, сходами вагонов с рельсов и другими более тяжелыми последствиями.

Здесь следует отметить, что в основе упомянутых отечественных разработок, в том числе и тележки 18-1 94-1, созданной УрГУПСом совместно с ФГУП «Уралвагонзавод», лежит морально устаревшая модель 18-100. К исключению из этого ряда следует отнести конструкцию тележки, «дружественной по отношению к пути», разработанную МИИТом, и тележку, обеспечивающую возможность радиальной установки колесных пар в кривой, созданную ВНИКТИ.

Известно, что оптимальной жесткостью рессорного подвешивания экипажа при действии кинематического возмущения со стороны пути является наименьшая. Современные требования к качеству виброзащиты не во всех случаях удается обеспечить при помощи типовых пассивных систем виброизоляции, основанных на применении упругих элементов и гасителей колебаний, так как эти системы не всегда могут обеспечить желаемый переходный процесс и стабилизацию объекта в диапазоне частот входных возмущений. Назрела необходимость в разработке активных систем виброзащиты экипажей с использованием теории регуляторов, поглощающих возмущения.

Существует целый класс систем виброзащиты объектов, основанных на принципе компенсации внешних возмущений, состоящих из двух каналов передачи возмущений и не требующих дополнительных внешних источников. Динамическая реакция основного упругого элемента системы рессорного подвешивания уравновешивается направленной ей навстречу силой, формируемой дополнительным упругим элементом второго компенсирующего канала передачи возмущений. При наличии некоторой малой положительной результирующей жесткости, необ- ходимой для обеспечения устойчивости системы, такую систему называют квазиинвариантной. Возникающую при этом боковую валкость кузова можно ограничить посредством стабилизаторов боковой качки, что и применяется на скоростных зарубежных локомотивах.

Важными достоинствами систем, основанных на принципе компенсаций внешних возмущений, являются:

•   возможность регулирования динамической жесткости упругого подвеса в широких пределах и повышения демпфирования в системе вплоть до критического за счет изменения соотношения инерционных и упругих параметров системы;

•   обеспечение малой динамической жесткости и большой несущей способности при меньших, чем у обычной подвески, габаритах (мягкие тяжелонагруженные опоры типа «Flexicoil» имеют большие габариты, что и приводит к необходимости создания двух ступеней обрессоривания локомотивов, а также и пассажирских вагонов модели 68 — 4072).

Экспериментальные исследования динамических свойств одного из созданных на этом принципе образцов системы виброзащиты объекта, проведенные в Институте машиноведения РАН, подтверждают достоверность теоретических исследований. Например, установлено, что максимальная эффективность виброзащиты объекта наблюдается на частоте 6,3 Гц и составляет 26 дБ, т.е. ускорения на выходе по сравнению с этим же показателем на входе в систему уменьшаются в 20 раз.

Главная трудность на пути создания системы обрессоривания грузового вагона, которую удалось преодолеть - значительная разность статических прогибов в груженом и порожнем состояниях с учетом жестких габаритных, прочностных и функциональных ограничений, накладываемых на значения конструктивных параметров системы виброзащиты. Расчеты показывают, что в груженом состоянии при движении по неровностям пути, зафиксированным ВНИИЖТом, вполне возможно достижение собственной частоты колебаний подпрыгивания вагона 1 Гц, а в порожнем соответственно до значений 1,3 — 1,5 Гц. Для серийного порожнего полувагона модели 12-196 этот параметр равен 5,5 Гц.

6. Модернизация вагонов – хопперов

В последние годы увеличилось количество разнообразных моделей вагонов-хопперов для перевозки зерна, цемента, технического углерода и других грузов.

Известны варианты модернизации внутренней полости кузова для перевозки сыпучих грузов с устройством подпружиненного в центральной части дна, которое при загрузке опущено. Кузов в этом случае вмещает максимальный объем груза, а при выгрузке в момент открытия выгрузочных люков центральная подпружиненная часть дна поднимается и образовавшийся конус способствует стабильному истечению груза из вагона. Анализ эксплуатационных данных таких бункеров показал, что максимально наклоненные к горизонтали стенки способствуют стабильному истечению груза. Однако внедрение во внутреннюю часть кузова подвижных элементов не является эффективным, так как затруднен доступ к ним в случае неисправности.

ОАО «Промжелдортранс» совместно с Самарской государственной академией путей сообщения (СамГАПС) получен охранный документ на бункер вагона с вертикально стоящей внутри кузова продольной стенкой, в основании которой расположена хребтовая балка. Кузов также разделен поперечными перегородками, ограничивающими между собой разгрузочные люки. Для загрузки по всей площади вся конструкция из перегородок не достигает крыши, а заканчивается в основании наклона торцевых стенок. Такое расположение перегородок улучшает схему истечения, поскольку внутреннее трение замещается внешним по двум ограждающим поверхностям, которые в среднем на треть ниже. Следует отметить, что эффективной формой поверхности стенок бункеров является не плоскость, а вогнутая по гиперболической кривой поверхность.

Сибирским государственным университетом путей сообщения предложен бункерный вагон для сыпучих грузов, в котором повышение эффективности разгрузки достигается исключением сводообразования за счет применения криволинейных направляющих, жестко закрепленных на каждой боковой стенке бункера в зоне нижней части каждой торцевой стенки. Они выполнены из двух гибких элементов, которые сопряжены между собой посредством поперечного вала, закрепленного на раме вагона, и смонтированы с возможностью перемещения по направляющим. Однако в вагоностроении гиперболические поверхности стенок бункеров не нашли применения из-за сложности изготовления.

7. Новый вагон со съемным кузовом

В международных грузовых перевозках в странах Северной Америки и Европы (кроме стран СНГ) получили широкое распространение вагоны-платформы с обменными кузовами. Технология использования таких кузовов, имеющих много общего с контейнерами, предусматривает их механизированную перегрузку с вагона на вагон при следовании по линиям разной колеи, а также снятие с рамы и размещение на площадках грузовых дворов в ожидании разгрузки или дальнейшего следования на раме другого вагона.

Съемные кузова вагонов имеют как определенные преимущества перед контейнерами, так и недостатки. В частности, съемные кузова не приспособлены для многоярусного складирования, не обеспечивают погрузку и выгрузку грузов на существующих погрузочно-выгрузочных комплексах, имеют меньшую из-за особенностей конструктивной схемы полезную грузовместимость в сравнении со стандартными кузовами.

Предложена конструктивная схема нового вагона со съемным кузовом, которая, с одной стороны, обеспечивает стандартные процедуры погрузки и выгрузки грузов на существующих погрузочно-выгрузочных комплексах и, с другой стороны, позволяет быстро снимать и складировать съемные кузова в несколько ярусов, что значительно сокращает простой вагонов под погрузкой и выгрузкой, а также в ремонте.

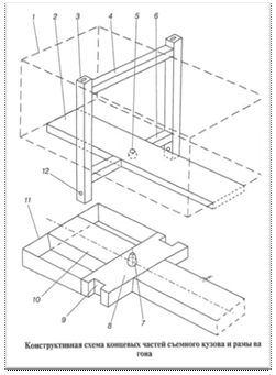
Конструктивная схема вагона со съемным кузовом приведена на рисунке. Новизна данной схемы подтверждена патентом.

Рисунок 3 – Конструктивная схема концевых частей съемного кузова и рамы вагона

Сущность предложенного транспортного средства состоит в следующем. Стандартный кузов 1 вагона снабжается продольной опорной балкой 2. В каждой концевой части кузова в районе шкворневой балки устраивается несущая конструкция, состоящая из вертикальных стоек 3 с замками 12 в нижней части, верхней поперечной балки 4 и нижней поперечной балки 6; по оси продольной опорной балки в месте нахождения несущей конструкции устанавливается конусная воронка-ловитель 5. Соответственно этому в каждой концевой части рамы вагона, где расположены оконечность обычной хребтовой балки 10 с торцовым брусом 11, на концах шкворневой балки 8 выполняются выемки 9, а в ее средней части монтируется конусный фиксатор 7. Кроме того, рама вагона снабжается стандартным автосцепным, тормозным оборудованием и устанавливается на типовую ходовую часть (тележки).

Монтаж и демонтаж съемного кузова вагона выполняют следующим образом.

При монтаже кузов вагона с помощью подъемного устройства, закрепляемого на верхних концах вертикальных стоек, поднимается над рамой и ориентируется так, чтобы нижние концы стоек находились над выемками шкворневых балок. Затем кузов опускается на шкворневые балки рамы, нижние концы стоек входят в выемки шкворневых балок и запираются замками; точность взаимного расположения сопрягающихся узлов обеспечивается конусными фиксаторами и воронками-ловителями.

При демонтаже кузова действия выполняются в обратной последовательности: отпираются замки, с помощью подъемного устройства, закрепляемого на верхних частях вертикальных стоек, кузов поднимается над рамой вагона и транспортируется на площадку складирования, где устанавливается на нижние опорные части вертикальных стоек, длина которых увеличена, чтобы обеспечить сохранность нижних выгрузочных устройств кузова при установке его на площадке.

Несущие конструкции кузова (вертикальные стойки, верхние и нижние поперечные балки), как и в контейнерах, обеспечивают возможность складирования съемных кузовов в несколько ярусов на погрузочно-разгрузочных площадках и в трюмах судов (при перевозках в смешанных сообщениях).

Применение съемных кузовов позволит значительно сократить простой вагонов под погрузочно-разгрузочными операциями и в ремонте, а также расширить номенклатуру грузов, перевозимых на одних и тех же вагонах-платформах.

8. Новые вгоны грузовой компании Railion Deutschland

В последние годы компания Railion Deutschland, как и другие компании, входящие в состав холдинга железных дорог Германии (DBAG), постоянно обновляет парк грузовых вагонов за счет ввода в эксплуатацию: новых вагонов, в основном специализированных, предназначенных для перевозки грузов горнодобывающей, автомобильной и химической промышленности. Новый подвижной состав используется для замены менее эффективных вагонов старой конструкции и способствует удовлетворению требований клиентуры на новом уровне и с большей эффективностью, чем при смешанных перевозках.

В парке грузовых вагонов компании Railion Deutschland модернизации подвергаются в первую очередь те вагоны, которые с точки зрения ограничений, действующих на железнодорожном транспорте, достигли предела своих эксплуатационных возможностей. Речь идет о подвижном составе, характеристики которого могут быть улучшены лишь с помощью целенаправленных технических мероприятий (например, увеличение внутренней высоты вагонов с раздвижными боковыми стенками за счет использования колесных пар уменьшенного диаметра). Резервы, имеющиеся у такого подвижного состава, должны быть использованы для стандартизации, снижающей затраты жизненного цикла (LCC), и модуляризации в рамках того или иного семейства вагонов.

9. Подвижной состав для горно-металлургической промышленности

Грузы горно-металлургической промышленности по-прежнему являются одними из основных для железных дорог. В настоящее время для перевозки сыпучих грузов этого сектора промышленности используется подвижной состав большой грузоподъемности, в частности секции, состоящие из двух шестиосных вагонов (Falrrs 152 и 153), соединенных короткой сцепкой.

Четырехосные вагоны-платформы Rbns 646 увеличенной длины, введенные в эксплуатацию начиная с 2001 г. в количестве 200 ед., благодаря наличию стоек с крепежными приспособлениями используются для перевозки таких изделий горно-металлургической промышленности, как стальной прокат, трубы и балки.

Введенные в эксплуатацию с 2002 г. четырехосные крытые вагоны Shimmns ttu-723 (860 ед.) обеспечивают сохранную перевозку стального листа в ролях. Этот подвижной состав оборудован надежным в эксплуатации и простым в обслуживании сдвижным тентом, погрузочными лотками с резиновыми ковриками для защиты поверхности ролей от повреждений и, что особенно важно, плавно регулируемыми устройствами, обеспечивающими защиту ролей от бокового смещения.

Начата модернизация вагонов Shimmns 708, эксплуатирующихся с 2001 г. На этих вагонах со стальной телескопически сдвигающейся оболочкой, образующей боковые стенки и крышу, устанавливаются такие же закрепляющие и предохранительные устройства, как в вагонах Shimmns ttu-723. В результате этой модернизации значительно повышается степень унификации парка подвижного состава для перевозки рулонных материалов.

Вагоны для перевозки автомобилей и их компонентов

После закупки в недавнем прошлом новых вагонов для перевозки автомобилей и их компонентов Railion обладает в настоящее время самым современным подвижным составом в этом секторе рынка транспортных услуг. Благодаря внутренней высоте погрузки, равной 3,05 м, эти вагоны имеют явные преимущества перед конкурирующим автомобильным транспортом.

С 2001 г. в этом секторе перевозок стали широко применять двухосные большегрузные вагоны Hbbins-tt 309 с раздвижными боковыми стенками, сохранная перевозка груза в которых обеспечивается за счет блокирующихся перегородок.

Большегрузная секция с раздвижными боковыми стенками (Automotive Махх) серии Himrrs-tt 326, введенная в эксплуатацию в 2003 г., составлена из двух вагонов Hbbins-tt 309, соединенных жесткой сцепкой.

С 2000 г. парк подвижного состава для перевозки автомобилей пополнился 850 трехосными двухъярусными вагонами Laes 559 с регулируемым по высоте верхним уровнем погрузки. Погрузочные уровни этих вагонов могут устанавливаться в 10 различных положений, за счет чего обеспечиваются оптимальное использование имеющегося габарита и гибкость применения для перевозки автомобилей разных размеров.

Неоднократно рассматривавшаяся в различных публикациях четырехвагонная закрытая секция Hcceerrs 330, предназначенная для перевозки автомобилей, сконструирована специально для компании Daimler-Chrysler (в 2003 г. заказано 68 ед.). Она оборудована гидравлическим приводом для смещения крыщи (при погрузке), а также торцовыми дверями и внутренним освещением. Такая секция обеспечивает сохранную доставку автомобилей непосредственно с завода заказчику (в том числе за рубежом).

Компания Railion эксплуатирует модернизированную платформу Sdgkms 707 для перевозки контейнеров. Этой модификации присвоено обозначение Sgkkmss 698. За счет уменьшения погрузочной высоты на 330 мм появилась возможность перевозить на ней также обменные кузова, в которых преимущественно транспортируются автомобильные запасные части. Новый профиль этих платформ еще больше расширяет возможности смешанных перевозок. Применение съемных рам позволяет применять горизонтальную перегрузку обменных кузовов.

Вагоны для перевозки продукции сельского хозяйства и лесной промышленности

В 2000 г. введены в эксплуатацию специализированные платформы Roos-t 645 для перевозки леса, построенные на базе стандартной четырехосной платформы. На них смонтированы две высокие и прочные торцовые стенки, а также боковые карманы вдоль бортов, куда вставляются стойки, удерживающие груз.

Значительное повышение грузоподъемности по сравнению с эксплуатировавшимися до сих пор двухосными вагонами для перевозки насыпных грузов обеспечат новые четырехосные вагоны Tagnoos898 с полезным объемом 90 м3. Эти специализированные вагоны для перевозки зерна и кормов имеют кузов из нержавеющей стали с центральным размещением разгрузочного люка, обеспечивают оптимальное качество перевозки и удобство очистки. Они преимущественно включаются в поезда, идущие из сельскохозяйственных областей к морским портам или мукомольным предприятиям.

Грузовые вагоны универсального применения

В качестве одной из наиболее значительных новых разработок следует назвать четырехосный вагон Habbiins 344 с раздвижными боковыми стенками. Эти грузовые вагоны, первоначально предназначавшиеся для перевозки бумаги в ролях, в дальнейшем стали универсальными. Наряду с оптимальным использованием погрузочного объема вагоны Habbiins 344 обеспечивают сохранную перевозку. Применение специальных регулируемых башмаков, препятствующих смешению ролей, на порядок сокращает затраты времени на погрузку бумаги.

Заключение

Как видно из рассмотренных примеров, внедрение новшеств на грузовом транспорте происходит разными способами, но, как правило, с множеством проблем. Разумеется, внедрение новых разработок не всегда приводит к улучшению экономической ситуации в грузовых перевозках. Коренного улучшения от внедрения отдельных инноваций здесь вообще не может быть, поскольку процесс сокращения доли железных дорог на рынке грузовых перевозок идет уже давно.

Несмотря на разработку многообещающих проектов, для которых изыскиваются значительные средства, часто с участием железнодорожной промышленности, широкого внедрения их не происходит. Новые разработки, которые не реализуются в эксплуатации, невыгодны для всех участвующих сторон, например: для промышленности, выделившей разовый кредит, для компаний-перевозчиков, принявших финансовое участие в проекте, а также для непосредственного заказчика в случае неудовлетворительного выполнения поставленных требований.

Если даже новая разработка и будет сочтена рентабельной, экономическая эффективность инвестиций не будет достигнута в полном объеме и в заданные сроки. В поисках решения проблемы железнодорожная промышленность готова идти путем внедрения инноваций вместе со всеми заинтересованными сторонами и прежде всего компаниями-перевозчиками, но это должна быть совместная работа. При определении характера такого взаимодействия необходимы:

·  четкое определение стратегии, которое предусматривает разработку общих условий, действительных для более продолжительного промежутка времени. Это обеспечит надежность и высокое качество проектирования, необходимые для крупных и долгосрочных опытно-конструкторских проектов;

·  новый взгляд на проблему совместимости систем, которая должна оцениваться не как препятствие, а как преимущество исходной базы, способствующее оптимизации технических решений;

·  комплексное рассмотрение сценариев внедрения новых технологий. Необходимо подробное структурирование проекта, чтобы можно было с достаточной степенью точности учитывать все влияющие на его реализацию факторы, а также для того, чтобы можно было оценивать соотношение добавленной стоимости, приходящейся на каждого участника проекта, и размера выигрыша, который он получит. Для этого необходим выбор метода, с помощью которого можно рассчитать экономический эффект от внедрения новшеств;

·  учет тенденции в вопросе принятия решений о создании нового подвижного состава, предусматривающей ориентирование не на общий объем капиталовложений, а на затраты жизненного цикла LCC;

·  разработка механизма компенсации для случая, когда выгоды от реализации новшества получает не та сторона, которая финансировала проект;

·  использование опыта других железнодорожных, а также промышленных отраслей в области оценки общих условий и влияния отдельных факторов с целью обеспечения успешного внедрения новых технологий;

·  учет законодательства, например, в отношении безопасности (особенно при транспортировке опасных грузов) или уровней шума, излучаемого на железной дороге.

·  При этом следует учитывать, что принимаемые в связи с этим меры не должны быть связаны с большими дополнительными затратами, удорожающими грузовые железнодорожные перевозки.

1.  Морчиладзе, И.Г. Новый вагон со съемным кузовом / И.Г. Морчиладзе//Железные дороги мира.2006.№2. с.32-33

2.  Engelmann J. Новые вагоны грузовой компании RAILION DEUTSCHLAND/J. Engelmann //Железные дороги мира 2006.№1. с.50-55.

3.  Галиев И.И., Нехаев В.А., Николаев В.А. Всесторонне учитывать недостатки предыдущих конструкций/И.И. Галиев, В.А. Нехаев, В.А. Николаев//Железнодорожный транспорт.2006.№5. с.55-58.

4.  Бороненко Ю.П., Орлова А.М. Опыт проектирования трехэлементных тележек/Ю.П. Бороненко, А.М. Орлова//железнодорожный транспорт.2006.№5. С.58-62.

5.  Барбарич С.С., Цюренко В.Н. Грузовые вагоны /С.С. Барбарич, В.Н. Цюренко//железнодорожный транспорт.2006.№2 с.17-21. Третьяков Г.М., Гарюшинский И.В. Модернизация вагонов-хопперов /Г.М. Третьяков, И.В. Горюшинский//Железнодорожный транспорт.2003.№11. с. 53-55.


Не нашли материал для своей работы?
Поможем написать уникальную работу
Без плагиата!
Без нейросетей!