Эксплуатация и ремонт форсунок топливной системы тепловоза

  • Вид работы:
    Курсовая работа (т)
  • Предмет:
    Транспорт, грузоперевозки
  • Язык:
    Русский
    ,
    Формат файла:
    MS Word
    500,56 kb
  • Опубликовано:
    2011-01-14
Вы можете узнать стоимость помощи в написании студенческой работы.
Помощь в написании работы, которую точно примут!

Эксплуатация и ремонт форсунок топливной системы тепловоза

Введение


Локомотивное депо станции Тында основано в 1977 году на основании приказа Министерства Путей Сообщения от 18 августа 1977 года. Основная цель организации депо - обеспечение локомотивами объемов перевозок в пассажирском, грузовом и маневровом движении на участках Беркакит - Тында - Бамовская, Юктали - Тында - Дипкун и на других, принимаемых в постоянную эксплуатацию участков Байкало-Амурской магистрали.

С момента своего рождения депо находилось в цехе для производства ТО-2 маневровым тепловозам (ныне в этом здании находится НОДХ). Цех вмещал 1 секцию. На балансе депо находилось 14 тепловозов серии ТЭМ-2, которые выполняли маневровую и пассажирскую работу. Для работы с грузовыми поездами и пассажирским поездом Чита - Тында использовались тепловозы серии ТЭ-3 и М62 Забайкальской железной дороги. Во второй половине 1979 года депо начало принимать на свой баланс с Забайкальской дороги тепловозы серии ТЭ-3. В конце 1979 года была сдана в постоянную эксплуатацию линия Тында - Беркакит с оборотным депо по станции Беркакит. Резко, возросли грузовые перевозки Нерюнгринского угля. Это потребовало увеличения парка тепловозов, что было невозможно из-за отсутствия базы ремонта тепловозов. Для выхода из этого затруднительного положения было принято решение производить технический осмотр ТО-3 и текущий ремонт ТР-1 на базе локомотивного депо Сковородино.

В 1980 году для выполнения пассажирских перевозок в депо поступили тепловозы серии 2М62. В декабре этого же года были приняты в эксплуатацию новые цеха: цех отстоя, цех ТО-2 и служебно-техническое здание. Ввод этих цехов позволил организовать ТО-3 и ТР-1 тепловозам серии ТЭ-3 и ТЭМ-2 непосредственно в депо Тына. В депо начинают организовываться отделения по ремонту узлов тепловозов. Начато производство ТО-2 тепловозам всех серий.

С июня 1982 года начинается замена парка тепловозов серии ТЭ-3 на новые тепловозы серии ЗТЭ10М и организация их осмотра и ремонта.

Ввод в эксплуатацию новых более мощных тепловозов позволил увеличить средний вес поезда с 2700 т до 3500-4000 т.

В 1982 году вводится в эксплуатацию блок мастерских депо, а в 1983 году цех МПР (малого периодического ремонта).

На этот период времени приходится и вводиться в эксплуатацию первых четырех секционных тепловозов серии 4ТЭ10С и впервые в истории депо начаты работы по замене колесных пар, тяговых электродвигателей и тележек тепловозов.

В 1983 году в цехе МПР была организована позиция по ремонту экипажной части тепловозов.

С января 1982 года начата постоянная эксплуатация участка Тында - Дипкун. К концу 1982 года с наличием в эксплуатации уже 18 тепловозов серии ЗТЭЮМ и 4ТЭ10С удалось увеличить объем перевозок на 30% по сравнению с 1981 годом.

С 1984 года на существующих площадях депо организован текущий ремонт ТР-2 тепловозам серии ТЭ10. Своими силами была изготовлена в депо вся технологическая оснастка и приспособления для производства этого вида ремонта тепловозов.

27 октября 1984 года произошла "стыковка" Байкало-Амурской магистрали. Это событие ускорило сдачу в постоянную эксплуатацию линии Тында - Ларба.

В конце 1985 года принято в эксплуатацию оборотное депо станции Юктали. В этом депо выполнен большой объем субподрядных работ по монтажу технологического оборудования.

В начале 1986 года приняты от строителей цеха ТО-3 и обточки и ремонта колесно-моторных блоков. Цеха как всегда принимались зимой, не все работы были выполнены по проекту, не хватало большого количества технологического оборудования. Качество работы строителей проверялось в ходе эксплуатации зданий. В цехе по ремонту КМБ (колесно-моторный блок) эксплуатируются 2 станка по обточке колесных пар без выкатки из под тепловоза производства польской фирмы "Рафамет". Эти современные станки, основанные на применении в них большого количества электронных устройств, значительно облегчают трудоемкий процесс обточки колесных пар. Введение в строй этих цехов позволил практически снять вопрос о дефиците производственных площадей для ремонта тепловозов. Чем еще знаменателен 1986 год, так это тем, что в этом году были впервые проведены на БАМе сдвоенные и даже строенные поезда весом 10000-12000 т. Это позволило значительно повысить пропускную способность дороги при ее ограниченных возможностях.

1986 год закончился принятием еще одного объекта - крупного склада дизельного топлива. С вводом этого объекта был закрыт вопрос о возможных перебоях с экипировкой тепловозов дизельным топливом.

1987 год ознаменован тем, что в депо освоили самый трудоемкий и сложный вид оздоровительного ремонта тепловозов ТР-3. Это позволило производить ремонт тепловозов непосредственно в депо, и отпала необходимость отправлять тепловозы на ремонты ТР-3 в другие депо сети МПС.

Окончание 1987 года как всегда прошло в работе по принятию нового объекта депо. Этим объектом стал административно-бытовой корпус локомотивного депо. С его вводом полностью решен вопрос по обеспечению работников депо душевыми помещениями и помещением для приема пищи.

В 1988 году принят в эксплуатацию цех ТР-3 с блоком мастерских.

В первом полугодии 2002 года освоен новый вид крупного вида ремонта тепловозов по циклу среднего ремонта (СР).

Таким образом, за 27 лет своего существования депо выросло из одного цеха для осмотра маневровых тепловозов длиной 24 м до эксплуатационно-ремонтного предприятия локомотивного хозяйства с парком локомотивов более 300 секций, цехов ТО-2, ТО-3, ТО-4, ТР-1, ТР-2 ТР-3 СР так же выполняется ремонт колесных пар в объёме заводского ремонта со сменой элементов (бандажей), ремонт электрических машин в объеме ТР-3 (без смены обмоток и пропитки) общей площадью более 25 тыс.м2, блока мастерских, служебно-технического и административно-бытового зданий, пескосушилкой, складов масел и дизельного топлива, 4-х оборотных депо в Беркаките, Дипкуне, Юкталях и Февральске, подменного пункта Верхнезейск.

Локомотивное депо Тында обслуживает участок от станции Хани до станции Новый Ургал и от станции Сковородино Забайкальской железной дороги до станции Нерюнгри общей протяженностью 1766 км.- В таблице 1,1 приведены длины плеч обращения локомотивов.

С 1995 года в депо внедрен профессиональный психофизиологический отбор работников локомотивных бригад. В депо функционирует 2 лаборатории и работает 3 специалиста-психолога, имеющих профессиональное образование. По результатам диагностики составляется заключение об уровне профессиональной пригодности машинистов, помощников машинистов тепловозов, водителей моторельсового транспорта, проведение психологического обследования совместимости членов локомотивных бригад, проведение коррекционных и реабилитационных мероприятий с работниками локомотивных бригад.

В депо ведется большая работа по внедрению информационных технологий в производственно-управленческой деятельности. В эксплуатации находится большое количество программно-технических комплексов и автоматизированных рабочих мест. К наиболее значимым можно отнести: АРМ дежурного по депо, интегрированная обработка маршрута машиниста, автоматизированная система по учету замечаний машинистов, АРМ телеграфиста, АРМы в бухгалтерии депо, АРМ по учету колесных пар локомотивов в эксплуатации, АРМ по учету движения оборудования локомотивов и др. Все они объединены в единую локальную вычислительную сеть депо с выходом на сеть Интранет МПС.

Тепловозом называется локомотив, у которого в качестве первичной энергетической установки применен двигатель внутреннего сгорания — дизель. В отличие от электровоза тепловоз — автономный локомотив, так как энергия для приведения колес в движение вырабатывается непосредственно на локомотиве. У электровоза она поступает от контактной сети.

Производящий механическую энергию дизель назван так в честь его изобретателя немецкого ученого Рудольфа Дизеля. В отличие от обычных карбюраторных двигателей внутреннего сгорания воспламенение топлива в дизеле происходит не от электрической искры, а оно самовоспламеняется в нагретом до высокой температуры воздухе при его сжатии. Сгорание топлива в цилиндрах дизеля обусловлено наличием кислорода, содержащегося в воздухе, поступающем в цилиндры дизеля.

Чтобы дизель мог нормально работать, на тепловозе предусмотрены обслуживающие его системы: топливная, воздухоснабжения, водяная и масляная.

Топливная система тепловоза предназначена для подачи необходимого количества топлива под давлением к топливным насосам дизеля для обеспечения их нормальной работы. Она состоит из топливного бака, трубопровода с фильтрами грубой и тонкой очистки, топливоподкачивающего насоса, насосов высокого давления и топливовпрыскивающих форсунок.

 

Назначение и условия работы форсунки Д50

 

Значимую роль в топливной системе играют форсунки. Они предназначены для впрыскивания топлива в цилиндры в мелкораспыленном виде с обеспечением равномерного его распыливания по всему объему камеры сгорания. На отечественных дизелях применяют форсунки закрытого типа, у которых полость заполнения топливом в период между впрыскиваниями отделена от камеры сгорания иглой. Принципиально форсунки всех дизелей устроены одинаково, а различаются главным образом конструкцией распылителя, размерами проходных сечений в них, числом и размером сопловых отверстий и габаритными размерами.

В процессе эксплуатации форсунка подвергается различным воздействиям. Главными из них являются температурные и высокое давление. Во время сжатия топлива на форсунку действует давление, а при сгорании и высокие температуры.

 

Основные неисправности, причины их возникновения и способы предупреждения


Внешними признаками отсутствия резкой отсечки являются бесшумный и нечёткий впрыск топлива форсункой (при нормальной затяжке пружины на давление открытия иглы форсунки, равное 275 кг/см2) и отсутствие снижения давления на 40—60 кг/см2 после впрыска. Причинами, обусловливающими недостаточно резкую отсечку, могут быть:

1) загрязнённость колодца в корпусе распылителя;

2) отсутствие герметичности или увеличение ширины притирочного пояска иглы более 0,5 мм;

3) зависание иглы или неплотность сопрягаемых поверхностей иглы и отверстия в корпусе распылителя.

Загрязнённость колодца распылителя может быть вызвана попаданием в распылитель газов или вследствие расщепления углеводородов топлива.

Увеличение ширины притирочного пояска иглы и распылителя чаще всего вызывается частой или неправильной притиркой иглы. Игла, как известно, имеет большую твёрдость, а поэтому при притирках быстро изнашивает цементированный слой в распылителе.

Зависание иглы или перекос деталей форсунки обычно ведёт к так называемым затяжным впрыскам. Внешним признаком затяжного впрыска является чрезмерное падение (занижение) давления, получающееся после впрыска в системе стенда. Как уже указывалось, нормальное падение давления после впрыска должно составлять 40—60 кг/см2. При затяжных впрысках падение давления обычно достигает 85 кг/см2 и более.

Внешним признаком подтекания распылителя служит появление спадающих или ниспадающих капель топлива до или после впрыска. Причинами подтекания могут быть:

1) неудовлетворительная притирка иглы к седлу распылителя;

2) увеличение притирочного пояска иглы по ширине более 0,5 мм;

3) образование второго пояска на рабочем конусе иглы, расположенного на 1—1,5 мм ниже притирочного пояска;

4) односторонняя притирка пояска;

5) волнообразность и риски на уплотнительном конусе седла распылителя. Все эти недостатки форсунки отрицательно влияют не только на резкое снижение экономичности двигателя, но и приводят к быстрому изнашиванию его частей, в особенности шатунно-поршневой группы, поршневых колец, шеек коленчатого вала и т. д.

Следовательно, такие форсунки должны быть подвергнуты соответствующему ремонту.

Способы очистки, осмотра и контроля технического состояния


Так как форсунка подвергается различным видам воздействий перед ремонтом необходимо произвести очистку ее от различных видов загрязнений. Мойку деталей форсунки производить в профильтрованном осветительном керосине в моечных машинах и специальных ваннах, оборудованных вентиляционными отсосами. Труднодоступные места промыть с помощью специальных щёток.

Перед разборкой форсунки оценить её работоспособность проведя предварительные испытания:

1. опрессовать на стенде при низком давлении начала подъёма иглы 0,5-1,5Мпа(5-15 кгс/см2). Проверить соответствие количества струи топлива числу распыливающих отверстий.

2. проверить качество распыливания, плотность по запирающему конусу, герметичность соединений полости высокого давления.

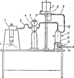
Так, испытание на плотность и проверка затяжки пружины форсунки производятся на ручном стенде (см. рис. 10). Проверку на чёткость работы предпочтительнее производить на стенде с механическим приводом (см. рис. 11). Стенд с механическим приводом состоит из секции топливного насоса 14, имеющей плунжер диаметром 10 мм. Кулачок насоса приводится во вращение электродвигателем 15. Топливо поступает из бачка 6 через фильтр 7 и трубку 8.м Схема ручного стенда для испытания и Схема стенда с механическим приводом регулировки форсунок для испытания и регулировки форсунок.

# #

Рис.10  Рис.11

1— распылитель форсунки; 2 —форсунка; 3 —нагнетательная трубка; 4 — распределитель; 5 —манометр; б —трубка; 7 —бачок с топливом; 8 — фильтр; 9 — трубка, подводящая топливо к секции; 10 — нагнетательная трубка; 11 — регулирующая рейка секции насоса; 12 —секция насоса; 13 — неподвижная ось качания рычага; 14 — рукоятка.

1 — форсунка; 2 — нагнетательная трубка; 3 — манометр; 4 — вентиль; 5 — трубка; 6 — бачок с топливом; 7 —фильтр; 8— трубка, подводящая топливо к секции; 9— спускная трубка; 10 — нагнетательная трубка; 11—аккумулятор; 12 — стрелка, показывающая положение рейки: 13 — рейка секции насоса; 14—насос; 15 — электродвигатель.

Из насоса топливо под давлением нагнетается по трубке 10 в аккумулятор 11, имеющий объём около 2 л. От аккумулятора по нагнетательной трубке 2 топливо поступает к форсунке 1, установленной на стенде. Давление дизельного топлива в аккумуляторе и его нарастание контролируются манометром 3. Количество топлива, подаваемого насосом 14, и скорость нарастания давления в системе регулируются рейкой 13. Поднятие давления в аккумуляторе от нуля до 265 кг/см2 осуществляется насосом 14 при полной подаче со скоростью 10 кг/см2 за 1'0—12 сек. Дальнейшее нарастание давления происходит медленно, и это необходимо для того, чтобы точно определить, при каком давлении осуществляется впрыск, что позволит проверить затяжку пружины форсунки. Впрыск должен происходить при давлении 275 ± 5 кг/см2; при этом, после впрыска давление в аккумуляторе и во всей системе должно снижаться па величину 40—60 кгс/см2, что определяется по манометру 5.

После проверки затяжки пружины рейку 13 насоса 14 устанавливают таким образом, чтобы впрыск осуществлялся 1 раз в 1 сек., а затем ещё несколько уменьшают подачу с таким расчётом, чтобы впрыск осуществлялся 1 ран в 3—5 сек. По этим впрыскам и определяют качество распыла и действие форсунки. Распылённое топливо должно иметь туманообразное состояние и равномерно распределяться по поперечному сечению струи. Факелы топлива не должны иметь вылетающих капель; сплошных струек или сгущений. При медленном нарастании давления, примерно до 265 кг/см2, распылитель не должен давать подтекания топлива, капель или дугообразных струй в виде «усов».

Начало и конец впрыска должны быть чёткими, резкими и сопровождаться своеобразным звонким звуком. Угол распыла (угол между осями противоположно лежащих сопловых отверстий) должен быть в пределах 154—156°. После проверки распылителя на качество распыла следует ещё раз проверить затяжку пружины. При снятии форсунки со стенда необходимо при помощи вентиля 4 понизить давление во всей системе и лишь затем приступать к отсоединению нагнетательной трубки.

Кроме проверки качества распыла на стенде с механическим приводом, форсунку проверяют и на ручном стенде. При этом испытании форсунку укрепляют на столе стенда, соединяют с нагнетательной трубкой и рукояткой 14 (см. рис. 10) нагнетают топливо в форсунку, пока не произойдёт 1—2 резких впрыска, затем той же рукояткой 14 медленно повышают давление в системе. При этом впрыск должен осуществляться в виде прерывистых струй. При таком протекании процесса впрыска форсунка издаёт характерный звук. Такой впрыск носит название «дробящего впрыска».

Для проверки распылителя на герметичность на стенде должна быть установлена форсунка, имеющая вполне исправный механизм.

При испытании рейка 13 секции ручного насоса 12 должна быть установлена на полную подачу топлива, а пружина форсунки 2 отрегулирована на давление 400 атм. Рукояткой 14 создают давление в сети не менее 390 атм. И наблюдают по манометру 5 падение давления. При прохождении стрелкой манометра деления, соответствующего давлению топлива 380 атм., включают секундомер и удерживают его включённым до тех пор, пока давление не снизится до 330 атм. Падение давления происходит вследствие просачивания дизельного топлива по зазору между иглой и корпусом распылителя. У нормально работающего распылителя падение давления от 380 до 330 атм, т. е. на 50атм, должно происходить за 18—25 сек. Указанная плотность (18—25 сек.) относится к новым или капитально отремонтированным распылителям. Что же касается распылителей, проверяемых при периодических осмотрах тепловозов, то их плотность может быть допущена меньшей, но не ниже 8 сек.

При плотности менее 8 сек. распыливание топлива будет неудовлетворительным, что нарушит процесс сгорания, увеличит расход топлива и приведёт к быстрому загоранию поршневых колец.

Испытание распылителя на гидравлическую плотность производится на тщательно профильтрованном дизельном топливе при окружающей температуре помещения 15—25°. При этом полученная плотность сравнивается с плотностью эталонной пары, отобранной при вязкости дизельного топлива 1,43— 1,45 по Энглеру при температуре 20—21°.

Технология ремонта


Корпус


Корпус форсунки подлежит замене при наличии:

·   трещин любого размера и расположения;

·   сорванных более 2-х ниток резьбы;

·   забоин и вмятин на резьбе, не поддающихся исправлению;

·   глубоких забоин, задиров, сколов, цементированного слоя на поверхности «А», не устраняемых шлифованием в пределах цементированного слоя;

·   износа превышающего допустимые размеры. Забоины, вмятины, острые кромки на корпусе форсунки устранить зачисткой (напильником, наждачным камнем или шлифованием). Отпечатки на торцевой поверхности «А» от распылителя и иглы допускается не выводить. Проверить прямолинейность отверстия «Б» калибром для Д50 Д=0,8±11 Калибр должен входить свободно.

Распылитель


Промыть пару (игла-корпус распылителя) в профильтрованном дизельном топливе. Произвести ревизию состояния распылителя наружным осмотром, распылитель заменить при наличии:

·   трещин, сколов кромок торцов корпуса;

Восстановление подвижности иглы распылителя


Восстановить подвижность иглы путём промывки и очистки прецизионных поверхностей в ванночках с керосином, применяя щётки, ёршики, плотную бумагу. Производить следующее взаимное расхоживание пары на доводочном станке без применения пасты.

При невозможности устранения дефекта вышеизложенным способом, производить взаимную притирку пары в следующей последовательности:

·   закрепить иглу в цанговом патроне стакана;

·   надеть корпус распылителя на иглу и вручную обеспечить их взаимное перемещение:

·   осуществить при частоте вращения шпинделя станка 240-300 об/мин возвратно-поступательное перемещение корпуса с частотой 30-40 ходов в 1 минуту на 40-60% длины прецизионной поверхности.

·   после 15-30 с притирки промыть пару в керосине, смочить детали профильтрованным дизельным топливом и проверить подвижность иглы. Подвижность иглы в корпусе должна быть свободной, плавной, без прихватов. Совместно доведённые цилиндрические поверхности должны иметь ровный отблеск по всей площади соприкосновения.

Выпрессовка иглы из корпуса распылителя

·   очистить и промыть прецизионные поверхности - при тугом перемещении на всю длину произвести взаимное расхоживание пары на станке

·   вставить иглу в корпус и оценить степень её перемещения;

·   при наличии на прецизионной поверхности иглы рисок и следов коррозии применить при расхаживании тонкую пасту;

·   если игла не входит в отверстие корпуса или входит частично, применить доводку с использованием более грубых паст (М5 или М7). Приспособление для выпрессовки заклиненных игл собираются по технологии сборки форсунок. Работа приспособлений осуществляется следующим образом. Приспособление с собранным ремонтируемым распылителем установите на стенд типа А 106 по технологии установки соответствующей форсунки. Поднимайте давление топлива (не выше 40 МПа (400 кгс/см2), пока не будет услышан характерный щелчок, означающий выход иглы из корпуса распылителя. Если игла не выпрессовалась из корпуса при достижении давления внутри приспособления до 40 МПа (400 кгс/см2), то такой распылитель не подлежит восстановлению.

 

Восстановление работоспособности запирающего конусного соединения


Операцию по восстановлению герметичности запирающего конусного соединения выполнить в следующей последовательности:

·   зажать хвостовик иглы в цанговом патроне притирочного станка. Радиальное биение конуса иглы должно быть не более 0,015 мм;

·   нанести на цилиндр иглы тонкий слой моторного масла вязкостью 12-20 сСт;

·   развести доводочную пасту М5 или М7 в веретённом масле в соотношении 1:3;

·   нанести тонкую полоску пасты ан конус иглы ближе к его вершине;

·   включить станок и установить частоту вращения шпинделя станка 150-300 об/мин;

·   надвинуть на иглу корпус распылителя до соприкосновения запирающих конусов;

·   прижать корпус распылителя к игле усилием 15-20 Н (1,5-2 кг) в течении 2-3 с;

·   выполнить в течении 12-15 с соударения с силой 15-20 Н (1,5-2 кг) и частотой один удар в секунду (1 Гц)

·   сдвинуть конус с иглы, протереть конус иглы салфеткой и визуально оценить ширину блестящего пояска у основания конуса;

·   если ширина контактного пояска порядка или менее 0,3 мм то иглу снять со станка, промыть в керосине и протереть салфеткой;

·   закрепить в патрон латунный стержень с навёрнутой на резьбовой конец ватой и протереть прецизионные поверхности корпуса распылителя;

·   промыть корпус в керосине;

·   собрать распылитель в контрольной форсунке и проверить его работоспособность. Распылители с шириной контактного пояска на конусе иглы примерно более 0,3 мм требуют продолжение ремонта без проверки работоспособности.

Ремонт запирающего конуса иглы с восстановлением оптимальной ширины контактного пояска


·   зажать иглу в патроне (станок типа ПР279), оставив свободным конец иглы со стороны запирающего конуса такой длины, которая позволила бы устранить на нём приспособление для обнажения (снятого слоя) нерабочей части конуса иглы с гарантированным зазором между патроном и корпусом приспособления 2. Радиальное биение конуса иглы должно быть не более 0,01 мм;

·   установить на иглу приспособление таким образом, чтобы поясок на конусе иглы шириной от основания конуса примерно 0,2-0,3 мм был перекрыт гайкой 3 приспособления. После этого законтрогаить гайку в этом положении на иглу;

·   сдвиньте приспособление с иглы, включите привод станка и снова надвинуть приспособление на иглу;

·   произвести шлифовку открытой части конуса иглы, прижимая

·   зажать иглу в патроне (станок типа ПР279), оставив свободным конец иглы со стороны запирающего конуса такой длины, которая позволила бы устранить на нём приспособление для обнажения (снятого слоя) нерабочей части конуса иглы с гарантированным зазором между патроном и корпусом приспособления 2. Радиальное биение конуса иглы должно быть не более 0,01 мм;

·   установить на иглу приспособление таким образом, чтобы поясок на конусе иглы шириной от основания конуса примерно 0,2-0,3 мм был перекрыт гайкой 3 приспособления. После этого законтрогаить гайку в этом положении на иглу;

·   сдвиньте приспособление с иглы, включите привод станка и снова надвинуть приспособление на иглу;

·   произвести шлифовку открытой части конуса иглы, прижимая абразивный брусок к образующей конуса, одновременно перемещая его вдоль и поперёк образующей. Режим операции занижения нерабочей части конуса иглы:

·   частота вращения 950-1500 об/мин

·   продолжительность обработки 15-20 сек.

·   усилие нажатия абразивного бруска на обрабатываемую поверхность конуса 5-15 Н или 0,5-К5 кгс.

Восстановление запирающего конуса после занижения нерабочей части конуса иглы


·   нанести на цилиндрическую часть иглы, зажатой в цанге станка, 2,-3 капли моторного масла;

·   развести тонкую доводочную пасту в веретённом масле в соотношении 1:3 и нанести тонким слоем на контактный поясок;

·   установить на иглу приспособление для доводки конуса иглы распылителя и подтянуть гайку 2, установив минимальный диаметральный зазор между корпусом цанги и иглой;

·   сдвинуть с иглы приспособление, включить станок, установить частоту вращения шпинделя 300-400 об/мин и надвинуть на иглу приспособление;

·   прижать приспособление в осевом направлении к запирающему конусу иглы на 15-20 с. При этом равномерно постукивать (1-1,5 удара в секунду) приспособлением по восстанавливаемой поверхности. Усилие прижатия 1,5-2 кгс;

·   снять приспособление, остановить станок, вынуть иглу и промыть её в керосине. Игла готова к сборке с корпусом распылителя;

·   установить отремонтированные распылители в контрольные форсунки и проверить их работоспособность. Распылители, оставшиеся неработоспособными после восстановления запирающего конуса, отремонтируйте путем чередования операций по правке контактного пояска на конусе иглы с взаимной притиркой запирающих конусов иглы и корпуса.

Проверка величины подъема иглы у отремонтированных форсунок


Величину подъема иглы можно измерить с помощью индикаторной стойки или с помощью специального приспособления. Измерение с помощью индикаторной стойки:

·   установите распылитель в стакан;

·   ножку индикатора установите с небольшим натягом на торец корпуса и переведите шкалу индикатора на нулевое значение,

·   перенесите ножку индикатора на заплечико иглы или торец ограничителя подъема иглы. При этом стрелка индикатора отклонится на величину "В" - подъема иглы распылителя. Измерение подъема иглы приспособлением:

·   выставьте шкалу индикатора на ноль, установив приспособление торцом на плоскую поверхность» Торец выдвижного стержня будет расположен в одной плоскости с торцом корпуса приспособления, В качестве плоской поверхности можно использовать нижнюю торцевую поверхность распылителя;

·   установите приспособление на верхний торец распылителя. Стрелка индикатора покажет величину подъема распылителя.

Сопловой наконечник


Промыть сопловой наконечник. Очистите распиливающие отверстия с помощью специальных игл, диаметр которых должен быть на 0,05-0,1 мм меньше диаметра отверстия. Продольный канал очистить шабером из мягкой латуни. Сопловой наконечник подлежит замене при наличии:

·   трещин;

·   разработки, распыливающих отверстий;

·   дефектов на поверхности "А", не поддающихся исправлению. Дайте оценку состояния наконечника по результатам испытаний. Нарушение плоскостности торцовой поверхности.

·   быстрое падение давления в. форсунке при опрессовке, Разработка (засорение) распиливающих отверстий

·   неудовлетворительное качество распиливания (односторонний распыл, вместо туманообразного распыла видны отдельные струи).

·   неудовлетворительные испытания по пропускной способности форсунок.

Колпак, гайка распылителя


Деталь подлежит замене при наличии:

·   трещина любого размера и расположения;

·   срыва или смятия более 2-х ниток резьбы;

·   смятия граней шестигранника;

·   износа, превышающего допускаемые размеры, Устраните зачисткой забоины, вмятины и натиры на наружной поверхности. При необходимости проконтролируйте поверхность конуса (поверхность "Б") калибром по краске. Прилегание должно быть по всей окружности уплотнительного пояска и по ширине не менее 50% поверхности.

Штанга


Детали подлежат замене при наличии:

·   трещин любого размера и расположения;

·   излома;

·   непрямолинейности (изгиб) более допускаемой величины;

·   износа, превышающего допускаемые размеры. Обеспечьте зазор между корпусом форсунки и штангой не более 0,25 мм путем подбора штанги.

Тарелка пружины


Тарелка подлежит замене при наличии:

·   трещин;

·   износа рабочих поверхностей сверх допускаемых размеров.

Фильтр щелевой


Детали щелевого фильтра подлежат замене при наличии:

·   трещин, сколов, изломов;

·   износа, забоин резьбы или сорванных более 2-х ниток;

·   смятия граней;

·   износов, превышающих допускаете размеры,


Предельно допустимые размеры деталей при эксплуатации и различных видах ремонта


При оценке качества работы форсунок обычно исходят из ряда общих показателей работы двигателя. Например, если двигатель не дымит и даёт нормальную мощность, то считают, что топливная аппаратура находится в хорошем состоянии и форсунка подаёт топливо в цилиндре хорошим распылом. Но если двигатель после непродолжительного срока развивает заниженную мощность, имеет повышенную дымность, а иногда и не даёт необходимых оборотов, заданных положением рукоятки контроллера, то это будет указывать на плохую работу топливной аппаратуры. В таком случае необходимо снять форсунки с двигателя и подвергнуть проверке качество

распыла и давление впрыска. При этом следует помнить, что хороший или плохой распыл топлива определяется не только плотностью сопрягаемых поверхностей или герметичностью притирочных поверхностей конусов иглы

и седла корпуса распылителя, но и определённым сочетанием отдельных элементов форсунки и их взаимных сопряжении, которые нередко играют решающую роль и оказываются главной причиной плохой работы форсунки.

Наименование контролируемых параметров

Д50.17 1СБ

Чертёжные

ТР-3

Брак

Величина подъёма иглы

0,4-0,5

0,4-0,7

0,8

Выход носика распылителя из корпуса форсунки (крышки цилиндра)

4,5-5,83

4,5-5,83

5,9

Ширина притирочного пояска на рабочем конце иглы распылителя

0,4

0,4

0,5

Зазор между штангой и корпусом форсунки

0,04-0,12

0,3

Более 0,3

Зазор между отверстием щелевого фильтра и толкателем




Зазор между щелевым фильтром и корпусом

0,1-0,144

0,1-0,144

0,15


Условия проверки

Д50,ПД1М

Затяжка пружины форсунки при проверке на герметичность МПа (гкс/см2)

40(400)

Граница диапазона давлений для оценки герметичности МПа (гкс/см2)

38-33 (380-330)

Время падения давления в заданном диапазоне, с.

Для новых


Vc=20 cmj

Не менее 10

При выпуске из ремонта ТР-2, ТР-3


Vc-20 см3

Не менее 6

Браковочное


Vc=20 cmj

Менее 4

Максимальное остаточное давление после впрыскивания МПа (кгс/см2)

-


Приспособления, техническая оснастка, средства механизации, оборудование, применяемые при ремонте


Стенд А106 для проверки работы форсунок ДВС: 1 – стол; 2 – сборник; 3 – проверяемая форсунка; 4 – зажимное устройство; 5, 9 – краны; 6 – манометр; 7 – пневмоцилиндр; 8 – топливный насос; 10 – ручка насоса; 11 – выключатель; 12 – топливный бак; 13 – фильтр; 14 – промывочный аккумулятор; 15 – отстойник; 16 – вентиляционный патрубок.

Для промывки соплового наконечника используют керосин или профильтрованное дизельное топливо, иглы.

Для ослабления заклинивших деталей применяют керосин или бензин в контейнерах. При снятии форсунки пользуются гаечными ключами угловыми и торцевыми.

Транспортировку производят на верстаках и на специальных тележках. Испытание производят на стендах (рис. 10-11.)

Организация рабочего места. Техника безопасности при ремонте, сборке и испытании.

Перед началом работы слесарь должен надеть полагающуюся ему исправную спецодежду, спецобувь и привести их в порядок:

·   застегнуть на пуговицы обшлага рукавов;

·   заправить свободные концы одежды так, чтобы она не свисала.

·   Не допускается носить спецодежду расстегнутой и с подвернутыми рукавами.

Спецодежду и спецобувь слесарь не должен снимать в течение всего рабочего времени.

Совместно с руководителем смены (мастером, бригадиром) слесарь внешним осмотром должен проверить состояние инструмента, приспособлений, строп, траверс для перемещения оборудования, у грузоподъемных механизмов и переносных лестниц - наличие трафаретов со сроками следующих испытаний, переносных домкратов - наличие клейма или бирки с обозначением номера, даты испытания и грузоподъемности.

При получении средств индивидуальной защиты слесарь должен проверить их целость, исправность, на диэлектрических перчатках и предохранительном поясе - дату их испытания, у респиратора - целость и чистоту фильтра, ковра резинового диэлектрического - отсутствие проколов, надрывов, трещин.

Слесарь должен осмотреть рабочее место, привести его в порядок, убрать посторонние детали, не используемые в работе приспособления и инструмент, проверить наличие на стеллажах и ремонтных установках запасных частей и материалов.

Неисправный инструмент и приспособления должны быть заменены на исправные.

Инструмент на рабочем месте следует располагать так, чтобы исключалась возможность его скатывания или падения.

Подготовленный к работе инструмент должен удовлетворять следующим требованиям.

Бойки молотков, кувалд и другого инструмента ударного действия должны иметь гладкую, слегка выпуклую поверхность без косины, сколов, выбоин, трещин и заусенцев.

Рукоятки молотков, кувалд и другого инструмента ударного действия должны быть изготовлены из сухой древесины твердых лиственных пород (березы, дуба, бука, клена, ясеня, рябины, кизила и граба) без сучков и косослоя или из синтетических материалов, обеспечивающих эксплуатационную прочность и надежность в работе. Рукоятки молотков и кувалд должны иметь по всей длине в сечении овальную форму, быть гладкими и не иметь трещин.

К свободному концу рукоятки должны несколько утолщаться (кроме кувалд) во избежание выскальзывания рукоятки из рук при взмахах и ударах инструментом. У кувалд рукоятка к свободному концу должна несколько утончаться. Кувалда должна быть насажена на рукоятку в сторону утолщенного конца без клиньев.

Клинья для укрепления инструмента на рукоятке должны выполняться из мягкой стали и иметь насечки (ерши).

Напильники и шаберы должны иметь исправные, надежно насаженные рукоятки с металлическими бандажными кольцами.

Зубила, крейцмейсели, бородки и керны должны иметь гладкую затылочную часть без трещин, заусенцев, наклепа и скосов. Длина их должна быть не менее 150 мм. На рабочем конце инструментов не должно быть повреждений.

Средняя часть зубил не должна иметь острых ребер и заусенцев на боковых гранях.

Инструмент ручной изолирующий (отвертки, пассатижи, плоскогубцы, круглогубцы, кусачки и т.п.) должны иметь исправные изолирующие рукоятки. Если изоляционное покрытие рукояток инструмента состоит из двух слоев изоляции, то при появлении другого цвета изоляции из-под верхнего слоя инструмент должен быть изъят из эксплуатации. Если покрытие состоит из грех слоев изоляции, то при повреждении или истирании верхнего слоя инструмент может быть оставлен в эксплуатации. При появлении нижнего слоя изоляции инструмент подлежит изъятию из эксплуатации.

Воздушные резиновые шланги пневматического инструмента не должны иметь повреждений, должны быть надежно закреплены на штуцерах для присоединения к пневматическому инструменту и воздушной магистрали. Не допускается применение проволоки вместо стяжных хомутиков для закрепления шлангов на штуцерах. Штуцеры должны иметь исправные грани и резьбы, обеспечивающие прочное и плотное присоединение шланга к пневматическому инструменту и воздушной магистрали. Рабочая часть вставного сменного инструмента (сверл, отверток, ключей, зенкеров и т.п.) не должен иметь трещин, выбоин, заусенцев и прочих дефектов, а хвостовики должны быть правильно центрированы и плотно входить в буксу пневматического инструмента.

Защитный кожух абразивного круга шлифовальной машинки должен быть надежно закреплен.

Электрифицированный инструмент не должен иметь повреждений кабеля (шнура), его защитной трубки и штепсельной вилки, изоляционных деталей корпуса, рукоятки, крышек щеткодержателей и защитных кожухов.

Перед работой необходимо проверить легкость и быстроту открытия и закрытия клапана включения пневматического инструмента, отсутствие пропуска воздуха в закрытом положении, у электроинструмента и ручных электрических машин - четкость выключения и их работу на холостом ходу. У электроинструмента и ручных электрических машин класса I дополнительно необходимо проверить исправность цепи заземления между его корпусом и заземляющим контактом штепсельной вилки.

Перед применением средств индивидуальной защиты слесарь должен внешним осмотром убедиться в их целости. Очки защитные, каска защитная, рукавицы, респираторы не должны иметь механических повреждений, перчатки диэлектрические - загрязнения, увлажнения и механических повреждений (в том числе проколов, выявляемых путем скручивания перчаток в сторону пальцев), галоши диэлектрические ~ отслоения подкладки, посторонних жестких включений и т.п., ковры диэлектрические резиновые - проколов, надрывов, трещин. Кроме этого, на перчатках диэлектрических должна быть проверена дата их испытаний.

Перед работой в помещении слесарь должен проверить работу вытяжной вентиляции и местного освещения.

При осмотре грузоподъемных механизмов необходимо проверить:

·   отсутствие внешних повреждений, трещин и деформаций деталей и узлов;

·   наличие и исправность защитного заземления (тросика) к корпусу кнопочного управления;

·   состояние стального каната и правильность его намотки на барабане;

·   состояние крюка, его крепление в обойме и наличие замыкающего устройства на нем (износ зева крюка грузозахватного приспособления не должен быть более 10% первоначальной высоты вертикального сечения крюка), отсутствие трещин, наличие шплинтовки гайки и легкость проворачивания крюка в крюковой подвеске.

После визуальной проверки технического состояния грузоподъемных механизмов слесарь, выполняющий обязанности стропальщика, должен проверить их работу на холостом ходу, а также действие тормозов и ограничителя подъема груза. При этом голосом или звуковым сигналом должен предупредить находящихся поблизости работников о предстоящем включении грузоподъемного механизма.

 

Требования охраны труда при ремонте дизеля и вспомогательного оборудования


При выполнении ремонтных работ пользоваться аккумуляторной батареей для проворота коленчатого вала дизеля запрещается.

Во избежание случайного проворота коленчатого вала при ремонте дизеля рубильник аккумуляторной батареи должен быть отключен и на него должна быть навешена табличка "Не включать! Работают люди".

Установка и снятие топливных форсунок должна производиться только на неработающем дизеле. Для транспортировки форсунок необходимо использовать специальные тележки или приспособления. При снятии форсунок необходимо применять специальные съемники.

Промывка осветительным керосином, бензином, обдувка сжатым воздухом и испытания топливной аппаратуры на стенде должны производиться с включенной местной вытяжной вентиляцией.

Запрещается непосредственный контакт с рабочей поверхностью и рабочей жидкостью ультразвуковой моечной машины (далее - машины) во время ее работы. Загрузку подлежащих очистке деталей и их выгрузку следует производить при выключенной машине. При этом для защиты рук от неблагоприятного воздействия контактного ультразвука необходимо пользоваться перчатками (наружные резиновые и внутренние хлопчатобумажные).

 

Заключение


Топливная система играет важную роль в тепловозной тяге. От её эффективности зависит надежная работа дизеля и его мощность. Фильтрующие элементы очищают топливо от посторонних частиц. Затем топливо подводится у насосу высокого давления и к форсунке. Форсунка обеспечивает непосредственную подачу топлива в цилиндр. От ее исправности зависит четкая работа дизеля. Плохой впрыск негативно влияет на мощность дизеля и расход топлива, что сказывается на его экономии. В современном мире существует оборудование, позволяющее осуществить ремонт форсунок с минимально допустимыми отклонениями. Благодаря этому обеспечивается своевременная замена и ремонт форсунок.

Литература


1. Володин А.И. Локомотивные двигатели внутреннего сгорания - 2-е изд. перераб. — М.: Транспорт, 1990.

2. Кузьмич В.Д. Тепловозы. Основы теории и конструкции. — М.: Транспорт, 1991.

3. Собенин Л.А., Баколдип В.И., Зипчепко О.В., Воробьев А.А. Устройство и ремонт тепловозов. — М.: Академия, 2004. — 416 с.

4. Тепловоз 2ТЭ10М: Руководство по эксплуатации и обслуживанию. — М.: Транспорт, 1987.

5. Тепловозы 2ТЭ1 ОМ, ЗТЭ 1 ОМ: Устройство и работа/СП. Филонов, А.Е. Зиборов, В.В. Ренкунаси др. — М.: Транспорт, 1986.

6. Тепловоз 2ТЭ116. СП Филонов, А.И. Гибалов, Е.А. Никитин и др. 3-е изд., перераб. и доп. — М.: Транспорт, 1996.

7. Тепловозы. Назначение и устройство: Учебник для образовательных учреждений ж.-д. транспорта, осуществляющих профессиональную подготовку / Под ред. О.Г. Куприенко. — М.: Маршрут, 2006. 280 с.

8. ФилатовП., Гибалов А.И. и др. Тепловоз 2ТЭ116. — М: Транс порт, 1985.

9. Дробинский В.А., Егунов П.М. Как Устроен и работает тепловоз – 3-е изд., перераб. И доп. – М.: Транспорт, 1980. 367 с., ил., табл.

ТЕХНОЛОГИЧЕСКАЯ КАРТА

ремонта форсунки дизеля Д50 в объёме ТР-3 (согласно ТИ 710)

 

№ п/п

Наименование операции

Технические требования

Техническая оснастка, измерительный инструмент

Примечание

 

 

1

Снятие

Отсоединить от форсунки трубку высокого давления и сливную трубку. На штуцеры форсунки поставить защитные колпачки. Протереть насухо цилиндровую крышку Отвернуть гайки шпилек и снять прижимной фланец форсунки. Снять форсунки и закрыть отверстия в крышке цилиндра. При необходимости для демонтажа форсунки воспользоваться рычагом (ломиком), запрещается расшатывать форсунки ударами молотка. Вынуть уплотнительное кольцо 1 из крышки цилиндра, отжечь, выпрямить и прикрепить к форсунке проволочкой.

Комплект инструмента

Перед снятием форсунки открыть люки крышки кузова и снять крышку с корпуса клапанной коробки

V,

 

 

2

Перемещение и хранение

Хранение и транспортировку форсунок для предохранения от загрязнения и повреждений производить в надетых предохранительных колпачках в специальных закрытых ящиках или контейнерах.

Контейнеры


 

 

3

Очистка

Мойку деталей форсунки производить в профильтрованном осветительном керосине в моечных машинах и специальных ваннах, оборудованных вентиляционными отсосами. Труднодоступные места промыть с помощью специальных щёток.

Ванна с керосином, щётки


 

 

4

Проверка

Перед разборкой форсунки оценить её работоспособность проведя предварительные испытания: 1. опрессовать на стенде при низком давлении начала подъёма иглы 0,5-1,5Мпа(5-15 кгс/см"). Проверить соответствие количества струи топлива числу распыливающих отверстий 2. проверить качество распыливания, плотность по

Стенд типа А106


 

 

5


запирающему конусу, герметичность соединений полости высокого давления



 

 



Разборка

Снять защитные колпачки и установить форсунку в приспособление типа ПР256 распылителем вниз. Ослабить контргайку 9 и вывернуть регулировочный болт 10 с пробкой корпуса форсунки 8. В случае необходимости ремонта или замены вывернуть штуцер 11. Снять форсунку и, опрокинуть её аккуратно извлечь из корпуса верхнюю тарелку пружины 7, пружину 6 и штангу форсунки 4 вместе с нижней тарелкой. Установить форсунку в приспособление распылителем вверх и отвернуть гайку распылителя 2 и снять распылитель 3 в сборе с иглой.

Верстак (типа А146.01)


 

 

6

Дефектировка

Произвести дефектировку согласно таблицы 1



 

 

7

Осмотр и ремонт деталей

 

 

7.1

Корпус

Корпус форсунки подлежит замене при наличии: - трещин любого размера и расположения; - сорванных более 2-х ниток резьбы; - забоин и вмятин на резьбе, не поддающихся исправлению; - глубоких забоин, задиров, сколов, цементированного слоя на поверхности «А», не устраняемых шлифованием в пределах цементированного слоя; - износа превышающего допустимые размеры. Забоины, вмятины, острые кромки на корпусе форсунки устранить зачисткой (напильником, наждачным камнем или шлифованием). Отпечатки на торцевой поверхности «А» от распылителя и иглы допускается не выводить. Проверить прямолинейность отверстия «Б» калибром

для Д50ДД1М 0 8 +(Ш Калибр должен входить свободно.

Калибр, визуальный осмотр


 

 

7.2

Распылитель


При перемещении иглы рукой в корпусе распылителя её ход долен быть свободным, плавным, без прихватов.

 

 



-  трещин и изломов иглы;

-  износов, превышающих допускаемые размеры;

-  заклинивания иглы в корпусе распылителя и независимости её выпрессовки

Дать оценку состоянию пары по результатам испытаний. Повреждение поверхности по запирающему конусу (поверхность В)

-  неудовлетворительные результаты испытаний форсунки на плотность (подтекание топлива);

-  значительная величина остаточного давления в форсунке после впрыска.

Износ по цилиндрической поверхность (поверхность Д).

-          быстрое падение давления в форсунке при опрессовке Нарушение плоскостности торцевых поверхностей корпуса

распылителя (поверхности Аи Б)

-           быстрое падение давления в форсунке при опрессовке Неудовлетворительная подвижность иглы в корпусе

-          неудовлетворительная работа форсунки при проверке её на стенде типа А106 при частоте впрыска 30-40 в минуту

Нарушение геометрических размеров иглы и корпуса распылителя:

-    неудовлетворительное значение при проверке величины подъёма иглы в корпусе распылителя.



 

 

7.3

Восстановление

подвижности иглы распылителя.

Восстановить подвижность иглы путём промывки и очистки прецизионных поверхностей в ванночках с керосином, применяя щётки, ёршики, плотную бумагу. Производить следующее взаимное расхоживание пары на доводочном станке без применения пасты.

При невозможности устранения дефекта вышеизложенным способом, производить взаимную притирку пары в следующей последовательности:

-  закрепить иглу в цанговом патроне стакана;

-  нанести на цилиндрическую поверхность небольшое количество тонкой притирочной пасты разведённой в веретённом масле.

-  надеть корпус распылителя на иглу и вручную обеспечить их взаимное перемещение:

осуществить при частоте вращения шпинделя станка 240-300 об/мин возвратно -поступательное перемещение корпуса с частотой 30-40 ходов в 1 минуту на 40-60% длины прецизионной поверхности

Станок (тип ПР279)

Притирочная паста

типа Ml, М2, МЗ, или

М5, осветительный

керосин


 

 



- после 15-30 с притирки промыть пару в керосине, смочить детали профильтрованным дизельным топливом и проверить подвижность иглы. Подвижность иглы в корпусе должна быть свободной, плавной, без прихватов. Совместно доведённые цилиндрические поверхности должны иметь ровный отблеск по всей площади соприкосновения.



 

 

7.4

Вы прессовка иглы из корпуса распылителя

- очистить и промыть прецизионные поверхности - при тугом перемещении на всю длину произвести взаимное расхоживание пары на станке - вставить иглу в корпус и оценить степень её перемещения; -при наличии на прецизионной поверхности иглы рисок и следов коррозии применить при расхаживании тонкую пасту; - если игла не входит в отверстие корпуса или входит частично, применить доводку с использованием более грубых паст (М5 или М7). Приспособление для выпрессовки заклиненных игл собираются по технологии сборки форсунок. Работа приспособлений осуществляется следующим образом. Приспособление с собранным ремонтируемым распылителем установите на стенд типа А 106 по технологии установки соответствующей форсунки. Поднимайте давление топлива (не выше 40 МПа (400 кгс/см2), пока не будет услышан характерный щелчок, означа­ющий выход иглы из корпуса распылителя. Если игла не выпрессовалась из корпуса при достижении давления внутри приспособления до 40 МПа (400 кгс/см2), то такой распылитель не подлежит восстановлению

Станок ПР 279; паста притирочная, стенд типа А106, приспособления

Распылители с восстановленной подвижностью иглы собрать в контрольной форсунке и проверить на стенде типа А106 на гидравлическую плотность по направляющему цилиндру и работоспособности. Приспособление состоит из 4-х технологических деталей (поз. 1,2, 7 и 8). Приспособление для выпрессовки заклиненных игл собираются по технологии сборки форсунок. Работа приспособлений осуществляется следующим образом. Приспособление с собранным ремонтируемым распылителем установите на стенд типа А 106 по технологии установки соответствующей форсунки. Поднимайте давление топлива (не выше 40 МПа (400 кгс/см2), пока не будет услышан характерный щелчок, означающий выход иглы из корпуса распылителя. Если игла не выпрессовалась из корпуса при достижении давления внутри приспособления до 40 МПа (400 кгс/см2), то такой распылитель не подлежит восстановлению

 

 

7.5

Восстановле­ние работоспособности запирающего конусного

Операцию по восстановлению герметичности запирающего конусного соединения выполнить в следующей последовательности: - зажать хвостовик иглы в цанговом патроне притирочного станка. Радиальное биение конуса иглы должно быть не более 0,015 мм;

Станок типа ПР 279, осветительный керосин, паста притирочная


 

 


соединения

- нанести на цилиндр иглы тонкий слой моторного масла вязкостью 12-20 сСт; - развести доводочную пасту М5 или М7 в веретённом масле в соотношении 1:3; - нанести тонкую полоску пасты ан конус иглы ближе к его вершине; - включить станок и установить частоту вращения шпинделя станка 150-300 об/мин; - надвинуть на иглу корпус распылителя до соприкосновения запирающих конусов; - прижать корпус распылителя к игле усилием 15-20 Н (1,5-2 кг) в течении 2-3 с; - выполнить в течении 12-15 с соударения с силой 15-20 Н (1,5-2 кг) и частотой один удар в секунду (1 Гц) - сдвинуть конус с иглы, протереть конус иглы салфеткой и визуально оценить ширину блестящего пояска у основания конуса; - если ширина контактного пояска порядка или менее 0,3 мм то иглу снять со станка, промыть в керосине и протереть салфеткой; - закрепить в патрон латунный стержень с навёрнутой на резьбовой конец ватой и протереть прецизионные поверхности корпуса распылителя; - промыть корпус в керосине; - собрать распылитель в контрольной форсунке и проверить его работоспособность. Распылители с шириной контактного пояска на конусе иглы примерно более 0,3 мм требуют продолжение ремонта без проверки работоспособности.



 

 

7.6

Ремонт запирающего конуса иглы с восстановле­нием оптимальной ширины контактного пояска

- зажать иглу в патроне (станок типа ПР279), оставив свободным конец иглы со стороны запирающего конуса такой длины, которая позволила бы устранить на нём приспособление (рис.11) для обнажения (снятого слоя) нерабочей части конуса иглы с гарантированным зазором между патроном и корпусом приспособления 2. Радиальное биение конуса иглы должно быть не более 0,01 мм; - установить на иглу приспособление таким образом, чтобы поясок на конусе иглы шириной от основания конуса примерно 0,2-0,3 мм был перекрыт гайкой 3 приспособления З. После этого законтрогаить гайку в этом положении на иглу; -сдвиньте приспособление с иглы, включите привод станка и снова надвинуть приспособление на иглу; - произвести шлифовку открытой части конуса иглы, прижимая

станок типа ПР279

Примечание: При выполнении операции производить 4-5 равномерных возвратно-поступательных движений бруска с задержками не менее Зев положении его контакта с торцом регулировочной гайки 3 приспособления; - снять приспособление, остановить привод, вынуть иглу и промыть его осветительным керосином.

 

 



абразивный брусок к образующей конуса, одновременно перемещая его вдоль и поперёк образующей. Режим операции занижения нерабочей части конуса иглы: - частота вращения 950-1500 об/мин - продолжительность обработки 15-20 сек. - усилие нажатия абразивного бруска на обрабатываемую поверхность конуса 5-15 Н или 0,5-К5 кгс.


i

 

 

7.7

Восстановление запирающего конуса после занижения нерабочей части конуса иглы

- нанести на цилиндрическую часть иглы, зажатой в цанге станка, 2,-3 капли моторного масла; - развести тонкую доводочную пасту в веретённом масле в соотношении 1:3 и нанести тонким слоем на контактный поясок; - установить на иглу приспособление для доводки конуса иглы распылителя (рис. 12) и подтянуть гайку 2, установив минимальный диаметральный зазор между корпусом цанги и иглой; - сдвинуть с иглы приспособление, включить станок, установить частоту вращения шпинделя 300-400 об/мин и надвинуть на иглу приспособление; - прижать приспособление в осевом направлении к запирающему конусу иглы на 15-20 с. При этом равномерно постукивать (1-1,5 удара в секунду) приспособлением по восстанавливаемой поверхности. Усилие прижатия 1,5-2 кгс; - снять приспособление, остановить станок, вынуть иглу и промыть её в керосине. Игла готова к сборке с корпусом распылителя; - установить отремонтированные распылители в контрольные форсунки и проверить их работоспособность. Распылители, оставшиеся неработоспособными после восстановления запирающего конуса, отремонтируйте путем чередования операций по правке контактного пояска на конусе иглы с взаимной притиркой запирающих конусов иглы и корпуса.

Моторное масло

Вязкость моторного малса12-20сСТ

 

 

7.8

Проверьте величину подъема иглы

у отремонтиров анных форсунок

Величину подъема иглы можно измерить с помощью индикаторной стойки (рис. 13) или с помощью специального приспособления (рис. 14). Измерение с помощью индикаторной стойки (рис. 13): - установите распылитель в стакан; - ножку индикатора установите с небольшим натягом на торец корпуса и переведите шкалу индикатора на нулевое значение, - перенесите ножку индикатора на заплечико иглы или торец

Индикаторная стойка, индикатор часового типа

Комплект рисунков находится в ТИ У корпусов распылителей с завышенным подъемом иглы произведите шлифование и доводку уплотнительного торца. У распылителей форсунок дизелей типа Д100 можно подобрать ограничитель подъема иглы соответствующей высоты.

 

 



ограничителя подъема иглы. При этом стрелка индикатора отклонится на величину "В" - подъема иглы распылителя. Измерение подъема иглы приспособлением (рис. 14): - выставьте шкалу индикатора на ноль, установив приспособление торцом на плоскую поверхность» Торец выдвижного стержня будет расположен в одной плоскости с торцом корпуса приспособления, В качестве плоской поверхности можно использовать нижнюю торцевую поверхность распылителя; - установите приспособление на верхний торец распылителя как показано на рисунке, Стрелка индикатора покажет величину подъема распылителя.



 

 

7.9

Сопловой наконечник

Промыть сопловой наконечник. Очистите распиливающие отверстия с помощью специальных игл, диаметр которых должен быть на 0,05-0,1 мм меньше диаметра отверстия. Продольный канал очистить шабером из мягкой латуни. Сопловой наконечник подлежит замене при наличии: - трещин; - разработки, распыливающих отверстий; - дефектов на поверхности "А", не поддающихся исправлению. Дайте оценку состояния наконечника по результатам испытаний. Нарушение плоскостности торцовой поверхности МА": - быстрое падение давления в. форсунке при опрессовке, Разработка (засорение) распиливающих отверстий -неудовлетворительное качество распиливания (односторонний распыл, вместо туманообразного распыла видны отдельные струи).

- неудовлетворительные испытания по пропускной способности форсунок.

Керосин или профильтрованное дизельное топливо, иглы

Привалочную плоскость торца разрешается восстанавливать притиркой, при этим поверхность должна удовлетворять требованиям техническим условиям рабочего чертежа

 

 


Колпак, гайка распылителя

Деталь подлежит замене при наличии: - трещина любого размера и расположения; - срыва или смятия более 2-х ниток резьбы; - смятия граней шестигранника; - износа, превышающего допускаемые размеры, Устраните зачисткой забоины, вмятины и натиры на наружной поверхности. При необходимости проконтролируйте поверхность ко­нуса (поверхность "Б") калибром по краске.



 



Прилегание должно быть по всей окружности уплотнительного пояска и по ширине не менее 50% поверхности.


 

7.10

Штанга



 

7.11

Тарелка пружины

Тарелка подлежит замене при налички: - трещин; - износа рабочих поверхностей сверх допускаемых размеров.


Неравномерный износ, натиры и риски на рабочих поверхностях допускается устранить механической обработкой со снятием слоя металла в пределе допускаемого размера.

 

7.13

Фильтр щелефой

Детали щелевого фильтра подлежат замене при наличии: - трещин, сколов, изломов; - износа, забоин резьбы или сорванных более 2-х ниток; - смятия граней; - износов, превышающих допускаете размеры, - зазора между щелевым фильтром (стержнем) и корпусом более допускаемого. Промытый в дизельном топливе щелевой фильтр (стержень) в корпусе должен перемещаться плавно без прихватов.

Дизельное топливо


 

7.14

Сборка форсунки

Перед сборкой тщательно промойте все детали в профильтро­ванном дизельном топливе. Обратите особое внимание на чистоту внутренних каналов и полостей.



 



Форсунка Д50.17.1 СБ

Установить корпус форсунки 5 на приспособление типа ПР256 и установите щелевой фильтр 12 и заверните штуцер 11 Установить в корпус форсунки толкатель 4, пружину 6 и верхнюю тарелку пружины 7. Навернуть на регулировочный болт 10 контргайку 9 и вверните его в пробку 8 корпуса форсунки, Завернуть пробку 8 в корпус 5 форсунки. Установить на штуцера корпуса форсунки защитные колпачки. Вставить в гайку 2 распылитель в сборе с иглой и навернуть ее на корпус форсунки 5. Затяните гайку распылителя 2 усилием одной руки ключом с

Приспособление типа ПР256


 

 



рукояткой не более 800 мм.

Установить форсунку на стенд А106 провести ее испытание и регулировку. Закрепить регулировочный болт 10 контргайкой 9.



 

 

8

Испытание форсунок

Испытание форсунок следует производить на дизельном топливе по ГОСТ 305-82 или технологической жидкости с вязкостью соответствующей дизельному топливу. Температура дизельного топлива перед насосом должна быть (13-25) °С. Давление начала впрыскивания» Проверьте визуально по манометру на стенде давление при нагнетании топлива в форсунку в момент впрыскивания. Величина давления начала впрыскивания и их отклонения для различных типов дизелей сведены в таблицу.2. В случае отклонения от указанных значений отрегулируйте поворотом регулировочного винта болта или крышки величину затяжки пружины с последующей проверкой на стенде.

Стенд типа А106


Тип дизеля

Д50,ПД1М


 







Рабочее давление начала подъёма иглы МПа (кгс/см2)

27+0.5

 (275+5)



 

8.1

Давление конца впрыскива­ния.

После регулировки затяжки пружины проверьте величину давления конца впрыскивания. Давление конца впрыскивания должно быть не более указанного в таблице 3. По результату не менее трех контрольных впрысках разница между давлениями не должна превышать 1 МПа (10 кгс/см2). Проверку произведите на стенде AI06 по следующей методике: - поднимите давление топлива перед форсункой с помощью рычага до значения на 0,5-1,0 МПа (5-10 кгс/см2) ниже давления начала впрыскивания; - плавным движением рычага топливного насоса поднимите давление со скоростью0,1 -0,2 МПа (1-2 кгс/см2) в секунду до величины начала впрыскивания; - после отсчета давления по шкале манометра сделайте за­ключение о техническом состоянии форсунки.



 

 

8.2

Подвижность иглы

Проверьте подвижность иглы на стенде типа AI06 прокачиванием топлива через форсунку при частоте впрыскивания 30-40 в минуту. Впрыскивание должно сопровождаться звуком, характерным для соответствующего конструктивного исполнения распылителя. Допускается подвижность тип проверять одновременно с проверкой качества распыливания.

Стенд типа А106


 

 

8.3

Качество распыл и вания.

Проверьте качество распиливания на стенде типа AI06.0I прокачиванием топлива через форсунки при частоте впрыскиваний 60-80 в минуту и отрегулированном давлении начала

Стенд типа А106


 

 



впрыскивания. Топливо, распыленное форсункой, при визуальном наблюдении должно быть туманообразным, без сплошных струек и легко различимых местных сгущений, иметь конус распыления топлива в течении всей подачи в виде тумана. Не должен быть заметным стержень луча топлива или капли



 

 

8.4

Герметичнос­ть по запирающему конусу

Проверьте герметичность выдержкой форсунки при давлении на 1-1,5 МПа (10-15 кгс/см2) меньше давления начала впрыскивании. В течение 15 с, не должно быть пропуска топлива через сопряжения запирающих конусов иглы и корпуса распылителя. Допускается увлажнение носика корпуса распылителя без появления капли.

Стенд типа А106


 

 

8.5

Герметичн­ость уплотнений, соединений и наружных по­верхностей полости высокого давления.

Проведите проверку герметичности полости высокого давления по времени падения давления в форсунке и опрессовке ее давлением большем, чем давление впрыска и последующей выдержкой. Затяните пружину, для каждого типа форсунки на давление качала впрыскивания согласно таблице 2. Поднимите давление на 2 МПа (20 кгс/см2) выше верхней границы диапазона давлений для оценки герметичности. Сравните время падения давления в фиксированном диапазоне для форсунок согласно таблице 3 и сделайте оценку их технического состояния При подученном времени падения давления меньше чем до­пускаемое значение падения давления форсунка подлежит разборке и ревизии качества сопрягаемых поверхностей. Герметичность уплотнений, соединений и наружных по­верхностей волости низкого давления. Опрессуйте канал форсунки для слива просочившегося топлива дизельным топливом давлением 0,5 МПа (5 кгс/см") через штуцер отвода топлива соединив его со стендом AI06. Течь по сопрягаемым поверхностям не допускается.

Стенд типа А106


 

 

8.6

Пропускная способность форсунок

Пропускная способность проверяется прокачкой топлива через форсунки на контрольных образцах топливных насосов высокого давления при частоте вращения и подаче установленных в рабочих чертежах Значение пропускной способности устанавливается либо заво­дом-изготовителем, либо это значение определяется по эталонным



 

 



форсункам применительно к конкретным условиям испытаний.



 

 



Снять с гнезда крышки заглушку и установите на место форсунку с уплотнительными кольцами.

Допускается устанавливать в гнездо цилиндровой крышки под форсунку не более двух уплотнительных колец, обеспечивающих за» данный выход носка распылителя.

Установите на место прижимной фланец и закрепите форсунку гайками.

Снимите защитные колпачки со штуцеров форсунки и наверните на штуцера форсунки накидные гайки трубки высокого давления и сливной трубки.

Установите на место крышку корпуса клапанной коробки и закрепите ее.

Комплект инструмента


 


Похожие работы на - Эксплуатация и ремонт форсунок топливной системы тепловоза

 

Не нашли материал для своей работы?
Поможем написать уникальную работу
Без плагиата!
Без нейросетей!