Автомобильный кран
Введение
1.1 Область применения
(использования).
Автомобильный кран 16т на
шасси КамАЗ-53213, гидравлический, предназначен для выполнения
погрузочно-разгрузочных и строительно-монтажных работ с обычными и разрядными
грузами на рассредоточенных объектах.
1.2 Цель и назначение
разработки
Кран автомобильный,
грузоподъёмностью 16тонн, создаётся в связи с заменой снимаемого с производства
крана.
1.3 Технические
требования
1.3.1 Состав крана и
требования к его конструктивному устройству
Проектируемый кран
гидравлический, полноповоротный, с жёсткой подвеской телескопической стрелы,
состоит из следующих составных частей:
·
неповоротная
часть: коробка отбора мощности, рама, опоры выносные, стойка стрелы, механизм
блокировки подвески, шасси автомобиля, гидрооборудование неповоротной части,
пневмооборудование, облицовка.
·
поворотная часть:
лебёдка грузовая с прижимным роликом, механизм поворота, рама поворотная,
опорно-поворотное устройство, кабина, кожух, отопитель, гидрооборудование
поворотной части.
·
кран оборудован
ограничителем нагрузки крана ОНК - 140 – 05.
·
стреловое
оборудование: канат D = 16,5мм,
крюковая подвеска с крюком грузоподъёмностью 16тонн, стрела, гидроцилиндр
подъёма стрелы.
·
приводы
управления: привод управления рабочими операциями, привод управления
двигателем.
·
электрооборудование:
одиночный ЗИП.
1.3.2. Требуемые технические данные
·
грузоподъёмность,
тонн, максимальная:
на выносных опорах 16
без выносных опор 3
при передвижении с грузом на крюке 3
·
высота подъёма
крюка, м, максимальная 21,7
·
вылет, м,
максимальный 18,5
·
грузоподъёмность
при выдвижении телескопической стрелы, максимальная, тонн 4
·
максимальная
глубина опускания крюка для стрелы 9,7м с грузом 8т на вылете 5м, м. 12
·
длина стрелы, м
9,7…21,7
·
скорость
подъёма-опускания номинального груза, м/сек.
·
максимальная
скорость подъёма-опускания крюка без груза, м/сек
·
скорость
изменения вылета крюка, м/сек:
при подъеме (опускании) стрелы 0,15
при выдвижении (втягивании) стрелы
0,13
·
частота вращения
поворотной части, об/мин. 1,75
·
скорость
передвижения крана, км/час:
транспортная 50
рабочая с грузом на крюке 5
·
размеры опорного
контура, м:
длина 3,85
·
ширина: передних опор 4,8
задних опор 4,8
·
угол поворота,
град:
без груза на крюке со стрелой 9,7м.360
с грузом на крюке при работе на
опорах 240
с грузом на крюке при работе без опор
240
·
полная масса
крана, кг. 21500
1.3.3. Требования к
надёжности
Средний ресурс до первого
капитального ремонта должен быть не менее 5000 часов. Наработка на отказ должна
быть не менее 100 часов. Смазочные устройства должны обеспечивать
работоспособность механизмов крана без смены смазки в период между техническими
обслуживаниями.
Мероприятия по
техническому обслуживанию должны включать:
- контрольные осмотры;
- ежедневные
обслуживания;
- номерные технические
обслуживания;
- сезонное обслуживание;
1.3.4. Требования к
уровню унификации и стандартизации.
Основные механизмы и узлы
крана максимально унифицированы с механизмами и узлами автокранов серийно
выпускаемых.
Коэффициент применяемости
должен быть не ниже 70%.
Коэффициент повторяемости
должен быть не ниже 1,3.
1.3.5. Требования
эстетические.
Кран по внешнему виду и
отделке должен отвечать современным требованиям технической эстетики.
Эстетический показатель должен быть не ниже 9
баллов.
1.3.6. Требования к
исходным материалам составных частей крана.
В конструкции
проектируемого крана используются материалы, применяемые для изготовления
кранов КС – 3572 , КС – 3571 , КС – 3576 , а также другие материалы. Блоки грузового полиспаста крана
изготавливаются из чугуна марки СЧ 18 – 36 ГОСТ 1412 – 70 «Отливки из серого
чугуна».
1.3.7. Условия
эксплуатации.
Проектируемый кран
предназначен для эксплуатации в условиях, установленных ГОСТ 22827 – 77 «Краны
стреловые самоходные общего назначения. Технические условия», с учётом
требований, установленных данным техническим заданием.
1.3.8. Дополнительные
требования.
·
Кран должен быть
работоспособным:
при эксплуатации в любое
время года и суток при температуре окружающего воздуха от +40 до -40
.
при уклоне местности – 3
.
при наклоне крана (наклон
конструкции, к которой прикреплена стрела) относительно горизонта:
на выносных опорах – 1,5
.
без выносных опор – 6
.
с соответствующим
уменьшением грузовых характеристик на 80%.
·
Время
развёртывания крана (при работающем двигателе), из транспортного положения в
рабочее или из рабочего в транспортное, расчётом из двух человек, не более 5
минут.
·
Конструкция крана
должна обеспечивать:
предотвращение
повреждения блоков;
возможность работы перед
кабиной;
механизированную
блокировку рессор тележки шасси;
запас прочности грузового
каната не менее 6.
·
Кран должен иметь
защитную окраску хлорвиниловой эмалью ХВ 518 по грунту №138 или ГФ – 020.
·
Гидравлический
привод должен обеспечивать плавное, бесступенчатое регулирование скоростей
рабочих механизмов крана.
·
Выдвижение секций
стрелы должно производиться с помощью гидроцилиндров. Грузоподъёмность при
выдвижении секций стрелы должна быть в пределах грузовой характеристики.
2. Механизация
Автомобильный кран
предназначен для выполнения погрузочно-разгрузочных и строительно-монтажных
работ с обычными и разрядными грузами на рассредоточенных объектах.
Максимальная грузоподъемность крана 16 т. В связи с этим, целесообразно
применение крана при работе с грузами весом свыше 10 т. Например, при
строительстве цехов заводов, при строительстве мостов, при работе с крупн
габаритными грузами.
При работе крана,
обслуживающему персоналу необходимо учитывать опасные зоны (зоны возможного
падения и отскока груза).
Также перед работой
необходимо правильно установить кран на строительной площадке.
Правильная установка
крана на строительной площадке имеет важное значение для безопасного
производства работ. Строительную площадку перед установкой крана необходимо
очистить от мусора и строительных отходов, поверхность спланировать, выровнять
ямы, канавы и выбоины засыпать землей и утрамбовать. В зимнее время площадку
необходимо очистить от снега до грунта и посыпать песком или щебнем.
Стреловые самоходные
краны следует устанавливать на строительной площадке после проверки несущей
способности грунтового основания, которая должна соответствовать максимальному
опорному давлению крана при наибольшей нагрузке. Другим важным критерием
допустимости установки крана на строительной площадке служит угол осадки крана.
Значительная деформация грунта не так опасна, если она происходит равномерно.
Основное влияние на устойчивость кранов оказывает угол наклона крана из-за
неравномерной осадки грунта в связи с различными значениями давления опор крана
на грунт. Работа крана на свеженасыпанном грунте запрещается. Такая работа
может быть разрешена только при использовании инвентарных подстилающих
устройств (шпал, плит, щитов). Надежнее для этих целей применять инвентарные
подкрановые щиты из металлического проката различных профилей (труб,
швеллеров).
Автомобильные,
пневмоколесные и гусеничные краны разрешается устанавливать на краю траншеи или
котлована при условии соблюдения расстояний, приведенных в таблице 2.1. При
невозможности соблюдения этих расстояний откос должен быть укреплен.
Установка на строительной
площадке стреловых самоходных кранов производится так, чтобы при работе
расстояние между поворотной частью крана (при любом его положении) и
строениями, штабелями грузов, колоннами было не менее 1 м. Кран нужно
устанавливать на все имеющиеся дополнительные опоры.
Табл. 2.1. Допустимые
расстояния от основания котлована (траншеи) до опоры крана
|
Глубина
котлована
Нк, м
|
Расстояние от основания откоса до
ближайшей опоры
крана при ненасыпном грунте, м
|
|
песчаном и
гравийном
|
супесчаном
|
суглинистом
|
глинистом
|
лессовом
сухом
|
|
1
|
1,5
|
1,25
|
1
|
1
|
1
|
|
2
|
3
|
2,4
|
2
|
1,5
|
2
|
|
3
|
4
|
3,6
|
3,25
|
1,75
|
2,5
|
|
4
|
5
|
4,4
|
4
|
3
|
3
|
|
5
|
6
|
5,3
|
4,74
|
3,5
|
3,5
|
Под опоры следует
подкладывать прочные и устойчивые подкладки. Кран нужно установит так, чтобы
можно было с одного места выполнить максимум операций по подъемы и перемещению
грузов. При этом безопаснее выполнять работу с минимальными вылетами крюка и
углами поворота платформы. Установка кранов должна производиться в соответствие
с проектом производства работ и инструкцией по эксплуатации крана,
разработанной заводом-изготовителем. Установка
грузоподъемных кранов на строительной площадке, размещение участков работ,
рабочих мест, проездов транспортных средств и проходов для людей должны
выполняться с учетом выделения опасных для пребывания людей зон, в пределах
которых производиться подъем и перемещение грузов кранами.
Зоны постоянно
действующих опасных производственных факторов во избежание доступа посторонних
лиц должны быть ограждены защитными ограждениями, удовлетворяющими требованиям
ГОСТ 23407-78.
Граница опасной зоны
грузоподъемного крана определяется с учетом отлета (падения) груза,
перемещаемого краном на наибольшем вылете стрелы.
Границы опасных зон
стреловых самоходных кранов определяются исходя из следующих условий:
·
установка крана
для монтажа устойчивых элементов;
·
установка крана
для монтажа высоких неустойчивых элементов;
·
установка крана
вблизи штабеля складирования (здания и т.д.);
·
установка крана
вблизи котлована (траншеи);
·
установка крана
вблизи линии электропередач.
Границу опасной зоны
при работе крана по монтажу устойчивых элементов можно определить по формуле:
, (2.1)
где
- радиус опасной зоны;
- максимальный вылет крюка крана;
- длина детали;
- расстояние от вылета крюка до
места возможного падения груза.
Расстояние
должно быть не менее, м:
Табл.2.2
|
Высота подъема груза
Н, м
|
Расстояние ,
м не менее
|
|
до 20
|
7
|
|
от 20 до 70
|
10
|
Рис. 2.1. Границы опасной зоны
при работе крана по монтажу устойчивых элементов.
Например, определим
границу опасной зоны, когда автомобильным краном КС – 4572 будет производиться
монтаж плит.
Известно:
Наибольший вылет 18,4 м,
длина плиты 5 м, наибольшая высота подъема 21,7 м.
Согласно табл. 2
м. Подставим данные значения в формулу,
получим:
Границу опасной зоны
при монтаже краном неустойчивых элементов можно определить по формуле:
, (2.2)
где
- радиус опасной зоны (вылет крюка);
- рабочий радиус крана;
- высота подъема груза;
Например, определим
границу опасной зоны, при монтаже колонны автомобильным краном КС – 4572.
Известно:
Вылет 10 м, высота
подъема груза 10 м.
Согласно табл. 2

м. Подставим данные значения в формулу,
получим:
Рис. 2.2. Границы опасной
зоны при работе крана по монтажу неустойчивых элементов.
Граница опасной зоны
между штабелем конструкций (стеной здания, колонной) и поворотной частью крана
может быть подсчитана по формуле:
, (2.3)
где
- габарит поворотной части крана;
- радиус опасной зоны вращения
крана;
- расстояние между штабелем и краном
не менее 1 м.
Например, определим
границу опасной зоны между штабелем конструкций (стеной здания, колонной) и
поворотной частью крана КС – 4572.
Известно:
Габарит поворотной части
крана 2,95 м, расстояние между штабелем и краном принимаем 3 м.
Подставим данные значения
в формулу, получим:
Рис. 2.3. Границы опасной
зоны между штабелем конструкций и поворотной частью крана.
Производство всех работ и
пребывание людей в опасной зоне вращения крана строго запрещается.
3. Конструкторская
часть
Расчёт грузовой
лебёдки. Расчет будем вести по методическим указаниям [3]
Задача расчёта.
Спроектировать механизм
подъёма груза автомобильного крана.
Исходные данные.
грузоподъёмность mг = 16000 кг;
высота подъёма H = 21,7 м.
скорость подъёма V = 0,14 м/с.
кратность полиспаста а =
4.
масса крюковой подвески mкр = 150 кг.
3.1 Выбор каната и
барабана.
3.1.1 Находим
грузоподъёмную силу по формуле
(3.1)
где g = 9,81 м/с
-
ускорение свободного падения.
Получим
.
3.1.2 Определяем КПД
полиспаста по следующей формуле:

=
, (3.2)
где
= 0,98 – КПД блока на подшипниках
качения;
к = 1 – число обводных
блоков.
Получим
=
= 0,95
3.1.3 Рассчитываем
наибольшее натяжение ветви каната, набегающей на барабан при подъёме груза по
формуле:
, (3.3)
где
= 1 – число полиспастов.
Получим
F
=
3.1.4 Разрывное усилие
каната в целом определяется по формуле:

, (3.4)
где
- минимальный коэффициент использования
каната;
-
символ, означающий смещение по таблице [3 стр.25] соответствия групп
классификации и коэффициентов использования каната и выбора диаметра.
(Допускается изменение коэффициента выбора диаметра барабана
, но не более чем на два шага по
группе классификации в большую или меньшую сторону, с соответствующей
компенсацией, путём изменения величины
на
то же число шагов в меньшую или большую сторону), поэтому введём ряд смещений:
Тогда получим ряд
значений:
Имеем
Разрывное усилие каната (
), для кратности
,
для основного и добавочных значений
получим по формуле
(4):
3.1.5 Выбираем тип
каната. Для автомобильного крана, работающего на открытом воздухе, при наличии
пыли и влаги следует выбирать канат типа
ЛК – Р 6
19+1 о.с., ГОСТ 2688-80 с малым
количеством проволок большого диаметра. Этот канат обладает высокой абразивной
и коррозионной износостойкостью.
По найденным значениям
находим значения диаметров каната
и маркировочную группу, соответствующую
условию прочности каната:
,
(3.5)
где
- разрывное усилие каната в целом (по
каталогу). Имеем следующие значения диаметров
каната (в скобках указаны маркировочные группы (МПА) и разрывные усилия (
)):
3.1.6 Минимальный диаметр
барабана определяется по формуле
,
(3.6)
где
- коэффициент выбора диаметра барабана.
По таблице [3 стр.25], для
заданной группы классификации механизмов, получают основное значение
. При смещении по этой таблице вверх и
вниз на два шага, находят значения
, где
При определении
минимального диаметра барабана получим основное
значение
. При смещении по этой таблице вверх и
вниз на два шага, имеем:
По формуле (3.6) получим:
3.1.7 Расчётный диаметр
барабана
, принимают из ряда Ra20.
Имеем
ГОСТ 3241 – 80 «Канаты
стальные. Технические условия» приводит ограничение: «Диаметр шейки барабана
должен быть не менее 15 номинальных диаметров каната». Следовательно,
отбрасываем барабаны с
.
3.1.8 Длина барабана с
односторонней нарезкой определяется по формуле:
(3.7)
где
- шаг нарезки;
-
кратность полиспаста;
- необходимая
длина каната на барабане
(
=50м.) (условно).
Получим
Как видно из расчётов,
вариант с канатом диаметром 16,5мм даёт больший диаметр барабана при меньшей его
длине.
Ради запаса примем:
диаметр барабана D = 450мм.
длина барабана L = 605 мм.
диаметр каната d = 16.5 мм.
На автомобильных кранах
допустима навивка каната на барабан в несколько слоёв, следовательно, запаса
каната на выбранном барабане будет достаточно.
3.1.9 Определим угловую
скорость барабана по формуле:
, (3.8)
Получим
3.2 Выбор гидромотора
[4].
3.2.1 Находим статическую
мощность гидромотора по формуле:
, (3.9)
где
=
=
0,9 – КПД механизма с цилиндрическим редуктором.
=
0,965 – КПД гидромотора.
Получим
Вт. (
кВт).
3.2.2 Крутящий момент
создаваемый гидромотором:
,
(3.10)
где
- угловая скорость гидромотора.
,
=31,5
передаточное число редуктора (взято максимальное среди двухступенчатых
редукторов).
Получим
.
3.2.3 Потребный рабочий
объём гидромотора:
,
(3.11)
где
= 16 МПА – перепад давлений на
гидромоторе (выбираем ориентировочно [4 стр.22]).
=0,94
– механический КПД гидромотора в первом приближении.
Получим
По [4 стр.22] выбираем
аксиально-поршневой регулируемый гидромотор 223.25.
Техническая
характеристика гидромотора:
потребный рабочий объём
гидромотора
=214
перепад давлений на
гидромоторе
16 МПА.
номинальная подача
4,840
частота вращения вала
гидромотора
1400
(Регулировать на частоту
750
)
3.3 Выбор редуктора
Выбираем редуктор,
оснащённый зубчатым венцом на выходном валу,
выберем универсальный
двухступенчатый редуктор Ц2У – 250.
3.4 Выбор тормоза
3.4.1 Грузовой момент на
барабане определяется по формуле:
, (3.12)
где
=
Получим

3.4.2.Статический момент
на входном валу редуктора при торможении определяют по формуле:
, (3.13)
где
- КПД механизма, который можно принять
равным КПД редуктора.
Получим
3.4.3 Тормозной момент,
на который регулируют тормоз, определяют по формуле:
, (3.14)
где
2 – коэффициент запаса торможения.
Получим
=
Выбираем ленточный тормоз
(при одинаковом тормозном моменте, по сравнению с колодочным и дисковым
тормозами, он имеет меньшие размеры, что важно на автомобильных кранах).
При тормозном шкиве
диаметром 180 мм, тормозной момент 800 Н
м.
3.5 Расчёт шпоночного
соединения
Для проверки
работоспособности спроектированной конструкции следует проверить надёжность
шпоночного соединения тихоходный вал редуктора - зубчатый венец. Расчёт будет
вестись по методике предложенной [6].
Выбранная шпонка: «Шпонка
22
14
90
ГОСТ 23360 – 78» (Шпонка призматическая).
Основным расчётом для
призматических шпонок является условный расчёт на смятие.
Условие прочности
выбранной шпонки на смятие:
,
где
9585
Нм - вращающий момент (принимается равным грузовому моменту на барабане).
77
мм – диаметр вала, на который посажена шпонка.
90
мм – рабочая длина шпонки.
5,6
мм – глубина врезания шпонки в ступицу.
600 МПа – допускаемое напряжение
смятия.
Получим:
490
МПа,
следовательно,
неравенство
выполняется.
Шпонка выбрана, верно.
Итоги расчёта:
Выбраны:
- редуктор Ц2У – 250.
- гидромотор 223.25.
- барабан диаметр 450 мм.
длина 605 мм.
- диаметр каната 16,5 мм.
4. Расчёт механизма
поворота
Расчёт будем вести по
методическим указаниям [8].
Задача расчёта:
Спроектировать механизм
поворота для поворотной части автомобильного крана.
Исходные данные.
грузоподъёмность (масса
груза)
16000 кг.
длина стрелы (при
максимальной грузоподъёмности)
9,7м.
вылет (при максимальной
грузоподъёмности)
3,75 м.
угловая скорость
поворотной части
0,18
масса крюковой подвески
150 кг.
4.1 Вес стрелы
Стрела состоит из трёх
секций: 9,7 м.; 15,7 м.; 21,7 м. (выдвижение секций по 6 метров, то есть ход
поршней 6 метров). Для расчёта нужно учитывать также и вес двух гидроцилиндров.
Вес стрелы вычисляют из
эмпирической зависимости:
, (3.15)
где
0,066 – коэффициент веса стрелы (мал
потому, что стрела при подъёме груза расположена наклонно).
15,84
10
- грузоподъёмная сила.
3,75
.- вылет.
Получим
0,066
15,84
10
3,75
3,92
10
Плечо силы тяжести стрелы
= 1,75м. (взято из геометрических соотношений между: длиной стрелы, точкой
подвеса стрелы и вылетом груза).
4.2 Момент сопротивления
повороту поворотной части в период пуска:

, (3.16)
где
- момент сил трения;
-
момент динамический.
Момент сил трения:
0,5
, (3.17)
где
=0,015 – приведенный коэффициент трения
в подшипниках;
реакция упорного
подшипника:
,
(3.18)
15,84
10
- грузоподъёмная сила.
3,92
10
-
вес стрелы.

9,81 , (3.19)
1300
кг – масса поворотной платформы (принята конструктивно с запасом).
Подставив в (3.19) ,
получим:
1300
9,81=1,3
10
.
Подставим в (3.18) ,
получим:
(15,84+3,924+1,3)
10
=21,1
10
.
Расстояние между
радиальными подшипниками равным 0,7 м.
Момент, изгибающий
колонну:
М
=3,75F
+1,75F
-0,75F
, (3.20)
Получим
М
=
( 3,75
15,84+1,75
3,92+0,75
1,3 )
10
=65,3
10
.
Напряжение изгиба самой
колонны
=М
W
[
]
=
/(n
k
) , (3.21)
где n = 1,4 – коэффициент запаса
прочности;
k
=1,3 – коэффициент безопасности;
=
314
10
Па –
предел текучести (Сталь 35 ГОСТ 8731-72) (нормализация).
W
=n
k
М
/
, (3.22)
Получим
W
= 1,4
1,3
65,3
10
/314
10
=37,8
10
м
.
Реакции радиальных
подшипников
F
=M
/0,7, (3.23)
Получим
F
=65,3
10
/0,7=93,3
10
.
В качестве подшипников
выберем два подшипника серии 2556 – роликоподшипник с короткими цилиндрическими
роликами (ГОСТ 8328 – 57)
С
=
187
10
;
d
= 280 мм. – диаметр внутреннего
кольца.
D
= 500 мм. – диаметр наружного кольца.
Подставим полученные
соотношения в формулу для момента сил трения, получим
Т
=0,5
0,015(21,2
10
70
10
+93,3
10
2
280
10
)=4029
.
Динамический момент равен
Т
=I
Е , (3.24)
где I – момент инерции поворотной части
крана вместе с грузом;
Е – угловое ускорение.
Е = а /
, (3.25)
а = 0,15 м/c
- минимальное угловое ускорение
груза.
Получим Е = 0,15/3,75 =
0,04
.
Момент инерции
I =
(
1,75
+
3,75
+
3,75
+
0,75
) , (3.26)
где
= 1,3 – коэффициент, учитывающий
инерционность поворотной части;
=
1,05 – коэффициент, учитывающий инерционность механизма
поворота;
=
4000 кг – масса стрелы;
=
150 кг – масса крюковой подвески;
=
16000 кг – масса поднимаемого груза;
=
1300 кг – масса поворотной части;
Подставив, получим
I = 1,3
1,05(4000
3,0625+150
14,0625+16000
14,0625+1300
0,5625)
=
=32,8
10
кг
м
.
Полученные соотношения
подставляются в (3.24):
Т
=32,8
10
0,04 = 1,312
10
(13120 Н
м).
Суммарный момент
сопротивления повороту:
Т
=
4029+13120 = 17149 Н
м.
4.3 Мощность гидромотора
в период пуска.
Мощность гидромотора
определится по формуле:
P = T

/
, (3.27)
где
=0,18
. –
угловая скорость поворотной части;
-
КПД механизма поворота с цилиндрическим редуктором.
, (3.28)
=
0,96 – КПД двухступенчатого цилиндрического редуктора;
=
0,95 – КПД открытой зубчатой передачи;
Подставив, получим:
=
0,96
0,95= 0,912 ,
отсюда мощность
гидромотора в период пуска:
Р = 17149
0,18/0,912 = 3385 Вт. (3,39 кВт.).
Передаточное число
редуктора U
=48,67 (взято из стандартного ряда
передаточных чисел для вертикальных двухступенчатых редукторов).
Выбираем гидромотор
210.20В, нерегулируемый однопоточный, диаметр поршня 20 мм; В – модификация
корпуса из алюминиевого сплава; n
=1500 об/мин. – частота вращения вала;
Следовательно, угловая
скорость вала гидромотора
=
=
157
.
Номинальный крутящий
момент гидромотора
Т
=P
/
=
157 Hм.
4.4 Общее передаточное
число.
U=
, (3.29)
Получим
U=157/0,18 = 872
(Механизм поворота
содержит: гидромотор, редуктор и открытую зубчатую передачу).
Следовательно:
U=U
U
, (3.30)
где U
- передаточное число открытой
зубчатой передачи.
Откуда
U
=U/U
, (3.31)
Получим
U
= 872/48,67 = 17,9
4.5 Расчётный крутящий
момент на тихоходном валу редуктора в момент пуска
Т
=
Т
U

, (3.32)
Получим:
Т
=157
48,67
0,96 =
7336 Нм.
4.6 Расчет процесса пуска
Максимальное время пуска
при условии минимального ускорения груза:
t
=
, (3.33)
Получим:
t
= 0,18/0,04 = 4,5 c. (т.е. t
= 1 … 4,5 c.)
Условие пуска:
Т

, (3.34)
Имеем:
157
,
т.е. условие пуска
выполняется.
4.7 Расчёт процесса
торможения
Целесообразно принять
время торможения меньшим или равным времени пуска, т.к. трение в подшипниках и
потери в механизме поворота способствуют торможению.
Примем время торможения
равным 4с.
Т
, (3.35)
где
- момент инерции масс на первичном
валу. Очень мал и им пренебрегаем.
Получим равенство:
Т
10,98
Нм.
Укажем на чертеже
механизма поворота техническое требование –
«тормоз отрегулировать на
момент 11,5 Нм».
4.8 Расчёт открытой
зубчатой передачи
Примем диаметр
делительной окружности подвенцовой шестерни
d
= 120 мм. (минимальное число зубьев
шестерни: Z
=17 … 25).
Модуль зубчатого
зацепления:
m = d
/Z
, (3.36)
Получим:
m = 120/25 – 120/17 = 4.8 … 7.1 мм.
Примем m = 6; тогда Z
= 120/6 = 20
Диаметр делительный
подвенцовой шестерни:
d
= 6
20 =
120 мм.
Число зубьев зубчатого
венца:
Z
= Z
U
= 20
17,9 = 358
Диаметр делительной
окружности зубчатого венца:
d
= m
Z
= 6
358 = 2148 мм.
Межосевое расстояние:
а
=
(d
+d
)/2 = (120+2148)/2 = 1134 мм.
Ширина зубчатого венца:
b =
a
,
где
= 0,1 … 0.4 - коэффициент ширины
зубчатых колёс (примем
=0,12)
Получим
b=0,12
1134 = 136,1 мм. (примем b = 140 мм.)
5. Расчёт стрелы
телескопической
Задача расчёта состоит в
определении прогиба стрелы при максимальной её нагрузке.
Условия расчёта:
Расчёт телескопической
стрелы и отдельных её элементов производится по максимальным нагрузкам,
возникающим при различных случаях нагружения её и различных положениях
выдвижных секций.
Расчётная схема.
Телескопическая стрела
состоит из основания, средней и верхней секций. Средняя и верхняя секции
перемещаются по плитам относительно основания. Максимальная длина каждого
гидроцилиндра составляет шесть метров. Длина стрелы в собранном состоянии
составляет 9,7 м, при выдвижении средней секции - 15,7 м, при выдвижении верхней
секции – 21,7 м.
На стрелу действуют:
- вес поднимаемого груза.
- собственный вес.
- усилие в грузовом
канате.
- усилия в гидроцилиндрах
подъёма стрелы и выдвижения стрелы.
- боковая нагрузка на
оголовке стрелы.
Исходные данные.
21,7м.
– максимальная длина стрелы (выдвинуты обе секции);
=
9,7м. – длина собранной стрелы;
15,7м.
– длина стрелы (выдвинута средняя секция);
Составные части сечения
стрелы подбирается таким образом, чтобы прогиб стрелы, при максимальном её
нагружении, не превышал 2% от длины стрелы. Для проектируемого крана расчёт
прогиба не ведётся из-за сложности проверки правильности расчёта.
Следовательно, применяем стрелу с уже существующего крана аналогичной
конструкции.
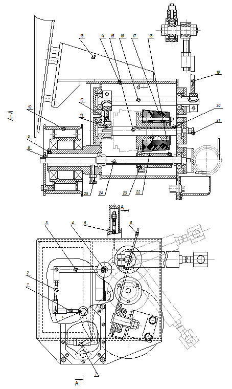
6. Назначение детали в
узле
Неповоротная часть
(платформа) крана представляет собой жесткую сварную раму с выносными опорами и
механизмом блокировки задней подвески шасси. Неповоротная рама устанавливается
на раме автомобильного шасси, с которой она соединена при помощи болтов или
заклепок. В верхней части неповоротной рамы имеется опорно-поворотное
устройство, на подвижной части которого закреплена поворотная часть
грузоподъемной установки крана.
Неповоротная платформа
является одним из основных элементов металлоконструкции крана.
В процессе эксплуатации
крана, особенно в период интенсивной эксплуатации (в зимнее время, при тяжелых
условиях работы), существует вероятность появления дефектов на кране, в
частности на неповоротной платформе. Характерными дефектами металлоконструкции
неповоротной части крана являются:
·
дефекты сварных
соединений;
·
деформации и
трещины в листовых элементах неповоротной рамы.
Существует несколько
методов обнаружения дефектов металлоконструкции. Начиная от визуального
осмотра, позволяющего выявить дефекты, представляющие явную опасность
возможного хрупкого разрушения, и заканчивая применением неразрушающих методов
контроля с высокой разрешающей способностью при обнаружении дефектов
(ультразвуковой, рентгеновский, электромагнитный и другие методы).
6.1 Ремонт неповоротной
платформы в случае обнаружения трещины в сварном шве
Предлагаемый
технологический процесс проведения ремонта.
Маршрут проведения
ремонта металлоконструкции:
Подготовка под сварку:
Операция 005 – зачистка.
Операция 010 –
дефектация.
Операция 015 –
термическая кислородная резка.
Операция 020 – зачистка.
Операция 025 – слесарная.
Операция 030 – зачистка.
Операция 035 – контроль
внешнего вида.
Заготовка деталей:
Операция 040 – разметка.
Операция 045 –
термическая кислородная резка.
Операция 050 – зачистка.
Операция 055 – правка.
Операция 060 – контроль
внешнего вида.
Операция 065 – контроль
линейных размеров.
Ремонт:
Операция 070 – сварка.
Операция 075 – зачистка.
Операция 080 – контроль
внешнего вида.
Операция 085 – сварка.
Операция 090 – зачистка.
Операция 095 – контроль
внешнего вида.
Операция 100 – контроль
линейных размеров.
Операция 105 – сварка.
Операция 110 – зачистка.
Операция 115 – контроль
внешнего вида.
При обнаружении трещины в
сварном шве металлоконструкции неповоротной рамы (см. рис.4.1) выполняются
следующие основные действия:
Подготовка под сварку:
Операция 010 –
дефектация.
Эта операция необходима
для обнаружения действительных размеров трещины. Для этого необходимы: керосин,
мел и кисть маховая. Место предполагаемой трещины зачищают до блеска, смачивают
его керосином и вытирают
Рис.4.1 Трещина в сварном
шве неповоротной платформы.
насухо. Затем поверхность покрывают
слоем мела. Трещина проявляется при обработке поверхности кистью.
Операция 015 –
термическая кислородная резка.
После обнаружения трещины
необходимо удалить сварной шов на длину дефектного места плюс 10 мм в оба
конца. Повторная заварка без вырубки дефектного места недопустима. Для данной операции
необходимы: резак, кислород газообразный и пропанобутановая смесь.
Заготовка деталей:
Необходимо разметить на
листе 6-10 мм деталь, чертеж которой показан на рис. 4.2, в количестве 2-х
штук.
Рис. 4.2 Косынка.
Затем с помощью резака
вырезать их по размерам.
Ремонт:
Необходимо с помощью
ручной дуговой сварки заварить вырубленные сварные швы; усилить полученный
сварной шов 2-мя косынками рис.4.3.
Рис. 4.3 Произведен
ремонт неповоротной платформы.
Перед проведением всех
сварочных работ необходимо производить зачистку обрабатываемых поверхностей.
После сварочных работ необходимо зачистить сварные швы от шлака, а околошовные
места от брызг металла.
6.2 Ремонт неповоротной
платформы в случае обнаружения трещины в листовых элементах
Предлагаемый
технологический процесс проведения ремонта.
Маршрут проведения
ремонта металлоконструкции:
Подготовка под сварку:
Операция 005 – зачистка.
Операция 010 –
дефектация.
Операция 015 –
сверлильная.
Операция 020 – слесарная.
Операция 025 – зачистка.
Операция 030 – контроль
внешнего вида.
Заготовка деталей:
Операция 035 – разметка.
Операция 040 –
термическая кислородная резка.
Операция 045 – зачистка.
Операция 050 – правка.
Операция 055 – контроль
внешнего вида.
Операция 060 – контроль
линейных размеров.
Ремонт:
Операция 065 – сварка.
Операция 070 – зачистка.
Операция 075 – контроль
внешнего вида.
Операция 080 – сборка.
Операция 085 – сварка.
Операция 090 – зачистка.
Операция 095 – контроль
внешнего вида.
При обнаружении трещины в
листовых элементах металлоконструкции неповоротной рамы (см. рис.4.4)
выполняются следующие основные действия:
Рис. 4.4 Трещина в
листовом элементе металлоконструкции неповоротной платформы.
Подготовка под сварку:
Аналогично предыдущему
технологическому процессу. Только необходимо сделать следующие операции:
Операция 015 –
сверлильная.
Просверлить 2 отверстия
10 мм в целом металле с центром на
расстоянии 10 мм от видимого конца трещины в сторону ее распространения. Это
необходимо, чтобы исключить дальнейшее распространение трещины.
Операция 020 – слесарная.
Произвести разделку
кромок рис. 4.5. глубина и вид разделки зависят от толщины свариваемого
металла.
Рис. 4.5 Разделка трещины
под сварку.
Заготовка деталей:
Необходимо разметить на
листе 6-10 мм деталь, чертеж которой показан на рис. 4.6.
Рис. 4.6 Деталь.
Затем с помощью резака
вырезать ее по размерам.
Ремонт:
Необходимо с помощью
ручной дуговой сварки приварить полученную деталь.
7. Разработка
приспособления для ремонта металлоконструкций
В рассмотренных методах
ремонта металлоконструкций не применялось специальное механическое сварочное
оборудование. В случае если необходим значительный ремонт металлоконструкции, а
также в случае возникновения дефектов в труднодоступных местах производится
разборка крана с последующим его ремонтом. В этих случаях необходимо применение
специального сварочного оборудования.
Кантователи служат для
поворота изделия в положение удобное для сварки. Наибольшее распространение
получили кантователи цепные рис. 4.7.
Рис. 4.7 Цепной
кантователь.
Цепные кантователи
предназначены для сварки симметричных изделий, имеющих треугольное, квадратное
или прямоугольное, приближающееся к квадратному, сечение. Для цепных
кантователей не требуется применение специальных крепежных рам, кроме того,
время установки изделия в кантователь – минимальное. Изделие в кантователе не
крепится. Цепные кантователи применяют при ручной и полуавтоматической сварке.
Привод цепного
кантователя состоит из электродвигателя (1) и редуктора. Крутящий момент от
электродвигателя, через редуктор, с помощью приводных валов, передается на
приводные звездочки (4), расположенные в нижней части стойки (3). Приводные
звездочки связаны с помощью цепью (2) со звездочками (4) расположенными в
верхней части стойки (цепь замкнута по круговому маршруту). При повороте
приводной звездочки, деталь (5) свободно лежащая на цепи, также поворачивается
на определенный угол.
8. Расчет
гидравлической системы
8.1 Устройство
гидравлической системы крана
Гидравлический привод
механизмов крана выполнен по открытой двухнасосной гидравлической схеме.
Особенностью
гидравлической схемы крана является применение регулируемого гидромотора для
привода грузовой лебёдки и наличие гидравлического привода выдвижения балок
опор. Эти особенности позволяют эффективнее использовать кран на
строительно-монтажных и погрузочно-разгрузочных работах в стеснённых условиях.
Применение в гидроприводе
двухнасосной схемы и гидрораспределителя со специальной промежуточной секцией
позволяет следующее совмещение рабочих операций:
- подъём (опускание)
стрелы без груза с вращением поворотной части;
- подъём (опускание)
груза с телескопированием секций стрелы;
- подъём (опускание)
стрелы с подъёмом (опусканием) груза;
- подъём (опускание)
стрелы с телескопированием секций стрелы;
- вращение поворотной
части с подъёмом (опусканием) груза;
В качестве источника
рабочего давления применены два аксиальнопоршневых насоса типа 210.26 и 210.10.
Насос меньшей производительности служит для привода гидроопор и блокировки
рессор задней тележки шасси, а также группы рабочих механизмов: вращение
поворотной части; подъём (опускание) и телескопирование секций стрелы.
Насос большей
производительности служит для привода главной лебёдки. Ручной насос
предназначен для приведения крана из рабочего в транспортное положение, в
случае выхода из строя привода основных насосов.
Привод насосов
предназначен для передачи крутящего момента от коробки передач шасси к насосам
крановой установки. Привод осуществлён посредством коробки отбора мощности
смонтированной непосредственно
вместе с трансмиссией автомобиля.
Органы управления
основными операциями крана находятся в кабине.
Установка крана на
выносные опоры и управление механизмом блокировки рессор производится с пульта.
8.2 Описание
гидравлической схемы крана
В
открытой двухнасосной гидравлической схеме (рис. 5.1) источником рабочего
давления являются два аксиально-поршневых насоса НА1 и НА2 типа 210.26 и 210.20
соответственно.
От
насоса НА1 работают гидроцилиндры выносных опор и механизма блокировки задней
подвески шасси, подъема и выдвижения стрелы, а также механизм вращения
поворотной части. От насоса НА2 рабочая жидкость подается через вращающиеся
соединения к гидромотору грузовой и вспомогательной лебедок. Для главного и вспомогательного
подъемов, вращения поворотной рамы установлены аксиально-поршневые гидромоторы
209.25 и 210.20.13. Переключением двухпозиционного крана Р2 рабочая жидкость от
одного из насосов подается или к гидрораспределителям Р1 и Р4 для привода
гидроцилиндров Ц1 — Ц8 выносных опор и гидроцилиндров Ц9, Ц10 механизма
блокировки подвески шасси, или через вращающееся соединение СВ к
гидрораспределителю Р9 для привода гидроцилиндра Ц19 механизма подъема стрелы,
гидромотора Д1 механизма поворота и гидроцилиндров Ц11, Ц12 телескопа стрелы.
От другого насоса рабочая жидкость через вращающееся соединение подается к
гидромоторам главной и вспомогательной лебедок. Давление рабочей жидкости в
системе привода выносных опор и механизма блокировки подвески шасси ограничивается
первичными предохранительными клапанами КП2 и КП8, встроенными в напорные
секции гидрораспределителей Р1 и Р4. Ограничение давления рабочей жидкости в
приводе подъема стрелы, поворота и телескопирования производится клапаном КПЗ,
а в приводах главной и вспомогательной лебедок — клапаном КП6, встроенным в
напорные секции гидрораспределителей Р9 и Р10; контроль давления — по
манометрам МН2 и МНЗ. Клапан КП7 служит для сброса пиковых давлений рабочей
жидкости. Разгрузочные дроссели ДР1 — ДР4 предотвращают самопроизвольное
перемещение штоков гидроцилиндров Ц11, Ц12 и Ц19 из-за перетечек рабочей
жидкости в гидрораспределителе Р9.
Рис.5.1.
Принципиальная гидравлическая схема крана КС-4572.
Привод
датчика усилий ограничителя грузоподъемности осуществлен с помощью
гидротолкателя, поршневая полость которого сообщается с поршневой полостью
гидроцилиндра подъема стрелы, штоковая полость соединена со штоковой полостью
того же гидроцилиндра. При срабатывании приборов безопасности (ограничителя
грузоподъемности и высоты подъема крана) обесточиваются электромагниты
гидрораспределителей Р5, Р8 с электрическим управлением. При этом
обеспечивается слив рабочей жидкости в гидробак Б и замыкание тормозов лебедок
и механизма поворота.
Контроль
засоренности фильтра Ф производится по показаниям манометра МН4. Давление не
должно превышать 0,35 МПа (3,5 кгс/см2), за исключением показаний в
моменты совмещения операций опускания стрелы с втягиванием секций стрелы.
Контроль нагрева рабочей жидкости осуществляется по указателю температуры УТ;
максимальная температура +750 С.
При
выключении задней подвески и установке крана на выносные опоры двухпозиционный
кран Р2 должен находиться в изображенном на ПГС правом положении, вентиль ВН2
закрыт.
Рабочая
жидкость от насоса НА1 поступает в напорные магистрали гидрораспределителей Р1
и Р4. При нейтральном положении золотников рабочая жидкость направляется через
фильтр Ф на слив в гидробак Б. Для включения задней подвески шасси (блокировки
рессор) крайний правый золотник гидрораспределителя Р1 должен быть установлен в
нижнее по ПГС положение. При этом рабочая жидкость от насоса через секции
гидрораспределителя Р1, гидрозамки ЗМЗ и ЗМ4 поступает в поршневые полости
гидроцилиндров Ц9 и Ц10. Выключение задней подвески производится тем же
золотником, когда он установлен в верхнее по ПГС положение.
Для
установки крана на выносные опоры соответствующие золотники
гидрораспределитслей Р1 и Р4 управления гидроцилиндрами Ц1 — Ц4 устанавливают в
нижнее по ПГС положение. Рабочая жидкость поступает в поршневые полости
гидроцилиндров — происходит выдвижение опорных балок. Выдвижение штоков
гидроцилиндров Ц5—Ц8 обеспечивается установкой соответствующих золотников
гидрораспределителей Р1, Р4 в нижнее по ПГС положение. Горизонтирование крана
на опорах производится движениями соответствующих золотников, при которых
рабочая жидкость от гидрораспределитслей поступает в поршневые или штоковые
полости гидроцилиндров Ц5—Ц8, обеспечивая движение штоков в нужном направлении.
При приведении крана в транспортное положение золотники управления
гидроцилиндрами выдвижения опорных балок и горизонтирования должны быть
установлены в верхнее по ПГС положение, что соответствует втягиванию штоков
гидроцилиндров опор и опорных балок. Наибольшее давление в системе при
блокировке подвески шасси и установке крана на выносные опоры ограничивается
предохранительными клапанами КП2 и КП8, настройка которых производится при
минимальных оборотах двигателя, и не должно превышать 14 МПа (140 кгс/см2).
Телескопирование секций стрелы выполняется гидроцилиндрами Ц11 и Ц12.
Раздельное выдвижение и втягивание секций стрелы в определенной
последовательности обеспечивается применением в гидропередаче клапанного блока
БК и размыкателей Ц13, Ц14, управляемых гидрораспределителем с электрическим
управлением Р6. Для выполнения операций выдвижения секций стрелы крайний слева
золотник гидрораспределителя Р9 должен быть установлен в нижнее по ПГС
положение.
Рабочая
жидкость от насоса НА1 через вращающееся соединение СВ, гидрораспределитель Р9,
тормозной клапан КТ1, гидрозамок ЗМ8 поступает в поршневую полость
гидроцилиндра Ц11 — происходит выдвижение второй секции, которая в конце хода
автоматически фиксируется с основанием стрелы размыкателями Ц13, Ц14, после
чего рабочая жидкость преодолевает давление настройки клапанного блока БК и
через гидрозамок ЗМ7 поступает в поршневую полость гидроцилиндра Ц12 —
происходит выдвижение третьей секции стрелы. Втягивание секций стрелы
происходит в обратной последовательности: втягивается первоначально третья
секция, затем вторая. Для выполнения операций втягивания секций тот же золотник
гидрораспределителя Р9 должен быть установлен в верхнее по ПГС положение. При
этом рабочая жидкость от гидрораспределителя через штоковую полость
гидроцилиндра Ц11, поршень которого неподвижен в связи с зафиксированным
положением второй секции стрелы, поступает в штоковую полость гидроцилиндра Ц12
и одновременно в линии управления гидрозамков ЗМ7, ЗМ8 и тормозного клапана КТ1,
которые открываются, пропуская рабочую жидкость из поршневой полости
гидроцилиндра Ц12, — происходит втягивание третьей секции стрелы.
Для
втягивания второй секции стрелы принудительно обесточивается
гидрораспределитель с электрическим управлением Р6 для отвода размыкателей Ц13
и Ц14 и расфиксации второй секции с основанием стрелы, и рабочая жидкость
поступает в штоковую полость гидроцилиндра Ц11.
Управление
гидромотором механизма вращения осуществляется передним золотником
гидрораспределителя Р9. Для вращении поворотной части он устанавливается в
зависимости от направления движения в верхнее или нижнее по ПГС положение, и
рабочая жидкость поступает к гидромотору Д1.
Одновременно
рабочая жидкость подается к размыкателю Ц15 тормоза, который размыкается, и вал
гидромотора начинает вращаться. Пиковые давления, возникающие при резком
изменении скорости поворота и остановке поворотной платформы, гасятся
перезапускными клапанами КП4 и КП5. Вентиль ВНЗ предназначен для соединения
напорной и сливной магистралей при приведении платформы в транспортное
положение и в случае отказа в работе гидропривода крана или двигателя шасси.
Подъем
стрелы осуществляется переводом в верхнее по ПГС положение крайнего справа
золотника гидрораспределителя Р9. При этом рабочая жидкость через обратный
клапан тормозного клапана КТ2 и гидрозамок ЗМ9 поступает в поршневую полость
гидроцилиндра Ц19 подъема стрелы. Для опускания стрелы золотник переводится в
нижнее положение, рабочая жидкость поступает в штоковую полость гидроцилиндра и
одновременно — в линию управления тормозного клапана КТ2, гидрозамка ЗМ9,
которые открываются, пропуская рабочую жидкость из поршневой полости на слив и
обеспечивая стабильный режим скорости опускании стрелы. Наибольшее давление в
системе при телескопировании секций стрелы, вращении поворотной части, подъеме
(опускании) стрелы ограничивается предохранительным клапаном КПЗ, настройка
которого не должна превышать 17,5 МПа (175 кгс/см2).
Включение
подъема (опускания) груза на обеих лебедках производится золотниками гидрораспределителя
Р10. При подъеме груза главной лебедкой левый золотник гидрораспределителя Р10
должен быть установлен в верхнее положение. Рабочая жидкость от насоса НА2
через вращающееся соединение СВ, гидрораспределитель Р10, обратный клапан
тормозного клапана КТ3 поступает в гидромотор Д3 и одновременно в размыкатели
Ц16, Ц17 — тормоз размыкается, и вал гидромотора вращается.
Опускание
груза происходит при переводе золотника гидрораспределителя Р10 в нижнее
положение. При этом гидромотор Д3 вращается в противоположную сторону.
Тормозной клапан обеспечивает стабильную скорость опускания груза. Работа
вспомогательной лебедки аналогична описанной работе главной лебедки.
Регулируемый гидромотор Д3 главной лебедки позволяет производить ускоренный
польем (опускание) груза. Для уменьшения угла наклона блока цилиндров
гидромотора и выполнения ускоренного перемещения крюка необходимо включить
электрическое управление гидрораспределителя Р7, что соответствует верхнему
положению, и плавно включить золотник гидрораспределителя Р10 на выполнение
операции.
При этом
рабочая жидкость от напорной магистрали через гидрораспределитель Р7 поступает
к золотнику сервоуправления гидромотора, который соединяет поршневую полость
гидроцилиндра управления гидромотором с напорной магистралью. При выдвижении
поршня связанный с ним блок цилиндров устанавливается на минимальный угол
наклона, уменьшая тем самым потребный объем рабочей жидкости и увеличивая
частоту вращения вала гидромотора.
При
выключенном электромагните гидрораспределителя Р7 (нижнее положение) блок
цилиндров гидромотора устанавливается на максимальный угол наклона. Наибольшее
давление в системе при подъеме (опускании) груза ограничивается
предохранительным клапаном КП6, настройка которого не должна превышать 17,5 МПа
(175 кгс/см2). Вентили ВН4 и ВН5 предназначены для соединения
напорной и сливной магистралей при проверке тормоза грузовой лебедки и для
опускания груза при выходе из строя привода грузовой лебедки и двигателя шасси.
Двухнасосная
гидравлическая схема позволяет производить совмещение рабочих операций путем
одновременного включения золотников гидрораспределителей Р9 и Р10.
1.
Расчёт приводов
грузовой лебёдки и механизма поворота показан выше.
2.
Расчёт
гидроцилиндра подъёма стрелы.
Расчёт производится по
методике представленной в [4].
Исходные данные.
Нагрузка на штоке
гидроцилиндра R=450000 Н.
Номинальное давление
насоса
=16 МПа.
Ход поршня
.
Расчёт сводится к
определению геометрических размеров поршня и штока;
Нагрузка на штоке:
,(5.1)
где
- площадь поршня в рабочей полости
гидроцилиндра;
0,9
– механический КПД гидроцилиндра;
Имеем:
0,03125
.
Диаметр поршня:
=
0,199 м.
Диаметр штока:
0,8D=0.159 м.
Стандартные значения
диаметров:
диаметр поршня = 200мм.
диаметр штока = 160мм.
Расчёт давления.
Давление для преодоления
полезной нагрузки:
=
14 МПа.
Давление для преодоления
потерь на трение:
,
(5.2)
где
- сила трения в гидроцилиндре (в
предположении резиновые уплотнения);
0,08
– коэффициент пропорциональности;
Подставим:
1,15
МПа.
Суммарное давление,
подведённое в рабочую полость гидроцилиндра:
(5.3)
0
– давление слива рабочей жидкости;
Получим:
14+1,15 = 15,15 МПа.
Вывод: гидроцилиндр
совместно с выбранным ранее гидромотором 210.20 сможет обеспечить нормальный
подъём стрелы с грузом.
II. Исследовательская часть
Задача:
Провести анализ дефектов,
возникающих на автомобильных кранах, эксплуатирующихся в Калужской области.
Разработать систему классификации и кодирования дефектов автомобильных кранов.
Подробная классификация
дает возможность найти наиболее распространенные дефекты, характерные для
каждого типа кранов. А анализ полученных результатов дает возможность
разработать методы по предупреждению возникновения дефектов, по диагностике
крана во время его эксплуатации.
После проведения
классификации, полученные дефекты подвергаем кодировке. Кодировка дефектов
облегчает создание электронного банка данных. Банка данных, позволяет
рационально организовать, компактно хранить и оперативно использовать
разнообразную информацию обо всех рассмотренных кранах.
В процессе эксплуатации
кранов их металлические конструкции подвергаются интенсивному воздействию
различных физико-химических процессов, приводящих к физическому износу,
коррозии, образованию трещин, остаточным деформациям. Физический износ
стимулирует рост динамических нагрузок. Их интенсивность определяет величину и
скорость накопления повреждений, приводящих к частичной, а затем и к полной
утрате работоспособности конструкций. Особо остро эта проблема касается
грузоподъемных машин, отработавших свой срок службы.
Грузоподъемные машины,
отработавшие нормативный срок службы, подвергаются экспертному обследованию
(диагностированию), проводимому специализированными организациями в
соответствии с нормативными документами. По результатам обследования
оформляется акт обследования с заключением комиссии и приложениями, включающими
информацию об объекте обследования, его владельце, о комиссии, проводящей
обследование, о фактических условиях использования ГПМ, их общем состоянии и
состоянии отдельных узлов на момент обследования, о количестве дефектов с их
классификацией, о характере работ, выполняемых ГПМ, результатах статических и
динамических испытаний и т.д.
В Калужской области
экспертное обследование кранов производит фирма ООО «КРАНМОНТАЖ». После
обследования комиссия, как известно, составляет акт (ЗАКЛЮЧЕНИЕ ЭКСПЕРТИЗЫ
ПРОМЫШЛЕННОЙ БЕЗОПАСНОСТИ на автомобильный кран), в который помимо выше
перечисленных пунктов входит ведомость дефектов, обнаруженных на кране. Пример
такой ведомости приведен на странице 3.
Из этой ведомости можно
узнать паспортные данные крана, а также, что важнее наименование узла
(элемента), в котором был обнаружен дефект; описание самого дефекта и еще
дается заключение о необходимости и сроках устранения дефектов.
ВЕДОМОСТЬ ДЕФЕКТОВ
Тип грузоподъемной
машины: КС-4572
Зав. № 354 , Рег. №
К-373к ,
Изготовленной в 1985 г
на Галичском автокрановом заводе и
принадлежащей ОАО
«ПЗБФ».
|
Наименование узла, элемента
|
Описание дефекта
|
Заключение о необходимости и сроках
устранения дефектов
|
|
1
|
2
|
3
|
Неповоротная рама.
Опорно-поворотное устройство.
Грузовой канат.
Механизм поворота.
Гидрооборудование.
Крюковая подвеска.
Прочее.
|
1.
Трещины по
металлу, расслоение металла.
2.
Перекос
поворотных обойм по отношению к неподвижному венцу вследствие износа дорожек
катания полуобойм до 6 мм при допуске 5 мм.
3.
Состояние
неработоспособное (обрывы проволок, механический износ).
4.
Ослаблено
крепление редуктора.
5.
Самопроизвольное
опускание стрелы.
6.
Скол блока.
7.
Отсутствует на
крюке предохранительный замок.
8.
Отсутствует
таблица с указанием рег. номера, грузоподъемности и даты проведения
испытаний.
|
До пуска в работу провести
капитально-восстановительный ремонт или замену.
До пуска в работу провести
капитально-восстановительный ремонт или замену.
Устранить до пуска в работу.
Устранить до пуска в работу.
Устранить до пуска в работу.
Устранить до пуска в работу.
Устранить до пуска в работу.
|
Председатель комиссии: Рахаев
В.В.
(2 уровень, удостоверение
№ 28П-22 от 22.12.00г.)
Члены комиссии: Петров
Р.Н.
(2 уровень, удостоверение
№ 28П-23 от 22.12.00г.)
Шестопалов И.Н.
(2 уровень, удостоверение
№ 28П-24 от 22.12.00г.)
Гришин А.А.
(2 уровень, удостоверение
№ 28П-25 от 22.12.00г.)
Рассмотрим ведомости
дефектов 20 различных типов автомобильных кранов (280 кранов). Проанализировав
эти ведомости, выделим зоны, узлы автомобильного крана в которых возникают
дефекты. На рис. 6.1 приведен чертеж автомобильного крана и цифрами обозначены
соответствующие узлы.
Рис 6.1. Автомобильный
кран.
На рисунке обозначены
цифрами:
1.
Металлоконструкция.
2.
Приборы
безопасности.
3.
Канато-блочная
система.
4.
Механизмы.
5.
Грузозахватные
приспособления.
6.
Гидрооборудование.
Но данное деление можно
считать условным, так как оно достаточно крупное. К примеру, под
металлоконструкцией подразумевается: поворотная платформа, не поворотная
платформа, стрела; под гидрооборудованием - гидрооборудование стрелы и
аутригеров и т.д.
После анализа всех
дефектов, которые были обнаружены на рассматриваемых кранах, составим сводную
таблицу. В таблицу вошли следующие данные:
- тип крана.
- грузоподъемность.
- заводской и
регистрационные номера.
- завод изготовитель.
- год выпуска и дата
обследования.
- организация владелец
крана.
- основные дефекты.
В таблице № 6.1 приведены
наименования дефектов, обнаруженных на кранах, а также частота встречаемости
дефекта.
Таблица № 6.1.
|
Наименование дефекта
|
Частота встречаемости дефекта
|
|
МЕТАЛЛОКОНСТРУКЦИЯ
|
|
Состояние окраски
неудовлетворительное.
|
74
|
|
Выработка отверстий под оси опорных
роликов на корневой секции стрелы и оголовке.
|
5
|
|
Выработка отверстий под пальцы
двуногой стойки и пяты стрелы.
|
2
|
|
Ослаблено крепление
опорно-поворотного устройства
|
19
|
|
Состояние неповоротной платформы
неработоспособное
|
7
|
|
Состояние поворотной платформы
неработоспособное.
|
1
|
|
Состояние корневой секции стрелы
неработоспособное.
|
1
|
|
Выработка отверстий под оси
аутригеров.
|
3
|
|
Деформация оголовка стрелы в месте
опирания на опорные ролики.
|
2
|
|
Отклонение от прямолинейности оси
стрелы.
|
2
|
|
Выработка отверстий под оси
соединения корневой секции и оголовка.
|
2
|
|
Выработка отверстий под оси
соединения стрелы и стоек стрелы.
|
1
|
|
Отсутствуют косынки в местах
прилегания опорного кольца крепления опорно-поворотного устройства.
|
1
|
|
Коррозионный износ до 15% при
допуске 10%.
|
1
|
|
Трещины по сварным швам опорной
рамы
|
1
|
|
Трещины по сварным швам и металлу
на неповоротной платформе
|
97
|
|
Трещины по усиливающим косынкам на
неповоротной платформе
|
2
|
|
Отрыв упора от запрокидывания
стрелы
|
1
|
|
Разрыв сварного шва и трещина по
сварному шву на поворотной платформе
|
25
|
|
Неработоспособное состояние стрелы
|
2
|
|
Вздутие закрытой полости (стрела)
|
3
|
|
Вздутие верхнего листа корневой
секции стрелы
|
3
|
|
Износ полок нижних уголков оголовка
стрелы
|
2
|
|
Деформация вертикальных и
горизонтальных листов
|
8
|
|
Изогнутость оголовка стрелы (из
плоскости стрелы)
|
1
|
|
Деформация аутригеров
|
14
|
|
Деформация раскосов стрелы
|
29
|
|
Трещина по основному металлу
подшипниковой обоймы
|
1
|
|
Трещины по сварным швам на оголовке
стрелы
|
5
|
|
Опорно-поворотное устройство не
работает
|
2
|
|
Деформация двуногой стойки
|
11
|
|
Деформация поперечины стойки стрелы
|
8
|
|
Деформация несущего пояса оголовка
стрелы
|
2
|
|
Деформация торцевой пластины на
оголовке стрелы
|
9
|
|
Деформация нижнего правого пояса
корневой секции стрелы
|
6
|
|
Деформация нижнего левого пояса
корневой секции стрелы
|
5
|
|
Деформация верхнего левого пояса
корневой секции стрелы
|
2
|
|
Деформация правого нижнего пояса
оголовка стрелы
|
5
|
|
Местные деформации нижней стены
корневой секции стрелы
|
1
|
|
Трещины по сварным швам корневой
секции стрелы
|
7
|
|
Деформация левого нижнего пояса
оголовка стрелы
|
3
|
|
Деформация поперечины нижней стены
корневой секции стрелы
|
3
|
|
Состояние корневой секции стрелы
неработоспособное
|
1
|
|
Перекос поворотных обойм по
отношению к неподвижному венцу
|
16
|
|
Ослаблены болтовые соединения
опорно-поворотного устройства
|
76
|
|
ПРИБОРЫ БЕЗОПАСНОСТИ
|
|
Концевой выключатель на подъем стрелы
не работает
|
111
|
|
Приборы безопасности не установлены
|
27
|
|
Концевой выключатель на подъем
крюка не работает
|
115
|
|
Отсутствует защита крана от
опасного напряжения
|
159
|
|
Ограничитель верхнего положения
стрелы не работает
|
7
|
|
Прибор координатной защиты
отсутствует
|
1
|
|
Отсутствует переносное заземление
крана
|
1
|
|
Ограничитель натяжения грузового
каната в транспортном положении не работает
|
21
|
|
ОГП не работает
|
164
|
|
Датчик выдвижения стрелы крана
неисправен
|
6
|
|
Состояние указателя наклона крана
неработоспособное
|
96
|
|
Состояние указателя вылет
грузоподъемность неработоспособное
|
46
|
|
Концевой выключатель реверса не
работает
|
28
|
|
Состояние электроразводки
неработоспособное
|
9
|
|
Креномер установочный отсутствует
или не работает
|
56
|
|
Сигнализатор крена отсутствует
|
17
|
|
КАНАТО-БЛОЧНАЯ СИСТЕМА
|
|
Неправильная запасовка грузового каната
в клиновой зажим на крюковой подвеске.
|
18
|
|
Неправильная запасовка каната в
клиновой зажим на оголовке стрелы
|
2
|
|
Неправильная запасовка стрелового
каната в клиновой зажим на поворотной платформе
|
1
|
|
Неправильная запасовка грузового
каната в коуш на оголовке стрелы
|
3
|
|
Скол реборд обводных блоков
|
3
|
|
Скол блока на крюковой подвеске
|
22
|
|
Износ зева крюка крюковой обоймы
более 10%.
|
1
|
|
Скол блока на оголовке стрелы
|
50
|
|
Перегиб грузового каната в клиновом
зажиме
|
1
|
|
Отсутствует вращение опорных
роликов оголовка стрелы
|
28
|
|
Состояние смазки канатов
неудовлетворительное
|
8
|
|
Состояние растяжек стрелы
неработоспособное
|
10
|
|
На оголовке стрелы отсутствует
планка от схода грузового каната с обводных блоков
|
4
|
|
Состояние грузового каната
неработоспособное
|
103
|
|
Состояние стрелового и грузового
каната неработоспособное (многочисленные обрывы проволок)
|
71
|
|
МЕХАНИЗМЫ
|
|
Повышенный износ зубьев шлицевых
соединений
|
12
|
|
Повышенный износ зубьев редуктора
механизма поворота
|
1
|
|
Состояние пневмоклапана привода
сцепления неработоспособное
|
1
|
|
Повышенный осевой и радиальный люфт
в подшипниках редуктора механизма поворота.
|
2
|
|
Ослаблено крепление редуктора
механизма поворота
|
82
|
|
Тормоз не отрегулирован механизма
поворота
|
9
|
|
Увеличенная скорость подъема не
работает
|
2
|
|
Повышенный боковой зазор штока
гидроцилиндра выдвижения оголовка
|
1
|
|
Износ тормозной накладки одного
тормоза.
|
2
|
|
Износ зубьев открытой передачи.
|
1
|
|
Состояние соединительной муфты
неработоспособное
|
3
|
|
Тормоз механизма подъема стрелы не
работает
|
12
|
|
ГРУЗОЗАХВАТНЫЕ ПРИСПОСОБЛЕНИЯ
|
|
На крюке отсутствует
предохранительный замок
|
15
|
|
Выработка отверстия под ось
траверсы крюка
|
2
|
|
На стропах многочисленные обрывы
проволок
|
1
|
|
ГИДРООБОРУДОВАНИЕ
|
|
Повреждение покрытия гидрошлангов
|
76
|
|
Утечка масла из гидроцилиндра
подъема стрелы
|
36
|
|
Утечка масла из гидроцилиндров
аутригеров
|
25
|
|
Самопроизвольное опускание
аутригеров
|
4
|
|
Самопроизвольное опускание стрелы
|
9
|
|
Разрушение обоймы шарнира
гидроцилиндра подъема в узле крепления к стреле
|
3
|
|
Отсутствуют распорные втулки узла
крепления гидроцилиндра к стреле
|
1
|
|
Разрушение втулок подшипника
гидроцилиндра подъема стрелы в месте соединения с поворотной платформой
|
2
|
|
ПРОЧЕЕ
|
|
Отрыв стопорной планки и отсутствие
фиксации оси цилиндра подъема стрелы
|
1
|
|
Отсутствует вращение опорных
роликов корневой секции стрелы.
|
5
|
|
Нарушено остекление кабины
крановщика
|
15
|
|
Состояние кабины крановщика
неработоспособное
|
2
|
|
Отсутствует таблица с указанием
рег. номера, грузоподъемности и даты проведения испытаний.
|
123
|
По полученным данным,
можно построить диаграммы. Каждая диаграмма наглядно отображает, какие дефекты
характерны для определенного узла крана, и на каком количестве кранов
встречается каждый дефект.
Дефекты
металлоконструкции
Дефекты канато-блочной
системы
Дефекты приборов
безопасности
Дефекты механизмов.
Дефекты
гидрооборудования.
Прочие дефекты.
Большинство дефектов,
обнаруженных на кранах, связано с тем, что краны отработали положенный срок
службы. Но существует ряд дефектов возникших по вине людей эксплуатирующих
кран. Это в основном эксплуатация при тяжелых условиях работы, не
соответствующих паспортным данным.
После классификации введем
кодировку обнаруженных дефектов. Пример кодировки показан на следующей
странице.
Кодировка дефектов
довольно проста: например, МК-С-I-7,
где
МК – дефект
металлоконструкции.
С – дефект в стреле.
I – дефект в корневой секции стрелы.
7 – наименование дефекта:
деформация раскосов.
Приборы безопасности
Приборы безопасности
являются важным элементом необходимым для правильной работы крана. В случае
выхода из строя какого-либо прибора может возникнуть аварийная ситуация.
Среди рассмотренных
дефектов приборов безопасности встречаются следующие:
Табл. № 7.1
|
Наименование дефекта
|
Частота встречаемости дефекта
|
|
Приборы безопасности
|
|
Концевой выключатель на подъем стрелы
не работает
|
111
|
|
Приборы безопасности не установлены
|
27
|
|
Концевой выключатель на подъем
крюка не работает
|
115
|
|
Отсутствует защита крана от
опасного напряжения
|
159
|
|
Ограничитель верхнего положения
стрелы не работает
|
7
|
|
Ограничитель натяжения грузового
каната в транспортном положении не работает
|
21
|
|
ОГП не работает
|
164
|
|
Датчик выдвижения стрелы крана
неисправен
|
6
|
|
Состояние указателя наклона крана
неработоспособное
|
96
|
|
Состояние указателя вылет
грузоподъемность неработоспособное
|
46
|
|
Концевой выключатель реверса не
работает
|
28
|
|
Состояние электроразводки
неработоспособное
|
9
|
|
Креномер установочный отсутствует
или не работает
|
56
|
|
Сигнализатор крена отсутствует
|
17
|
|
|
|
Полученные данные
наглядно представлены на диаграмме.
Диаграмма дефектов
приборов безопасности
Из
диаграммы видно, что на 27 кранах приборы безопасности не установлены вообще.
На большом количестве кранов отсутствует ограничитель грузоподъемности, являющимся
основным элементом необходимым для безопасной работы крана. Рассмотрим приборы
и устройства безопасности, установленные на кране КС-4572.
На кране
КС-4572 установлены следующие приборы и устройства безопасности: ограничитель
грузоподъемности, концевые выключатели, упоры, предохранительные краны,
указатели, звуковой сигнал. Ограничитель грузоподъемности предназначен для
отключения при работе с недопустимыми грузами грузовой и вспомогательной
лебедок, механизма поворота, механизмов подъема и телескопирования стрелы.
Ограничитель
грузоподъемности предназначен для предупреждения и автоматического отключения
механизмов крана при работе с недопустимыми по массе грузами. В комплект
ограничителя грузоподъемности (рис. 7.1) входят: суммирующий механизм 4, установленный
на стреле 2, механизм ввода данных длины стрелы 1, механизм ввода
угла стрелы, состоящий из тяги 7, закрепленной на рычаге 6 суммирующего
механизма 4 и на рычаге 20 кронштейна 15, установленного
на поворотной раме 8, а также релейный блок 14, датчик усилий 10
и аппаратура сигнализации (миллиамперметр, красная и зеленая лампы),
расположенная на щитке приборов.
Для
нагружения датчика усилий применен гидротолкатель 9. На крышке релейного
блока 14 установлены галетный переключатель 11 (переключатель характеристик),
предохранитель 12 и выключатель 13. Для передачи данных о
преобразованной длине стрелы в показывающий прибор указателя грузоподъемности
применен канат 5, проложенный по блокам 3, 18, 19.
Блок 18
закреплен на кронштейне 17, установленном на опоре 16. Такая
конструкция позволяет поворачиваться блоку 18 вокруг оси стрелы при
подъеме (опускании) стрелы.
Рис. 7.1
Ограничитель грузоподъемности крана КС-4572
В
ограничителе крана КС-4572 используется принцип, основанный на сравнении усилия
с предельно допустимой величиной. Измеряемое и допустимое усилия в данном
ограничителе преобразуются датчиками в электрические сигналы (напряжения) и
сравниваются при помощи поляризованного реле. При превышении предельно
допустимой величины усилия контакты реле размыкают цепь питания
электромагнитов. Одновременно отключается сигнальная зеленая лампа и включается
красная аварийная лампа.
Суммирующий
механизм (рис. 7.2) предназначен для выдачи электрического сигнала в
зависимости от длины и угла наклона стрелы для сравнения с электрическим
сигналом, выдаваемым датчиком усилий. Суммирующий механизм состоит из корпуса 14,
который на кронштейне 13 устанавливается на стреле крана. На цапфе 9 корпуса
14 устанавливается барабан 10, который поводком 8 связан
с валиком 24. На резьбовую часть валика 24 навернута гайка 18,
несущая на себе вилку 23, которая входит в кольцевую проточку
втулки 22. Втулка 22 на шпонке 20 посажена на валик 15 и
несет на себе кулачок 17.
На
валике 15 установлена шестерня 11 сцепленная с зубчатым сектором 12,
закрепленным на валике 16, на другом конце которого на шпонке
посажен рычаг 19. На оси 4 установлен трехплечий рычаг 3. На
одном плече рычага завальцован шарик, на втором установлена тяга 2, соединяющая
его через поводок 1 с осью потенциометра 7, а к третьему —
подсоединена пружина 5, поднимающая шарик к поверхности кулачка 17. Гайка
18 канатом 6, проложенным по системе блоков, соединена с рычагом
указателя грузоподъемности. Для стопорения валиков 15, 24 предусмотрены
болты 21 и 25.
Выдвижение
(уменьшение длины) стрелы через канаты механизма ввода длины стрелы приводит к
вращению барабана 10, который через поводок 8 передает
вращение валику 24. Вращение валика 24 вызывает перемещение вдоль
оси гайки 18, тем самым, воздействуя на втулку 22 с кулачком 17.
Одновременно перемещение гайки 18 через канат 6 вызывает
отклонение рычага указателя грузоподъемности.
При
подъеме (опускании) стрелы поворот рычага 19 через зубчатый сектор 12
и шестерню 11 приводит к повороту кулачка 17. Перемещение и
поворот кулачка 17 приводят к повороту трехплечего рычага 3, поводка
1 и к перемещению щетки потенциометра, который выдает в электрическую
цепь ограничителя грузоподъемности соответствующий электрический сигнал.
Указатель
грузоподъемности позволяет определить грузоподъемность крана при работе по
следующим грузовым характеристикам: «Работа на опорах», «Телескопирование»,
«Работа без опор». Определение грузоподъемности производится на шкалах «Работа
на опорах» и «Телескопирование» — по перекрестию вертикального и
горизонтального визиров; на шкалах «Работа без опор» по горизонтальному визиру;
на шкалах «Длина стрелы» — по вертикальному визиру.
Рис. 7.2
Суммирующий механизм ограничителя грузоподъемности крана КС-4572.
На рис.
7.3 изображено положение визиров, что соответствует вполне определенному
положению стрелы. В указатель грузоподъемности входит прибор 2, установленный
на стойке кабины 8. В приборе 2 горизонтальный визир 9 через
систему тяг и рычагов, тягу 4 связан со стрелой 1, а двойной
вертикальный визир 10 через тягу 3, закрепленную на рычаге 11,
и валик 12 с рычагом 13. Преобразованная длина стрелы от
суммирующего механизма, расположенного на стреле 1, передается на
поворотную платформу канатом 6, один конец которого закреплен на гайке
суммирующего механизма, а другой — на рычаге 13. Перемещение визиров 10
длины стрелы при уменьшении длины стрелы происходит под действием пружины 5.
Рис. 7.3
Указатель грузоподъемности крана КС-4572.
Ограничитель
подъема крюка (рис. 7.4) предназначен для автоматического отключения механизма
грузовой лебедки при подъеме крюковой подвески на предельную высоту и
установлен на оголовке стрелы. На основании 6 установлен конечный
выключатель 5. Грузик 3 подвешен на неподвижной ветви грузового
каната с помощью троса 4.
Под
действием массы грузика постоянно замкнуты контакты выключателя.
При
подходе крюковой подвески к головке стрелы приподнимается грузик 3, контакты
выключателя размыкаются и обесточивают электромагнит парораспределителя,
механизм грузовой лебедки останавливается.
Рис. 7.4
Ограничитель подъема крюка крана КС-4572.
ІІІ. Организационно-экономическая часть
Общая
технико–экономическая характеристика объекта.
Автомобильный
гидравлический кран грузоподъёмностью 16 тонн, на специальном шасси,
предназначен для погрузочно-разгрузочных и строительно-монтажных работ в
различных отраслях народного хозяйства.
Новый кран по сравнению с
автомобильным гидравлическим краном
КС-45721 на базе шасси
Урал-4320 имеет новое отличающееся шасси
КамАЗ-53228. Мощность
двигателя увеличилась с 230 л.с. до 260 л.с.
Снизилась и цена шасси.
Применение нового крана,
имеющего более высокую несущую способность, значительно повышает
производительность новой техники.
Для экономического
сравнения в качестве базового варианта (БВ) принимаем автомобильный кран
аналогичного типа КС-45721 на базе шасси
Урал-4320.
Кран КС-45721 –
гидравлический, с трёхсекционной телескопической стрелой.
Цель анализа – показать,
что приобретение нового автомобильного крана КС-4572 на базе шасси КамАЗ-53228
даст гораздо больший экономический эффект, чем приобретение крана на базе шасси
Урал-4320.
Исходные данные:
1.
Ресурс Т (час)
БВ . . . . . . . . . . .
. . . . . . . . . . . . . . . . . . . . . . . . . . 8000
НВ . . . . . . . . . . .
. . . . . . . . . . . . . . . . . . . . . . . . . . 8000
2.
Коэффициент
перевода
3.
Наибольшая
скорость подъёма
(опускания) груза V (м/мин)
БВ . . . . . . . . . . .
. . . . . . . . . . . 8,5
НВ . . . . . . . . . . .
. . . . . . . . . . . . 8,5
4.
Наибольшая
частота вращения
поворотной части n (об/мин) (БВ и НВ) . . . . . . . .
1,75
5. Срок службы крана Т
(лет) . . . . . . . . . . . . . 10
6. Цена шасси Ц
(руб.)
БВ . . . . . . . . . . .
. . . . . . . . . . . 760000
НВ . . . . . . . . . . .
. . . . . . . . . . . 690000
7. Оптовая цена Ц (руб.)
БВ . . . . . . . . . . .
. . . . . . . . . . . . 2350000
НВ . . . . . . . . . . .
. . . . . . . . . . . . 2280000
8. Коэффициент k
. . . . . . . . . . . . . . . . . .
. 1,25
8.1. Расчет количества
машино-часов работы техники в год по сравниваемым вариантам.
Годовой фонд времени:
Т
=
(Маш ч/год), [10, стр.28]
где
= 247 дней – годовой фонд работы
техники.
=
7,75 час – средняя продолжительность смены для техники [10,стр. 28]
=
1,33 – коэффициент сменности работы техники [10,стр. 28].
-
простой на всех видах технического обслуживания и ремонта.
( дн /маш),
где
- продолжительность пребывания техники
на техобслуживании или
на ремонте, (дни).
-
продолжительность ожидания ремонта; доставка в ремонт и обратно,
(дни).
-
количество ремонтов или технических обслуживаний за
- межремонтный
цикл, (маш/час).
-
число разновидностей ремонтов и техобслуживаний за межремонтный цикл.
Время на доставку в
ремонт и его ожидание для 10 дней [2, стр.79].
Значения
из [2,стр.131] .
Количество текущих
ремонтов для БВ и НВ.
1
2
Количество
техобслуживаний ТО-1 и ТО-2 определяются по формулам:
;
;
где
- средний ресурс до первого капитального
ремонта, (моточасов)
-
периодичность ТО, час.
;
где
- ресурс до первого капитального
ремонта, (моточасов)
- коэффициент перевода.
Для БВ получим:
=
8000
1,25=10000 моточасов.
Для НВ получим:
= 8000
1,25=10000
моточасов.
Межремонтный цикл
,
где
- коэффициент перевода.
Для БВ и НВ:
=33333
маш. час.
Для БВ принимается
значение
в соответствии с данными [2 стр.261].
100
час.
300 час.
600
час.
Для НВ значение
принимается в соответствии с [10
стр.99].
150 час.
300
час.
= 600 час.
Для БВ количество
ремонтов равно:
12
17
67
Для НВ количество
ремонтов равно:
12
17
33
Простой на всех видах
технического обслуживания для БВ:
0,006
дн / машчас.
Простой на всех видах
технического обслуживания для НВ:
0,005
дн / машчас.
Годовой фонд времени для
БВ:
2398
(маш ч/год).
Годовой фонд времени для
НВ:
2422
(маш ч/год).
Полученные данные для БВ
и для НВ сводим в таблицу № 8.1.
Таблица № 8.1.
|
Элементы затрат времени
|
Варианты
|
|
БВ
|
НВ
|
|
Простой на всех видах технического
обслуживания и ремонта, дн/машчас.
|
0,006
|
0,005
|
|
Годовой фонд времени, (маш ч/год).
|
2398
|
2422
|
Из таблицы видно, что
простой на ремонте для БВ больше, чем для НВ. А это значит, что количество
машино-часов работы крана в год по НВ больше, чем по БВ.
8.2. Расчет годовой эксплуатационной
производительности машин по сравниваемым вариантам.
Годовая эксплуатационная
производительность определяется по формуле:
,
где
- эксплуатационная среднечасовая
производительность.
-
коэффициент, учитывающий простои в работе техники, неучтённые в часовой
эксплуатационной производительности.
-
количество машино-часов работы техники в году.
,[10, стр. 94]
где
- часовая эксплуатационная
производительность БВ при выполнении
i - ого вида работ.
5,7 т/машч.
3,4
т/машч.
1,9 т/машч.
-
доля занятости крана на i –
том виде работ [10, стр. 94].
0,7;
0,1;
0,2.
-
продолжительность рабочего цикла БВ и НВ при выполнении
i – ого вида работ, ч.
,
- доля времени, затрачиваемая на работу
и передвижение.
=
0,7;
= 0,3;
и
- средние эксплуатационные скорости
передвижения БВ и НВ.
(
)
.
-
коэффициент, учитывающий изменение технической производительности:
,
где
= 1,0 – коэффициент, учитывающий
изменение подстрелового пространства.
=
1,44 – коэффициент, учитывающий изменение производительности крана.
=1,44
, для расчёта принимается 
Эксплуатационная
среднечасовая производительность для БВ и НВ равна
=5,04
Годовая эксплуатационная
производительность для БВ:

=
8471
т/год
Годовая эксплуатационная
производительность для НВ:
9155 т/год.
Полученные данные для БВ
и для НВ сводим в таблицу № 8.2.
Таблица № 8.2.
|
Элементы эксплуатационной
производительности.
|
Варианты
|
|
БВ
|
НВ
|
|
Среднечасовая производительность,
т/машчас.
|
5,04
|
5,04
|
|
Годовая производительность,
(т/год).
|
8471
|
9155
|
Из таблицы видно, что
среднечасовая производительность для БВ и НВ одинаковая, но за счет того, что
годовой фонд рабочего времени для НВ больше, получаем, что и годовая
производительность для НВ больше.
Расчет капитальных затрат
по сравниваемым вариантам.
В составе капитальных
затрат учитываются: затраты, связанные с созданием, производством, доставкой
техники потребителю и её монтажом на месте эксплуатации, плюс сопутствующие
капитальные вложения у потребителя, связанные с эксплуатацией техники.
(руб./шт.), [10, стр.34]
где
- суммарные капитальные затраты;
-
коэффициент, учитывающий затраты на доставку техники
=1.09
- оптовая цена крана, руб.
Для БВ:
-
оптовая цена равная 2350000 рублей.
Капитальные затраты для
БВ:
=2350000
1.09 = 2561500 руб.
Для НВ:
Принимается оптовая цена,
получаемая вычитанием разницы в ценах на используемое шасси.
=2350000-70000=2280000
руб.
Капитальные затраты для
НВ:
=
2280000
1,09 = 2485200 руб.
Полученные данные для БВ
и для НВ сводим в таблицу № 8.3.
Таблица № 8.3.
|
Элементы затрат
|
Варианты
|
|
БВ
|
НВ
|
|
Оптовая цена, руб.
|
2350000
|
2280000
|
|
Капитальные затраты, руб.
|
2561500
|
2485200
|
Так как оптовая цена по
НВ меньше, чем по БВ, то и капитальные затраты по НВ меньше на 76300 руб.
Расчет эксплуатационных
затрат по сравниваемым вариантам.
Общие суммарные
эксплуатационные затраты.
+
+
+
, [10,
стр.46];
где
- затраты на заработную плату;
-
затраты на амортизационные отчисления;
-
затраты на топливо;
-
затраты на расходные материалы;
Расчет затрат на
заработную плату по сравниваемым вариантам:
, руб./год.
где
= 1,105 – поправочный коэффициент к
тарифной ставке [10, стр.47];
=
1,26 – коэффициент, учитывающий налоговые отчисления[10, стр.47];
=
1,25 – коэффициент, учитывающий премии [10, стр.47];
=
35 руб. – часовая тарифная ставка [10, стр.47];
Т - годовой фонд времени,
маш ч/год.
Затраты на заработную
плату по БВ:
=
1,26
1,105
1,25
35
2398
= 146070 руб.
Затраты на заработную
плату по НВ:
1,26
1,105
1,25
35
2422
= 147532 руб.
Полученные данные для БВ
и для НВ сводим в таблицу № 8.4.
Таблица № 8.4.
|
Элементы затрат
|
Варианты
|
|
БВ
|
НВ
|
|
Затраты на заработную плату, руб.
|
146070
|
147532
|
Затраты на заработную
плату по НВ больше, это связанно с тем, что годовой фонд времени по НВ больше,
чем по БВ.
Расчет амортизационных
отчислений по сравниваемым вариантам.
,
(руб./год), [10, стр.49]
где
8,5 – норма амортизации.
-
капитальные затраты на технику.
- коэффициент, учитывающий затраты
на амортизационные отчисления.
Амортизационные
отчисления для БВ:
239500
руб.
Амортизационные
отчисления для НВ:
232366 руб.
Полученные данные для БВ
и для НВ сводим в таблицу № 8.5.
Таблица № 8.5.
|
Элементы затрат
|
Варианты
|
|
БВ
|
НВ
|
|
Затраты на амортизационные
отчисления, руб.
|
239500
|
232366
|
Затраты на
амортизационные отчисления по НВ меньше. Это связано с тем, что капитальные
затраты по НВ меньше, чем по БВ.
8.4.3. Расчет затрат на
топливо по сравниваемым вариантам.
,
(руб./год), [10, стр.51]
где
- цена топлива за 1 литр,
= 11 руб./литр.
-
количество машино-часов работы техники на топливе за год.
- количество топлива, потребляемое
двигателем за час работы.
,[2, стр.52]
где
- номинальная мощность двигателя.
=
230 л.с.;
= 260 л.с.
-
удельный расход топлива;
-
коэффициент использования двигателя по мощности;
-
коэффициент, учитывающий изменение расхода топлива;
-
коэффициент использования двигателя по времени;
Удельный расход топлива
для БВ:
= 164 г/л.с. в час; [2, стр.122]
Удельный расход топлива
для НВ:
= 150 г/л.с. в час. [2, стр.16]
Коэффициент использования
двигателя по мощности для НВ и БВ:
=
0,25;
= 0,25;
Коэффициент, учитывающий
изменение расхода топлива для БВ и НВ:
1,0;
Коэффициент использования
двигателя по времени для БВ и НВ:
0,79
Количество топлива,
потребляемое двигателем за час работы для БВ:
1,03
230
164
1
0,79
0,25 = 7,6
Количество топлива,
потребляемое двигателем за час работы для НВ:
=
1,03
10
260
150
1
0,79
0,25 = 7,9
Затраты на топливо для
БВ:
1,1
11
7,6
2398 = 220520 руб.
Затраты на топливо для
НВ:
1,1
11
7,9
2422 = 231519 руб.
Полученные данные для БВ
и для НВ сводим в таблицу № 8.6.
Таблица № 8.6.
|
Элементы затрат
|
Варианты
|
|
БВ
|
НВ
|
|
Затраты на топливо, руб.
|
220520
|
231519
|
Затраты на топливо по НВ
больше, это связанно с тем, что годовой фонд времени по НВ больше, чем по БВ.
Расчет затрат на
расходные материалы по сравниваемым вариантам.
,
[10, стр.54]
где
=0,4 –коэффициент затрат на расходные материалы;
-
затраты на топливо;
Затрат на расходные
материалы по БВ:
0,4
220520=88208 руб.
Затрат на расходные
материалы по НВ:
=
0,4
231519=92607 руб.
Полученные данные для БВ
и для НВ сводим в таблицу № 8.7.
Таблица № 8.7.
|
Элементы затрат
|
Варианты
|
|
БВ
|
НВ
|
|
Затраты на расходные материалы,
руб.
|
88208
|
92607
|
Общие суммарные
эксплуатационные затраты:
Для БВ:
146070+239500+220520+88208
= 694298 руб.
Для НВ:

147532+232366+231519+92607 = 704024 руб.
Пересчитаем суммарные
эксплуатационные затраты учитывая, что НВ работает в году на 24 часа больше БВ.
Введём поправочный
коэффициент:
=2422/2398=1,01
При одинаковой выработке
машино-часов суммарные эксплуатационные затраты на БВ равны:
694298=701241 руб.
Полученные данные по
эксплуатационным затратам для БВ и НВ сводим в таблицу № 8.8.
Таблица № 8.8.
|
Элементы затрат
|
Варианты
|
|
БВ
|
НВ
|
|
Затраты на заработную плату, руб.
|
146070
|
147532
|
|
Затраты на амортизационные
отчисления, руб.
|
239500
|
232366
|
|
Затраты на топливо, руб.
|
220520
|
231519
|
|
Затраты на расходные материалы,
руб.
|
88208
|
92607
|
|
Общие суммарные эксплуатационные
затраты, руб.:
|
|
При не одинаковой выработке
машино-часов
|
694298
|
704024
|
|
При одинаковой выработке
машино-часов
|
701241
|
704024
|
Суммировав все затраты
получаем, что эксплуатационные затраты при одинаковой выработке машино-часов
для БВ меньше на 2983 руб., чем для НВ.
Расчет приведенных затрат
по сравниваемым вариантам.
, [10, стр.3], где
- капитальные затраты по
рассматриваемому варианту;
- эксплуатационные затраты по
рассматриваемому варианту;
Капитальные затраты для
БВ:
руб.
Капитальные затраты для
НВ:
руб.
Эксплуатационные затраты
для БВ:
руб.
Эксплуатационные затраты
для НВ:
руб.
Приведенные затраты для
БВ:
руб.
Приведенные затраты для
НВ:
руб.
Полученные данные по
приведенным затратам для БВ и НВ сводим в таблицу № 8.9.
Таблица № 8.9.
|
Элементы затрат
|
Варианты
|
|
БВ
|
НВ
|
|
Капитальные затраты, руб.
|
2561500
|
2485200
|
|
Эксплуатационные затраты, руб.
|
694298
|
704024
|
|
Приведенные затраты, руб.
|
3255798
|
3189224
|
Так как приведенные
затраты по НВ меньше, чем по БВ, то это значит, что НВ наиболее эффективнее.
Расчет годового
экономического эффекта.
,[10, стр.4], где
- приведенные затраты по БВ;
- приведенные затраты по НВ;
руб.
Вывод: новый
автомобильный кран дешевле рассмотренного аналога;
суммарные затраты на
новый кран ниже, чем на рассмотренный аналог, что на ряду с новым более мощным
и более скоростным шасси дает гораздо больший экономический эффект от
приобретения крана именно на новом шасси.
ІV. Производственная и экологическая безопасность
Обеспечение
безопасности труда при эксплуатации автомобильного крана КС-4572
Грузоподъёмные машины
являются устройствами повышенной опасности. При работе с краном на крановщика
могут воздействовать различные производственные факторы. Одни из них могут
привести к травме крановщика, последствием других являются различного типа
заболевания.
Безопасное состояние,
эксплуатируемого крана, должно удовлетворять двум условиям:
·
исключение
аварийной ситуации при проведении погрузочно-разгрузочных и транспортно –
складских работах;
·
предотвращение
воздействия на обслуживающий персонал опасных и вредных производственных
факторов при эксплуатации грузоподъёмной машины.
Выбор устройств
безопасности зависит от конструкции и условий эксплуатации конкретной машины. В
общем случае они делятся на четыре группы:
·
ограничение
скорости;
·
ограничение
перемещения;
·
ограничение
грузоподъёмности;
·
защита оператора.
Выбор технических средств
обеспечения безопасности труда при эксплуатации грузоподъёмных машин
осуществляется на основе выявления опасных и вредных производственных факторов,
характерных для технологического процесса перемещения грузов.
Все производственные
факторы регламентируются
ГОСТ 12.0.003-74. К
опасным производственным факторам можно отнести следующие:
·
движущиеся
элементы и механизмы крана;
·
перемещаемые
грузы;
·
используемые при
погрузочно-разгрузочных работах приспособления;
·
электрический
ток;
·
повышенная
температура поверхностей оборудования и др.
Вредными
для здоровья персонала производственными факторами являются:
·
повышенная или
пониженная температура воздуха рабочей зоны;
·
высокая
влажность;
·
повышенные уровни
шума, вибрации и др.
·
запыленность и
загазованность воздуха рабочей зоны.
Оценка механической
безопасности при эксплуатации автомобильного крана
Движущиеся машины и механизмы,
незащищённые подвижные элементы механизмов:
·
крюковая
подвеска;
·
поворотная
платформа;
·
валы гидромоторов
и редукторов;
·
вращающийся
барабан;
·
зубчатые колёса
представляют собой
опасный производственный фактор. Для исключения контакта человека с опасной
зоной применяются оградительные средства защиты: кожухи, щиты, решётки, сетки
на жёстком каркасе, корпуса гидромоторов и редукторов, а также предупреждающие
и указывающие плакаты. Все механизмы закрыты защитными кожухами или
приспособлениями, предусмотренными в конструкции самого крана и соответствующие Правилам Госгортехнадзора. С целью
безопасного доступа к механизмам на кране предусмотрены различные площадки и
лестницы.
Также при увеличении нагрузки на грузовые канаты выше допустимой, для
исключения натяга и обрыва каната при подъеме груза на недопустимую высоту
предусмотрен ограничитель высоты подъема. При подъеме груза должны применяться стропы, соответствующие
весу поднимаемого груза. С учётом числа ветвей и угла наклона строп, их следует
подбирать так, чтобы угол между их ветвями не превышал 90 градусов.
При
работе крана возникает возможность его опрокидывания из-за неправильной
установки. Поэтому необходимо соблюдать следующие условия:
·
устанавливать
стреловой кран на краю откоса или канавы можно при соблюдении определённых
расстояний, иначе откос должен быть укреплён. Так же не разрешается
устанавливать кран для работы на свеженасыпанном, неутрамбованном грунте и на
площадке с уклоном большим указанного в паспорте.
·
при необходимости
установки стрелового крана на дополнительные опоры, он должен устанавливаться
на все имеющиеся у него опоры. Под опоры должны подкладываться прочные и
устойчивые подкладки. Подкладки под опоры крана не должны быть случайными, а
являются его инвентарной принадлежностью.
Для предупреждения обслуживающего персонала, находящегося в
непосредственной близости от рабочей зоны крана, в конструкции предусмотрен
автоматический звуковой сигнал. Для того чтобы избежать, риска нанесения травмы
людям, находящимся в зоне работы крана имеется ряд правил, которые должен
выполнять крановщик:
·
подъём и
перемещение груза не должны производиться, если под грузом находятся люди.
·
не разрешается
опускать груз в автомашины при нахождении в её кузове людей.
·
запрещается
подъём и перемещение груза с находящимися на нем людьми.
Острые кромки, заусенцы и
шероховатость поверхностей изделий и оборудования представляют собой опасность
повреждения для крановщика и обслуживающего персонала, следовательно, они
применяют средства для исключения физического контакта с ними (применяются
ломы, строповка производится строповщиком в рукавицах). Не допускается
расположение рабочего места на значительной высоте относительно земли.
Для защиты посторонних
людей, территория, на которой работает кран, должна быть ограждена из-за
возможности нанесения им вреда перемещаемыми грузами и разрушающимися
конструкциями.
Оценка эргономических
характеристик условий труда крановщика при эксплуатации автомобильного крана
Эргономические условия
труда определяются совокупностью психофизиологических факторов, возникающих в
процессе трудовой деятельности.
Психофизиологические
опасные и вредные производственные факторы (по характеру действия делят на физические
и нервно-психологические перегрузки). Физические нагрузки делятся на
статические и динамические. Нервно-психологические нагрузки: умственное
напряжение, перенапряжение анализаторов, монотонность труда.
Физические и
нервно-психологические перегрузки приводят к быстрому утомлению, ослаблению
внимания, замедлению реакций.
Работа крановщика связана
с рабочей позой сидя. Энергетические затраты организма для поддержания такой
позы не большие, вследствие этого она является менее утомительной. В соответствии
с ГОСТ 12.1.005 - 88 она относится к легкой физической работе.
На рабочем месте
крановщика (в кабине) должен быть создан определенный микроклимат. Он
характеризуется температурой воздуха, его влажностью и скоростью движения.
Длительное воздействие на человека неблагоприятных условий резко ухудшает его
самочувствие, снижает производительность труда и приводит к заболеваниям. В связи с этим на рабочем месте должны обеспечиваться
допустимые нормы температуры, относительной влажности и скорости движения воздуха,
приведенные в таблице.
Допустимые показатели
микроклимата на рабочем месте оператора (по ГОСТ 12.1.005 - 88).
В кабине крановщика
органы управления - ручные и ножные. Предпочтительнее управление ручное, причем
выгоднее использовать регуляторы, которые приводятся в движение рукой к себе
или от себя. Для предотвращения дрожания руки и повышения точности движений
требуется определенный момент сопротивления рукоятки в пределах 3…16,7 Нм. Для
ножных педалей при полном их нажатии момент сопротивления должен составлять
20…80 Нм.
На кране предусмотрено
освещение кабины и поворотной платформы посредством светильников. Для освещения
рабочей территории применяется прожектор. Кабина крана отапливается
обогревателем, вентиляция осуществляется при помощи вентилятора.
Для уменьшения перегрузок
организма необходимо: повышать комфортность мест операторов, применять
вентиляцию (кондиционирование). Освещённость на рабочих поверхностях пульта и
рычагах управления должна быть не менее 20 лк. (ГОСТ 24378-80Е). Рабочее место
оператора должно обеспечивать возможность обзора за грузозахватным органом при
любом его расположении. При применении звуковой и световой сигнализации,
уменьшение шума достигается путем совершенствования технологических процессов.
Оценка пожаробезопасности
при эксплуатации автомобильного крана
На объектах, где
эксплуатируется автомобильный кран, существует высокая степень возникновения
пожароопасной ситуации. При возникновении пожара на
людей в основном воздействуют: открытый огонь, искры, повышенная температура
окружающей среды, предметов, токсичные продукты горения, дым, пониженная
концентрация кислорода, попадающие части строительных конструкций и т.д.
Для предотвращения такой
ситуации на этих объектах должны соблюдаться все правила техники безопасности.
Для своевременного устранения уже возникшего непредвиденного возгорания на
объектах должны быть предусмотрены средства борьбы с огнём. К таким средствам
относятся огнетушители и рукава с водяным питанием. Также для борьбы с огнём
может использоваться огнетушитель, входящий в комплект необходимых
принадлежностей автомобильного крана. Он также используется для тушения
электропроводки и электрооборудования крана.
Требования по обеспечению пожаробезопасности и соответствующие
мероприятия по ее обеспечению излагаются в ГОСТ 12.1.004- 91 «ССБТ.
Пожарная безопасность. Общие требования».
Для обеспечения пожаробезопасности вся аппаратура управления
размещена в герметизированном контейнере, электродвигатели всех механизмов
имеют степень защиты от внешней среды.
Оценка акустической
безопасности при эксплуатации автомобильного крана
Шум представляет собой
сочетание звуков различной частоты и интенсивности. Звуковые волны могут
представлять все частоты звуковых октав. Шум относится к психофизиологическим производственным
факторам. Шум отрицательно влияет на организм человека, и в первую очередь на
его центральную нервную и сердечно-сосудистую системы. Недопустимо, чтобы
возникала шумоутомляемость рабочих и окружающих людей.
Повышенный уровень шума
при работе зубчатых передач, подшипников качения, при вращении неуравновешенных
частей машины вызывает общее утомление организма человека, замедляет
психические реакции. Длительное воздействие шума снижает остроту слуха и
зрения, повышает кровяное давление, утомляет центральную нервную систему, в
результате чего ослабляется внимание, увеличивается количество ошибок в
действиях рабочего, снижается производительность труда. Воздействие шума
приводит к появлению профессиональных заболеваний и может явиться причиной
несчастного случая.
Основным
источником шума при работе крана является работающий двигатель.
Нормированная характеристика – уровень звукового давления
(децибел). Человек воспринимает шум при уровне звукового давления до 100 дБ.
При 100-120 дБ и частоте 2-5 Гц – затруднённое глотание. 125-137 дБ –
летаргический сон. 140 дБ – лопаются барабанные перепонки.
Уровни звукового давления в октавных полосах частот, уровни звука
в дБ на рабочем месте крановщика крана по ГОСТ 12.1.003-83 сведены в
таблицу:
|
Среднегеометри-
ческие
частоты, Гц
|
63
|
125
|
250
|
500
|
1000
|
2000
|
4000
|
8000
|
Уровень
звука, дБА
|
|
Фактические уровни
звукового давления, дБ
|
92
|
87
|
84
|
82
|
82
|
80
|
76
|
74
|
85
|
|
Допустимые уровни
звукового давления, дБ
|
96
|
88
|
83
|
78
|
75
|
73
|
71
|
69
|
80
|
Из таблицы видно, что на
некоторых частотах (250,500,1000,2000,4000 и 8000 Гц) величина фактического
давления превышает допустимое значение. Вследствие этого при работе на этих
частотах необходимо использовать средства индивидуальной защиты, такие как
шлемофоны, наушники и т.д.
Для снижения шума
применяют следующие методы: уменьшение уровня шума в источнике его
возникновения, звукопоглощение и звукоизоляция, установка глушителей шума,
рациональное размещение оборудования, применение средств индивидуальной защиты.
Для уменьшения
механического шума необходимо: своевременная замена изношенных деталей
механизмов, применение принудительной смазки, балансировки вращающихся
элементов, использование звукоизолирующих кожухов, экранов, кабин.
В частности значительное
снижение шума достигается при замене подшипников качения на подшипники
скольжения (шум снижается на 10…15 дБ). Шум создаваемый работающим двигателем
снижается за счёт установки глушителя. Средствами индивидуальной защиты от шума
являются ушные вкладыши, наушники и шлемофоны, отвечающие требованиям ГОСТ
12.4.051-78. Согласно ГОСТ 12.1.003-83 «Уровень звукового давления на рабочем
месте при умеренно напряжённом труде и лёгкой категории работ 70дБ».
Оценка вибрационной
безопасности при эксплуатации автомобильного крана
Вибрация представляет собой процесс распространения механических
колебаний в твердом теле. Длительное воздействие вибрации ведет к
профессиональной вибрационной болезни. Вибрация по способу передачи телу
человека подразделяется на общую и локальную.
В автомобильном кране имеет место общая вибрация, в
частности транспортно-технологическая (ГОСТ 12.1.012-90), которая передается
через опорные поверхности на тело сидячего человека.
Фактические и допустимые значения параметров
транспортно-технологической вибрации на рабочем месте крановщика крана
определяются ГОСТ 12.01.012.
Для борьбы с вибрацией машин и защиты персонала от вибрации
используют различные методы. Борьба с вибрацией в источнике возникновения связана
с установлением причин появления механических колебаний и их устранением,
например, тщательный подбор зубчатых передач, балансировка вращающихся масс. В
качестве индивидуальной защиты персонала используют специальную обувь на
массивной резиновой подошве. Для защиты рук служат рукавицы, перчатки,
вкладыши, (отвечающие ГОСТ 20010-74), которые изготовляют из упругодемпфирующих
материалов.
Обеспечение
нормальных условий зрительной работы крановщика при эксплуатации автомобильного
крана
Недостаточное освещение
рабочего места затрудняет длительную работу, вызывает повышенное утомление и
способствует развитию близорукости. Слишком низкие уровни освещенности вызывают
апатию и сонливость.
Излишне яркий свет
слепит, снижает зрительные функции, приводит к перевозбуждению нервной системы,
уменьшает работоспособность. При недостаточности естественного освещения
применяются источники искусственного света: лампы, прожектора, специальные
осветительные установки. По ГОСТ 24378-80Е «Освещённость на погрузочно-разгрузочных
площадках, в зоне работы крана и на грузозахватном устройстве, на любом уровне
его подъёма и перемещения в горизонтальной плоскости» должна быть не менее
от наружной осветительной установки. По
типу источника света освещение бывает естественное, искусственное и
совмещенное.
Для
расчета общего равномерного освещения используем метод коэффициента
использования светового потока.
Размеры
кабины: 1,3 х 1,45 м2 при высоте 1,85 м. Высота подвеса светильника
общего освещения – 1,8 м.
Световой
поток лампы Фл (лм) одного светильника находится по формуле:
,
где ЕН
- минимальная нормированная освещенность, лк;
ЕН = 300 (лк) (по СНиП 23-05-95)
КЗ
- коэффициент запаса, принимается в зависимости от загрязненности воздуха в
помещении. КЗ = 1,4 (СНиП 23-05-95)
S -
площадь помещения: S =
1,3 ∙ 1,45 = 1,9 (м2)
z –
коэффициент минимальной освещенности, z = 1,15.
N -
число светильников, N
= 2.
η -
коэффициент использования светового потока ламп (%), зависящий от типа
светильника, коэффициента отражения потолка Roп и стен Roc , и индекса i формы помещения.
Индекс
помещения:
,
где A
и B - ширина и длина помещения; h -
высота подвеса светильников над рабочей поверхностью. Для нашего случая:
для помещения Roп = 50% (светлый потолок), Roc = 30% находим коэффициент
использования светового потока для светильника типа «Астра»: η = 21%
Находим
световой поток одного светильника:
(лм)
Выбираем лампы
накаливания Г-125–135–150 со световым потоком 2280 лм. Отклонение рассчитанного
светового потока от выбранного составляет +4%, что является допустимым.
Для полноценной работы
крановщика в комфортных условиях необходимо наличие в кабине управления ламп
накаливания со световым потоком не менее 2280 лм.
Обеспечение экологической
безопасности при эксплуатации автомобильного крана
Согласно ГОСТ 12.0.003-74
опасные и вредные производственные факторы делятся на физические, химические,
биологические и психофизиологические. Из этого числа к факторам экологической
безопасности относятся химические и биологические.
Автомобильный кран
работает от двигателя внутреннего сгорания, поэтому выхлопные газы представляют
собой химически опасный производственный фактор. Также при эксплуатации крана
не исключена возможность утечки нефтепродуктов из гидравлической системы с
последующим их попаданием в почву. А при возгорании вылившихся нефтепродуктов,
происходит заражению атмосферы в зоне возгорания.
При эксплуатации
автомобильных кранов встаёт проблема хранения и утилизации, отработавших свой
ресурс автомобильных шин и, повсеместно используемых на автомобилях в качестве
энергоисточника, кислотных аккумуляторов.
Экологическая оценка
выбросов в атмосферу при эксплуатации автомобильного крана
Автотранспорт относится к
движущимся источникам загрязнения. Токсичными выбросами ДВС являются
отработавшие и картерные газы, пары топлива из карбюратора и топливного бака.
Основная доля токсичных примесей поступает в атмосферу с отработавшими газами
ДВС. С картерными газами и парами топлива в атмосферу поступает приблизительно
45 % углеводородов от их общего выброса.
Количество вредных
веществ, поступающих в атмосферу в составе отработавших газов, зависит от
общего технического состояния автомобилей и, особенно от двигателя – источника
наибольшего загрязнения. Так, при нарушении регулировки карбюратора, выбросы
оксида углерода увеличиваются в 4...5 раза. Применение этилированного бензина,
имеющего в своем составе соединения свинца, вызывает загрязнение атмосферного
воздуха весьма токсичными соединениями свинца. Около 70 % свинца, добавленного
к бензину с этиловой жидкостью, попадает в виде соединений в атмосферу с
отработавшими газами, из них 30 % оседает на земле сразу за срезом выпускной
трубы автомобиля, 40% остается в атмосфере. Один грузовой автомобиль средней
грузоподъемности выделяет 2,5...3 кг свинца в год. Концентрация свинца в
воздухе зависит от содержания свинца в бензине.
Исключить поступление
высокотоксичных соединений свинца в атмосферу можно заменой этилированного
бензина неэтилированным.
Для очистки от СО и
отработанных газов дизельных
автомобилей применяют аналогичный метод, например, для работающих в карьерах
автосамосвалов КамАЗ – 4572.
Каталитический способ
заключается в разложении озона с серебряно-пиролюзитовым (серебряно-марганцевым)
катализатором.
Экологическая оценка
отходов, возникающих при эксплуатации автомобильного крана
При эксплуатации
автомобильных кранов встаёт проблема хранения и утилизации, отработавших свой
ресурс автомобильных шин и, повсеместно используемых на автомобилях в качестве
энергоисточника, кислотных аккумуляторов. Поэтому хранение отработавших
аккумуляторов требует специальных мер предосторожности. На перерабатывающих
предприятиях химической промышленности бывают пункты приёма экологически
опасных веществ. Сбор, удаление и обезвреживание
жидких и твердых радиоактивных отходов регламентируется ОСП-72/87. Контроль безопасности труда при захоронении
радиоактивных отходов осуществляется в соответствии с ГОСТ 12.1.048-85.
Колёсные покрышки,
выработавшие свой моторесурс, могут быть подвергнуты специальной обработке. В
результате, которой на них может быть наварен новый протектор, после чего шина
снова может быть использована по назначению. Негодные шины сжигаются в
специально оборудованных печах.
Автомобильный кран
КС-4572 имеет гидравлический привод всех основных рабочих механизмов.
Гидросистема (общая с баком) имеет ёмкость 400л. В определённых ситуациях любая
составляющая гидросистемы может выйти из строя, что непременно повлечёт за
собой утечку масла. Масло, попавшее на почву, приводит к изменению ее
физико-химических свойств и нарушению сложившихся биологических взаимосвязей.
Также возможно возгорание вылившегося масла, происходит заражение атмосферы в
зоне возгорания.
Следовательно, на
объектах эксплуатации крана должен быть предусмотрен специальный бак на случай
утечки нефтепродуктов. Бак следует применять металлический с невысокими бортами
(борта около 0,55 метра высотой и площадью около 2 метров квадратных). Объём
такого бака получается более 1 куб. метра. Его следует размещать под
гидравлической станцией крана, так как здесь наибольшая вероятность утечки
из-за больших давлений.
Применение такого бака
поможет предотвратить массовое попадание нефтепродуктов в почву.
Обеспечение защиты
окружающей среды от шума ДВС
Оценка акустической
безопасности при работе крана была приведена в разделе «Оценка акустической
безопасности при эксплуатации автомобильного крана». Акустическая
безопасность важна не только для обслуживающего персонала, но и для экологии.
Основным элементом защиты
окружающей среды от шума ДВС - является глушитель. Расчёт глушителя производим
по методике представленной в [12].
Оценка механического шума
дизелей (двигатель КамАЗ-740.11, 240 лс.)
,
где
– коэффициент конструкции дизеля, для V- образных дизелей;
- диаметр цилиндра;
– число цилиндров;
– эффективное давление;
– коэффициент тактности (для
четырёхтактных двигателей);
– число оборотов
коленчатого вала; Получим:
2. Расчёт
аэродинамического уровня шума при всасывании.
Уровень шума открытого
всасывания:
,
где V – средняя скорость поршня;
Получим:
Основная частота шума
всасывания:
,
После подстановки
получим:
3. Расчёт глушителя
(расширительной камеры).
Разность уровней шума:
,
где
дб - необходимое уменьшение уровня шума
(по требованию заказчика).
Получим:
L=119-90=29 дб.
С другой стороны
где
- степень расширения глушителя;
– длина расширительной камеры;
- скорость звука в воздухе;
– волновое число; Имеем:
Расчеты показали, что
необходимо применение глушителя длиной 0,9м с площадью поперечного сечения в три
раза большей, чем площадь сечения всасывающего трубопровода.
Выводы: при эксплуатации
на строительстве автомобильных кранов следует соблюдать все правила техники
безопасности, характерные для данного вида работ. Обслуживающему кран персоналу
следует соблюдать соответствующие инструкции при работе, а также иметь средства
индивидуальной защиты от основных типов воздействия. Также должны быть
предусмотрены возможности быстрого устранения аварий, возникших при работе с
краном (пожаров, утечки нефтепродуктов и т.д.). Предложенные меры позволяют
обеспечить безопасный труд персонала и защиту окружающей среды.
Литература:
1. Техническое описание и инструкция по эксплуатации КС –
4572.
2. Инструкция по эксплуатации автомобиля КамАЗ. Москва 1981г.
3. Ермоленко В.А Расчёт механизма подъёма груза мостового
крана:
методические указания. – М.: Издательство МГТУ им. Н.Э.
Баумана, 2004г.
4. Горелова Г.П., Чубаров Ф.Л. Расчёт объёмного гидропривода:
Методические указания. – М.: Издательство МГТУ им. Н.Э. Баумана, 2004г.
5. Решетов Д.Н. «Детали машин»: Учебник для студентов
машиностроительных и механических специальностей вузов. – 4-е издание. – М.:
Машиностроение, 1989г.
6. Дунаев П.Ф., Леликов О.П. «Конструирование узлов и деталей
машин»:
Учебное пособие для машиностроительных специальностей вузов.
– М.: Высшая школа, 1985г.
7. Иванов М.Н., Иванов В.Н. «Детали машин. Курсовое
проектирование»:
Учебное пособие для машиностроительных вузов. – М.: Высшая
школа,1975г.
8. Ермоленко В.А. Расчёт механизма поворота крана на колонне:
Методические указания. – М.: Издательство МГТУ им. Н.Э.
Баумана, 2004г.
9. Справочник технолога-машиностроителя. В 2-х томах. – М.:
Машиностроение, 1986г.
10. Методические указания по разработке
организационно-экономической части дипломного проекта по специальности
«Подъемно-транспортные машины».
11. Справочник по кранам под редакцией Дукельского (Том1).
12. Сборник типовых расчётов по курсу: «Охрана труда»/ Под
ред. С.В. Белова. – М.: Издательство МВТУ им. Н.Э. Баумана, 1980г.