Расчет эксплуатационных свойств автомобилей УАЗ 3741 и Volkswagen Transporter T4

  • Вид работы:
    Курсовая работа (т)
  • Предмет:
    Транспорт, грузоперевозки
  • Язык:
    Русский
    ,
    Формат файла:
    MS Word
    824,18 kb
  • Опубликовано:
    2010-11-13
Вы можете узнать стоимость помощи в написании студенческой работы.
Помощь в написании работы, которую точно примут!

Расчет эксплуатационных свойств автомобилей УАЗ 3741 и Volkswagen Transporter T4














Курсовая работа

"Расчет эксплуатационных свойств автомобилей УАЗ 3741 и Volkswagen Transporter T4"


Введение.

Цель работы: исследовать эксплуатационные свойства отечественного автомобиля УАЗ 3741 и его зарубежного аналога Volkswagen Transporter T4. Произвести расчет тягово-скоростных и тормозных свойств автомобилей, выполнить сравнительный анализ, построить графики и изобразить кинематические схемы, сделать выводы.


1. Перечень конструктивных параметров

Таблица 1

Характеристики

Обозначения

УАЗ 3741

Volkswagen Transporter T4

Снаряженная масса, кг

mc

1720

1855

Полная масса, кг

ma

2720

1290

1430

2640

1230

1410

Габаритная высота, мм

Нг

2100

1940

Габаритная ширина, мм

Вг

1940

1840

База автомобиля, мм

L

2300

2920

Мощность двигателя, кВт

Nmax

56

57

Рабочий объем двигателя, куб. см

 

2445

2370

Частота оборотов, об/мин

n

4000

3700

Количество передач

l

4

5

Передаточные числа

 



1

iкп

4,12

3,77

2

2,64

2,26

3

1,58

1,63

4

1,00

1,29

5

-

1,00

з/х

5,22

4,92

Передат. число главной передачи

iгп

4,11

3,84

Передат. число раздаточной коробки

iрк

1,00

1,47

1,00

1,35

Маркировка шин


225/75 R16

205/65 R15



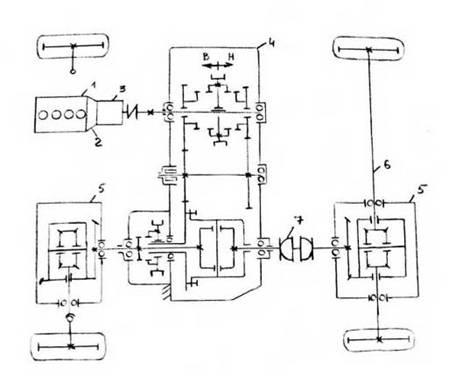
2. Кинематическая схема трансмиссии


1 – двигатель

2 – сцепление

3 – коробка передач

4 – раздаточная коробка

5 – главная передача и дифференциал

6 – полуоси

7 – карданная передача


1 – первичный вал

Промежуточный вал

3 – вторичный вал

4, 5 – шестерни постоянного зацепления

6, 7, 8, 9, 10 – ведущие шестерни

11, 12, 13, 14, 15 – ведомые шестерни

16 – промежуточная шестерня заднего хода

17, 18 – ведущая, ведомая шестерня привода спидометра

19 – ведущий фланец вторичного вала

ЗМ – зубчатая муфта

М1кп – крутящий момент на первичном валу

М2кп – крутящий момент на вторичном валу

3. Расчет тягово-скоростных свойств автомобилей, построение внешне скоростной характеристики

Тягово-скоростными свойствами автомобиля называется совокупность свойств определяющие возможные (по характеристикам двигателя или сцепления колес с дорогой) диапазоны изменения скоростей движения и предельной интенсивности разгона автомобиля при работе его в тяговом режиме в различных дорожных условиях. Тяговым считается режим, при котором от двигателя к ведущим колесам подводится мощность достаточная для преодоления сопротивлений движения и осуществления разгона или устойчивого движения.

Внешней скоростной характеристикой называется зависимость мощности, экономических параметров от частоты вращения коленчатого вала при полной подаче топлива.

Расчетные формы:

1. Эффективная угловая скорость вращения коленчатого вала:

, рад/с, где ne – эффективная частота вращения коленчатого вала (об/мин)

2. Эффективная мощность (формула Лейдермана):

, кВт,

где Nmax – максимальная мощность двигателя (кВт),

a, b, c-коэффициенты, зависящие от типа двигателя;

для карбюраторных двигателей a=b=c=1

we-угловая скорость вращения коленчатого вала, при максимальной мощности двигателя (рад/с)

3. Эффективный крутящий момент двигателя:

, кН×м

По исходным данным и используя эти формулы строим таблицу внешне скоростной характеристики для отечественного автомобиля УАЗ 3741 и его зарубежного Volkswagen Transporter T4

Пример расчета для автомобиля УАЗ 3741

рад/с

 

Ne=56*(1*1000/4000+1*(1000/4000)2+1*(1000/4000)3)=16,625 кВт,

Me=16,625*1000/104,667=158,8376 Нм

Таблица 2. Внешне скоростная характеристика двигателей автомобилей УАЗ 3741 и Volkswagen Transporter T4


УАЗ 3741

Volkswagen Transporter T4

nе,

об/мин

we,

рад/с

Ne,

кВт

Me,

Нм

Ne,

кВт

Me,

Нм

1000

104,6667

16,625

158,8376

18,443725

176,2139

1500

157

25,92188

165,1075

28,678361

182,6647

2000

209,3333

35

167,1975

38,462875

183,7398

2500

261,6667

43,20313

165,1075

46,95329

179,4393

3000

314

49,875

158,8376

53,305628

169,7631

3700

387,2667

55,39363

143,0374

57

147,1854

4000

418,6667

56

133,758

56,220165

134,2838



Вывод: из построенных графиков внешней скоростной характеристики видно, что при одинаковых оборотах коленчатого вала, двигатель Volkswagen Transporter T4 развивает большую эффективную мощность и эффективный крутящий момент, чем УАЗ 3741 на первой и второй передачах.

4. Расчет и построение графиков силовых и мощностных балансов для автомобилей УАЗ 3741 и Volkswagen Transporter T4

С помощью уравнений силового и мощностного баланса можно находить все параметры, характеризующие тягово-скоростные свойства автомобиля. Эти уравнения являются дифференциальными уравнениями первого порядка.

Уравнение силового баланса выглядит следующим образом:

 

РTвди,

где РT – тяговое усилие, кН;

Рв – сила сопротивления воздуха, кН;

Рд – сила сопротивления дороги, кН;

Ри сила сопротивления разгону автомобиля, кН.

Правая часть уравнения характеризует действие на автомобиль того или иного фактора или факторов окружающей среды или самого автомобиля, препятствующего (препятствующих) движению автомобиля, а сила, находящаяся в левой части является силой обеспечивающей движениё автомобиля:

, кН

где Мекрутящий момент, Н×м;

hтрКПД трансмиссии;hтр=0,9

rд – динамический радиус колеса, м;

iтр – передаточное число трансмиссии.

 

iтр=iкп×iгп×iрк

Динамический радиус колеса можно считать примерно равным статическому радиусу колеса, который определяется по формуле:

 

rст=rд=0,5×d+D×B×lcм, м,

где d – посадочный диаметр обода колеса, мм;

D=Н/В, где Н и В-высота и ширина профиля шины, мм;

B ширина профиля шины, мм;

lcм – коэффициент, учитывающий смятие шины под нагрузкой

принимаем lcм=0,84;

Расчет для автомобиля УАЗ 3741 с маркировкой шин 225/75R16

rд=0,5×16× 25,4+0,7×225× 0,84= 335,5 мм

rд=335,5 мм = 0,336 м

Рт=158,8376*0,9*4,12*4,11*1,47*10-3/0,336=10,59 кН;

Расчет для автомобиля Volkswagen Transporter T4 с маркировкой шин 205/65 R15

rд=0,5×15× 25,4+0,7×205× 0,84=311,04 мм

rд=311,04 мм =0,311 м.

Рт=176,2139*0,9*3,77*3,84*1,35*10-3/0,311=9,97 кН;

Силу сопротивления воздуха можно рассчитать по следующей формуле:

, кН,

где Va – скорость движения автомобиля, м/с:

, м/с

Расчет для автомобиля УАЗ 3741

Va=104,6667*0,336/4,12*4,11*1,47=1,41 м/с;

Расчет для автомобиля Volkswagen Transporter T4

Va=104,6667*0,311/3,77*3,84*1,35=1,67 м/с;

W – фактор обтекаемости, который определяется по формуле:

 


где  – коэффициент обтекаемости, показывающий зависимость силы сопротивления воздуха от формы и качества покрытия формы,;

=0,15–0,3 для легкового автомобиля, примем =0,225

– лобовая площадь автомобиля, которая определяется по формуле:

 


где– коэффициент формы, =0,78;

– габаритная ширина автомобиля;

– габаритная высота автомобиля.

Расчет для автомобиля УАЗ 3741

=0,78×1,940×2,100=3,178м2; W=0,225×3,178=0,715;

Рв=0,715×2,07692×10-3=0,0031 кН;

Расчет для автомобиля Volkswagen Transporter T4

=0,78×1,840×1,940=2,784м2; W=0,225×2,784=0,626;

Рв=0,626×2,24852×10-3=0,0032 кН;

Силу сопротивления дороги для автомобиля можно рассчитать по формуле:

, кН

где– масса автомобиля, H;

- суммарный коэффициент сопротивления дороги.

=0,15

Расчет для автомобиля УАЗ 3741

Рд=2720×9,8×0,15×10-3=3,998 кН

Расчет для автомобиля Volkswagen Transporter T4

Рд=2640×9,8×0,15×10-3=3,881 кН

Сила сопротивления разгону  не рассчитывается, так как автомобиль двигается равномерно.

Таблица 3. Силовой баланс автомобилей УАЗ 3741 и Volkswagen Transporter T4

УАЗ 3741

Volkswagen Transporter T4

V

PТ

Рв

Рв+ Рд

V

PТ

Рв

Рв+ Рд

м/с

кН

кН

кН

м/с

кН

кН

кН

Первая передача

1,4128

10,5904

0,0014

3,9994

1,6656

9,9662

0,0017

3,8827

2,1193

11,0085

0,0032

4,0012

2,4984

10,3310

0,0039

3,8849

2,8257

11,1478

0,0057

4,0037

3,3311

10,3918

0,0069

3,8879

3,5321

11,0085

0,0089

4,0069

4,1639

10,1486

0,0109

3,8919

4,2385

10,5904

0,0128

4,0108

4,9967

9,6013

0,0156

3,8966

5,2275

9,5369

0,0195

4,0175

6,1626

8,3244

0,0238

3,9048

5,6513

8,9182

0,0228

4,0208

6,6623

7,5947

0,0278

3,9088

Вторая передача

2,2049

6,7861

0,0035

4,0015

2,7784

5,974

0,0048

3,8858

3,3073

7,0540

0,0078

4,0058

4,1676

6,193

0,0109

3,8919

4,4098

7,1433

0,0139

4,0119

6,230

0,0193

3,9003

5,5122

7,0540

0,0217

4,0197

6,9460

6,084

0,0302

3,9112

6,6146

6,7861

0,0313

4,0293

8,3352

5,756

0,0435

3,9245

8,1580

6,1111

0,0476

4,0456

10,2801

4,990

0,0662

3,9472

8,8195

5,7146

0,0556

4,0536

11,1136

4,553

0,0773

3,9583

Третья передача

3,6841

4,0614

0,0097

4,0077

3,8523

4,3090

0,0093

3,8903

5,5262

4,2217

0,0218

4,0198

5,7784

4,4667

0,0209

3,9019

7,3682

4,2751

0,0388

4,0368

7,7045

4,4930

0,0372

3,9182

9,2103

4,2217

0,0607

4,0587

9,6307

4,3879

0,0581

3,9391

11,0523

4,0614

0,0873

4,0853

11,5568

4,1512

0,0836

3,9646

13,6312

3,6574

0,1329

4,1309

14,2534

3,5991

0,1272

4,0082

14,7364

3,4201

0,1553

4,1533

15,4091

3,2837

0,1486

4,0296

Четвертая передача

5,8209

2,5705

0,0242

4,0222

4,8676

3,4102

0,0148

3,8958

8,7313

2,6720

0,0545

4,0525

7,3014

3,5350

0,0334

3,9144

11,6418

2,7058

0,0969

4,0949

9,7352

3,5558

0,0593

3,9403

14,5522

2,6720

0,1514

4,1494

12,1690

3,4726

0,0927

3,9737

17,4626

2,5705

0,2180

4,2160

14,6028

3,2853

0,1335

4,0145

21,5372

2,3148

0,3317

4,3297

18,0101

2,8484

0,2031

4,0841

23,2835

2,1646

0,3876

4,3856

19,4704

2,5987

0,2373

4,1183

Пятая передача

-

-

-

-

6,2792

2,6435

0,0247

3,9057

-

-

-

-

9,4188

2,7403

0,0555

3,9365

-

-

-

-

12,5584

2,7565

0,0987

3,9797

-

-

-

-

15,6980

2,6919

0,1543

4,0353

-

-

-

-

18,8376

2,5468

0,2221

4,1031

-

-

-

-

23,2330

2,2081

0,3379

4,2189

-

-

-

-

25,1168

2,0145

0,3949

4,2759


Графическое изображение сил, входящих в уравнение силового баланса (в зависимости от скорости движения), называют графиком силового баланса.

График силового баланса представляет собой зависимость величины максимальной тяговой силы на известной передаче от скорости движения автомобиля на этой же передаче. Построение графика производится для всех передач, предназначенных для движения автомобиля вперёд.

Вывод: по графику силового баланса можно определить, что при данных условиях движение автомобилей по дороге V категории с коэффициентом сопротивления y=0,15 возможно на первой и второй передаче.

Автомобиль Volkswagen Transporter T4 развивает большую тяговую силу, чем УАЗ 3741.

Максимальная скорость, которую развивают автомобили на второй передаче

для Volkswagen Transporter T4 Vmax = 12,1

для УАЗ 3741 Vmax= 11,3

Зная уравнение силового баланса, мы можем определить тягово-скоростные свойства автомобиля из условий, что тяговая мощность, подведенная к ведущим колесам, равна сумме мощностей, расходуемых на преодоление сил сопротивления движению.

Уравнение мощностного баланса выглядит следующим образом:

,

где  – тяговая мощность, кВт;

Nд – мощность, затрачиваемая на преодоление сопротивления воздуха, кВт;

Nв – мощность, затрачиваемая на преодоление сопротивления дороги, кВт;

Nи – мощность, затрачиваемая на преодоление сопротивления разгону, кВт.

=РТ× Va

Nд= Рд× Va

 

Nи не рассчитываем ввиду равномерности движения.

Расчет для автомобиля УАЗ 3741

=10,59 × 1,41 =14,9628кВТ;

Nд= 3,998× 1,41=5,64 кВТ;

Nв=0,0014× 1,41=0,00197 кВТ.

Графическое изображение зависимостей от скорости движения мощностей, входящих в уравнение мощностного баланса называют графиком мощностного баланса

График мощностного баланса представляет собой зависимость тяговой мощности полученной на колёсном движителе от двигателя автомобиля от скорости движения автомобиля с учётом включённой передачи. Для анализа условий возможности движения автомобилей по величине располагаемой мощности на графике откладывается также суммарная мощность сопротивления движению, представляющая собой сумму мощности сопротивлению качению автомобильного колеса и мощности аэродинамического сопротивления автомобиля.

Таблица 4. Мощностной баланс автомобилей УАЗ 3741 и Volkswagen Transporter T4

УАЗ 3741

Volkswagen Transporter T4

V

Nв

Nд

Nв + Nд

V

Nв

Nд

Nв + Nд

м/с

кВт

кВт

кВт

кВт

м/с

кВт

кВт

кВт

кВт

Первая передача

1,4128

14,9625

0,0020

5,6485

5,6505

1,6656

16,5994

0,0029

6,4641

6,4670

2,1193

23,3297

0,0068

8,4728

8,4796

2,4984

25,8105

0,0098

9,6961

9,7059

2,8257

31,5000

0,0161

11,2970

11,3132

3,3311

34,6166

0,0231

12,9281

12,9513

3,5321

38,8828

0,0315

14,1213

14,1528

4,1639

42,2580

0,0452

16,1602

16,2054

4,2385

44,8875

0,0544

16,9455

17,0000

4,9967

47,9751

0,0781

19,3922

19,4703

5,2275

49,8543

0,1021

20,8995

21,0016

6,1626

51,3000

0,1465

23,9171

24,0636

5,6513

50,4000

0,1291

22,5940

22,7231

6,6623

50,5981

0,1851

25,8563

26,0414

Вторая передача

2,2049

14,9625

0,0077

8,8151

8,8228

2,7784

16,5994

0,0077

8,8151

10,7964

3,3073

23,3297

0,0259

13,2227

13,2485

4,1676

25,8105

0,0259

13,2227

16,2198

4,4098

31,5000

0,0613

17,6302

5,5568

34,6166

0,0613

17,6302

21,6734

5,5122

38,8828

0,1198

22,0378

22,1575

6,9460

42,2580

0,1198

22,0378

27,1672

6,6146

44,8875

0,2069

26,4453

26,6522

8,3352

47,9751

0,2069

26,4453

32,7115

8,1580

49,8543

0,3882

32,6159

33,0041

10,2801

51,3000

0,3882

32,6159

40,5771

8,8195

50,4000

0,4905

35,2604

35,7509

11,1136

50,5981

0,4905

35,2604

43,9912


Вывод: по графику мощностного баланса можно определить, что Volkswagen Transporter T4 развивает большую тяговую мощность, чем УАЗ 3741, и запас мощности у зарубежного автомобиля больше, чем у отечественного.

Максимальная скорость, которую развивают автомобили на четвертой передаче, при заданных условиях движения и на данном участке дороги с коэффициентом сопротивления дороги y=0,15 равна

для Volkswagen Transporter T4 Vmax = 13,1 м/с;

для УАЗ 3741 Vmax= 11,3 м/с.

5. Расчет и построение графиков динамического паспорта для автомобилей УАЗ 3741 и Volkswagen Transporter T4

Тяговая характеристика недостаточно удобна для сравнительной оценки тяговых свойств автомобилей, обладающих различной массой, так как при одинаковых значениях тяговой силы Pт они будут иметь на одной и той же дороге различные максимальные значения скоростей, различные ускорения, преодолевать неодинаковые предельные подъемы и т.д.

Поэтому для сравнительной оценки тяговых свойств автомобилей, имеющих различный вес, более удобно пользоваться безразмерной величиной, представляющей собой отношение разницы тяговой силы и силы сопротивления воздуха к силе тяжести, действующий на автомобиль, – динамическим фактором – D, который определяется по формуле:


где РТ – сила тяги автомобиля, кН;

– сила сопротивления воздуха, кН;

– масса автомобиля, кг.


где mc-снаряженная масса автомобиля, кг.

Динамический фактор автомобиля является важной характеристикой режима движения, обеспечивающей возможность сравнения различных конструкций автомобилей. Он характеризует максимальное преодолеваемое автомобилем дорожное сопротивление на всех передачах, минимальную устойчивую скорость движения на высших передачах.

Расчёт динамического фактора в курсовой работе осуществляется на основании данных, полученных при решении уравнения силового баланса при помощи подстановки полученных значений в это уравнение.

Расчет для автомобиля УАЗ 3741

Da=(10,59–0,0014)/ 2720×9,8×10-3=0,74

D’=(1720×9,8/2720×9,8) × 0,74=0,5

Таблица 5

УАЗ 3741

Volkswagen Transporter T4

V, м/с

Da

D’

V, м/с

Da

D’

Первая передача

1,4128

0,7401

0,5044

1,6656

0,6518

0,4032

2,1193

0,7692

0,5242

2,4984

0,6755

0,4179

2,8257

0,7787

0,5307

3,3311

0,6793

0,4202

3,5321

0,7688

0,5239

4,1639

0,6631

0,4102

4,2385

0,7393

0,5038

4,9967

0,6270

0,3879

5,2275

0,6652

0,4533

6,1626

0,5430

0,3359

5,6513

0,6217

0,4237

6,6623

0,4950

0,3062


Вторая передача

2,2049

0,4740

0,3231

2,7784

0,3905

0,2415

3,3073

0,4925

0,3356

4,1676

0,4044

0,2501

4,4098

0,4983

0,3396

5,5568

0,4062

0,2513

5,5122

0,4915

0,3350

6,9460

0,3960

0,2449

6,6146

0,4721

0,3217

8,3352

0,3736

0,2311

8,1580

0,4238

0,2888

10,2801

0,3221

0,1992

8,8195

0,3955

0,2695

11,1136

0,2927

0,1811


Вывод: По графику динамического паспорта можно определить, что автомобиль

УАЗ 3741 имеет более высокую проходимость при заданных дорожных условиях чем Volkswagen Transporter T4. Так же можно определить максимально развиваемую скорость автомобилей. Из графика видно, что она равна:

УАЗ 3741: Vamax=11.4 м/с

Volkswagen Transporter T4: Vamax=13,2 м/с

6. Расчет и построение графиков ускорений, времени и путей разгона на различных передачах для автомобилей УАЗ 3741 и Volkswagen Transporter T4

В теории эксплуатационных свойств автомобиля важное место занимает изучение свойств автомобиля, связанных с его способностью быстро достигать необходимой скорости движения, т.е. быстро разгоняться. Таким свойством является приемистость. Под приемистостью автомобиля понимают его способность быстро увеличивать скорость движения. При изучении разгонной динамики автомобиля важное место уделяют расчету разгонных параметров автомобиля, которыми являются: максимально возможное ускорение, время и путь разгона.

Максимально возможное ускорение jmax можно определить по уравнению:

,

где  – динамический фактор,

–коэффициент сопротивления дороги,

– коэффициент учета вращающихся масс, который определяется по формуле:


где iкп – передаточное число коробки передач;

– коэффициент учета вращающихся масс двигателя и деталей трансмиссии, примем =0,05;

– коэффициент учета вращающихся масс колес, примем =0,04.

Расчет для автомобиля УАЗ 3741

=1+0,05× 4,122+0,04=1,889

j=9,8× (0,5033 – 0,15)/1,889=1,8329 м/с2

Таблица 6

УАЗ 3741

Volkswagen Transporter T4

V, м/с

i, м/с2

V, м/с

i, м/с2

Первая передача

1,4128

3,0617

1,6656

2,8089

2,1193

3,2127

2,4984

2,9417

2,8257

3,2623

3,3311

2,9629

3,5321

3,2106

4,1639

2,8724

4,2385

3,0576

4,9967

2,6703

5,2275

2,6731

6,1626

2,1997

5,6513

2,4476

6,6623

1,9311

Вторая передача

2,2049

2,2871

2,7784

1,7102

3,3073

2,4171

4,1676

1,8091

4,4098

2,4582

5,5568

1,8222

5,5122

2,4103

6,9460

1,7493

6,6146

2,2734

8,3352

1,5905

8,1580

1,9324

10,2801

1,2238

8,8195

1,7328

11,1136

1,0152


Вывод: По графику ускорения можно определить, что автомобиль УАЗ 3741 на первой, второй передачах развивает большее ускорение, чем Volkswagen Transporter T4.

Максимальное ускорение, развиваемое автомобилями при заданных условиях движения:

на первой передаче

УАЗ 3741 i =3,2623 м/с2;

Volkswagen Transporter T4 i=2,9629 м/с2;

на второй передаче

УАЗ 3741 i =2,4582 м/с2;

Volkswagen Transporter T4 i=1,8222 м/с2;

на третьей передаче

УАЗ 3741 i=1,2290 м/с2;

Volkswagen Transporter T4 i=1,1820 м/с2;

на четвертой передаче

УАЗ 3741 i=0,2961 м/с2;

Volkswagen Transporter T4 i=0,6897 м/с2.

Более удобными и наглядными оценочными показателями приемистости являются время и путь разгона автомобиля в заданном интервале скоростей. Эти показатели могут быть определены опытным или расчетным путем.

Для теоретического определения t и  предложено несколько графоаналитических методов. Наиболее известны методы Е.А. Чудакова и Н.А. Яковлева. Последний состоит в том, что расчетный интервал скоростей разбивают на мелкие участки, для каждого из которых считают среднее ускорение

,

где j1 и j2–ускорение в начале и конце участка.

Для каждого участка можно записать

где V1 и V2 – скорости соответственно в начале и конце участка;

Dt – время, за которое скорость увеличивается от V1 до V2.

Определяя из этого равенства Dt получим Dt=(V2-V1)/ jср.

Путь за время при равноускоренном движении на каждом участке

DS= V1Dt+0,5 jсрDt2= VcpDt,

 

Vcp=0,5 (V2+V1) – средняя скорость на интервале.

Полный путь разгона от скорости V1 до скорости V2

Sp=S1+S2+Sn

Принимая на каждом участке j=const, мы допускаем погрешность, которая будет тем меньше, чем меньше DV.

Этим методом можно пользоваться для подсчета t и  как на одной, так и на нескольких передачах с переходом от любой низшей передачи к любой высшей. В последнем случае необходимо знать, при каких скоростях происходят переключения.

Во время переключения передача мощности к колесам прекращается, скорость автомобиля снижается. Время переключения зависит как от конструктивных особенностей автомобиля, так и от квалификации водителя. Высококвалифицированный водитель тратит на переключение при карбюраторном двигателе 1…2 с.

Значение падения скорости DVn за время переключения передачи зависит от типа дороги, скорости движения автомобиля и параметров обтекаемости. Определить можноDVn из уравнения силового баланса, считая, что за время переключения РT=0.

Расчет для автомобиля УАЗ 3741.

на первой передаче:

V1=1,4 м/с; V2=2,45 м/с;

j1=3,06 м/с2; j2=3,25 м/с2;

jср=(3,06+3,25)/2=1,92 м/с2

Dt=(2,451,4)/ 1,92=0,55 с

DS =1,92× 0,55=0,64 м

УАЗ 3741

Volkswagen Transporter T4

Vn

Vn+1

jcp

Dt

DS

Vn

Vn+1

jcp

Dt

DS

Первая передача

1,4

2,45

3,15500

0,33281

0,64065

1,6

2,9

1,92000

0,67708

1,52344

2,45

3,5

3,22500

0,32558

0,96860

2,9

4,1

1,93500

0,62016

2,17054

3,5

4,55

3,05000

0,34426

1,38566

4,1

5,3

1,76500

0,67989

3,19547

4,55

5,65

2,65000

0,41509

2,11698

5,3

6,6

1,41500

0,91873

5,46643

Вторая передача

2,2

3,8

2,3250

0,6882

2,0645

2,7

4,8

1,7500

1,2000

4,5000

3,8

5,4

2,4000

0,6667

3,0667

4,8

6,9

1,2000

7,0200

5,4

7,1

2,2250

0,7640

4,7753

6,9

9

1,5750

1,3333

10,6000

7,1

8,8

1,9000

0,8947

7,1132

9

11,1

1,2250

1,7143

17,2286


7. Определение предельных углов подъема автомобиля и проверка их на условие буксования

Предельный преодолеваемый автомобилем подъем оказывает существенное влияние на условия эксплуатации АТС. Преодолеваемый подъём зависит как от характеристик покрытия дороги, по которой осуществляется движение автомобиля, так и от характеристик самого автомобиля. Величина максимального преодолеваемого автомобилем подъёма может быть определенна по следующей формуле:

Предельный угол подъема определяется по формуле:

,

где a – предельный угол преодолеваемого подъёма, град;

 – максимальная тяговая сила, Н;

Ga – полный вес автомобиля;

fa – усредненный коэффициент сопротивления качению с учетом дополнительных сил сопротивления движению.

 

fp - коэффициент сопротивления качения на ровной дороге fp=0,005;

lкоэффициент, зависящий от ходовой части автомобиля, для легкового автомобиля l=4;

Sn – коэффициент ровности покрытия, примем Sn=50.

Вычисления по данной формуле проводится без учета действия на автомобиль силы аэродинамического сопротивления, поскольку при преодолении максимально возможных подъемов скорость движения автомобиля не велика. Предельный угол подъема определяется для автомобиля при их движении по автомобильной дороге с заданным состоянием дорожного покрытия.

Расчет для автомобиля УАЗ 3741

Ga=2720×9,8=26,656кН; =11,15 кН; fa=0,005+1,3×10-7×4×50×12,45=0,005324

a=arctg (11,15/26,656–0,005324)= 0,4130 = 22 градусов 24 минут

Расчет для автомобиля Volkswagen Transporter T4

Ga=2640×9,8=25,872 кН; =10,39 кН; fa=0,005+1,3×10-7×4×50×13,05=0,005339

a= arctg (10,39/25,872–0,005339)= 0,3963 = 21 градусов 37 минут

Проверим теперь возможность преодоления этого подъема при коэффициенте продольного сцепления. При этом величина тяговой силы будет определяться не только параметрами двигателя и трансмиссии, но и дорожными условиями. Для вычисления максимального угла подъема по условиям буксирования вычислим предельный динамический фактор по условиям сцепления по формуле:

;

где Dсц – динамический фактор по сцеплению;

а – расстояние от центра масс до задней оси автомобиля, мм;

hg – высота центра тяжести, мм;

L-колесная база автомобиля;

jx-коэффициент продольного сцепления колеса;

α - предельный угол преодолеваемого подъема.

У автомобилей с полной нагрузкой ,

Расстояние от центра масс до задней оси автомобиля определяется по формуле:

,

где m2-вес автомобиля, приходящийся на заднюю ось;

ma – полный вес автомобиля.

Возможность движения при буксовании определяется предельным углом по сцеплению, который определяется по формуле:


Расчет для автомобиля УАЗ 3741

α = 21 градусов 37 минут

cos α=0,9245

α=1400/2720×2300=1184 см

Dсц=1184×0,35×0,9245/(2300–700×(0,35+0,005324))=0,187

β═arctgcц.max(0,187–0,005324)= arctgcц.max 0,1815= 10 градусов 16 минут

Расчет для автомобиля Volkswagen Transporter T4

α =16 градусов 18 минут

cos α=0,9298

α=1410/2640×2920=1560 см

Dсц=1560×0,35×0,9298/(2920–647×(0,35+0,005339))=0,189

β═arctgcц.max(0,189–0,005339)= arctgcц.max 0,1834= 10 градусов 24 минуты

Расчет предельных углов подъемов автомобиля позволяет сделать вывод, что величина этих углов зависит, прежде всего, от трех факторов: массы автомобиля, величины тяговой силы и величины коэффициента сопротивления качению колеса, причем для легковых автомобилей наибольшее влияние оказывает первые два фактора. При ограничении тяговых свойств по сцеплению на максимальный угол подъема накладывается ограничение, связанное с неполной реализацией тяговой силы по причине буксования ведущих колес.

Проверим автомобиль на буксование при данных условиях, ψ=0,095

Т.к. Dсц ≥ψ, условие выполняется, следовательно автомобили двигаются без буксования.

8. Вывод по тягово-скоростным свойствам

По графику силового баланса можно определить, что при данных условиях движение автомобилей по дороге V категории с коэффициентом сопротивления y=0,15 возможно на первой и второй передаче.

Автомобиль УАЗ 3741 развивает большую тяговую силу, чем Volkswagen Transporter T4. Максимальная скорость, которую развивают автомобили на первой и второй передаче

для Volkswagen Transporter T4 Vmax = 12,1 м/с;

для УАЗ 3741 Vmax= 11,3 м/с.

По графику мощностного баланса можно определить, что Volkswagen Transporter T4 развивает большую тяговую мощность, чем УАЗ 3741, и запас мощности у зарубежного автомобиля больше, чем у отечественного.

Максимальная скорость, которую развивают автомобили на первой и второй передаче, при заданных условиях движения и на данном участке дороги с коэффициентом сопротивления дороги y=0,15, равна

для Volkswagen Transporter T4 Vmax = 13,1 м/с;

для УАЗ 3741 Vmax= 11,3 м/с.

По графику динамического паспорта можно определить, что автомобиль

УАЗ 3741 имеет более высокую проходимость при заданных дорожных условиях на первой второй передачах, чем Volkswagen Transporter T4. Так же можно определить максимально развиваемую скорость автомобилей. Из графика видно, что она равна:

УАЗ 3741: Vamax=11.4 м/с

Volkswagen Transporter T4: Vamax=13,2 м/с

По графику ускорения можно определить, что автомобиль УАЗ 3741 на первой и второй передачах развивает большее ускорение, чем Volkswagen Transporter T4.

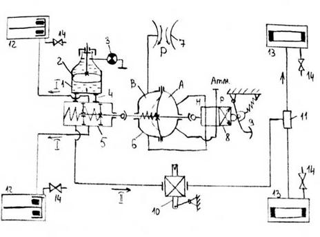
9. Кинематическая схема рабочей тормозной системы автомобиля


1-бачок тормозной жидкости;

2-поплавок;

3-сигнализатор снижения уровня тормозной жидкости;

4-подпиточные шланги;

5-главный тормозной цилиндр;

6-вакуумный усилитель;

7-впускной коллектор ДВС;

8 - клапан-распределитель;

9-тормозная педаль;

10-регулятор тормозных сил;

11-тойник;

12 – передние дисковые тормозные механизмы;

13-задние барабанные тормозные механизмы;

14-вентель для удаления воздуха из системы;

А, В - атмосферная и вакуумная полости вакуумного усилителя;

Р – разряжение во впускном коллекторе ДВС;

I, II – первичный и вторичный контур рабочей системы ТС.

10. Расчет тормозных свойств

Тормозные свойства – совокупность свойств, определяющих максимальное замедление автомобиля при его движении на дорогах в тормозном режиме, предельные значения внешних сил, при действии которых заторможенный автомобиль надежно удерживается на месте или имеет необходимые минимальные установившиеся скорости при движении под уклон.

Тормозные свойства характеризуют способность автомобиля обеспечивать необходимый темп снижения его скорости, а также удерживать его на уклоне, это достигается применением на автомобиле тормозных систем.

Тормозной диаграммой автомобиля называется зависимость скорости от замедления. Начало координат соответствует моменту нажатия на тормозную педаль (начало торможения).

Время реакции tр водителя для нормальных условий равно 0,2–1,5 с. Примем tр=0,5 с.

Время срабатывания тормозного привода tпр для гидравлического привода равно

tпр= 0,2 с.

Время нарастания замедления tз. Примем tз =0,5 с.

Время торможения автомобиля tт. Для гидравлического привода 0,1–0,4 с. Примем 0,2 с.

Время от начала отпускания тормозной педали до возникновения зазоров между фрикционными элементами называется временем растормаживания tраст.

Полное время торможения считается по формуле:

tпт= tр+ tпр + tз + tт

Тормозной путь считается по формуле:

Sт=0,04 × Vа × кэ/jх

 

Vа – начальная скорость при торможение, примем Vа=30 км/ч;

кэ=1, т. к. jх≤0,4.

jх=0,21

Рассчитаем тормозной путь при заданных условиях:

Vа

Sт

30,000

13,228

25,000

9,186

20,000

5,879

15,000

3,307

10,000

1,470

5,000

0,367

0,000

0


Вывод: По построенной тормозной диаграмме можно определить, что важными факторами, которые влияют на время торможения, являются: тип автомобиля, квалификация и состояния водителя (трезвость, усталость), тип тормозного привода (гидравлический или пневматический), состояние тормозной системы, состояние дороги и дорожной ситуации.

Остановочным путь – это путь, проходимый автомобилем от момента, когда водителем была замечена опасность, до полной остановки автомобиля. Он равен сумме тормозного пути и пути, проходимого за время реакции водителя.

Тормозной путь определяется по следующей формуле:

 

,

,

где – время запаздывания, =0,2с;

– время нарастания замедления, =0,5c;

- время реакции водителя, =0,5с;

Vа – скорость автомобиля, м/с.

 

Vа,

Км/ч

Sтор

jх=0,2

jх=0,6

0

0

0

5

1,12

0,79

10

3,22

1,91

15

6,30

3,35

20

10,37

5,12

25

15,43

7,23

30

21,47

9,66


Vа,

км/ч

Sост

jх=0,2

jх=0,6

0

0

0

5

2,51

2,18

10

6,00

4,68

15

10,47

7,52

20

15,93

10,68

25

22,37

14,17

30

29,80

17,99


Вывод: Из графика видно, что чем больше коэффициент сцепления тем меньше тормозной путь.

11. Вывод по тормозным свойствам автомобиля

Тормозные свойства автомобиля имеют важное значение для безопасности движения. На тормозные свойства влияют следующие факторы:

1) Коэффициент сцепления шин с дорогой.

Чем больше коэффициент сцепления тем меньше тормозной путь.

2) Скорость движения в начале торможения. Чем больше скорость торможения, тем больше время торможения.

3) Техническое состояние тормозной системы и тип тормозного привода.

4) Состояние водителя.

12. Топливно-экономические свойства автомобиля

Топливной экономичностью называют совокупность свойств определяющие расход топлива при выполнении автомобилем транспортной работы в различных условиях эксплуатации.

Эксплуатационный расход топлива характеризует топливо использование автомобилями в реальных условиях эксплуатации, т.е. потребление топлива автомобилями при их конкретном техническом состоянии и при конкретных условиях эксплуатации.

На эксплуатационный расход топлива помимо топливной экономичности существенное влияние оказывают техническое состояние узлов и агрегатов АТС, тип и состояние дорожного покрытия, атмосферные условия, квалификация водителя и его стиль вождения, тип и сложность маршрута, интенсивность движения, скоростные и нагрузочные режимы и т.п.

Основными оценочными показателями топливно-экономических свойств являются контрольный расход топлива, топливная характеристика установившегося движения Qn=f(Va) на дорогах с различным состоянием покрытия, зависимость удельного эффективного расхода топлива от степени использования мощности ge=f(Va) и зависимость удельной производительности автомобиля от скорости движения Wy=f(Va) на дорогах с различным состоянием покрытия.

Контрольный расход топлива это расход топлива в л/100 км при движении автомобиля полной массы с установившейся скоростью по ровной горизонтальной дороге с усовершенствованным покрытием. Скорость движения указывается в технической характеристике автомобиля.

Топливная характеристика установившегося движения – это зависимость путевого расхода топлива от скорости установившегося движения в заданных дорожных условиях. Для определения расхода топлива при установившемся движении можно воспользоваться уравнением расхода топлива.


где:

 – путевой расход топлива, л/100 км;

 – удельный эффективный расход топлива двигателем при номинальной мощности, г/кВт×ч.

Примем =1,1×gemin, для карбюраторных двигателей gemin=320 г./кВт×ч, =1,1×320=352 г./кВт×ч;

 – мощности, расходуемые соответственно на преодоление сопротивления дороги и воздуха;

 – эмпирические коэффициенты, зависящие соответственно от степени использования мощности U и частоты вращения коленчатого вала двигателя , примем kU=1,2, kw=1,8;

 – скорость движения автомобиля, м/с;

 – плотность топлива, ,=750;

 – КПД трансмиссии.

Расчет для автомобиля УАЗ 3741 при V=6,4273 м/с и y1=0,05, y2=0,159, y3=0,094

УАЗ 3741


V, м/с

y1=0,05

y2=0,159

y3=0,094

y4=0,15

3,5300

4,2563

13,5328

8,0009

12,7668

5,5100

4,2586

13,5351

8,0033

12,7692

9,2000

4,2626

13,5391

8,0072

12,7732

Volkswagen Transporter T4


V, м/с

y1=0,05

y2=0,159

y3=0,094

y4=0,15

4,1600

4,1312

7,7620

7,7657

12,3915

5,5100

4,1354

7,7662

7,7699

12,3957

9,2100

4,1398

7,7705

7,7743

12,4000


Расчет зависимости эффективного расхода топлива от степени использования мощности.

Удельный расход топлива определяется по формуле:

qe=qN*ku*kw

где:

qN – эффективный расход топлива при максимальной мощности двигателя, он определяется по формуле:

QN=(1.05 – 1.1) qemin

ku – коэффициент, учитывающий зависимость удельного расхода топлива от степени использования мощности.

U – степень использования мощности двигателя.

kw – коэффициент, учитывающий зависимость путевого расхода топлива от числа оборотов коленвала.

Степенью использования мощности называется отношение степени мощности двигателя при некоторой частичной подачи топлива и заданным значением числа оборотов коленвала к мощности двигателя при той же частоте оборотов в коленвале, но при полной подачи топлива.

Определим параметры по заданию при n1=0.5ni, n2=nI, n3=nN. Примем U=20, 40, 60%

УАЗ 3741

nI

n1

n2

n3

n1/ nN

n2/ nN

n3/ nN

kw1

kw2

kw3

ku1

qe1

qe2

qe3

1000

500

1000

4000

0,125

0,25

1

0,45

0,35

0,15

2

316,8

246,4

105,6

1500

750

1500

4000

0,19

0,38

1

0,42

0,29

0,15

1,5

221,76

153,12

79,2

2000

1000

2000

4000

0,25

0,5

1

0,35

0,23

0,15

1,2

147,84

97,152

63,36

Volkswagen Transporter T4

1000

500

1000

3700

0,14

0,27

1

0,47

0,15

2

330,88

232,32

105,6

1500

750

1500

3700

0,2

0,41

1

0,4

0,26

0,15

1,5

211,2

137,28

79,2

2000

1000

2000

3700

0,27

0,54

1

0,33

0,2

0,15

1,2

139,39

84,48

63,36


Вывод: из расчетов видно, что при увеличение оборотов коленчатого вала удельный расход топлива значительно уменьшается, т. к. уменьшаются коэффициенты ku и kw.

Построение графика движения автомобиля

При построении данного графика движения указывается скорость, время прохождения каждого участка пути, нормированный расход топлива, который необходим для определения производительности с учетом топливной производительности.

При помощи этого графика определяется:

1)   максимальная скорость;

2)   расход топлива на единицу пройденного пути.

13. Вывод по топливно-экономическим свойствам автомобилей

Из расчетов видно, что при увеличение оборотов коленчатого вала удельный расход топлива значительно уменьшается, т. к. уменьшаются коэффициенты ku и kw.

14. Определение максимальной массы буксируемого прицепа с заданной скоростью с запасом динамического фактора DD=0,03

 

При равномерном движении автомобиля весь динамический фактор может быть израсходован на преодоление сопротивления дороги, т.е. можно принять, что.

Вес автоприцепа, способного к движению:

;

где  – динамический фактор автомобиля, определённый по динамическому паспорту.

Данная нам скорость равна 90 км/ч. Но мы принимаем скорость равной максимальной скорости разгона автомобилей, т.е. 40 км/ч

Заданная скорость равна 40 км/ч= 11,1 м/с Da УАЗ 3741= 0,2777, Da Volkswagen Transporter T4= 0,2665

УАЗ 3741: Мпр=(0,2777+0,03)*2720/0,2777=5658 кг;

Volkswagen Transporter T4: Мпр=(0,2665+0,3)*2640/0,2665=5612 кг.


Список литературы

1.  Башкардин А.Г. Эксплуатационные свойства автомобилей, Методические указания.-СПбГАСУ, 2001;

2.  Литвинов А.С., Фаробин Я.Е. Автомобиль: Теория эксплуатационных свойств, М.: Машиностроение, 1989.

Похожие работы на - Расчет эксплуатационных свойств автомобилей УАЗ 3741 и Volkswagen Transporter T4

 

Не нашли материал для своей работы?
Поможем написать уникальную работу
Без плагиата!
Без нейросетей!