Расчет грузоподъемных машин
Расчет грузоподъемных
машин
ВВЕДЕНИЕ
Грузоподъемные машины являются составной частью
каждого производства и играют важную роль в механизации погрузочных работ.
Курсовое проектирование
грузоподъемных машин – первая самостоятельная разработка машины в целом с
взаимосвязанными механизмами, способствующая дальнейшему развитию у студентов
конструкторских навыков. При работе над проектом возникает много вопросов по
выбору схемы и параметров механизмов, их компоновки, последовательности расчета
и т.д. В методических указаниях приведены необходимые рекомендации и
нормативные данные, некоторые справочные материалы и последовательность
расчета.
Расчетную часть проекта
выполняют в виде пояснительной записки, которая должна содержать: задание на
проект; введение; схемы механизмов тележки с описанием их назначения,
устройства и особенностей; расчет механизмов, узлов и деталей с приведением
расчетных схем и обоснованием принятых параметров и допускаемых напряжений
(расчеты сопровождают ссылками на литературу); список использованной
литературы; оглавление, содержащее наименование всех основных разделов записки
(помещают в конце ее).
Пояснительную записку выполняют на
листах писчей бумаги формата А4 (297 . 210) в соответствии с ЕСКД.
Текст пишут чернилами, схемы и эскизы выполняют в карандаше под линейку с
проставлением всех размеров и обозначений. При использовании стандартных и
нормализованных узлов в записке приводят их характеристику.
В аналитических расчетах
сначала записывают формулу в буквенных выражениях, а затем подставляют числовые
значения и записывают результаты. Промежуточные вычисления не приводят. Все
символы, входящие в формулы, должны иметь объяснения в тексте. Ссылки на
литературные источники, стандарты и нормали заключают в квадратные скобки, эти
ссылки должны соответствовать прилагаемому в конце записки списку литературы.
МЕХАНИЗМ ПОДЪЕМА
Последовательность расчета
1. Принять схему механизма, вычертить
его с заданным типом крюковой подвески (приложения, рис П.1), привести его
описание.
2. Выбрать канат, блоки, барабан, крюк,
упорный подшипник (устанавливается под гайку крюка).
3. Составить эскиз крюковой подвески и
рассчитать ее элементы – траверсу, ось блоков, подшипники блоков и серьгу (рис.
П.2).
4. Выполнить кинематический и силовой
расчет привода механизма: выбрать двигатель, редуктор, тормоз, муфты, проверить
двигатель на нагрев по среднеквадратичному моменту с учетом графика загрузки
механизма (рис. П.5) и двигателя (рис. П.6).
5. Определить размеры барабана и
проверить на прочность его элементы.
Методика расчета
Задано: грузоподъемность
(т), высота подъема
(м), скорость подъема
(м . с-1),
количество ветвей полиспаста
, режим работы, тип крюковой подвески.
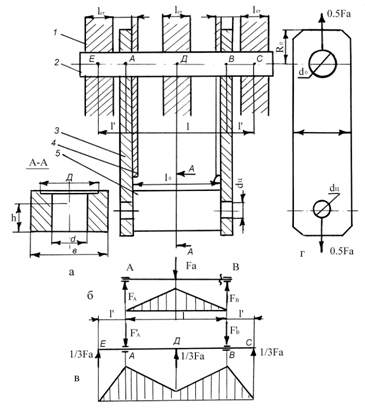
1. Схема механизма[1]
(рис.1)
Электродвигатель 4 переменного тока
соединяется через вал – вставку 3 с помощью зубчатых муфт с двухступенчатым
редуктором 1. Редукторная полумуфта 2 вала вставки
используется как тормозной шкив нормально замкнутого колодочного тормоза.
Выходной вал редуктора соединятся с барабаном 5 также зубчатой муфтой, у
которой одна из полумуфт выполняется как одно целое с валом редуктора, а вторая
– крепится непосредственно к барабану. На барабан навивается канат со
сдвоенного полиспаста.
2. Канат, блок, крюк, гайка крюка и
упорный подшипник
Кратность полиспаста
где
- количество канатов полиспаста,
наматываемых на барабан; для сдвоенного полиспаста
.
КПД полиспаста[2]
,
где
- КПД блока; принимаем
= [1, табл.2.1.].
Максимальное натяжение
каната
Расчетная разрывная сила
,
где
- коэффициент запаса прочности; по
правилам[3] Госгортехнадзора
[1, табл. 2.3] при режиме работы. Выбираем канат [1, табл. ]
типа конструкции ГОСТ : диаметр каната
= мм, разрывная сила
= при маркировочной группе .
Условное обозначение:
канат [1, с. 56].
Диаметр блока (барабана)
,
где
- коэффициент долговечности каната;
принимаем
[1,табл.2.7] при режиме работы.
Выбираем [ , табл. П.1] диаметр блока по дну ручья
, при
длине ступицы
мм.
Выбираем[4]
диаметр барабана (по дну канавок)
мм [ ].
Для номинальной
грузоподъемности
т и
режиме работы выбираем [ , табл.П.2] однорогий крюк
по
ГОСТ с размерами:
,
,
,
,
мм, резьба .
Высота гайки крюка из
условия прочности на
смятие резьбы
=
где
и
- параметры резьбы;
- допускаемое[5] напряжение; для резьбы
,
,
мм [2, табл.14],
= МПа [];
конструктивных[6]
соображений
=
принимаем
= мм [3]
Наружный диаметр гайки
принимаем
мм [3]
Расчетная нагрузка на
упорный подшипник
,
где
- коэффициент безопасности, принимаем[7]
Выбираем[8]
[2, табл. 15] шарикоподшипник упорный одинарный ГОСТ 6874-75:
,
,
мм,
кН.
3. Крюковая подвеска[9]
Нормальная подвеска состоит из блоков
2, оси блоков 1, траверсы 4 и серег 3 (рис. 2).
3.1 Конструктивные
размеры[10]:
Ширина траверсы
где
- наружный диаметр упорного
подшипника
принимаем
мм [3]
диаметр[11]
отверстия
принимаем
мм
длина[12]
траверсы
принимаем
= мм
пролет траверсы
,
где
- толщина серьги; принимаем
= мм [табл. П.3]
принимаем
= мм
длина консоли
принимаем
= мм.
Расстояния
принимаем
,
мм
3.2 Траверса
Для изготовления выбираем
сталь по ГОСТ :
,
,
МПа
(табл.4)
Допускаемое напряжение
изгиба при пульсирующем цикле изменения напряжений
,
где К – коэффициент концентрации
напряжений;
- запас
прочности; принимаем[13] К= [2, табл. 15],
(табл. П.5)
Реакции опор
Изгибающие моменты в
сечении
АА
ББ
Высота траверсы из
расчета на изгиб
принимаем
мм [3]
Диаметр цапфы из расчета
на
изгиб
смятие
,
где
- допускаемое напряжение; принимаем[14]
= МПа.
принимаем[15]
= мм.
3.3 Ось блоков
Для изготовления
применяем[16] сталь по ГОСТ :
= ,
,
МПа (табл.П.4).
Реакции опор
Н.
Изгибающие моменты[17]
Диаметр[18]
оси
принимаем
= мм
Подшипники блоков
Радиальная нагрузка на
подшипник
,
где
- число блоков подвески;
= .
Эквивалентная нагрузка
где
- нагрузки, соответствующие времени
их действия
за весь
срок службы подшипника
;
принимаем
,
,
,
(рис. П.2).
Приведенная нагрузка
,
где
- коэффициент радиальной нагрузки,
- кинематический коэффициент
вращения,
-
температурный коэффициент; принимаем при действии только радиальной нагрузки
, при вращении наружного
кольца подшипника
, при
температуре
Частота[19]
вращения блоков
, мин-1
Требуемая[20]
динамическая грузоподъемность шарикового однорядного подшипника
,
где
- срок[21]
службы подшипника;
[1,
с.19].
Выбираем[22]
шарикоподшипник радиальный однорядный :
,
,
мм, С = кН [2].
3.4 Серьга
Для изготовления серьги
выбираем[23] сталь по ГОСТ :
,
,
МПа (табл. П.4.).
Допускаемое напряжение на
растяжение
Допускаемое напряжение на
смятие
МПа
ширина серьги
;
принимаем
мм [3]
высота проушины
;
принимаем
мм [3]
Напряжение растяжения
,
что меньше (больше)
МПа.
Напряжение в проушине[24]
,
где
- давление в зоне контакта[25]
(оси, цапфы) и серьги; принимаем
МПа.
4. Привод механизма
4.1 Двигатель
Расчетная мощность
,
где
- КПД механизма; принимаем[26]
[1, табл.1.18].
Выбираем[27]
электродвигатель ; номинальная мощность при ПВ = %
кВт, частота вращения
мин-1, момент инерции ротора
= кг×м2, максимальный
(пусковой) момент
, размер
, диаметр вала
мм [].
Условное обозначение:
двигатель [1, с. 38].
4.2 Редуктор
Частота вращения барабана[28]
, мин-1
Передаточное отношение
Минимально возможное
суммарное межосевое расстояние редуктора
,
где
- габаритный размер барабана с учетом
узла крепления каната на барабане; принимаем при
=
= мм [1, табл.ІІІ. 2.1].
Выбираем[29]
редуктор : межосевое расстояние
мм, передаточное число
, мощность на быстроходном валу при
режиме работы и частоте вращения
мин-1
кВт, диаметр быстроходного вала
мм [ ], размеры выходного вала с
зубчатым венцом
,
,
, модуль
мм, число зубьев
= [2, табл.6].
Условное обозначение:
редуктор [1, с.41].
Предельно допустимый
момент редуктора
где к – коэффициент
режима работы; принимаем при режиме работы к =
[1, с.41].
Средний пусковой момент
двигателя
,
где
- номинальный момент двигателя;
, Н . м
Таким образом, принятый
редуктор[30] условиям перегрузки в
период пуска
Фактическая скорость
подъема груза
,
Отклонение[31]
от заданной скорости
4.3 Тормоз
Статический момент при
торможении
Тормозной момент
,
где
- коэффициент запаса торможения;
принимаем
= при режиме
работы [1, табл.2.9].
Выбираем[32]
тормоз с тормозным моментом
Н×м [ ].
4.4 Муфты вала –
вставки
Расчетный момент
,
где
- коэффициенты, учитывающие
соответственно степень ответственности механизма и режима работы,
- номинальный момент на валу
двигателя; принимаем [1, табл.1.35] для механизма подъема
, при режиме работы
.
Выбираем[33]
муфту зубчатую с тормозным шкивом (табл.П.6.): момент [Т] = Н×м, диаметр тормозного шкива
, диаметр отверстия шкива
, диаметр отверстия
полумуфты
мм, момент
инерции
.
Условное обозначение:
муфта зубчатая с тормозным шкивом [1, с.41…43].
Выбираем[34]
муфту зубчатую
типа
МЗП (табл.П.7) по ГОСТ : момент
, диаметр отверстия
,
мм, момент инерции
.
Условное обозначение:
муфта зубчатая МЗП [1, с.41…43].
4.5 Проверка
электродвигателя на нагрев
4.5.1 Кран работает с грузовым
электромагнитом. В этом случае подъемная сила электромагнита
Выбираем[35]
грузовой электромагнит типа [табл. П.8]: подъемная сила
кН, масса
= т.
Полезная номинальная
грузоподъемность
В соответствии с графиком загрузки
механизма подъема (рис. П.5)
,
где
- относительная[36]
масса груза; для режимаработы
,
,
.
КПД[37]
механизма [1, рис. 1.2]
при
при
Угловая скорость вала
двигателя
Статический момент[38]
на валу двигателя при подъеме груза
,
При опускании груза
,
Момент инерции движущихся
масс, приведенный к валу двигателя,
,
где
- коэффициент, учитывающий моменты
инерции масс механизма, вращающихся медленнее, чем вал двигателя; принимаем[39]
.
Время пуска[40]
при
подъеме груза
опускании груза
Результаты расчета сведены в таблицу
Показатель
|
Обозначение
|
Единица
|
Результаты при массе, кг
|
|
|
|
|
|
КПД
|
|
-
|
|
|
|
|
Момент при подъеме
|
|
|
|
|
|
|
Момент инерции
|
|
|
|
|
|
|
Время пуска при подъеме
|
|
С
|
|
|
|
|
Момент при опускании
|
|
|
|
|
|
|
Время пуска при опускании
|
|
С
|
|
|
|
Среднеквадратичный момент
,
где
- суммарное время пуска в течении
одного цикла,
- время
установившегося движения,
- коэффициент, учитывающий ухудшение условий
охлаждения двигателя при пуске,
- общее время установившегося движения;
принимаем для закрытого двигателя
[1, с.36],
(здесь Н – высота подъема груза), с учетом
графика загрузки электродвигателя (рис. П.6)
,
,
Эквивалентная мощность[41],
кВт
, кВт
Ускорение[42]
при пуске, м . с-2
,
Время[43]
торможения при опускании номинального груза
, с
Путь торможения [1, табл.
1.22]
Замедление при торможении
,
4.5.2 Кран работает без магнита. В этом
случае
и
,
,
,
.
Далее расчет выполнить по
приведенной выше методике (П.4.5.1.).
5. Узел барабана (Рис. 3)
Размеры:
диаметр[44]
по дну канавок
мм.
шаг нарезки
мм [1, табл. 2.8.].
длина участка барабана
для узла крепления конца каната
3
длина нарезки на половине
барабана
.
Принимаем
мм.
длина[45]
участка между нарезками
=
Расчетная длина барабана
.
Принимаем[46]
мм.
Свободные участки по
краям барабана
5.1 Сварной барабан
Изготовляем из стали ГОСТ
:
,
МПа (табл. П.4.)
Толщина[47]
стенки из расчета на сжатие
,
где
- допускаемое напряжение;
[1, с.62].
Толщина стенки из
конструктивных соображений
принимаем[48]
мм [3].
5.1.1 Эскизная[49]
компановка (рис. 3)
По диаметру расточки
мм (табл.П.9) выходного
вала редуктора выбираем[50] радиальный сферический
двухрядный подшипник [2, табл.] :
,
,
,
мм,
,
кН. Совмещаем на общей оси середину
подшипника, зубчатого венца вала редуктора 2 и венца 1 барабана [2, табл.13].
Торец барабана оказывается на расстоянии
мм [1, табл. ІІІ.2.1] от этой оси.
Основные размеры[51]
Принимаем
мм
Из компоновки
5.1.2 Прочность
барабана
Рассматриваем барабан как
балочку на шарнирно-подвижных опорах А и В, к которой приложены силы[52]
.
Реакции опор (по
уравнениям статики)


Проверка
Изгибающие моменты
Крутящие моменты
.
Эквивалентный момент
Эквивалентное напряжение[53]
в стенке

,
где
- эквивалентный момент сопротивления
поперечного сечения барабана изгибу
Здесь
5.1.3 Прочность
полуоси
Выполняем для правой (по
рис.3) полуоси, имеющей большие осевые размеры. Выбираем материал сталь ГОСТ с
пределом текучести
МПа
(табл. П.4.)
Изгибающий момент в
сечении АА
Напряжение изгиба

5.1.4 Прочность
сварного шва

где
- катет шва; принимаем
.
5.1.5 Долговечность
опор
Проверяем для опоры В,
т.к. этот подшипник вращается[54].
Частота вращения[55]
барабана
, мин-1
Требуемая динамическая
грузоподъемность

кН
где
- см. п. 3.4.
5.1.6 Крепление конца
каната
Выполняем прижимной
планкой с полукруглой канавкой [2, табл. 8] для каната диаметром
мм. Планка крепится винтом М из
стали (
МПа.)
Натяжение каната в месте
крепления[56]
,
где
- коэффициент трения между канатом и
барабаном,
- угол
обхвата барабана неприкосновенными витками; принимаем
,
[1, с.63].
Сила затяжки винта
,
где
- число болтов в креплении,
- коэффициент трения между
канатом и планкой,
-
угол обхвата барабана витком крепления каната; принимаем[57]
,
,
[1, с.63].
Сила, изгибающая винт,
Суммарное напряжение в
каждом винте[58]
,
где
- коэффициент надежности крепления,
- расстояние от головки
винта до барабана,
-
внутренний диаметр резьбы винта; принимаем
,
мм,
.
5.2 Литой барабан
Изготавливаем из серого
чугуна ГОСТ (табл. П.4) с пределом прочности сжатия
МПа.
Толщина стенки из расчета
на сжатие
,
где
- допускаемое напряжение; для чугуна
.
Толщина[59]
стенки из условия технологии изготовления литых барабанов
Принимаем[60]
мм [3].
5.2.1 Эскизная
компановка[61] (рис. ).
По диаметру расточки
мм (табл.П.9) выходного
вала редуктора[62] выбираем[63]
:
,
,
,
мм,
,
кН. Совмещаем на общей оси
середину подшипника, зубчатого венца
1 вала редуктора и венца 2 барабана [2, табл.13].
Основные размеры[64]
принимаем
мм.
Из компоновки
,
= ,
,
,
мм.
5.2.2 Прочность
барабана
Рассматриваем барабан как
балочку на шарнирно-подвижных опорах А и В, расположенных по середине ступиц
барабана.
Реакции опор

Проверка
Изгибающие моменты
Крутящие моменты
Эквивалентные моменты
Эквивалентное напряжение[65]
в стенке

,
где
- эквивалентный момент сопротивления
поперечного сечения барабана изгибу
,
где 
Для изготовления
принимаем сталь ГОСТ с пределом текучести
МПа [ ].
Реакции опор
Проверка
Изгибающие моменты
Расчетное напряжение[66]

т ,
где
- диаметр оси.
МЕХАНИЗМ
ПЕРЕДВИЖЕНИЯ ТЕЛЕЖКИ
Последовательность
расчета
1. Выбор схемы механизма, ее описание.
2. Выбор массы тележки, ходовых колес и
определение сопротивления передвижению.
3. Выбор электродвигателя, редуктора,
муфт, тормоза.
4. Проверка двигателя на пусковой режим
и устойчивость процесса пуска.
5. Проверка двигателя на нагрев.
6. Расчет ходовых колес.
Если по условиям пуска
получаются неприемлемые время пуска и ускорение, принять более мощный
двигатель, проверить пригодность ранее принятых редуктора (по
и
) и тормоза (по
).
Методика расчета
Задано: грузоподъемность
(т), скорость передвижения
(
), режим работы.
1. Схема[67]
механизма (рис.4).
Электродвигатель через муфту соединен
с вертикальным редуктором ВК. Выходной вал редуктора муфтами и промежуточными
валами соединен с ходовыми колесами.
2. Сопротивление передвижению
Масса тележки
[1. с. 13].
Наибольшая нагрузка на
одно колесо
где
- количество колес тележки; принимаем
= 4.
Выбираем[68]
[1, табл.III.2.3] при заданной скорости передвижения
и режиме работы колесо : диаметр
мм, допускаемая нагрузка
кН, тип рельса . В опорах
колеса установлены подшипники[69] (табл.П.10) с внутренним
диаметром
мм; диаметр
реборд
мм (табл.П.10).
Сопротивление
передвижению с номинальным грузом
, кН,
где
- коэффициент трения в опорах колеса,
- коэффициент трения
качения колеса по рельсу,
- коэффициент, учитывающий трение реборд о рельс,
- уклон пути; принимаем
[1, с.33],
мм при
мм и рельсе[70]
с головкой [1, табл.1.28],
при подшипниках качения [1, с.33],
[1, табл. 2.10].
3. Выбор элементов привода
3.1 Электродвигатель
Статическая мощность
привода
, кВт ,
где
- КПД механизма передвижения;
принимаем
[1, табл.
1.18]. Выбираем[71] [1, табл.ІІІ.3.5]
двигатель : номинальная мощность при ПВ = %
кВт, частота вращения
мин-1, максимальный (пусковой)
момент
, момент инерции редуктора
, мощность при ПВ = 25%
кВт, диаметр вала
, высота центров
мм [1, табл. ІІІ.3.6].
Условное обозначение: [1,
с.38].
3.2. Редуктор
Частота вращения ходовых
колес
, мин-1
Передаточное отношение
привода
Минимально возможное
суммарное межосевое расстояние редуктора
Выбираем[72]
[ ] редуктор : передающая мощность
кВт при режиме работы, частота вращения
мин-1.
передаточное число
,
диаметр входного вала
мм
[ ], диаметр выходного вала
мм [ ].
Фактическая скорость
передвижения
,
3.3 Муфта на
быстроходном валу
Номинальный момент на
валу
Расчетный момент
,
где
- коэффициент, учитывающий степень
ответственности механизма,
- коэффициент, учитывающий режим работы;
принимаем [1, табл.1.35]
,
.
Выбираем[73]
муфту [ ]: номинальный момент
, момент инерции
, диаметр отверстий
и
мм.
3.4 Муфта на
тихоходном валу
Расчетный момент
,
где
- момент на валу редуктора.
,
где
- КПД редуктора; принимаем
. [1, табл. 1.18]
Выбираем муфту [ ] ;
, 
,
,
мм.
3.5 Тормоз
Максимально допустимое
замедление при движении тележки без груза
где
- число приводимых колес,
- коэффициент сцепления
ходовых колес с рельсами; принимаем
,
[1, с.33].
Время торможения
Сопротивление[74]
передвижению тележки без груза при торможении
Тормозной момент при
движении без груза
Выбираем[75]
тормоз с тормозным моментом
, который следует отрегулировать до
.
Рекомендуемая длина пути
торможения
[1, табл.
1.23],
где
.
Фактическая длина пути
торможения
4. Проверка пускового режима двигателя
Максимально допустимое
ускорение при пуске
где
- минимально допустимое значение
коэффициента запаса сцепления; принимаем
[1, табл. 1.27].
Наименьшее допускаемое
время пуска
Средний пусковой момент
двигателя
где
- минимальная кратность пускового
момента; принимаем
=
[1, с.35].
Сопротивление
передвижению при работе без груза
Статический момент при
работе без груза
Момент инерции
вращающихся масс привода
Фактическое время[76]
пуска при работе без груза
Фактическое ускорение[77]
при пуске и работе без груза
Фактический запас[78]
сцепления приводных колес с рельсами при работе без груза
5. Проверка[79]
двигателя на нагрев
Статический момент на
валу двигателя при номинальной нагрузке
Коэффициент перегрузки
двигателя
Перегрузочная способность
двигателя
Момент инерции движущихся
масс, приведенный к валу двигателя
Время пуска
где
- относительное время пуска[80];
принимаем при
и
[ ],
.
Среднее время рабочей
операции
,
где
- средний путь[81]
передвижения тележки.
Расчетный коэффициент
.
Эквивалентная по нагреву
мощность[82] при ПВ = 25%.
где
- коэффициент, учитывающий
относительную продолжительность включения,
- коэффициент[83] влияния пускового
момента на эквивалентную мощность; принимаем
[1, табл. 1.32] при режиме работы,
при
[1, рис. 1.6, кривая ].
6. Узел ходовых колес
Нагрузка[84]
на одно колесо
Расчетная нагрузка
где
- коэффициент режима работы,
- коэффициент, учитывающий
переменность нагрузки; принимаем
[5, табл. 34],
Напряжение смятия [5, с.
116]
Подшипники опор[85].
СПИСОК ЛИТЕРАТУРЫ
1. Кузьмин А.В., Марон Ф.Л. Справочник
по расчетам механизмов подъемно-транспортных машин.-Мн.: Высшая школа, 1983-350
с., ил.
2. Погорелов С.В. Методические указания
по конструктированию узлов тележки электромостового крана – Запорожье: ЗИИ,
1990-72 с., ил.
3. ГОСТ 6636-69 «Нормальные линейные
размеры».
4. Перель Л.Я. Подшипники качения.
Справочник – М.: Машиностроение, 1983-543 с., ил.
5. Расчеты грузоподъемных и
транспортирующих машин. Иванченко Ф.К. и др. – К.: Выща школа, 1978-576 с., ил.
ПРИЛОЖЕНИЕ
Таблица П.1
Размеры
канатных блоков, мм
|
Диаметр каната
|
Диаметр по дну канавки
|
Длина ступицы
|
Диаметр каната
|
Диаметр по дну канавки
|
Длина ступицы
|
|
От 11 до 14
|
320-400
450
|
60
70
|
Свыше 14 до 20
|
320, 400, 450
500, 560, 630
|
70
80
|
Таблица
П.2
Крюки однорогие (ГОСТ
6627-74)
|
Номер заготовки крюка
|
Грузоподъемность для режимов, т
|
Размеры, мм
|
|
Легкого, среднего
|
тяжелого
|
|
|
|
|
|
|
|
|
13
|
5.0
|
4.0
|
75
|
48
|
75
|
М42
|
45
|
10
|
37.129
|
|
14
|
6.3
|
5.0
|
85
|
54
|
32
|
М48
|
50
|
12
|
42.587
|
|
15
|
8.0
|
6.3
|
95
|
60
|
90
|
М52
|
55
|
13
|
46.587
|
|
16
|
10.0
|
8.0
|
110
|
65
|
100
|
М56
|
60
|
13
|
50.046
|
|
17
|
12.5
|
10.0
|
120
|
75
|
115
|
М64
|
70
|
14
|
57.505
|
|
18
|
16.0
|
12.5
|
130
|
80
|
130
|
Трап 70Х10
|
80
|
16
|
59.0
|
|
19
|
20.0
|
16.0
|
150
|
90
|
150
|
Трап
80Х10
|
90
|
18
|
69.0
|
|
20
|
25.0
|
20.0
|
170
|
102
|
164
|
Трап 89Х12
|
100
|
20
|
77.0
|
|
21
|
32.0
|
25.0
|
190
|
115
|
184
|
Трап 100Х12
|
110
|
23
|
87.0
|
Таблица
П.3
Толщина
серьги
|
Грузоподъемность , т
|
5.0
|
6.3
|
8.0
|
10.0
|
12.5
|
16.0
|
20
|
25
|
|
Толщина серьги , мм
|
10
|
12
|
14
|
16
|
16
|
18
|
20
|
24
|
Таблица
П.4
Механические
свойства материалов, МПа
|
Материал
|
Предел прочности
|
Предел текучести
|
Предел выносливости
|
|
СЧ 15-32
|
150
|
-
|
-
|
|
СЧ 18-36
|
180
|
-
|
-
|
|
ГОСТ 1050-74
|
|
|
|
|
20
|
420…500
|
250
|
170…220
|
|
45
|
610…750
|
360
|
250…340
|
|
ГОСТ 4543-61
|
|
|
|
|
40
|
730…1050
|
650…900
|
320…480
|
|
ГОСТ 380-60
|
|
|
|
|
Ст 3
|
380…470
|
210…240
|
-
|
|
Ст 5
|
500…620
|
260…280
|
-
|
Таблица
П.5
Запас прочности
.
|
Тип крана
|
Режим работы
|
|
Легкий
|
Средний
|
Тяжелый
|
|
Крюковой
|
1.4
|
1.6
|
1.7
|
|
Магнитный
|
1.3
|
1.5
|
1.6
|
Таблица
П.6
Муфты зубчатые с
тормозным шкивом
|
Параметры
|
Диаметр тормозного шкива, мм
|
|
200
|
300
|
400
|
500
|
|
Предельный момент [Т], Нм
|
700
|
3150
|
5600
|
8000
|
|
Момент инерции ,
кг м2
|
0.0763
|
0.471
|
1.375
|
3.56
|
|
Диаметр отверстия, мм
шкива
полумуфты
|
50…69.5
40…55
|
50…69.5
40…55
|
60…89.5
55
|
90
|
Таблица
П.7
Муфта зубчатая типа
МЗП ГОСТ 5006-55
|
Номер муфты
|
Диаметр отверстия полумуфты, не более, мм
|
Предельный момент [Т],
Н . м
|
Момент инерции
кг . м2
|
|
Зубчатой
|
|
|
1
|
40
|
60
|
700
|
0.061
|
|
2
|
50
|
70
|
1400
|
0.1195
|
|
3
|
60
|
90
|
3150
|
0.2215
|
|
4
|
75
|
100
|
5600
|
0.458
|
|
5
|
90
|
120
|
8000
|
0.891
|
Таблица
П.8
Масса и подъемная сила
электромагнитов
|
Тип электромагнита
|
Масса , т
|
Подъемная сила , кН
|
|
М22
|
0.55
|
60.0
|
|
М42
|
1.56
|
160.0
|
|
М62
|
5.20
|
300.0
|
|
М62 Б
|
3.50
|
200.0
|
|
ПМ 15
|
1.55
|
100.0
|
Таблица
П.9
Диаметр и предельная
консольная нагрузка выходного вала редуктора типа Ц2
|
Суммарное межосевое расстояние , мм
|
Диаметр , мм
|
Консольная нагрузка ’ (кН) при режиме работы
|
|
Легкий
|
средний
|
тяжелый
|
|
250
|
75
|
12
|
18
|
12.5
|
|
300
|
80
|
20
|
22.5
|
14
|
|
350
|
110
|
32
|
25
|
18
|
|
400
|
110
|
32
|
25
|
20
|
|
500
|
150
|
50
|
40
|
25
|
|
650
|
160
|
63
|
71
|
45
|
|
750
|
200
|
100
|
125
|
63
|
Таблица
П.10
Подшипники радиальные
сферические двухрядные опор ходовых колес
|
Диаметр колеса
|
160
|
200
|
250
|
320
|
400
|
500
|
560
|
630
|
|
Подшипник
|
1607
|
1609
|
3610
|
3612
|
3616
|
3620
|
3622
|
3624
|
|
Диаметр реборд колеса , мм
|
190
|
230
|
290
|
360
|
450
|
550
|
600
|
680
|
Таблица
П.11
Редуктор
типа ВКН
|
Типоразмер редуктора
|
Диаметр быстроходного вала
|
Передаточное число
|
Максимальная мощность (кВт) на быстроходном валу при разных режимах
работы
|
|
мин-1
|
мин-1
|
|
л
|
с
|
т
|
л
|
с
|
Т
|
|
ВКН-280
|
25
|
10
|
4.3
|
2.0
|
1.8
|
6.0
|
2.0
|
1.9
|
|
16
|
3.0
|
1.4
|
1.2
|
4.0
|
1.7
|
1.5
|
|
31.5
|
1.4
|
1.0
|
0.9
|
1.9
|
1.0
|
0.9
|
|
50
|
0.9
|
0.7
|
0.6
|
1.0
|
0.8
|
0.7
|
|
ВКН-320
|
25
|
12.5
|
6.5
|
3.1
|
2.7
|
8.1
|
3.4
|
3.0
|
|
20
|
3.6
|
2.4
|
1.8
|
5.6
|
2.8
|
2.2
|
|
40
|
2.5
|
1.7
|
1.2
|
2.8
|
1.8
|
1.2
|
|
63
|
1.2
|
0.9
|
0.7
|
1.7
|
1.1
|
0.7
|
|
ВКН-420
|
25
|
16
|
7.8
|
5.0
|
4.8
|
9.1
|
6.0
|
6.5
|
|
25
|
5.0
|
3.5
|
3.0
|
6.1
|
4.9
|
4.4
|
|
50
|
2.8
|
2.1
|
1.6
|
3.5
|
2.8
|
2.2
|
|
80
|
2.3
|
1.8
|
1.3
|
3.1
|
2.2
|
1.7
|
|
125
|
1.6
|
1.2
|
1.0
|
1.7
|
1.4
|
1.2
|
|
ВКН-480
|
30
|
20
|
11.7
|
7.3
|
4.8
|
14.4
|
9.0
|
6.3
|
|
31.5
|
8.3
|
5.0
|
4.0
|
10.3
|
6.6
|
4.8
|
|
63
|
4.7
|
3.4
|
2.5
|
5.9
|
4.1
|
3.0
|
|
100
|
3.3
|
3.3
|
2.2
|
4.1
|
3.0
|
2.7
|
|
ВНК-560
|
35
|
20
|
19.9
|
13.3
|
9.7
|
23.1
|
16.6
|
12.1
|
|
25
|
15.5
|
10.6
|
8.2
|
21.9
|
14.1
|
10.3
|
|
40
|
10.7
|
7.8
|
6.5
|
13.9
|
10.0
|
7.9
|
|
50
|
8.8
|
6.5
|
5.5
|
12.1
|
8.6
|
6.7
|
|
50
|
5.9
|
4.4
|
3.9
|
7.8
|
5.5
|
4.8
|
Рисунок П.2 Эскизная компоновка
подвески (а), расчетные схемы (б, в, г) и схемы подвесок типа 1 (А), 2 (Б), 3
(В), 4 (Г): 1-ось блоков, 2-блок, 3-серьга, 4-траверса.
Рисунок П.5 Типовые графики загрузки
механизма подъема груза: а, б, в – соответственно для легкого, среднего и
тяжелого режимов работы
Рисунок П.6 График загрузки
электродвигателя механизма подъема в течении цикла
Рисунок П.7 Механизмы передвижения
тележки с центральным расположением редуктора типа ВК (а) и ВКН (б):
1-электродвигателб, 2-муфта с тормозным шкивом, 3-вертикальный редуктор,
4-муфта, 5-ходовое колесо, 6-рельс, 7-тормозной шкив.
[1] В схеме
на рис. 1 показать свой вариант полиспаста. Схема механизма подъема и варианты
полиспастов приведены на рис. П.1.
[2] Эта формула
справедлива при . При других значениях количество слагаемых в числителе равно
кратности полиспаста.
[3] Указать, при каком режиме
работы. Выбрать канат по условию желательно при маркировочных группах 1568 и
1764 МПа.
[4] Выбрать из ряда 260, 335,
400 и 510 мм, по условию
[5] Для стали по стали МПа
[6] Для метрической резьбы из
конструктивных соображений
[7] Для механизма подъема ,
передвижения
[8] Выбрать по условиям (крюка),
[9] На рис. 2 показать свой
вариант подвески (рис.П.2), расчетные схемы элементов и эпюры механизмов
[10] Рассчитать для заданной
подвески. Размеры принять по ГОСТ 6636-69 [3]
[11] Здесь - диаметр шейки
крюка
[12] Длина зависит от типа
крюковой подвески (рис.2): с одной стороны , с другой для третьего и четвертого
типа подвесок здесь надо разместить блоки; принимать зазор между блоками ,
между блоками и серьгой мм.
[13] Указать для какого крана
принимаем «»
[14] При отсутствии заедания =
60…65 МПа
[15] Принять большее значение
[3]. Для подвески II типа – кратное «5».
[16] Можно применять тот же
материал, что для траверсы. Если принята другая сталь, привести расчет
[17] Рассчитать для заданного
типа подвески. Привести расчетную схему.
[18] Расчет выполнить для
наибольшего момента; результат округлить до кратного пяти.
[19] Согласовать размерность
скорости и диаметров
[20] Если мин-1,
расчет выполнить при 10 мин-1.
[21] Указать при каком режиме
работы и сроке службы в часах
[22] Выбрать при условиях .
Или d=dц для
подвески II типа.
[23] См. расчет траверсы
[24] Здесь - больше из и
[25] Указать, что находится в
контакте с серьгой
[26] Указать при каких
подшипниках.
[27] Выбрать двигатель MTF [1, табл.ІІІ, 3.5] или МТН [2,
табл.2]. По условию (ближайшее меньшее). Для легкого режима принять ПВ = 15,
среднего 25, тяжелого 40%
[28] Диаметр барабана - см.
п.2.5. Согласовать размерности скорости и диаметров.
[29] Выбрать редуктор Ц2 [1,
табл.ІІІ. 4.2], [2, табл.4] или типа РМ. По условиям , , -
ближайшее большее к
[30] Если условие не
выполняется, принять более мощный редуктор. Здесь указать «удовлетворяет» или
«не удовлетворяет».
[31] Допускается .
[32] Выбрать тормоз ТКГ [1,
табл. ІІІ.5.13] или ТКТ [1, табл. ІІІ.5.11].
По условию .
[33] Выбрать по условию, диаметр согласовать с
диаметром муфты с тормозным шкивом, с валом редуктора.
[34] Выбрать по условию
, диаметр согласовать с диаметром вала двигателя.
[35] Выбирать по условию .
[36] Значения относительной
массы приведены на оси ординат (рис. П. 5).
[38] Рассчитать аналогично
для масс и , ТП, ТОП,
J.
[39] Принимать
[40] Рассчитать аналогично
при и , tП, tОП.
[41] Если , двигатель
удовлетворяет условию нагрева
[42] Сравнить с рекомендуемым
[1, табл.1.25]. Для магнитных кранов . Здесь t –
меньшее из времени пуска (tП).
[43] Значение и - см. п.4.3.
[44] Значение , см. п.2
.3 Определяется по осям крайних блоков
крюковой подвески
[46] Выбрать длину L из ряда 1200, 1300, 1420, 1800 и 2300 мм по условию L³L’
[47] Здесь F
– см. п.2.
[48] Принять большее из двух
значений
[49] См. рис. П.3. Выполнить
в масштабе на миллиметровке.
[50] Выбрать шарикоподшипник
[2, табл. 9] или роликоподшипник [2, табл. 10].
[51] Размеры l3, l9,
b2 – см. выбор редуктора, толщина
буртика a1=5…15 мм.
1
См. п. 2
[53] Определяется по
наибольшему
[54] Эквивалентная и
приведенная нагрузка определяются по методике п. 3.4. Здесь , для
роликоподшипника.
[55] Согласовать размерности
скорости и диаметров.
[56] Здесь - см. п.2.
[57] Число планок не менее
двух .
[58] Принять - см. рис. 2.5.
[1]. Если , увеличить число планок .
[59] В этом случае толщина
д.б. не менее 12 мм
[60] Принять большее из двух
значений
[61] Компоновку выполнить в
масштабе. Эскиз барабана – см. рис. П.4
[62] Указать тип редуктора
(см. п.4.2)
[63] Выбрать шарико- или
роликоподшипник [2, табл. 9 или 10].
[64] Размеры и - см. выбор
редуктора, зазор мм, С – см. [2, табл. 12].
[65] Определяется по большему
.
[66] Здесь М – большее
значение из и .
[67] Здесь рассматривается
механизм с редуктором ВК (см. рис. П.7, а). Можно применить механизм с
редуктором ВКН (навесного типа) – см. рис. П.7, б.
[68] Выбрать при скорости .
[69] Указать вид подшипника.
[70] Указать, с плоской или
выпуклой головкой
[71] Выбрать по условию
[72] Выбрать в зависимости от
применяемой схемы механизме редуктора ВК [ 5, прил.LXIV]
или ВКН (табл.П.11 или [5, прил.LXII] по условиям , -
ближайшее к передаточному отношению , диаметр выходного вала [2, табл.27 или
28], [5, прил. LXI или LXIII].
[73] Выбрать по условию ,
диаметры согласовать с диаметрами двигателя и редуктора [1, табл. III.5.6]. (табл. П.6, П.7).
[74] Это случай крана с
грузовым электромагнитном; для крана без магнита .
[75] Можно выбрать тормоз ТКТ
[1, табл. ІІІ.5.11] или ТКГ [1, табл. ІІІ.5.13]
по условию .
[76] Сравнить с рекомендуемым
[1, табл. 1.19]. Если результат существенно отличается, принять более мощный двигатель
и повторить расчет по п.4. Затем проверить пригодность ранее принятого
редуктора и тормоза.
[77] Сравнить с .
[78] Сравнить с ранее
принятым .
[79] По методике номинального
режима работы [5. с.112]. Можно выполнить по методике, рассмотренной в разделе
«Механизм подъема».
[80] Выбрать по [1, рис. 1.4
или 1.5].
[81] Принимаем м.
[82] Сравнить и принятого
двигателя. Если , двигатель удовлетворяет условием нагрева.
[83] По [1, рис. 1.16]
указать по какой кривой определяется .
[84] См.п.2
[85] Выполнить проверку
аналогично п.5.1.5 «Механизм подъема»